CN113167490B - Heat exchange type ventilator with dehumidification function - Google Patents

Heat exchange type ventilator with dehumidification function Download PDF

Info

Publication number
CN113167490B
CN113167490B CN201980081647.2A CN201980081647A CN113167490B CN 113167490 B CN113167490 B CN 113167490B CN 201980081647 A CN201980081647 A CN 201980081647A CN 113167490 B CN113167490 B CN 113167490B
Authority
CN
China
Prior art keywords
air
heat exchange
flow
heat
exhaust
Prior art date
Legal status (The legal status is an assumption and is not a legal conclusion. Google has not performed a legal analysis and makes no representation as to the accuracy of the status listed.)
Active
Application number
CN201980081647.2A
Other languages
Chinese (zh)
Other versions
CN113167490A (en
Inventor
福本将秀
重信刚也
末广善文
清本训央
石田阳子
平木雅人
池田智大
Current Assignee (The listed assignees may be inaccurate. Google has not performed a legal analysis and makes no representation or warranty as to the accuracy of the list.)
Panasonic Intellectual Property Management Co Ltd
Original Assignee
Panasonic Intellectual Property Management Co Ltd
Priority date (The priority date is an assumption and is not a legal conclusion. Google has not performed a legal analysis and makes no representation as to the accuracy of the date listed.)
Filing date
Publication date
Priority claimed from JP2018234032A external-priority patent/JP6653428B1/en
Priority claimed from JP2019005763A external-priority patent/JP7285409B2/en
Priority claimed from JP2019010769A external-priority patent/JP7285410B2/en
Priority claimed from JP2019057581A external-priority patent/JP7429835B2/en
Priority claimed from JP2019119497A external-priority patent/JP6653431B1/en
Application filed by Panasonic Intellectual Property Management Co Ltd filed Critical Panasonic Intellectual Property Management Co Ltd
Publication of CN113167490A publication Critical patent/CN113167490A/en
Application granted granted Critical
Publication of CN113167490B publication Critical patent/CN113167490B/en
Active legal-status Critical Current
Anticipated expiration legal-status Critical

Links

Images

Classifications

    • FMECHANICAL ENGINEERING; LIGHTING; HEATING; WEAPONS; BLASTING
    • F24HEATING; RANGES; VENTILATING
    • F24FAIR-CONDITIONING; AIR-HUMIDIFICATION; VENTILATION; USE OF AIR CURRENTS FOR SCREENING
    • F24F3/00Air-conditioning systems in which conditioned primary air is supplied from one or more central stations to distributing units in the rooms or spaces where it may receive secondary treatment; Apparatus specially designed for such systems
    • F24F3/12Air-conditioning systems in which conditioned primary air is supplied from one or more central stations to distributing units in the rooms or spaces where it may receive secondary treatment; Apparatus specially designed for such systems characterised by the treatment of the air otherwise than by heating and cooling
    • F24F3/14Air-conditioning systems in which conditioned primary air is supplied from one or more central stations to distributing units in the rooms or spaces where it may receive secondary treatment; Apparatus specially designed for such systems characterised by the treatment of the air otherwise than by heating and cooling by humidification; by dehumidification
    • F24F3/147Air-conditioning systems in which conditioned primary air is supplied from one or more central stations to distributing units in the rooms or spaces where it may receive secondary treatment; Apparatus specially designed for such systems characterised by the treatment of the air otherwise than by heating and cooling by humidification; by dehumidification with both heat and humidity transfer between supplied and exhausted air
    • FMECHANICAL ENGINEERING; LIGHTING; HEATING; WEAPONS; BLASTING
    • F24HEATING; RANGES; VENTILATING
    • F24FAIR-CONDITIONING; AIR-HUMIDIFICATION; VENTILATION; USE OF AIR CURRENTS FOR SCREENING
    • F24F7/00Ventilation
    • F24F7/04Ventilation with ducting systems, e.g. by double walls; with natural circulation
    • F24F7/06Ventilation with ducting systems, e.g. by double walls; with natural circulation with forced air circulation, e.g. by fan positioning of a ventilator in or against a conduit
    • F24F7/08Ventilation with ducting systems, e.g. by double walls; with natural circulation with forced air circulation, e.g. by fan positioning of a ventilator in or against a conduit with separate ducts for supplied and exhausted air with provisions for reversal of the input and output systems
    • FMECHANICAL ENGINEERING; LIGHTING; HEATING; WEAPONS; BLASTING
    • F24HEATING; RANGES; VENTILATING
    • F24FAIR-CONDITIONING; AIR-HUMIDIFICATION; VENTILATION; USE OF AIR CURRENTS FOR SCREENING
    • F24F1/00Room units for air-conditioning, e.g. separate or self-contained units or units receiving primary air from a central station
    • F24F1/02Self-contained room units for air-conditioning, i.e. with all apparatus for treatment installed in a common casing
    • YGENERAL TAGGING OF NEW TECHNOLOGICAL DEVELOPMENTS; GENERAL TAGGING OF CROSS-SECTIONAL TECHNOLOGIES SPANNING OVER SEVERAL SECTIONS OF THE IPC; TECHNICAL SUBJECTS COVERED BY FORMER USPC CROSS-REFERENCE ART COLLECTIONS [XRACs] AND DIGESTS
    • Y02TECHNOLOGIES OR APPLICATIONS FOR MITIGATION OR ADAPTATION AGAINST CLIMATE CHANGE
    • Y02BCLIMATE CHANGE MITIGATION TECHNOLOGIES RELATED TO BUILDINGS, e.g. HOUSING, HOUSE APPLIANCES OR RELATED END-USER APPLICATIONS
    • Y02B30/00Energy efficient heating, ventilation or air conditioning [HVAC]
    • Y02B30/56Heat recovery units

Landscapes

  • Engineering & Computer Science (AREA)
  • Chemical & Material Sciences (AREA)
  • Combustion & Propulsion (AREA)
  • Mechanical Engineering (AREA)
  • General Engineering & Computer Science (AREA)
  • Central Air Conditioning (AREA)

Abstract

带除湿功能的热交换型换气装置(50)具备:热交换型换气装置(10),其在流通在排气风路(4)的排气流(2)与流通在供气风路(5)的供气流(3)之间进行热交换;以及除湿装置(30),其对供气流进行除湿。除湿装置包括:制冷循环,其包括压缩机(31)、散热器(32)、膨胀器(33)以及吸热器(34);以及热交换器(35),其在流动在第一流路(36)的空气与流动在第二流路(37)的空气之间进行热交换。导入到除湿装置的第一供气流(3a)在依次流通过吸热器、第一流路、散热器后,向供气风路导出。导入到除湿装置的第二供气流(3b)在依次流通过第二流路、散热器后,向供气风路导出。导入到除湿装置的排气流在流通过散热器后,向排气风路导出。

Figure 201980081647

The heat exchange type ventilator (50) with dehumidification function has: the heat exchange type ventilator (10), which circulates in the exhaust air flow (2) in the exhaust air passage (4) and circulates in the air supply air passage (5) for heat exchange between the supply airflow (3); and a dehumidification device (30), which dehumidifies the supply airflow. The dehumidification device comprises: a refrigeration cycle, which includes a compressor (31), a radiator (32), an expander (33) and a heat absorber (34); and a heat exchanger (35), which flows in the first flow path ( Heat exchange is performed between the air in 36) and the air flowing in the second flow path (37). The first air supply air (3a) introduced into the dehumidification device flows through the heat absorber, the first flow path, and the radiator in sequence, and then is led out to the air supply air path. The second air supply air (3b) introduced into the dehumidifier passes through the second flow path and the radiator in sequence, and then is led out to the air supply air path. The exhaust flow introduced into the dehumidifier passes through the radiator, and then is led out to the exhaust air path.

Figure 201980081647

Description

带除湿功能的热交换型换气装置Heat exchange type ventilator with dehumidification function

技术领域technical field

本发明涉及用于居住空间等的带除湿功能的热交换型换气装置。The present invention relates to a heat exchange type ventilator with a dehumidification function used in living spaces and the like.

背景技术Background technique

以往,作为能够不损害制冷或者制暖的效果地进行换气的装置,已知在换气时在供气流与排气流之间进行热交换的热交换型换气装置。Conventionally, a heat exchange type ventilator that performs heat exchange between a supply airflow and an exhaust airflow during ventilation is known as an apparatus that can ventilate without impairing the effect of cooling or heating.

近年来,由于全球变暖的影响以及住宅的气密性提高,特别是在夏季,室内的排热以及排湿不足,室内变得高温多湿,因此存在对居住者而言室内的舒适性受损的担忧。对于在夏季提高室内的舒适性,室内的湿度降低尤其重要,因此谋求在调整室内的湿度的同时进行热交换换气的带除湿功能的热交换型换气装置。因此,作为带除湿功能的热交换型换气装置,我们进行了应用有将制冷循环和热交换器组合而成的除湿装置的热交换型换气装置的开发。作为将制冷循环和热交换器组合而成的除湿装置,例如,已知专利文献1所记载的除湿装置。In recent years, due to the influence of global warming and the improvement of the airtightness of houses, especially in summer, the indoor heat and humidity are not exhausted, and the indoor becomes hot and humid, so there is a possibility that the indoor comfort of the occupants is impaired. concerns. In order to improve indoor comfort in summer, it is particularly important to reduce indoor humidity, so heat exchange ventilation devices with a dehumidification function that perform heat exchange and ventilation while adjusting indoor humidity have been sought. Therefore, as a heat-exchange-type ventilator with a dehumidification function, we have developed a heat-exchange-type ventilator using a dehumidifier that combines a refrigeration cycle and a heat exchanger. As a dehumidifier combining a refrigeration cycle and a heat exchanger, for example, a dehumidifier described in Patent Document 1 is known.

参照图9对现有的除湿装置进行说明。A conventional dehumidifier will be described with reference to FIG. 9 .

如图9所示,现有的除湿装置1100构成为在使从空气吸入口1101吸入到主体外壳1102内的空气(空气X、空气Y)通过除湿部1103后,将该空气从空气吹出口1104向主体外壳1102外吹出。除湿部1103具备制冷循环和热交换器1111。制冷循环将压缩机1105、散热器1106、膨胀器1107、吸热器1108依次连结。热交换器1111配置在吸热器1108与散热器1106之间,并在流动在第一流路1109的空气X与流动在第二流路1110的空气Y之间进行热交换。As shown in FIG. 9 , a conventional dehumidifier 1100 is configured such that after air (air X, air Y) sucked into a main body casing 1102 from an air inlet 1101 passes through a dehumidifier 1103, the air is blown out from an air outlet 1104. Blow out to the outside of the main body casing 1102 . The dehumidifier 1103 includes a refrigeration cycle and a heat exchanger 1111 . In the refrigeration cycle, a compressor 1105, a radiator 1106, an expander 1107, and a heat absorber 1108 are sequentially connected. The heat exchanger 1111 is disposed between the heat absorber 1108 and the radiator 1106 , and performs heat exchange between the air X flowing in the first flow path 1109 and the air Y flowing in the second flow path 1110 .

并且,在第一流路1109流动的空气X在吸热器1108冷却而产生结露。由冷却后的空气X产生的结露水被回收。另一方面,在第二流路1110流动的空气Y与被吸热器1108冷却了的空气X进行热交换而被冷却,从而产生结露。由冷却后的空气Y产生的结露水也被回收。像这样,通过除湿装置1100来进行空气的除湿。Then, the air X flowing through the first flow path 1109 is cooled by the heat absorber 1108 to generate dew condensation. The condensation water generated by the cooled air X is recovered. On the other hand, the air Y flowing through the second flow path 1110 exchanges heat with the air X cooled by the heat absorber 1108 to be cooled, and dew condensation occurs. Dew condensation water generated from the cooled air Y is also recovered. In this way, dehumidification of air is performed by the dehumidifier 1100 .

现有技术文献prior art literature

专利文献patent documents

专利文献1:国际公开第2016/031139号Patent Document 1: International Publication No. 2016/031139

专利文献2:日本特开2009-279514号公报Patent Document 2: Japanese Patent Laid-Open No. 2009-279514

发明内容Contents of the invention

但是,现有的除湿装置1100构成为为了对制冷循环的散热器1106进行冷却而使除湿后的空气通过散热器1106。在散热器1106中,除了被吸热器1108吸收的能量以外,用于通过压缩机1105使制冷循环内的制冷剂循环的能量也被排出。因此,通过了散热器1106的除湿后的空气的温度上升为除湿前的空气的温度以上。其结果是,在将现有的除湿装置1100的除湿机构配置于热交换型换气装置的供气风路并进行了除湿的情况下,产生除湿后的空气(温度上升了的空气)直接作为供气流向室内吹出而损害室内的舒适性的课题。However, the conventional dehumidifier 1100 is configured to pass dehumidified air through the radiator 1106 in order to cool the radiator 1106 of the refrigeration cycle. In the radiator 1106, in addition to the energy absorbed by the heat absorber 1108, the energy for circulating the refrigerant in the refrigeration cycle by the compressor 1105 is also discharged. Therefore, the temperature of the dehumidified air that has passed through the radiator 1106 rises to be equal to or higher than the temperature of the air before dehumidification. As a result, when the dehumidification mechanism of the conventional dehumidification device 1100 is arranged in the air supply air path of the heat exchange type ventilator to perform dehumidification, the dehumidified air (air whose temperature has been raised) is generated as it is. The problem that the supply air is blown into the room and impairs the comfort of the room.

本发明是为了解决上述课题而完成的,其提供能够对伴随除湿而产生的温度上升得到抑制的供气流进行输送的带除湿功能的热交换型换气装置。The present invention was made in order to solve the above-mentioned problems, and provides a heat exchange type ventilator with a dehumidification function capable of sending a supply air flow whose temperature rise accompanying dehumidification is suppressed.

为了达成该目的,本发明的带除湿功能的热交换型换气装置的特征在于,该带除湿功能的热交换型换气装置具备:热交换型换气装置,其在排气流与供气流之间进行热交换,该排气流在用于将室内的空气向室外排出的排气风路流通,该供气流在用于将室外的空气向室内供给的供气风路流通;以及除湿装置,其对供气流进行除湿。除湿装置包括:制冷循环,其构成为包括压缩机、散热器、膨胀器以及吸热器;以及热交换器,其配置在吸热器与散热器之间,并在流动在第一流路的空气与流动在第二流路的空气之间进行热交换。除湿装置构成为从供气风路导入热交换后的供气流,并且从排气风路导入排气流。导入到除湿装置的供气流的一部分在依次流通过吸热器、第一流路、散热器后,向供气风路导出。导入到除湿装置的供气流的另一部分在依次流通过第二流路、散热器后,向供气风路导出。导入到除湿装置的排气流在流通过散热器后,向排气风路导出。In order to achieve this object, the heat exchange type ventilator with dehumidification function of the present invention is characterized in that the heat exchange type ventilator with dehumidification function includes: heat exchange between them, the exhaust flow flows through the exhaust air passage for exhausting indoor air to the outside, and the supply air flow circulates through the air supply air passage for supplying outdoor air to the indoor; and the dehumidification device , which dehumidifies the supply air stream. The dehumidification device includes: a refrigeration cycle, which is composed of a compressor, a radiator, an expander, and a heat absorber; and a heat exchanger, which is arranged between the heat absorber and the heat Heat exchange with the air flowing in the second channel. The dehumidifier is configured so that the heat-exchanged supply air is introduced from the air supply air passage, and the exhaust air is introduced from the exhaust air passage. A part of the air supply air introduced into the dehumidifier passes through the heat absorber, the first flow path, and the radiator in this order, and then is led out to the air supply air path. The other part of the supply air flow introduced into the dehumidification device flows through the second flow path and the radiator in sequence, and then is led out to the supply air flow path. The exhaust flow introduced into the dehumidifier passes through the radiator, and then is led out to the exhaust air path.

根据本发明,能够提供可以对伴随除湿而产生的温度上升得到抑制的供气流进行输送的带除湿功能的热交换型换气装置。According to the present invention, it is possible to provide a heat exchange type ventilator with a dehumidification function capable of sending a supply air flow in which a temperature rise accompanying dehumidification is suppressed.

附图说明Description of drawings

图1是示出本发明的前提例的热交换型换气装置在住宅中的设置状态的示意图。FIG. 1 is a schematic diagram showing an installation state of a heat exchange type ventilator of a precondition example of the present invention in a house.

图2是示出本发明的前提例的热交换型换气装置的结构的示意图。Fig. 2 is a schematic diagram showing the configuration of a heat exchange type ventilator according to a precondition example of the present invention.

图3是示出本发明的实施方式1-1的带除湿功能的热交换型换气装置的结构的示意图。Fig. 3 is a schematic diagram showing the configuration of a heat exchange type ventilator with a dehumidification function according to Embodiment 1-1 of the present invention.

图4是示出本发明的实施方式1-2的带除湿功能的热交换型换气装置的结构的示意图。Fig. 4 is a schematic diagram showing the configuration of a heat exchange type ventilator with a dehumidification function according to Embodiment 1-2 of the present invention.

图5是示出本发明的实施方式1-3的带除湿功能的热交换型换气装置的结构的示意图。Fig. 5 is a schematic diagram showing the configuration of a heat exchange type ventilator with a dehumidification function according to Embodiment 1-3 of the present invention.

图6是示出本发明的实施方式1-4的带除湿功能的热交换型换气装置的结构的示意图。Fig. 6 is a schematic diagram showing the configuration of a heat exchange type ventilator with a dehumidification function according to Embodiment 1-4 of the present invention.

图7是本发明的实施方式1-4的带除湿功能的热交换型换气装置的除湿运转时的莫里尔图。Fig. 7 is a Mollier diagram during a dehumidification operation of the heat exchange type ventilator with a dehumidification function according to Embodiment 1-4 of the present invention.

图8是示出本发明的实施方式1-5的带除湿功能的热交换型换气装置的结构的示意图。Fig. 8 is a schematic diagram showing the configuration of a heat exchange type ventilator with a dehumidification function according to Embodiment 1-5 of the present invention.

图9是示出现有的除湿装置的结构的概要剖视图。Fig. 9 is a schematic cross-sectional view showing the structure of a conventional dehumidifier.

图10是示出本发明的前提例的热交换型换气装置在住宅中的设置状态的示意图。Fig. 10 is a schematic diagram showing an installation state of a heat exchange type ventilator of a precondition example of the present invention in a house.

图11是示出本发明的前提例的热交换型换气装置的结构的示意图。Fig. 11 is a schematic diagram showing the configuration of a heat exchange type ventilator according to a precondition example of the present invention.

图12是示出本发明的实施方式2-1的带除湿功能的热交换型换气装置的结构的示意图。Fig. 12 is a schematic diagram showing the configuration of a heat exchange type ventilator with a dehumidification function according to Embodiment 2-1 of the present invention.

图13是示出本发明的实施方式2-2的带除湿功能的热交换型换气装置的结构的示意图。Fig. 13 is a schematic diagram showing the configuration of a heat exchange type ventilator with a dehumidification function according to Embodiment 2-2 of the present invention.

图14是示出本发明的实施方式2-3的带除湿功能的热交换型换气装置的结构的示意图。Fig. 14 is a schematic diagram showing the configuration of a heat exchange type ventilator with a dehumidification function according to Embodiment 2-3 of the present invention.

图15是示出本发明的实施方式2-4的带除湿功能的热交换型换气装置的结构的示意图。Fig. 15 is a schematic diagram showing the configuration of a heat exchange type ventilator with a dehumidification function according to Embodiment 2-4 of the present invention.

图16是本发明的实施方式2-4的带除湿功能的热交换型换气装置的除湿运转时的莫里尔图。Fig. 16 is a Mollier diagram during a dehumidification operation of the heat exchange type ventilator with a dehumidification function according to Embodiment 2-4 of the present invention.

图17是示出本发明的实施方式2-5的带除湿功能的热交换型换气装置的结构的示意图。Fig. 17 is a schematic diagram showing the configuration of a heat exchange type ventilator with a dehumidification function according to Embodiment 2-5 of the present invention.

图18是示出本发明的前提例的热交换型换气装置在住宅中的设置状态的示意图。Fig. 18 is a schematic diagram showing an installation state of a heat exchange type ventilator in a house according to a precondition example of the present invention.

图19是示出本发明的前提例的热交换型换气装置的结构的示意图。Fig. 19 is a schematic diagram showing the configuration of a heat exchange type ventilator according to a precondition example of the present invention.

图20是示出本发明的实施方式3-1的带除湿功能的热交换型换气装置的结构的示意图。Fig. 20 is a schematic diagram showing the configuration of a heat exchange type ventilator with a dehumidification function according to Embodiment 3-1 of the present invention.

图21是示出本发明的实施方式3-2的带除湿功能的热交换型换气装置的结构的示意图。Fig. 21 is a schematic diagram showing the configuration of a heat exchange type ventilator with a dehumidification function according to Embodiment 3-2 of the present invention.

图22是示出本发明的实施方式3-3的带除湿功能的热交换型换气装置的结构的示意图。Fig. 22 is a schematic diagram showing the configuration of a heat exchange type ventilator with a dehumidification function according to Embodiment 3-3 of the present invention.

图23是示出本发明的实施方式3-3的带除湿功能的热交换型换气装置中的液体微细化装置的结构的示意图。23 is a schematic diagram showing the configuration of a liquid miniaturization device in the heat exchange type ventilator with dehumidification function according to Embodiment 3-3 of the present invention.

图24是示出本发明的实施方式3-4的带除湿功能的热交换型换气装置的结构的示意图。Fig. 24 is a schematic diagram showing the configuration of a heat exchange type ventilator with a dehumidification function according to Embodiment 3-4 of the present invention.

图25是示出本发明的实施方式3-5的带除湿功能的热交换型换气装置的结构的示意图。Fig. 25 is a schematic diagram showing the configuration of a heat exchange type ventilator with a dehumidification function according to Embodiment 3-5 of the present invention.

图26是示出本发明的前提例的热交换型换气装置在住宅中的设置状态的示意图。Fig. 26 is a schematic diagram showing an installation state of a heat exchange type ventilator of a precondition example of the present invention in a house.

图27是示出本发明的前提例的热交换型换气装置的结构的示意图。Fig. 27 is a schematic diagram showing the configuration of a heat exchange type ventilator according to a precondition example of the present invention.

图28是示出本发明的实施方式4-1的带除湿功能的热交换型换气装置的结构的示意图。Fig. 28 is a schematic diagram showing the configuration of a heat exchange type ventilator with a dehumidification function according to Embodiment 4-1 of the present invention.

图29是示出本发明的实施方式4-2的带除湿功能的热交换型换气装置的结构的示意图。Fig. 29 is a schematic diagram showing the configuration of a heat exchange type ventilator with a dehumidification function according to Embodiment 4-2 of the present invention.

图30是示出本发明的前提例的热交换型换气装置在住宅中的设置状态的示意图。Fig. 30 is a schematic diagram showing an installation state of a heat exchange type ventilator of a precondition example of the present invention in a house.

图31是示出本发明的前提例的热交换型换气装置的结构的示意图。Fig. 31 is a schematic diagram showing the configuration of a heat exchange type ventilator according to a precondition example of the present invention.

图32是示出本发明的实施方式5-1的带调湿功能的热交换型换气装置的结构的示意图。Fig. 32 is a schematic diagram showing the configuration of a heat exchange type ventilator with a humidity control function according to Embodiment 5-1 of the present invention.

图33是示出带调湿功能的热交换型换气装置中除湿模式下的除湿装置的结构的示意图。Fig. 33 is a schematic diagram showing the structure of a dehumidifier in a dehumidification mode in a heat exchange type ventilator with a humidity control function.

图34是示出带调湿功能的热交换型换气装置中加热模式下的除湿装置的结构的示意图。Fig. 34 is a schematic diagram showing the structure of a dehumidifier in a heating mode in a heat exchange type ventilator with a humidity control function.

图35是示出带调湿功能的热交换型换气装置中的液体微细化装置的结构的示意图。Fig. 35 is a schematic diagram showing the structure of a liquid miniaturization device in a heat exchange type ventilator with a humidity control function.

图36是示出本发明的实施方式5-2的带调湿功能的热交换型换气装置的结构的示意图。Fig. 36 is a schematic diagram showing the configuration of a heat exchange type ventilator with a humidity control function according to Embodiment 5-2 of the present invention.

图37是示出本发明的实施方式5-3的带调湿功能的热交换型换气装置的结构的示意图。Fig. 37 is a schematic diagram showing the configuration of a heat exchange type ventilator with a humidity control function according to Embodiment 5-3 of the present invention.

图38是示出现有的液体微细化装置的结构的概要图。Fig. 38 is a schematic diagram showing the structure of a conventional liquid miniaturization device.

具体实施方式Detailed ways

本发明的带除湿功能的热交换型换气装置的特征在于,该带除湿功能的热交换型换气装置具备:热交换型换气装置,其在排气流与供气流之间进行热交换,该排气流在用于将室内的空气向室外排出的排气风路流通,该供气流在用于将室外的空气向室内供给的供气风路流通;以及除湿装置,其对供气流进行除湿。除湿装置包括:制冷循环,其构成为包括压缩机、散热器、膨胀器以及吸热器;以及热交换器,其配置在吸热器与散热器之间,并在流动在第一流路的空气与流动在第二流路的空气之间进行热交换。除湿装置构成为从供气风路导入热交换后的供气流,并且从排气风路导入排气流。导入到除湿装置的供气流的一部分在依次流通过吸热器、第一流路、散热器后,向供气风路导出。导入到除湿装置的供气流的另一部分在依次流通过第二流路、散热器后,向供气风路导出。导入到除湿装置的排气流在流通过散热器后,向排气风路导出。The heat exchange type ventilator with dehumidification function of the present invention is characterized in that the heat exchange type ventilator with dehumidification function includes: a heat exchange type ventilator that performs heat exchange between the exhaust air flow and the supply air flow , the exhaust flow circulates in the exhaust air passage for exhausting indoor air to the outside, the supply air flow circulates in the supply air passage for supplying outdoor air to the indoor; Dehumidify. The dehumidification device includes: a refrigeration cycle, which is composed of a compressor, a radiator, an expander, and a heat absorber; and a heat exchanger, which is arranged between the heat absorber and the heat Heat exchange with the air flowing in the second channel. The dehumidifier is configured so that the heat-exchanged supply air is introduced from the air supply air passage, and the exhaust air is introduced from the exhaust air passage. A part of the air supply air introduced into the dehumidifier passes through the heat absorber, the first flow path, and the radiator in this order, and then is led out to the air supply air path. The other part of the supply air flow introduced into the dehumidification device flows through the second flow path and the radiator in sequence, and then is led out to the supply air flow path. The exhaust flow introduced into the dehumidifier passes through the radiator, and then is led out to the exhaust air path.

根据这样的结构,能够通过来自热交换型换气装置的排气流(在需要除湿的夏季,是温度比供气流低的排气流)得到除湿装置中的散热器的冷却(排热)所需的能量。因此,能够抑制除湿后的空气(供气流)的温度上升。其结果是,即使在应用了将制冷循环和热交换器组合而成的除湿装置的情况下,也能够对伴随除湿而产生的温度上升得到抑制的供气流进行输送。也就是说,能够提供可以对伴随除湿而产生的温度上升得到抑制的供气流进行输送的带除湿功能的热交换型换气装置。According to such a structure, the cooling (exhaust heat) of the radiator in the dehumidification device can be obtained by the exhaust flow from the heat exchange type ventilator (in summer when dehumidification is required, the exhaust flow is lower in temperature than the supply air flow). energy needed. Therefore, the temperature rise of the dehumidified air (supply air flow) can be suppressed. As a result, even when a dehumidifier combining a refrigeration cycle and a heat exchanger is applied, it is possible to send a supply air flow in which a temperature rise caused by dehumidification is suppressed. That is, it is possible to provide a heat exchange type ventilator with a dehumidification function capable of sending a supply air flow whose temperature rise accompanying dehumidification is suppressed.

另外,也可以构成为,向除湿装置导入的排气流为热交换前的排气流。Alternatively, the exhaust flow introduced into the dehumidifier may be an exhaust flow before heat exchange.

根据这样的结构,由于使用温度比热交换后的排气流低的热交换前的排气流,因此能够更有效地冷却散热器。因此,能够进一步抑制除湿后的空气(供气流)的温度上升。According to such a configuration, since the exhaust flow before heat exchange whose temperature is lower than the exhaust flow after heat exchange is used, the radiator can be cooled more effectively. Therefore, the temperature rise of the dehumidified air (supply air flow) can be further suppressed.

另外,也可以构成为,向除湿装置导入的排气流是使热交换前的排气流与热交换后的排气流合流而成的排气流。Alternatively, the exhaust flow introduced into the dehumidifier may be an exhaust flow obtained by merging the exhaust flow before heat exchange and the exhaust flow after heat exchange.

根据这样的结构,由于使热交换前的排气流与热交换后的排气流合流,因此能够在使温度低于热交换后的排气流的状态下增加向除湿装置导入的排气流的风量。因此,能够有效地进行散热器的冷却,从而能够抑制除湿后的空气(供气流)的温度上升。According to such a configuration, since the exhaust flow before heat exchange and the exhaust flow after heat exchange are merged, it is possible to increase the exhaust flow introduced into the dehumidifier while keeping the temperature lower than that of the exhaust flow after heat exchange. air volume. Therefore, the radiator can be effectively cooled, and the temperature rise of the dehumidified air (supply air flow) can be suppressed.

另外,在本发明的带除湿功能的热交换型换气装置中,也可以构成为,散热器具有第一散热器以及与第一散热器不同的第二散热器,膨胀器具有第一膨胀器以及与第一膨胀器不同的第二膨胀器。制冷循环构成为将压缩机、第一散热器、第一膨胀器、第二散热器、第二膨胀器、吸热器依次连结。热交换器配置在吸热器与第二散热器之间。导入到除湿装置的供气流的一部分在依次流通过吸热器、第一流路、第二散热器后,向供气风路导出。导入到除湿装置的供气流的另一部分在依次流通过第二流路、第二散热器后,向供气风路导出。导入到除湿装置的排气流在流通过第一散热器后,向排气风路导出。In addition, in the heat exchange type ventilator with a dehumidification function according to the present invention, the radiator may have a first radiator and a second radiator different from the first radiator, and the expander may have a first expander. and a second expander different from the first expander. The refrigeration cycle is configured by sequentially connecting a compressor, a first radiator, a first expander, a second radiator, a second expander, and a heat absorber. The heat exchanger is arranged between the heat absorber and the second radiator. A part of the air supply air introduced into the dehumidifier passes through the heat absorber, the first flow path, and the second radiator in sequence, and then is led out to the air supply air path. The other part of the supply air flow introduced into the dehumidification device flows through the second flow path and the second radiator in sequence, and then is led out to the supply air flow path. The exhaust flow introduced into the dehumidifier passes through the first radiator, and then is led out to the exhaust air passage.

根据这样的结构,通过第一膨胀器对制冷循环内的制冷剂(被排气流冷却了的从第一散热器导入的制冷剂)进行减压,因此能够使向第二散热器导入的制冷剂的温度低于向第一散热器导入的制冷剂的温度。因此,能够抑制对供气流与第二散热器进行了热交换的情况下的供气流的温度上升。也就是说,能够成为可以对伴随除湿而产生的温度上升得到抑制的供气流进行输送的带除湿功能的热交换型换气装置。According to such a configuration, the refrigerant in the refrigeration cycle (refrigerant introduced from the first radiator cooled by the exhaust flow) is decompressed by the first expander, so that the refrigerant introduced to the second radiator can be decompressed. The temperature of the refrigerant is lower than the temperature of the refrigerant introduced into the first radiator. Therefore, it is possible to suppress an increase in the temperature of the supply airflow when heat exchange is performed between the supply airflow and the second radiator. In other words, it is possible to provide a heat exchange type ventilator with a dehumidification function capable of sending a supply air flow in which a temperature rise accompanying dehumidification is suppressed.

另外,也可以构成为,在第二流路与第二散热器之间具备增减在第二流路流动的空气的空气流量调整部。In addition, an air flow adjustment unit for increasing or decreasing the air flowing in the second flow path may be provided between the second flow path and the second radiator.

根据这样的结构,能够使在第一流路流通的气流的风量与在第二流路流通的气流的风量的比率可变。因此,通过使在第一流路流通的气流的风量多于在第二流路流通的气流的风量,能够有效地降低向第二散热器流通的空气的温度,从而能够提高除湿效果。According to such a configuration, the ratio of the air volume of the airflow flowing through the first flow path to the air volume of the air flow flowing through the second flow path can be varied. Therefore, by making the volume of the airflow flowing through the first flow path larger than that of the airflow flowing through the second flow path, the temperature of the air flowing to the second radiator can be effectively lowered, thereby improving the dehumidification effect.

以下,参照附图对用于实施本发明的方式进行说明。需要说明的是,以下的实施方式是将本发明具体化的一例,并不对本发明的技术范围进行限定。另外,在所有附图中,对相同的部位标注相同的附图标记并省略说明。并且,对于并不直接与本发明相关的各部分的详细情况,为了避免重复而省略每个附图的说明。Hereinafter, modes for implementing the present invention will be described with reference to the drawings. In addition, the following embodiment is an example which actualized this invention, and does not limit the technical scope of this invention. In addition, in all drawings, the same code|symbol is attached|subjected to the same part, and description is abbreviate|omitted. In addition, the description of each drawing will be omitted in order to avoid repetition of the details of each part that is not directly related to the present invention.

(实施方式1)(Embodiment 1)

以下,参照附图对本发明的实施方式进行说明。Hereinafter, embodiments of the present invention will be described with reference to the drawings.

(前提例)(premise example)

首先,参照图1、图2对成为本发明的实施方式的前提例的热交换型换气装置进行说明。图1是示出本发明的前提例的热交换型换气装置在住宅中的设置状态的示意图。图2是示出本发明的前提例的热交换型换气装置的结构的示意图。First, a heat exchange type ventilator serving as a premise example of an embodiment of the present invention will be described with reference to FIGS. 1 and 2 . FIG. 1 is a schematic diagram showing an installation state of a heat exchange type ventilator of a precondition example of the present invention in a house. Fig. 2 is a schematic diagram showing the configuration of a heat exchange type ventilator according to a precondition example of the present invention.

在图1中,在家1的室内设置有热交换型换气装置10。热交换型换气装置10是一边对室内的空气与室外的空气进行热交换一边进行换气的装置。In FIG. 1 , a heat exchange type ventilator 10 is installed in a room of a home 1 . The heat exchange type ventilator 10 is a device that ventilates while exchanging heat between indoor air and outdoor air.

如图1所示,排气流2如黑色箭头所示那样经由热交换型换气装置10而被排放至室外。排气流2是从室内向室外排出的空气流。另外,供气流3如白色箭头所示那样经由热交换型换气装置10而被取入到室内。供气流3是从室外取入到室内的空气流。例如举出日本的冬季为例,排气流2为20℃~25℃,与此相对供气流3有时会到达冰点以下。热交换型换气装置10进行换气,并且在该换气时,将排气流2的热量向供气流3传递,从而抑制不必要的热量的排放。As shown in FIG. 1 , the exhaust gas flow 2 is discharged to the outside through the heat exchange type ventilator 10 as indicated by a black arrow. The exhaust flow 2 is an air flow discharged from the room to the outside. In addition, the supply air flow 3 is taken into the room via the heat exchange type ventilator 10 as indicated by a white arrow. The supply air flow 3 is an air flow taken into the room from the outside. For example, taking winter in Japan as an example, the temperature of the exhaust air flow 2 is 20° C. to 25° C., whereas the supply air flow 3 may be below the freezing point. The heat exchange type ventilator 10 performs ventilation, and during the ventilation, transfers the heat of the exhaust flow 2 to the supply flow 3 , thereby suppressing unnecessary heat emission.

如图2所示,热交换型换气装置10具备主体外壳11、热交换元件12、排气风扇13、内气口14、排气口15、供气风扇16、外气口17、供气口18、排气风路4、供气风路5。主体外壳11是热交换型换气装置10的外框。在主体外壳11的外周形成有内气口14、排气口15、外气口17、供气口18。内气口14是将排气流2吸入热交换型换气装置10的吸入口。排气口15是将排气流2从热交换型换气装置10向室外排出的排出口。外气口17是将供气流3吸入热交换型换气装置10的吸入口。供气口18是将供气流3从热交换型换气装置10向室内排出的排出口。As shown in Figure 2, the heat exchange type ventilator 10 has a main body shell 11, a heat exchange element 12, an exhaust fan 13, an inner air port 14, an exhaust port 15, an air supply fan 16, an outer air port 17, and an air supply port 18. , Exhaust air path 4, air supply air path 5. The main body case 11 is the outer frame of the heat exchange type ventilator 10 . An inner air port 14 , an exhaust port 15 , an outer air port 17 , and an air supply port 18 are formed on the outer periphery of the main body casing 11 . The inner air port 14 is a suction port for sucking the exhaust flow 2 into the heat exchange type ventilator 10 . The exhaust port 15 is a discharge port for discharging the exhaust flow 2 from the heat exchange type ventilator 10 to the outside. The external air port 17 is a suction port for sucking the supply air flow 3 into the heat exchange type ventilator 10 . The air supply port 18 is a discharge port for discharging the supply air flow 3 from the heat exchange type ventilator 10 into the room.

在主体外壳11的内部安装有热交换元件12、排气风扇13、供气风扇16。另外,在主体外壳11的内部构成有排气风路4、供气风路5。热交换元件12是用于在流通在排气风路4的排气流2与流通在供气风路5的供气流3之间进行热交换(显热和潜热)的构件。排气风扇13是用于将排气流2从内气口14吸入并从排气口15排出的鼓风机。供气风扇16是用于将供气流3从外气口17吸入并从供气口18排出的鼓风机。排气风路4是连通内气口14与排气口15的风路。供气风路5是连通外气口17与供气口18的风路。由排气风扇13吸入的排气流2经由排气风路4内的热交换元件12、排气风扇13从排气口15被排出至室外。另外,由供气风扇16吸入的供气流3经由供气风路5内的热交换元件12、供气风扇16从供气口18被供给到室内。A heat exchange element 12 , an exhaust fan 13 , and an air supply fan 16 are installed inside the main body casing 11 . In addition, an exhaust air passage 4 and an air supply air passage 5 are formed inside the main body casing 11 . The heat exchange element 12 is a member for exchanging heat (sensible heat and latent heat) between the exhaust air flow 2 flowing through the exhaust air passage 4 and the supply air flow 3 flowing through the supply air passage 5 . The exhaust fan 13 is a blower for sucking the exhaust flow 2 from the inner air port 14 and discharging it from the exhaust port 15 . The air supply fan 16 is a blower for sucking the air supply air 3 from the external air port 17 and discharging it from the air supply port 18 . The exhaust air passage 4 is an air passage connecting the inner air port 14 and the exhaust port 15 . The air supply air passage 5 is an air passage connecting the external air port 17 and the air supply port 18 . The exhaust flow 2 drawn in by the exhaust fan 13 is discharged to the outside through the exhaust port 15 via the heat exchange element 12 in the exhaust air passage 4 and the exhaust fan 13 . In addition, the air supply airflow 3 sucked by the air supply fan 16 is supplied into the room from the air supply port 18 via the heat exchange element 12 in the air supply air passage 5 and the air supply fan 16 .

热交换型换气装置10在进行热交换换气的情况下,使热交换元件12的排气风扇13以及供气风扇16进行动作,从而在热交换元件12中,在流通在排气风路4的排气流2与流通在供气风路5的供气流3之间进行热交换。由此,热交换型换气装置10在进行换气时,将向室外排放的排气流2的热量向取入到室内的供气流3传递,从而抑制不必要的热量的排放,并向室内回收热量。其结果是,在冬季,在进行换气时,能够抑制室内的空气的温度由于室外的温度较低的空气而降低的情况。另一方面,在夏季,在进行换气时,能够抑制室内的空气的温度由于室外的温度较高的空气而上升的情况。When the heat exchange type ventilator 10 performs heat exchange and ventilation, the exhaust fan 13 and the air supply fan 16 of the heat exchange element 12 are operated, so that in the heat exchange element 12, the Heat exchange is performed between the exhaust air flow 2 of 4 and the air supply air flow 3 circulating in the air supply air path 5 . Thus, when the heat exchange type ventilator 10 performs ventilation, the heat of the exhaust air flow 2 discharged to the outdoors is transferred to the air supply air flow 3 taken into the room, thereby suppressing unnecessary heat discharge and releasing heat to the indoor air. heat recovery. As a result, during ventilation in winter, it is possible to suppress a decrease in the temperature of the indoor air due to the low-temperature outdoor air. On the other hand, in summer, when ventilation is performed, it is possible to suppress the temperature of the indoor air from rising due to the outdoor air having a high temperature.

实施方式1至少包含以下的实施方式1-1、实施方式1-2、实施方式1-3、实施方式1-4以及实施方式1-5。Embodiment 1 includes at least the following Embodiments 1-1, 1-2, 1-3, 1-4, and 1-5.

(实施方式1-1)(Embodiment 1-1)

接下来,参照图3对实施方式1-1的带除湿功能的热交换型换气装置进行说明。图3是示出本发明的实施方式1-1的带除湿功能的热交换型换气装置的结构的示意图。需要说明的是,在图3以后的各示意图中,将排气风路4以及供气风路5兼作为热交换型换气装置10内的排气流2以及供气流3的流动(黑箭头)进行标记。Next, a heat exchange type ventilator with a dehumidification function according to Embodiment 1-1 will be described with reference to FIG. 3 . Fig. 3 is a schematic diagram showing the configuration of a heat exchange type ventilator with a dehumidification function according to Embodiment 1-1 of the present invention. It should be noted that, in each schematic diagram after FIG. 3 , the exhaust air passage 4 and the air supply air passage 5 are also used as the flow of the exhaust air flow 2 and the air supply air flow 3 in the heat exchange type ventilator 10 (black arrows). ) to mark.

如图3所示,实施方式1-1的带除湿功能的热交换型换气装置50具有相对于前提例的热交换型换气装置10连结作为赋予除湿功能的机构的除湿装置30而成的结构。As shown in FIG. 3 , the heat-exchange-type ventilator 50 with a dehumidification function according to Embodiment 1-1 has a dehumidifier 30 as a mechanism for imparting a dehumidification function to the heat-exchange-type ventilator 10 of the preceding example. structure.

除湿装置30是用于进行热交换型换气装置10中的热交换后的供气流3的除湿的单元。除湿装置30具备:制冷循环,其构成为包括压缩机31、散热器32、膨胀器33及吸热器34;以及热交换器35。并且,本实施方式的制冷循环构成为将压缩机31、散热器32、膨胀器33以及吸热器34依次连结为环状。在制冷循环中,例如,利用替代氟利昂(HFC134a)作为制冷剂。另外,构成制冷循环的各设备的连结多使用铜管,且以焊接方式连结。The dehumidifier 30 is means for dehumidifying the heat-exchanged supply airflow 3 in the heat exchange type ventilator 10 . The dehumidifier 30 includes: a refrigeration cycle including a compressor 31 , a radiator 32 , an expander 33 , and a heat absorber 34 ; and a heat exchanger 35 . Moreover, the refrigeration cycle of this embodiment is comprised so that the compressor 31, the radiator 32, the expander 33, and the heat absorber 34 are sequentially connected in ring shape. In the refrigeration cycle, for example, alternative Freon (HFC134a) is used as a refrigerant. In addition, copper pipes are often used for connecting the various devices that constitute the refrigeration cycle, and they are connected by welding.

压缩机31是对制冷循环中的低温、低压的制冷剂气体(工作介质气体)进行压缩而提高压力使其高温化的设备。在本实施方式中,压缩机31将制冷剂气体的温度高温化至45℃左右。The compressor 31 is a device that compresses low-temperature and low-pressure refrigerant gas (working medium gas) in the refrigeration cycle to increase the pressure and increase the temperature. In the present embodiment, the compressor 31 raises the temperature of the refrigerant gas to about 45°C.

散热器32是在通过压缩机31而成为高温、高压的制冷剂气体与空气(排气流2、供气流3)之间进行热交换从而向外部(制冷循环外)排放热量的设备。此时,制冷剂气体在高压下被冷凝而液化。在散热器32中,导入的制冷剂气体的温度(45℃左右)高于空气的温度,因此若进行热交换,则空气升温,制冷剂气体被冷却。需要说明的是,散热器32也称为冷凝器。The radiator 32 is a device for exchanging heat between the high-temperature, high-pressure refrigerant gas and air (exhaust flow 2, supply flow 3) by the compressor 31 to discharge heat to the outside (outside the refrigeration cycle). At this time, the refrigerant gas is condensed and liquefied under high pressure. In the radiator 32 , since the temperature (about 45° C.) of the introduced refrigerant gas is higher than the temperature of the air, when heat exchange is performed, the temperature of the air rises and the refrigerant gas is cooled. It should be noted that the radiator 32 is also called a condenser.

膨胀器33是对通过散热器32而液化了的高压的制冷剂进行减压从而使其成为原本的低温、低压的液体的设备。需要说明的是,膨胀器33也称为膨胀阀。The expander 33 is a device that depressurizes the high-pressure refrigerant liquefied by the radiator 32 into an original low-temperature and low-pressure liquid. It should be noted that the expander 33 is also called an expansion valve.

吸热器34是使在膨胀器33流通后的制冷剂从空气吸收热量而蒸发并使液状的制冷剂成为低温、低压的制冷剂气体的设备。在吸热器34中,导入的制冷剂的温度低于空气的温度,因此若进行热交换,则空气被冷却,制冷剂升温。需要说明的是,吸热器34也称为蒸发器。The heat absorber 34 is a device that absorbs heat from the air to evaporate the refrigerant that has passed through the expander 33 , and turns the liquid refrigerant into a low-temperature and low-pressure refrigerant gas. In the heat absorber 34 , since the temperature of the introduced refrigerant is lower than the temperature of the air, when heat exchange is performed, the air is cooled and the temperature of the refrigerant rises. It should be noted that the heat absorber 34 is also called an evaporator.

热交换器35是具备显热型的热交换元件的热交换器。热交换器35与现有的除湿装置1100中的热交换器1111(参照图9)同样地配置在吸热器34与散热器32之间的空间。在热交换器35的内部设置有供空气向规定的方向流动的第一流路36、以及供空气向与第一流路36大致正交的方向流动的第二流路37。第一流路36是将从吸热器34导入的空气向散热器32导出的流路。第二流路37是将从热交换型换气装置10导入的空气向散热器32导出的流路。并且,热交换器35在流动在第一流路36的空气与流动在第二流路37的空气之间仅对显热进行交换。The heat exchanger 35 is a heat exchanger including sensible heat type heat exchange elements. Heat exchanger 35 is arranged in the space between heat absorber 34 and radiator 32 similarly to heat exchanger 1111 (see FIG. 9 ) in conventional dehumidifier 1100 . Inside the heat exchanger 35 are provided a first flow path 36 through which air flows in a predetermined direction, and a second flow path 37 through which air flows in a direction substantially perpendicular to the first flow path 36 . The first flow path 36 is a flow path that leads the air introduced from the heat absorber 34 to the radiator 32 . The second flow path 37 is a flow path that leads the air introduced from the heat exchange type ventilator 10 to the radiator 32 . Furthermore, the heat exchanger 35 exchanges only sensible heat between the air flowing through the first flow path 36 and the air flowing through the second flow path 37 .

接下来,参照图3对热交换型换气装置10与除湿装置30之间的气流(排气流2、供气流3)的流动进行说明。需要说明的是,在以下的说明中,热交换后的气流(排气流2、供气流3)或风路(排气风路4、供气风路5)表示通过热交换型换气装置10中的热交换元件12后的气流或风路,热交换前的气流或风路表示通过热交换元件12前的气流或风路。Next, the flow of the airflow (exhaust airflow 2, supply airflow 3) between the heat exchange type ventilator 10 and the dehumidifier 30 will be described with reference to FIG. 3 . It should be noted that, in the following description, the airflow after heat exchange (exhaust airflow 2, supply airflow 3) or the air path (exhaust air path 4, air supply air path 5) means that the airflow through the heat exchange type ventilator The air flow or air path behind the heat exchange element 12 in 10 , and the air flow or air path before heat exchange represent the air flow or air path before passing through the heat exchange element 12 .

如图3所示,在热交换型换气装置10中,在热交换后的排气风路4设置有切换风门40,在热交换后的供气风路5设置有切换风门41。切换风门40是用于对使在排气风路4流通的排气流2向室外流动的状态、以及使在排气风路4流通的排气流2向除湿装置30流动的状态进行切换的风门。另外,切换风门41是用于对使在供气风路5流通的供气流3向室内流动的状态、以及使在供气风路5流通的供气流3向除湿装置30流动的状态进行切换的风门。As shown in FIG. 3 , in the heat exchange type ventilator 10 , a switching damper 40 is provided in the exhaust air passage 4 after heat exchange, and a switching damper 41 is provided in the air supply air passage 5 after heat exchange. The switching damper 40 is used to switch between the state where the exhaust air flow 2 flowing through the exhaust air passage 4 flows to the outside and the state where the exhaust air flow 2 flowing through the exhaust air passage 4 flows to the dehumidifier 30 . throttle. In addition, the switching damper 41 is for switching between the state where the air supply air 3 flowing through the air supply air passage 5 flows into the room, and the state in which the air supply air 3 flowing through the air supply air passage 5 flows toward the dehumidifier 30 . throttle.

在带除湿功能的热交换型换气装置50中,利用各切换风门成为气流向除湿装置30流动的状态,从而对热交换后的供气流3执行除湿。关于除湿的详细情况将后述。需要说明的是,在无需除湿的冬季等情况下,利用各切换风门成为气流不向除湿装置30流动的状态,从而由除湿装置30引起的压力损失的上升得到抑制。由此,作为带除湿功能的热交换型换气装置50,能够实现全年的节能下的运转。In the heat exchange type ventilator 50 with a dehumidification function, each switching damper is used to make the airflow flow to the dehumidifier 30, and dehumidification is performed on the supply airflow 3 after heat exchange. Details about dehumidification will be described later. In addition, in winter when dehumidification is not required, the airflow does not flow to the dehumidifier 30 by each switching damper, and the pressure loss increase by the dehumidifier 30 is suppressed. Accordingly, as the heat exchange type ventilator 50 with a dehumidification function, it is possible to realize energy-saving operation throughout the year.

另外,如图3所示,在除湿装置30设置有分支风门42,该分支风门42将向内部导入的热交换后的供气流3分割为两股气流(第一供气流3a、第二供气流3b)。第一供气流3a是向吸热器34导入的气流,第二供气流3b是向热交换器35导入的气流。分支风门42以使第二供气流3b的风量少于第一供气流3a的风量的方式对供气流3进行分割。在此,第一供气流3a相当于技术方案的“导入到除湿装置的供气流的一部分”,第二供气流3b相当于技术方案的“导入到除湿装置的供气流的另一部分”。In addition, as shown in FIG. 3 , a branch damper 42 is provided on the dehumidifier 30, and the branch damper 42 divides the heat-exchanged supply airflow 3 introduced into the inside into two airflows (the first supply airflow 3a, the second supply airflow 3a, and the second supply airflow 3a). 3b). The first supply air flow 3 a is an air flow introduced to the heat absorber 34 , and the second supply air flow 3 b is an air flow introduced to the heat exchanger 35 . The branch damper 42 divides the supply air flow 3 such that the air volume of the second supply air flow 3b is smaller than the air volume of the first supply air flow 3a. Here, the first supply airflow 3a corresponds to "a part of the supply airflow introduced into the dehumidifier" in the claim, and the second supply airflow 3b corresponds to "the other part of the supply airflow introduced into the dehumidifier" in the claim.

在除湿装置30中,分割后的供气流3中的第一供气流3a在依次流通过吸热器34、热交换器35的第一流路36、散热器32后,向热交换型换气装置10中的热交换后的供气风路5导出。另一方面,第二供气流3b在依次流通过热交换器35的第二流路37、散热器32后,向热交换后的供气风路5导出。在本实施方式中,除湿装置30构成为使在散热器32流通后的第一供气流3a与在散热器32流通后的第二供气流3b在合流后,向热交换后的供气风路5导出。In the dehumidification device 30, the first supply airflow 3a in the divided supply airflow 3 flows through the heat absorber 34, the first flow path 36 of the heat exchanger 35, and the radiator 32 in sequence, and then flows to the heat exchange type ventilation device. The air supply air passage 5 after the heat exchange in 10 is led out. On the other hand, the second supply air flow 3b flows through the second flow channel 37 of the heat exchanger 35 and the radiator 32 in order, and then is led out to the supply air channel 5 after heat exchange. In this embodiment, the dehumidifier 30 is configured such that the first air supply air flow 3a after flowing through the radiator 32 and the second air supply air flow 3b after flowing through the radiator 32 merge, and then flow to the air supply air path after heat exchange. 5 export.

另一方面,导入到除湿装置30的排气流2在流通过散热器32后,向热交换型换气装置10中的热交换后的排气风路4导出。也就是说,在本实施方式中,除湿装置30构成为通过从热交换型换气装置10导入的排气流2来冷却散热器32。On the other hand, the exhaust flow 2 introduced into the dehumidifier 30 passes through the radiator 32 and then is led out to the exhaust air passage 4 after heat exchange in the heat exchange type ventilator 10 . That is, in the present embodiment, the dehumidifier 30 is configured to cool the radiator 32 by the exhaust flow 2 introduced from the heat exchange type ventilator 10 .

接下来,对实施方式1-1的带除湿功能的热交换型换气装置50的除湿的动作进行说明。Next, the dehumidification operation of the heat exchange type ventilator 50 with a dehumidification function according to Embodiment 1-1 will be described.

首先,通过运转带除湿功能的热交换型换气装置50,从而排气风扇13和供气风扇16进行驱动,在热交换型换气装置10的内部产生在排气风路4流通的排气流2以及在供气风路5流通的供气流3。First, by operating the heat exchange type ventilator 50 with a dehumidification function, the exhaust fan 13 and the air supply fan 16 are driven, and the exhaust air flowing through the exhaust air passage 4 is generated inside the heat exchange type ventilator 10 . flow 2 and the supply air flow 3 circulating in the supply air path 5 .

例如,在夏季,排气流2是被空调等调节为舒适的温度湿度的室内的空气,供气流3是高温多湿的室外的空气。For example, in summer, the exhaust air flow 2 is indoor air adjusted to a comfortable temperature and humidity by an air conditioner, and the supply air flow 3 is outdoor air with high temperature and humidity.

排气流2与供气流3在热交换型换气装置10的内部交换显热与潜热。此时,水分从高温多湿的供气流3向排气流2移动,因此供气流3的水分被去除。也就是说,通过在热交换型换气装置10的内部的全热交换,从而进行针对供气流3的除湿(第一除湿)。The exhaust flow 2 and the supply flow 3 exchange sensible heat and latent heat in the heat exchange type ventilator 10 . At this time, moisture moves from the high-temperature and high-humidity supply airflow 3 to the exhaust airflow 2, so the moisture in the supply airflow 3 is removed. That is, dehumidification (first dehumidification) for the supply airflow 3 is performed by total heat exchange inside the heat exchange type ventilator 10 .

接下来,热交换后的供气流3向除湿装置30导入并被除湿。具体而言,导入到除湿装置30的供气流3中的第一供气流3a被吸热器34冷却。由此,第一供气流3a的温度成为露点温度以下,第一供气流3a结露,因此第一供气流3a的水分被去除。也就是说,通过在吸热器34流通,从而进行针对第一供气流3a的除湿(第二除湿)。Next, the heat-exchanged supply airflow 3 is introduced into the dehumidifier 30 and dehumidified. Specifically, the first supply air flow 3 a of the supply air flow 3 introduced into the dehumidification device 30 is cooled by the heat absorber 34 . Thereby, the temperature of the 1st supply airflow 3a becomes below dew point temperature, and since the 1st supply airflow 3a condenses, the moisture of the 1st supply airflow 3a is removed. That is, dehumidification (second dehumidification) with respect to the 1st supply airflow 3a is performed by passing through the heat absorber 34.

此外,导入到除湿装置30的供气流3中的剩余的第二供气流3b流入热交换器35的第二流路37,并与第一流路36内的被吸热器34冷却了的第一供气流3a进行热交换。由此,第二流路37内的第二供气流3b被冷却而结露,因此第二供气流3b的水分被去除。也就是说,通过在热交换器35进行显热交换,从而进行针对第二供气流3b的除湿(第三除湿)。In addition, the remaining second supply airflow 3 b of the supply airflow 3 introduced into the dehumidification device 30 flows into the second flow path 37 of the heat exchanger 35 , and is mixed with the first air flow cooled by the heat absorber 34 in the first flow path 36 . Air flow 3a is supplied for heat exchange. As a result, the second supply airflow 3b in the second flow path 37 is cooled to condense dew, and thus the moisture content of the second supply airflow 3b is removed. That is, by exchanging sensible heat in the heat exchanger 35, dehumidification (third dehumidification) with respect to the 2nd supply airflow 3b is performed.

也就是说,带除湿功能的热交换型换气装置50通过由热交换型换气装置10、吸热器34以及热交换器35各设备进行的除湿(第一除湿~第三除湿),而将水分从室外的高温多湿的供气流3中去除,此时,确保了所需的除湿量。That is, the heat exchange type ventilator 50 with a dehumidification function performs dehumidification (the first dehumidification to the third dehumidification) by the heat exchange type ventilator 10, the heat absorber 34, and the heat exchanger 35. Moisture is removed from the outdoor high-temperature and humid supply airflow 3, and at this time, the required dehumidification capacity is ensured.

并且,带除湿功能的热交换型换气装置50中的除湿装置30构成为从热交换型换气装置10的排气风路4导入排气流2,并使导入的排气流2在散热器32流通。在散热器32中,通过导入的排气流2,来排放相当于在吸热器34中吸收的能量以及在压缩机31中用于使制冷循环内的制冷剂循环的能量的热量。从散热器32吸收了热量的排气流2向排气风路4导出,并直接向室外排出。也就是说,散热器32被导入的排气流2冷却。并且,作为其结果,伴随在散热器32流通而产生的供气流3(第一供气流3a、第二供气流3b)的温度上升得到抑制。And, the dehumidifier 30 in the heat exchange type ventilator 50 with dehumidification function is configured to introduce the exhaust flow 2 from the exhaust air passage 4 of the heat exchange type ventilator 10, and make the introduced exhaust flow 2 dissipate heat. device 32 flow. In the radiator 32 , heat equivalent to the energy absorbed in the heat absorber 34 and the energy for circulating the refrigerant in the refrigeration cycle in the compressor 31 is discharged by the introduced exhaust flow 2 . The exhaust flow 2 that has absorbed heat from the radiator 32 is led out to the exhaust air passage 4 and directly discharged outdoors. That is to say, the radiator 32 is cooled by the introduced exhaust gas flow 2 . And, as a result, the temperature rise of the supply air flow 3 (the first supply air flow 3 a and the second supply air flow 3 b ) accompanying the flow through the radiator 32 is suppressed.

根据实施方式1-1的带除湿功能的热交换型换气装置50,能够通过来自热交换型换气装置10的排气流2(在需要除湿的夏季,是温度比供气流3低的排气流2)得到除湿装置30中的散热器32的冷却(排热)所需的能量,因此能够抑制除湿后的空气(供气流3)的温度上升。即使在应用了将制冷循环和热交换器35组合而成的除湿装置30的情况下,也能够对伴随除湿而产生的温度上升得到抑制的供气流进行输送。也就是说,能够成为可以对伴随除湿而产生的温度上升得到抑制的供气流进行输送的带除湿功能的热交换型换气装置50。According to the heat exchange type ventilator 50 with dehumidification function according to the embodiment 1-1, the exhaust gas flow 2 from the heat exchange type ventilator 10 (in the summer when dehumidification is required, the exhaust gas flow 2 whose temperature is lower than that of the supply gas flow 3 ) can be passed. The airflow 2) obtains the energy required for cooling (heat removal) of the radiator 32 in the dehumidifier 30, so that the temperature rise of the dehumidified air (supply airflow 3) can be suppressed. Even when the dehumidification device 30 combining the refrigeration cycle and the heat exchanger 35 is applied, it is possible to send the supply air flow in which the temperature rise caused by dehumidification is suppressed. That is, it is possible to provide a heat exchange type ventilator 50 with a dehumidification function capable of sending a supply air flow in which a temperature increase accompanying dehumidification is suppressed.

(实施方式1-2)(Embodiment 1-2)

本发明的实施方式1-2的带除湿功能的热交换型换气装置50a在构成为将热交换型换气装置10a中的热交换前的排气流2的一部分向除湿装置30导入这一点上与实施方式1-1不同。除此以外的带除湿功能的热交换型换气装置50a的结构与实施方式1-1的带除湿功能的热交换型换气装置50相同。以下,适当省略对实施方式1-1中说明过的内容的再度说明,主要对与实施方式1-1不同的点进行说明。The heat exchange type ventilator 50 a with a dehumidification function according to Embodiment 1-2 of the present invention is configured to introduce a part of the exhaust gas stream 2 before heat exchange in the heat exchange type ventilator 10 a to the dehumidifier 30 . It is different from Embodiment 1-1 above. The structure of the heat exchange type ventilator 50a with a dehumidification function other than this is the same as that of the heat exchange type ventilator 50 with a dehumidification function in Embodiment 1-1. Hereinafter, re-description of the content described in Embodiment 1-1 will be appropriately omitted, and points different from Embodiment 1-1 will be mainly described.

参照图4对本发明的实施方式1-2的带除湿功能的热交换型换气装置50a进行说明。图4是示出本发明的实施方式1-2的带除湿功能的热交换型换气装置的结构的示意图。A heat exchange type ventilator 50 a with a dehumidification function according to Embodiment 1-2 of the present invention will be described with reference to FIG. 4 . Fig. 4 is a schematic diagram showing the configuration of a heat exchange type ventilator with a dehumidification function according to Embodiment 1-2 of the present invention.

如图4所示,在热交换型换气装置10a设置有分支风门43,该分支风门43将热交换前的排气流2分割为两股气流(第一排气流2a、第二排气流2b)。第一排气流2a是向热交换元件12导入的气流,第二排气流2b是向除湿装置30导入的气流。需要说明的是,分支风门43以使第二排气流2b的风量少于第一排气流2a的风量的方式对排气流2进行分割。As shown in Figure 4, the heat exchange type ventilator 10a is provided with a branch damper 43, which divides the exhaust flow 2 before the heat exchange into two streams (the first exhaust flow 2a, the second exhaust flow Stream 2b). The first exhaust flow 2 a is an air flow introduced to the heat exchange element 12 , and the second exhaust flow 2 b is an air flow introduced to the dehumidifier 30 . In addition, the branch damper 43 divides the exhaust flow 2 so that the air volume of the second exhaust flow 2b is smaller than the air volume of the first exhaust flow 2a.

在热交换型换气装置10a中,分割后的排气流2中的第一排气流2a在流通过热交换元件12后,从排气风路4(图2的排气口15)向室外排出。另一方面,第二排气流2b在流通过除湿装置30的散热器32后,向热交换后的排气风路4导出。在本实施方式中,热交换型换气装置10a构成为使通过热交换元件12而进行了热交换的第一排气流2a与在除湿装置30的散热器32流通后的第二排气流2b在合流后,向室外排出。In the heat exchange type ventilator 10a, the first exhaust flow 2a of the divided exhaust flow 2 passes through the heat exchange element 12, and then flows from the exhaust air passage 4 (exhaust port 15 in FIG. 2 ) to the outside. discharge. On the other hand, the second exhaust flow 2 b is led out to the exhaust air duct 4 after heat exchange after passing through the radiator 32 of the dehumidifier 30 . In the present embodiment, the heat exchange type ventilator 10 a is configured so that the first exhaust flow 2 a subjected to heat exchange through the heat exchange element 12 and the second exhaust flow after passing through the radiator 32 of the dehumidifier 30 2b is discharged to the outside after merging.

根据实施方式1-2的带除湿功能的热交换型换气装置50a,在夏季,将温度低于热交换后的排气流2(第一排气流2a)的热交换前的排气流2(第二排气流2b)向除湿装置30导入,因此能够更有效地冷却散热器32。因此,能够进一步抑制除湿后的空气(供气流3)的温度上升。According to the heat exchange type ventilator 50a with a dehumidification function of Embodiment 1-2, in summer, the temperature of the exhaust stream before heat exchange is lower than that of the exhaust stream 2 after heat exchange (the first exhaust stream 2a). 2 (the second exhaust flow 2b) is introduced into the dehumidifier 30, so the radiator 32 can be cooled more effectively. Therefore, the temperature rise of the dehumidified air (supply air flow 3 ) can be further suppressed.

(实施方式1-3)(Embodiment 1-3)

本发明的实施方式1-3的带除湿功能的热交换型换气装置50b在构成为对热交换型换气装置10b中的热交换后的排气流2混合热交换前的排气流2的一部分后将其向除湿装置30导入这一点上与实施方式1-1、1-2不同。除此以外的带除湿功能的热交换型换气装置50b的结构与实施方式1-1的带除湿功能的热交换型换气装置50或实施方式1-2的带除湿功能的热交换型换气装置50a相同。以下,适当省略对实施方式1-1、1-2中说明过的内容的再度说明,主要对与实施方式1-1、1-2不同的点进行说明。The heat exchange type ventilator 50b with a dehumidification function according to Embodiment 1-3 of the present invention is configured to mix the exhaust stream 2 before heat exchange with the exhaust stream 2 after heat exchange in the heat exchange type ventilator 10b. It is different from Embodiments 1-1 and 1-2 in that a part thereof is then introduced into the dehumidifier 30 . The structure of the heat exchange type ventilator 50b with a dehumidification function is the same as that of the heat exchange type ventilator 50 with a dehumidification function in Embodiment 1-1 or the heat exchange type ventilator with a dehumidification function in Embodiment 1-2. Gas device 50a is the same. Hereinafter, re-description of the contents described in Embodiments 1-1 and 1-2 will be appropriately omitted, and points different from Embodiments 1-1 and 1-2 will be mainly described.

参照图5对本发明的实施方式1-3的带除湿功能的热交换型换气装置50b进行说明。图5是示出本发明的实施方式1-3的带除湿功能的热交换型换气装置的结构的示意图。A heat exchange type ventilator 50b with a dehumidification function according to Embodiment 1-3 of the present invention will be described with reference to FIG. 5 . Fig. 5 is a schematic diagram showing the configuration of a heat exchange type ventilator with a dehumidification function according to Embodiment 1-3 of the present invention.

如图5所示,在热交换型换气装置10b中,与实施方式1-1同样地在热交换后的排气风路4设置有切换风门40。另外,在热交换型换气装置10b中,与实施方式1-2同样地设置有将热交换前的排气流2分割为第一排气流2a与第二排气流2b的分支风门43。As shown in FIG. 5, in the heat exchange type ventilator 10b, the switching damper 40 is provided in the exhaust air path 4 after heat exchange similarly to Embodiment 1-1. In addition, in the heat exchange type ventilator 10b, similar to Embodiment 1-2, the branch damper 43 which divides the exhaust flow 2 before heat exchange into the 1st exhaust flow 2a and the 2nd exhaust flow 2b is provided. .

在热交换型换气装置10b中,分割后的排气流2中的第一排气流2a在流通过热交换元件12后,经由排气风路4的切换风门40向除湿装置30导出。此时,向第一排气流2a混合绕过热交换元件12而流通来的第二排气流2b。也就是说,向除湿装置30导入将热交换后的第一排气流2a与热交换前的第二排气流2b混合而成的排气流2。并且,导入到除湿装置30的排气流2在流通过散热器32后,向热交换型换气装置10b中的热交换后的排气风路4导出。In the heat exchange type ventilator 10 b , the first exhaust flow 2 a among the divided exhaust flows 2 passes through the heat exchange element 12 , and then is led out to the dehumidifier 30 through the switching damper 40 of the exhaust air passage 4 . At this time, the second exhaust gas flow 2 b that bypasses the heat exchange element 12 is mixed with the first exhaust gas flow 2 a. That is, the exhaust flow 2 obtained by mixing the first exhaust flow 2 a after heat exchange and the second exhaust flow 2 b before heat exchange is introduced into the dehumidifier 30 . Then, the exhaust gas flow 2 introduced into the dehumidifier 30 passes through the radiator 32, and then is led out to the exhaust air passage 4 after heat exchange in the heat exchange type ventilator 10b.

根据实施方式1-3的带除湿功能的热交换型换气装置50b,使热交换前的第二排气流2b与热交换后的第一排气流2a合流,因此能够在使温度低于热交换后的第一排气流2a的状态下增加向除湿装置30导入的排气流2(混合后的排气流)的风量。因此,能够有效地进行散热器32的冷却,从而能够抑制除湿后的空气(供气流)的温度上升。According to the heat exchange type ventilator 50b with a dehumidification function of Embodiment 1-3, the second exhaust flow 2b before heat exchange is merged with the first exhaust flow 2a after heat exchange, so the temperature can be lower than The air volume of the exhaust stream 2 (mixed exhaust stream) introduced into the dehumidifier 30 is increased in the state of the heat-exchanged first exhaust stream 2a. Therefore, the cooling of the radiator 32 can be effectively performed, and the temperature rise of the dehumidified air (supply air flow) can be suppressed.

(实施方式1-4)(Embodiments 1-4)

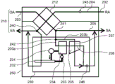
本发明的实施方式1-4的带除湿功能的热交换型换气装置50c在除湿装置30a的构成制冷循环的散热器以及膨胀器为两级结构这一点上与实施方式1-3不同。除此以外的带除湿功能的热交换型换气装置50c的结构与实施方式1-3的带除湿功能的热交换型换气装置50b相同。以下,适当省略对实施方式1-3中说明过的内容的再度说明,主要对与实施方式1-3不同的点进行说明。The heat exchange type ventilator 50c with a dehumidification function according to Embodiment 1-4 of the present invention differs from Embodiment 1-3 in that the radiator and expander constituting the refrigeration cycle of the dehumidifier 30a have a two-stage structure. The structure of the heat-exchange-type ventilator 50c with a dehumidification function other than this is the same as that of the heat-exchange-type ventilator 50b with a dehumidification function of Embodiment 1-3. Hereinafter, re-description of the contents described in Embodiment 1-3 will be appropriately omitted, and points different from Embodiment 1-3 will be mainly described.

参照图6对本发明的实施方式1-4的带除湿功能的热交换型换气装置50c进行说明。图6是示出本发明的实施方式1-4的带除湿功能的热交换型换气装置的结构的示意图。A heat exchange type ventilator 50c with a dehumidification function according to Embodiment 1-4 of the present invention will be described with reference to FIG. 6 . Fig. 6 is a schematic diagram showing the configuration of a heat exchange type ventilator with a dehumidification function according to Embodiment 1-4 of the present invention.

如图6所示,带除湿功能的热交换型换气装置50c中的除湿装置30a具有第一散热器32a以及与第一散热器32a不同的第二散热器32b作为散热器32A。另外,除湿装置30a具有第一膨胀器33a以及与第一膨胀器33a不同的第二膨胀器33b作为膨胀器33A。并且,除湿装置30a中的制冷循环构成为将压缩机31、第一散热器32a、第一膨胀器33a、第二散热器32b、第二膨胀器33b、吸热器34依次连结。并且,热交换器35与现有的热交换器1111(参照图9)同样地配置在吸热器34与第二散热器32b之间。As shown in FIG. 6, the dehumidifier 30a in the heat exchange type ventilator 50c with a dehumidification function has the 1st radiator 32a and the 2nd radiator 32b different from the 1st radiator 32a as the radiator 32A. Moreover, the dehumidifier 30a has the 1st expander 33a and the 2nd expander 33b different from the 1st expander 33a as expander 33A. In addition, the refrigeration cycle in the dehumidifier 30a is configured by sequentially connecting the compressor 31, the first radiator 32a, the first expander 33a, the second radiator 32b, the second expander 33b, and the heat absorber 34. In addition, the heat exchanger 35 is disposed between the heat absorber 34 and the second radiator 32b similarly to the conventional heat exchanger 1111 (see FIG. 9 ).

本实施方式中的压缩机31与实施方式1-3中的压缩机31不同,将制冷剂气体的温度高温化至50℃左右并向第一散热器32a导入。The compressor 31 in the present embodiment is different from the compressor 31 in Embodiments 1-3 in that the temperature of the refrigerant gas is raised to about 50° C. and introduced into the first radiator 32 a.

第一散热器32a是通过在与导入到除湿装置30a的排气流2(将热交换后的第一排气流2a与热交换前的第二排气流2b混合而成的排气流)之间进行热交换而向外部(制冷循环外)排放热量的设备。另外,第二散热器32b是通过在与导入到除湿装置30a的供气流3(第一供气流3a、第二供气流3b)之间进行热交换而向外部(制冷循环外)排放热量的设备。The first radiator 32a passes through the exhaust flow 2 introduced into the dehumidifier 30a (the exhaust flow obtained by mixing the first exhaust flow 2a after heat exchange and the second exhaust flow 2b before heat exchange). A device that exchanges heat between them and discharges heat to the outside (outside the refrigeration cycle). In addition, the second radiator 32b is a device that discharges heat to the outside (outside the refrigeration cycle) by exchanging heat with the supply airflow 3 (the first supply airflow 3a, the second supply airflow 3b) introduced into the dehumidifier 30a. .

在此,向第一散热器32a导入的制冷剂的温度被压缩机31调整为50℃左右,向第二散热器32b导入的制冷剂的温度被第一膨胀器33a调整为27℃左右。Here, the temperature of the refrigerant introduced into the first radiator 32a is adjusted to about 50°C by the compressor 31, and the temperature of the refrigerant introduced into the second radiator 32b is adjusted to about 27°C by the first expander 33a.

详细情况将后述,但第一膨胀器33a是对从第一散热器32a导入的高压的气液二相制冷剂(气体状态的制冷剂与液体状态的制冷剂混合存在的状态的制冷剂)进行减压而使其成为规定的温度(例如,室内温度即27℃左右)、中压的二相制冷剂的设备。另外,第二膨胀器33b是对从第二散热器32b导入的中压的过冷却液制冷剂进行减压而使其成为低温、低压的气液二相制冷剂的设备。The details will be described later, but the first expander 33a responds to the high-pressure gas-liquid two-phase refrigerant (refrigerant in a state where gaseous refrigerant and liquid refrigerant are mixed) introduced from the first radiator 32a. A device that depressurizes the refrigerant to a predetermined temperature (for example, about 27°C, which is the room temperature), and a medium-pressure two-phase refrigerant. In addition, the second expander 33b is a device that decompresses the medium-pressure subcooled liquid refrigerant introduced from the second radiator 32b to turn it into a low-temperature, low-pressure gas-liquid two-phase refrigerant.

并且,导入到除湿装置30a的第一供气流3a在依次流通过吸热器34、热交换器35的第一流路36、第二散热器32b后,向供气风路5导出。另一方面,导入到除湿装置30a的第二供气流3b在依次流通过热交换器35的第二流路37、第二散热器32b后,向供气风路5导出。另外,导入到除湿装置30a的排气流2(将热交换后的第一排气流2a与热交换前的第二排气流2b混合而成的排气流)在流通过第一散热器32a后,向排气风路4导出。Then, the first air supply air 3 a introduced into the dehumidifier 30 a flows through the heat absorber 34 , the first flow path 36 of the heat exchanger 35 , and the second radiator 32 b sequentially, and then is led out to the air supply air path 5 . On the other hand, the second supply air flow 3b introduced into the dehumidifier 30a passes through the second flow path 37 of the heat exchanger 35 and the second radiator 32b in this order, and then is led out to the supply air path 5 . In addition, the exhaust flow 2 introduced into the dehumidifier 30a (exhaust flow obtained by mixing the first exhaust flow 2a after heat exchange and the second exhaust flow 2b before heat exchange) passes through the first radiator in succession. After 32a, it is led out to the exhaust air path 4.

接下来,使用图7对带除湿功能的热交换型换气装置50c中的除湿装置30a的制冷循环的动作进行说明。图7是本发明的实施方式1-4的带除湿功能的热交换型换气装置的除湿运转时的莫里尔图。在此,纵轴是制冷剂的压力,横轴是制冷剂的比焓。另外,图7的区域S1是过热蒸气区域(制冷剂作为过热蒸气而存在的区域),区域S2是湿蒸气区域(制冷剂作为湿蒸气存在的区域),区域S3是过冷却液区域(制冷剂作为过冷却液而存在的区域)。并且,图7的曲线S4是饱和蒸气线(区域S1与区域S2的分界线)与饱和液线(区域S2与区域S3的分界线)夹着临界点(未图示)而构成的曲线。Next, the operation|movement of the refrigeration cycle of the dehumidifier 30a in the heat exchange type ventilator 50c with a dehumidification function is demonstrated using FIG. Fig. 7 is a Mollier diagram during a dehumidification operation of the heat exchange type ventilator with a dehumidification function according to Embodiment 1-4 of the present invention. Here, the vertical axis represents the pressure of the refrigerant, and the horizontal axis represents the specific enthalpy of the refrigerant. In addition, the region S1 of Fig. 7 is a superheated vapor region (the region where the refrigerant exists as superheated vapor), the region S2 is the wet vapor region (the region where the refrigerant exists as a wet vapor), and the region S3 is the supercooled liquid region (the refrigerant area that exists as a supercooled liquid). In addition, the curve S4 in FIG. 7 is a curve composed of a saturated vapor line (the boundary line between the regions S1 and S2 ) and a saturated liquid line (the boundary line between the regions S2 and S3 ) sandwiching a critical point (not shown).

首先,如图7所示,在除湿装置30a中,从压缩机31排出高温高压的气体制冷剂,该高温高压的气体制冷剂流入第一散热器32a(图7的点A)。First, as shown in FIG. 7, in the dehumidifier 30a, high-temperature and high-pressure gas refrigerant is discharged from the compressor 31, and the high-temperature and high-pressure gas refrigerant flows into the first radiator 32a (point A in FIG. 7).

然后,流入了第一散热器32a的气体制冷剂与向除湿装置30a导入的排气流2进行热交换,从而冷凝为与排出温度相比被冷却了的气体制冷剂或干燥度(气体的比例)较高的气液二相制冷剂,并流出第一散热器32a(图7的点B)。另一方面,通过第一散热器32a而温度上升了的排气流2向热交换后的排气风路4导出而向室外排出。Then, the gas refrigerant that has flowed into the first radiator 32a exchanges heat with the exhaust gas flow 2 introduced into the dehumidifier 30a, and is condensed into a gas refrigerant that has been cooled compared with the discharge temperature or dryness (gas ratio ) higher gas-liquid two-phase refrigerant, and flows out of the first radiator 32a (point B in FIG. 7 ). On the other hand, the exhaust flow 2 whose temperature has been raised by passing through the first radiator 32a is led out to the exhaust air passage 4 after heat exchange, and is discharged to the outside.

然后,流出第一散热器32a的气体制冷剂或气液二相制冷剂通过第一膨胀器33a而从高压被减压为中压,冷凝温度降低至规定的温度(室内温度),并流入第二散热器32b(图7的点C)。Then, the gas refrigerant or gas-liquid two-phase refrigerant flowing out of the first radiator 32a is decompressed from high pressure to medium pressure by the first expander 33a, and the condensation temperature is lowered to a predetermined temperature (room temperature), and flows into the second radiator 32a. Two radiators 32b (point C of FIG. 7).

然后,流入了第二散热器32b的规定的温度、中压的气液二相制冷剂与除湿后的供气流3(第一供气流3a、第二供气流3b)进行热交换,从而冷凝为干燥度较低的气液二相制冷剂或过冷却液制冷剂,并流出第二散热器32b(图7的点D)。另一方面,向除湿装置30a导入的供气流3(特别是与吸热器34进行了热交换的第一供气流3a)在通过与第二散热器32b的热交换而上升至规定的温度(室内温度)后,向供气风路5导出,并向室内吹出。更准确而言,在第二散热器32b流通后的供气流3成为导入到第二散热器32b的供气流3的温度与导入到第二散热器32b的制冷剂的温度之间的温度并被吹出。Then, the gas-liquid two-phase refrigerant at a predetermined temperature and medium pressure that has flowed into the second radiator 32b exchanges heat with the dehumidified supply air flow 3 (the first supply air flow 3a, the second supply air flow 3b), and is condensed into The gas-liquid two-phase refrigerant or subcooled liquid refrigerant with relatively low dryness flows out of the second radiator 32b (point D in FIG. 7 ). On the other hand, the supply airflow 3 introduced into the dehumidifier 30a (in particular, the first supply airflow 3a having exchanged heat with the heat absorber 34) rises to a predetermined temperature ( room temperature), it is exported to the air supply air path 5 and blown out to the room. More precisely, the supply air flow 3 after flowing through the second radiator 32b has a temperature between the temperature of the supply air flow 3 introduced into the second radiator 32b and the temperature of the refrigerant introduced into the second radiator 32b, and is controlled by blow out.

然后,流出第二散热器32b的过冷却液制冷剂被第二膨胀器33b减压而成为气液二相制冷剂,并流入吸热器34(图7的点E)。Then, the subcooled liquid refrigerant flowing out of the second radiator 32b is decompressed by the second expander 33b to become a gas-liquid two-phase refrigerant, and flows into the heat absorber 34 (point E in FIG. 7 ).

流入了吸热器34的气液二相制冷剂与除湿前的第一供气流3a进行热交换,从而气液二相制冷剂成为干燥度较高的制冷剂或气体制冷剂,并流出吸热器34(图7的点F)。另一方面,被吸热器34冷却了的第一供气流3a由于成为低于露点温度的空气而结露,从而能够去除第一供气流3a的水分。流出吸热器34的气体制冷剂被吸入压缩机31中。The gas-liquid two-phase refrigerant flowing into the heat absorber 34 exchanges heat with the first supply air flow 3a before dehumidification, so that the gas-liquid two-phase refrigerant becomes a refrigerant with a relatively high dryness or a gas refrigerant, and flows out to absorb heat device 34 (point F of FIG. 7). On the other hand, since the first air supply air 3a cooled by the heat absorber 34 becomes air lower than the dew point temperature, dew can be condensed, and the moisture of the first air supply air 3a can be removed. The gaseous refrigerant flowing out of the heat absorber 34 is sucked into the compressor 31 .

在这样的制冷循环中,利用第一膨胀器33a将制冷剂减压为中压,从而能够将由于第二散热器32b而上升的供气流3的温度调整为规定的温度(室内温度)。因此,除湿装置30a即使对供气流3与第二散热器32b进行热交换,也能够使供气流3的温度上升成为规定的温度程度。In such a refrigeration cycle, the temperature of the supply air flow 3 raised by the second radiator 32b can be adjusted to a predetermined temperature (indoor temperature) by depressurizing the refrigerant to an intermediate pressure by the first expander 33a. Therefore, even if the dehumidifier 30a exchanges heat between the supply airflow 3 and the second radiator 32b, the temperature of the supply airflow 3 can be raised to a predetermined temperature level.

更详细地进行说明。在实施方式1-3的散热器32中,在散热器32流通的供气流3与向散热器32导入的制冷剂(温度:45℃左右)之间进行热交换。因此,在散热器32流通后的供气流3被升温至最高45℃左右并被吹出。另一方面,在本实施方式的第二散热器32b中,向第二散热器32b导入的供气流3与向第二散热器32b导入的制冷剂(温度:27℃左右)之间进行热交换。因此,在第二散热器32b流通后的供气流3被升温至最高27℃左右并被吹出。也就是说,利用第一膨胀器33a将制冷剂温度调整为规定的温度(27℃左右),从而与该制冷剂进行热交换的供气流3不会成为比规定的温度(室内温度)高的温度。It will be described in more detail. In the radiator 32 of Embodiment 1-3, heat exchange is performed between the supply air flow 3 flowing through the radiator 32 and the refrigerant (temperature: about 45° C.) introduced into the radiator 32 . Therefore, the air supply air 3 after passing through the radiator 32 is heated up to about 45° C. at the maximum and blown out. On the other hand, in the second radiator 32b of the present embodiment, heat exchange is performed between the supply air flow 3 introduced into the second radiator 32b and the refrigerant (temperature: about 27°C) introduced into the second radiator 32b . Therefore, the air supply air 3 after passing through the second radiator 32b is heated up to about 27° C. at the maximum and blown out. That is, the temperature of the refrigerant is adjusted to a predetermined temperature (about 27° C.) by the first expander 33 a so that the supply air flow 3 that exchanges heat with the refrigerant does not become higher than the predetermined temperature (indoor temperature). temperature.

在此,本实施方式的除湿装置30a调整为通过第一散热器32a来排放相当于在吸热器34中吸收的能量以及在压缩机31中用于使制冷循环内的制冷剂循环的能量的热量的大部分。由此,能够减少通过第二散热器32b排放的热量,而使向第二散热器32b导入的制冷剂的温度下降至27℃左右。Here, the dehumidifier 30a of the present embodiment is adjusted so that the energy equivalent to the energy absorbed by the heat absorber 34 and the energy for circulating the refrigerant in the refrigeration cycle in the compressor 31 is discharged through the first radiator 32a. most of the heat. Thereby, the amount of heat discharged through the second radiator 32b can be reduced, and the temperature of the refrigerant introduced into the second radiator 32b can be lowered to about 27°C.

根据实施方式1-4的带除湿功能的热交换型换气装置50c,利用第一膨胀器33a对制冷循环内的制冷剂(从被排气流2冷却了的第一散热器32a导入的制冷剂)进行减压,从而能够使第二散热器32b的温度低于第一散热器32a的温度,因此能够抑制对供气流3与第二散热器32b进行热交换的情况下的供气流3的温度上升。也就是说,能够成为可以对伴随除湿而产生的温度上升得到抑制的供气流进行输送的带除湿功能的热交换型换气装置50c。According to the heat exchange type ventilator 50c with dehumidification function of Embodiment 1-4, the refrigerant in the refrigeration cycle (refrigerated from the first radiator 32a cooled by the exhaust flow 2) is cooled by the first expander 33a. agent) to depressurize the temperature of the second radiator 32b lower than the temperature of the first radiator 32a, so that the temperature of the supply airflow 3 in the case of heat exchange between the supply airflow 3 and the second radiator 32b can be suppressed. The temperature rises. That is, it is possible to provide a heat exchange type ventilator 50c with a dehumidification function capable of sending a supply air flow whose temperature rise accompanying dehumidification is suppressed.

(实施方式1-5)(Embodiments 1-5)

本发明的实施方式1-5的带除湿功能的热交换型换气装置50d在除湿装置30中的热交换器35与散热器32之间设置有辅助风扇38这一点上与实施方式1-1不同。除此以外的带除湿功能的热交换型换气装置50d的结构与实施方式1-1的带除湿功能的热交换型换气装置50相同。以下,适当省略对实施方式1-1中说明过的内容的再度说明,主要对与实施方式1-1不同的点进行说明。The heat exchange type ventilator 50d with a dehumidification function according to Embodiment 1-5 of the present invention differs from Embodiment 1-1 in that an auxiliary fan 38 is provided between the heat exchanger 35 and the radiator 32 in the dehumidification device 30. different. The structure of the heat exchange type ventilator 50d with a dehumidification function other than this is the same as that of the heat exchange type ventilator 50 with a dehumidification function in Embodiment 1-1. Hereinafter, re-description of the content described in Embodiment 1-1 will be appropriately omitted, and points different from Embodiment 1-1 will be mainly described.

参照图8对本发明的实施方式1-5的带除湿功能的热交换型换气装置50d进行说明。图8是示出本发明的实施方式1-5的带除湿功能的热交换型换气装置的结构的示意图。A heat exchange type ventilator 50d with a dehumidification function according to Embodiment 1-5 of the present invention will be described with reference to FIG. 8 . Fig. 8 is a schematic diagram showing the configuration of a heat exchange type ventilator with a dehumidification function according to Embodiment 1-5 of the present invention.

如图8所示,在带除湿功能的热交换型换气装置50d的除湿装置30b中,在将热交换器35的第二流路37与散热器32之间连通的风路内设置有辅助风扇38。辅助风扇38是分支风门42以外的用于增减向第二流路37流动的空气(第二供气流3b)的量的设备。需要说明的是,辅助风扇38以及分支风门42相当于技术方案的“空气量调整部”。As shown in FIG. 8, in the dehumidifier 30b of the heat exchange type ventilator 50d with a dehumidification function, an auxiliary air passage is provided in the air passage connecting the second flow passage 37 of the heat exchanger 35 and the radiator 32. fan38. The auxiliary fan 38 is a device other than the branch damper 42 for increasing or decreasing the amount of air (second supply air flow 3 b ) flowing into the second flow path 37 . It should be noted that the auxiliary fan 38 and the branch damper 42 correspond to the "air volume adjustment unit" of the technical solution.

辅助风扇38有着具备叶片部以及使叶片部旋转的马达部的结构。辅助风扇38能够通过控制叶片部的转速来增减向第二流路37流动的空气(第二供气流3b)的风量。也就是说,通过辅助风扇38,能够使在第一流路36流通的第一供气流3a的风量与在第二流路37流通的第二供气流3b的风量的比率可变。The auxiliary fan 38 has a structure including a blade portion and a motor portion that rotates the blade portion. The auxiliary fan 38 can increase or decrease the air volume of the air (second supply air flow 3 b ) flowing into the second flow path 37 by controlling the rotation speed of the blade portion. That is, the ratio of the air volume of the first supply air flow 3 a flowing through the first flow path 36 to the air volume of the second supply air flow 3 b flowing through the second flow path 37 can be changed by the auxiliary fan 38 .

根据实施方式1-5的带除湿功能的热交换型换气装置50d,通过辅助风扇38,能够容易地使在第一流路36流通的第一供气流3a的风量多于在第二流路37流通的第二供气流3b的风量。由此,能够有效地降低在第二流路37流通的第二供气流3b的温度,从而能够提高针对第二供气流3b的除湿效果。According to the heat exchange type ventilator 50d with a dehumidification function according to Embodiment 1-5, the auxiliary fan 38 can easily make the air volume of the first supply air flow 3a flowing in the first flow path 36 larger than that in the second flow path 37. The air volume of the circulating second supply airflow 3b. Thereby, the temperature of the 2nd supply airflow 3b which flows through the 2nd flow path 37 can be effectively lowered, and the dehumidification effect with respect to the 2nd supply airflow 3b can be improved.

以上,基于实施方式对本发明进行了说明,但容易推测的是,本发明丝毫不被上述实施方式所限定,而能够在不脱离本发明的主旨的范围内进行各种改良变形。例如,在上述实施方式中列举出的数值是一例,当然能够采用其他数值。As mentioned above, although this invention was demonstrated based on embodiment, it is easy to guess that this invention is not limited to the said embodiment at all, and various improvement and deformation|transformation are possible in the range which does not deviate from the summary of this invention. For example, the numerical values listed in the above-mentioned embodiments are examples, and other numerical values can of course be adopted.

在实施方式1-4的带除湿功能的热交换型换气装置50c中,作为第一膨胀器33a,例如也可以采用具有通过开闭来增减制冷循环内的制冷剂循环量的制冷剂开闭部、以及驱动制冷剂开闭部的驱动部的结构。这样一来,通过驱动驱动部而提高制冷剂开闭部的开度,能够减少制冷剂的减压量,使导入的供气流3的温度上升。另一方面,通过降低制冷剂开闭部的开度,能够增加制冷剂的减压量,使导入的供气流3的温度下降。也就是说,通过应用这样的第一膨胀器33a,能够控制制冷剂的减压量,因此能够控制第二散热器32b中的热交换后的温度(上限的温度)。In the heat exchange type ventilator 50c with a dehumidification function according to Embodiment 1-4, as the first expander 33a, for example, a refrigerant switch having a function of opening and closing to increase or decrease the refrigerant circulation amount in the refrigeration cycle may be used. The structure of the closing part and the driving part that drives the refrigerant opening and closing part. In this manner, by driving the drive unit to increase the opening degree of the refrigerant opening and closing unit, the decompression amount of the refrigerant can be reduced, and the temperature of the introduced supply air flow 3 can be raised. On the other hand, by reducing the opening degree of the refrigerant opening and closing part, the decompression amount of the refrigerant can be increased, and the temperature of the introduced supply air flow 3 can be lowered. That is, by using such a first expander 33a, the decompression amount of the refrigerant can be controlled, and thus the temperature (upper limit temperature) after heat exchange in the second radiator 32b can be controlled.

另外,在实施方式1-4的带除湿功能的热交换型换气装置50c中,如图6所示,也可以采用除了具有包括制冷剂开闭部和驱动部的第一膨胀器33a以外,还具有第一温度传感器44、第二温度传感器45以及第一控制部(未图示)的结构。第一温度传感器44对热交换前的排气流2的温度进行检测。第二温度传感器45对在第二散热器32b流通后的供气流3的温度进行检测。第一控制部对第一膨胀器33a进行控制。第一控制部基于由第一温度传感器44检测出的温度,以使第一膨胀器33a的制冷剂开闭部开闭而使由第二温度传感器45检测出的温度成为规定的温度范围的方式控制驱动部。特别是,在第二温度传感器45处的温度高于第一温度传感器44处的温度的情况下,第一控制部以降低制冷剂开闭部的开度的方式使驱动部运转,从而增加制冷剂的减压量,使供气流3的温度下降。由此,在带除湿功能的热交换型换气装置50c中,能够对成为与第一温度传感器44(从室内吸入的热交换前的排气流2)同等的温度的供气流3进行供给。In addition, in the heat exchange type ventilator 50c with a dehumidification function according to Embodiment 1-4, as shown in FIG. It also has the structure of the 1st temperature sensor 44, the 2nd temperature sensor 45, and the 1st control part (not shown). The first temperature sensor 44 detects the temperature of the exhaust flow 2 before heat exchange. The second temperature sensor 45 detects the temperature of the supply air flow 3 after passing through the second radiator 32b. The first control unit controls the first expander 33a. Based on the temperature detected by the first temperature sensor 44, the first control unit opens and closes the refrigerant opening and closing unit of the first expander 33a so that the temperature detected by the second temperature sensor 45 falls within a predetermined temperature range. Control drive unit. In particular, when the temperature at the second temperature sensor 45 is higher than the temperature at the first temperature sensor 44, the first control unit operates the drive unit in such a manner as to reduce the opening degree of the refrigerant opening and closing unit, thereby increasing the cooling capacity. The depressurization amount of the agent reduces the temperature of the supply air stream 3. Accordingly, in the heat exchange type ventilator 50c with a dehumidification function, it is possible to supply the supply air flow 3 having the same temperature as the first temperature sensor 44 (exhaust air flow 2 before heat exchange sucked from the room).

并且,也可以变更第一控制部的控制方法,对成为与第一温度传感器44的温度不同的温度的供气流3进行供给。只要在不损害室内的利用者的舒适性的范围内即可,在夏季,向室内供给温度低于第一温度传感器44的温度的供气流3。另外,在冬季,向室内供给温度高于第一温度传感器44的温度的供气流3。由此,能够进行热交换换气,并且向室内供给对利用者而言舒适的温度、湿度的供气流3。In addition, the control method of the first control unit may be changed so that the supply air flow 3 having a temperature different from that of the first temperature sensor 44 may be supplied. As long as it does not impair the comfort of indoor users, the air supply air 3 whose temperature is lower than the temperature of the first temperature sensor 44 is supplied indoors in summer. In addition, in winter, the air supply air 3 whose temperature is higher than the temperature of the first temperature sensor 44 is supplied to the room. Thereby, heat exchange and ventilation can be performed, and the supply air flow 3 of the temperature and humidity comfortable to a user can be supplied indoors.

另外,在实施方式1-5的带除湿功能的热交换型换气装置50d中,如图8所示,也可以采用具有对热交换前的供气流3的温湿度进行检测的温湿度传感器46、以及对辅助风扇38进行控制的第二控制部(未图示)的结构。第二控制部基于由温湿度传感器46检测出的温度而算出除湿装置30中所要的除湿量。然后,第二控制部按照算出的所需的除湿量,以使在第一流路36流通的第一供气流3a的风量与在第二流路37流通的第二供气流3b的风量的比率成为规定的关系的方式控制辅助风扇38。由此,在带除湿功能的热交换型换气装置50d中,能够高效地进行针对在第二流路37流通的第二供气流3b的除湿。In addition, in the heat exchange type ventilator 50d with a dehumidification function according to Embodiment 1-5, as shown in FIG. , and the structure of a second control unit (not shown) that controls the auxiliary fan 38 . The second control unit calculates the amount of dehumidification required in the dehumidifier 30 based on the temperature detected by the temperature and humidity sensor 46 . Then, the second control unit adjusts the ratio of the air volume of the first supply air flow 3a flowing through the first flow path 36 to the air volume of the second supply air flow 3b flowing through the second flow path 37 according to the calculated required dehumidification amount. The auxiliary fan 38 is controlled in a prescribed relationship. Thereby, in the heat exchange type ventilator 50d with a dehumidification function, dehumidification with respect to the 2nd supply airflow 3b which circulates in the 2nd flow path 37 can be performed efficiently.

另外,在实施方式1-1~1-5的带除湿功能的热交换型换气装置50、50a~50d中,作为热交换器35,使用了显热型的热交换元件,但作为显热型的热交换元件,优选构成热交换元件的第一流路36与第二流路37的构件具有防水性(疏水性)。作为具有防水性(疏水性)的构件,例如使用聚丙烯、聚苯乙烯等树脂构件。这样一来,在热交换元件的内部产生的结露水容易向热交换元件的外部流出,因此能够在不导致由结露水引起的热交换器35的热交换效率降低的情况下进行除湿。In addition, in the heat exchange type ventilators 50, 50a to 50d with a dehumidification function according to Embodiments 1-1 to 1-5, a sensible heat type heat exchange element is used as the heat exchanger 35, but as the sensible heat For the type heat exchange element, it is preferable that the members constituting the first flow path 36 and the second flow path 37 of the heat exchange element have waterproofness (hydrophobicity). As a member having water repellency (water repellency), resin members such as polypropylene and polystyrene are used, for example. In this way, the dew condensation water generated inside the heat exchange element easily flows out of the heat exchange element, so dehumidification can be performed without reducing the heat exchange efficiency of the heat exchanger 35 due to the dew condensation water.

(实施方式2)(Embodiment 2)

以往,作为能够不损害制冷或者制暖的效果地进行换气的装置,已知在换气时在供气流与排气流之间进行热交换的热交换型换气装置。Conventionally, a heat exchange type ventilator that performs heat exchange between a supply airflow and an exhaust airflow during ventilation is known as an apparatus that can ventilate without impairing the effect of cooling or heating.

近年来,由于全球变暖的影响以及住宅的气密性提高,特别是在夏季,室内的排热以及排湿不足,室内变得高温多湿,因此存在对居住者而言室内的舒适性受损的担忧。对于在夏季提高室内的舒适性,室内的湿度降低尤其重要,因此谋求在调整室内的湿度的同时进行热交换换气的带除湿功能的热交换型换气装置。因此,作为带除湿功能的热交换型换气装置,我们进行了应用有将制冷循环和热交换器组合而成的除湿装置的热交换型换气装置的开发。作为将制冷循环和热交换器组合而成的除湿装置,例如,已知专利文献1所记载的除湿装置。In recent years, due to the influence of global warming and the improvement of the airtightness of houses, especially in summer, the indoor heat and humidity are not exhausted, and the indoor becomes hot and humid, so there is a possibility that the indoor comfort of the occupants is impaired. concerns. In order to improve indoor comfort in summer, it is particularly important to reduce indoor humidity, so heat exchange ventilation devices with a dehumidification function that perform heat exchange and ventilation while adjusting indoor humidity have been sought. Therefore, as a heat-exchange-type ventilator with a dehumidification function, we have developed a heat-exchange-type ventilator using a dehumidifier that combines a refrigeration cycle and a heat exchanger. As a dehumidifier combining a refrigeration cycle and a heat exchanger, for example, a dehumidifier described in Patent Document 1 is known.

如图9所示,现有的除湿装置1100构成为在使从空气吸入口1101吸入到主体外壳1102内的空气(空气X、空气Y)通过除湿部1103后,将该空气从空气吹出口1104向主体外壳1102外吹出。除湿部1103具备制冷循环和热交换器1111。制冷循环将压缩机1105、散热器1106、膨胀器1107、吸热器1108依次连结。热交换器1111配置在吸热器1108与散热器1106之间,并在流动在第一流路1109的空气X与流动在第二流路1110的空气Y之间进行热交换。As shown in FIG. 9 , a conventional dehumidifier 1100 is configured such that after air (air X, air Y) sucked into a main body casing 1102 from an air inlet 1101 passes through a dehumidifier 1103, the air is blown out from an air outlet 1104. Blow out to the outside of the main body casing 1102 . The dehumidifier 1103 includes a refrigeration cycle and a heat exchanger 1111 . In the refrigeration cycle, a compressor 1105, a radiator 1106, an expander 1107, and a heat absorber 1108 are sequentially connected. The heat exchanger 1111 is disposed between the heat absorber 1108 and the radiator 1106 , and performs heat exchange between the air X flowing in the first flow path 1109 and the air Y flowing in the second flow path 1110 .

并且,在第一流路1109流动的空气X在吸热器1108冷却而产生结露。由冷却后的空气X产生的结露水被回收。另一方面,在第二流路1110流动的空气Y与被吸热器1108冷却了的空气X进行热交换而被冷却,从而产生结露。由冷却后的空气Y产生的结露水也被回收。像这样,通过除湿装置1100来进行空气的除湿。Then, the air X flowing through the first flow path 1109 is cooled by the heat absorber 1108 to generate dew condensation. The condensation water generated by the cooled air X is recovered. On the other hand, the air Y flowing through the second flow path 1110 exchanges heat with the air X cooled by the heat absorber 1108 to be cooled, and dew condensation occurs. Dew condensation water generated from the cooled air Y is also recovered. In this way, dehumidification of air is performed by the dehumidifier 1100 .

但是,现有的除湿装置1100构成为为了对制冷循环的散热器1106进行冷却而使除湿后的空气通过散热器1106。在散热器1106中,除了被吸热器1108吸收的能量以外,用于通过压缩机1105使制冷循环内的制冷剂循环的能量也被排出。因此,通过了散热器1106的除湿后的空气的温度上升为除湿前的空气的温度以上。其结果是,在将现有的除湿装置1100的除湿机构配置于热交换型换气装置的供气风路并进行了除湿的情况下,产生除湿后的空气(温度上升了的空气)直接作为供气流向室内吹出而损害室内的舒适性的课题。However, the conventional dehumidifier 1100 is configured to pass dehumidified air through the radiator 1106 in order to cool the radiator 1106 of the refrigeration cycle. In the radiator 1106, in addition to the energy absorbed by the heat absorber 1108, the energy for circulating the refrigerant in the refrigeration cycle by the compressor 1105 is also discharged. Therefore, the temperature of the dehumidified air that has passed through the radiator 1106 rises to be equal to or higher than the temperature of the air before dehumidification. As a result, when the dehumidification mechanism of the conventional dehumidification device 1100 is arranged in the air supply air path of the heat exchange type ventilator to perform dehumidification, the dehumidified air (air whose temperature has been raised) is generated as it is. The problem that the supply air is blown into the room and impairs the comfort of the room.

本发明是为了解决上述课题而完成的,其提供能够对伴随除湿而产生的温度上升得到抑制的供气流进行输送的带除湿功能的热交换型换气装置。The present invention was made in order to solve the above-mentioned problems, and provides a heat exchange type ventilator with a dehumidification function capable of sending a supply air flow whose temperature rise accompanying dehumidification is suppressed.

为了达成该目的,本发明的带除湿功能的热交换型换气装置的特征在于,该带除湿功能的热交换型换气装置具备:热交换型换气装置,其在排气流与供气流之间进行热交换,该排气流在用于将室内的空气向室外排出的排气风路流通,该供气流在用于将室外的空气向室内供给的供气风路流通;以及除湿装置,其对供气流进行除湿。除湿装置包括:制冷循环,其构成为包括压缩机、散热器、膨胀器以及吸热器;以及热交换器,其配置在吸热器与散热器之间,并在流动在第一流路的空气与流动在第二流路的空气之间进行热交换。除湿装置构成为从供气风路导入热交换后的供气流,并且从排气风路导入排气流。导入到除湿装置的供气流在依次流通过第二流路、吸热器、第一流路、散热器后,向供气风路导出。导入到除湿装置的排气流在流通过散热器后,向排气风路导出。In order to achieve this object, the heat exchange type ventilator with dehumidification function of the present invention is characterized in that the heat exchange type ventilator with dehumidification function includes: heat exchange between them, the exhaust flow flows through the exhaust air passage for exhausting indoor air to the outside, and the supply air flow circulates through the air supply air passage for supplying outdoor air to the indoor; and the dehumidification device , which dehumidifies the supply air stream. The dehumidification device includes: a refrigeration cycle, which is composed of a compressor, a radiator, an expander, and a heat absorber; and a heat exchanger, which is arranged between the heat absorber and the heat Heat exchange with the air flowing in the second channel. The dehumidifier is configured so that the heat-exchanged supply air is introduced from the air supply air passage, and the exhaust air is introduced from the exhaust air passage. The air supply air introduced into the dehumidification device flows through the second flow path, the heat absorber, the first flow path, and the radiator in sequence, and then is exported to the air supply air path. The exhaust flow introduced into the dehumidifier passes through the radiator, and then is led out to the exhaust air path.

根据本发明,能够提供可以对伴随除湿而产生的温度上升得到抑制的供气流进行输送的带除湿功能的热交换型换气装置。According to the present invention, it is possible to provide a heat exchange type ventilator with a dehumidification function capable of sending a supply air flow in which a temperature rise accompanying dehumidification is suppressed.

本发明的带除湿功能的热交换型换气装置具备:热交换型换气装置,其在排气流与供气流之间进行热交换,该排气流在用于将室内的空气向室外排出的排气风路流通,该供气流在用于将室外的空气向室内供给的供气风路流通;以及除湿装置,其对供气流进行除湿。除湿装置包括:制冷循环,其构成为包括压缩机、散热器、膨胀器以及吸热器;以及热交换器,其配置在吸热器与散热器之间,并在流动在第一流路的空气与流动在第二流路的空气之间进行热交换。除湿装置构成为从供气风路导入热交换后的供气流,并且从排气风路导入排气流。导入到除湿装置的供气流在依次流通过第二流路、吸热器、第一流路、散热器后,向供气风路导出。导入到除湿装置的排气流在流通过散热器后,向排气风路导出。The heat exchange type ventilator with dehumidification function of the present invention includes: a heat exchange type ventilator that performs heat exchange between an exhaust flow and a supply air flow for discharging indoor air to the outside. The exhaust air path circulates, and the supply air flow circulates in the air supply air path for supplying outdoor air to the room; and the dehumidification device dehumidifies the supply air flow. The dehumidification device includes: a refrigeration cycle, which is composed of a compressor, a radiator, an expander, and a heat absorber; and a heat exchanger, which is arranged between the heat absorber and the heat Heat exchange with the air flowing in the second channel. The dehumidifier is configured so that the heat-exchanged supply air is introduced from the air supply air passage, and the exhaust air is introduced from the exhaust air passage. The air supply air introduced into the dehumidification device flows through the second flow path, the heat absorber, the first flow path, and the radiator in sequence, and then is exported to the air supply air path. The exhaust flow introduced into the dehumidifier passes through the radiator, and then is led out to the exhaust air path.

根据这样的结构,能够通过来自热交换型换气装置的排气流(在需要除湿的夏季,是温度比供气流低的排气流)得到除湿装置中的散热器的冷却(排热)所需的能量,因此能够抑制除湿后的空气(供气流)的温度上升。其结果是,即使在应用了将制冷循环和热交换器组合而成的除湿装置的情况下,电能够对伴随除湿而产生的温度上升得到抑制的供气流进行输送。也就是说,能够成为可以对伴随除湿而产生的温度上升得到抑制的供气流进行输送的带除湿功能的热交换型换气装置。According to such a structure, the cooling (exhaust heat) of the radiator in the dehumidification device can be obtained by the exhaust flow from the heat exchange type ventilator (in summer when dehumidification is required, the exhaust flow is lower in temperature than the supply air flow). The energy required can suppress the temperature rise of the dehumidified air (supply air flow). As a result, even when a dehumidifier combining a refrigeration cycle and a heat exchanger is applied, electricity can be used to transport a supply air flow in which a temperature rise accompanying dehumidification is suppressed. In other words, it is possible to provide a heat exchange type ventilator with a dehumidification function capable of sending a supply air flow in which a temperature rise accompanying dehumidification is suppressed.

另外,也可以构成为,向除湿装置导入的排气流为热交换前的排气流。Alternatively, the exhaust flow introduced into the dehumidifier may be an exhaust flow before heat exchange.

根据这样的结构,由于使用温度比热交换后的排气流低的热交换前的排气流,因此能够更有效地冷却散热器,因此能够进一步抑制除湿后的空气(供气流)的温度上升。According to such a structure, since the exhaust flow before heat exchange whose temperature is lower than the exhaust flow after heat exchange is used, the radiator can be cooled more effectively, and thus the temperature rise of the dehumidified air (supply air flow) can be further suppressed. .

另外,也可以构成为,向除湿装置导入的排气流为使热交换前的排气流与热交换后的排气流合流而成的排气流。Alternatively, the exhaust flow introduced into the dehumidifier may be an exhaust flow obtained by merging the exhaust flow before heat exchange and the exhaust flow after heat exchange.

根据这样的结构,由于使热交换前的排气流与热交换后的排气流合流,因此能够在使温度低于热交换后的排气流的状态下增加向除湿装置导入的排气流的风量。因此,能够有效地进行散热器的冷却,从而能够抑制除湿后的空气(供气流)的温度上升。According to such a configuration, since the exhaust flow before heat exchange and the exhaust flow after heat exchange are merged, it is possible to increase the exhaust flow introduced into the dehumidifier while keeping the temperature lower than that of the exhaust flow after heat exchange. air volume. Therefore, the radiator can be effectively cooled, and the temperature rise of the dehumidified air (supply air flow) can be suppressed.

另外,在本发明的带除湿功能的热交换型换气装置中,也可以构成为,散热器具有第一散热器以及与第一散热器不同的第二散热器,膨胀器具有第一膨胀器以及与第一膨胀器不同的第二膨胀器。制冷循环构成为将压缩机、第一散热器、第一膨胀器、第二散热器、第二膨胀器、吸热器依次连结。热交换器配置在吸热器与第二散热器之间。导入到除湿装置的供气流在依次流通过第二流路、吸热器、第一流路、第二散热器后,向供气风路导出。导入到除湿装置的排气流在流通过第一散热器后,向排气风路导出。In addition, in the heat exchange type ventilator with a dehumidification function according to the present invention, the radiator may have a first radiator and a second radiator different from the first radiator, and the expander may have a first expander. and a second expander different from the first expander. The refrigeration cycle is configured by sequentially connecting a compressor, a first radiator, a first expander, a second radiator, a second expander, and a heat absorber. The heat exchanger is arranged between the heat absorber and the second radiator. The air supply air introduced into the dehumidification device flows through the second flow path, the heat absorber, the first flow path, and the second radiator in sequence, and then is led out to the air supply air path. The exhaust flow introduced into the dehumidifier passes through the first radiator, and then is led out to the exhaust air passage.

根据这样的结构,通过第一膨胀器对制冷循环内的制冷剂(被排气流冷却了的从第一散热器导入的制冷剂)进行减压,因此能够使向第二散热器导入的制冷剂的温度低于向第一散热器导入的制冷剂的温度,由此能够抑制对供气流与第二散热器进行了热交换的情况下的供气流的温度上升。也就是说,能够成为可以对伴随除湿而产生的温度上升得到抑制的供气流进行输送的带除湿功能的热交换型换气装置。According to such a configuration, the refrigerant in the refrigeration cycle (refrigerant introduced from the first radiator cooled by the exhaust flow) is decompressed by the first expander, so that the refrigerant introduced to the second radiator can be decompressed. Since the temperature of the refrigerant is lower than the temperature of the refrigerant introduced into the first radiator, it is possible to suppress an increase in the temperature of the supply air flow when heat exchange is performed between the supply air flow and the second radiator. In other words, it is possible to provide a heat exchange type ventilator with a dehumidification function capable of sending a supply air flow in which a temperature rise accompanying dehumidification is suppressed.

另外,也可以构成为,除湿装置还具备风路切换部,该风路切换部对成为第一除湿模式的风路以及成为与第一除湿模式不同的第二除湿模式的风路进行切换。在第一除湿模式下,导入到除湿装置的供气流在依次流通过第二流路、吸热器、第一流路、散热器后,向供气风路导出。在第二除湿模式下,导入到除湿装置的供气流的一部分在依次流通过吸热器、第一流路、散热器后,向供气风路导出。另外,导入到除湿装置的供气流的另一部分在依次流通过第二流路、散热器后,向供气风路导出。In addition, the dehumidification device may be configured to further include an air passage switching unit that switches between an air passage in the first dehumidification mode and an air passage in a second dehumidification mode different from the first dehumidification mode. In the first dehumidification mode, the air supply air introduced into the dehumidification device flows through the second flow path, the heat absorber, the first flow path, and the radiator in sequence, and then is exported to the air supply air path. In the second dehumidification mode, part of the supply air flow introduced into the dehumidification device flows through the heat absorber, the first flow path, and the radiator in sequence, and then is led out to the supply air flow path. In addition, another part of the supply air flow introduced into the dehumidifier flows through the second flow path and the radiator in sequence, and then is led out to the supply air flow path.

根据这样的结构,在能够抑制除湿后的空气(供气流)的温度上升的带除湿功能的热交换型换气装置中,能够容易地进行由利用者要求的除湿装置的除湿能力的切换。According to such a configuration, in the heat exchange type ventilator with a dehumidification function capable of suppressing temperature rise of dehumidified air (supply air flow), switching of the dehumidification capability of the dehumidification device requested by the user can be easily performed.

以下,参照附图对用于实施本发明的方式进行说明。需要说明的是,以下的实施方式是将本发明具体化的一例,并不对本发明的技术范围进行限定。另外,在所有附图中,对相同的部位标注相同的附图标记并省略说明。并且,对于并不直接与本发明相关的各部分的详细情况,为了避免重复而省略每个附图的说明。Hereinafter, modes for implementing the present invention will be described with reference to the drawings. In addition, the following embodiment is an example which actualized this invention, and does not limit the technical scope of this invention. In addition, in all drawings, the same code|symbol is attached|subjected to the same part, and description is abbreviate|omitted. In addition, the description of each drawing will be omitted in order to avoid repetition of the details of each part that is not directly related to the present invention.

以下,参照附图对本发明的实施方式进行说明。Hereinafter, embodiments of the present invention will be described with reference to the drawings.

(前提例)(premise example)

首先,参照图10、图11对成为本发明的实施方式的前提例的热交换型换气装置进行说明。图10是示出本发明的前提例的热交换型换气装置在住宅中的设置状态的示意图。图11是示出本发明的前提例的热交换型换气装置的结构的示意图。First, a heat exchange type ventilator serving as a premise example of an embodiment of the present invention will be described with reference to FIGS. 10 and 11 . Fig. 10 is a schematic diagram showing an installation state of a heat exchange type ventilator of a precondition example of the present invention in a house. Fig. 11 is a schematic diagram showing the configuration of a heat exchange type ventilator according to a precondition example of the present invention.

在图10中,在家101的室内设置有热交换型换气装置110。热交换型换气装置110是一边对室内的空气与室外的空气进行热交换一边进行换气的装置。In FIG. 10 , a heat exchange type ventilator 110 is installed in a room of a house 101 . The heat exchange type ventilator 110 is a device that ventilates while exchanging heat between indoor air and outdoor air.

如图10所示,排气流102如黑色箭头所示那样经由热交换型换气装置110而被排放至室外。排气流102是从室内向室外排出的空气流。另外,供气流103如白色箭头所示那样经由热交换型换气装置110而被取入到室内。供气流103是从室外取入到室内的空气流。例如举出日本的冬季为例,排气流102为20℃~25℃,与此相对供气流103有时会到达冰点以下。热交换型换气装置110进行换气,并且在该换气时,将排气流102的热量向供气流103传递,从而抑制不必要的热量的排放。As shown in FIG. 10 , the exhaust flow 102 is discharged to the outdoors via the heat exchange type ventilator 110 as indicated by the black arrow. Exhaust flow 102 is the flow of air discharged from the room to the outside. In addition, the supply air flow 103 is taken into the room via the heat exchange type ventilator 110 as indicated by a white arrow. The supply air flow 103 is an air flow taken into the room from the outside. For example, taking winter in Japan as an example, the temperature of the exhaust air flow 102 is 20° C. to 25° C., whereas the supply air flow 103 may be below the freezing point. The heat exchange type ventilator 110 performs ventilation, and during the ventilation, transfers the heat of the exhaust flow 102 to the supply flow 103 to suppress unnecessary heat emission.

如图11所示,热交换型换气装置110具备主体外壳111、热交换元件112、排气风扇113、内气口114、排气口115、供气风扇116、外气口117、供气口118、排气风路104、供气风路105。主体外壳111是热交换型换气装置110的外框。在主体外壳111的外周形成有内气口114、排气口115、外气口117、供气口118。内气口114是将排气流102吸入热交换型换气装置110的吸入口。排气口115是将排气流102从热交换型换气装置110向室外排出的排出口。外气口117是将供气流103吸入热交换型换气装置110的吸入口。供气口118是将供气流103从热交换型换气装置110向室内排出的排出口。As shown in FIG. 11 , the heat exchange type ventilator 110 has a main body casing 111, a heat exchange element 112, an exhaust fan 113, an inner air port 114, an exhaust port 115, an air supply fan 116, an outer air port 117, and an air supply port 118. , exhaust air path 104, air supply air path 105. The main body casing 111 is an outer frame of the heat exchange type ventilator 110 . An inner air port 114 , an exhaust port 115 , an outer air port 117 , and an air supply port 118 are formed on the outer periphery of the main body casing 111 . The inner air port 114 is a suction port for sucking the exhaust flow 102 into the heat exchange type ventilator 110 . The exhaust port 115 is a discharge port for discharging the exhaust flow 102 from the heat exchange type ventilator 110 to the outside. The external air port 117 is a suction port for sucking the supply air flow 103 into the heat exchange type ventilator 110 . The air supply port 118 is a discharge port for discharging the supply air flow 103 from the heat exchange type ventilator 110 into the room.

在主体外壳111的内部安装有热交换元件112、排气扇113、供气扇116。另外,在主体外壳111的内部构成有排气风路104、供气风路105。热交换元件112是用于在流通在排气风路104的排气流102与流通在供气风路105的供气流103之间进行热交换(显热和潜热)的构件。排气风扇113是用于将排气流102从内气口114吸入并从排气口115排出的鼓风机。供气风扇116是用于将供气流103从外气口117吸入并从供气口118排出的鼓风机。排气风路104是连通内气口114与排气口115的风路。供气风路105是连通外气口117与供气口118的风路。由排气风扇113吸入的排气流102经由排气风路104内的热交换元件112、排气风扇113从排气口115被排出至室外。另外,由供气风扇116吸入的供气流103经由供气风路105内的热交换元件112、供气风扇116从供气口118被供给到室内。A heat exchange element 112 , an exhaust fan 113 , and an air supply fan 116 are installed inside the main body casing 111 . In addition, an exhaust air passage 104 and an air supply air passage 105 are formed inside the main body casing 111 . The heat exchange element 112 is a member for exchanging heat (sensible heat and latent heat) between the exhaust flow 102 flowing through the exhaust air passage 104 and the supply air flow 103 flowing through the supply air passage 105 . The exhaust fan 113 is a blower for sucking the exhaust flow 102 from the inner air port 114 and discharging it from the exhaust port 115 . The supply air fan 116 is a blower for sucking the supply air 103 from the external air port 117 and discharging it from the air supply port 118 . The exhaust air passage 104 is an air passage connecting the inner air port 114 and the exhaust port 115 . The air supply air path 105 is an air path connecting the external air port 117 and the air supply port 118 . The exhaust flow 102 sucked in by the exhaust fan 113 is discharged to the outside through the exhaust port 115 via the heat exchange element 112 in the exhaust air passage 104 and the exhaust fan 113 . In addition, the air supply airflow 103 sucked by the air supply fan 116 is supplied into the room from the air supply port 118 via the heat exchange element 112 in the air supply air path 105 and the air supply fan 116 .

热交换型换气装置110在进行热交换换气的情况下,使热交换元件112的排气风扇113以及供气风扇116进行动作,从而在热交换元件112中,在流通在排气风路104的排气流102与流通在供气风路105的供气流103之间进行热交换。由此,热交换型换气装置110在进行换气时,将向室外排放的排气流102的热量向取入到室内的供气流103传递,从而抑制不必要的热量的排放,并向室内回收热量。其结果是,在冬季,在进行换气时,能够抑制室内的空气的温度由于室外的温度较低的空气而降低的情况。另一方面,在夏季,在进行换气时,能够抑制室内的空气的温度由于室外的温度较高的空气而上升的情况。When the heat exchange type ventilator 110 performs heat exchange and ventilation, the exhaust fan 113 and the air supply fan 116 of the heat exchange element 112 are operated, so that in the heat exchange element 112, the Heat exchange is performed between the exhaust flow 102 at 104 and the supply flow 103 flowing through the supply air path 105 . Thus, when the heat exchange type ventilator 110 performs ventilation, the heat of the exhaust air flow 102 discharged to the outside is transferred to the air supply air flow 103 taken into the room, thereby suppressing the discharge of unnecessary heat and sending the heat to the room. heat recovery. As a result, during ventilation in winter, it is possible to suppress a decrease in the temperature of the indoor air due to the low-temperature outdoor air. On the other hand, in summer, when ventilation is performed, it is possible to suppress the temperature of the indoor air from rising due to the outdoor air having a high temperature.

实施方式2至少包含以下的实施方式2-1、实施方式2-2、实施方式2-3、实施方式2-4以及实施方式2-5。Embodiment 2 includes at least the following Embodiment 2-1, Embodiment 2-2, Embodiment 2-3, Embodiment 2-4, and Embodiment 2-5.

(实施方式2-1)(Embodiment 2-1)

接下来,参照图12对实施方式2-1的带除湿功能的热交换型换气装置进行说明。图12是示出本发明的实施方式2-1的带除湿功能的热交换型换气装置的结构的示意图。需要说明的是,在图12以后的各示意图中,将排气风路104以及供气风路105兼作为热交换型换气装置110内的排气流102以及供气流103的流动(黑箭头)进行标记。Next, a heat exchange type ventilator with a dehumidification function according to Embodiment 2-1 will be described with reference to FIG. 12 . Fig. 12 is a schematic diagram showing the configuration of a heat exchange type ventilator with a dehumidification function according to Embodiment 2-1 of the present invention. It should be noted that in each schematic diagram after FIG. 12 , the exhaust air passage 104 and the air supply air passage 105 are also used as the flow of the exhaust air flow 102 and the air supply air flow 103 in the heat exchange type ventilator 110 (black arrows). ) to mark.

如图12所示,实施方式2-1的带除湿功能的热交换型换气装置150具有相对于前提例的热交换型换气装置110连结作为赋予除湿功能的机构的除湿装置130而成的结构。As shown in FIG. 12 , the heat exchange type ventilator 150 with a dehumidification function according to Embodiment 2-1 has a dehumidifier 130 as a mechanism for imparting a dehumidification function to the heat exchange type ventilator 110 of the preceding example. structure.

除湿装置130是用于进行热交换型换气装置110中的热交换后的供气流103的除湿的单元。除湿装置130具备:制冷循环,其构成为包括压缩机131、散热器132、膨胀器133及吸热器134;以及热交换器135。并且,本实施方式的制冷循环构成为将压缩机131、散热器132、膨胀器133以及吸热器134依次连结为环状。在制冷循环中,例如,利用替代氟利昂(HFC134a)作为制冷剂。另外,构成制冷循环的各设备的连结多使用铜管,且以焊接方式连结。The dehumidifier 130 is a means for dehumidifying the heat-exchanged supply airflow 103 in the heat exchange type ventilator 110 . The dehumidifier 130 includes: a refrigeration cycle including a compressor 131 , a radiator 132 , an expander 133 , and a heat absorber 134 ; and a heat exchanger 135 . In addition, the refrigeration cycle of the present embodiment is configured such that the compressor 131 , the radiator 132 , the expander 133 , and the heat absorber 134 are sequentially connected in a ring shape. In the refrigeration cycle, for example, alternative Freon (HFC134a) is used as a refrigerant. In addition, copper pipes are often used for connecting the various devices that constitute the refrigeration cycle, and they are connected by welding.

压缩机131是对制冷循环中的低温、低压的制冷剂气体(工作介质气体)进行压缩而提高压力使其高温化的设备。在本实施方式中,压缩机131将制冷剂气体的温度高温化至45℃左右。The compressor 131 is a device that compresses low-temperature and low-pressure refrigerant gas (working medium gas) in the refrigeration cycle to increase the pressure and increase the temperature. In the present embodiment, the compressor 131 raises the temperature of the refrigerant gas to about 45°C.

散热器132是在通过压缩机131成为高温、高压的制冷剂气体与空气(排气流102、供气流103)之间进行热交换从而向外部(制冷循环外)排放热量的设备。此时,制冷剂气体在高压下被冷凝而液化。在散热器132中,导入的制冷剂气体的温度(45℃左右)高于空气的温度,因此若进行热交换,则空气升温,制冷剂气体被冷却。需要说明的是,散热器132也称为冷凝器。The radiator 132 is a device for exchanging heat between the refrigerant gas that has become high-temperature and high-pressure by the compressor 131 and air (exhaust flow 102 , supply flow 103 ) to discharge heat to the outside (outside the refrigeration cycle). At this time, the refrigerant gas is condensed and liquefied under high pressure. In the radiator 132, since the temperature (about 45 degreeC) of the refrigerant gas introduced is higher than the temperature of air, when heat exchange is performed, the temperature of the air rises and the refrigerant gas is cooled. It should be noted that the radiator 132 is also called a condenser.

膨胀器133是对通过散热器132液化了的高压的制冷剂进行减压从而使其成为原本的低温、低压的液体的设备。需要说明的是,膨胀器133也称为膨胀阀。The expander 133 is a device that decompresses the high-pressure refrigerant liquefied by the radiator 132 to convert it into an original low-temperature and low-pressure liquid. It should be noted that the expander 133 is also called an expansion valve.

吸热器134是使在膨胀器133流通后的制冷剂从空气吸收热量而蒸发,并使液状的制冷剂成为低温、低压的制冷剂气体的设备。在吸热器134中,导入的制冷剂的温度低于空气的温度,因此若进行热交换,则空气被冷却,制冷剂升温。需要说明的是,吸热器134也称为蒸发器。The heat absorber 134 is a device that absorbs heat from the air to evaporate the refrigerant that has passed through the expander 133 , and turns the liquid refrigerant into a low-temperature, low-pressure refrigerant gas. In the heat absorber 134, since the temperature of the refrigerant|coolant introduced is lower than the temperature of air, when heat exchange is performed, the air is cooled and the temperature of the refrigerant rises. It should be noted that the heat absorber 134 is also called an evaporator.

热交换器135是具备显热型的热交换元件的热交换器。热交换器135与现有的除湿装置1100中的热交换器1111(参照图9)同样地配置在吸热器134与散热器132之间的空间。在热交换器135的内部设置有供空气向规定的方向流动的第一流路136、以及供空气向与第一流路136大致正交的方向流动的第二流路137。第一流路136是将从吸热器134导入的空气向散热器132导出的流路。第二流路137是将从热交换型换气装置110导入的空气向吸热器134导出的流路。并且,热交换器135在流动在第一流路136的空气与流动在第二流路137的空气之间仅对显热进行交换。需要说明的是,导出热交换器135的第二流路137的空气在风路138流通,并向吸热器134导入。The heat exchanger 135 is a heat exchanger including sensible heat type heat exchange elements. Heat exchanger 135 is arranged in the space between heat absorber 134 and radiator 132 similarly to heat exchanger 1111 (see FIG. 9 ) in conventional dehumidifier 1100 . Inside the heat exchanger 135 are provided a first flow path 136 through which air flows in a predetermined direction, and a second flow path 137 through which air flows in a direction substantially perpendicular to the first flow path 136 . The first flow path 136 is a flow path that leads the air introduced from the heat absorber 134 to the radiator 132 . The second flow path 137 is a flow path that leads the air introduced from the heat exchange type ventilator 110 to the heat absorber 134 . Furthermore, the heat exchanger 135 exchanges only sensible heat between the air flowing through the first flow path 136 and the air flowing through the second flow path 137 . It should be noted that the air led out of the second flow path 137 of the heat exchanger 135 flows through the air path 138 and is introduced into the heat absorber 134 .

接下来,参照图12对热交换型换气装置110与除湿装置130之间的气流(排气流102、供气流103)的流动进行说明。需要说明的是,在以下的说明中,热交换后的气流(排气流102、供气流103)或风路(排气风路104、供气风路105)表示通过热交换型换气装置110中的热交换元件112后的气流或风路,热交换前的气流或风路表示通过热交换元件112前的气流或风路。Next, the flow of the airflow (exhaust airflow 102, supply airflow 103) between the heat exchange type ventilator 110 and the dehumidifier 130 will be described with reference to FIG. 12 . It should be noted that, in the following description, the airflow (exhaust airflow 102, supply airflow 103) or air passage (exhaust air passage 104, air supply air passage 105) after heat exchange means that the air flow through the heat exchange type ventilator The air flow or air path behind the heat exchange element 112 in 110 , and the air flow or air path before heat exchange represent the air flow or air path before passing through the heat exchange element 112 .

如图12所示,在热交换型换气装置110中,在热交换后的排气风路104设置有切换风门140,在热交换后的供气风路105设置有切换风门141。切换风门140是用于对使在排气风路104流通的排气流102向室外流动的状态、以及使在排气风路104流通的排气流102向除湿装置130流动的状态进行切换的风门。另外,切换风门141是用于对使在供气风路105流通的供气流103向室内流动的状态、以及使在供气风路105流通的供气流103向除湿装置130流动的状态进行切换的风门。As shown in FIG. 12 , in the heat exchange type ventilator 110 , a switching damper 140 is provided in the exhaust air passage 104 after heat exchange, and a switching damper 141 is provided in the air supply air passage 105 after heat exchange. The switch damper 140 is used to switch between the state where the exhaust air flow 102 flowing in the exhaust air passage 104 flows to the outside and the state in which the exhaust air flow 102 flowing in the exhaust air passage 104 flows to the dehumidifier 130 . throttle. In addition, the switch damper 141 is for switching between the state where the air supply air 103 flowing through the air supply air passage 105 flows into the room and the state in which the air supply air 103 flowing through the air supply air passage 105 flows to the dehumidifier 130 . throttle.

在带除湿功能的热交换型换气装置150中,利用各切换风门成为气流向除湿装置130流动的状态,从而对热交换后的供气流103执行除湿。关于除湿的详细情况将后述。需要说明的是,在无需除湿的冬季等情况下,利用各切换风门成为气流不向除湿装置130流动的状态,从而由除湿装置130引起的压力损失的上升得到抑制。由此,作为带除湿功能的热交换型换气装置150,能够实现全年的节能下的运转。In the heat exchange type ventilator 150 with a dehumidification function, each switching damper is used to make the airflow flow to the dehumidifier 130 , thereby dehumidifying the heat-exchanged supply airflow 103 . Details about dehumidification will be described later. In addition, in winter when dehumidification is not required, the airflow does not flow to the dehumidifier 130 by each switching damper, and the pressure loss increase by the dehumidifier 130 is suppressed. Accordingly, as the heat exchange type ventilator 150 with a dehumidification function, it is possible to realize energy-saving operation throughout the year.

在除湿装置130中,向内部导入的供气流103在依次流通过热交换器135的第二流路137、吸热器134、热交换器135的第一流路136、散热器132后,向热交换型换气装置110中的热交换后的供气风路105导出。另一方面,导入到除湿装置130的排气流102在流通过散热器132后,向热交换型换气装置110中的热交换后的排气风路104导出。也就是说,在本实施方式中,除湿装置130构成为通过从热交换型换气装置110导入的排气流102来冷却散热器132。In the dehumidification device 130, the air supply air 103 introduced to the inside flows through the second flow path 137 of the heat exchanger 135, the heat absorber 134, the first flow path 136 of the heat exchanger 135, and the radiator 132 in sequence, and then transfers heat to the heat exchanger 130. The air supply air path 105 after the heat exchange in the type ventilator 110 is led out. On the other hand, the exhaust flow 102 introduced into the dehumidifier 130 passes through the radiator 132 and then is led out to the exhaust air passage 104 after heat exchange in the heat exchange type ventilator 110 . That is, in the present embodiment, the dehumidifier 130 is configured to cool the radiator 132 by the exhaust flow 102 introduced from the heat exchange type ventilator 110 .

接下来,对实施方式2-1的带除湿功能的热交换型换气装置150的除湿的动作进行说明。Next, the dehumidification operation of the heat exchange type ventilator 150 with a dehumidification function according to Embodiment 2-1 will be described.

首先,通过运转带除湿功能的热交换型换气装置150,从而排气风扇113和供气风扇116进行驱动,在热交换型换气装置110的内部产生在排气风路104流通的排气流102以及在供气风路105流通的供气流103。First, by operating the heat exchange type ventilator 150 with a dehumidification function, the exhaust fan 113 and the air supply fan 116 are driven, and the exhaust air flowing through the exhaust air passage 104 is generated inside the heat exchange type ventilator 110 . Flow 102 and supply airflow 103 circulating in supply air path 105 .

例如,在夏季,排气流102是被空调等调节为舒适的温度湿度的室内的空气,供气流103是高温多湿的室外的空气。For example, in summer, the exhaust air flow 102 is indoor air adjusted to a comfortable temperature and humidity by an air conditioner, and the supply air flow 103 is outdoor air with high temperature and humidity.

排气流102与供气流103在热交换型换气装置110的内部(热交换元件112)交换显热与潜热。此时,水分从高温多湿的供气流103向排气流102移动,因此供气流103的水分被去除。也就是说,通过在热交换型换气装置110的内部的全热交换,从而进行针对供气流103的除湿(第一除湿)。The exhaust flow 102 and the supply flow 103 exchange sensible heat and latent heat inside the heat exchange type ventilator 110 (heat exchange element 112 ). At this time, moisture moves from the high-temperature and high-humidity supply airflow 103 to the exhaust flow 102, so the moisture in the supply airflow 103 is removed. That is, dehumidification (first dehumidification) for the supply airflow 103 is performed by total heat exchange inside the heat exchange type ventilator 110 .

接下来,热交换后的供气流103向除湿装置130导入并被除湿。具体而言,导入到除湿装置130的供气流103首先流入热交换器135的第二流路137,并与后述的第一流路136内的被吸热器134冷却了的供气流103进行热交换。由此,第二流路137内的供气流103被冷却而结露,因此供气流103的水分被去除。也就是说,通过在热交换器135进行显热交换,从而进行针对第二流路137内的供气流103的除湿(第二除湿)。Next, the heat-exchanged supply airflow 103 is introduced into the dehumidifier 130 and dehumidified. Specifically, the supply air flow 103 introduced into the dehumidifier 130 first flows into the second flow path 137 of the heat exchanger 135, and is heated with the supply air flow 103 cooled by the heat absorber 134 in the first flow path 136 described later. exchange. As a result, the supply air flow 103 in the second flow path 137 is cooled to condense dew, and thus the moisture in the supply air flow 103 is removed. That is, dehumidification (second dehumidification) of the supply air flow 103 in the second flow path 137 is performed by exchanging sensible heat in the heat exchanger 135 .

此外,在热交换器135进行了显热交换(冷却)的供气流103被吸热器134进一步冷却。由此,供气流103的温度成为露点温度以下,供气流103结露,因此供气流103的水分被去除。也就是说,通过在吸热器134流通,从而进行针对从热交换器135的第二流路137导入的供气流103的除湿(第三除湿)。需要说明的是,向热交换器135的第一流路136导入被吸热器134冷却了的供气流103。Furthermore, the feed air stream 103 subjected to sensible heat exchange (cooling) in the heat exchanger 135 is further cooled by the heat absorber 134 . Thereby, the temperature of the supply airflow 103 becomes below dew point temperature, and since the supply airflow 103 condenses dew, the moisture of the supply airflow 103 is removed. That is, dehumidification (third dehumidification) of the supply air flow 103 introduced from the second flow path 137 of the heat exchanger 135 is performed by passing through the heat absorber 134 . The supply air flow 103 cooled by the heat absorber 134 is introduced into the first flow path 136 of the heat exchanger 135 .

也就是说,带除湿功能的热交换型换气装置150通过由热交换型换气装置110、吸热器134以及热交换器135各设备进行的除湿(第一除湿~第三除湿),而将水分从室外的高温多湿的供气流103中去除,此时,确保了所需的除湿量。That is, the heat exchange type ventilator 150 with a dehumidification function performs dehumidification (the first dehumidification to the third dehumidification) by the heat exchange type ventilator 110, the heat absorber 134, and the heat exchanger 135. Moisture is removed from the outdoor high-temperature and humid supply airflow 103, at this time, the required dehumidification capacity is ensured.

并且,带除湿功能的热交换型换气装置150中的除湿装置130构成为从热交换型换气装置110的排气风路104导入排气流102并使导入的排气流102在散热器132流通。在散热器132中,通过导入的排气流102,来排放相当于在吸热器134中吸收的能量以及在压缩机131中用于使制冷循环内的制冷剂循环的能量的热量。从散热器132吸收了热量的排气流102向排气风路104导出,并直接向室外排出。也就是说,散热器132被导入的排气流102冷却。并且,作为其结果,伴随在散热器132流通而产生的供气流103的温度上升得到抑制。And, the dehumidifier 130 in the heat exchange type ventilator 150 with dehumidification function is configured to introduce the exhaust flow 102 from the exhaust air passage 104 of the heat exchange type ventilator 110 and make the introduced exhaust flow 102 flow through the radiator. 132 in circulation. In the radiator 132 , heat equivalent to the energy absorbed in the heat absorber 134 and the energy for circulating the refrigerant in the refrigeration cycle in the compressor 131 is discharged by the introduced exhaust flow 102 . The exhaust flow 102 that has absorbed heat from the radiator 132 is led out to the exhaust air passage 104 and directly discharged outdoors. That is, the radiator 132 is cooled by the incoming exhaust gas flow 102 . And, as a result, the temperature rise of the supply air flow 103 accompanying the flow through the radiator 132 is suppressed.

根据实施方式2-1的带除湿功能的热交换型换气装置150,能够通过来自热交换型换气装置110的排气流102(在需要除湿的夏季,是温度比供气流103低的排气流102)得到除湿装置130中的散热器132的冷却(排热)所需的能量,因此能够抑制除湿后的空气(供气流103)的温度上升。即使在应用了将制冷循环和热交换器135组合而成的除湿装置130的情况下,也能够对伴随除湿而产生的温度上升得到抑制的供气流进行输送。也就是说,能够成为可以对伴随除湿而产生的温度上升得到抑制的供气流进行输送的带除湿功能的热交换型换气装置150。According to the heat exchange type ventilator 150 with dehumidification function of Embodiment 2-1, the exhaust gas flow 102 from the heat exchange type ventilator 110 (in the summer when dehumidification is required, the exhaust gas flow 102 is lower in temperature than the supply gas flow 103 The airflow 102) obtains the energy required for cooling (heat removal) of the radiator 132 in the dehumidifier 130, so that the temperature rise of the dehumidified air (supply airflow 103) can be suppressed. Even when the dehumidification device 130 combining the refrigeration cycle and the heat exchanger 135 is applied, it is possible to send the supply air flow in which the temperature rise caused by dehumidification is suppressed. That is, it is possible to provide the heat exchange type ventilator 150 with a dehumidification function capable of sending a supply air flow whose temperature rise accompanying dehumidification is suppressed.

(实施方式2-2)(Embodiment 2-2)

本发明的实施方式2-2的带除湿功能的热交换型换气装置150a在构成为将热交换型换气装置110a中的热交换前的排气流102的一部分向除湿装置130导入这一点上与实施方式2-1不同。除此以外的带除湿功能的热交换型换气装置150a的结构与实施方式2-1的带除湿功能的热交换型换气装置150相同。以下,适当省略对实施方式2-1中说明过的内容的再度说明,主要对与实施方式2-1不同的点进行说明。The heat exchange type ventilator 150a with a dehumidification function according to Embodiment 2-2 of the present invention is configured to introduce a part of the exhaust gas flow 102 before heat exchange in the heat exchange type ventilator 110a to the dehumidifier 130 It is different from Embodiment 2-1 above. The structure of the heat exchange type ventilator 150a with a dehumidification function other than this is the same as that of the heat exchange type ventilator 150 with a dehumidification function in Embodiment 2-1. Hereinafter, re-description of the content described in Embodiment 2-1 will be appropriately omitted, and points different from Embodiment 2-1 will be mainly described.

参照图13对本发明的实施方式2-2的带除湿功能的热交换型换气装置150a进行说明。图13是示出本发明的实施方式2-2的带除湿功能的热交换型换气装置的结构的示意图。A heat exchange type ventilator 150a with a dehumidification function according to Embodiment 2-2 of the present invention will be described with reference to FIG. 13 . Fig. 13 is a schematic diagram showing the configuration of a heat exchange type ventilator with a dehumidification function according to Embodiment 2-2 of the present invention.

如图13所示,在热交换型换气装置110a设置有分支风门142,该分支风门142将热交换前的排气流102分割为两股气流(第一排气流102a、第二排气流102b)。第一排气流102a是向热交换元件112导入的气流,第二排气流102b是向除湿装置130导入的气流。需要说明的是,分支风门142以使第二排气流102b的风量少于第一排气流102a的风量的方式对排气流102进行分割。As shown in FIG. 13, the heat exchange type ventilator 110a is provided with a branch damper 142, and the branch damper 142 divides the exhaust flow 102 before heat exchange into two airflows (the first exhaust flow 102a, the second exhaust flow stream 102b). The first exhaust flow 102 a is an air flow introduced to the heat exchange element 112 , and the second exhaust flow 102 b is an air flow introduced to the dehumidifier 130 . It should be noted that the branch damper 142 divides the exhaust flow 102 so that the air volume of the second exhaust flow 102b is smaller than the air volume of the first exhaust flow 102a.

在热交换型换气装置110a中,分割后的排气流102中的第一排气流102a在流通过热交换元件112后,从排气风路104(图11的排气口115)向室外排出。另一方面,第二排气流102b在流通过除湿装置130的散热器132后,向热交换后的排气风路104导出。在本实施方式中,热交换型换气装置110a构成为使通过热交换元件112进行了热交换的第一排气流102a与在除湿装置130的散热器132流通后的第二排气流102b在合流后,向室外排出。In the heat exchange type ventilator 110a, the first exhaust flow 102a of the divided exhaust flow 102 passes through the heat exchange element 112, and then flows from the exhaust air path 104 (exhaust port 115 in FIG. 11 ) to the outside. discharge. On the other hand, after passing through the radiator 132 of the dehumidifier 130 , the second exhaust flow 102 b is led out to the exhaust air passage 104 after heat exchange. In the present embodiment, the heat exchange type ventilator 110a is configured such that the first exhaust flow 102a subjected to heat exchange by the heat exchange element 112 and the second exhaust flow 102b after passing through the radiator 132 of the dehumidifier 130 After confluence, discharge to the outside.

根据实施方式2-2的带除湿功能的热交换型换气装置150a,在夏季,将温度低于热交换后的排气流102(第一排气流102a)的热交换前的排气流102(第二排气流102b)向除湿装置130导入,因此能够更有效地冷却散热器132。因此,能够进一步抑制除湿后的空气(供气流103)的温度上升。According to the heat exchange type ventilator 150a with a dehumidification function of Embodiment 2-2, in summer, the temperature of the exhaust stream before heat exchange is lower than that of the exhaust stream 102 after heat exchange (the first exhaust stream 102a). 102 (second exhaust flow 102b) is introduced into the dehumidifier 130, so the radiator 132 can be cooled more effectively. Therefore, the temperature rise of the dehumidified air (supply airflow 103 ) can be further suppressed.

(实施方式2-3)(Embodiment 2-3)

本发明的实施方式2-3的带除湿功能的热交换型换气装置150b在构成为对热交换型换气装置110、110a中的热交换后的排气流102混合热交换前的排气流102的一部分后将其向除湿装置130导入这一点上与实施方式2-1、2-2不同。除此以外的带除湿功能的热交换型换气装置150b的结构与实施方式2-1的带除湿功能的热交换型换气装置150或实施方式2-2的带除湿功能的热交换型换气装置150a相同。以下,适当省略对实施方式2-1、2-2中说明过的内容的再度说明,主要对与实施方式2-1、2-2不同的点进行说明。The heat exchange type ventilator 150b with a dehumidification function according to Embodiment 2-3 of the present invention is configured to mix the exhaust gas before heat exchange with the exhaust gas flow 102 after heat exchange in the heat exchange type ventilator 110, 110a. The point that a part of the flow 102 is introduced into the dehumidifier 130 is different from Embodiments 2-1 and 2-2. The structure of the heat exchange type ventilator 150b with a dehumidification function is the same as that of the heat exchange type ventilator 150 with a dehumidification function in Embodiment 2-1 or the heat exchange type ventilator with a dehumidification function in Embodiment 2-2. Gas device 150a is the same. Hereinafter, re-description of the contents described in Embodiments 2-1 and 2-2 will be appropriately omitted, and points different from Embodiments 2-1 and 2-2 will be mainly described.

参照图14对本发明的实施方式2-3的带除湿功能的热交换型换气装置150b进行说明。图14是示出本发明的实施方式2-3的带除湿功能的热交换型换气装置的结构的示意图。A heat exchange type ventilator 150b with a dehumidification function according to Embodiment 2-3 of the present invention will be described with reference to FIG. 14 . Fig. 14 is a schematic diagram showing the configuration of a heat exchange type ventilator with a dehumidification function according to Embodiment 2-3 of the present invention.

如图14所示,在热交换型换气装置110b中,与实施方式2-1同样地在热交换后的排气风路104设置有切换风门140。另外,在热交换型换气装置110b中,与实施方式2-2同样地设置有将热交换前的排气流102分割为第一排气流102a与第二排气流102b的分支风门142。As shown in FIG. 14, in the heat exchange type ventilator 110b, the switching damper 140 is provided in the exhaust air path 104 after heat exchange similarly to Embodiment 2-1. In addition, in the heat exchange type ventilator 110b, the branch damper 142 that divides the exhaust flow 102 before heat exchange into the first exhaust flow 102a and the second exhaust flow 102b is provided similarly to Embodiment 2-2. .

在热交换型换气装置110b中,分割后的排气流102中的第一排气流102a在流通过热交换元件112后,经由排气风路104的切换风门140向除湿装置130导出。此时,向第一排气流102a混合绕过热交换元件112而流通来的第二排气流102b。也就是说,向除湿装置130导入将热交换后的第一排气流102a与热交换前的第二排气流102b混合而成的排气流102。并且,导入到除湿装置130的排气流102在流通过散热器132后,向热交换型换气装置110中的热交换后的排气风路104导出。In the heat exchange type ventilator 110 b , the first exhaust flow 102 a among the divided exhaust flows 102 passes through the heat exchange element 112 and is led out to the dehumidifier 130 through the switching damper 140 of the exhaust air passage 104 . At this time, the second exhaust flow 102b bypassing the heat exchange element 112 is mixed with the first exhaust flow 102a. That is, the exhaust flow 102 in which the first exhaust flow 102 a after heat exchange and the second exhaust flow 102 b before heat exchange is mixed is introduced into the dehumidifier 130 . In addition, the exhaust flow 102 introduced into the dehumidifier 130 passes through the radiator 132 and then is led out to the exhaust air passage 104 after heat exchange in the heat exchange type ventilator 110 .

根据实施方式2-3的带除湿功能的热交换型换气装置150b,使热交换前的第二排气流102b与热交换后的第一排气流102a合流,因此能够在使温度低于热交换后的第一排气流102a的状态下增加向除湿装置130导入的排气流102(混合后的排气流)的风量。因此,能够有效地进行散热器132的冷却,从而能够抑制除湿后的空气(供气流)的温度上升。According to the heat exchange type ventilator 150b with dehumidification function according to the embodiment 2-3, the second exhaust flow 102b before heat exchange is combined with the first exhaust flow 102a after heat exchange, so the temperature can be lower than The air volume of the exhaust stream 102 (mixed exhaust stream) introduced into the dehumidifier 130 is increased in the state of the heat-exchanged first exhaust stream 102a. Therefore, the cooling of the radiator 132 can be effectively performed, and the temperature rise of the dehumidified air (supply air flow) can be suppressed.

(实施方式2-4)(Embodiment 2-4)

本发明的实施方式2-4的带除湿功能的热交换型换气装置150c在除湿装置130a的构成制冷循环的散热器以及膨胀器为两级结构这一点上与实施方式2-3不同。除此以外的带除湿功能的热交换型换气装置150c的结构与实施方式2-3的带除湿功能的热交换型换气装置150b相同。以下,适当省略对实施方式2-3中说明过的内容的再度说明,主要对与实施方式2-3不同的点进行说明。The heat exchange type ventilator 150c with a dehumidification function according to Embodiment 2-4 of the present invention differs from Embodiment 2-3 in that the radiator and expander constituting the refrigeration cycle of the dehumidifier 130a have a two-stage structure. The structure of the heat exchange type ventilator 150c with a dehumidification function other than this is the same as that of the heat exchange type ventilator 150b with a dehumidification function in Embodiment 2-3. Hereinafter, re-description of the contents described in Embodiment 2-3 will be appropriately omitted, and points different from Embodiment 2-3 will be mainly described.

参照图15对本发明的实施方式2-4的带除湿功能的热交换型换气装置150c进行说明。图15是示出本发明的实施方式2-4的带除湿功能的热交换型换气装置的结构的示意图。A heat exchange type ventilator 150c with a dehumidification function according to Embodiment 2-4 of the present invention will be described with reference to FIG. 15 . Fig. 15 is a schematic diagram showing the configuration of a heat exchange type ventilator with a dehumidification function according to Embodiment 2-4 of the present invention.

如图15所示,带除湿功能的热交换型换气装置150c中的除湿装置130a具有第一散热器132a以及与第一散热器132a不同的第二散热器132b作为散热器132A。另外,除湿装置130a具有第一膨胀器133a以及与第一膨胀器133a不同的第二膨胀器133b作为膨胀器133A。并且,除湿装置130a中的制冷循环构成为将压缩机131、第一散热器132a、第一膨胀器133a、第二散热器132b、第二膨胀器133b、吸热器134依次连结。并且,热交换器135与现有的热交换器1111(参照图9)同样地配置在吸热器134与第二散热器132b之间。As shown in FIG. 15 , dehumidifier 130a in heat exchange type ventilator 150c with dehumidification function has first radiator 132a and second radiator 132b different from first radiator 132a as radiator 132A. In addition, the dehumidifier 130a has a first expander 133a and a second expander 133b different from the first expander 133a as the expander 133A. In addition, the refrigeration cycle in the dehumidifier 130a is configured by sequentially connecting the compressor 131, the first radiator 132a, the first expander 133a, the second radiator 132b, the second expander 133b, and the heat absorber 134. In addition, the heat exchanger 135 is arranged between the heat absorber 134 and the second radiator 132b similarly to the conventional heat exchanger 1111 (see FIG. 9 ).

本实施方式中的压缩机131与实施方式2-3中的压缩机131不同,将制冷剂气体的温度高温化至50℃左右并向第一散热器132a导入。The compressor 131 in this embodiment is different from the compressor 131 in Embodiment 2-3 in that the temperature of the refrigerant gas is increased to about 50° C. and introduced into the first radiator 132 a.

第一散热器132a是通过在与导入到除湿装置130a的排气流102(混合热交换后的第一排气流102a与热交换前的第二排气流102b而成的排气流)之间进行热交换而向外部(制冷循环外)排放热量的设备。另外,第二散热器132b是通过在与导入到除湿装置130a的供气流103之间进行热交换而向外部(制冷循环外)排放热量的设备。The first radiator 132a passes between the exhaust flow 102 (the exhaust flow formed by mixing the first exhaust flow 102a after heat exchange and the second exhaust flow 102b before heat exchange) introduced into the dehumidifier 130a. Equipment that exchanges heat between them and discharges heat to the outside (outside the refrigeration cycle). In addition, the second radiator 132b is a device that discharges heat to the outside (outside the refrigeration cycle) by exchanging heat with the supply air flow 103 introduced into the dehumidifier 130a.

在此,向第一散热器132a导入的制冷剂的温度被压缩机131调整为50℃左右,向第二散热器132b导入的制冷剂的温度被第一膨胀器133a调整为27℃左右。Here, the temperature of the refrigerant introduced into the first radiator 132a is adjusted to about 50°C by the compressor 131, and the temperature of the refrigerant introduced into the second radiator 132b is adjusted to about 27°C by the first expander 133a.

详细情况将后述,但第一膨胀器133a是对从第一散热器132a导入的高压的气液二相制冷剂(气体状态的制冷剂与液体状态的制冷剂混合存在的状态的制冷剂)进行减压而使其成为规定的温度(例如,室内温度即27℃左右)、中压的二相制冷剂的设备。另外,第二膨胀器133b是对从第二散热器132b导入的中压的过冷却液制冷剂进行减压而使其成为低温、低压的气液二相制冷剂的设备。The details will be described later, but the first expander 133a responds to the high-pressure gas-liquid two-phase refrigerant (refrigerant in a state where gaseous refrigerant and liquid refrigerant are mixed) introduced from the first radiator 132a. A device that depressurizes the refrigerant to a predetermined temperature (for example, about 27°C, which is the room temperature), and a medium-pressure two-phase refrigerant. In addition, the second expander 133b is a device that decompresses the medium-pressure subcooled liquid refrigerant introduced from the second radiator 132b to turn it into a low-temperature, low-pressure gas-liquid two-phase refrigerant.

并且,导入到除湿装置130a的供气流103在依次流通过热交换器135的第二流路137、吸热器134、热交换器135的第一流路136、第二散热器132b后,向供气风路105导出。另一方面,导入到除湿装置130a的排气流102(将热交换后的第-排气流102a与热交换前的第二排气流102b混合而成的排气流)在流通过第一散热器132a后,向排气风路104导出。And, the air supply air 103 introduced into the dehumidifier 130a flows through the second flow path 137 of the heat exchanger 135, the heat absorber 134, the first flow path 136 of the heat exchanger 135, and the second radiator 132b in sequence, and then to the air supply The wind path 105 leads out. On the other hand, the exhaust flow 102 introduced into the dehumidifier 130a (exhaust flow obtained by mixing the first exhaust flow 102a after heat exchange and the second exhaust flow 102b before heat exchange) passes through the first After the radiator 132a, it is led out to the exhaust air duct 104 .

接下来,使用图16对带除湿功能的热交换型换气装置150c中的除湿装置130a的制冷循环的动作进行说明。图16是本发明的实施方式2-4的带除湿功能的热交换型换气装置的除湿运转时的莫里尔图。在此,纵轴是制冷剂的压力,横轴是制冷剂的比焓。另外,图16的区域S11是过热蒸气区域(制冷剂作为过热蒸气而存在的区域),区域S12是湿蒸气区域(制冷剂作为湿蒸气而存在的区域),区域S13是过冷却液区域(制冷剂作为过冷却液而存在的区域)。并且,图16的曲线S14是饱和蒸气线(区域S11与区域S12的分界线)与饱和液线(区域S12与区域S13的分界线)夹着临界点(未图示)而构成的曲线。Next, the operation|movement of the refrigeration cycle of the dehumidifier 130a in the heat exchange type ventilator 150c with a dehumidification function is demonstrated using FIG. 16. Fig. 16 is a Mollier diagram during a dehumidification operation of the heat exchange type ventilator with a dehumidification function according to Embodiment 2-4 of the present invention. Here, the vertical axis represents the pressure of the refrigerant, and the horizontal axis represents the specific enthalpy of the refrigerant. In addition, the region S11 of FIG. 16 is a superheated vapor region (the region where the refrigerant exists as superheated vapor), the region S12 is the wet vapor region (the region where the refrigerant exists as wet vapor), and the region S13 is the supercooled liquid region (the region where the refrigerant exists). areas where the agent exists as a supercooled liquid). In addition, the curve S14 in FIG. 16 is a curve composed of a saturated vapor line (the boundary line between the regions S11 and S12 ) and a saturated liquid line (the boundary line between the regions S12 and S13 ) sandwiching a critical point (not shown).

首先,如图16所示,在除湿装置130a中,从压缩机131排出高温高压的气体制冷剂,该高温高压的气体制冷剂流入第一散热器132a(图16的点G)。First, as shown in FIG. 16, in the dehumidifier 130a, high temperature and high pressure gas refrigerant is discharged from the compressor 131, and the high temperature and high pressure gas refrigerant flows into the first radiator 132a (point G of FIG. 16).

然后,流入了第一散热器132a的气体制冷剂与向除湿装置130a导入的排气流102进行热交换,从而冷凝为与排出温度相比被冷却了的气体制冷剂或干燥度(气体的比例)较高的气液二相制冷剂,并流出第一散热器132a(图16的点H)。另一方面,通过第一散热器132a而温度上升了的排气流102向热交换后的排气风路104导出而向室外排出。Then, the gas refrigerant that has flowed into the first radiator 132a exchanges heat with the exhaust gas flow 102 introduced into the dehumidifier 130a, and is condensed into a gas refrigerant that has been cooled compared to the discharge temperature or a dryness (gas ratio) ) higher gas-liquid two-phase refrigerant, and flows out of the first radiator 132a (point H in FIG. 16 ). On the other hand, the exhaust flow 102 whose temperature has been raised by passing through the first radiator 132a is led out to the exhaust air duct 104 after heat exchange, and is discharged to the outside.

然后,流出第一散热器132a的气体制冷剂或气液二相制冷剂被第一膨胀器133a从高压被减压为中压,冷凝温度降低至规定的温度(室内温度),并流入第二散热器132b(图16的点I)。Then, the gas refrigerant or gas-liquid two-phase refrigerant flowing out of the first radiator 132a is decompressed from high pressure to medium pressure by the first expander 133a, the condensation temperature is lowered to a predetermined temperature (room temperature), and flows into the second radiator 132a. The heat sink 132b (point I of FIG. 16).

然后,流入了第二散热器132b的规定的温度、中压的气液二相制冷剂与除湿后的供气流103进行热交换,从而冷凝为干燥度较低的气液二相制冷剂或过冷却液制冷剂,并流出第二散热器132b(图16的点J)。另一方面,向除湿装置130a导入的供气流103(与吸热器134进行了热交换的供气流103)在通过与第二散热器132b的热交换而上升至规定的温度(室内温度)后,向供气风路105导出,并向室内吹出。更准确而言,在第二散热器132b流通后的供气流103成为导入到第二散热器132b的供气流103的温度与导入到第二散热器132b的制冷剂的温度之间的温度并被吹出。Then, the gas-liquid two-phase refrigerant at a predetermined temperature and medium pressure flowing into the second radiator 132b performs heat exchange with the dehumidified supply air flow 103, thereby condensing into a gas-liquid two-phase refrigerant with a relatively low dryness or an overheated gas-liquid two-phase refrigerant. The liquid refrigerant is cooled, and flows out of the second radiator 132b (point J of FIG. 16). On the other hand, after the supply air flow 103 introduced into the dehumidifier 130a (the supply air flow 103 having exchanged heat with the heat absorber 134) is raised to a predetermined temperature (indoor temperature) by heat exchange with the second radiator 132b, , lead out to the air supply air path 105, and blow out into the room. More precisely, the supply air flow 103 after flowing through the second radiator 132b has a temperature between the temperature of the supply air flow 103 introduced into the second radiator 132b and the temperature of the refrigerant introduced into the second radiator 132b, and is controlled by blow out.

然后,流出第二散热器132b的过冷却液制冷剂被第二膨胀器133b减压而成为气液二相制冷剂,并流入吸热器134(图16的点K)。Then, the subcooled liquid refrigerant flowing out of the second radiator 132b is decompressed by the second expander 133b to become a gas-liquid two-phase refrigerant, and flows into the heat absorber 134 (point K in FIG. 16 ).

流入了吸热器134的气液二相制冷剂与从热交换器135的第二流路137导出的供气流103进行热交换,从而气液二相制冷剂成为干燥度较高的制冷剂或气体制冷剂,并流出吸热器134(图16的点L)。另一方面,被吸热器134冷却了的供气流103由于成为低于露点温度的空气而结露,从而能够去除供气流103的水分。流出吸热器134的气体制冷剂被吸入压缩机131中。The gas-liquid two-phase refrigerant flowing into the heat absorber 134 exchanges heat with the supply air flow 103 derived from the second flow path 137 of the heat exchanger 135, so that the gas-liquid two-phase refrigerant becomes a refrigerant with a relatively high dryness or The gas refrigerant flows out of the heat absorber 134 (point L in FIG. 16 ). On the other hand, since the supply air flow 103 cooled by the heat absorber 134 becomes air with a temperature lower than the dew point, dew condensation occurs, and the moisture in the supply air flow 103 can be removed. The gaseous refrigerant flowing out of the heat absorber 134 is sucked into the compressor 131 .

在这样的制冷循环中,利用第一膨胀器133a将制冷剂减压为中压,从而能够将由于第二散热器132b而上升的供气流103的温度调整为规定的温度(室内温度)。因此,除湿装置130a即使对供气流103与第二散热器132b进行热交换,也能够使供气流103的温度上升成为规定的温度程度。In such a refrigeration cycle, the temperature of the supply air flow 103 raised by the second radiator 132b can be adjusted to a predetermined temperature (indoor temperature) by depressurizing the refrigerant to an intermediate pressure by the first expander 133a. Therefore, even if the dehumidifier 130a exchanges heat between the supply airflow 103 and the second radiator 132b, the temperature of the supply airflow 103 can be raised to a predetermined temperature level.

更详细地进行说明。在实施方式2-3的散热器132中,在散热器132流通的供气流103与向散热器132导入的制冷剂(温度:45℃左右)之间进行热交换。因此,在散热器132流通后的供气流103被升温至最高45℃左右并被吹出。另一方面,在本实施方式的第二散热器132b中,向第二散热器132b导入的供气流103与向第二散热器132b导入的制冷剂(温度:27℃左右)之间进行热交换。因此,在第二散热器132b流通后的供气流103被升温至最高27℃左右并被吹出。也就是说,利用第一膨胀器133a将制冷剂温度调整为规定的温度(27℃左右),从而与该制冷剂进行热交换的供气流103不会成为比规定的温度(室内温度)高的温度。It will be described in more detail. In the radiator 132 of Embodiment 2-3, heat exchange is performed between the supply air flow 103 flowing through the radiator 132 and the refrigerant (temperature: about 45° C.) introduced into the radiator 132 . Therefore, the supply air flow 103 after passing through the radiator 132 is heated up to about 45° C. at the maximum and blown out. On the other hand, in the second radiator 132b of the present embodiment, heat exchange is performed between the supply air flow 103 introduced into the second radiator 132b and the refrigerant (temperature: about 27° C.) introduced into the second radiator 132b. . Therefore, the air supply air 103 having passed through the second radiator 132b is heated up to about 27° C. at the maximum and blown out. That is, the temperature of the refrigerant is adjusted to a predetermined temperature (about 27° C.) by the first expander 133 a so that the supply air flow 103 that exchanges heat with the refrigerant does not become higher than the predetermined temperature (indoor temperature). temperature.

在此,本实施方式的除湿装置130a调整为通过第一散热器132a来排放相当于在吸热器134中吸收的能量以及在压缩机131中用于使制冷循环内的制冷剂循环的能量的热量的大部分。由此,能够减少通过第二散热器132b排放的热量,而使向第二散热器132b导入的制冷剂的温度下降至27℃左右。Here, the dehumidifier 130a of the present embodiment is adjusted to discharge energy equivalent to the energy absorbed in the heat absorber 134 and the energy for circulating the refrigerant in the refrigeration cycle in the compressor 131 through the first radiator 132a. most of the heat. Thereby, the amount of heat discharged through the second radiator 132b can be reduced, and the temperature of the refrigerant introduced into the second radiator 132b can be lowered to about 27°C.

根据实施方式2-4的带除湿功能的热交换型换气装置150c,利用第一膨胀器133a对制冷循环内的制冷剂(从被排气流102冷却了的第一散热器132a导入的制冷剂)进行减压,从而能够使第二散热器132b的温度低于第一散热器132a的温度。因此,能够抑制供气流103与第二散热器132b进行了热交换的情况下的供气流103的温度上升。也就是说,能够成为可以对伴随除湿而产生的温度上升得到抑制的供气流进行输送的带除湿功能的热交换型换气装置150c。According to the heat exchange type ventilator 150c with dehumidification function in Embodiment 2-4, the refrigerant in the refrigeration cycle (refrigerated from the first radiator 132a cooled by the exhaust flow 102) is refrigerated by the first expander 133a. agent) is decompressed, so that the temperature of the second radiator 132b can be lower than the temperature of the first radiator 132a. Therefore, it is possible to suppress the temperature rise of the supply airflow 103 when the supply airflow 103 has exchanged heat with the second radiator 132b. That is, it is possible to provide a heat exchange type ventilator 150c with a dehumidification function capable of sending a supply air flow in which a temperature rise accompanying dehumidification is suppressed.

(实施方式2-5)(Embodiment 2-5)

本发明的实施方式2-5的带除湿功能的热交换型换气装置150d在除湿装置130b中设置有对成为第一除湿模式M1的风路以及成为第二除湿模式M2的风路进行切换的风路切换部(切换风门143、切换风门144、切换风门145)以及将该风路切换部与各设备连接的风路这一点上与实施方式2-1不同。除此以外的带除湿功能的热交换型换气装置150d的结构与实施方式2-1的带除湿功能的热交换型换气装置150相同。以下,适当省略对实施方式2-1中说明过的内容的再度说明,主要对与实施方式2-1不同的点进行说明。In the heat exchange type ventilator 150d with a dehumidification function according to Embodiment 2-5 of the present invention, the dehumidifier 130b is provided with a device for switching between the air passage in the first dehumidification mode M1 and the air passage in the second dehumidification mode M2. An air passage switching unit (switching damper 143, switching damper 144, and switching damper 145) and an air passage connecting the air passage switching unit to each device are different from Embodiment 2-1. The structure of the heat exchange type ventilator 150d with a dehumidification function other than this is the same as that of the heat exchange type ventilator 150 with a dehumidification function in Embodiment 2-1. Hereinafter, re-description of the content described in Embodiment 2-1 will be appropriately omitted, and points different from Embodiment 2-1 will be mainly described.

参照图17对本发明的实施方式2-5的带除湿功能的热交换型换气装置150d进行说明。图17是示出本发明的实施方式2-5的带除湿功能的热交换型换气装置的结构的示意图。A heat exchange type ventilator 150d with a dehumidification function according to Embodiment 2-5 of the present invention will be described with reference to FIG. 17 . Fig. 17 is a schematic diagram showing the configuration of a heat exchange type ventilator with a dehumidification function according to Embodiment 2-5 of the present invention.

如图17所示,带除湿功能的热交换型换气装置150d中的除湿装置130b具备由切换风门143、切换风门144以及切换风门145构成的风路切换部。详细情况将后述,但风路切换部对成为第一除湿模式M1的风路及气流的流动、以及成为与第一除湿模式M1不同的第二除湿模式M2的风路及气流的流动进行切换。As shown in FIG. 17 , dehumidifier 130 b in heat exchange type ventilator 150 d with a dehumidification function includes an air passage switching unit including switching damper 143 , switching damper 144 , and switching damper 145 . The details will be described later, but the air path switching unit switches between the air path and air flow in the first dehumidification mode M1, and the air path and air flow in the second dehumidification mode M2 different from the first dehumidification mode M1. .

切换风门143是用于将向除湿装置130b的内部导入的热交换后的供气流103切换为第一状态与第二状态的风门。第一状态是不对供气流103进行分割而使其直接向热交换器135(热交换器135的第二流路137)流动的状态。第二状态是将供气流103分割为两股气流(第一供气流103a、第二供气流103b)的状态。需要说明的是,第一供气流103a是向吸热器134导入的气流,第二供气流103b是向热交换器135(热交换器135的第二流路137)导入的气流。另外,切换风门143以使第二供气流103b的风量少于第一供气流103a的风量的方式对供气流103进行分割。在此,第一供气流103a相当于“导入到除湿装置的供气流的一部分”,第二供气流103b相当于“导入到除湿装置的供气流的另一部分”。The switching damper 143 is a damper for switching the heat-exchanged supply airflow 103 introduced into the dehumidifier 130b between the first state and the second state. The first state is a state in which the supply air flow 103 flows directly to the heat exchanger 135 (the second flow path 137 of the heat exchanger 135 ) without being divided. The second state is a state in which the supply airflow 103 is divided into two airflows (the first supply airflow 103a, the second supply airflow 103b). It should be noted that the first supply airflow 103a is an airflow introduced into the heat absorber 134, and the second supply airflow 103b is an airflow introduced into the heat exchanger 135 (the second flow path 137 of the heat exchanger 135). Moreover, the damper 143 is switched so that the air supply air flow 103 is divided so that the air volume of the second air supply air flow 103b is smaller than the air volume of the first air supply air flow 103a. Here, the first supply airflow 103a corresponds to "a part of the supply airflow introduced into the dehumidifier", and the second supply airflow 103b corresponds to "the other part of the supply airflow introduced into the dehumidifier".

切换风门144是用于将从热交换器135的第二流路137导出的空气(供气流103)切换为第三状态与第四状态的风门。第三状态是使供气流103向吸热器134流动的状态。第四状态是使供气流103向散热器132流动的状态。The switching damper 144 is a damper for switching the air (supply air flow 103 ) led out from the second flow path 137 of the heat exchanger 135 between the third state and the fourth state. The third state is a state in which the supply air flow 103 flows toward the heat absorber 134 . The fourth state is a state in which the supply air flow 103 flows toward the radiator 132 .

切换风门145是用于将从热交换器135的第二流路137导出的空气(供气流103)切换为第五状态与第六状态的风门。第五状态是使供气流103向吸热器134流动的状态。第六状态是使被切换风门143分割后的第一供气流103a向吸热器134流动的状态。The switching damper 145 is a damper for switching the air (supply air flow 103 ) led out from the second flow path 137 of the heat exchanger 135 between the fifth state and the sixth state. The fifth state is a state in which the supply air flow 103 flows toward the heat absorber 134 . The sixth state is a state in which the first supply air flow 103 a divided by the switching damper 143 flows toward the heat absorber 134 .

风路切换部通过进行成为切换风门143的第一状态、切换风门144的第三状态、切换风门145的第五状态的切换,从而构成成为第一除湿模式M1的风路以及气流的流动。具体而言,在第一除湿模式M1下,向除湿装置130b的内部导入的供气流103依次在切换风门143、热交换器135的第二流路137、切换风门144、风路138、切换风门145、s热器134、热交换器135的第一流路136、散热器132流通。然后,向热交换型换气装置110中的热交换后的供气风路105导出。这是与实施方式2-1相同的气流的流动。也就是说,在第一除湿模式M1下,能够享有与实施方式2-1相同的除湿效果(第一除湿~第三除湿)。The air passage switching unit constitutes the air passage and the flow of air in the first dehumidification mode M1 by switching between the first state of the switching damper 143 , the third state of the switching damper 144 , and the fifth state of the switching damper 145 . Specifically, in the first dehumidification mode M1, the supply airflow 103 introduced into the dehumidifier 130b passes through the switching damper 143, the second flow path 137 of the heat exchanger 135, the switching damper 144, the air path 138, and the switching damper in sequence. 145 , the heat exchanger 134 , the first flow path 136 of the heat exchanger 135 , and the radiator 132 communicate. Then, it is led out to the supply air duct 105 after heat exchange in the heat exchange type ventilator 110 . This is the same air flow as in Embodiment 2-1. That is, in the first dehumidification mode M1, the same dehumidification effect (first to third dehumidification) as in Embodiment 2-1 can be enjoyed.

另外,风路切换部通过进行成为切换风门143的第二状态、切换风门144的第四状态、切换风门145的第六状态的切换,从而构成成为第二除湿模式M2的风路以及气流的流动。具体而言,在第二除湿模式M2下,向除湿装置130b的内部导入的供气流103中的第一供气流103a依次在切换风门145、吸热器134、热交换器135的第一流路136、散热器132流通。然后,向热交换型换气装置110中的热交换后的供气风路105导出。另一方面,第二供气流103b依次在热交换器135的第二流路137、切换风门144、散热器132流通。然后,向热交换后的供气风路105导出。并且,在第二除湿模式M2下,除湿装置130b构成为使在散热器132流通后的第一供气流103a与在散热器132流通后的第二供气流103b在合流后,向热交换后的供气风路105导出。In addition, the air passage switching unit constitutes the air passage and the flow of the air flow in the second dehumidification mode M2 by switching between the second state of the switching damper 143, the fourth state of the switching damper 144, and the sixth state of the switching damper 145. . Specifically, in the second dehumidification mode M2, the first supply airflow 103a of the supply airflow 103 introduced into the dehumidification device 130b flows through the switching damper 145, the heat absorber 134, and the first flow path 136 of the heat exchanger 135 in sequence. , The radiator 132 circulates. Then, it is led out to the supply air duct 105 after heat exchange in the heat exchange type ventilator 110 . On the other hand, the second supply air flow 103 b flows through the second flow path 137 of the heat exchanger 135 , the switching damper 144 , and the radiator 132 sequentially. Then, it is led out to the supply air duct 105 after heat exchange. In addition, in the second dehumidification mode M2, the dehumidifier 130b is configured such that the first supply airflow 103a after flowing through the radiator 132 and the second supply airflow 103b after flowing through the radiator 132 merge and flow to the heat-exchanged The air supply air path 105 leads out.

在第二除湿模式M2下,第一供气流103a被吸热器134冷却。由此,第一供气流103a的温度成为露点温度以下,第一供气流103a结露,因此第一供气流103a的水分被去除。也就是说,通过在吸热器134流通,从而进行针对第一供气流103a的除湿(第四除湿)。In the second dehumidification mode M2, the first supply air stream 103a is cooled by the heat sink 134 . Thereby, the temperature of the 1st supply airflow 103a becomes below dew point temperature, and since the 1st supply airflow 103a condenses, the moisture of the 1st supply airflow 103a is removed. That is, dehumidification (fourth dehumidification) with respect to the 1st supply airflow 103a is performed by circulating through the heat absorber 134.

此外,导入到除湿装置130的供气流103中的剩余的第二供气流103b流入热交换器135的第二流路137,并与第一流路136内的被吸热器134冷却了的第一供气流103a进行热交换。由此,第二流路137内的第二供气流103b被冷却而结露,因此第二供气流103b的水分被去除。也就是说,通过在热交换器135进行显热交换,从而进行针对第二供气流103b的除湿(第五除湿)。In addition, the remaining second supply airflow 103b of the supply airflow 103 introduced into the dehumidifier 130 flows into the second flow path 137 of the heat exchanger 135, and is mixed with the first flow path 136 cooled by the heat absorber 134 in the first flow path 136. Air flow 103a is provided for heat exchange. As a result, the second supply airflow 103b in the second flow path 137 is cooled to condense dew, so the moisture in the second supply airflow 103b is removed. That is, dehumidification (fifth dehumidification) with respect to the 2nd supply airflow 103b is performed by exchanging sensible heat in the heat exchanger 135. FIG.

也就是说,带除湿功能的热交换型换气装置150d通过由热交换型换气装置110、吸热器134以及热交换器135各设备进行的除湿(第一除湿、第四除湿、第五除湿),而将水分从室外的高温多湿的供气流103中去除,此时,确保了所需的除湿量。That is to say, the heat exchange type ventilator 150d with dehumidification function passes through the dehumidification performed by the heat exchange type ventilator 110, the heat absorber 134 and the heat exchanger 135 (the first dehumidification, the fourth dehumidification, the fifth dehumidification). dehumidification) to remove moisture from the outdoor high-temperature and humid supply airflow 103, at this time, the required dehumidification capacity is ensured.

在第二除湿模式M2下,将向除湿装置130b的内部导入的热交换后的供气流103分割为两股气流(第一供气流103a、第二供气流103b),因此与第一除湿模式M1相比,由除湿装置130b的风路结构引起的压力损失的上升得到抑制,作为带除湿功能的热交换型换气装置150d,能够实现全年的节能下的运转。In the second dehumidification mode M2, the heat-exchanged supply airflow 103 introduced into the dehumidification device 130b is divided into two airflows (the first supply airflow 103a and the second supply airflow 103b). In contrast, the increase in pressure loss due to the air passage structure of the dehumidifier 130b is suppressed, and the heat exchange type ventilator 150d with a dehumidification function can realize energy-saving operation throughout the year.

根据实施方式2-5的带除湿功能的热交换型换气装置150d,在能够抑制除湿后的空气(供气流103)的温度上升的带除湿功能的热交换型换气装置150d中,能够容易地进行由利用者要求的除湿装置130b的除湿能力的切换。According to the heat-exchange-type ventilator 150d with a dehumidification function of Embodiment 2-5, in the heat-exchange-type ventilator 150d with a dehumidification function that can suppress the temperature rise of the dehumidified air (supply airflow 103 ), it is possible to easily The switching of the dehumidification capability of the dehumidification device 130b requested by the user is performed in a timely manner.

以上,基于实施方式对本发明进行了说明,但容易推测的是,本发明丝毫不被上述实施方式所限定,而能够在不脱离本发明的主旨的范围内进行各种改良变形。例如,在上述实施方式中列举出的数值是一例,当然能够采用其他数值。As mentioned above, although this invention was demonstrated based on embodiment, it is easy to guess that this invention is not limited to the said embodiment at all, and various improvement and deformation|transformation are possible in the range which does not deviate from the summary of this invention. For example, the numerical values listed in the above-mentioned embodiments are examples, and other numerical values can of course be adopted.

在实施方式2-4的带除湿功能的热交换型换气装置150c中,作为第一膨胀器133a,例如也可以采用具有通过开闭来增减制冷循环内的制冷剂循环量的制冷剂开闭部、以及驱动制冷剂开闭部的驱动部的结构。这样一来,通过驱动驱动部而提高制冷剂开闭部的开度,能够减少制冷剂的减压量,使导入的供气流103的温度上升。另一方面,通过降低制冷剂开闭部的开度,能够增加制冷剂的减压量,使导入的供气流103的温度下降。也就是说,通过应用这样的第一膨胀器133a,能够控制制冷剂的减压量,因此能够控制第二散热器132b中的热交换后的温度(上限的温度)。In the heat exchange type ventilator 150c with a dehumidification function according to Embodiment 2-4, as the first expander 133a, for example, a refrigerant switch having a function of opening and closing to increase or decrease the refrigerant circulation amount in the refrigeration cycle may be used. The structure of the closing part and the driving part that drives the refrigerant opening and closing part. In this way, by driving the drive unit to increase the opening degree of the refrigerant opening and closing unit, the decompression amount of the refrigerant can be reduced, and the temperature of the introduced supply air flow 103 can be increased. On the other hand, by reducing the opening degree of the refrigerant opening and closing part, the decompression amount of the refrigerant can be increased, and the temperature of the introduced supply air flow 103 can be lowered. That is, by using such a first expander 133a, the amount of decompression of the refrigerant can be controlled, so the temperature after heat exchange in the second radiator 132b (upper limit temperature) can be controlled.

另外,在实施方式2-4的带除湿功能的热交换型换气装置150c中,如图15所示,也可以采用除了具有包括制冷剂开闭部和驱动部的第一膨胀器133a以外,还具有第一温度传感器146、第二温度传感器147以及第一控制部(未图示)的结构。第一温度传感器146对热交换前的排气流102的温度进行检测。第二温度传感器147对在第二散热器132b流通后的供气流103的温度进行检测。第一控制部对第一膨胀器133a进行控制。第一控制部基于由第一温度传感器146检测出的温度,以使第一膨胀器133a的制冷剂开闭部开闭而使由第二温度传感器147检测出的温度成为规定的温度范围的方式控制驱动部。特别是,在第二温度传感器147中的温度高于第一温度传感器146中的温度的情况下,第一控制部以降低制冷剂开闭部的开度的方式使驱动部运转,从而增加制冷剂的减压量,使供气流103的温度下降。由此,在带除湿功能的热交换型换气装置150c中,能够对成为与第一温度传感器146(从室内吸入的热交换前的排气流102)同等的温度的供气流103进行供给。In addition, in the heat exchange type ventilator 150c with a dehumidification function according to Embodiment 2-4, as shown in FIG. It also has the structure of the 1st temperature sensor 146, the 2nd temperature sensor 147, and the 1st control part (not shown). The first temperature sensor 146 detects the temperature of the exhaust flow 102 before heat exchange. The second temperature sensor 147 detects the temperature of the supply air flow 103 after passing through the second radiator 132b. The first control unit controls the first expander 133a. Based on the temperature detected by the first temperature sensor 146, the first control unit opens and closes the refrigerant opening and closing unit of the first expander 133a so that the temperature detected by the second temperature sensor 147 falls within a predetermined temperature range. Control drive unit. In particular, when the temperature in the second temperature sensor 147 is higher than the temperature in the first temperature sensor 146, the first control part operates the drive part in a manner that reduces the opening degree of the refrigerant opening and closing part, thereby increasing cooling. The depressurization of the agent reduces the temperature of the feed gas stream 103. Accordingly, in the heat exchange type ventilator 150c with a dehumidification function, the supply air flow 103 having the same temperature as the first temperature sensor 146 (exhaust air flow 102 before heat exchange sucked from the room) can be supplied.

并且,也可以变更第一控制部的控制方法,对成为与第一温度传感器146的温度不同的温度的供气流103进行供给。只要在不损害室内的利用者的舒适性的范围内即可,在夏季,向室内供给温度低于第一温度传感器146的温度的供气流103。另外,在冬季,向室内供给温度高于第一温度传感器146的温度的供气流103。由此,能够进行热交换换气,并且向室内供给对利用者而言舒适的温度、湿度的供气流103。In addition, the control method of the first control unit may be changed so that the supply air flow 103 having a temperature different from that of the first temperature sensor 146 may be supplied. As long as it is within a range that does not impair the comfort of indoor users, the air supply air 103 whose temperature is lower than the temperature of the first temperature sensor 146 is supplied indoors in summer. In addition, in winter, the supply air flow 103 whose temperature is higher than the temperature of the first temperature sensor 146 is supplied to the room. Thereby, heat exchange and ventilation can be performed, and the supply air flow 103 of temperature and humidity comfortable for a user can be supplied indoors.

另外,在实施方式2-1~2-5的带除湿功能的热交换型换气装置150、150a~150d中,作为热交换器135,使用了显热型的热交换元件,但作为显热型的热交换元件,优选构成热交换元件的第一流路136与第二流路137的构件具有防水性(疏水性)。作为具有防水性(疏水性)的构件,例如使用聚丙烯、聚苯乙烯等树脂构件。这样一来,在热交换元件的内部产生的结露水容易向热交换元件的外部流出,因此能够在不导致由结露水引起的热交换器135的热交换效率降低的情况下进行除湿。In addition, in the heat exchange type ventilators 150, 150a to 150d with a dehumidification function according to Embodiments 2-1 to 2-5, a sensible heat type heat exchange element is used as the heat exchanger 135, but as the sensible heat For the type heat exchange element, the members constituting the first flow path 136 and the second flow path 137 of the heat exchange element are preferably waterproof (hydrophobic). As a member having water repellency (water repellency), resin members such as polypropylene and polystyrene are used, for example. In this way, the dew condensation water generated inside the heat exchange element easily flows out of the heat exchange element, so dehumidification can be performed without reducing the heat exchange efficiency of the heat exchanger 135 due to the dew condensation water.

(实施方式3)(Embodiment 3)

以往,作为能够不损害制冷或者制暖的效果地进行换气的装置,已知在换气时在供气流与排气流之间进行热交换的热交换型换气装置。Conventionally, a heat exchange type ventilator that performs heat exchange between a supply airflow and an exhaust airflow during ventilation is known as an apparatus that can ventilate without impairing the effect of cooling or heating.

近年来,由于全球变暖的影响以及住宅的气密性提高,特别是在夏季,室内的排热以及排湿不足,室内变得高温多湿,因此存在对居住者而言室内的舒适性受损的担忧。对于在夏季提高室内的舒适性,室内的湿度降低尤其重要,因此谋求在调整室内的湿度的同时进行热交换换气的带除湿功能的热交换型换气装置。因此,作为带除湿功能的热交换型换气装置,我们进行了应用有将制冷循环和热交换器组合而成的除湿装置的热交换型换气装置的开发。作为将制冷循环和热交换器组合而成的除湿装置,例如,已知专利文献1所记载的除湿装置。In recent years, due to the influence of global warming and the improvement of the airtightness of houses, especially in summer, the indoor heat and humidity are not exhausted, and the indoor becomes hot and humid, so there is a possibility that the indoor comfort of the occupants is impaired. concerns. In order to improve indoor comfort in summer, it is particularly important to reduce indoor humidity, so heat exchange ventilation devices with a dehumidification function that perform heat exchange and ventilation while adjusting indoor humidity have been sought. Therefore, as a heat-exchange-type ventilator with a dehumidification function, we have developed a heat-exchange-type ventilator using a dehumidifier that combines a refrigeration cycle and a heat exchanger. As a dehumidifier combining a refrigeration cycle and a heat exchanger, for example, a dehumidifier described in Patent Document 1 is known.

如图9所示,现有的除湿装置1100构成为在使从空气吸入口1101吸入到主体外壳1102内的空气(空气X、空气Y)通过除湿部1103后,将该空气从空气吹出口1104向主体外壳1102外吹出。除湿部1103具备制冷循环和热交换器1111。制冷循环将压缩机1105、散热器1106、膨胀器1107、吸热器1108依次连结。热交换器1111配置在吸热器1108与散热器1106之间,并在流动在第一流路1109的空气X与流动在第二流路1110的空气Y之间进行热交换。As shown in FIG. 9 , a conventional dehumidifier 1100 is configured such that after air (air X, air Y) sucked into a main body casing 1102 from an air inlet 1101 passes through a dehumidifier 1103, the air is blown out from an air outlet 1104. Blow out to the outside of the main body casing 1102 . The dehumidifier 1103 includes a refrigeration cycle and a heat exchanger 1111 . In the refrigeration cycle, a compressor 1105, a radiator 1106, an expander 1107, and a heat absorber 1108 are sequentially connected. The heat exchanger 1111 is disposed between the heat absorber 1108 and the radiator 1106 , and performs heat exchange between the air X flowing in the first flow path 1109 and the air Y flowing in the second flow path 1110 .

并且,在第一流路1109流动的空气X在吸热器1108冷却而产生结露。由冷却后的空气X产生的结露水被回收。另一方面,在第二流路1110流动的空气Y与被吸热器1108冷却了的空气X进行热交换而被冷却,从而产生结露。由冷却后的空气Y产生的结露水也被回收。像这样,通过除湿装置1100来进行空气的除湿。Then, the air X flowing through the first flow path 1109 is cooled by the heat absorber 1108 to generate dew condensation. The condensation water generated by the cooled air X is recovered. On the other hand, the air Y flowing through the second flow path 1110 exchanges heat with the air X cooled by the heat absorber 1108 to be cooled, and dew condensation occurs. Dew condensation water generated from the cooled air Y is also recovered. In this way, dehumidification of air is performed by the dehumidifier 1100 .

但是,现有的除湿装置1100构成为为了对制冷循环的散热器1106进行冷却而使除湿后的空气通过散热器1106。在散热器1106中,除了被吸热器1108吸收的能量以外,用于通过压缩机1105使制冷循环内的制冷剂循环的能量也被排出。因此,通过了散热器1106的除湿后的空气的温度上升为除湿前的空气的温度以上。其结果是,在将现有的除湿装置1100的除湿机构配置于热交换型换气装置的供气风路并进行了除湿的情况下,产生除湿后的空气(温度上升了的空气)直接作为供气流向室内吹出而损害室内的舒适性的课题。However, the conventional dehumidifier 1100 is configured to pass dehumidified air through the radiator 1106 in order to cool the radiator 1106 of the refrigeration cycle. In the radiator 1106, in addition to the energy absorbed by the heat absorber 1108, the energy for circulating the refrigerant in the refrigeration cycle by the compressor 1105 is also discharged. Therefore, the temperature of the dehumidified air that has passed through the radiator 1106 rises to be equal to or higher than the temperature of the air before dehumidification. As a result, when the dehumidification mechanism of the conventional dehumidification device 1100 is arranged in the air supply air path of the heat exchange type ventilator to perform dehumidification, the dehumidified air (air whose temperature has been raised) is generated as it is. The problem that the supply air is blown into the room and impairs the comfort of the room.

本发明是为了解决上述课题而完成的,其提供能够对伴随除湿而产生的温度上升得到抑制的供气流进行输送的带除湿功能的热交换型换气装置。The present invention was made in order to solve the above-mentioned problems, and provides a heat exchange type ventilator with a dehumidification function capable of sending a supply air flow whose temperature rise accompanying dehumidification is suppressed.

为了达成该目的,本发明的带除湿功能的热交换型换气装置具备:热交换型换气装置,其在排气流与供气流之间进行热交换,该排气流在用于将室内的空气向室外排出的排气风路流通,该供气流在用于将室外的空气向室内供给的供气风路流通;以及除湿装置,其对供气流进行除湿。除湿装置包括:制冷循环,其构成为包括压缩机、散热器、膨胀器以及吸热器;以及热交换器,其配置在吸热器与散热器之间,并在流动在第一流路的空气与流动在第二流路的空气之间进行热交换。除湿装置构成为从供气风路导入热交换后的供气流,并且从排气风路导入排气流。导入到除湿装置的供气流的一部分在依次流通过吸热器、第一流路后,以不在散热器流通的方式向供气风路导出。导入到除湿装置的供气流的另一部分在流通过第二流路后,以不在散热器流通的方式向供气风路导出。导入到除湿装置的排气流在流通过散热器后,向排气风路导出。In order to achieve this object, the heat exchange type ventilator with dehumidification function of the present invention includes: a heat exchange type ventilator that performs heat exchange between the exhaust air flow and the supply air flow, and the exhaust air flow is used for indoor The air exhausted to the outside flows through the exhaust air path, and the supply air flows through the supply air path for supplying outdoor air to the room; and the dehumidifier dehumidifies the supply air. The dehumidification device includes: a refrigeration cycle, which is composed of a compressor, a radiator, an expander, and a heat absorber; and a heat exchanger, which is arranged between the heat absorber and the heat Heat exchange with the air flowing in the second channel. The dehumidifier is configured so that the heat-exchanged supply air is introduced from the air supply air passage, and the exhaust air is introduced from the exhaust air passage. A part of the supply air flow introduced into the dehumidifier passes through the heat absorber and the first flow path sequentially, and then is led out to the supply air flow path so as not to flow through the radiator. The other part of the supply air flow introduced into the dehumidifier flows through the second flow path, and then is led out to the supply air flow path so as not to flow through the radiator. The exhaust flow introduced into the dehumidifier passes through the radiator, and then is led out to the exhaust air path.

根据本发明,能够提供可以对伴随除湿而产生的温度上升得到抑制的供气流进行输送的带除湿功能的热交换型换气装置。According to the present invention, it is possible to provide a heat exchange type ventilator with a dehumidification function capable of sending a supply air flow in which a temperature rise accompanying dehumidification is suppressed.

本发明的带除湿功能的热交换型换气装置具备:热交换型换气装置,其在排气流与供气流之间进行热交换,该排气流在用于将室内的空气向室外排出的排气风路流通,该供气流在用于将室外的空气向室内供给的供气风路流通;以及除湿装置,其对供气流进行除湿。除湿装置包括:制冷循环,其构成为包括压缩机、散热器、膨胀器以及吸热器;以及热交换器,其配置在吸热器与散热器之间,并在流动在第一流路的空气与流动在第二流路的空气之间进行热交换。除湿装置构成为从供气风路导入热交换后的供气流,并且从排气风路导入排气流。导入到除湿装置的供气流的一部分在依次流通过吸热器、第一流路后,以不在散热器流通的方式向供气风路导出。导入到除湿装置的供气流的另一部分在流通过第二流路后,以不在散热器流通的方式向供气风路导出。导入到除湿装置的排气流在流通过散热器后,向排气风路导出。The heat exchange type ventilator with dehumidification function of the present invention includes: a heat exchange type ventilator that performs heat exchange between an exhaust flow and a supply air flow for discharging indoor air to the outside. The exhaust air path circulates, and the supply air flow circulates in the air supply air path for supplying outdoor air to the room; and the dehumidification device dehumidifies the supply air flow. The dehumidification device includes: a refrigeration cycle, which is composed of a compressor, a radiator, an expander, and a heat absorber; and a heat exchanger, which is arranged between the heat absorber and the heat Heat exchange with the air flowing in the second channel. The dehumidifier is configured so that the heat-exchanged supply air is introduced from the air supply air passage, and the exhaust air is introduced from the exhaust air passage. A part of the supply air flow introduced into the dehumidifier passes through the heat absorber and the first flow path sequentially, and then is led out to the supply air flow path so as not to flow through the radiator. The other part of the supply air flow introduced into the dehumidifier flows through the second flow path, and then is led out to the supply air flow path so as not to flow through the radiator. The exhaust flow introduced into the dehumidifier passes through the radiator, and then is led out to the exhaust air path.

根据这样的结构,能够通过来自热交换型换气装置的排气流(在需要除湿的夏季,是温度比供气流低的排气流)得到除湿装置中的散热器的冷却(排热)所需的能量,因此能够使除湿后的空气(供气流)以不向散热器流通的方式向室内吹出。也就是说,即使在应用了将制冷循环和热交换器组合而成的除湿装置的情况下,也能够成为可以对伴随除湿而产生的温度上升得到抑制的供气流进行输送的带除湿功能的热交换型换气装置。According to such a structure, the cooling (exhaust heat) of the radiator in the dehumidification device can be obtained by the exhaust flow from the heat exchange type ventilator (in summer when dehumidification is required, the exhaust flow is lower in temperature than the supply air flow). Therefore, the dehumidified air (supply air flow) can be blown into the room without flowing to the radiator. In other words, even when a dehumidifier combining a refrigeration cycle and a heat exchanger is applied, it can become a dehumidifier with a dehumidification function that can transport a supply air flow that suppresses a temperature rise accompanying dehumidification. Exchange type ventilator.

另外,也可以构成为,除湿装置还具备对散热器吹送水的水吹送部,导入到除湿装置的排气流在流通过被水吹送部吹送有水的状态下的散热器后,向排气风路导出。Alternatively, the dehumidifier may further include a water blowing unit that blows water to the radiator, and the exhaust air flow introduced into the dehumidifier may pass through the radiator in a state where water is blown by the water blowing unit, and then flow to the exhaust air. Wind path export.

通过采用这样的结构,能够通过来自热交换型换气装置的排气流的空气热以及所吹送的水的气化热得到除湿装置中的散热器的冷却(排热)所需的能量,因此能够有效地冷却散热器,并能够使除湿后的空气(供气流)以不向散热器流通的方式向室内吹出。By adopting such a structure, the energy required for cooling (exhausting heat) of the radiator in the dehumidifier can be obtained from the air heat of the exhaust flow from the heat exchange type ventilator and the heat of vaporization of the blown water, so The radiator can be effectively cooled, and the dehumidified air (supply air flow) can be blown into the room without passing through the radiator.

另外,也可以构成为,还具备:液体微细化装置,其构成为从供气风路导入热交换后的供气流,并对导入的供气流进行加湿;以及水路切换部,其能够切换为从外部对液体微细化装置导入水的第一状态以及从外部对除湿装置导入水的第二状态,水路切换部在加湿时切换为第一状态,并且在除湿时切换为第二状态。In addition, it may also be configured to further include: a liquid miniaturization device configured to introduce the heat-exchanged supply air from the air supply air path, and humidify the introduced supply air; and a water channel switching unit that can be switched from The first state of introducing water from the outside to the liquid miniaturization device and the second state of introducing water from the outside to the dehumidification device, the water channel switching unit switches to the first state during humidification, and switches to the second state during dehumidification.

通过采用这样的结构,能够通过水路切换部容易地将为了加湿而向液体微细化装置导入的来自外部的水切换为向除湿装置导入。也就是说,在对带加湿功能的热交换型换气装置应用除湿装置的情况下,能够使来自外部的水的供给与液体微细化装置共用化,因此能够以低成本实现除湿装置中的由水吹送部进行的水向散热器的吹送处理。By employing such a configuration, it is possible to easily switch the water from the outside introduced into the liquid miniaturization device for humidification into the dehumidifier by the water channel switching unit. In other words, when a dehumidifier is applied to a heat exchange type ventilator with a humidification function, the supply of water from the outside can be shared with the liquid miniaturization device, so that the dehumidifier can be realized at a low cost. The water blowing process performed by the water blowing unit to the radiator.

另外,也可以构成为还具备送风装置,该送风装置将室外的空气取入,并在使该空气在散热器流通后,将该空气向热交换后的排气风路导出。In addition, it may be configured to further include an air blower that takes in outdoor air, circulates the air through the radiator, and then leads the air to the heat-exchanged exhaust air path.

通过采用这样的结构,能够通过来自热交换型换气装置的排气流的空气热以及来自送风装置的送风气流的空气热得到除湿装置中的散热器的冷却(排热)所需的能量,因此能够有效地冷却散热器,并能够使除湿后的空气(供气流)以不向散热器流通的方式向室内吹出。By adopting such a structure, it is possible to obtain the heat required for the cooling (exhaust heat) of the radiator in the dehumidifier by the air heat of the exhaust flow from the heat exchange type ventilator and the air heat of the air flow from the air supply device. Energy, so the radiator can be effectively cooled, and the dehumidified air (supply air flow) can be blown into the room without circulating to the radiator.

另外,也可以构成为,在除湿时,从除湿装置向室内供给的供气流的温度通过控制供气流的一部分的风量与供气流的另一部分的风量的比率来调节。In addition, during dehumidification, the temperature of the supply air supplied from the dehumidifier to the room may be adjusted by controlling the ratio of the air volume of a part of the supply air to the air volume of another part of the supply air.

根据这样的结构,能够通过被吸热器冷却了的气流(在第一流路流通后的供气流的一部分)使在第二流路流通后的供气流的另一部分的温度进一步降低,因此能够容易地将向室内供给的供气流的温度调整为所希望的温度。According to such a structure, the temperature of the other part of the supply air flow after flowing through the second flow path can be further lowered by the air flow cooled by the heat absorber (a part of the supply air flow after flowing through the first flow path), so it is possible to easily The temperature of the supply air supplied to the room is adjusted to the desired temperature.

以下,参照附图对用于实施本发明的方式进行说明。需要说明的是,以下的实施方式是将本发明具体化的一例,并不对本发明的技术范围进行限定。另外,在所有附图中,对相同的部位标注相同的附图标记并省略说明。并且,对于并不直接与本发明相关的各部分的详细情况,为了避免重复而省略每个附图的说明。Hereinafter, modes for implementing the present invention will be described with reference to the drawings. In addition, the following embodiment is an example which actualized this invention, and does not limit the technical scope of this invention. In addition, in all drawings, the same code|symbol is attached|subjected to the same part, and description is abbreviate|omitted. In addition, the description of each drawing will be omitted in order to avoid repetition of the details of each part that is not directly related to the present invention.

以下,参照附图对本发明的实施方式进行说明。Hereinafter, embodiments of the present invention will be described with reference to the drawings.

(前提例)(premise example)

首先,参照图18、图19对成为本发明的实施方式的前提例的热交换型换气装置进行说明。图18是示出本发明的前提例的热交换型换气装置在住宅中的设置状态的示意图。图19是示出本发明的前提例的热交换型换气装置的结构的示意图。First, a heat exchange type ventilator serving as a premise example of an embodiment of the present invention will be described with reference to FIGS. 18 and 19 . Fig. 18 is a schematic diagram showing an installation state of a heat exchange type ventilator in a house according to a precondition example of the present invention. Fig. 19 is a schematic diagram showing the configuration of a heat exchange type ventilator according to a precondition example of the present invention.

在图18中,在家201的室内设置有热交换型换气装置210。热交换型换气装置210是一边对室内的空气与室外的空气进行热交换一边进行换气的装置。In FIG. 18 , a heat exchange type ventilator 210 is installed in a room of a house 201 . The heat exchange type ventilator 210 is a device that ventilates while exchanging heat between indoor air and outdoor air.

如图18所示,排气流202如黑色箭头所示那样经由热交换型换气装置210而被排放至室外。排气流202是从室内向室外排出的空气流。另外,供气流203如白色箭头所示那样经由热交换型换气装置210而被取入到室内。供气流203是从室外取入到室内的空气流。例如举出日本的冬季为例,排气流202为20℃~25℃,与此相对供气流203有时会到达冰点以下。热交换型换气装置210进行换气,并且在该换气时,将排气流202的热量向供气流203传递,从而抑制不必要的热量的排放。As shown in FIG. 18 , the exhaust flow 202 is discharged to the outdoors via the heat exchange type ventilator 210 as indicated by the black arrow. Exhaust flow 202 is the flow of air discharged from the room to the outside. In addition, the supply air flow 203 is taken into the room via the heat exchange type ventilator 210 as indicated by a white arrow. The supply air flow 203 is an air flow taken into the room from the outside. For example, taking winter in Japan as an example, the exhaust air flow 202 is 20° C. to 25° C., whereas the supply air flow 203 may be below freezing point. The heat exchange type ventilator 210 performs ventilation, and during the ventilation, transfers the heat of the exhaust flow 202 to the supply flow 203 , thereby suppressing unnecessary heat emission.

如图19所示,热交换型换气装置210具备主体外壳211、热交换元件212、排气风扇213、内气口214、排气口215、供气风扇216、外气口217、供气口218、排气风路204、供气风路205。主体外壳211是热交换型换气装置210的外框。在主体外壳211的外周形成有内气口214、排气口215、外气口217、供气口218。内气口214是将排气流202吸入热交换型换气装置210的吸入口。排气口215是将排气流202从热交换型换气装置210向室外排出的排出口。外气口217是将供气流203吸入热交换型换气装置210的吸入口。供气口218是将供气流203从热交换型换气装置210向室内排出的排出口。As shown in FIG. 19 , the heat exchange type ventilator 210 has a main body casing 211, a heat exchange element 212, an exhaust fan 213, an inner air port 214, an exhaust port 215, an air supply fan 216, an outer air port 217, and an air supply port 218. , exhaust air path 204, air supply air path 205. The main body case 211 is the outer frame of the heat exchange type ventilator 210 . An inner air port 214 , an exhaust port 215 , an outer air port 217 , and an air supply port 218 are formed on the outer periphery of the main body casing 211 . The inner air port 214 is a suction port for sucking the exhaust flow 202 into the heat exchange type ventilator 210 . The exhaust port 215 is a discharge port for discharging the exhaust flow 202 from the heat exchange type ventilator 210 to the outside. The external air port 217 is a suction port for sucking the supply air 203 into the heat exchange type ventilator 210 . The air supply port 218 is a discharge port for discharging the supply air flow 203 from the heat exchange type ventilator 210 into the room.

在主体外壳211的内部安装有热交换元件212、排气扇213、供气扇216。另外,在主体外壳211的内部构成有排气风路204、供气风路205。热交换元件212是用于在流通在排气风路204的排气流202与流通在供气风路205的供气流203之间进行热交换(显热和潜热)的构件。排气风扇213是用于将排气流202从内气口214吸入并从排气口215排出的鼓风机。供气风扇216是用于将供气流203从外气口217吸入并从供气口218排出的鼓风机。排气风路204是连通内气口214与排气口215的风路。供气风路205是连通外气口217与供气口218的风路。由排气风扇213吸入的排气流202经由排气风路204内的热交换元件212、排气风扇213从排气口215被排出至室外。另外,由供气风扇216吸入的供气流203经由供气风路205内的热交换元件212、供气风扇216从供气口218被供给到室内。A heat exchange element 212 , an exhaust fan 213 , and an air supply fan 216 are installed inside the main body casing 211 . In addition, an exhaust air passage 204 and an air supply air passage 205 are formed inside the main body casing 211 . The heat exchange element 212 is a member for exchanging heat (sensible heat and latent heat) between the exhaust flow 202 flowing through the exhaust air passage 204 and the supply air flow 203 flowing through the supply air passage 205 . The exhaust fan 213 is a blower for sucking the exhaust flow 202 from the inner air port 214 and discharging it from the exhaust port 215 . The supply air fan 216 is a blower for sucking the supply air 203 from the external air port 217 and discharging it from the air supply port 218 . The exhaust air passage 204 is an air passage connecting the inner air port 214 and the exhaust port 215 . The air supply air path 205 is an air path connecting the external air port 217 and the air supply port 218 . The exhaust flow 202 drawn in by the exhaust fan 213 is exhausted to the outside through the exhaust port 215 via the heat exchange element 212 in the exhaust air passage 204 and the exhaust fan 213 . In addition, the air supply airflow 203 sucked by the air supply fan 216 is supplied into the room from the air supply port 218 via the heat exchange element 212 in the air supply air path 205 and the air supply fan 216 .

热交换型换气装置210在进行热交换换气的情况下,使热交换元件212的排气风扇213以及供气风扇216进行动作,从而在热交换元件212中,在流通在排气风路204的排气流202与流通在供气风路205的供气流203之间进行热交换。由此,热交换型换气装置210在进行换气时,将向室外排放的排气流202的热量向取入到室内的供气流203传递,从而抑制不必要的热量的排放,并向室内回收热量。其结果是,在冬季,在进行换气时,能够抑制室内的空气的温度由于室外的温度较低的空气而降低的情况。另一方面,在夏季,在进行换气时,能够抑制室内的空气的温度由于室外的温度较高的空气而上升的情况。When the heat exchange type ventilator 210 performs heat exchange and ventilation, the exhaust fan 213 and the air supply fan 216 of the heat exchange element 212 are operated, so that in the heat exchange element 212, the Heat exchange is performed between the exhaust air flow 202 at 204 and the supply air flow 203 flowing through the supply air path 205 . Thus, when the heat exchange type ventilator 210 is ventilating, the heat of the exhaust air flow 202 discharged to the outside is transferred to the air supply air flow 203 taken into the room, thereby suppressing the discharge of unnecessary heat and releasing heat to the room. heat recovery. As a result, during ventilation in winter, it is possible to suppress a decrease in the temperature of the indoor air due to the low-temperature outdoor air. On the other hand, in summer, when ventilation is performed, it is possible to suppress the temperature of the indoor air from rising due to the outdoor air having a high temperature.

实施方式3至少包含以下的实施方式3-1、实施方式3-2、实施方式3-3、实施方式3-4、实施方式3-5。Embodiment 3 includes at least the following Embodiment 3-1, Embodiment 3-2, Embodiment 3-3, Embodiment 3-4, and Embodiment 3-5.

(实施方式3-1)(Embodiment 3-1)

接下来,参照图20对实施方式3-1的带除湿功能的热交换型换气装置进行说明。图20是示出本发明的实施方式3-1的带除湿功能的热交换型换气装置的结构的示意图。需要说明的是,在图20以后的各示意图中,将排气风路204以及供气风路205兼作为热交换型换气装置210内的排气流202以及供气流203的流动(黑箭头)进行标记。Next, a heat exchange type ventilator with a dehumidification function according to Embodiment 3-1 will be described with reference to FIG. 20 . Fig. 20 is a schematic diagram showing the configuration of a heat exchange type ventilator with a dehumidification function according to Embodiment 3-1 of the present invention. It should be noted that in each schematic diagram after FIG. 20, the exhaust air passage 204 and the air supply air passage 205 are also used as the flow of the exhaust air flow 202 and the air supply air flow 203 in the heat exchange type ventilator 210 (black arrows). ) to mark.

如图20所示,实施方式3-1的带除湿功能的热交换型换气装置250具有相对于前提例的热交换型换气装置210连结作为赋予除湿功能的机构的除湿装置230而成的结构。As shown in FIG. 20 , the heat exchange type ventilator 250 with a dehumidification function according to Embodiment 3-1 has a dehumidifier 230 as a mechanism for imparting a dehumidification function to the heat exchange type ventilator 210 of the preceding example. structure.

除湿装置230是用于进行热交换型换气装置210中的热交换后的供气流203的除湿的单元。除湿装置230具备:制冷循环,其构成为包括压缩机231、散热器232、膨胀器233及吸热器234;以及热交换器235。并且,本实施方式的制冷循环构成为将压缩机231、散热器232、膨胀器233以及吸热器234依次连结为环状。在制冷循环中,例如,利用替代氟利昂(HFC134a)作为制冷剂。另外,构成制冷循环的各设备的连结多使用铜管,且以焊接方式连结。The dehumidifier 230 is a means for dehumidifying the heat-exchanged supply airflow 203 in the heat exchange type ventilator 210 . The dehumidifier 230 includes: a refrigeration cycle including a compressor 231 , a radiator 232 , an expander 233 , and a heat absorber 234 ; and a heat exchanger 235 . Moreover, the refrigeration cycle of this embodiment is comprised so that the compressor 231, the radiator 232, the expander 233, and the heat absorber 234 are sequentially connected in ring shape. In the refrigeration cycle, for example, alternative Freon (HFC134a) is used as a refrigerant. In addition, copper pipes are often used for connecting the various devices that constitute the refrigeration cycle, and they are connected by welding.

压缩机231是对制冷循环中的低温、低压的制冷剂气体(工作介质气体)进行压缩而提高压力使其高温化的设备。在本实施方式中,压缩机231将制冷剂气体的温度高温化至45℃左右。The compressor 231 is a device that compresses low-temperature and low-pressure refrigerant gas (working medium gas) in the refrigeration cycle to increase the pressure and increase the temperature. In the present embodiment, the compressor 231 raises the temperature of the refrigerant gas to about 45°C.

散热器232是在通过压缩机231而成为高温、高压的制冷剂气体与空气(排气流202)之间进行热交换从而向外部(制冷循环外)排放热量的设备。此时,制冷剂气体在高压下被冷凝而液化。在散热器232中,导入的制冷剂气体的温度(45℃左右)高于空气的温度,因此若进行热交换,则空气升温,制冷剂气体被冷却。需要说明的是,散热器232也称为冷凝器。The radiator 232 is a device for exchanging heat between the refrigerant gas that has become high-temperature and high-pressure by the compressor 231 and air (exhaust gas flow 202 ) to discharge heat to the outside (outside the refrigeration cycle). At this time, the refrigerant gas is condensed and liquefied under high pressure. In the radiator 232, since the temperature (about 45 degreeC) of the refrigerant gas introduced is higher than the temperature of air, when heat exchange is performed, the temperature of the air rises and the refrigerant gas is cooled. It should be noted that the radiator 232 is also called a condenser.

膨胀器233是对通过散热器232而液化了的高压的制冷剂进行减压从而使其成为原本的低温、低压的液体的设备。需要说明的是,膨胀器233也称为膨胀阀。The expander 233 is a device that decompresses the high-pressure refrigerant liquefied by the radiator 232 to convert it into an original low-temperature and low-pressure liquid. It should be noted that the expander 233 is also called an expansion valve.

吸热器234是使在膨胀器233流通后的制冷剂从空气吸收热量而蒸发并使液状的制冷剂成为低温、低压的制冷剂气体的设备。在吸热器234中,导入的制冷剂的温度低于空气的温度,因此若进行热交换,则空气被冷却,制冷剂升温。需要说明的是,吸热器234也称为蒸发器。The heat absorber 234 is a device that absorbs heat from the air to evaporate the refrigerant that has passed through the expander 233 , and turns the liquid refrigerant into a low-temperature and low-pressure refrigerant gas. In the heat absorber 234, since the temperature of the refrigerant|coolant introduced is lower than the temperature of air, when heat exchange is performed, the air is cooled and the temperature of the refrigerant rises. It should be noted that the heat absorber 234 is also called an evaporator.

热交换器235是具备显热型的热交换元件的热交换器。热交换器235与现有的除湿装置1100中的热交换器1111(参照图9)同样地配置在吸热器234与散热器232之间的空间。在热交换器235的内部设置有供空气向规定的方向流动的第一流路236、以及供空气向与第一流路236大致正交的方向流动的第二流路237。第一流路236是使从吸热器234导入的空气以不在散热器232流通的方式向供气风路205导出的流路。第二流路237是使从热交换型换气装置210导入的空气以不在散热器232流通的方式向供气风路205导出的流路。并且,热交换器235在流动在第一流路236的空气与流动在第二流路237的空气之间仅对显热进行交换。The heat exchanger 235 is a heat exchanger including sensible heat type heat exchange elements. Heat exchanger 235 is arranged in the space between heat absorber 234 and radiator 232 similarly to heat exchanger 1111 (see FIG. 9 ) in conventional dehumidifier 1100 . Inside the heat exchanger 235 are provided a first flow path 236 through which air flows in a predetermined direction, and a second flow path 237 through which air flows in a direction substantially perpendicular to the first flow path 236 . The first flow path 236 is a flow path that leads the air introduced from the heat absorber 234 to the air supply air path 205 without circulating through the radiator 232 . The second flow path 237 is a flow path that leads the air introduced from the heat exchange type ventilator 210 to the air supply air path 205 without circulating through the radiator 232 . Furthermore, the heat exchanger 235 exchanges only sensible heat between the air flowing through the first flow path 236 and the air flowing through the second flow path 237 .

接下来,参照图20对热交换型换气装置210与除湿装置230之间的气流(排气流202、供气流203)的流动进行说明。需要说明的是,在以下的说明中,热交换后的气流(排气流202、供气流203)或风路(排气风路204、供气风路205)表示通过热交换型换气装置210中的热交换元件212后的气流或风路,热交换前的气流或风路表示通过热交换元件212前的气流或风路。Next, the flow of the airflow (exhaust airflow 202, supply airflow 203) between the heat exchange type ventilator 210 and the dehumidifier 230 will be described with reference to FIG. 20 . It should be noted that, in the following description, the airflow (exhaust airflow 202, supply airflow 203) or air passage (exhaust air passage 204, air supply air passage 205) after heat exchange means that the air flow through the heat exchange type ventilator The airflow or air path behind the heat exchange element 212 in 210 and the airflow or air path before heat exchange represent the airflow or air path before passing through the heat exchange element 212 .

如图20所示,在热交换型换气装置210中,在热交换后的排气风路204设置有切换风门240,在热交换后的供气风路205设置有切换风门241。切换风门240是用于对使在排气风路204流通的排气流202向室外流动的状态、以及使在排气风路204流通的排气流202向除湿装置230流动的状态进行切换的风门。另外,切换风门241是用于对使在供气风路205流通的供气流203向室内流动的状态、以及使在供气风路205流通的供气流203向除湿装置230流动的状态进行切换的风门。As shown in FIG. 20 , in the heat exchange type ventilator 210 , a switching damper 240 is provided in the exhaust air passage 204 after heat exchange, and a switching damper 241 is provided in the air supply air passage 205 after heat exchange. The switching damper 240 is for switching between the state where the exhaust air flow 202 flowing through the exhaust air passage 204 flows to the outside and the state where the exhaust air flow 202 flowing through the exhaust air passage 204 flows to the dehumidifier 230 . throttle. In addition, the switch damper 241 is for switching between the state where the supply air flow 203 flowing through the air supply air passage 205 flows into the room and the state where the supply air flow 203 flowing through the air supply air passage 205 flows toward the dehumidifier 230 . throttle.

在带除湿功能的热交换型换气装置250中,利用各切换风门成为气流向除湿装置230流动的状态,从而对热交换后的供气流203执行除湿。关于除湿的详细情况将后述。需要说明的是,在无需除湿的冬季等情况下,利用各切换风门成为气流不向除湿装置230流动的状态,从而由除湿装置230引起的压力损失的上升得到抑制,作为带除湿功能的热交换型换气装置250,能够实现全年的节能下的运转。In the heat exchange type ventilator 250 with a dehumidification function, each switching damper is used to make the airflow flow to the dehumidifier 230 , thereby dehumidifying the heat-exchanged supply airflow 203 . Details about dehumidification will be described later. It should be noted that, in winter when dehumidification is not required, the airflow does not flow to the dehumidifier 230 by using each switching damper, so that the increase in pressure loss caused by the dehumidifier 230 is suppressed, as a heat exchange with dehumidification function. The type ventilator 250 can realize the operation under energy-saving throughout the year.

另外,如图20所示,在除湿装置230设置有分支风门242,该分支风门242将向内部导入的热交换后的供气流203分割为两股气流(第一供气流203a、第二供气流203b)。第一供气流203a是向吸热器234导入并在第一流路236流通的气流,第二供气流203b是向热交换器235导入并在第二流路237流通的气流。分支风门242构成为使第一供气流203a的风量与第二供气流203b的风量的比率可变。也就是说,分支风门242能够通过调整风门的角度(热交换后的供气流203的分支比例)而容易地增减第一供气流203a相对于第二供气流203b的比例。在此,第一供气流203a相当于技术方案的“导入到除湿装置的供气流的一部分”,第二供气流203b相当于技术方案的“导入到除湿装置的供气流的另一部分”。In addition, as shown in FIG. 20 , the dehumidifier 230 is provided with a branch damper 242 that divides the heat-exchanged air supply flow 203 introduced into the interior into two airflows (the first supply airflow 203a, the second supply airflow 203b). The first supply airflow 203 a is an airflow introduced to the heat absorber 234 and circulated in the first flowpath 236 , and the second supply airflow 203 b is an airflow introduced into the heat exchanger 235 and circulated in the second flowpath 237 . The branch damper 242 is configured to vary the ratio of the air volume of the first supply air flow 203a to the air volume of the second supply air flow 203b. That is, the branch damper 242 can easily increase or decrease the ratio of the first supply airflow 203 a to the second supply airflow 203 b by adjusting the angle of the damper (the branching ratio of the heat-exchanged supply airflow 203 ). Here, the first supply airflow 203a corresponds to "a part of the supply airflow introduced into the dehumidifier" of the claim, and the second supply airflow 203b corresponds to "the other part of the supply airflow introduced into the dehumidifier" of the claim.

在除湿装置230中,分割后的供气流203中的第一供气流203a在依次流通过吸热器234、热交换器235的第一流路236后,以不在散热器232流通的方式向热交换型换气装置210中的热交换后的供气风路205导出。另一方面,第二供气流203b在流通过热交换器235的第二流路237后,以不在散热器232流通的方式向热交换后的供气风路205导出。在本实施方式中,除湿装置230构成为使在热交换器235流通后的第一供气流203a与在热交换器235流通后的第二供气流203b在合流后,向热交换后的供气风路205导出。由此,进行作为向室内输送的供气流203的温度调整。关于向室内输送的供气流203的温度调整方法将后述。In the dehumidifier 230, the first supply airflow 203a of the divided supply airflow 203 flows through the heat absorber 234 and the first flow path 236 of the heat exchanger 235 in sequence, and then exchanges heat with the radiator 232 without passing through the heat sink 232. The air supply air path 205 after the heat exchange in the type ventilator 210 is led out. On the other hand, the second supply air flow 203 b flows through the second flow passage 237 of the heat exchanger 235 , and then is led out to the heat-exchanged supply air passage 205 without flowing through the radiator 232 . In the present embodiment, the dehumidifier 230 is configured such that the first supply airflow 203a after passing through the heat exchanger 235 and the second supply airflow 203b after passing through the heat exchanger 235 are merged, and then the heat-exchanged supply air The wind road 205 leads out. Thereby, temperature adjustment is performed as the supply air flow 203 sent into the room. A method for adjusting the temperature of the supply air flow 203 sent into the room will be described later.

另一方面,导入到除湿装置230的排气流202在流通过散热器232后,向热交换型换气装置210中的热交换后的排气风路204导出。也就是说,在本实施方式中,除湿装置230构成为通过从热交换型换气装置210导入的排气流202来冷却散热器232。On the other hand, the exhaust flow 202 introduced into the dehumidifier 230 passes through the radiator 232 and then is led out to the exhaust air passage 204 after heat exchange in the heat exchange type ventilator 210 . That is, in the present embodiment, the dehumidifier 230 is configured to cool the radiator 232 by the exhaust flow 202 introduced from the heat exchange type ventilator 210 .

接下来,对实施方式3-1的带除湿功能的热交换型换气装置250的除湿的动作进行说明。Next, the dehumidification operation of the heat exchange type ventilator 250 with a dehumidification function according to Embodiment 3-1 will be described.

首先,通过运转带除湿功能的热交换型换气装置250,从而排气风扇213和供气风扇216进行驱动,并在热交换型换气装置210的内部产生在排气风路204流通的排气流202以及在供气风路205流通的供气流203。First, by operating the heat exchange type ventilator 250 with a dehumidification function, the exhaust fan 213 and the air supply fan 216 are driven, and the exhaust air flowing through the exhaust air passage 204 is generated inside the heat exchange type ventilator 210 . The air flow 202 and the air supply air flow 203 circulating in the air supply air path 205 .

例如,在夏季,排气流202是被空调等调节为舒适的温度湿度的室内的空气,供气流203是高温多湿的室外的空气。For example, in summer, the exhaust air flow 202 is indoor air adjusted to a comfortable temperature and humidity by an air conditioner, and the supply air flow 203 is outdoor air with high temperature and humidity.

排气流202与供气流203在热交换型换气装置210的内部交换显热与潜热。此时,水分从高温多湿的供气流203向排气流202移动,因此供气流203的水分被去除。也就是说,通过在热交换型换气装置210的内部的全热交换,从而进行针对供气流203的除湿(第一除湿)。The exhaust flow 202 and the supply flow 203 exchange sensible heat and latent heat inside the heat exchange type ventilator 210 . At this time, moisture moves from the high-temperature and high-humidity supply airflow 203 to the exhaust airflow 202, so the moisture in the supply airflow 203 is removed. That is, dehumidification (first dehumidification) for the supply airflow 203 is performed by total heat exchange inside the heat exchange type ventilator 210 .

接下来,热交换后的供气流203向除湿装置230导入并被除湿。具体而言,导入到除湿装置230的供气流203中的第一供气流203a被吸热器234冷却。由此,第一供气流203a的温度成为露点温度以下,第一供气流203a结露,因此第一供气流203a的水分被去除。也就是说,通过在吸热器234流通,从而进行针对第一供气流203a的除湿(第二除湿)。Next, the heat-exchanged supply airflow 203 is introduced into the dehumidifier 230 and dehumidified. Specifically, the first supply airflow 203 a of the supply airflow 203 introduced into the dehumidification device 230 is cooled by the heat absorber 234 . As a result, the temperature of the first air supply air flow 203a becomes lower than the dew point temperature, and the first air supply air flow 203a condenses dew, so the moisture in the first air supply air flow 203a is removed. That is, by passing through the heat absorber 234, dehumidification (second dehumidification) with respect to the 1st supply airflow 203a is performed.

此外,导入到除湿装置230的供气流203中的剩余的第二供气流203b流入热交换器235的第二流路237,并与第一流路236内的被吸热器234冷却了的第一供气流203a进行热交换。由此,第二流路237内的第二供气流203b被冷却而结露,因此第二供气流203b的水分被去除。也就是说,通过在热交换器235进行显热交换,从而进行针对第二供气流203b的除湿(第三除湿)。In addition, the remaining second supply airflow 203b of the supply airflow 203 introduced into the dehumidification device 230 flows into the second flow path 237 of the heat exchanger 235, and is mixed with the first flow path 236 cooled by the heat absorber 234 in the first flow path 236. Air flow 203a is provided for heat exchange. As a result, the second supply airflow 203b in the second flow path 237 is cooled to condense dew, and thus the moisture in the second supply airflow 203b is removed. That is, by performing sensible heat exchange in the heat exchanger 235, dehumidification (third dehumidification) with respect to the 2nd supply airflow 203b is performed.

也就是说,带除湿功能的热交换型换气装置250通过由热交换型换气装置210、吸热器234以及热交换器235各设备进行的除湿(第一除湿~第三除湿),而将水分从室外的高温多湿的供气流203中去除,此时,确保了所需的除湿量。That is, the heat exchange type ventilator 250 with a dehumidification function performs dehumidification (first dehumidification to third dehumidification) by each device of the heat exchange type ventilator 210, the heat absorber 234, and the heat exchanger 235. Moisture is removed from the outdoor high-temperature and humid supply airflow 203, at this time, the required dehumidification capacity is ensured.

并且,带除湿功能的热交换型换气装置250中的除湿装置230构成为从热交换型换气装置210的排气风路204导入排气流202并使导入的排气流202在散热器232流通。在散热器232中,通过导入的排气流202,来排放相当于在吸热器234中吸收的能量以及在压缩机231中用于使制冷循环内的制冷剂循环的能量的热量。从散热器232吸收了热量的排气流202向排气风路204导出,并直接向室外排出。也就是说,散热器232被导入的排气流202冷却。并且,供气流203(第一供气流203a、第二供气流203b)以不在散热器232流通的方式向供气风路205导出,因此不会产生由除湿处理引起的供气流203(第一供气流203a与第二供气流203b的混合气流)的温度上升。And, the dehumidifier 230 in the heat exchange type ventilator 250 with a dehumidification function is configured to introduce the exhaust air flow 202 from the exhaust air passage 204 of the heat exchange type ventilator 210 and make the introduced exhaust air flow 202 flow through the radiator. 232 in circulation. In the radiator 232 , heat equivalent to the energy absorbed in the heat absorber 234 and the energy used in the compressor 231 to circulate the refrigerant in the refrigeration cycle is discharged by the introduced exhaust flow 202 . The exhaust flow 202 that has absorbed heat from the radiator 232 is led out to the exhaust air passage 204 and directly discharged outdoors. That is, the radiator 232 is cooled by the incoming exhaust gas flow 202 . And, since the supply airflow 203 (the first supply airflow 203a, the second supply airflow 203b) is led out to the supply air passage 205 without passing through the radiator 232, the supply airflow 203 (the first supply airflow 203b) caused by the dehumidification process will not be generated. The temperature of the gas stream 203a mixed with the second feed gas stream 203b) increases.

接下来,对实施方式3-1的带除湿功能的热交换型换气装置250中的供气流203的温度调整方法进行说明。Next, a method for adjusting the temperature of the supply air flow 203 in the heat exchange type ventilator 250 with a dehumidification function according to Embodiment 3-1 will be described.

如图20所示,在带除湿功能的热交换型换气装置250中,与分支风门242的分支比例的控制相关联地具有第一温度传感器245、第二温度传感器246以及控制部(未图示)。第一温度传感器245对热交换前的排气流202的温度进行检测。第二温度传感器246对在除湿装置230的热交换器235流通并合流后的供气流203(第一供气流203a与第二供气流203b的混合气流)的温度进行检测。控制部对分支风门242进行控制。As shown in FIG. 20 , in the heat exchange type ventilator 250 with dehumidification function, there are first temperature sensor 245, second temperature sensor 246 and control unit (not shown) associated with the control of the branch ratio of branch damper 242. Show). The first temperature sensor 245 detects the temperature of the exhaust flow 202 before heat exchange. The second temperature sensor 246 detects the temperature of the supply airflow 203 (the mixed airflow of the first supply airflow 203 a and the second supply airflow 203 b ) that flows through the heat exchanger 235 of the dehumidifier 230 and merges. The control unit controls the branch damper 242 .

控制部基于由第一温度传感器245检测出的温度,以调整分支风门242的分支比例而使由第二温度传感器246检测出的温度成为规定的温度范围的方式控制分支风门242。具体而言,在第二温度传感器246处的温度高于第一温度传感器245处的温度的情况下,控制部使相对于第二供气流203b的风量的第一供气流203a的风量增加,从而使除湿后的供气流203的温度下降。另一方面,在第二温度传感器246处的温度低于第一温度传感器245处的温度的情况下,控制部使相对于第二供气流203b的风量的第一供气流203a的风量减少,从而使供气流203的温度上升。由此,在带除湿功能的热交换型换气装置250中,能够对成为与第一温度传感器245(从室内吸入的热交换前的排气流202)同等的温度的供气流203进行供给。The controller controls branch damper 242 so that the temperature detected by second temperature sensor 246 falls within a predetermined temperature range by adjusting the branch ratio of branch damper 242 based on the temperature detected by first temperature sensor 245 . Specifically, when the temperature at the second temperature sensor 246 is higher than the temperature at the first temperature sensor 245, the control unit increases the air volume of the first air supply air flow 203a relative to the air volume of the second air supply air flow 203b so that The temperature of the dehumidified feed gas stream 203 is lowered. On the other hand, when the temperature at the second temperature sensor 246 is lower than the temperature at the first temperature sensor 245, the control unit reduces the air volume of the first supply air flow 203a relative to the air volume of the second supply air flow 203b, thereby The temperature of the feed gas stream 203 is raised. Accordingly, in the heat exchange type ventilator 250 with a dehumidification function, it is possible to supply the supply air flow 203 having the same temperature as the first temperature sensor 245 (exhaust air flow 202 before heat exchange drawn from the room).

根据实施方式3-1的带除湿功能的热交换型换气装置250,能够通过来自热交换型换气装置210的排气流202(在需要除湿的夏季,是温度比供气流203低的排气流202)得到除湿装置230中的散热器232的冷却(排热)所需的能量,因此能够使除湿后的空气(供气流)以不向散热器流通的方式向室内吹出。也就是说,即使在应用了将制冷循环和热交换器235组合而成的除湿装置230的情况下,也能够对伴随除湿而产生的温度上升得到抑制的供气流进行输送。According to the heat exchange type ventilator 250 with dehumidification function of Embodiment 3-1, the exhaust gas flow 202 from the heat exchange type ventilator 210 (in the summer when dehumidification is required, the exhaust gas flow 202 is lower in temperature than the supply gas flow 203 The airflow 202) obtains the energy required for cooling (heat removal) of the radiator 232 in the dehumidifier 230, so that the dehumidified air (supply airflow) can be blown into the room without passing through the radiator. That is, even when the dehumidification device 230 combining the refrigeration cycle and the heat exchanger 235 is applied, it is possible to send the supply air flow in which the temperature rise caused by dehumidification is suppressed.

(实施方式3-2)(Embodiment 3-2)

本发明的实施方式3-2的带除湿功能的热交换型换气装置250a在构成有对除湿装置230a中的散热器232吹送水的水吹送部238这一点上与实施方式3-1不同。除此以外的带除湿功能的热交换型换气装置250a的结构与实施方式3-1的带除湿功能的热交换型换气装置250相同。以下,适当省略对实施方式3-1中说明过的内容的再度说明,主要对与实施方式3-1不同的点进行说明。Heat exchange type ventilator 250a with a dehumidification function according to Embodiment 3-2 of the present invention differs from Embodiment 3-1 in that water blowing unit 238 blowing water to radiator 232 in dehumidification device 230a is configured. The structure of the heat exchange type ventilator 250a with a dehumidification function other than this is the same as that of the heat exchange type ventilator 250 with a dehumidification function in Embodiment 3-1. Hereinafter, re-description of the content described in Embodiment 3-1 will be appropriately omitted, and points different from Embodiment 3-1 will be mainly described.

参照图21对本发明的实施方式3-2的带除湿功能的热交换型换气装置250a进行说明。图21是示出本发明的实施方式3-2的带除湿功能的热交换型换气装置的结构的示意图。A heat exchange type ventilator 250a with a dehumidification function according to Embodiment 3-2 of the present invention will be described with reference to FIG. 21 . Fig. 21 is a schematic diagram showing the configuration of a heat exchange type ventilator with a dehumidification function according to Embodiment 3-2 of the present invention.

如图21所示,在带除湿功能的热交换型换气装置250a中的除湿装置230a设置有:水吹送部238,其对散热器232吹送水;以及供排水管239,其用于对水吹送部238供给水并且排出向散热器232进行吹送时产生的剩余水。As shown in Figure 21, the dehumidifier 230a in the heat exchange type ventilator 250a with dehumidification function is provided with: a water blowing part 238, which blows water to the radiator 232; The blowing unit 238 supplies water and discharges excess water generated when blowing to the radiator 232 .

在除湿装置230a中,构成制冷循环的散热器232整体配置在排气风路204内,除此以外的各设备(压缩机231、膨胀器233、吸热器234、热交换器235)配置在排气风路204外。In the dehumidifier 230a, the radiator 232 constituting the refrigeration cycle is disposed in the exhaust air passage 204 as a whole, and other equipment (compressor 231, expander 233, heat absorber 234, and heat exchanger 235) are disposed in the dehumidifier 230a. Exhaust air duct 204 outside.

水吹送部238具有水喷嘴,并在排气风路204内将水从水喷嘴呈雾状地对散热器232进行喷洒。喷洒出的水附着于构成散热器232的散热管等的表面,并由于散热器232的热量而气化。并且,气化了的水通过在散热器232流通的排气流202而向排气风路204导出,并直接向室外排出。The water blowing unit 238 has a water nozzle, and sprays water from the water nozzle to the radiator 232 in the form of a mist in the exhaust air passage 204 . The sprayed water adheres to the surface of the radiation pipes constituting the radiator 232 and is vaporized by the heat of the radiator 232 . Then, the vaporized water is led out to the exhaust air passage 204 through the exhaust flow 202 flowing through the radiator 232, and is discharged outdoors as it is.

供排水管239的一方的端部经由电磁阀等开闭机构而与水吹送部238连接,且另一方的端部与住宅设施的供水设备以及排水设备连接。并且,供排水管239对水吹送部238供给水,并排出向散热器232进行吹送时产生的剩余水。One end of the water supply and drain pipe 239 is connected to the water blowing unit 238 via an opening and closing mechanism such as a solenoid valve, and the other end is connected to a water supply facility and a drainage facility of a residential facility. Further, the water supply and drain pipe 239 supplies water to the water blowing unit 238 and discharges excess water generated when blowing to the radiator 232 .

导入到除湿装置230a的排气流202在流通过被水吹送部238吹送有水的状态下的散热器232后,向热交换型换气装置210中的热交换后的排气风路204导出,并直接向室外排出。也就是说,在本实施方式中,除湿装置230a构成为通过从热交换型换气装置210导入的排气流202的空气热以及所吹送的水的气化热来冷却散热器232。The exhaust flow 202 introduced into the dehumidifier 230a passes through the radiator 232 in a state where water is blown by the water blowing part 238, and then is led out to the exhaust air passage 204 after heat exchange in the heat exchange type ventilator 210. , and discharge directly to the outside. That is, in the present embodiment, the dehumidifier 230a is configured to cool the radiator 232 by the air heat of the exhaust flow 202 introduced from the heat exchange type ventilator 210 and the vaporization heat of the blown water.

根据实施方式3-2的带除湿功能的热交换型换气装置250a,能够通过来自热交换型换气装置210的排气流202的空气热以及由水吹送部238吹送的水的气化热得到除湿装置230a中的散热器232的冷却(排热)所需的能量。因此,能够有效地冷却散热器232,并能够使除湿后的空气(供气流203)以不向散热器232流通的方式向室内吹出。也就是说,即使在应用了将制冷循环和热交换器235组合而成的除湿装置230a的情况下,也能够对伴随除湿而产生的温度上升得到抑制的供气流203进行输送。According to the heat exchange type ventilator 250a with a dehumidification function according to Embodiment 3-2, the air heat of the exhaust flow 202 from the heat exchange type ventilator 210 and the vaporization heat of the water blown by the water blowing unit 238 can be passed. Energy required for cooling (heat removal) of the radiator 232 in the dehumidifier 230a is obtained. Therefore, the radiator 232 can be effectively cooled, and the dehumidified air (supply airflow 203 ) can be blown into the room without passing through the radiator 232 . That is, even when the dehumidifier 230a combining the refrigeration cycle and the heat exchanger 235 is applied, it is possible to send the supply air flow 203 in which the temperature rise accompanying dehumidification is suppressed.

(实施方式3-3)(Embodiment 3-3)

本发明的实施方式3-3的带除湿功能的热交换型换气装置250b在以下的两点与实施方式3-2不同。第一点在于,搭载有对热交换型换气装置210中的热交换后的供气流203进行加湿的液体微细化装置260。第二点在于,构成为具有水路切换部244,该水路切换部244能够切换为从外部对液体微细化装置260供给水的第一状态、以及从外部对除湿装置230a导入水的第二状态。除此以外的带除湿功能的热交换型换气装置250b的结构与实施方式3-2的带除湿功能的热交换型换气装置250a相同。以下,适当省略对实施方式3-2中说明过的内容的再度说明,主要对与实施方式3-2不同的点进行说明。需要说明的是,本发明的实施方式3-3的带除湿功能的热交换型换气装置250b搭载有液体微细化装置260,除了最初的除湿功能以外还具备加湿功能,因此也可以说是带调湿功能的热交换型换气装置或带除加湿功能的热交换型换气装置。The heat exchange type ventilator 250b with a dehumidification function according to Embodiment 3-3 of the present invention is different from Embodiment 3-2 in the following two points. The first point is that the liquid miniaturization device 260 for humidifying the heat-exchanged supply air flow 203 in the heat exchange type ventilator 210 is mounted. The second point is that the water channel switching unit 244 is configured to be switchable between a first state of supplying water from the outside to the liquid miniaturization device 260 and a second state of introducing water to the dehumidifier 230a from the outside. The structure of the heat exchange type ventilator 250b with a dehumidification function other than this is the same as that of the heat exchange type ventilator 250a with a dehumidification function in Embodiment 3-2. Hereinafter, re-description of the contents described in Embodiment 3-2 will be appropriately omitted, and points different from Embodiment 3-2 will be mainly described. It should be noted that the heat exchange type ventilator 250b with a dehumidification function according to Embodiment 3-3 of the present invention is equipped with a liquid miniaturization device 260, and has a humidification function in addition to the initial dehumidification function, so it can also be said to be a ventilation device with a dehumidification function. Heat exchange type ventilator with humidity control function or heat exchange type ventilator with dehumidification function.

参照图22对本发明的实施方式3-3的带除湿功能的热交换型换气装置250b进行说明。图22是示出本发明的实施方式3-3的带除湿功能的热交换型换气装置的结构的示意图。A heat exchange type ventilator 250b with a dehumidification function according to Embodiment 3-3 of the present invention will be described with reference to FIG. 22 . Fig. 22 is a schematic diagram showing the configuration of a heat exchange type ventilator with a dehumidification function according to Embodiment 3-3 of the present invention.

如图22所示,在带除湿功能的热交换型换气装置250b搭载有对热交换型换气装置210中的热交换后的供气流203进行加湿的液体微细化装置260。As shown in FIG. 22 , a heat exchange type ventilator 250b with a dehumidification function is equipped with a liquid miniaturization device 260 for humidifying the supply air flow 203 after heat exchange in the heat exchange type ventilator 210 .

并且,在热交换型换气装置210中,在热交换后的供气风路205设置有切换风门243。切换风门243是用于对使在供气风路205流通的供气流203向室内流动的状态、以及使在供气风路205流通的供气流203向液体微细化装置260流动的状态进行切换的风门。需要说明的是,构成为使在除湿装置230a流通后的供气流203在比切换风门243靠上游侧(热交换元件212侧)的位置向供气风路205导出。Furthermore, in the heat exchange type ventilator 210, the switch damper 243 is provided in the supply air path 205 after heat exchange. The switching damper 243 is used to switch between the state where the supply air flow 203 flowing through the air supply air passage 205 flows into the room and the state where the supply air flow 203 flowing through the air supply air passage 205 flows to the liquid miniaturization device 260 . throttle. In addition, it is comprised so that the air supply airflow 203 which flowed through the dehumidifier 230a is led out to the air supply air path 205 at the upstream side (heat exchange element 212 side) of the switching damper 243. FIG.

在带除湿功能的热交换型换气装置250b中,利用切换风门243成为气流向液体微细化装置260流动的状态,从而对热交换后的供气流203执行加湿。关于加湿的详细情况将后述。需要说明的是,在无需加湿的夏季等情况下,利用切换风门243成为气流不向液体微细化装置260流动的状态,从而由液体微细化装置260引起的压力损伤的上升得到抑制,作为带除湿功能的热交换型换气装置250b,能够实现全年的节能下的运转。In the heat exchange type ventilator 250b with a dehumidification function, the switching damper 243 is used to make the airflow flow to the liquid miniaturization device 260 to humidify the heat-exchanged supply airflow 203 . The details of humidification will be described later. It should be noted that, in the summer when humidification is not required, the airflow does not flow to the liquid miniaturization device 260 by the switching damper 243, thereby suppressing the increase of pressure damage caused by the liquid miniaturization device 260, as a belt dehumidification device. Functional heat exchange type ventilator 250b, can realize the operation under energy-saving throughout the year.

并且,在带除湿功能的热交换型换气装置250b设置有水路切换部244,该水路切换部244用于切换为从外部对液体微细化装置260导入水的第一状态、以及从外部对除湿装置230a导入水的第二状态。水路切换部244构成为在第一状态下经由第一通水路244a将液体微细化装置260与供排水管239连通,并在第二状态下经由第二通水路224b将除湿装置230a与供排水管239连通。并且,水路切换部244在对热交换后的供气流203进行加湿处理的情况下切换为第一状态,在对热交换后的供气流203进行除湿处理的情况下切换为第二状态。In addition, the heat exchange type ventilator 250b with a dehumidification function is provided with a water channel switching unit 244 for switching to the first state of introducing water to the liquid miniaturization device 260 from the outside and to the dehumidification device 260 from the outside. Device 230a introduces a second state of water. The water channel switching unit 244 is configured to connect the liquid miniaturization device 260 to the water supply and drainage pipe 239 via the first water passage 244a in the first state, and connect the dehumidifier 230a to the water supply and drainage pipe 239 via the second water passage 224b in the second state. 239 connected. In addition, the water channel switching unit 244 switches to the first state when humidifying the heat-exchanged supply air 203 , and switches to the second state when dehumidifying the heat-exchanged supply air 203 .

接下来,参照图23对液体微细化装置260进行说明。图23是示出本发明的实施方式3-3的带除湿功能的热交换型换气装置中的液体微细化装置的结构的示意图。Next, the liquid miniaturization device 260 will be described with reference to FIG. 23 . 23 is a schematic diagram showing the configuration of a liquid miniaturization device in the heat exchange type ventilator with dehumidification function according to Embodiment 3-3 of the present invention.

如图23所示,液体微细化装置260具备吸入口262、吹出口263、内筒264、外筒268以及接水部271。As shown in FIG. 23 , the liquid miniaturization device 260 includes an inlet 262 , an outlet 263 , an inner cylinder 264 , an outer cylinder 268 , and a water receiving portion 271 .

吸入口262是用于向液体微细化装置260的内部吸入空气的开口,并设置于液体微细化装置260的侧面。另外,吸入口262是能够连接管道的形状(例如,圆筒形状),并经由切换风门243而与热交换后的供气风路205连接(参照图22)。The suction port 262 is an opening for sucking air into the liquid miniaturization device 260 , and is provided on a side surface of the liquid miniaturization device 260 . In addition, the suction port 262 has a shape (for example, a cylindrical shape) to which a duct can be connected, and is connected to the heat-exchanged air supply air path 205 via the switching damper 243 (see FIG. 22 ).

吹出口263是用于将通过了液体微细化装置260的内部的空气吹出的开口,并设置于液体微细化装置260的上表面。另外,吹出口263形成于由内筒264和外筒268分隔出的区域(内筒264与外筒268之间的区域)。并且,吹出口263设置于液体微细化装置260的上表面部中的内筒264的周围。并且,吹出口263设置为位于比吸入口262靠上方的位置。另外,吹出口263是能够连接筒状的管道的形状,并与热交换后的供气风路205连接(参照图22)。The air outlet 263 is an opening for blowing out the air passing through the liquid miniaturization device 260 , and is provided on the upper surface of the liquid miniaturization device 260 . In addition, the outlet 263 is formed in a region partitioned by the inner cylinder 264 and the outer cylinder 268 (the region between the inner cylinder 264 and the outer cylinder 268 ). In addition, the outlet 263 is provided around the inner tube 264 on the upper surface of the liquid miniaturization device 260 . In addition, the air outlet 263 is provided at a position above the air inlet 262 . Moreover, the air outlet 263 has the shape which can connect the cylindrical duct, and is connected to the air supply air path 205 after heat exchange (refer FIG. 22).

并且,从吸入口262吸入的空气通过后述的液体微细化部277而成为加湿后的空气,并从吹出口263吹出。Then, the air sucked in from the suction port 262 passes through the liquid miniaturization unit 277 described later to become humidified air, and is blown out from the blower port 263 .

内筒264配置于液体微细化装置260的内部的中央附近。另外,内筒264具有朝向大致铅垂方向下方开口的通风口267,且形成为中空圆筒形状。The inner cylinder 264 is disposed near the center of the liquid miniaturization device 260 . In addition, the inner cylinder 264 has a vent 267 opened substantially vertically downward, and is formed in a hollow cylindrical shape.

外筒268形成为圆筒形状,且以将内筒264内包的方式配置。另外,在外筒268的侧壁268a设置有用于向后述的贮水部270供给水的供水口272。并且,供水口272经由第一通水路244a而与供排水管239连接。需要说明的是,供水口272设置于比贮水部270的上表面(贮水部270所能够贮存的最大水位的面:水面280)靠铅垂方向上方的位置。The outer cylinder 268 is formed in a cylindrical shape, and is disposed so as to enclose the inner cylinder 264 . Moreover, the side wall 268a of the outer cylinder 268 is provided with the water supply port 272 for supplying water to the water storage part 270 mentioned later. Furthermore, the water supply port 272 is connected to the water supply and drainage pipe 239 via the first water passage 244a. In addition, the water supply port 272 is provided in the vertical direction upper position than the upper surface of the water storage part 270 (the surface of the maximum water level which can be stored in the water storage part 270: the water surface 280).

接水部271在液体微细化装置260的底部整面的范围内设置。例如,在装置中产生异常而发生漏水时,接水部271能够暂时积存从装置漏出的水。The water receiving portion 271 is provided over the entire bottom of the liquid miniaturization device 260 . For example, when an abnormality occurs in the device and water leaks, the water receiving part 271 can temporarily store the water leaked from the device.

接下来,对液体微细化装置260的内部结构进行说明。Next, the internal structure of the liquid miniaturization device 260 will be described.

如图23所示,液体微细化装置260在内部具有吸入连通风路265、内筒风路266、外筒风路269、贮水部270、液体微细化部277以及接水部271。As shown in FIG. 23 , the liquid miniaturization device 260 has a suction communication air passage 265 , an inner cylinder air passage 266 , an outer cylinder air passage 269 , a water storage unit 270 , a liquid miniaturization unit 277 and a water receiving unit 271 .

吸入连通风路265是将吸入口262与内筒264(内筒风路266)连通的管道形状的风路,且构成为使从吸入口262吸入的空气经由吸入连通风路265而到达内筒264的内部。The suction communication air passage 265 is a duct-shaped air passage connecting the suction port 262 and the inner cylinder 264 (inner cylinder air passage 266 ), and is configured so that the air sucked in from the suction port 262 reaches the inner cylinder through the suction communication air passage 265 . 264 inside.

内筒风路266是设置于内筒264的内侧的风路,且经由设置于内筒264的下端的开口(通风口267)而与设置于内筒264的外侧的外筒风路269(由图23的虚线箭头表示的风路)连通。在内筒风路266,在风路内配置有液体微细化部277。The inner cylinder air passage 266 is an air passage provided on the inside of the inner cylinder 264, and is connected to the outer cylinder air passage 269 provided on the outer side of the inner cylinder 264 (by the opening (vent 267)) at the lower end of the inner cylinder 264. The wind path represented by the dotted line arrow in Fig. 23) communicates. In the inner tube air passage 266, a liquid miniaturization unit 277 is arranged in the air passage.

外筒风路269是形成于内筒264与外筒268之间的风路,且与吹出口263连通。The outer cylinder air passage 269 is an air passage formed between the inner cylinder 264 and the outer cylinder 268 and communicates with the air outlet 263 .

贮水部270设置于液体微细化装置260的下部(内筒264的下部),且对水进行贮存。贮水部270形成为大致研钵形状,贮水部270的侧壁与外筒268的下端连接并一体化。大致研钵形状具体而言包括圆形的底面以及与底面相连的倒圆锥形的侧壁。并且,贮水部270构成为从在外筒268的侧壁268a设置的供水口272供给水,并从在贮水部270的底面设置的排水口273排出水。在此,排水口273与供水口272同样地经由另一第一通水路244a与供排水管239连接。需要说明的是,排水口273优选设置于贮水部270底面的最低位置。The water storage unit 270 is provided at the lower portion of the liquid miniaturization device 260 (the lower portion of the inner tube 264 ), and stores water. The water storage part 270 is formed substantially in the shape of a mortar, and the side wall of the water storage part 270 is connected to the lower end of the outer cylinder 268 to be integrated. The general mortar shape specifically includes a circular bottom surface and an inverted conical side wall connected to the bottom surface. Furthermore, the water storage unit 270 is configured to supply water from a water supply port 272 provided on the side wall 268 a of the outer cylinder 268 and to discharge water from a water discharge port 273 provided on the bottom surface of the water storage unit 270 . Here, the drain port 273 is connected to the water supply and drain pipe 239 through another first water passage 244a similarly to the water supply port 272 . It should be noted that the drain port 273 is preferably disposed at the lowest position on the bottom surface of the water storage portion 270 .

液体微细化部277是液体微细化装置260的主要部分,且是进行水的微细化的场所。具体而言,液体微细化部277具有扬水管(汲取管)274、旋转板275以及马达276。另外,液体微细化部277设置于内筒264的内侧即被内筒264覆盖的位置。The liquid miniaturization unit 277 is a main part of the liquid miniaturization device 260 and is a place where water is miniaturized. Specifically, the liquid miniaturization unit 277 has a pumping pipe (dipping pipe) 274 , a rotating plate 275 , and a motor 276 . In addition, the liquid miniaturization unit 277 is provided inside the inner cylinder 264 , that is, at a position covered by the inner cylinder 264 .

扬水管274通过旋转而从贮水部270汲取水。另外,扬水管274形成为中空的圆锥台形状,且设置为直径较小的一侧的前端位于贮存于贮水部270的水的水面280以下。The pumping pipe 274 draws water from the water storage part 270 by rotating. In addition, the pumping pipe 274 is formed in the shape of a hollow truncated cone, and the tip on the side with a smaller diameter is located below the water surface 280 of the water stored in the water storage part 270 .

旋转板275形成为中央开口的面包圈状的圆板形状,且配置于扬水管274的直径较大的一侧、换言之扬水管274的上部的周围。在扬水管274的直径较大的一侧,在侧面设置有多个开口(未图示),使汲取到的水通过开口而向旋转板275供给。并且,旋转板275将由扬水管274汲取到的水向旋转面方向排放。The rotary plate 275 is formed in a doughnut-shaped disc shape with an opening in the center, and is arranged around the side with a larger diameter of the water raising pipe 274 , in other words, the upper part of the water raising pipe 274 . A plurality of openings (not shown) are provided on the side surface of the larger diameter side of the water pumping pipe 274 , and the pumped water is supplied to the rotary plate 275 through the openings. And, the rotating plate 275 discharges the water sucked by the water pumping pipe 274 toward the direction of the rotating surface.

马达276使扬水管274以及旋转板275旋转。The motor 276 rotates the water pumping pipe 274 and the rotary plate 275 .

接水部271在贮水部270的铅垂方向下方的液体微细化装置260的底部整面的范围内设置。The water receiving part 271 is provided on the entire bottom surface of the liquid miniaturization device 260 below the water storage part 270 in the vertical direction.

接下来,使用图23对液体微细化装置260的动作进行说明。Next, the operation of the liquid miniaturization device 260 will be described using FIG. 23 .

首先,利用与未图示的供水设备连接的供排水管239从供水口272向贮水部270供给水,并将水贮存于贮水部270。然后,从吸入口262吸入到液体微细化装置260的内部的空气(热交换后的供气流203)依次通过吸入连通风路265、内筒风路266、液体微细化部277、外筒风路269,并从吹出口263朝向外部(例如,室内)吹出。此时,由液体微细化部277产生的水滴与通过内筒风路266的空气接触,从而能够通过水滴气化来对空气进行加湿。另外,贮存于贮水部270的水在经过了规定时间后,从排水口273向装置外排出。First, water is supplied from the water supply port 272 to the water storage unit 270 by the water supply and drainage pipe 239 connected to a water supply facility not shown, and the water is stored in the water storage unit 270 . Then, the air (supply air flow 203 after heat exchange) sucked into the liquid miniaturization device 260 from the suction port 262 sequentially passes through the suction communication air passage 265, the inner cylinder air passage 266, the liquid miniaturization unit 277, and the outer cylinder air passage. 269, and blow out from the outlet 263 toward the outside (for example, indoors). At this time, the water droplets generated by the liquid miniaturization unit 277 come into contact with the air passing through the inner cylinder air passage 266, and the air can be humidified by vaporizing the water droplets. In addition, the water stored in the water storage unit 270 is discharged from the water outlet 273 to the outside of the device after a predetermined time has elapsed.

对其详细动作进行说明。The detailed operation will be described.

从吸入口262通过吸入连通风路265而被取入到内筒风路266的内筒的空气通过液体微细化部277。当扬水管274以及旋转板275通过马达276的动作而旋转时,通过旋转而使贮存于贮水部270的水顺着扬水管274的内壁面上升。上升后的水顺着旋转板275的表面被牵拉,并从旋转板275的外周端朝向旋转面方向作为微细的水滴被排放。排放的水滴与内筒264的内壁面发生碰撞而破碎,从而成为更微细的水滴。从旋转板275排放的水滴以及同内筒264的内壁面发生碰撞而破碎的水滴与通过内筒264的空气接触,水滴气化,从而进行空气的加湿。需要说明的是,虽然产生的水滴的一部分未气化,但由于以被内筒264覆盖的方式配置液体微细化部277,因此未气化的水滴附着于内筒264的内侧表面并向贮水部270落下。The air taken into the inner cylinder of the inner cylinder air passage 266 from the suction port 262 through the suction communication air passage 265 passes through the liquid miniaturization part 277 . When the water pumping pipe 274 and the rotary plate 275 are rotated by the operation of the motor 276 , the water stored in the water storage part 270 rises along the inner wall surface of the water pumping pipe 274 by the rotation. The raised water is pulled along the surface of the rotating plate 275 and discharged as fine water droplets from the outer peripheral end of the rotating plate 275 toward the direction of the rotating surface. The discharged water droplets collide with the inner wall surface of the inner cylinder 264 and are broken into finer water droplets. The water droplets discharged from the rotating plate 275 and the water droplets collided with the inner wall surface of the inner cylinder 264 and broken into pieces come into contact with the air passing through the inner cylinder 264, and the water droplets are vaporized to humidify the air. It should be noted that although some of the generated water droplets are not vaporized, since the liquid miniaturization part 277 is arranged so as to be covered by the inner cylinder 264, the unvaporized water droplets adhere to the inner surface of the inner cylinder 264 and flow to the water storage. Section 270 falls.

然后,包含水滴的空气(加湿后的空气)从设置于内筒264的下端的通风口267朝向设置于下方的贮水部270吹出。然后,朝向形成于内筒264与外筒268之间的外筒风路269流动。在此,通过外筒风路269内的空气被朝向铅垂方向上方输送,因此在内筒风路266内向下方流动的空气与输送方向变成对置的朝向。Then, the air (humidified air) containing water droplets is blown out from the vent 267 provided at the lower end of the inner tube 264 toward the water storage part 270 provided below. Then, it flows toward the outer cylinder air passage 269 formed between the inner cylinder 264 and the outer cylinder 268 . Here, since the air passing through the outer cylinder air passage 269 is conveyed upward in the vertical direction, the air flowing downward in the inner cylinder air passage 266 is in the opposite direction to the conveyance direction.

此时,从通风口267与空气一起被吹出的水滴由于惯性而不能追随空气的流动,而是附着于贮水部270的水面280或外筒268的内侧壁面。对于该作用,由于水滴的重量越大则作用越大、即难以气化的直径越大的水滴则作用越大,由此能够将大粒的水滴从流动的空气中分离。At this time, the water droplets blown out together with the air from the vent 267 cannot follow the flow of the air due to inertia, but adhere to the water surface 280 of the water storage part 270 or the inner wall surface of the outer cylinder 268 . As for this effect, the greater the weight of the water droplets, the greater the effect, that is, the larger the diameter of the water droplets that are difficult to vaporize, the greater the effect, so that large water droplets can be separated from the flowing air.

然后,从内筒风路266经由通风口267而流入外筒风路269的空气通过外筒风路269而向上流动。然后,从吹出口263向外部吹出。此时,水滴的一部分由于重力而向贮水部270落下,或者附着于内筒264的外壁或外筒268的内壁。然后,附着于内筒264的外壁或外筒268的内壁的水滴顺着内筒264的外侧壁面或外筒268的内侧壁面向贮水部270落下。Then, the air flowing into the outer cylinder air passage 269 from the inner cylinder air passage 266 through the vent 267 flows upward through the outer cylinder air passage 269 . Then, it is blown out from the outlet 263 to the outside. At this time, a part of the water drops falls toward the water storage portion 270 due to gravity, or adheres to the outer wall of the inner cylinder 264 or the inner wall of the outer cylinder 268 . Then, the water droplets adhering to the outer wall of the inner cylinder 264 or the inner wall of the outer cylinder 268 fall toward the water storage portion 270 along the outer wall surface of the inner cylinder 264 or the inner wall surface of the outer cylinder 268 .

如以上所述,液体微细化装置260能够通过液体微细化部277对空气(热交换后的供气流203)进行加湿。As described above, the liquid miniaturization device 260 can humidify the air (the supply air flow 203 after heat exchange) through the liquid miniaturization unit 277 .

根据实施方式3-3的带除湿功能的热交换型换气装置250b,与带除湿功能的热交换型换气装置250a同样地能够有效地冷却散热器232,并能够使除湿后的空气(供气流203)以不向散热器232流通的方式向室内吹出。另外,在带除湿功能的热交换型换气装置250b中,能够通过水路切换部244容易地将为了加湿而向液体微细化装置260导入的来自外部的水切换为向除湿装置230a导入。也就是说,在对带加湿功能的热交换型换气装置应用除湿装置230a的情况下,能够使来自外部的水的供给与液体微细化装置260共用化,因此能够以低成本实现除湿装置230a中的由水吹送部238进行的水向散热器232的吹送处理。According to the heat exchange type ventilator 250b with a dehumidification function according to Embodiment 3-3, the radiator 232 can be effectively cooled similarly to the heat exchange type ventilator 250a with a dehumidification function, and the dehumidified air (supplied The airflow 203) is blown into the room without passing through the radiator 232. In addition, in the heat exchange type ventilator 250b with a dehumidification function, water from the outside introduced into the liquid miniaturization device 260 for humidification can be easily switched to the dehumidifier 230a by the water channel switching unit 244 . That is, when the dehumidifier 230a is applied to a heat exchange type ventilator with a humidification function, the supply of water from the outside can be shared with the liquid miniaturization device 260, so that the dehumidifier 230a can be realized at low cost. The blowing process of water to the radiator 232 is performed by the water blowing unit 238 .

(实施方式3-4)(Embodiment 3-4)

本发明的实施方式3-4的带除湿功能的热交换型换气装置250d在构成有使供气流203(热交换前的供气流203)向除湿装置230中的散热器232流通的送风装置290这一点上与实施方式3-1不同。除此以外的带除湿功能的热交换型换气装置250c的结构与实施方式3-1的带除湿功能的热交换型换气装置250相同。以下,适当省略对实施方式3-1中说明过的内容的再度说明,主要对与实施方式3-1不同的点进行说明。The heat exchange type ventilator 250d with a dehumidification function according to Embodiment 3-4 of the present invention is configured with an air blower that circulates the supply air flow 203 (supply air flow 203 before heat exchange) to the radiator 232 in the dehumidification device 230. 290 differs from Embodiment 3-1 in this point. The structure of the heat exchange type ventilator 250c with a dehumidification function other than this is the same as that of the heat exchange type ventilator 250 with a dehumidification function in Embodiment 3-1. Hereinafter, re-description of the content described in Embodiment 3-1 will be appropriately omitted, and points different from Embodiment 3-1 will be mainly described.

参照图24对本发明的实施方式3-4的带除湿功能的热交换型换气装置250c进行说明。图24是示出本发明的实施方式3-4的带除湿功能的热交换型换气装置的结构的示意图。A heat exchange type ventilator 250c with a dehumidification function according to Embodiment 3-4 of the present invention will be described with reference to FIG. 24 . Fig. 24 is a schematic diagram showing the configuration of a heat exchange type ventilator with a dehumidification function according to Embodiment 3-4 of the present invention.

如图24所示,在带除湿功能的热交换型换气装置250c搭载有使供气流203(热交换前的供气流3)向除湿装置230的散热器232流通的送风装置290。As shown in FIG. 24 , a heat exchange type ventilator 250 c with a dehumidification function is equipped with an air blower 290 that circulates the supply air 203 (the supply air 3 before heat exchange) to the radiator 232 of the dehumidifier 230 .

送风装置290是一种鼓风机,用于在将通过切换风门247分支了的供气流203的一部分(第三供气流203c)从热交换型换气装置210的热交换前的供气风路205吸入并使其在除湿装置230的散热器232流通后,将其向热交换前的供气风路205导出。The air supply device 290 is a blower used to transfer a part of the supply air flow 203 branched by the switching damper 247 (the third supply air flow 203 c ) from the air supply air path 205 before the heat exchange of the heat exchange type ventilation device 210 . After sucking it in and passing it through the radiator 232 of the dehumidifier 230, it is led out to the supply air duct 205 before heat exchange.

切换风门247是用于对使在供气风路205流通的供气流203的全部量向热交换型换气装置210侧流动的状态、以及使在供气风路205流通的供气流203的一部分向送风装置290侧流动的状态进行切换的风门。The switching damper 247 is used to control the state where the entire amount of the supply air flow 203 flowing through the air supply air passage 205 flows toward the heat exchange type ventilator 210 side, and the state where a part of the supply air flow 203 flowing through the air supply air passage 205 flows. A damper for switching the state of the flow to the air blower 290 side.

在本实施方式中,除湿装置230构成为通过从热交换型换气装置210导入的排气流202的空气热、以及从送风装置290导入的第三供气流203c的空气热来冷却散热器232。In this embodiment, the dehumidifier 230 is configured to cool the radiator by the air heat of the exhaust air flow 202 introduced from the heat exchange type ventilator 210 and the air heat of the third supply air flow 203 c introduced from the air blower 290 . 232.

根据实施方式3-4的带除湿功能的热交换型换气装置250c,能够通过来自热交换型换气装置210的排气流202的空气热以及从送风装置290导入的第三供气流203c的空气热得到除湿装置230中的散热器232的冷却(排热)所需的能量,因此能够有效地冷却散热器232,并能够使除湿后的空气(供气流3)以不向散热器232流通的方式向室内吹出。也就是说,即使在应用了将制冷循环和热交换器235组合而成的除湿装置230的情况下,也能够对伴随除湿而产生的温度上升得到抑制的供气流203进行输送。According to the heat exchange type ventilator 250c with a dehumidification function according to Embodiment 3-4, the heat of the air from the exhaust flow 202 of the heat exchange type ventilator 210 and the third supply air flow 203c introduced from the air blower 290 can be passed. The heat of the air in the dehumidifier 230 obtains the energy required for the cooling (exhaust heat) of the radiator 232, so the radiator 232 can be effectively cooled, and the dehumidified air (supply airflow 3) can not be sent to the radiator 232 The way of circulation blows out to the room. That is, even when the dehumidifier 230 combining the refrigeration cycle and the heat exchanger 235 is applied, it is possible to send the supply air flow 203 in which the temperature rise accompanying dehumidification is suppressed.

(实施方式3-5)(Embodiment 3-5)

本发明的实施方式3-5的带除湿功能的热交换型换气装置250d在构成有使室外的空气(送风气流206)向除湿装置230中的散热器232流通的送风装置290a这一点上与实施方式3-1不同。除此以外的带除湿功能的热交换型换气装置250d的结构与实施方式3-1的带除湿功能的热交换型换气装置250相同。以下,适当省略对实施方式3-1中说明过的内容的再度说明,主要对与实施方式3-1不同的点进行说明。The heat exchange type ventilator 250d with a dehumidification function according to Embodiment 3-5 of the present invention is configured with an air blower 290a that circulates the outdoor air (blow air flow 206 ) to the radiator 232 in the dehumidifier 230 It is different from Embodiment 3-1 above. The structure of the heat exchange type ventilator 250d with a dehumidification function other than this is the same as that of the heat exchange type ventilator 250 with a dehumidification function in Embodiment 3-1. Hereinafter, re-description of the content described in Embodiment 3-1 will be appropriately omitted, and points different from Embodiment 3-1 will be mainly described.

参照图25对本发明的实施方式3-5的带除湿功能的热交换型换气装置250d进行说明。图25是示出本发明的实施方式3-5的带除湿功能的热交换型换气装置的结构的示意图。A heat exchange type ventilator 250d with a dehumidification function according to Embodiment 3-5 of the present invention will be described with reference to FIG. 25 . Fig. 25 is a schematic diagram showing the configuration of a heat exchange type ventilator with a dehumidification function according to Embodiment 3-5 of the present invention.

如图25所示,在带除湿功能的热交换型换气装置250d搭载有使室外的空气(送风气流206)向除湿装置230的散热器232流通的送风装置290a。As shown in FIG. 25 , a heat exchange type ventilator 250 d with a dehumidification function is equipped with an air blower 290 a that circulates outdoor air (blow air flow 206 ) to the radiator 232 of the dehumidifier 230 .

送风装置290a是一种鼓风机,用于在将室外的空气(送风气流206)从与热交换型换气装置210分开设置的外气口(未图示)吸入并使其在除湿装置230的散热器232流通后,将其向热交换后的排气风路204导出。The blower 290a is a blower used to suck the outdoor air (supply airflow 206) from an external air port (not shown) provided separately from the heat exchange type ventilator 210 and make it flow in the dehumidifier 230. After the radiator 232 circulates, it is led out to the exhaust air duct 204 after heat exchange.

在本实施方式中,除湿装置230构成为通过从热交换型换气装置210导入的排气流202的空气热、以及从送风装置290a导入的送风气流206的空气热来冷却散热器232。需要说明的是,送风装置290a从与热交换型换气装置210分开设置的外气口(未图示)吸入室外的空气(送风气流206),因此与实施方式3-4的送风装置290不同,能够独立于热交换型换气装置210而进行送风气流206的风量控制。In this embodiment, the dehumidifier 230 is configured to cool the radiator 232 by the air heat of the exhaust flow 202 introduced from the heat exchange type ventilator 210 and the air heat of the blown air flow 206 introduced from the air blower 290a. . It should be noted that the air blower 290a sucks in outdoor air (blow air flow 206 ) from an external air port (not shown) provided separately from the heat exchange type ventilator 210 , so it is different from the air blower in Embodiment 3-4. 290 , the air volume control of the blown airflow 206 can be performed independently of the heat exchange type ventilator 210 .

根据实施方式3-5的带除湿功能的热交换型换气装置250d,能够通过来自热交换型换气装置210的排气流202的空气热以及从送风装置290a导入的送风气流206的空气热得到除湿装置230中的散热器232的冷却(排热)所需的能量,因此能够有效地冷却散热器232,并能够使除湿后的空气(供气流203)以不向散热器232流通的方式向室内吹出。也就是说,即使在应用了将制冷循环和热交换器235组合而成的除湿装置230的情况下,也能够对伴随除湿而产生的温度上升得到抑制的供气流203进行输送。According to the heat exchange type ventilator 250d with a dehumidification function according to Embodiment 3-5, the heat of the air from the exhaust flow 202 of the heat exchange type ventilator 210 and the heat of the blown air flow 206 introduced from the blower device 290a can be passed. The air heat obtains the energy required for the cooling (exhaust heat) of the radiator 232 in the dehumidifier 230, so the radiator 232 can be effectively cooled, and the dehumidified air (supply air flow 203) can be prevented from circulating to the radiator 232. The way to blow into the room. That is, even when the dehumidifier 230 combining the refrigeration cycle and the heat exchanger 235 is applied, it is possible to send the supply air flow 203 in which the temperature rise accompanying dehumidification is suppressed.

以上,基于实施方式对本发明进行了说明,但容易推测的是,本发明丝毫不被上述实施方式所限定,而能够在不脱离本发明的主旨的范围内进行各种改良变形。例如,在上述实施方式中列举出的数值是一例,当然能够采用其他数值。As mentioned above, although this invention was demonstrated based on embodiment, it is easy to guess that this invention is not limited to the said embodiment at all, and various improvement and deformation|transformation are possible in the range which does not deviate from the summary of this invention. For example, the numerical values listed in the above-mentioned embodiments are examples, and other numerical values can of course be adopted.

另外,在实施方式3-1~3-5的带除湿功能的热交换型换气装置250、250a~250d中,作为热交换器235,使用了显热型的热交换元件,但作为显热型的热交换元件,优选构成热交换元件的第一流路236与第二流路237的构件具有防水性(疏水性)。作为具有防水性(疏水性)的构件,例如使用聚丙烯、聚苯乙烯等树脂构件。这样一来,在热交换元件的内部产生的结露水容易向热交换元件的外部流出,因此能够在不导致由结露水引起的热交换器235的热交换效率降低的情况下进行除湿。In addition, in the heat exchange type ventilators 250, 250a to 250d with a dehumidification function according to Embodiments 3-1 to 3-5, a sensible heat type heat exchange element is used as the heat exchanger 235, but as the sensible heat For the type heat exchange element, the members constituting the first flow path 236 and the second flow path 237 of the heat exchange element are preferably waterproof (hydrophobic). As a member having water repellency (water repellency), resin members such as polypropylene and polystyrene are used, for example. In this way, the dew condensation water generated inside the heat exchange element easily flows out of the heat exchange element, so dehumidification can be performed without reducing the heat exchange efficiency of the heat exchanger 235 due to the dew condensation water.

另外,在实施方式3-4的带除湿功能的热交换型换气装置250b中,作为除湿装置230a,构成了仅能够进行除湿处理的制冷循环,但并不限定于此。例如,也可以使用四通阀(可逆阀)来切换除湿装置的制冷循环的结构,使散热器(冷凝器)和吸热器(蒸发器)的功能反转。通过这样构成,除湿装置能够切换为可以对向装置内导入的空气进行除湿的制冷模式、以及可以对向装置内导入的空气进行加热的制暖模式。也就是说,在冬季的加湿时,能够通过在制暖模式的除湿装置流通而使向液体微细化装置260导入的空气(热交换后的供气流3)的温度上升。因此,能够使针对热交换后的供气流3的加湿量增加。另外,在干燥的冬季(无除湿需求)的条件下,能够向室内吹出暖风,因此能够降低制暖(空调、地暖)的负载。In addition, in the heat exchange type ventilator 250b with a dehumidification function according to Embodiment 3-4, the dehumidification device 230a has a refrigeration cycle capable of performing only a dehumidification process, but the present invention is not limited thereto. For example, a four-way valve (reversible valve) can also be used to switch the structure of the refrigeration cycle of the dehumidification device to reverse the functions of the radiator (condenser) and heat absorber (evaporator). With this configuration, the dehumidifier can be switched between a cooling mode capable of dehumidifying air introduced into the device, and a heating mode capable of heating air introduced into the device. That is, during humidification in winter, the temperature of the air (supply airflow 3 after heat exchange) introduced into the liquid miniaturization device 260 can be raised by passing through the dehumidifier in the heating mode. Therefore, the amount of humidification for the heat-exchanged supply airflow 3 can be increased. In addition, under the conditions of dry winter (no need for dehumidification), warm air can be blown into the room, so the load of heating (air conditioning, floor heating) can be reduced.

(实施方式4)(Embodiment 4)

以往,作为能够不损害制冷或者制暖的效果地进行换气的装置,已知在换气时在供气流与排气流之间进行热交换的热交换型换气装置。Conventionally, a heat exchange type ventilator that performs heat exchange between a supply airflow and an exhaust airflow during ventilation is known as an apparatus that can ventilate without impairing the effect of cooling or heating.

近年来,由于全球变暖的影响以及住宅的气密性提高,特别是在夏季,室内的排热以及排湿不足,室内变得高温多湿,因此存在对居住者而言室内的舒适性受损的担忧。对于在夏季提高室内的舒适性,室内的湿度降低尤其重要,因此谋求在调整室内的湿度的同时进行热交换换气的带除湿功能的热交换型换气装置。因此,作为带除湿功能的热交换型换气装置,我们进行了应用有将制冷循环和热交换器组合而成的除湿装置的热交换型换气装置的开发。作为将制冷循环和热交换器组合而成的除湿装置,例如,已知专利文献1所记载的除湿装置。In recent years, due to the influence of global warming and the improvement of the airtightness of houses, especially in summer, the indoor heat and humidity are not exhausted, and the indoor becomes hot and humid, so there is a possibility that the indoor comfort of the occupants is impaired. concerns. In order to improve indoor comfort in summer, it is particularly important to reduce indoor humidity, so heat exchange ventilation devices with a dehumidification function that perform heat exchange and ventilation while adjusting indoor humidity have been sought. Therefore, as a heat-exchange-type ventilator with a dehumidification function, we have developed a heat-exchange-type ventilator using a dehumidifier that combines a refrigeration cycle and a heat exchanger. As a dehumidifier combining a refrigeration cycle and a heat exchanger, for example, a dehumidifier described in Patent Document 1 is known.

如图9所示,现有的除湿装置1100构成为在使从空气吸入口1101吸入到主体外壳1102内的空气(空气X、空气Y)通过除湿部1103后,将该空气从空气吹出口1104向主体外壳1102外吹出。除湿部1103具备制冷循环和热交换器1111。制冷循环将压缩机1105、散热器1106、膨胀器1107、吸热器1108依次连结。热交换器1111配置在吸热器1108与散热器1106之间,并在流动在第一流路1109的空气X与流动在第二流路1110的空气Y之间进行热交换。As shown in FIG. 9 , a conventional dehumidifier 1100 is configured such that after air (air X, air Y) sucked into a main body casing 1102 from an air inlet 1101 passes through a dehumidifier 1103, the air is blown out from an air outlet 1104. Blow out to the outside of the main body casing 1102 . The dehumidifier 1103 includes a refrigeration cycle and a heat exchanger 1111 . In the refrigeration cycle, a compressor 1105, a radiator 1106, an expander 1107, and a heat absorber 1108 are sequentially connected. The heat exchanger 1111 is disposed between the heat absorber 1108 and the radiator 1106 , and performs heat exchange between the air X flowing in the first flow path 1109 and the air Y flowing in the second flow path 1110 .

并且,在第一流路1109流动的空气X在吸热器1108冷却而产生结露。由冷却后的空气X产生的结露水被回收。另一方面,在第二流路1110流动的空气Y与被吸热器1108冷却了的空气X进行热交换而被冷却,从而产生结露。由冷却后的空气Y产生的结露水也被回收。像这样,通过除湿装置1100来进行空气的除湿。Then, the air X flowing through the first flow path 1109 is cooled by the heat absorber 1108 to generate dew condensation. The condensation water generated by the cooled air X is recovered. On the other hand, the air Y flowing through the second flow path 1110 exchanges heat with the air X cooled by the heat absorber 1108 to be cooled, and dew condensation occurs. Dew condensation water generated from the cooled air Y is also recovered. In this way, dehumidification of air is performed by the dehumidifier 1100 .

但是,现有的除湿装置1100构成为为了对制冷循环的散热器1106进行冷却而使除湿后的空气通过散热器1106。在散热器1106中,除了被吸热器1108吸收的能量以外,用于通过压缩机1105使制冷循环内的制冷剂循环的能量也被排出,因此通过了散热器1106的除湿后的空气的温度上升为除湿前的空气的温度以上。其结果是,在将现有的除湿装置1100的除湿机构配置于热交换型换气装置的供气风路并进行了除湿的情况下,产生除湿后的空气(温度上升了的空气)直接作为供气流向室内吹出而损害室内的舒适性的课题。However, the conventional dehumidifier 1100 is configured to pass dehumidified air through the radiator 1106 in order to cool the radiator 1106 of the refrigeration cycle. In the radiator 1106, in addition to the energy absorbed by the heat absorber 1108, the energy used to circulate the refrigerant in the refrigeration cycle through the compressor 1105 is also discharged, so the temperature of the dehumidified air passing through the radiator 1106 Rise above the temperature of the air before dehumidification. As a result, when the dehumidification mechanism of the conventional dehumidification device 1100 is arranged in the air supply air path of the heat exchange type ventilator to perform dehumidification, the dehumidified air (air whose temperature has been raised) is generated as it is. The problem that the supply air is blown into the room and impairs the comfort of the room.

本发明是为了解决上述课题而完成的,其提供能够对伴随除湿而产生的温度上升得到抑制的供气流进行输送的带除湿功能的热交换型换气装置。The present invention was made in order to solve the above-mentioned problems, and provides a heat exchange type ventilator with a dehumidification function capable of sending a supply air flow whose temperature rise accompanying dehumidification is suppressed.

为了达成该目的,本发明的带除湿功能的热交换型换气装置具备:热交换型换气装置,其在排气流与供气流之间进行热交换,该排气流在用于将室内的空气向室外排出的排气风路流通,该供气流在用于将室外的空气向室内供给的供气风路流通;以及除湿装置,其对供气流进行除湿。除湿装置包括:制冷循环,其构成为包括压缩机、散热器、膨胀器以及吸热器;热交换器,其配置在吸热器与散热器之间,并在流动在第一流路的空气与流动在第二流路的空气之间进行热交换;以及水导入部,其至少将在吸热器中结露的水向散热器导入。除湿装置构成为从供气风路导入热交换后的供气流,并且从排气风路导入排气流。导入到除湿装置的供气流的一部分依次在吸热器、第一流路流通并向供气风路导出。导入到除湿装置的供气流的另一部分在第二流路流通并向供气风路导出。散热器被从水导入部导入的水冷却。导入到除湿装置的排气流在被从导入部导入的水冷却了的散热器流通并向排气风路导出。In order to achieve this object, the heat exchange type ventilator with dehumidification function of the present invention includes: a heat exchange type ventilator that performs heat exchange between the exhaust air flow and the supply air flow, and the exhaust air flow is used for indoor The air exhausted to the outside flows through the exhaust air path, and the supply air flows through the supply air path for supplying outdoor air to the room; and the dehumidifier dehumidifies the supply air. The dehumidification device includes: a refrigeration cycle, which is composed of a compressor, a radiator, an expander, and a heat absorber; heat exchange between the air flowing in the second flow path; and a water introduction part that introduces at least water condensed in the heat absorber to the radiator. The dehumidifier is configured so that the heat-exchanged supply air is introduced from the air supply air passage, and the exhaust air is introduced from the exhaust air passage. A part of the supply air flow introduced into the dehumidification device flows through the heat absorber and the first flow path sequentially, and is led out to the supply air flow path. The other part of the supply air introduced into the dehumidifier flows through the second flow path and is led out to the supply air path. The radiator is cooled by water introduced from the water introduction part. The exhaust flow introduced into the dehumidifier flows through the radiator cooled by the water introduced from the introduction part, and is led out to the exhaust air passage.

根据本发明,能够提供可以对伴随除湿而产生的温度上升得到抑制的供气流进行输送的带除湿功能的热交换型换气装置。According to the present invention, it is possible to provide a heat exchange type ventilator with a dehumidification function capable of sending a supply air flow in which a temperature rise accompanying dehumidification is suppressed.

本发明的带除湿功能的热交换型换气装置具备:热交换型换气装置,其在排气流与供气流之间进行热交换,该排气流在用于将室内的空气向室外排出的排气风路流通,该供气流在用于将室外的空气向室内供给的供气风路流通;以及除湿装置,其对供气流进行除湿。除湿装置包括:制冷循环,其构成为包括压缩机、散热器、膨胀器以及吸热器;热交换器,其配置在吸热器与散热器之间,并在流动在第一流路的空气与流动在第二流路的空气之间进行热交换;以及水导入部,其至少将在吸热器中结露的水向散热器导入。除湿装置构成为从供气风路导入热交换后的供气流,并且从排气风路导入排气流。导入到除湿装置的供气流的一部分依次在吸热器、第一流路流通并向供气风路导出。导入到除湿装置的供气流的另一部分在第二流路流通并向供气风路导出。散热器被从水导入部导入的水冷却。导入到除湿装置的排气流在被从导入部导入的水冷却了的散热器流通并向排气风路导出。The heat exchange type ventilator with dehumidification function of the present invention includes: a heat exchange type ventilator that performs heat exchange between an exhaust flow and a supply air flow for discharging indoor air to the outside. The exhaust air path circulates, and the supply air flow circulates in the air supply air path for supplying outdoor air to the room; and the dehumidification device dehumidifies the supply air flow. The dehumidification device includes: a refrigeration cycle, which is composed of a compressor, a radiator, an expander, and a heat absorber; heat exchange between the air flowing in the second flow path; and a water introduction part that introduces at least water condensed in the heat absorber to the radiator. The dehumidifier is configured so that the heat-exchanged supply air is introduced from the air supply air passage, and the exhaust air is introduced from the exhaust air passage. A part of the supply air flow introduced into the dehumidification device flows through the heat absorber and the first flow path sequentially, and is led out to the supply air flow path. The other part of the supply air introduced into the dehumidifier flows through the second flow path and is led out to the supply air path. The radiator is cooled by water introduced from the water introduction part. The exhaust flow introduced into the dehumidifier flows through the radiator cooled by the water introduced from the introduction part, and is led out to the exhaust air passage.

根据这样的结构,能够通过从水导入部向散热器导入的水的显热或气化热以及来自热交换型换气装置的排气流(在需要除湿的夏季,是温度比供气流低的排气流)的空气热得到除湿装置中的散热器的冷却(排热)所需的能量,因此能够有效地冷却散热器,从而能够抑制除湿后的空气(供气流)的温度上升。其结果是,即使在应用了将制冷循环和热交换器组合而成的除湿装置的情况下,也能够对伴随除湿而产生的温度上升得到抑制的供气流进行输送。也就是说,能够成为可以对伴随除湿而产生的温度上升得到抑制的供气流进行输送的带除湿功能的热交换型换气装置。According to such a structure, the sensible heat or heat of vaporization of the water introduced from the water introduction part to the radiator and the exhaust flow from the heat exchange type ventilator (in summer when dehumidification is required, the temperature is lower than that of the supply airflow). The heat of the air in the exhaust air flow) obtains the energy required for cooling (exhausting heat) of the radiator in the dehumidifier, so the radiator can be effectively cooled, and the temperature rise of the dehumidified air (supply air flow) can be suppressed. As a result, even when a dehumidifier combining a refrigeration cycle and a heat exchanger is used, it is possible to send a supply air flow in which a temperature rise caused by dehumidification is suppressed. In other words, it is possible to provide a heat exchange type ventilator with a dehumidification function capable of sending a supply air flow in which a temperature rise accompanying dehumidification is suppressed.

另外,在本发明的带除湿功能的热交换型换气装置中,散热器具有:第一区域,其配置在排气风路内并供排气流流通;以及第二区域,其与第一区域连结,配置在供气风路内并供供气流流通。并且,在除湿装置中被除湿了的供气流在被从水导入部导入的水冷却了的散热器的第二区域流通并向供气风路导出。导入到除湿装置的排气流在借助第二区域而被从水导入部导入的水冷却了的第一区域流通并向排气风路导出。In addition, in the heat exchange type ventilator with dehumidification function of the present invention, the radiator has: a first area, which is arranged in the exhaust air passage and allows exhaust flow to flow; and a second area, which is connected to the first area. The area connection is arranged in the air supply air path and allows the supply air to circulate. Then, the air supply air dehumidified in the dehumidifier flows through the second region of the radiator cooled by the water introduced from the water introduction part, and is led out to the air supply air passage. The exhaust flow introduced into the dehumidifier flows through the first area cooled by the water introduced from the water introduction part via the second area, and is led out to the exhaust air passage.

根据这样的结构,从水导入部导入的水直接冷却供除湿后的空气(供气流)流通的散热器的第二区域,因此能够可靠地抑制供气流的温度上升。According to such a configuration, the water introduced from the water introduction part directly cools the second region of the radiator through which the dehumidified air (supply air flow) flows, so that the temperature rise of the supply air flow can be reliably suppressed.

另外,在发明的带除湿功能的热交换型换气装置中,散热器配置在排气风路内并供排气流流通。并且,从除湿装置向供气风路导出的供气流以不在散热器流通的方式向供气风路导出。导入到除湿装置的排气流在被从水导入部导入的水冷却了的散热器流通并向排气风路导出。In addition, in the heat exchange type ventilator with dehumidification function of the invention, the radiator is arranged in the exhaust air passage and supplies the exhaust flow. In addition, the air supply air flow led from the dehumidifier to the air supply air path is led to the air supply air path so as not to flow through the radiator. The exhaust flow introduced into the dehumidifier flows through the radiator cooled by the water introduced from the water introduction part, and is led out to the exhaust air passage.

根据这样的结构,除湿后的空气(供气流)以不在散热器流通的方式向室内吹出,因此能够可靠地抑制伴随除湿而产生的温度上升。According to such a configuration, since the dehumidified air (supply air flow) is blown into the room without passing through the radiator, the temperature rise accompanying the dehumidification can be reliably suppressed.

另外,在本发明的带除湿功能的热交换型换气装置中,水导入部构成为将在吸热器中结露的水以及在热交换部中结露的水收集并向散热器导入。In addition, in the heat exchange type ventilator with a dehumidification function according to the present invention, the water introduction part is configured to collect the water condensed in the heat absorber and the water condensed in the heat exchange part, and introduce them to the radiator.

根据这样的结构,能够使向散热器导入的水的量进一步增加,因此能够稳定地冷却散热器。According to such a structure, since the quantity of the water introduced into a radiator can be further increased, a radiator can be cooled stably.

另外,在本发明的带除湿功能的热交换型换气装置中,从除湿装置向室内供给的供气流的温度通过控制供气流的一部分的风量与供气流的另一部分的风量的比率来调节。In addition, in the heat exchange type ventilator with dehumidification function of the present invention, the temperature of the supply air supplied from the dehumidifier to the room is adjusted by controlling the ratio of the air volume of a part of the supply air to the air volume of the other part of the supply air.

根据这样的结构,能够通过被吸热器冷却了的气流(在第一流路流通后的供气流的一部分)使在第二流路流通后的供气流的另一部分的温度进一步降低,因此能够容易地将向室内供给的供气流的温度调整为所希望的温度。According to such a structure, the temperature of the other part of the supply air flow after flowing through the second flow path can be further lowered by the air flow cooled by the heat absorber (a part of the supply air flow after flowing through the first flow path), so it is possible to easily The temperature of the supply air supplied to the room is adjusted to the desired temperature.

以下,参照附图对用于实施本发明的方式进行说明。需要说明的是,以下的实施方式是将本发明具体化的一例,并不对本发明的技术范围进行限定。另外,在所有附图中,对相同的部位标注相同的附图标记并省略说明。并且,对于并不直接与本发明相关的各部分的详细情况,为了避免重复而省略每个附图的说明。Hereinafter, modes for implementing the present invention will be described with reference to the drawings. In addition, the following embodiment is an example which actualized this invention, and does not limit the technical scope of this invention. In addition, in all drawings, the same code|symbol is attached|subjected to the same part, and description is abbreviate|omitted. In addition, the description of each drawing will be omitted in order to avoid repetition of the details of each part that is not directly related to the present invention.

以下,参照附图对本发明的实施方式进行说明。Hereinafter, embodiments of the present invention will be described with reference to the drawings.

(前提例)(premise example)

首先,参照图26、图27对成为本发明的实施方式的前提例的热交换型换气装置进行说明。图26是示出本发明的前提例的热交换型换气装置在住宅中的设置状态的示意图。图27是示出本发明的前提例的热交换型换气装置的结构的示意图。First, a heat exchange type ventilator serving as a premise example of an embodiment of the present invention will be described with reference to FIGS. 26 and 27 . Fig. 26 is a schematic diagram showing an installation state of a heat exchange type ventilator of a precondition example of the present invention in a house. Fig. 27 is a schematic diagram showing the configuration of a heat exchange type ventilator according to a precondition example of the present invention.

在图26中,在家301的室内设置有热交换型换气装置310。热交换型换气装置310是一边对室内的空气与室外的空气进行热交换一边进行换气的装置。In FIG. 26 , a heat exchange type ventilator 310 is installed in a room of a house 301 . The heat exchange type ventilator 310 is a device that ventilates while exchanging heat between indoor air and outdoor air.

如图26所示,排气流302如黑色箭头所示那样经由热交换型换气装置310而被排放至室外。排气流302是从室内向室外排出的空气流。另外,供气流303如白色箭头所示那样经由热交换型换气装置310而被取入到室内。供气流303是从室外取入到室内的空气流。例如举出日本的冬季为例,排气流302为20℃~25℃,与此相对供气流303有时会到达冰点以下。热交换型换气装置310进行换气,并且在该换气时,将排气流302的热量向供气流303传递,从而抑制不必要的热量的排放。As shown in FIG. 26 , the exhaust flow 302 is discharged to the outside through the heat exchange type ventilator 310 as indicated by the black arrow. Exhaust flow 302 is the flow of air discharged from the room to the outside. In addition, the supply air flow 303 is taken into the room via the heat exchange type ventilator 310 as indicated by a white arrow. The supply air flow 303 is the air flow taken in from the outside into the room. For example, taking winter in Japan as an example, the exhaust air flow 302 is 20° C. to 25° C., whereas the supply air flow 303 may be below the freezing point. The heat exchange type ventilator 310 performs ventilation, and during the ventilation, transfers the heat of the exhaust flow 302 to the supply flow 303 to suppress unnecessary heat emission.

如图27所示,热交换型换气装置310具备主体外壳311、热交换元件312、排气风扇313、内气口314、排气口315、供气风扇316、外气口317、供气口318、排气风路304、供气风路305。主体外壳311是热交换型换气装置310的外框。在主体外壳311的外周形成有内气口314、排气口315、外气口317、供气口318。内气口314是将排气流302吸入热交换型换气装置310的吸入口。排气口315是将排气流302从热交换型换气装置310向室外排出的排出口。外气口317是将供气流303吸入热交换型换气装置310的吸入口。供气口318是将供气流303从热交换型换气装置310向室内排出的排出口。As shown in Figure 27, the heat exchange type ventilator 310 has a main body shell 311, a heat exchange element 312, an exhaust fan 313, an inner air port 314, an exhaust port 315, an air supply fan 316, an outer air port 317, and an air supply port 318. , exhaust air path 304, air supply air path 305. The main body casing 311 is the outer frame of the heat exchange type ventilator 310 . An inner air port 314 , an exhaust port 315 , an outer air port 317 , and an air supply port 318 are formed on the outer periphery of the main body casing 311 . The inner air port 314 is a suction port for sucking the exhaust flow 302 into the heat exchange type ventilator 310 . The exhaust port 315 is a discharge port for discharging the exhaust flow 302 from the heat exchange type ventilator 310 to the outside. The external air port 317 is a suction port for sucking the supply air 303 into the heat exchange type ventilator 310 . The air supply port 318 is a discharge port for discharging the supply air flow 303 from the heat exchange type ventilator 310 into the room.

在主体外壳311的内部安装有热交换元件312、排气扇313、供气扇316。另外,在主体外壳311的内部构成有排气风路304、供气风路305。热交换元件312是用于在流通在排气风路304的排气流302与流通在供气风路305的供气流303之间进行热交换(显热和潜热)的构件。排气风扇313设置在排气口315附近,是用于将排气流302从内气口314吸入并从排气口315排出的鼓风机。供气风扇316设置在供气口318附近,是用于将供气流303从外气口317吸入并从供气口318排出的鼓风机。排气风路304是连通内气口314与排气口315的风路。供气风路305是连通外气口317与供气口318的风路。由排气风扇313吸入的排气流302经由排气风路304内的热交换元件312、排气风扇313从排气口315被排出至室外。另外,由供气风扇316吸入的供气流303经由供气风路305内的热交换元件312、供气风扇316从供气口318被供给到室内。A heat exchange element 312 , an exhaust fan 313 , and an air supply fan 316 are installed inside the main body casing 311 . In addition, an exhaust air passage 304 and an air supply air passage 305 are formed inside the main body casing 311 . The heat exchange element 312 is a member for exchanging heat (sensible heat and latent heat) between the exhaust air flow 302 flowing through the exhaust air passage 304 and the supply air flow 303 flowing through the supply air passage 305 . The exhaust fan 313 is provided near the exhaust port 315 , and is a blower for sucking the exhaust flow 302 from the inner air port 314 and discharging it from the exhaust port 315 . The air supply fan 316 is provided near the air supply port 318 and is a blower for sucking the supply airflow 303 from the external air port 317 and discharging it from the air supply port 318 . The exhaust air passage 304 is an air passage connecting the inner air port 314 and the exhaust port 315 . The air supply air path 305 is an air path connecting the external air port 317 and the air supply port 318 . The exhaust flow 302 sucked in by the exhaust fan 313 is discharged to the outside through the exhaust port 315 via the heat exchange element 312 in the exhaust air passage 304 and the exhaust fan 313 . In addition, the air supply airflow 303 sucked by the air supply fan 316 is supplied into the room from the air supply port 318 via the heat exchange element 312 in the air supply air path 305 and the air supply fan 316 .

热交换型换气装置310在进行热交换换气的情况下,使热交换元件312的排气风扇313以及供气风扇316进行动作,从而在热交换元件312中,在流通在排气风路304的排气流302与流通在供气风路305的供气流303之间进行热交换。由此,热交换型换气装置310在进行换气时,将向室外排放的排气流302的热量向取入到室内的供气流303传递,从而抑制不必要的热量的排放,而向室内回收热量。其结果是,在冬季,在进行换气时,能够抑制室内的温度由于室外的温度较低的空气而降低的情况。另一方面,在夏季,在进行换气时,能够抑制室内的温度由于室外的温度较高的空气而上升的情况。When the heat exchange type ventilator 310 performs heat exchange and ventilation, the exhaust fan 313 and the air supply fan 316 of the heat exchange element 312 are operated, so that in the heat exchange element 312, the Heat exchange is performed between the exhaust air flow 302 at 304 and the air supply air flow 303 flowing through the air supply air path 305 . Thus, when the heat exchange type ventilator 310 performs ventilation, the heat of the exhaust air flow 302 discharged to the outside is transferred to the air supply air flow 303 taken into the room, thereby suppressing the discharge of unnecessary heat and allowing the heat to be released indoors. heat recovery. As a result, in winter, when ventilation is performed, it is possible to suppress a decrease in the indoor temperature due to the low-temperature outdoor air. On the other hand, in summer, when ventilation is performed, it is possible to suppress an increase in indoor temperature due to outdoor air having a high temperature.

实施方式4至少包含以下的实施方式4-1以及实施方式4-2。Embodiment 4 includes at least the following Embodiments 4-1 and 4-2.

(实施方式4-1)(Embodiment 4-1)

接下来,参照图28对实施方式4-1的带除湿功能的热交换型换气装置进行说明。图28是示出本发明的实施方式4-1的带除湿功能的热交换型换气装置的结构的示意图。需要说明的是,在图28以后的各示意图中,将排气风路304以及供气风路305兼作为热交换型换气装置310内的排气流302以及供气流303的流动(黑箭头)进行标记。Next, a heat exchange type ventilator with a dehumidification function according to Embodiment 4-1 will be described with reference to FIG. 28 . Fig. 28 is a schematic diagram showing the configuration of a heat exchange type ventilator with a dehumidification function according to Embodiment 4-1 of the present invention. It should be noted that in each schematic diagram after FIG. 28 , the exhaust air passage 304 and the air supply air passage 305 are also used as the flow of the exhaust air flow 302 and the air supply air flow 303 in the heat exchange type ventilator 310 (black arrows). ) to mark.

如图28所示,实施方式4-1的带除湿功能的热交换型换气装置350具有相对于前提例的热交换型换气装置310连结作为赋予除湿功能的机构的除湿装置330而成的结构。As shown in FIG. 28, the heat-exchange-type ventilator 350 with a dehumidification function according to Embodiment 4-1 has a dehumidifier 330 as a mechanism for imparting a dehumidification function to the heat-exchange-type ventilator 310 of the preceding example. structure.

除湿装置330是用于进行热交换型换气装置310中的热交换后的供气流303的除湿的单元。除湿装置330具备:制冷循环,其构成为包括压缩机331、散热器332、膨胀器333以及吸热器334;热交换器335;以及水导入部338。并且,本实施方式的制冷循环构成为将压缩机331、散热器332、膨胀器333以及吸热器334依次连结为环状。在制冷循环中,例如,利用替代氟利昂(HFC134a)作为制冷剂。另外,构成制冷循环的各设备的连结多使用铜管,且以焊接方式连结。The dehumidifier 330 is a means for dehumidifying the heat-exchanged supply airflow 303 in the heat exchange type ventilator 310 . The dehumidifier 330 includes: a refrigeration cycle including a compressor 331 , a radiator 332 , an expander 333 , and a heat absorber 334 ; a heat exchanger 335 ; and a water introduction unit 338 . In addition, the refrigeration cycle of the present embodiment is configured by sequentially linking the compressor 331 , the radiator 332 , the expander 333 , and the heat absorber 334 in a ring shape. In the refrigeration cycle, for example, alternative Freon (HFC134a) is used as a refrigerant. In addition, copper pipes are often used for connecting the various devices that constitute the refrigeration cycle, and they are connected by welding.

压缩机331是对制冷循环中的低温、低压的制冷剂气体(工作介质气体)进行压缩而提高压力使其高温化的设备。在本实施方式中,压缩机331将制冷剂气体的温度高温化至45℃左右。The compressor 331 is a device that compresses low-temperature and low-pressure refrigerant gas (working medium gas) in the refrigeration cycle to increase the pressure and increase the temperature. In the present embodiment, the compressor 331 raises the temperature of the refrigerant gas to about 45°C.

散热器332是在通过压缩机331而成为高温、高压的制冷剂气体与空气(排气流302)之间进行热交换从而向外部(制冷循环外)排放热量的设备。此时,制冷剂气体在高压下被冷凝而液化。在散热器332中,导入的制冷剂气体的温度(45℃左右)高于空气的温度,因此若进行热交换,则空气升温,制冷剂气体被冷却。需要说明的是,散热器32也称为冷凝器。The radiator 332 is a device for exchanging heat between the high-temperature, high-pressure refrigerant gas and air (exhaust gas flow 302 ) by the compressor 331 to discharge heat to the outside (outside the refrigeration cycle). At this time, the refrigerant gas is condensed and liquefied under high pressure. In the radiator 332, since the temperature (about 45 degreeC) of the refrigerant gas introduced is higher than the temperature of air, when heat exchange is performed, the temperature of the air rises and the refrigerant gas is cooled. It should be noted that the radiator 32 is also called a condenser.

另外,散热器332延伸配置至后述的水导入部338的下方。并且,散热器332被区分为第一区域332a以及第二区域332b,该第一区域332a配置在排气风路304内并供排气流302流通,该第二区域332b配置在供气风路305内并供供气流303流通。第一区域332a与第二区域332b以向各自的区域流动的空气(排气流302、供气流303)不会混合的方式被划分,但构成为热连结。也就是说,若第一区域332a被冷却,则第二区域332b也连锁地被冷却,另一方面,若第二区域332b被冷却,则第一区域332a也连锁地被冷却。In addition, the radiator 332 is extended and arranged below the water introduction part 338 mentioned later. In addition, the radiator 332 is divided into a first area 332a and a second area 332b. The first area 332a is arranged in the exhaust air passage 304 and supplies the exhaust flow 302 to flow. The second area 332b is arranged in the air supply air passage. 305 and for supply airflow 303 to circulate. The first region 332a and the second region 332b are divided so that the air (exhaust flow 302, supply flow 303) flowing into the respective regions does not mix, but are configured to be thermally connected. That is, when the first region 332a is cooled, the second region 332b is also cooled in a chain, and on the other hand, when the second region 332b is cooled, the first region 332a is also cooled in a chain.

膨胀器333是对通过散热器332而液化了的高压的制冷剂进行减压从而使其成为原本的低温、低压的液体的设备。需要说明的是,膨胀器333也称为膨胀阀。The expander 333 is a device that decompresses the high-pressure refrigerant liquefied by the radiator 332 to convert it into an original low-temperature and low-pressure liquid. It should be noted that the expander 333 is also called an expansion valve.

吸热器334是使在膨胀器333流通后的制冷剂从空气吸收热量而蒸发并使液状的制冷剂成为低温、低压的制冷剂气体的设备。在吸热器334中,导入的制冷剂的温度低于空气的温度,因此若进行热交换,则空气被冷却,制冷剂升温。需要说明的是,吸热器334也称为蒸发器。The heat absorber 334 is a device that absorbs heat from the air to evaporate the refrigerant that has passed through the expander 333 , and turns the liquid refrigerant into a low-temperature, low-pressure refrigerant gas. In the heat absorber 334, since the temperature of the refrigerant|coolant introduced into the heat absorber 334 is lower than the temperature of air, when heat exchange is performed, the air is cooled and the temperature of the refrigerant rises. It should be noted that the heat absorber 334 is also called an evaporator.

热交换器335是具备显热型的热交换元件的热交换器。热交换器335与现有的除湿装置1100中的热交换器1111(参照图9)同样地配置在吸热器334与散热器332之间的空间。在热交换器335的内部设置有供空气向规定的方向流动的第一流路336、以及供空气向与第一流路336大致正交的方向流动的第二流路337。第一流路336是将从吸热器334导入的空气向散热器332导出的流路。第二流路337是将从热交换型换气装置310导入的空气向散热器332导出的流路。并且,热交换器335在流动在第一流路336的空气与流动在第二流路337的空气之间仅对显热进行交换。The heat exchanger 335 is a heat exchanger including a sensible heat type heat exchange element. Heat exchanger 335 is arranged in the space between heat absorber 334 and radiator 332 similarly to heat exchanger 1111 (see FIG. 9 ) in conventional dehumidifier 1100 . Inside the heat exchanger 335 are provided a first flow path 336 through which air flows in a predetermined direction, and a second flow path 337 through which air flows in a direction substantially perpendicular to the first flow path 336 . The first flow path 336 is a flow path that leads the air introduced from the heat absorber 334 to the radiator 332 . The second flow path 337 is a flow path that leads the air introduced from the heat exchange type ventilator 310 to the radiator 332 . Furthermore, the heat exchanger 335 exchanges only sensible heat between the air flowing through the first flow path 336 and the air flowing through the second flow path 337 .

水导入部338是用于在漏斗状的集水部对由于在除湿处理中发生结露而产生的水(结露水)进行收集并将该水向散热器332导入的设备。具体而言,水导入部338设置在吸热器334以及热交换器335的下方,对在吸热器334中结露的水(结露水334a)以及在热交换器335中结露的水(结露水335a)进行收集,并将该水向散热器332导入。水向散热器332的导入例如通过从水导入部338的自然落下而进行。导入到散热器332的水(结露水334a、结露水335a)附着于构成散热器332的散热管等的表面,并由于散热器332的热量而温度上升或气化。在此,温度上升了的水向散热器332的下方流落,并从与住宅设施的排水设备连接的排水管339排出。另一方面,气化了的水通过在散热器332流通的供气流303而向供气风路305导出,并向室内排出。需要说明的是,虽然气化的水为极少的一部分,但向供气风路305导出的供气流303的湿度由于气化了的水而上升。因此,在本实施方式中,反映出由于气化的水而上升的湿度量来控制向供气风路305导出的供气流303的湿度。The water introduction part 338 is a device for collecting water (condensation water) generated by dew condensation in the dehumidification process in a funnel-shaped water collection part and introducing the water to the radiator 332 . Specifically, the water introduction part 338 is provided below the heat absorber 334 and the heat exchanger 335, and the water condensed in the heat absorber 334 (dew condensation water 334a) and the water condensed in the heat exchanger 335 ( The dew condensation water 335a) is collected, and the water is introduced to the radiator 332 . Water is introduced into the radiator 332 by, for example, falling naturally from the water introduction part 338 . The water introduced into the radiator 332 (dew condensation water 334 a , dew condensation water 335 a ) adheres to the surface of heat radiation pipes constituting the radiator 332 , and rises in temperature or vaporizes due to the heat of the radiator 332 . Here, the temperature-raised water flows down the radiator 332 and is discharged from the drain pipe 339 connected to the drain of the residential facility. On the other hand, the vaporized water is led out to the air supply air passage 305 by the air supply air flow 303 flowing through the radiator 332, and discharged into the room. It should be noted that although the vaporized water is a very small part, the humidity of the supply air flow 303 led out to the supply air duct 305 is increased by the vaporized water. Therefore, in the present embodiment, the humidity of the air supply air flow 303 led out to the air supply air passage 305 is controlled by reflecting the amount of humidity raised by the vaporized water.

接下来,参照图28对热交换型换气装置310与除湿装置330之间的气流(排气流302、供气流303)的流动进行说明。需要说明的是,在以下的说明中,热交换后的气流(排气流302、供气流303)或风路(排气风路304、供气风路305)表示通过热交换型换气装置310中的热交换元件312后的气流或风路,热交换前的气流或风路表示通过热交换元件312前的气流或风路。Next, the flow of the airflow (exhaust airflow 302, supply airflow 303) between the heat exchange type ventilator 310 and the dehumidifier 330 will be described with reference to FIG. 28 . It should be noted that, in the following description, the airflow (exhaust airflow 302, supply airflow 303) or the air path (exhaust air path 304, air supply air path 305) after heat exchange means that the air flow through the heat exchange type ventilator The airflow or air path after the heat exchange element 312 in 310 and the airflow or air path before heat exchange represent the airflow or air path before passing through the heat exchange element 312 .

如图28所示,在热交换型换气装置310中,在热交换后的排气风路304设置有切换风门340,在热交换后的供气风路305设置有切换风门341。切换风门340是用于对使在排气风路304流通的排气流302向室外流动的状态、以及使在排气风路304流通的排气流302向除湿装置330流动的状态进行切换的风门。另外,切换风门341是用于对使在供气风路305流通的供气流303向室内流动的状态、以及使在供气风路305流通的供气流303向除湿装置330流动的状态进行切换的风门。As shown in FIG. 28 , in the heat exchange type ventilator 310 , a switching damper 340 is provided in the exhaust air passage 304 after heat exchange, and a switching damper 341 is provided in the air supply air passage 305 after heat exchange. The switching damper 340 is used to switch between the state where the exhaust air flow 302 flowing through the exhaust air passage 304 flows to the outside and the state where the exhaust air flow 302 flowing through the exhaust air passage 304 flows to the dehumidifier 330 . throttle. In addition, the switching damper 341 is for switching between the state where the air supply air 303 flowing through the air supply air passage 305 flows into the room and the state in which the air supply air 303 flowing through the air supply air passage 305 flows to the dehumidifier 330 . throttle.

在带除湿功能的热交换型换气装置350中,利用各切换风门成为气流向除湿装置330流动的状态,从而对热交换后的供气流303执行除湿。关于除湿的详细情况将后述。需要说明的是,在无需除湿的冬季等情况下,利用各切换风门成为气流不向除湿装置330流动的状态,从而由除湿装置330引起的压力损失的上升得到抑制,作为带除湿功能的热交换型换气装置350,能够实现全年的节能下的运转。In the heat exchange type ventilator 350 with a dehumidification function, each switching damper is used to make the airflow flow to the dehumidifier 330 , thereby dehumidifying the heat-exchanged supply airflow 303 . Details about dehumidification will be described later. It should be noted that, in winter when dehumidification is not required, the airflow does not flow to the dehumidifier 330 by using each switching damper, so that the increase in pressure loss caused by the dehumidifier 330 is suppressed. The type ventilator 350 can realize energy-saving operation throughout the year.

另外,如图28所示,在除湿装置330设置有分支风门342,该分支风门342将向内部导入的热交换后的供气流303分割为两股气流(第一供气流303a、第二供气流303b)。第一供气流303a是向吸热器334导入并在第一流路336流通的气流,第二供气流303b是向热交换器335导入并在第二流路337流通的气流。分支风门342构成为使第一供气流303a的风量与第二供气流303b的风量的比率可变。也就是说,分支风门342能够通过调整风门的角度(热交换后的供气流303的分支比例)而容易地增减第一供气流303a相对于第二供气流303b的比例。在此,第一供气流303a相当于技术方案的“导入到除湿装置的供气流的一部分”,第二供气流303b相当于技术方案的“导入到除湿装置的供气流的另一部分”。In addition, as shown in FIG. 28 , the dehumidifier 330 is provided with a branch damper 342 that divides the heat-exchanged air supply flow 303 introduced into the inside into two airflows (the first supply airflow 303a, the second supply airflow 303a, and the second airflow). 303b). The first supply airflow 303 a is an airflow introduced to the heat absorber 334 and circulated in the first flowpath 336 , and the second supply airflow 303 b is an airflow introduced into the heat exchanger 335 and circulated in the second flowpath 337 . The branch damper 342 is configured to vary the ratio of the air volume of the first supply air flow 303a to the air volume of the second supply air flow 303b. That is, the branch damper 342 can easily increase or decrease the ratio of the first supply airflow 303 a to the second supply airflow 303 b by adjusting the angle of the damper (the branching ratio of the heat-exchanged supply airflow 303 ). Here, the first supply airflow 303a corresponds to "a part of the supply airflow introduced into the dehumidifier" of the claim, and the second supply airflow 303b corresponds to "the other part of the supply airflow introduced into the dehumidifier" of the claim.

在除湿装置330中,分割后的供气流303中的第一供气流303a在依次流通过吸热器334、热交换器335的第一流路336、散热器332后,向热交换型换气装置310中的热交换后的供气风路305导出。另一方面,第二供气流303b在依次流通过热交换器335的第二流路337、散热器332后,向热交换后的供气风路305导出。在本实施方式中,除湿装置330构成为使在热交换器335流通后的第一供气流303a与在热交换器335流通后的第二供气流303b在合流后,向热交换后的供气风路305导出。由此,进行作为向室内输送的供气流303的温度调整。关于向室内输送的供气流303的温度调整方法将后述。In the dehumidification device 330, the first supply airflow 303a in the divided supply airflow 303 flows through the heat absorber 334, the first flow path 336 of the heat exchanger 335, and the radiator 332 in sequence, and then flows to the heat exchange type ventilation device. The air supply air path 305 after the heat exchange in 310 is led out. On the other hand, the second supply air flow 303b flows through the second flow channel 337 of the heat exchanger 335 and the radiator 332 in sequence, and then is led out to the heat-exchanged supply air channel 305 . In this embodiment, the dehumidifier 330 is configured such that the first supply airflow 303a after passing through the heat exchanger 335 and the second supply airflow 303b after passing through the heat exchanger 335 are merged, and then the heat-exchanged supply air Wind road 305 leads out. Thereby, temperature adjustment is performed as the supply air flow 303 sent into the room. A method for adjusting the temperature of the supply air flow 303 sent into the room will be described later.

另一方面,导入到除湿装置330的排气流302在流通过散热器332后,向热交换型换气装置310中的热交换后的排气风路304导出。也就是说,在本实施方式中,除湿装置330构成为通过从热交换型换气装置310导入的排气流2来冷却散热器332。On the other hand, the exhaust flow 302 introduced into the dehumidifier 330 passes through the radiator 332 and then is led out to the exhaust air passage 304 after heat exchange in the heat exchange type ventilator 310 . That is, in this embodiment, the dehumidifier 330 is configured to cool the radiator 332 by the exhaust flow 2 introduced from the heat exchange type ventilator 310 .

接下来,对实施方式4-1的带除湿功能的热交换型换气装置350的除湿的动作进行说明。Next, the dehumidification operation of the heat exchange type ventilator 350 with a dehumidification function according to Embodiment 4-1 will be described.

首先,通过运转带除湿功能的热交换型换气装置350,从而排气风扇313和供气风扇316进行驱动,并在热交换型换气装置310的内部产生在排气风路304流通的排气流302以及在供气风路305流通的供气流303。First, by operating the heat exchange type ventilator 350 with a dehumidification function, the exhaust fan 313 and the air supply fan 316 are driven, and the exhaust air flowing through the exhaust air passage 304 is generated inside the heat exchange type ventilator 310 . The air flow 302 and the air supply air flow 303 circulating in the air supply air path 305 .

例如,在夏季,排气流302是被空调等调节为舒适的温度湿度的室内的空气,供气流303是高温多湿的室外的空气。For example, in summer, the exhaust air flow 302 is indoor air adjusted to a comfortable temperature and humidity by an air conditioner, and the supply air flow 303 is outdoor air with high temperature and humidity.

排气流302与供气流303在热交换型换气装置310的内部交换显热与潜热。此时,水分从高温多湿的供气流303向排气流302移动,因此供气流303的水分被去除。也就是说,通过在热交换型换气装置310的内部的全热交换,从而进行针对供气流303的除湿(第一除湿)。The exhaust flow 302 and the supply flow 303 exchange sensible heat and latent heat inside the heat exchange type ventilator 310 . At this time, moisture moves from the high-temperature and high-humidity supply airflow 303 to the exhaust airflow 302, so the moisture in the supply airflow 303 is removed. That is, dehumidification (first dehumidification) for the supply airflow 303 is performed by total heat exchange inside the heat exchange type ventilator 310 .

接下来,热交换后的供气流303向除湿装置330导入并被除湿。具体而言,导入到除湿装置330的供气流303中的第一供气流303a被吸热器334冷却。由此,第一供气流303a的温度成为露点温度以下,第一供气流303a结露,因此第一供气流303a的水分被去除。也就是说,通过在吸热器334流通,从而进行针对第一供气流303a的除湿(第二除湿)。Next, the heat-exchanged air supply air 303 is introduced into the dehumidifier 330 and dehumidified. Specifically, the first supply airflow 303 a of the supply airflow 303 introduced into the dehumidification device 330 is cooled by the heat absorber 334 . Thereby, the temperature of the 1st supply airflow 303a becomes below dew point temperature, and since the 1st supply airflow 303a condenses, the moisture of the 1st supply airflow 303a is removed. That is, by passing through the heat absorber 334, dehumidification (second dehumidification) with respect to the 1st supply airflow 303a is performed.

此外,导入到除湿装置330的供气流303中的剩余的第二供气流303b流入热交换器335的第二流路337,并与第一流路336内的被吸热器334冷却了的第一供气流303a进行热交换。由此,第二流路337内的第二供气流303b被冷却而结露,因此第二供气流303b的水分被去除。也就是说,通过在热交换器335进行显热交换,从而进行针对第二供气流303b的除湿(第三除湿)。In addition, the remaining second supply airflow 303b of the supply airflow 303 introduced into the dehumidifier 330 flows into the second flow path 337 of the heat exchanger 335, and is mixed with the first flow path 336 cooled by the heat absorber 334 in the first flow path 336. Air flow 303a is provided for heat exchange. As a result, the second supply airflow 303b in the second flow path 337 is cooled to condense dew, so the moisture in the second supply airflow 303b is removed. That is, by performing sensible heat exchange in the heat exchanger 335, dehumidification (third dehumidification) with respect to the 2nd supply airflow 303b is performed.

也就是说,带除湿功能的热交换型换气装置350通过由热交换型换气装置310、吸热器334以及热交换器335各设备进行的除湿(第一除湿~第三除湿),而将水分从室外的高温多湿的供气流303中去除,此时,确保了所需的除湿量。That is, the heat exchange type ventilator 350 with a dehumidification function performs dehumidification (first dehumidification to third dehumidification) by the heat exchange type ventilator 310, the heat absorber 334, and the heat exchanger 335. Moisture is removed from the outdoor high-temperature and humid supply airflow 303, at this time, the required dehumidification capacity is ensured.

接下来,对带除湿功能的热交换型换气装置350的除湿动作时的除湿装置330的散热器332的冷却进行说明。Next, cooling of the radiator 332 of the dehumidifier 330 during the dehumidification operation of the heat exchange type ventilator 350 with a dehumidification function will be described.

除湿装置330构成为,水导入部338对在第二除湿中结露的水(结露水334a)以及在第三除湿中结露的水(结露水335a)进行收集并将它们向散热器332(散热器332的第二区域332b)导入。另外,除湿装置330构成为,从热交换型换气装置310的排气风路304导入排气流302,并使导入的排气流302在散热器332(散热器332的第一区域332a)流通。也就是说,在本实施方式中,除湿装置330构成为通过从水导入部338向散热器332导入的水的显热或气化热以及来自热交换型换气装置310的排气流302(在需要除湿的夏季,是温度比供气流303低的排气流)的空气热来冷却散热器332。需要说明的是,从散热器332吸收了热量的排气流302向排气风路304导出,并直接向室外排出。The dehumidifier 330 is configured such that the water introduction part 338 collects dew condensation water (condensation water 334a) in the second dehumidification and water dew condensation in the third dehumidification (condensation water 335a) and sends them to the radiator 332 ( The second region 332b) of the heat sink 332 leads in. In addition, the dehumidifier 330 is configured to introduce the exhaust air flow 302 from the exhaust air passage 304 of the heat exchange type ventilator 310, and make the introduced exhaust air flow 302 pass through the radiator 332 (the first region 332a of the radiator 332). circulation. That is, in the present embodiment, the dehumidifier 330 is configured to pass the sensible heat or heat of vaporization of water introduced from the water introduction part 338 to the radiator 332 and the exhaust gas flow 302 from the heat exchange type ventilator 310 ( In the summer when dehumidification is required, the radiator 332 is cooled by the air heat of the exhaust air (exhaust air) whose temperature is lower than that of the air supply air 303 . It should be noted that the exhaust flow 302 that has absorbed heat from the radiator 332 is led out to the exhaust air passage 304 and directly discharged outdoors.

另一方面,除湿装置330构成为使除湿后的供气流303在散热器332(散热器332的第二区域332b)流通。也就是说,除湿后的供气流303也对散热器332进行冷却。但是,在本实施方式中,散热器332被从水导入部338导入的水以及来自热交换型换气装置310的排气流302冷却,因此与以往那样仅使供气流303流通而进行冷却的情况相比,能够抑制从除湿装置330向供气风路305导出的供气流303的温度上升。On the other hand, the dehumidifier 330 is configured so that the dehumidified supply air flow 303 flows through the radiator 332 (the second region 332b of the radiator 332). That is, the dehumidified air supply air 303 also cools the radiator 332 . However, in the present embodiment, since the radiator 332 is cooled by the water introduced from the water introduction part 338 and the exhaust air flow 302 from the heat exchange type ventilator 310, only the air supply air flow 303 is circulated for cooling as conventionally. Compared with the case, the temperature rise of the supply air flow 303 led out from the dehumidifier 330 to the supply air duct 305 can be suppressed.

接下来,对实施方式4-1的带除湿功能的热交换型换气装置350中的供气流303的温度调整方法进行说明。Next, a method for adjusting the temperature of the supply air flow 303 in the heat exchange type ventilator 350 with a dehumidification function according to Embodiment 4-1 will be described.

如图28所示,在带除湿功能的热交换型换气装置350中,与分支风门342的分支比例的控制相关联地具有第一温度传感器345、第二温度传感器346以及控制部(未图示)。第一温度传感器345对热交换前的排气流302的温度进行检测。第二温度传感器346对在除湿装置330的热交换器335流通并合流后的供气流303(第一供气流303a与第二供气流303b的混合气流)的温度进行检测。控制部对第二温度传感器346以及分支风门342进行控制。控制部基于由第一温度传感器345检测出的温度,以调整分支风门342的分支比例而使由第二温度传感器346检测出的温度成为规定的温度范围的方式控制分支风门342。具体而言,在第二温度传感器346处的温度高于第一温度传感器345处的温度的情况下,控制部使相对于第二供气流303b的风量的第一供气流303a的风量增加,从而使除湿后的供气流303的温度下降。另一方面,在第二温度传感器346处的温度低于第一温度传感器345处的温度的情况下,控制部使相对于第二供气流303b的风量的第一供气流303a的风量减少,从而使供气流303的温度上升。由此,在带除湿功能的热交换型换气装置350中,能够对成为与第一温度传感器345(从室内吸入的热交换前的排气流302)同等的温度的供气流303进行供给。As shown in FIG. 28, in the heat exchange type ventilator 350 with dehumidification function, there are a first temperature sensor 345, a second temperature sensor 346, and a control unit (not shown) associated with the control of the branch ratio of the branch damper 342. Show). The first temperature sensor 345 detects the temperature of the exhaust flow 302 before heat exchange. The second temperature sensor 346 detects the temperature of the supply airflow 303 (the mixed airflow of the first supply airflow 303 a and the second supply airflow 303 b ) that flows through the heat exchanger 335 of the dehumidifier 330 and merges. The control unit controls the second temperature sensor 346 and the branch damper 342 . The control unit controls the branch damper 342 so that the temperature detected by the second temperature sensor 346 falls within a predetermined temperature range by adjusting the branch ratio of the branch damper 342 based on the temperature detected by the first temperature sensor 345 . Specifically, when the temperature at the second temperature sensor 346 is higher than the temperature at the first temperature sensor 345, the control unit increases the air volume of the first supply air flow 303a relative to the air volume of the second supply air flow 303b, thereby The temperature of the dehumidified feed gas stream 303 is lowered. On the other hand, when the temperature at the second temperature sensor 346 is lower than the temperature at the first temperature sensor 345, the control unit reduces the air volume of the first supply air flow 303a relative to the air volume of the second supply air flow 303b, thereby The temperature of the feed gas stream 303 is raised. Accordingly, in the heat exchange type ventilator 350 with a dehumidification function, it is possible to supply the supply air flow 303 having the same temperature as the first temperature sensor 345 (exhaust air flow 302 before heat exchange sucked from the room).

以上,根据实施方式4-1的带除湿功能的热交换型换气装置350,能够享有以下的效果。As described above, according to the heat exchange type ventilator 350 with a dehumidification function according to Embodiment 4-1, the following effects can be obtained.

(1)除湿装置330构成为具备将在除湿处理中结露的水(结露水334a、结露水335a)向散热器332导入的水导入部338,通过从水导入部338导入的水以及向除湿装置330导入的排气流302来冷却散热器332。由此,能够通过从水导入部338向散热器332导入的水(结露水334a、结露水335a)的显热或气化热以及来自热交换型换气装置310的排气流302(在需要除湿的夏季,是温度比供气流303低的排气流)的空气热得到除湿装置330中的散热器332的冷却(排热)所需的能量。因此,能够有效地冷却散热器332,从而能够抑制除湿后在散热器332流通的供气流303的温度上升。其结果是,即使在应用了将制冷循环和热交换器335组合而成的除湿装置330的情况下,也能够对伴随除湿而产生的温度上升得到抑制的供气流303进行输送。也就是说,能够成为可以对伴随除湿而产生的温度上升得到抑制的供气流303进行输送的带除湿功能的热交换型换气装置350。(1) The dehumidifier 330 is configured to include a water introduction part 338 that introduces the water condensed in the dehumidification process (the dew condensation water 334a, the dew condensation water 335a) to the radiator 332, and the water introduced from the water introduction part 338 and the dehumidification The exhaust gas flow 302 introduced by the device 330 cools the radiator 332 . Thus, the sensible heat or heat of vaporization of the water (dew condensation water 334a, dew condensation water 335a) introduced from the water introduction part 338 to the radiator 332 and the exhaust gas flow 302 from the heat exchange type ventilator 310 (when necessary In the summer of dehumidification, the heat of the air (exhaust flow) whose temperature is lower than that of the supply flow 303 obtains the energy required for cooling (exhausting heat) of the radiator 332 in the dehumidification device 330 . Therefore, the radiator 332 can be cooled efficiently, and the temperature rise of the supply airflow 303 which flows through the radiator 332 after dehumidification can be suppressed. As a result, even when the dehumidification device 330 combining the refrigeration cycle and the heat exchanger 335 is applied, it is possible to send the supply air flow 303 in which the temperature rise accompanying dehumidification is suppressed. That is, it is possible to provide the heat exchange type ventilator 350 with a dehumidification function capable of sending the supply air flow 303 whose temperature rise accompanying dehumidification is suppressed.

(2)在除湿装置330中,在除湿装置330中被除湿了的供气流303在被从水导入部338导入的水(结露水334a、结露水335a)冷却了的散热器332的第二区域332b流通并向供气风路305导出。另一方面,构成为使导入到除湿装置330的排气流302在第一区域332a流通并向排气风路304导出,该第一区域332a借助第二区域332b而被从水导入部338导入的水冷却了。由此,从水导入部338导入的水直接冷却供除湿后的供气流303流通的散热器332的第二区域332b,因此能够可靠地抑制供气流303的温度上升。(2) In the dehumidifier 330, the air supply air 303 dehumidified in the dehumidifier 330 is cooled by the water introduced from the water introduction part 338 (the dew condensation water 334a, the dew condensation water 335a) in the second region of the radiator 332 332b flows through and leads out to the air supply air path 305 . On the other hand, the exhaust air flow 302 introduced into the dehumidifier 330 is configured to flow through the first region 332a and lead out to the exhaust air passage 304, and the first region 332a is introduced from the water introduction part 338 through the second region 332b. The water cooled. As a result, the water introduced from the water introduction part 338 directly cools the second region 332b of the radiator 332 through which the dehumidified supply airflow 303 flows, so that the temperature rise of the supply airflow 303 can be reliably suppressed.

(3)在除湿装置330中,构成为水导入部338对在吸热器334中结露的水(结露水334a)以及在热交换器335中结露的水(结露水335a)进行收集并将它们向散热器332导入。由此,能够使向散热器332导入的水的量进一步增加,因此能够稳定地冷却散热器332。(3) In the dehumidifier 330, the water introduction part 338 collects the water condensed in the heat absorber 334 (the dew water 334a) and the water condensed in the heat exchanger 335 (the dew water 335a), and These are introduced to the radiator 332 . Accordingly, since the amount of water introduced into the radiator 332 can be further increased, the radiator 332 can be cooled stably.

(4)在除湿装置330中,构成为通过控制第一供气流303a的风量与第二供气流303b的风量的比率来调节从除湿装置330向室内供给的供气流303的温度。由此,能够通过被吸热器334冷却了的气流(在第一流路336流通后的第一供气流303a)使在第二流路337流通后的第二供气流303b的温度进一步降低,因此能够容易地将向室内供给的供气流303的温度调整为所希望的温度。(4) The dehumidifier 330 is configured to adjust the temperature of the air supply air 303 supplied from the dehumidifier 330 to the room by controlling the ratio of the air volume of the first air supply air 303a to the air volume of the second air supply 303b. As a result, the temperature of the second supply airflow 303b after flowing through the second flowpath 337 can be further lowered by the airflow cooled by the heat absorber 334 (the first supply airflow 303a after flowing through the first flowpath 336). The temperature of the supply air flow 303 supplied into the room can be easily adjusted to a desired temperature.

(实施方式4-2)(Embodiment 4-2)

本发明的实施方式4-2的带除湿功能的热交换型换气装置350a构成为,除湿装置330a的散热器332整体配置在排气风路304内并供排气流302流通。另一方面,在构成为使除湿后的供气流303不在散热器332流通这一点上与实施方式4-1不同。除此以外的带除湿功能的热交换型换气装置350a的结构与实施方式4-1的带除湿功能的热交换型换气装置350相同。以下,适当省略对实施方式4-1中说明过的内容的再度说明,主要对与实施方式4-1不同的点进行说明。The heat exchange type ventilator 350a with a dehumidification function according to Embodiment 4-2 of the present invention is configured such that the radiator 332 of the dehumidification device 330a is entirely disposed in the exhaust air duct 304 and the exhaust air flow 302 flows therethrough. On the other hand, the configuration differs from Embodiment 4-1 in that the dehumidified supply air flow 303 does not flow through the radiator 332 . The structure of the heat exchange type ventilator 350a with a dehumidification function other than this is the same as that of the heat exchange type ventilator 350 with a dehumidification function in Embodiment 4-1. Hereinafter, re-description of the contents described in Embodiment 4-1 will be appropriately omitted, and points different from Embodiment 4-1 will be mainly described.

参照图29对本发明的实施方式4-2的带除湿功能的热交换型换气装置350a进行说明。图29是示出本发明的实施方式4-2的带除湿功能的热交换型换气装置的结构的示意图。A heat exchange type ventilator 350a with a dehumidification function according to Embodiment 4-2 of the present invention will be described with reference to FIG. 29 . Fig. 29 is a schematic diagram showing the configuration of a heat exchange type ventilator with a dehumidification function according to Embodiment 4-2 of the present invention.

在带除湿功能的热交换型换气装置350a的除湿装置330a中,构成制冷循环的散热器332整体配置在排气风路304内,除此以外的各设备(压缩机331、膨胀器333、吸热器334、热交换器335)配置在排气风路304外。也就是说,构成为水导入部338向配置在排气风路304内的散热器332导入由于除湿处理而结露的水(结露水334a、结露水335a)。In the dehumidifier 330a of the heat exchange type ventilator 350a with a dehumidification function, the radiator 332 that constitutes the refrigeration cycle is disposed in the exhaust air passage 304 as a whole, and other equipment (compressor 331, expander 333, The heat absorber 334 and the heat exchanger 335 ) are arranged outside the exhaust air passage 304 . That is, the water introduction part 338 is comprised so that the water (condensation water 334a, dew condensation water 335a) condensed by the dehumidification process will be introduced into the radiator 332 arrange|positioned in the exhaust air duct 304. FIG.

另外,如图29所示,在除湿装置330a中,分割后的供气流303中的第一供气流303a在依次流通过吸热器334、热交换器335的第一流路336后,以不在散热器332流通的方式向热交换型换气装置310中的热交换后的供气风路305导出。另一方面,第二供气流303b在流通过热交换器335的第二流路337后,以不在散热器332流通的方式向热交换后的供气风路305导出。并且,除湿装置330a构成为使在热交换器335流通后的第一供气流303a与在热交换器335流通后的第二供气流303b在合流后,向热交换后的供气风路305导出。In addition, as shown in FIG. 29, in the dehumidification device 330a, the first supply airflow 303a in the divided supply airflow 303 flows through the heat absorber 334 and the first flow path 336 of the heat exchanger 335 in sequence, so as not to dissipate heat. The air flow is led out to the air supply air passage 305 after heat exchange in the heat exchange type ventilator 310 in the form of circulation through the device 332 . On the other hand, the second supply air flow 303b flows through the second flow passage 337 of the heat exchanger 335 , and then is led out to the heat-exchanged supply air passage 305 without flowing through the radiator 332 . In addition, the dehumidifier 330a is configured such that the first supply airflow 303a that has flowed through the heat exchanger 335 and the second supply airflow 303b that have flowed through the heat exchanger 335 are merged and then led out to the supply air passage 305 after heat exchange. .

接下来,对带除湿功能的热交换型换气装置350a的除湿动作时的除湿装置330a的散热器332的冷却进行说明。Next, cooling of the radiator 332 of the dehumidification device 330a during the dehumidification operation of the heat exchange type ventilator 350a with a dehumidification function will be described.

除湿装置330a构成为,水导入部338对在第二除湿中结露的水(结露水334a)以及在第三除湿中结露的水(结露水335a)进行收集并将它们向排气风路304内的散热器332导入。另外,除湿装置330a构成为,从热交换型换气装置310的排气风路304导入排气流302,并使导入的排气流302在散热器332流通。也就是说,在本实施方式中,除湿装置330a构成为通过从水导入部338向散热器332导入的水的显热或气化热以及来自热交换型换气装置310的排气流302的空气热来冷却散热器332。需要说明的是,从散热器332吸收了热量的排气流302向排气风路304导出,并直接向室外排出。The dehumidification device 330a is configured such that the water introduction part 338 collects the water condensed in the second dehumidification (condensation water 334a) and the water condensed in the third dehumidification (condensation water 335a), and sends them to the exhaust air path. The heat sink 332 inside 304 leads. In addition, the dehumidifier 330 a is configured to introduce the exhaust flow 302 from the exhaust air passage 304 of the heat exchange type ventilator 310 , and to circulate the introduced exhaust flow 302 through the radiator 332 . That is, in the present embodiment, the dehumidifier 330 a is configured to pass the sensible heat or heat of vaporization of water introduced from the water introduction part 338 to the radiator 332 and the exhaust gas flow 302 from the heat exchange type ventilator 310 . The air heat cools the radiator 332 . It should be noted that the exhaust flow 302 that has absorbed heat from the radiator 332 is led out to the exhaust air passage 304 and directly discharged outdoors.

另一方面,在除湿装置330a中,构成为使除湿后的供气流303不在散热器332流通。也就是说,除湿后的供气流303(第一供气流303a、第二供气流303b)以不在散热器332流通的方式向供气风路305导出,因此不会产生由除湿处理引起的供气流303(第一供气流303a与第二供气流303b的混合气流)的温度上升。On the other hand, the dehumidifier 330 a is configured so that the dehumidified supply air flow 303 does not flow through the radiator 332 . That is, since the dehumidified supply airflow 303 (the first supply airflow 303a, the second supply airflow 303b) is led out to the supply air passage 305 without passing through the radiator 332, no supply airflow caused by the dehumidification process will be generated. The temperature of 303 (the mixed flow of the first supply flow 303a and the second supply flow 303b) is increased.

以上,根据实施方式4-2的带除湿功能的热交换型换气装置350a,能够享有以下的效果。As mentioned above, according to the heat exchange type ventilator 350a with a dehumidification function of Embodiment 4-2, the following effects can be enjoyed.

(5)在除湿装置330a中,向供气风路305导出的供气流303(除湿后的供气流303)以不在散热器332流通的方式向供气风路305导出。另一方面,构成为使导入到除湿装置330a的排气流302在被从水导入部338导入的水(结露水334a、结露水335a)冷却了的散热器332流通并向排气风路304导出。由此,除湿后的空气(供气流303)以不在散热器332流通的方式向室内吹出,因此能够可靠地抑制伴随除湿而产生的温度上升。也就是说,能够成为可以对伴随除湿而产生的温度上升得到抑制的供气流303进行输送的带除湿功能的热交换型换气装置350a。(5) In the dehumidifier 330 a , the supply air flow 303 (the dehumidified supply air flow 303 ) led to the air supply air passage 305 is led to the air supply air passage 305 so as not to flow through the radiator 332 . On the other hand, the exhaust flow 302 introduced into the dehumidifier 330a is configured to flow through the radiator 332 cooled by the water (condensation water 334a, dew condensation water 335a) introduced from the water introduction part 338, and flow to the exhaust air passage 304. export. As a result, the dehumidified air (supply air flow 303 ) is blown into the room without passing through the radiator 332 , so that a temperature rise accompanying dehumidification can be reliably suppressed. That is, it is possible to provide the heat exchange type ventilator 350a with a dehumidification function capable of sending the supply air flow 303 whose temperature rise accompanying dehumidification is suppressed.

以上,基于实施方式对本发明进行了说明,但容易推测的是,本发明丝毫不被上述实施方式所限定,而能够在不脱离本发明的主旨的范围内进行各种改良变形。例如,在上述实施方式中列举出的数值是一例,当然能够采用其他数值。As mentioned above, although this invention was demonstrated based on embodiment, it is easy to guess that this invention is not limited to the said embodiment at all, and various improvement and deformation|transformation are possible in the range which does not deviate from the summary of this invention. For example, the numerical values listed in the above-mentioned embodiments are examples, and other numerical values can of course be adopted.

在实施方式4-1、4-2中,作为热交换器335,使用了显热型的热交换元件,但作为显热型的热交换元件,优选构成热交换元件的第一流路336与第二流路337的构件具有防水性(疏水性)。作为具有防水性(疏水性)的构件,例如使用聚丙烯、聚苯乙烯等树脂构件。这样一来,在热交换元件的内部产生的结露水335a容易向热交换元件的外部流出,因此能够在不导致由结露水335a引起的热交换器335的热交换效率降低的情况下进行除湿。In Embodiments 4-1 and 4-2, a sensible heat type heat exchange element was used as the heat exchanger 335, but as the sensible heat type heat exchange element, it is preferable that the first flow path 336 and the second flow path 336 constituting the heat exchange element be used. The members of the secondary channel 337 are waterproof (hydrophobic). As a member having water repellency (water repellency), resin members such as polypropylene and polystyrene are used, for example. In this way, the dew condensation water 335a generated inside the heat exchange element easily flows out of the heat exchange element, so dehumidification can be performed without reducing the heat exchange efficiency of the heat exchanger 335 due to the dew condensation water 335a.

另外,在实施方式4-1中,作为散热器332,将一个散热器划分为第一区域332a和第二区域332b而使用,但并不限定于此。例如,也可以构成为,用对应于第一区域332a的第一散热器(排气风路侧散热器)和对应于第二区域332b的第二散热器(供气风路侧散热器)这两个散热器构成散热器332,并用铜管等将第一散热器与第二散热器热连结。这样一来,能够提高在带除湿功能的热交换型换气装置350内部的散热器332的配置自由度。In addition, in Embodiment 4-1, as the heat sink 332, one heat sink was divided into the 1st area|region 332a and the 2nd area|region 332b, but it is not limited to this. For example, it may also be configured such that a first radiator (radiator on the exhaust air passage side) corresponding to the first area 332a and a second radiator (radiator on the air supply air passage side) corresponding to the second area 332b are used. The two heat sinks constitute the heat sink 332, and the first heat sink and the second heat sink are thermally connected by copper pipes or the like. In this way, the degree of freedom of arrangement of the radiator 332 inside the heat exchange type ventilator 350 with a dehumidification function can be improved.

另外,在实施方式4-1、4-2中,构成为水导入部338向散热器332导入结露的水(结露水334a、结露水335a),但并不限定于此。例如,也可以构成为,向将构成制冷循环的散热器332与膨胀器333连结的铜管导入结露的水。这样一来,能够简化在带除湿功能的热交换型换气装置350内部的散热器332的冷却结构。In addition, in Embodiments 4-1 and 4-2, the water introduction part 338 is configured to introduce dew-condensed water (the dew-condensed water 334a, the dew-condensed water 335a) into the radiator 332, but the present invention is not limited thereto. For example, a configuration may be adopted in which dew-condensed water is introduced into a copper pipe connecting the radiator 332 and the expander 333 constituting the refrigeration cycle. In this way, the cooling structure of the radiator 332 inside the heat exchange type ventilator 350 with a dehumidification function can be simplified.

另外,在实施方式4-1、4-2中,构成为水导入部338对在吸热器334中结露的水(结露水334a)以及在热交换器335中结露的水(结露水335a)进行收集并将它们向散热器332导入,但并不限定于此。例如,也可以构成为,水导入部338仅对在吸热器334中结露的水(结露水334a)进行收集并将其向散热器332导入。In addition, in Embodiments 4-1 and 4-2, the water introduction part 338 is configured so that the water condensed in the heat absorber 334 (the dew water 334a) and the water condensed in the heat exchanger 335 (the dew water 335a) collects and introduces them to the radiator 332, but is not limited thereto. For example, the water introduction part 338 may be configured so that only the water condensed in the heat absorber 334 (condensation water 334 a ) is collected and introduced into the radiator 332 .

另外,在实施方式4-1、4-2中,水导入部338通过自然落下来进行水向散热器332的导入,但并不限定于此。例如,也可以构成为,在漏斗状的水导入部338的前端管部分设置水喷嘴,将水从水喷嘴对散热器332呈雾状地喷洒。这样一来,水导入部338能够向构成散热器332的散热管等的表面的大范围导入水,因此能够更有效地冷却散热器332。In addition, in Embodiments 4-1 and 4-2, the water introduction part 338 introduces water to the radiator 332 by falling naturally, but the present invention is not limited thereto. For example, a water nozzle may be provided at the tip pipe portion of the funnel-shaped water introduction portion 338 , and water may be sprayed from the water nozzle to the radiator 332 in a mist form. In this way, the water introduction part 338 can introduce water to a wide range of the surface of the heat radiation pipe etc. which comprise the radiator 332, Therefore The radiator 332 can be cooled more effectively.

(实施方式5)(Embodiment 5)

以往,作为能够不损害制冷或者制暖的效果地进行换气的装置,已知在换气时在供气流与排气流之间进行热交换的热交换型换气装置。Conventionally, a heat exchange type ventilator that performs heat exchange between a supply airflow and an exhaust airflow during ventilation is known as an apparatus that can ventilate without impairing the effect of cooling or heating.

近年来,由于全球变暖的影响以及住宅的气密性提高,在冬季,室内变得低温干燥,另一方面,在夏季,室内变得高温多湿,因此存在对居住者而言室内的舒适性受损的担忧。对于在任一情况下提高室内的舒适性,室内的湿度管理尤其重要,因此谋求在调整室内的湿度的同时进行热交换换气的带调湿功能(除加湿功能)的热交换型换气装置。因此,为了实现调湿功中的加湿功能,我们进行了应用有通过水破碎来进行加湿的液体微细化装置的热交换型换气装置的开发,另一方面,为了实现除湿功能,我们进行了应用有将制冷循环和热交换器组合而成的除湿装置的热交换型换气装置的开发。作为通过水破碎来进行加湿的液体微细化装置,例如,已知专利文献1所记载的液体微细化装置。另外,作为组合制冷循环和热交换器而成的除湿装置,例如,已知专利文献2所记载的除湿装置。In recent years, due to the influence of global warming and the improvement of the airtightness of houses, the indoors have become low temperature and dry in winter, and on the other hand, the indoors have become hot and humid in summer, so there is a sense of comfort for the occupants. Damaged concerns. In any case, to improve indoor comfort, indoor humidity management is particularly important. Therefore, a heat exchange type ventilator with a humidity control function (dehumidification function) that performs heat exchange and ventilation while adjusting indoor humidity has been sought. Therefore, in order to realize the humidification function in the humidity control work, we have carried out the development of a heat exchange type ventilator using a liquid miniaturization device for humidifying by crushing water. On the other hand, in order to realize the dehumidification function, we have carried out development. Development of a heat exchange type ventilator using a dehumidifier that combines a refrigeration cycle and a heat exchanger. As a liquid miniaturization device for humidifying by crushing water, for example, a liquid miniaturization device described in Patent Document 1 is known. In addition, as a dehumidifier combining a refrigeration cycle and a heat exchanger, for example, a dehumidifier described in Patent Document 2 is known.

首先,使用图38对现有的液体微细化装置进行说明。First, a conventional liquid miniaturization device will be described using FIG. 38 .

如图38所示,现有的液体微细化装置2101具备:处理室2102,其通过鼓风机使外部气体通过;以及贮水部2103,其贮存规定量的来自供水管的供水。另外,具备:研钵状的旋转体2104,其下部淹没于贮水部2103的水中且直径趋向上方而扩大;以及圆筒状的多孔体2105,其与旋转体2104一起旋转,并供在由于旋转体2104的旋转而产生的离心力的作用下飞散的水以及空气通过。并且,在由于旋转体2104的旋转而产生的离心力的作用下,从贮水部2103汲取水,使从旋转体2104朝向外部飞散的水通过多孔体2105并与周边部发生碰撞,从而将水微细化。由此,在现有的液体微细化装置2101中,进行针对导入的空气的加湿。As shown in FIG. 38 , a conventional liquid miniaturization device 2101 includes: a processing chamber 2102 through which external air is passed by a blower; and a water storage unit 2103 which stores a predetermined amount of water supplied from a water supply pipe. In addition, it is equipped with: a mortar-shaped rotating body 2104 whose lower part is submerged in the water of the water storage part 2103 and whose diameter tends to expand upward; and a cylindrical porous body 2105 which rotates together with the rotating body 2104 and which The water and air scattered by the centrifugal force generated by the rotation of the rotating body 2104 pass. And, under the action of the centrifugal force generated due to the rotation of the rotating body 2104, water is drawn from the water storage part 2103, and the water scattered outward from the rotating body 2104 passes through the porous body 2105 and collides with the peripheral part, thereby finely dissipating the water. change. Thus, in the conventional liquid miniaturization device 2101, humidification of the introduced air is performed.

接下来,参照图9对现有的除湿装置进行说明。Next, a conventional dehumidifier will be described with reference to FIG. 9 .

如图9所示,现有的除湿装置1100构成为在使从空气吸入口1101吸入到主体外壳1102内的空气(空气X、空气Y)通过除湿部1103后,将该空气从空气吹出口1104向主体外壳1102外吹出。除湿部1103具备制冷循环和热交换器1111。制冷循环将压缩机1105、散热器1106、膨胀器1107、吸热器1108依次连结。热交换器1111配置在吸热器1108与散热器1106之间,并在流动在第一流路1109的空气X与流动在第二流路1110的空气Y之间进行热交换。As shown in FIG. 9 , a conventional dehumidifier 1100 is configured such that after air (air X, air Y) sucked into a main body casing 1102 from an air inlet 1101 passes through a dehumidifier 1103, the air is blown out from an air outlet 1104. Blow out to the outside of the main body casing 1102 . The dehumidifier 1103 includes a refrigeration cycle and a heat exchanger 1111 . In the refrigeration cycle, a compressor 1105, a radiator 1106, an expander 1107, and a heat absorber 1108 are sequentially connected. The heat exchanger 1111 is disposed between the heat absorber 1108 and the radiator 1106 , and performs heat exchange between the air X flowing in the first flow path 1109 and the air Y flowing in the second flow path 1110 .

并且,在第一流路1109流动的空气X在吸热器1108冷却而产生结露。由冷却后的空气X产生的结露水被回收。另一方面,在第二流路1110流动的空气Y与被吸热器1108冷却了的空气X进行热交换而被冷却,从而产生结露。由冷却后的空气Y产生的结露水也被回收。像这样,通过除湿装置1100来进行空气的除湿。Then, the air X flowing through the first flow path 1109 is cooled by the heat absorber 1108 to generate dew condensation. The condensation water generated by the cooled air X is recovered. On the other hand, the air Y flowing through the second flow path 1110 exchanges heat with the air X cooled by the heat absorber 1108 to be cooled, and dew condensation occurs. Dew condensation water generated from the cooled air Y is also recovered. In this way, dehumidification of air is performed by the dehumidifier 1100 .

在开发组装有上述现有的液体微细化装置2101的加湿功能和现有的除湿装置1100的除湿功能的带调湿功能的热交换型换气装置的情况下,在除加湿时,能够实现一定水准的调湿量(加湿量、除湿量)。但是,在一年的气温差以及湿度差较大的住宅环境下,为了对居住者而言提高室内的舒适性,强烈要求调湿性能的进一步提高。例如,已知日本为全年气温差以及湿度差较大的住宅环境。并且,在日本,居住空间中的设置空间被限制,因此需要在不使带调湿功能的热交换型换气装置大型化的情况下提高调湿性能。In the case of developing a heat exchange type ventilator with a humidity control function incorporating the humidification function of the above-mentioned conventional liquid miniaturization device 2101 and the dehumidification function of the conventional dehumidification device 1100, it is possible to achieve a certain level of dehumidification during dehumidification. The amount of humidity control (humidification amount, dehumidification amount) of the level. However, in a residential environment with a large difference in temperature and humidity throughout the year, further improvement in humidity control performance is strongly demanded in order to improve indoor comfort for occupants. For example, it is known that Japan is a residential environment with a large difference in temperature and humidity throughout the year. In addition, in Japan, since the installation space in the living space is limited, it is necessary to improve the humidity control performance without increasing the size of the heat exchange type ventilator with the humidity control function.

本发明是为了解决上述课题而完成的,其提供能够提高除加湿时的调湿性能的带调湿功能的热交换型换气装置。The present invention was made to solve the above problems, and provides a heat exchange type ventilator with a humidity control function capable of improving the humidity control performance during dehumidification and humidification.

为了达成该目的,本发明的带调湿功能的热交换型换气装置具备:热交换型换气装置,其在排气流与供气流之间进行热交换,该排气流在用于将室内的空气向室外排出的排气风路流通,该供气流在用于将室外的空气向室内供给的供气风路流通;加湿装置,其构成为从供气风路导入热交换后的供气流,并对导入的供气流进行加湿;以及除湿装置,其构成为从供气风路导入热交换后的供气流,并对导入的供气流进行除湿。除湿装置包括:制冷剂循环,其构成为包括压缩机、散热器、膨胀器、吸热器以及四通阀;以及热交换器,其配置在吸热器的下游侧,并在流动在第一流路的空气与流动在第二流路的空气之间进行热交换。并且,除湿装置具有:除湿模式,通过四通阀使制冷剂循环中的制冷剂的流动成为第一方向并对供气流进行除湿;以及加热模式,通过四通阀使制冷剂循环中的制冷剂的流动成为与第一方向相反的第二方向并对供气流进行加热。导入到除湿装置的供气流的一部分在流通过吸热器、热交换器的第一流路后,向供气风路导出,并且导入到除湿装置的供气流的另一部分在流通过热交换器的第二流路后,向供气风路导出。导入到除湿装置的排气流在流通过散热器后,向排气风路导出。在除湿模式下,从除湿装置向供气风路导出的供气流在不被加湿装置加湿的情况下向室内供给,在加热模式下,从除湿装置向供气风路导出的供气流被加湿装置加湿并向室内供给。In order to achieve this object, the heat exchange type ventilator with humidity control function of the present invention includes: a heat exchange type ventilator that performs heat exchange between an exhaust flow and a supply air flow, and the exhaust flow is used for The indoor air flows to the exhaust air path that is discharged outside, and the supply air flow circulates in the air supply air path for supplying the outdoor air to the indoor; air flow, and humidify the imported air supply; and a dehumidification device, which is configured to introduce heat-exchanged air supply from the air supply air path, and dehumidify the imported air supply. The dehumidification device includes: a refrigerant cycle composed of a compressor, a radiator, an expander, a heat absorber, and a four-way valve; and a heat exchanger arranged on the downstream side of the heat absorber and flowing in the first flow Heat exchange is performed between the air in the first flow path and the air flowing in the second flow path. Also, the dehumidifier has: a dehumidification mode in which the flow of the refrigerant in the refrigerant cycle is made into a first direction through the four-way valve and dehumidifies the supply air; and a heating mode in which the refrigerant in the refrigerant cycle is made to flow through the four-way valve. The flow becomes a second direction opposite to the first direction and heats the supply flow. A part of the air supply introduced into the dehumidification device is exported to the air supply air passage after passing through the heat absorber and the first flow path of the heat exchanger, and another part of the air supply introduced into the dehumidification device flows through the first flow path of the heat exchanger. After the second flow path, it is exported to the air supply air path. The exhaust flow introduced into the dehumidifier passes through the radiator, and then is led out to the exhaust air path. In the dehumidification mode, the supply air from the dehumidifier to the supply air path is supplied to the room without being humidified by the humidifier. Humidifies and supplies indoors.

根据本发明,能够提供可以提高除加湿时的调湿性能的带调湿功能的热交换型换气装置。According to the present invention, it is possible to provide a heat exchange type ventilator with a humidity control function capable of improving the humidity control performance during dehumidification and humidification.

本发明的带调湿功能的热交换型换气装置具备:热交换型换气装置,其在排气流与供气流之间进行热交换,该排气流在用于将室内的空气向室外排出的排气风路流通,该供气流在用于将室外的空气向室内供给的供气风路流通;加湿装置,其构成为从供气风路导入热交换后的供气流,并对导入的供气流进行加湿;以及除湿装置,其构成为从供气风路导入热交换后的供气流,并对导入的供气流进行除湿。除湿装置包括:制冷剂循环,其构成为包括压缩机、散热器、膨胀器、吸热器以及四通阀;以及热交换器,其配置在吸热器的下游侧,并在流动在第一流路的空气与流动在第二流路的空气之间进行热交换。并且,除湿装置具有:除湿模式,通过四通阀使制冷剂循环中的制冷剂的流动成为第一方向并对供气流进行除湿;以及加热模式,通过四通阀使制冷剂循环中的制冷剂的流动成为与第一方向相反的第二方向并对供气流进行加热。导入到除湿装置的供气流的一部分在流通过吸热器、第一流路后,向供气风路导出,并且导入到除湿装置的供气流的另一部分在流通过第二流路后,向供气风路导出。导入到除湿装置的排气流在流通过散热器后,向排气风路导出。在除湿模式下,从除湿装置向供气风路导出的供气流在不被加湿装置加湿的情况下向室内供给,在加热模式下,从除湿装置向供气风路导出的供气流被加湿装置加湿并向室内供给。The heat exchange type ventilator with humidity control function of the present invention is provided with: a heat exchange type ventilator that performs heat exchange between an exhaust flow and a supply air flow, and the exhaust flow is used to transfer indoor air to the outside. The discharged exhaust air path circulates, and the supply air flow circulates in the air supply air path for supplying outdoor air to the room; the humidifier is configured to introduce the heat-exchanged supply air flow from the air supply air path, and Humidifying the supplied air flow; and a dehumidification device, which is configured to introduce the heat-exchanged supply air flow from the air supply air path, and dehumidify the introduced supply air flow. The dehumidification device includes: a refrigerant cycle composed of a compressor, a radiator, an expander, a heat absorber, and a four-way valve; and a heat exchanger arranged on the downstream side of the heat absorber and flowing in the first flow Heat exchange is performed between the air in the first flow path and the air flowing in the second flow path. Also, the dehumidifier has: a dehumidification mode in which the flow of the refrigerant in the refrigerant cycle is made into a first direction through the four-way valve and dehumidifies the supply air; and a heating mode in which the refrigerant in the refrigerant cycle is made to flow through the four-way valve. The flow becomes a second direction opposite to the first direction and heats the supply flow. A part of the air supply air introduced into the dehumidification device is led out to the air supply air path after passing through the heat absorber and the first flow path; The air and wind path is exported. The exhaust flow introduced into the dehumidifier passes through the radiator, and then is led out to the exhaust air path. In the dehumidification mode, the supply air from the dehumidifier to the supply air path is supplied to the room without being humidified by the humidifier. Humidifies and supplies indoors.

根据这样的结构,能够通过除湿装置的四通阀的切换而容易地加热向加湿装置导入的供气流,且能够增加对在加湿装置流通的供气流的加湿量。也就是说,能够成为可以提高除加湿时的调湿性能的带调湿功能的热交换型换气装置。According to such a configuration, the supply air flow introduced into the humidifier can be easily heated by switching the four-way valve of the dehumidifier, and the humidification amount of the supply air flowing through the humidifier can be increased. That is, it is possible to provide a heat exchange type ventilator with a humidity control function capable of improving the humidity control performance during dehumidification and humidification.

另外,也可以是,本发明的带调湿功能的热交换型换气装置还具备在热交换后的供气风路设置的风路切换部。并且,风路切换部构成为能够对使热交换后的供气流在除湿装置流通并向加湿装置导入的状态、以及使热交换后的供气流以不在除湿装置流通的方式向加湿装置导入的状态进行切换。根据这样的结构,在无需对向加湿装置导入的供气流的加热的情况下,能够通过风路切换部容易地控制为使供气流不向除湿装置流动的状态,从而在加湿时,由除湿装置引起的压力损失的上升得到抑制,能够实现节能下的运转。In addition, the heat exchange type ventilator with a humidity control function of the present invention may further include an air passage switching unit provided in the air supply air passage after heat exchange. In addition, the air path switching unit is configured to allow the state in which the heat-exchanged supply air flow is introduced into the humidifier while passing through the dehumidifier, and the state in which the heat-exchanged supply air flow is introduced into the humidifier without passing through the dehumidifier. to switch. According to such a structure, when there is no need to heat the supply air flow introduced into the humidifier, it can be easily controlled by the air path switching part so that the supply air flow does not flow to the dehumidifier, so that during humidification, the dehumidifier The increase in pressure loss caused by this is suppressed, and energy-saving operation can be realized.

另外,在本发明的带调湿功能的热交换型换气装置中,也可以是,除湿装置还具备对散热器吹送水的水吹送部。并且,在除湿模式下,导入到除湿装置的排气流在流通过被水吹送部吹送有水的状态下的散热器后,向排气风路导出。根据这样的结构,在除湿模式下,能够通过来自热交换型换气装置的排气流的空气热以及所吹送的水的气化热得到除湿装置中的散热器的冷却(排热)所需的能量,因此能够有效地冷却散热器。因此,能够使从在除湿装置流通的供气流中除去的除湿量增加。也就是说,能够成为可以提高除加湿时的调湿性能的带调湿功能的热交换型换气装置。Moreover, in the heat exchange type ventilator with a humidity control function of this invention, a dehumidifier may further be equipped with the water blowing part which blows water to a radiator. In addition, in the dehumidification mode, the exhaust flow introduced into the dehumidifier passes through the radiator in a state where water is blown by the water blowing unit, and then is led out to the exhaust air path. According to such a structure, in the dehumidification mode, the cooling (exhaust heat) of the radiator in the dehumidification device can be obtained by the air heat of the exhaust flow from the heat exchange type ventilator and the vaporization heat of the blown water. of energy, thus effectively cooling the radiator. Therefore, the amount of dehumidification removed from the supply air flowing through the dehumidification device can be increased. That is, it is possible to provide a heat exchange type ventilator with a humidity control function capable of improving the humidity control performance during dehumidification and humidification.

以下,参照附图对用于实施本发明的方式进行说明。需要说明的是,以下的实施方式是将本发明具体化的一例,并不对本发明的技术范围进行限定。另外,在所有附图中,对相同的部位标注相同的附图标记并省略说明。并且,对于并不直接与本发明相关的各部分的详细情况,为了避免重复而省略每个附图的说明。Hereinafter, modes for implementing the present invention will be described with reference to the drawings. In addition, the following embodiment is an example which actualized this invention, and does not limit the technical scope of this invention. In addition, in all drawings, the same code|symbol is attached|subjected to the same part, and description is abbreviate|omitted. In addition, the description of each drawing will be omitted in order to avoid repetition of the details of each part that is not directly related to the present invention.

以下,参照附图对本发明的实施方式进行说明。Hereinafter, embodiments of the present invention will be described with reference to the drawings.

(前提例)(premise example)

首先,参照图30、图31对成为本发明的实施方式的前提例的热交换型换气装置进行说明。图30是示出本发明的前提例的热交换型换气装置在住宅中的设置状态的示意图。图31是示出本发明的前提例的热交换型换气装置的结构的示意图。First, a heat exchange type ventilator serving as a premise example of an embodiment of the present invention will be described with reference to FIGS. 30 and 31 . Fig. 30 is a schematic diagram showing an installation state of a heat exchange type ventilator of a precondition example of the present invention in a house. Fig. 31 is a schematic diagram showing the configuration of a heat exchange type ventilator according to a precondition example of the present invention.

在图30中,在家401的室内设置有热交换型换气装置410。热交换型换气装置410是一边对室内的空气与室外的空气进行热交换一边进行换气的装置。In FIG. 30 , a heat exchange type ventilator 410 is installed in a room of a house 401 . The heat exchange type ventilation device 410 is a device that performs ventilation while exchanging heat between indoor air and outdoor air.

如图30所示,排气流402如黑色箭头所示那样经由热交换型换气装置410而被排放至室外。排气流402是从室内向室外排出的空气流。另外,供气流403如白色箭头所示那样经由热交换型换气装置410而被取入到室内。供气流403是从室外取入到室内的空气流。例如举出日本的冬季为例,排气流402为20℃~25℃,与此相对供气流403有时会到达冰点以下。热交换型换气装置410进行换气,并且在该换气时,将排气流402的热量向供气流403传递,从而抑制不必要的热量的排放。As shown in FIG. 30 , the exhaust flow 402 is discharged to the outside through the heat exchange type ventilator 410 as indicated by the black arrow. Exhaust flow 402 is the flow of air discharged from the room to the outside. In addition, the supply air flow 403 is taken into the room via the heat exchange type ventilator 410 as indicated by a white arrow. The supply air flow 403 is the air flow taken in from the outside into the room. For example, taking winter in Japan as an example, the exhaust air flow 402 is 20° C. to 25° C., whereas the supply air flow 403 may be below freezing point. The heat exchange type ventilator 410 performs ventilation, and during the ventilation, transfers the heat of the exhaust flow 402 to the supply flow 403 , thereby suppressing unnecessary heat emission.

如图31所示,热交换型换气装置410具备主体外壳411、热交换元件412、排气风扇413、内气口414、排气口415、供气风扇416、外气口417、供气口418、排气风路404、供气风路405。主体外壳411是热交换型换气装置410的外框。在主体外壳411的外周形成有内气口414、排气口415、外气口417、供气口418。内气口414是将排气流402吸入热交换型换气装置410的吸入口。排气口415是将排气流402从热交换型换气装置410向室外排出的排出口。外气口417是将供气流403吸入热交换型换气装置410的吸入口。供气口418是将供气流403从热交换型换气装置410向室内排出的排出口。As shown in FIG. 31 , the heat exchange type ventilator 410 has a main body casing 411, a heat exchange element 412, an exhaust fan 413, an inner air port 414, an exhaust port 415, an air supply fan 416, an outer air port 417, and an air supply port 418. , exhaust air path 404, air supply air path 405. The main body case 411 is the outer frame of the heat exchange type ventilator 410 . An inner air port 414 , an exhaust port 415 , an outer air port 417 , and an air supply port 418 are formed on the outer periphery of the main body casing 411 . The inner air port 414 is a suction port for sucking the exhaust flow 402 into the heat exchange type ventilator 410 . The exhaust port 415 is a discharge port for discharging the exhaust flow 402 from the heat exchange type ventilator 410 to the outside. The external air port 417 is a suction port for sucking the supply air 403 into the heat exchange type ventilator 410 . The air supply port 418 is a discharge port for discharging the supply air flow 403 from the heat exchange type ventilator 410 into the room.

在主体外壳411的内部安装有热交换元件412、排气扇413、供气扇416。另外,在主体外壳411的内部构成有排气风路404、供气风路405。热交换元件412是用于在流通在排气风路404的排气流402与流通在供气风路405的供气流403之间进行热交换(显热和潜热)的构件。排气风扇413是用于将排气流402从内气口414吸入并从排气口415排出的鼓风机。供气风扇416是用于将供气流403从外气口417吸入并从供气口418排出的鼓风机。排气风路404是连通内气口414与排气口415的风路。供气风路405是连通外气口417与供气口418的风路。由排气风扇413吸入的排气流402经由排气风路404内的热交换元件412、排气风扇413从排气口415被排出至室外。另外,由供气风扇416吸入的供气流403经由供气风路405内的热交换元件412、供气风扇416从供气口418被供给到室内。A heat exchange element 412 , an exhaust fan 413 , and an air supply fan 416 are installed inside the main body casing 411 . In addition, an exhaust air passage 404 and an air supply air passage 405 are formed inside the main body casing 411 . The heat exchange element 412 is a member for exchanging heat (sensible heat and latent heat) between the exhaust flow 402 flowing through the exhaust air passage 404 and the supply air flow 403 flowing through the supply air passage 405 . The exhaust fan 413 is a blower for sucking the exhaust flow 402 from the inner air port 414 and discharging it from the exhaust port 415 . The air supply fan 416 is a blower for sucking the supply airflow 403 from the external air port 417 and discharging it from the air supply port 418 . The exhaust air passage 404 is an air passage connecting the inner air port 414 and the exhaust port 415 . The air supply air path 405 is an air path connecting the external air port 417 and the air supply port 418 . The exhaust flow 402 sucked by the exhaust fan 413 is exhausted to the outside through the exhaust port 415 via the heat exchange element 412 in the exhaust air passage 404 and the exhaust fan 413 . In addition, the air supply airflow 403 sucked by the air supply fan 416 is supplied into the room from the air supply port 418 via the heat exchange element 412 in the air supply air path 405 and the air supply fan 416 .

热交换型换气装置410在进行热交换换气的情况下,使热交换元件412的排气风扇413以及供气风扇416进行动作,从而在热交换元件412中,在流通在排气风路404的排气流402与流通在供气风路405的供气流403之间进行热交换。由此,热交换型换气装置410在进行换气时,将向室外排放的排气流402的热量向取入到室内的供气流403传递,从而抑制不必要的热量的排放,并向室内回收热量。其结果是,在冬季,在进行换气时,能够抑制室内的温度由于室外的温度较低的空气而降低的情况。另一方面,在夏季,在进行换气时,能够抑制室内的温度由于室外的温度较高的空气而上升的情况。When the heat exchange type ventilator 410 performs heat exchange and ventilation, the exhaust fan 413 and the air supply fan 416 of the heat exchange element 412 are operated, so that in the heat exchange element 412, the Heat exchange is performed between the exhaust flow 402 at 404 and the supply flow 403 flowing through the supply air path 405 . Thus, when the heat exchange type ventilator 410 performs ventilation, the heat of the exhaust air flow 402 discharged outdoors is transferred to the air supply air flow 403 taken into the room, thereby suppressing the discharge of unnecessary heat and sending the heat to the indoor air. heat recovery. As a result, in winter, when ventilation is performed, it is possible to suppress a decrease in the indoor temperature due to the low-temperature outdoor air. On the other hand, in summer, when ventilation is performed, it is possible to suppress an increase in indoor temperature due to outdoor air having a high temperature.

实施方式5至少包含以下的实施方式5-1、实施方式5-2以及实施方式5-3。Embodiment 5 includes at least the following Embodiment 5-1, Embodiment 5-2, and Embodiment 5-3.

(实施方式5-1)(Embodiment 5-1)

接下来,参照图32对实施方式5-1的带调湿功能(除加湿功能)的热交换型换气装置进行说明。图32是示出本发明的实施方式5-1的带调湿功能的热交换型换气装置的结构的示意图。需要说明的是,在图32以后的各示意图中,将排气风路404以及供气风路405兼作为热交换型换气装置410内的排气流402以及供气流403的流动(黑箭头)进行标记。Next, a heat exchange type ventilator with a humidity control function (dehumidification function) according to Embodiment 5-1 will be described with reference to FIG. 32 . Fig. 32 is a schematic diagram showing the configuration of a heat exchange type ventilator with a humidity control function according to Embodiment 5-1 of the present invention. It should be noted that in each schematic diagram after FIG. 32 , the exhaust air passage 404 and the air supply air passage 405 are also used as the flow of the exhaust air flow 402 and the air supply air flow 403 in the heat exchange type ventilator 410 (black arrows). ) to mark.

首先,对带调湿功能的热交换型换气装置450中的气流(排气流402、供气流403)的流动进行说明。需要说明的是,在以下的说明中,热交换后的气流(排气流402、供气流403)或风路(排气风路404、供气风路405)表示通过热交换型换气装置410中的热交换元件412后的气流或风路,热交换前的气流或风路表示通过热交换元件412前的气流或风路。First, the flow of the airflow (exhaust airflow 402, supply airflow 403) in the heat exchange type ventilator 450 with a humidity control function will be described. It should be noted that, in the following description, the airflow (exhaust airflow 402, supply airflow 403) or air path (exhaust air path 404, air supply air path 405) after heat exchange means that the air flow through the heat exchange type ventilator The airflow or air path after the heat exchange element 412 in 410 and the airflow or air path before heat exchange represent the airflow or air path before passing through the heat exchange element 412 .

如图32所示,实施方式5-1的带调湿功能的热交换型换气装置450具有相对于前提例的热交换型换气装置410连结作为赋予除湿功能的机构的除湿装置430和作为赋予加湿功能的机构的液体微细化装置460而成的结构。需要说明的是,液体微细化装置460相当于“加湿装置”。As shown in FIG. 32 , the heat-exchange-type ventilator 450 with a humidity control function according to Embodiment 5-1 has a dehumidifier 430 as a mechanism for imparting a dehumidification function and a dehumidifier as It is a structure in which the liquid miniaturization device 460 of the mechanism for humidification is provided. It should be noted that the liquid miniaturization device 460 corresponds to a "humidifier".

并且,如图32所示,在热交换型换气装置410中,在热交换后的排气风路404设置有切换风门440,在热交换后的供气风路405设置有切换风门441以及切换风门443。切换风门440是用于对使在排气风路404流通的排气流402向室外流动的状态、以及使在排气风路404流通的排气流402向除湿装置430流动的状态进行切换的风门。另外,切换风门441是用于对使在供气风路405流通的供气流403向室内侧流动的状态、以及使在供气风路405流通的供气流403向除湿装置430流动的状态进行切换的风门。另外,切换风门443设置于比切换风门441靠下游侧(供气风路405的室内侧)的位置,且是用于对使在供气风路405流通的供气流403向室内流动的状态、以及使在供气风路405流通的供气流403向液体微细化装置460流动的状态进行切换的风门。需要说明的是,构成为使在除湿装置430流通后的供气流403在比切换风门443靠上游侧(热交换元件412侧)的位置向供气风路405导出。在此,切换风门440、切换风门441以及切换风门443相当于“风路切换部”。And, as shown in FIG. 32, in the heat exchange type ventilator 410, a switching damper 440 is provided on the exhaust air passage 404 after the heat exchange, and a switching damper 441 and a switching damper 441 are provided on the air supply air passage 405 after the heat exchange. Switch damper 443. The switching damper 440 is used to switch between the state where the exhaust air flow 402 flowing in the exhaust air passage 404 flows to the outside and the state in which the exhaust air flow 402 flowing in the exhaust air passage 404 flows to the dehumidifier 430 . throttle. In addition, the switch damper 441 is for switching between the state where the supply air flow 403 flowing through the air supply air passage 405 flows toward the indoor side, and the state where the supply air flow 403 flowing through the air supply air passage 405 flows toward the dehumidifier 430 . damper. In addition, the switching damper 443 is provided on the downstream side (indoor side of the air supply air path 405 ) of the switching damper 441 , and is used to control the state of the supply air flow 403 flowing through the air supply air path 405 flowing into the room. And a damper for switching the state where the supply air flow 403 flowing through the supply air passage 405 flows to the liquid miniaturization device 460 . It should be noted that the supply air flow 403 having passed through the dehumidifier 430 is led out to the supply air passage 405 upstream of the switching damper 443 (the heat exchange element 412 side). Here, the switching damper 440, the switching damper 441, and the switching damper 443 correspond to an "air passage switching part."

在带调湿功能的热交换型换气装置450中,通过对各切换风门(切换风门440、切换风门441、切换风门443)进行切换,能够成为如下状态:(A)热交换后的供气流403以不在除湿装置430以及液体微细化装置460流通的方式向室内供给的A状态;(B)热交换后的供气流403在除湿装置430流通,之后以不在液体微细化装置460流通的方式向室内供给的B状态;(C)热交换后的供气流403不在除湿装置430流通,而在液体微细化装置460流通并向室内供给的C状态;(D)热交换后的供气流403在除湿装置430流通,之后在液体微细化装置460流通并向室内供给的D状态。In the heat exchange type ventilator 450 with a humidity control function, by switching each switching damper (switching damper 440, switching damper 441, switching damper 443), it can be in the following state: (A) The supply air flow after heat exchange 403 is the A state that is supplied to the room without circulating through the dehumidification device 430 and the liquid miniaturization device 460; State B of indoor supply; (C) state C in which the supply air flow 403 after heat exchange does not circulate in the dehumidification device 430, but circulates in the liquid miniaturization device 460 and is supplied to the room; (D) the supply air flow 403 after heat exchange is dehumidified The D state in which the device 430 circulates, and then circulates in the liquid miniaturization device 460 and supplies it to the chamber.

在A状态下,在无需除加湿的情况下,通过热交换型换气装置410而进行了热交换的供气流403被直接向室内供给。In state A, when dehumidification and humidification are not required, the supply air flow 403 heat-exchanged by the heat-exchange-type ventilator 410 is directly supplied into the room.

在B状态下,在需要除湿的夏季等的情况下,在对热交换后的供气流403执行了除湿后,向室内供给除湿后的供气流3。In state B, in summer when dehumidification is required, dehumidified supply air 403 after heat exchange is dehumidified, and dehumidified supply air 3 is supplied to the room.

在C状态下,在需要加湿的冬季等的情况下,在对热交换后的供气流403执行了加湿后,向室内供给加湿后的供气流403。In the state C, in winter when humidification is required, after humidifying the heat-exchanged supply air 403 , the humidified supply air 403 is supplied into the room.

在D状态下,在比C状态需要加湿量的情况下,在加热热交换后的供气流403并对加热后的供气流403执行了加湿后,向室内供给加湿后的供气流403。In the state D, when the amount of humidification is required more than that in the state C, the heat-exchanged supply air 403 is heated and humidified, and then the humidified supply air 403 is supplied into the room.

如上所述,带调湿功能的热交换型换气装置450构成为通过将供气流403的流动切换为A状态~D状态从而在控制为适当的湿度的状态下向室内供给供气流403。需要说明的是,对于除湿动作以及加湿动作的详细情况将后述,但在无需除湿以及加湿的情况下,通过设为A状态,从而由除湿装置430以及液体微细化装置460引起的压力损失的上升得到抑制,作为带调湿功能的热交换型换气装置450,能够实现全年的节能下的运转。As described above, the heat exchange type ventilator 450 with a humidity control function is configured to supply the supply airflow 403 to the room while controlling the appropriate humidity by switching the flow of the supply airflow 403 from the A state to the D state. It should be noted that the details of the dehumidification operation and humidification operation will be described later, but when dehumidification and humidification are not required, the pressure loss caused by the dehumidification device 430 and the liquid miniaturization device 460 can be reduced by setting the A state. The rise is suppressed, and as the heat exchange type ventilator 450 with a humidity control function, it is possible to realize energy-saving operation throughout the year.

接下来,参照图32~图34对带调湿功能的热交换型换气装置450中的除湿装置430进行说明。图33是示出带调湿功能的热交换型换气装置中除湿模式下的除湿装置的结构的示意图。图34是示出带调湿功能的热交换型换气装置中加热模式下的除湿装置的结构的示意图。Next, the dehumidifier 430 in the heat exchange type ventilator 450 with a humidity control function will be described with reference to FIGS. 32 to 34 . Fig. 33 is a schematic diagram showing the structure of a dehumidifier in a dehumidification mode in a heat exchange type ventilator with a humidity control function. Fig. 34 is a schematic diagram showing the structure of a dehumidifier in a heating mode in a heat exchange type ventilator with a humidity control function.

除湿装置430是用于进行热交换型换气装置410中的热交换后的供气流403的除湿或加热的单元。如图32所示,除湿装置430具备:制冷剂循环,其构成为包括压缩机431、四通阀431a、散热器432、膨胀器433以及s热器434;以及热交换器435。并且,本实施方式的制冷剂循环构成为将压缩机431(+四通阀431a)、散热器432、膨胀器433以及吸热器434依次连结为环状。在制冷剂循环中,例如,利用替代氟利昂(HFC134a)作为制冷剂。另外,构成制冷循环的各设备的连结多使用铜管,且以焊接方式连结。The dehumidifier 430 is a unit for dehumidifying or heating the heat-exchanged supply airflow 403 in the heat exchange type ventilator 410 . As shown in FIG. 32 , the dehumidifier 430 includes: a refrigerant cycle including a compressor 431 , a four-way valve 431 a , a radiator 432 , an expander 433 , and a heat exchanger 434 ; and a heat exchanger 435 . In addition, the refrigerant cycle of the present embodiment is configured such that the compressor 431 (+four-way valve 431 a ), the radiator 432 , the expander 433 , and the heat absorber 434 are sequentially connected in a ring shape. In the refrigerant cycle, for example, alternative Freon (HFC134a) is used as the refrigerant. In addition, copper pipes are often used for connecting the various devices that constitute the refrigeration cycle, and they are connected by welding.

四通阀431a是用于对在制冷剂循环内流动的制冷剂的流动方向进行切换的设备(可逆阀)。具体而言,四通阀431a对使制冷剂依次在压缩机431、散热器432、膨胀器433以及吸热器434流通的第一方向(参照图33)、以及使制冷剂依次在压缩机431、吸热器434、膨胀器433以及散热器432流通的第二方向(参照图34)进行切换。对于第一方向和第二方向,制冷剂的流动成为相反的方向。The four-way valve 431a is a device (reversible valve) for switching the flow direction of the refrigerant flowing in the refrigerant cycle. Specifically, the four-way valve 431a controls the first direction (refer to FIG. 33 ) in which the refrigerant flows sequentially through the compressor 431 , the radiator 432 , the expander 433 , and the heat absorber 434 , and the flow of the refrigerant sequentially through the compressor 431 . , the heat absorber 434, the expander 433, and the radiator 432 are switched in the second direction (refer to FIG. 34 ) of circulation. The flow of the refrigerant is in the opposite direction with respect to the first direction and the second direction.

制冷剂循环具有:除湿模式的状态,通过四通阀431a而使制冷剂在第一方向上流通并对供气流403进行除湿(参照图33);以及加热模式的状态,通过四通阀431a而使制冷剂在第二方向上流通并对供气流403进行加热(参照图34)。需要说明的是,虽然散热器432和吸热器434是对应于除湿模式下的功能的称呼,但以下在加热模式下也直接使用这样的称呼进行说明。The refrigerant cycle has: the state of the dehumidification mode, in which the refrigerant is circulated in the first direction through the four-way valve 431a and dehumidifies the supply air flow 403 (refer to FIG. 33 ); The refrigerant is circulated in the second direction to heat the supply air flow 403 (see FIG. 34 ). It should be noted that although the radiator 432 and the heat absorber 434 are names corresponding to the functions in the dehumidification mode, they will also be directly used in the heating mode for description below.

<除湿模式><Dehumidification mode>

如图33所示,在除湿模式下,通过四通阀431a而使制冷剂依次在压缩机431、散热器432、膨胀器433、吸热器434(第一方向)流通。As shown in FIG. 33 , in the dehumidification mode, the refrigerant flows sequentially through the compressor 431 , radiator 432 , expander 433 , and heat absorber 434 (first direction) through the four-way valve 431 a.

压缩机431是对制冷剂循环中的低温、低压的制冷剂气体(工作介质气体)进行压缩而提高压力使其高温化的设备。在本实施方式中,压缩机431将制冷剂气体的温度高温化至45℃左右。The compressor 431 is a device that compresses low-temperature and low-pressure refrigerant gas (working medium gas) in the refrigerant cycle to increase the pressure and increase the temperature. In the present embodiment, the compressor 431 raises the temperature of the refrigerant gas to about 45°C.

散热器432是在通过压缩机431而成为高温、高压的制冷剂气体与空气(排气流402)之间进行热交换从而向外部(制冷剂循环外)排放热量的设备。此时,制冷剂气体在高压下被冷凝而液化。在散热器432中,导入的制冷剂气体的温度(45℃左右)高于空气的温度,因此若进行热交换,则空气升温,制冷剂气体被冷却。需要说明的是,散热器432也称为冷凝器。The radiator 432 is a device for exchanging heat between refrigerant gas that has become high-temperature and high-pressure by the compressor 431 and air (exhaust gas flow 402 ) to discharge heat to the outside (outside the refrigerant cycle). At this time, the refrigerant gas is condensed and liquefied under high pressure. In the radiator 432, since the temperature (about 45 degreeC) of the refrigerant|coolant gas introduced is higher than the temperature of air, when heat exchange is performed, the temperature of the air rises, and the refrigerant gas is cooled. It should be noted that the radiator 432 is also called a condenser.

膨胀器433是对通过散热器432而液化了的高压的制冷剂进行减压从而使其成为原本的低温、低压的液体的设备。需要说明的是,膨胀器433也称为膨胀阀。The expander 433 is a device that decompresses the high-pressure refrigerant liquefied by the radiator 432 to convert it into an original low-temperature and low-pressure liquid. It should be noted that the expander 433 is also called an expansion valve.

吸热器434是使在膨胀器433流通后的制冷剂从空气吸收热量而蒸发并使液状的制冷剂成为低温、低压的制冷剂气体的设备。在吸热器434中,导入的制冷剂的温度低于空气的温度,因此若进行热交换,则空气被冷却,制冷剂升温。需要说明的是,吸热器434也称为蒸发器。The heat absorber 434 is a device that causes the refrigerant that has passed through the expander 433 to absorb heat from the air to evaporate the liquid refrigerant into a low-temperature, low-pressure refrigerant gas. In the heat absorber 434 , since the temperature of the introduced refrigerant is lower than the temperature of the air, when heat exchange is performed, the air is cooled and the temperature of the refrigerant rises. It should be noted that the heat absorber 434 is also called an evaporator.

<加热模式><heating mode>

如图34所示,在加热模式下,通过四通阀431a而使制冷剂依次在压缩机431、吸热器434、膨胀器433以及散热器432(第二方向)流通。As shown in FIG. 34 , in the heating mode, the refrigerant flows through the compressor 431 , the heat absorber 434 , the expander 433 , and the radiator 432 (second direction) sequentially through the four-way valve 431 a.

与除湿模式相同地,压缩机431对制冷剂循环中的低温、低压的制冷剂气体(工作介质气体)进行压缩而提高压力使其高温化。Similar to the dehumidification mode, the compressor 431 compresses low-temperature and low-pressure refrigerant gas (working medium gas) in the refrigerant cycle to increase the pressure and increase the temperature.

吸热器434成为发挥与除湿模式下的散热器432相同的功能的设备。具体而言,吸热器434在通过压缩机431而成为高温、高压的制冷剂气体与空气(后述的第一供气流403a)之间进行热交换从而向外部(制冷剂循环外)排放热量。此时,制冷剂气体在高压下被冷凝而液化。在吸热器434中,导入的制冷剂气体的温度(45℃左右)高于空气的温度,因此若进行热交换,则空气升温,制冷剂气体被冷却。The heat absorber 434 is a device that functions the same as the radiator 432 in the dehumidification mode. Specifically, the heat absorber 434 discharges heat to the outside (outside the refrigerant cycle) by exchanging heat between the refrigerant gas that has become high-temperature and high-pressure by the compressor 431 and air (the first supply air flow 403 a described later). . At this time, the refrigerant gas is condensed and liquefied under high pressure. In the heat absorber 434, since the temperature (about 45 degreeC) of the refrigerant|coolant gas introduced is higher than the temperature of air, when heat exchange is performed, the temperature of the air rises, and the refrigerant gas is cooled.

膨胀器433对通过吸热器434而液化了的高压的制冷剂进行减压从而使其成为原本的低温、低压的液体。The expander 433 depressurizes the high-pressure refrigerant liquefied by the heat absorber 434 into an original low-temperature and low-pressure liquid.

散热器432成为发挥与除湿模式下的吸热器434相同的功能的设备。具体而言,散热器432使在膨胀器433流通后的制冷剂从空气吸收热量而蒸发并使液状的制冷剂成为低温、低压的制冷剂气体。在散热器432中,导入的制冷剂的温度低于空气的温度,因此若进行热交换,则空气被冷却,制冷剂升温。The radiator 432 functions as the same function as the heat absorber 434 in the dehumidification mode. Specifically, the radiator 432 causes the refrigerant that has passed through the expander 433 to absorb heat from the air to evaporate the liquid refrigerant into a low-temperature, low-pressure refrigerant gas. Since the temperature of the refrigerant introduced into the radiator 432 is lower than that of the air, when heat exchange is performed, the air is cooled and the temperature of the refrigerant rises.

另外,热交换器435是具备显热型的热交换元件的热交换器。热交换器435与现有的除湿装置1100中的热交换器1111(参照图9)同样地配置在吸热器434的下游侧(吸热器434与散热器432之间)的空间。在热交换器435的内部设置有供空气向规定的方向流动的第一流路436、以及供空气向与第一流路436大致正交的方向流动的第二流路437。第一流路436是使从吸热器434导入的空气以不在散热器432流通的方式向供气风路405导出的流路。第二流路437是使从热交换型换气装置410导入的空气以不在散热器432流通的方式向供气风路405导出的流路。并且,热交换器435在流动在第一流路436的空气与流动在第二流路437的空气之间仅对显热进行交换。In addition, the heat exchanger 435 is a heat exchanger including a sensible heat type heat exchange element. Heat exchanger 435 is disposed in a space downstream of heat absorber 434 (between heat absorber 434 and radiator 432 ), similarly to heat exchanger 1111 (see FIG. 9 ) in conventional dehumidifier 1100 . Inside the heat exchanger 435 are provided a first flow path 436 through which air flows in a predetermined direction, and a second flow path 437 through which air flows in a direction substantially perpendicular to the first flow path 436 . The first flow path 436 is a flow path that leads the air introduced from the heat absorber 434 to the air supply air path 405 without circulating through the radiator 432 . The second flow path 437 is a flow path that leads the air introduced from the heat exchange type ventilator 410 to the air supply air path 405 without circulating through the radiator 432 . Furthermore, the heat exchanger 435 exchanges only sensible heat between the air flowing through the first flow path 436 and the air flowing through the second flow path 437 .

接下来,对除湿装置430中的气流(排气流402、供气流403)的流动进行说明。Next, the flow of the airflow (exhaust airflow 402, supply airflow 403) in the dehumidifier 430 will be described.

如图32所示,在除湿装置430设置有分支风门442,该分支风门442将向内部导入的热交换后的供气流403分割为两股气流(第一供气流403a、第二供气流403b)。第一供气流403a是向吸热器434导入并在第一流路436流通的气流,第二供气流403b是向热交换器435导入并在第二流路437流通的气流。分支风门442构成为使第一供气流403a的风量与第二供气流403b的风量的比率可变。也就是说,分支风门442能够通过调整风门的角度(热交换后的供气流3的分支比例)而容易地增减第一供气流403a相对于第二供气流403b的比例。在此,第一供气流403a相当于“导入到除湿装置的供气流的一部分”,第二供气流403b相当于“导入到除湿装置的供气流的另一部分”。As shown in FIG. 32 , the dehumidifier 430 is provided with a branch damper 442 that divides the heat-exchanged supply airflow 403 introduced into the inside into two airflows (the first supply airflow 403a and the second supply airflow 403b ). . The first supply airflow 403 a is an airflow introduced to the heat absorber 434 and circulated in the first flowpath 436 , and the second supply airflow 403 b is an airflow introduced into the heat exchanger 435 and circulated in the second flowpath 437 . The branch damper 442 is configured to vary the ratio of the air volume of the first supply air flow 403a to the air volume of the second supply air flow 403b. That is, the branch damper 442 can easily increase or decrease the ratio of the first supply airflow 403 a to the second supply airflow 403 b by adjusting the angle of the damper (the branching ratio of the heat-exchanged supply airflow 3 ). Here, the first supply airflow 403a corresponds to "a part of the supply airflow introduced into the dehumidifier", and the second supply airflow 403b corresponds to "the other part of the supply airflow introduced into the dehumidifier".

在除湿装置430中,分割后的供气流3中的第一供气流403a在依次流通过吸热器434、热交换器435的第一流路436、散热器432(第一方向)后,向热交换型换气装置410中的热交换后的供气风路405导出。另一方面,第二供气流403b在依次流通过热交换器435的第二流路437、散热器432(第二方向)后,向热交换后的供气风路405导出。在本实施方式中,除湿装置430构成为使在热交换器435流通后的第一供气流403a与在热交换器435流通后的第二供气流403b在合流后,向热交换后的供气风路405导出。由此,进行作为向室内输送的供气流403的温度调整。关于向室内输送的供气流403的温度调整方法将后述。In the dehumidifier 430, the first supply airflow 403a in the divided supply airflow 3 flows through the heat absorber 434, the first flow path 436 of the heat exchanger 435, and the radiator 432 (first direction) in sequence, and then flows to the heat The heat exchanged air supply air path 405 in the exchange type ventilator 410 is led out. On the other hand, the second supply air flow 403b flows through the second flow channel 437 of the heat exchanger 435 and the radiator 432 (in the second direction) in sequence, and then is led out to the supply air channel 405 after heat exchange. In this embodiment, the dehumidifier 430 is configured such that the first supply airflow 403a after passing through the heat exchanger 435 and the second supply airflow 403b after passing through the heat exchanger 435 are merged, and then the heat-exchanged supply air The wind road 405 leads out. Thereby, temperature adjustment is performed as the supply air flow 403 sent into the room. A method for adjusting the temperature of the supply air flow 403 sent into the room will be described later.

另一方面,导入到除湿装置430的排气流402在流通过散热器432后,向热交换型换气装置410中的热交换后的排气风路404导出。也就是说,在本实施方式中,除湿装置430构成为通过从热交换型换气装置410导入的排气流402来冷却散热器432。On the other hand, the exhaust flow 402 introduced into the dehumidifier 430 passes through the radiator 432 and then is led out to the exhaust air passage 404 after heat exchange in the heat exchange type ventilator 410 . That is, in this embodiment, the dehumidifier 430 is configured to cool the radiator 432 by the exhaust gas flow 402 introduced from the heat exchange type ventilator 410 .

接下来,对除湿装置430的除湿动作(除湿模式)以及加热动作(加热模式)进行说明。Next, the dehumidification operation (dehumidification mode) and heating operation (heating mode) of the dehumidification device 430 will be described.

<除湿模式><Dehumidification mode>

首先,通过运转带调湿功能的热交换型换气装置450,从而以使气流的流动成为B状态的方式对各切换风门进行切换。然后,排气风扇413和供气风扇416进行驱动,在热交换型换气装置410的内部产生在排气风路404流通的排气流402以及在供气风路405流通的供气流403。First, by operating the heat exchange type ventilator 450 with a humidity control function, each switching damper is switched so that the flow of the airflow becomes the B state. Then, the exhaust fan 413 and the air supply fan 416 are driven, and the exhaust air flow 402 flowing through the exhaust air passage 404 and the supply air flow 403 flowing through the air supply air passage 405 are generated inside the heat exchange type ventilator 410 .

例如,在夏季,排气流402是被空调等调节为舒适的温度湿度的室内的空气,供气流403是高温多湿的室外的空气。For example, in summer, the exhaust air flow 402 is indoor air adjusted to a comfortable temperature and humidity by an air conditioner, and the supply air flow 403 is outdoor air with high temperature and humidity.

排气流402与供气流403在热交换型换气装置410的内部交换显热与潜热。此时,水分从高温多湿的供气流403向排气流402移动,因此供气流403的水分被去除。也就是说,通在过热交换型换气装置410的内部的全热交换,从而进行针对供气流403的除湿(第一除湿)。The exhaust flow 402 and the supply flow 403 exchange sensible heat and latent heat inside the heat exchange type ventilator 410 . At this time, moisture moves from the high-temperature and high-humidity supply airflow 403 to the exhaust flow 402, so the moisture in the supply airflow 403 is removed. That is, dehumidification (first dehumidification) for the supply airflow 403 is performed by total heat exchange inside the heat exchange type ventilator 410 .

接下来,热交换后的供气流403向除湿装置430导入并被除湿。具体而言,导入到除湿装置430的供气流403中的第一供气流403a被吸热器434冷却。由此,第一供气流403a的温度成为露点温度以下,第一供气流403a结露,因此第一供气流403a的水分被去除。也就是说,通过在吸热器434流通,从而进行针对第一供气流403a的除湿(第二除湿)。Next, the heat-exchanged air supply air 403 is introduced into the dehumidifier 430 and dehumidified. Specifically, the first supply airflow 403 a of the supply airflow 403 introduced into the dehumidification device 430 is cooled by the heat absorber 434 . Thereby, the temperature of the 1st supply airflow 403a becomes below dew point temperature, and since the 1st supply airflow 403a condenses, the moisture of the 1st supply airflow 403a is removed. That is, dehumidification (second dehumidification) with respect to the 1st supply airflow 403a is performed by passing through the heat absorber 434.

此外,导入到除湿装置430的供气流403中的剩余的第二供气流403b流入热交换器435的第二流路437,并与第一流路436内的被吸热器434冷却了的第一供气流403a进行热交换。由此,第二流路437内的第二供气流403b被冷却而结露,因此第二供气流403b的水分被去除。也就是说,通过在热交换器435进行显热交换,从而进行针对第二供气流403b的除湿(第三除湿)。In addition, the remaining second supply airflow 403b of the supply airflow 403 introduced into the dehumidification device 430 flows into the second flow path 437 of the heat exchanger 435, and is mixed with the first flow path 436 cooled by the heat absorber 434 in the first flow path 436. Air flow 403a is provided for heat exchange. As a result, the second supply airflow 403b in the second flow path 437 is cooled to condense dew, and thus the moisture in the second supply airflow 403b is removed. That is, by performing sensible heat exchange in the heat exchanger 435, dehumidification (third dehumidification) with respect to the 2nd supply airflow 403b is performed.

也就是说,带调湿功能的热交换型换气装置450通过由热交换型换气装置410、吸热器434以及热交换器435各设备进行的除湿(第一除湿~第三除湿),而将水分从室外的高温多湿的供气流403中去除,此时,确保了所需的除湿量。That is to say, the heat exchange type ventilator 450 with a humidity control function performs dehumidification (first to third dehumidification) by the heat exchange type ventilator 410, the heat absorber 434, and the heat exchanger 435, And the moisture is removed from the outdoor high-temperature and humid air supply air 403 , at this time, the required dehumidification capacity is ensured.

并且,带调湿功能的热交换型换气装置450中的除湿装置430构成为,从热交换型换气装置410的排气风路404导入排气流402,并使导入的排气流402在散热器432流通。在散热器432中,通过导入的排气流402来排放相当于在吸热器434中吸收的能量以及在压缩机431中用于使制冷剂循环内的制冷剂循环的能量的热量,从散热器432吸收了热量的排气流402向排气风路404导出,并直接向室外排出。也就是说,散热器432被导入的排气流402冷却。并且,作为其结果,伴随在散热器432流通而产生的供气流403(第一供气流403a、第二供气流403b)的温度上升得到抑制。In addition, the dehumidifier 430 in the heat exchange type ventilator 450 with a humidity control function is configured to introduce the exhaust air flow 402 from the exhaust air passage 404 of the heat exchange type ventilator 410, and to make the introduced exhaust air flow 402 Circulation at radiator 432 . In the radiator 432, heat equivalent to the energy absorbed in the heat absorber 434 and the energy used to circulate the refrigerant in the refrigerant cycle in the compressor 431 is discharged by the introduced exhaust flow 402, from heat radiation The exhaust flow 402 that has absorbed heat in the device 432 is guided to the exhaust air path 404 and directly discharged to the outside. That is, the radiator 432 is cooled by the incoming exhaust gas flow 402 . And, as a result, the temperature rise of the supply airflow 403 (the first supply airflow 403a, the second supply airflow 403b) accompanying the flow through the radiator 432 is suppressed.

<加热模式><heating mode>

首先,通过运转带调湿功能的热交换型换气装置450,从而以使气流的流动成为D状态的方式对各切换风门进行切换。然后,排气风扇413和供气风扇416进行驱动,在热交换型换气装置410的内部产生在排气风路404流通的排气流402以及在供气风路405流通的供气流403。First, by operating the heat exchange type ventilator 450 with a humidity control function, each switching damper is switched so that the flow of the airflow becomes the D state. Then, the exhaust fan 413 and the air supply fan 416 are driven, and the exhaust air flow 402 flowing through the exhaust air passage 404 and the supply air flow 403 flowing through the air supply air passage 405 are generated inside the heat exchange type ventilator 410 .

例如,在冬季,排气流402是被空调等调节为舒适的温度湿度的室内的空气,供气流403是低温干燥的室外的空气。For example, in winter, the exhaust air flow 402 is indoor air adjusted to a comfortable temperature and humidity by an air conditioner, and the supply air flow 403 is low-temperature and dry outdoor air.

排气流402与供气流403在热交换型换气装置410的内部交换显热与潜热。此时,水分从排气流402向低温干燥的供气流403移动,但供气流403并未被充分加湿。The exhaust flow 402 and the supply flow 403 exchange sensible heat and latent heat inside the heat exchange type ventilator 410 . At this point, moisture is moving from the exhaust gas stream 402 to the low temperature, dry feed gas stream 403, but the feed gas stream 403 is not sufficiently humidified.

接下来,热交换后的供气流403向除湿装置430导入并被加热。具体而言,导入到除湿装置430的供气流403中的第一供气流403a被吸热器434加热。另外,导入到除湿装置430的供气流403中的剩余的第二供气流403b流入热交换器435的第二流路437,并与第一流路436内的被吸热器434加热了的第一供气流403a进行热交换。然后,由于在散热器432流通,从热交换器435导出的供气流403(第一供气流403a、第二供气流403b)的温度降低,但是与向除湿装置430前的供气流403的温度相比供气流403的温度上升并向供气风路405导出。Next, the heat-exchanged supply airflow 403 is introduced into the dehumidifier 430 and heated. Specifically, the first supply airflow 403 a of the supply airflow 403 introduced into the dehumidification device 430 is heated by the heat absorber 434 . In addition, the remaining second supply airflow 403b of the supply airflow 403 introduced into the dehumidifier 430 flows into the second flow path 437 of the heat exchanger 435, and is mixed with the first flow path 436 heated by the heat absorber 434. Air flow 403a is provided for heat exchange. Then, due to circulation in the radiator 432, the temperature of the supply airflow 403 (the first supply airflow 403a, the second supply airflow 403b) derived from the heat exchanger 435 is reduced, but it is the same as the temperature of the supply airflow 403 before the dehumidifier 430. The temperature of the air supply airflow 403 rises and is led out to the air supply air passage 405 .

在散热器432中,通过导入的排气流402来吸取相当于在吸热器434中放出的能量以及在压缩机431中用于使制冷剂循环内的制冷剂循环的能量的热量,对散热器432赋予了热量的排气流402向排气风路404导出,并直接向室外排出。In the radiator 432, heat corresponding to the energy released in the heat absorber 434 and the energy used to circulate the refrigerant in the refrigerant cycle in the compressor 431 is absorbed by the introduced exhaust flow 402, and the heat radiation is The exhaust flow 402 to which heat has been imparted by the device 432 is led out to the exhaust air path 404, and is directly discharged outdoors.

接下来,对除湿装置430中的供气流403的温度调整方法进行说明。Next, a method for adjusting the temperature of the supply air flow 403 in the dehumidifier 430 will be described.

如图32所示,在带调湿功能的热交换型换气装置450中,与分支风门442的分支比例的控制相关联地具有:第一温度传感器445,其对热交换前的排气流402的温度进行检测;第二温度传感器446,其对在除湿装置430的吸热器434流通并合流后的供气流403(第一供气流403a与第二供气流403b的混合气流)的温度进行检测;以及控制部(未图示),其对分支风门442进行控制。As shown in FIG. 32 , in the heat exchange type ventilator 450 with a humidity control function, in connection with the control of the branch ratio of the branch damper 442 , there is a first temperature sensor 445 , which measures the temperature of the exhaust flow before heat exchange. The temperature of 402 is detected; the second temperature sensor 446 is used to detect the temperature of the air supply air 403 (the mixed air flow of the first air supply air 403a and the second air supply 403b) after the heat absorber 434 of the dehumidification device 430 circulates and merges. detection; and a control unit (not shown), which controls the branch damper 442 .

控制部基于由第一温度传感器445检测出的温度,以调整分支风门442的分支比例而使由第二温度传感器446检测出的温度成为规定的温度范围的方式控制分支风门442。具体而言,在第二温度传感器446处的温度高于第一温度传感器445处的温度的情况下,控制部使相对于第二供气流403b的风量的第一供气流403a的风量增加,从而使除湿后的供气流403的温度下降。另一方面,在第二温度传感器446处的温度低于第一温度传感器445处的温度的情况下,控制部使相对于第二供气流403b的风量的第一供气流403a的风量减少,从而使供气流403的温度上升。由此,在带调湿功能的热交换型换气装置450中,能够对成为与第一温度传感器445(从室内吸入的热交换前的排气流402)同等的温度的供气流403进行供给。The control unit controls the branch damper 442 so that the temperature detected by the second temperature sensor 446 falls within a predetermined temperature range by adjusting the branch ratio of the branch damper 442 based on the temperature detected by the first temperature sensor 445 . Specifically, when the temperature at the second temperature sensor 446 is higher than the temperature at the first temperature sensor 445, the control unit increases the air volume of the first supply air stream 403a relative to the air volume of the second supply air stream 403b, thereby The temperature of the dehumidified feed gas stream 403 is lowered. On the other hand, when the temperature at the second temperature sensor 446 is lower than the temperature at the first temperature sensor 445, the control unit reduces the air volume of the first supply air stream 403a relative to the air volume of the second supply air stream 403b, thereby The temperature of the feed gas stream 403 is raised. Thus, in the heat exchange type ventilator 450 with a humidity control function, it is possible to supply the supply air flow 403 at the same temperature as the first temperature sensor 445 (exhaust air flow 402 before heat exchange sucked from the room). .

接下来,参照图35对带调湿功能的热交换型换气装置450中的液体微细化装置460进行说明。图35是示出带调湿功能的热交换型换气装置中的液体微细化装置的结构的示意图。Next, the liquid miniaturization device 460 in the heat exchange type ventilator 450 with a humidity control function will be described with reference to FIG. 35 . Fig. 35 is a schematic diagram showing the structure of a liquid miniaturization device in a heat exchange type ventilator with a humidity control function.

液体微细化装置460是将水微细化并使吸入的空气包含微细化了的水而吹出的加湿装置。The liquid miniaturization device 460 is a humidifier that miniaturizes water and blows out the inhaled air containing the miniaturized water.

如图35所示,液体微细化装置460具备吸入口462、吹出口463、内筒464、外筒468以及接水部471。As shown in FIG. 35 , the liquid miniaturization device 460 includes an inlet 462 , an outlet 463 , an inner cylinder 464 , an outer cylinder 468 , and a water receiving portion 471 .

吸入口462是用于向液体微细化装置460的内部吸入空气的开口,并设置于液体微细化装置460的侧面。另外,吸入口462是能够连接管道的形状(例如,圆筒形状),并经由切换风门443而与热交换后的供气风路405连接(参照图32)。The suction port 462 is an opening for sucking air into the liquid miniaturization device 460 , and is provided on a side surface of the liquid miniaturization device 460 . In addition, the suction port 462 has a shape (for example, a cylindrical shape) to which ducts can be connected, and is connected to the heat-exchanged air supply air path 405 via the switching damper 443 (see FIG. 32 ).

吹出口463是用于将通过了液体微细化装置460的内部的空气吹出的开口,并设置于液体微细化装置460的上表面。另外,吹出口463形成于由内筒464和外筒468分隔出的区域(内筒464与外筒468之间的区域)。并且,吹出口463设置于液体微细化装置460的上表面部中的内筒464的周围。并且,吹出口463设置为位于比吸入口462靠上方的位置。另外,吹出口463是能够连接筒状的管道的形状,并与热交换后的供气风路405连接(参照图32)。The air outlet 463 is an opening for blowing out the air passing through the liquid miniaturization device 460 , and is provided on the upper surface of the liquid miniaturization device 460 . In addition, the outlet 463 is formed in a region partitioned by the inner cylinder 464 and the outer cylinder 468 (the region between the inner cylinder 464 and the outer cylinder 468 ). In addition, the outlet 463 is provided around the inner cylinder 464 on the upper surface of the liquid miniaturization device 460 . In addition, the air outlet 463 is provided above the air inlet 462 . Moreover, the air outlet 463 has the shape which can connect the cylindrical duct, and is connected to the air supply air path 405 after heat exchange (refer FIG. 32).

并且,从吸入口462吸入的空气通过后述的液体微细化部477而成为加湿后的空气,并从吹出口463吹出。Then, the air sucked in from the suction port 462 passes through the liquid miniaturization unit 477 described later to become humidified air, and is blown out from the blower port 463 .

内筒464配置于液体微细化装置460的内部的中央附近。另外,内筒464具有朝向大致铅垂方向下方开口的通风口467,且形成为中空圆筒形状。The inner cylinder 464 is disposed near the center of the liquid miniaturization device 460 . In addition, the inner cylinder 464 has a vent 467 opened substantially vertically downward, and is formed in a hollow cylindrical shape.

外筒468形成为圆筒形状,且以将内筒464内包的方式配置。另外,在外筒468的侧壁468a设置有用于向后述的贮水部470供给水的供水口472。并且,供水口472经由第一通水路444a而与供排水管439连接。需要说明的是,供水口472设置于比贮水部470的上表面(贮水部470所能够贮存的最大水位的面:水面480)靠铅垂方向上方的位置。The outer cylinder 468 is formed in a cylindrical shape, and is disposed so as to enclose the inner cylinder 464 . Moreover, the water supply port 472 for supplying water to the water storage part 470 mentioned later is provided in the side wall 468a of the outer cylinder 468. As shown in FIG. Furthermore, the water supply port 472 is connected to the water supply and drain pipe 439 via the first water passage 444a. It should be noted that the water supply port 472 is provided vertically above the upper surface of the water storage unit 470 (the surface of the maximum water level that the water storage unit 470 can store: the water surface 480 ).

接水部471在液体微细化装置460的底部整面的范围内设置。例如,在装置中产生异常而发生漏水时,接水部471能够暂时积存从装置漏出的水。The water receiving portion 471 is provided over the entire bottom of the liquid miniaturization device 460 . For example, when an abnormality occurs in the device and water leaks, the water receiving part 471 can temporarily store the water leaked from the device.

接下来,对液体微细化装置460的内部结构进行说明。Next, the internal structure of the liquid miniaturization device 460 will be described.

如图35所示,液体微细化装置460在内部具有吸入连通风路465、内筒风路466、外筒风路469、贮水部470、液体微细化部477以及接水部471。As shown in FIG. 35 , the liquid miniaturization device 460 internally has a suction communication air passage 465 , an inner cylinder air passage 466 , an outer cylinder air passage 469 , a water storage unit 470 , a liquid miniaturization unit 477 and a water receiving unit 471 .

吸入连通风路465是将吸入口462与内筒464(内筒风路466)连通的管道形状的风路,且构成为使从吸入口462吸入的空气经由吸入连通风路465而到达内筒464的内部。The suction communication air passage 465 is a duct-shaped air passage connecting the suction port 462 and the inner cylinder 464 (inner cylinder air passage 466 ), and is configured so that the air sucked in from the suction port 462 reaches the inner cylinder through the suction communication air passage 465 . 464 interior.

内筒风路466是设置于内筒464的内侧的风路,且经由设置于内筒464的下端的开口(通风口467)而与设置于内筒464的外侧的外筒风路469(由图35的虚线箭头表示的风路)连通。在内筒风路466,在风路内配置有液体微细化部477。The inner cylinder air passage 466 is an air passage provided inside the inner cylinder 464, and is connected to the outer cylinder air passage 469 provided on the outer side of the inner cylinder 464 through the opening (vent 467) provided at the lower end of the inner cylinder 464 (by The wind path represented by the dotted arrow in Figure 35) communicates. In the inner cylinder air passage 466, a liquid miniaturization unit 477 is arranged in the air passage.

外筒风路469是形成于内筒464与外筒468之间的风路,且与吹出口463连通。The outer cylinder air passage 469 is an air passage formed between the inner cylinder 464 and the outer cylinder 468 and communicates with the air outlet 463 .

贮水部470设置于液体微细化装置460的下部(内筒464的下部),且对水进行贮存。贮水部470形成为大致研钵形状,贮水部470的侧壁与外筒468的下端连接并一体化。并且,贮水部470构成为从在外筒468的侧壁468a设置的供水口472供给水,并从在贮水部470的底面设置的排水口473排出水。在此,与供水口472同样地,排水口473经由另一第一通水路444a而与供排水管439连接。需要说明的是,排水口473优选设置于贮水部470底面的最低位置。The water storage unit 470 is provided at the lower portion of the liquid miniaturization device 460 (the lower portion of the inner tube 464 ), and stores water. The water storage part 470 is formed substantially in the shape of a mortar, and the side wall of the water storage part 470 is connected and integrated with the lower end of the outer cylinder 468 . Furthermore, the water storage unit 470 is configured to supply water from a water supply port 472 provided on the side wall 468 a of the outer cylinder 468 and to discharge water from a water discharge port 473 provided on the bottom surface of the water storage unit 470 . Here, like the water supply port 472 , the drain port 473 is connected to the water supply and drain pipe 439 via another first water passage 444 a. It should be noted that the drain port 473 is preferably disposed at the lowest position on the bottom surface of the water storage portion 470 .

液体微细化部477是液体微细化装置460的主要部分,且是进行水的微细化的场所。具体而言,液体微细化部477具有扬水管(汲取管)474、旋转板475以及马达476。另外,液体微细化部477设置于内筒464的内侧即被内筒464覆盖的位置。The liquid miniaturization unit 477 is a main part of the liquid miniaturization device 460, and is a place where water is miniaturized. Specifically, the liquid miniaturization unit 477 has a pumping pipe (dipping pipe) 474 , a rotating plate 475 , and a motor 476 . In addition, the liquid miniaturization unit 477 is provided inside the inner cylinder 464 , that is, at a position covered by the inner cylinder 464 .

扬水管474通过旋转而从贮水部470汲取水。另外,扬水管474形成为中空的圆锥台形状,且设置为直径较小的一侧的前端位于贮存于贮水部470的水的水面480以下。The pumping pipe 474 draws water from the water storage part 470 by rotating. In addition, the pumping pipe 474 is formed in the shape of a hollow truncated cone, and the tip on the side with a smaller diameter is located below the water surface 480 of the water stored in the water storage part 470 .

旋转板475形成为中央开口的面包圈状的圆板形状,且配置于扬水管474的直径较大的一侧、换言之扬水管474的上部的周围。在扬水管474的直径较大的一侧,在侧面设置有多个开口(未图示),使汲取到的水通过开口而向旋转板475供给。并且,旋转板475将由扬水管474汲取到的水向旋转面方向排放。The rotating plate 475 is formed in a doughnut-shaped disc shape with an open center, and is arranged around the side of the water raising pipe 474 with a larger diameter, in other words, the upper part of the water raising pipe 474 . A plurality of openings (not shown) are provided on the side surface of the larger diameter side of the water pumping pipe 474 , and the pumped water is supplied to the rotary plate 475 through the openings. And, the rotating plate 475 discharges the water sucked by the water pumping pipe 474 toward the direction of the rotating surface.

马达476使扬水管474以及旋转板475旋转。The motor 476 rotates the water pumping pipe 474 and the rotary plate 475 .

接水部471在贮水部470的铅垂方向下方的液体微细化装置460的底部整面的范围内设置。The water receiving part 471 is provided on the entire bottom surface of the liquid miniaturization device 460 below the water storage part 470 in the vertical direction.

接下来,使用图35对液体微细化装置460的动作进行说明。Next, the operation of the liquid miniaturization device 460 will be described using FIG. 35 .

首先,对液体微细化装置460的加湿动作简单地进行说明。首先,利用与未图示的供水设备连接的供排水管439从供水口472向贮水部470供给水,并将水贮存于贮水部470。然后,从吸入口462吸入到液体微细化装置460的内部的空气(热交换后的供气流403或被除湿装置430加热了的供气流403)依次通过吸入连通风路465、内筒风路466、液体微细化部477、外筒风路469,并从吹出口463朝向外部(例如,室内)吹出。此时,由液体微细化部477产生的水滴与通过内筒风路466的空气接触,从而能够通过水滴气化来对空气进行加湿。另外,贮存于贮水部470的水在经过了规定时间后,从排水口473向装置外排出。First, the humidification operation of the liquid miniaturization device 460 will be briefly described. First, water is supplied from the water supply port 472 to the water storage part 470 by a water supply and drainage pipe 439 connected to a water supply facility not shown, and the water is stored in the water storage part 470 . Then, the air sucked into the liquid miniaturization device 460 from the suction port 462 (the supply air flow 403 after heat exchange or the supply air flow 403 heated by the dehumidification device 430 ) sequentially passes through the suction communication air passage 465 and the inner cylinder air passage 466. , the liquid miniaturization part 477, the outer cylinder air path 469, and blow out from the blower port 463 toward the outside (for example, indoor). At this time, the water droplets generated by the liquid miniaturization unit 477 come into contact with the air passing through the inner tube air passage 466, and the air can be humidified by vaporizing the water droplets. In addition, the water stored in the water storage unit 470 is discharged from the water outlet 473 to the outside of the device after a predetermined time has elapsed.

接下来,更详细地对液体微细化装置460的加湿动作、即液体微细化装置460如何进行空气的加湿进行说明。Next, the humidification operation of the liquid miniaturization device 460 , that is, how the liquid miniaturization device 460 humidifies the air will be described in more detail.

从吸入口462通过吸入连通风路465而被取入到内筒风路466的内筒的空气通过液体微细化部477。当扬水管474以及旋转板475通过马达476的动作而旋转时,通过旋转而使贮存于贮水部470的水顺着扬水管474的内壁面上升。上升后的水顺着旋转板475的表面被牵拉,并从旋转板475的外周端朝向旋转面方向作为微细的水滴被排放。排放的水滴与内筒464的内壁面发生碰撞而破碎,从而成为更微细的水滴。从旋转板475排放的水滴以及同内筒464的内壁面发生碰撞而破碎的水滴与通过内筒464的空气接触,水滴气化,从而进行空气的加湿。需要说明的是,虽然产生的水滴的一部分未气化,但由于以被内筒464覆盖的方式配置液体微细化部477,因此未气化的水滴附着于内筒464的内侧表面并向贮水部470落下。The air taken into the inner cylinder of the inner cylinder air passage 466 from the suction port 462 through the suction communication air passage 465 passes through the liquid miniaturization part 477 . When the water pumping pipe 474 and the rotary plate 475 are rotated by the operation of the motor 476 , the water stored in the water storage part 470 rises along the inner wall surface of the water pumping pipe 474 by the rotation. The raised water is pulled along the surface of the rotating plate 475 and discharged as fine water droplets from the outer peripheral end of the rotating plate 475 toward the direction of the rotating surface. The discharged water droplets collide with the inner wall surface of the inner cylinder 464 and are broken into finer water droplets. The water droplets discharged from the rotary plate 475 and the water droplets collided with the inner wall surface of the inner cylinder 464 and broken up come into contact with the air passing through the inner cylinder 464, and the water droplets are vaporized to humidify the air. It should be noted that although some of the generated water droplets are not vaporized, since the liquid miniaturization part 477 is arranged so as to be covered by the inner cylinder 464, the unvaporized water droplets adhere to the inner surface of the inner cylinder 464 and flow to the water storage. Section 470 falls.

然后,包含水滴的空气(加湿后的空气)被从设置于内筒464的下端的通风口467朝向设置于下方的贮水部470吹出。然后,朝向形成于内筒464与外筒468之间的外筒风路469流动。在此,通过外筒风路469内的空气被朝向铅垂方向上方输送,因此在内筒风路466内向下方流动的空气与输送方向变成对置的朝向。Then, the air (humidified air) containing water droplets is blown out from the vent 467 provided at the lower end of the inner cylinder 464 toward the water storage part 470 provided below. Then, it flows toward the outer cylinder air passage 469 formed between the inner cylinder 464 and the outer cylinder 468 . Here, since the air passing through the outer cylinder air passage 469 is conveyed upward in the vertical direction, the air flowing downward in the inner cylinder air passage 466 faces the direction of conveyance.

此时,从通风口467与空气一起被吹出的水滴由于惯性而不能追随空气的流动,而是附着于贮水部470的水面480或外筒468的内侧壁面。由于水滴的重量越大则该作用越大、即难以气化的直径越大的水滴则作用越大,由此能够将大粒的水滴从流动的空气中分离。At this time, the water droplets blown out from the vent 467 together with the air cannot follow the flow of the air due to inertia, but adhere to the water surface 480 of the water storage part 470 or the inner wall surface of the outer cylinder 468 . The greater the weight of the water droplets, the greater the effect, that is, the larger the diameter of the water droplets that are difficult to vaporize, the greater the effect, so that large water droplets can be separated from the flowing air.

然后,从内筒风路466经由通风口467而流入外筒风路469的空气通过外筒风路469而向上流动。然后,从吹出口463向外部吹出。此时,水滴的一部分由于重力而向贮水部470落下,或者附着于内筒464的外壁或外筒468的内壁。然后,附着于内筒464的外壁或外筒468的内壁的水滴顺着内筒464的外侧壁面或外筒468的内侧壁面向贮水部470落下。Then, the air flowing into the outer cylinder air passage 469 from the inner cylinder air passage 466 through the vent 467 flows upward through the outer cylinder air passage 469 . Then, it is blown out from the outlet 463 to the outside. At this time, a part of the water drops falls toward the water storage portion 470 due to gravity, or adheres to the outer wall of the inner cylinder 464 or the inner wall of the outer cylinder 468 . Then, the water droplets adhering to the outer wall of the inner cylinder 464 or the inner wall of the outer cylinder 468 fall down toward the water storage portion 470 along the outer wall surface of the inner cylinder 464 or the inner wall surface of the outer cylinder 468 .

如以上所述,液体微细化装置460能够通过液体微细化部477对空气(导入的供气流403)进行加湿。也就是说,在供气流403的流动为C状态下,液体微细化装置460对热交换后的供气流403进行加湿,另一方面,在供气流403的流动为D状态下,液体微细化装置460对被除湿装置430加热了的供气流403进行加湿。As described above, the liquid miniaturization device 460 can humidify the air (introduced supply air flow 403 ) through the liquid miniaturization unit 477 . That is to say, when the flow of the supply airflow 403 is in the C state, the liquid miniaturization device 460 humidifies the heat-exchanged supply airflow 403; on the other hand, when the flow of the supply airflow 403 is in the D state, the liquid micronization device 460 humidifies the feed gas stream 403 heated by the dehumidifier 430 .

以上,根据实施方式5-1的带调湿功能的热交换型换气装置450,能够享有以下的效果。As mentioned above, according to the heat exchange type ventilator 450 with a humidity control function of Embodiment 5-1, the following effects can be enjoyed.

(1)构成为使从除湿装置430向供气风路405导出的供气流403在除湿模式下绕过液体微细化装置460而向室内供给,且在加热模式下在液体微细化装置460流通并向室内供给。通过这样构成,能够通过除湿装置430的四通阀431a的切换容易地加热向液体微细化装置460导入的供气流403,且能够使对在液体微细化装置460流通的供气流403的加湿量增加。也就是说,能够成为可以提高除加湿时的调湿性能的带调湿功能的热交换型换气装置450。(1) The supply air flow 403 led from the dehumidification device 430 to the air supply air duct 405 is supplied to the room by bypassing the liquid miniaturization device 460 in the dehumidification mode, and flows through the liquid miniaturization device 460 in the heating mode. Supply indoors. With this configuration, the supply air flow 403 introduced into the liquid miniaturization device 460 can be easily heated by switching the four-way valve 431a of the dehumidification device 430, and the humidification amount of the supply air flow 403 flowing through the liquid miniaturization device 460 can be increased. . That is, it is possible to provide the heat exchange type ventilator 450 with a humidity control function capable of improving the humidity control performance during dehumidification and humidification.

需要说明的是,也可以说,这里的从除湿装置430向供气风路405导出的供气流403在除湿模式下以不被液体微细化装置460加湿的方式向室内供给,且在加热模式下被液体微细化装置460加湿并向室内供给。It should be noted that, it can also be said that the air supply airflow 403 derived from the dehumidification device 430 to the air supply air passage 405 is supplied to the room in the dehumidification mode without being humidified by the liquid miniaturization device 460, and in the heating mode It is humidified by the liquid miniaturization device 460 and supplied into the room.

(2)在带调湿功能的热交换型换气装置450中,构成为在热交换后的供气风路405设置有各切换风门(切换风门440、切换风门441、切换风门443),从而能够对使热交换后的供气流403在除湿装置430流通并向液体微细化装置460导入的状态(D状态)、以及使热交换后的供气流403以不在除湿装置430流通的方式向液体微细化装置460导入的状态(C状态)进行切换。通过这样构成,在无需对向液体微细化装置460导入的供气流403的加热的情况下,带调湿功能的热交换型换气装置450能够通过各切换风门容易地控制为使供气流403不向除湿装置430流动的状态,从而在加湿时,由除湿装置430引起的压力损失的上升得到抑制,能够实现节能下的运转。(2) In the heat exchange type ventilator 450 with the humidity control function, each switching damper (switching damper 440, switching damper 441, switching damper 443) is arranged on the supply air path 405 after the heat exchange, so that The state (D state) in which the heat-exchanged supply airflow 403 is circulated through the dehumidifier 430 and introduced into the liquid miniaturization device 460, and the heat-exchanged supply airflow 403 can be finely divided into the liquid without circulating through the dehumidifier 430. The state (C-state) introduced by the device 460 is switched. With such a configuration, without heating the supply air flow 403 introduced into the liquid micronization device 460, the heat exchange type ventilator 450 with a humidity control function can be easily controlled so that the supply air flow 403 does not In the state of flowing to the dehumidifier 430, during humidification, the increase in the pressure loss caused by the dehumidifier 430 is suppressed, and an energy-saving operation can be realized.

(3)现有的除湿装置1100构成为为了对制冷循环的散热器1106进行冷却而使除湿后的空气通过散热器1106。在散热器1106中,除了被吸热器1108吸收的能量以外,用于通过压缩机1105而使制冷循环内的制冷剂循环的能量也被排出,因此通过了散热器1106的除湿后的空气的温度上升为除湿前的空气的温度以上。其结果是,在将现有的除湿装置1100的除湿机构配置于热交换型换气装置的供气风路并进行了除湿的情况下,产生除湿后的空气(温度上升了的空气)直接作为供气流向室内吹出而损害室内的舒适性的课题。(3) The conventional dehumidifier 1100 is configured to pass dehumidified air through the radiator 1106 in order to cool the radiator 1106 of the refrigeration cycle. In the radiator 1106, in addition to the energy absorbed by the heat absorber 1108, the energy used to circulate the refrigerant in the refrigeration cycle through the compressor 1105 is also discharged, so the dehumidified air passing through the radiator 1106 The temperature rises above the temperature of the air before dehumidification. As a result, when the dehumidification mechanism of the conventional dehumidification device 1100 is arranged in the air supply air path of the heat exchange type ventilator to perform dehumidification, the dehumidified air (air whose temperature has been raised) is generated as it is. The problem that the supply air is blown into the room and impairs the comfort of the room.

对此,在带调湿功能的热交换型换气装置450中,构成为在除湿模式下使向除湿装置430导入的排气流402在流通过散热器432后,向排气风路404导出。通过这样构成,带调湿功能的热交换型换气装置450能够通过来自热交换型换气装置410的排气流402(在需要除湿的夏季,是温度比供气流403低的排气流402)得到除湿装置430中的散热器432的冷却(排热)所需的能量,因此能够抑制除湿后的空气(供气流403)的温度上升。即使在将现有的除湿装置1100的结构应用于热交换型换气装置的情况下,也能够对伴随除湿而产生的温度上升得到抑制的供气流进行输送。也就是说,能够成为可以对伴随除湿而产生的温度上升得到抑制的供气流进行输送的带调湿功能的热交换型换气装置450。In contrast, in the heat exchange type ventilator 450 with a humidity control function, in the dehumidification mode, the exhaust air flow 402 introduced to the dehumidifier 430 is configured to be led out to the exhaust air passage 404 after passing through the radiator 432 . With this structure, the heat exchange type ventilator 450 with humidity control function can pass through the exhaust stream 402 from the heat exchange type ventilator 410 (in the summer when dehumidification is required, the exhaust stream 402 whose temperature is lower than the supply air stream 403 ) to obtain the energy required for cooling (discharging heat) of the radiator 432 in the dehumidifier 430, so that the temperature rise of the dehumidified air (supply airflow 403) can be suppressed. Even when the structure of the conventional dehumidification device 1100 is applied to a heat exchange type ventilator, it is possible to send a supply air flow in which a temperature rise caused by dehumidification is suppressed. That is, it is possible to provide the heat exchange type ventilator 450 with a humidity control function capable of sending a supply air flow whose temperature rise accompanying dehumidification is suppressed.

(4)在带调湿功能的热交换型换气装置450中,使用四通阀431a在除湿装置430的制冷剂循环中切换制冷剂的流动方向,从而使散热器432与吸热器434的功能反转。通过这样构成,除湿装置430能够切换为可以对向装置内导入的空气进行除湿的除湿模式、以及可以对向装置内导入的空气进行加热的加热模式。也就是说,能够通过除湿装置430实现供气流403的加热,无需在液体微细化装置460的内部追加设置加热器等加热机构,因此能够以低成本实现对向液体微细化装置460导入的供气流403的加热。(4) In the heat exchange type ventilation device 450 with humidity control function, the four-way valve 431a is used to switch the flow direction of the refrigerant in the refrigerant cycle of the dehumidification device 430, so that the radiator 432 and the heat absorber 434 Function inversion. With such a configuration, dehumidification device 430 can be switched between a dehumidification mode capable of dehumidifying air introduced into the device, and a heating mode capable of heating air introduced into the device. That is to say, the heating of the supply air flow 403 can be realized by the dehumidification device 430, and there is no need to add a heating mechanism such as a heater inside the liquid miniaturization device 460, so the supply air flow introduced to the liquid miniaturization device 460 can be realized at low cost. 403 for heating.

(实施方式5-2)(Embodiment 5-2)

本发明的实施方式5-2的带调湿功能的热交换型换气装置450a在构成有对除湿装置430a中的散热器432吹送水的水吹送部438这一点、以及使在除湿装置430a中的热交换器435流通后的供气流403以不在吸热器434流通的方式向供气风路导出这一点上与实施方式5-1不同。除此以外的带调湿功能的热交换型换气装置450a的结构与实施方式5-1的带调湿功能的热交换型换气装置450相同。以下,适当省略对实施方式5-1中说明过的内容的再度说明,主要对与实施方式5-1不同的点进行说明。The heat exchange type ventilator 450a with a humidity control function according to Embodiment 5-2 of the present invention has a water blowing unit 438 that blows water to the radiator 432 in the dehumidifier 430a, and is installed in the dehumidifier 430a. The difference from Embodiment 5-1 is that the supply air flow 403 after passing through the heat exchanger 435 is led out to the supply air passage without passing through the heat absorber 434 . The structure of the heat exchange type ventilator 450a with a humidity control function other than this is the same as the heat exchange type ventilator 450 with a humidity control function of Embodiment 5-1. Hereinafter, re-description of the contents described in Embodiment 5-1 will be appropriately omitted, and points different from Embodiment 5-1 will be mainly described.

参照图36对本发明的实施方式5-2的带调湿功能的热交换型换气装置450a进行说明。图36是示出本发明的实施方式5-2的带调湿功能的热交换型换气装置的结构的示意图。A heat exchange type ventilator 450a with a humidity control function according to Embodiment 5-2 of the present invention will be described with reference to FIG. 36 . Fig. 36 is a schematic diagram showing the configuration of a heat exchange type ventilator with a humidity control function according to Embodiment 5-2 of the present invention.

如图36所示,在带调湿功能的热交换型换气装置450a中的除湿装置430a设置有:水吹送部438,其对散热器432吹送水;以及供排水管439,其用于对水吹送部438供给水并且排出向散热器432进行吹送时产生的剩余水。As shown in Figure 36, the dehumidifier 430a in the heat exchange type ventilator 450a with humidity control function is provided with: a water blowing part 438, which blows water to the radiator 432; The water blowing unit 438 supplies water and discharges excess water generated when blowing to the radiator 432 .

并且,在除湿装置430a中,构成制冷剂循环的散热器432整体配置在排气风路404内,除此以外的各设备(压缩机431、膨胀器433、吸热器434、热交换器435)配置在排气风路404外。In addition, in the dehumidifier 430a, the radiator 432 constituting the refrigerant cycle is disposed in the exhaust air passage 404 as a whole, and other equipment (compressor 431, expander 433, heat absorber 434, heat exchanger 435 ) is arranged outside the exhaust air passage 404.

水吹送部438具有水喷嘴,并在排气风路404内将水从水喷嘴对散热器432呈雾状地喷洒。喷洒出的水附着于构成散热器432的散热管等的表面,并由于散热器432的热量而气化。并且,气化了的水通过在散热器432流通的排气流402而向排气风路404导出,并直接向室外排出。The water blowing unit 438 has a water nozzle, and sprays water from the water nozzle to the radiator 432 in the form of a mist in the exhaust air passage 404 . The sprayed water adheres to the surface of the radiation pipes constituting the radiator 432 and is vaporized by the heat of the radiator 432 . Then, the vaporized water is led out to the exhaust air passage 404 through the exhaust flow 402 flowing through the radiator 432, and is discharged outdoors as it is.

供排水管439的一方的端部经由电磁阀等开闭部与水吹送部438连接,且另一方的端部与住宅设施的供水设备以及排水设备连接。并且,供排水管439对水吹送部438供给水,并排出向散热器432进行吹送时产生的剩余水。One end of the water supply and drain pipe 439 is connected to the water blowing unit 438 via an opening and closing unit such as a solenoid valve, and the other end is connected to a water supply facility and a drainage facility of a residential facility. Further, the water supply and drain pipe 439 supplies water to the water blowing unit 438 and discharges excess water generated when blowing to the radiator 432 .

另外,在供排水管439设置有水路切换部444,该水路切换部444用于切换为从外部对液体微细化装置460导入水的第一状态、以及从外部对除湿装置430a导入水的第二状态。In addition, the water supply and drainage pipe 439 is provided with a water channel switching unit 444 for switching between a first state in which water is introduced from the outside to the liquid miniaturization device 460 and a second state in which water is introduced from the outside to the dehumidifier 430a. state.

水路切换部444构成为在供气流的流动为B状态时经由供排水管439(第一通水路444a)而与液体微细化装置460连通,并在供气流的流动为C状态或D状态时经由供排水管439(第二通水路4444b)而与除湿装置430a连通。也就是说,水路切换部444在对热交换后的供气流403进行加湿处理的情况下(C状态、D状态)、以及在对热交换后的供气流403进行除湿处理(B状态)的情况下对供排水管439中的水的流动进行切换。The water channel switching unit 444 is configured to communicate with the liquid miniaturization device 460 via the supply and drain pipe 439 (first water channel 444a) when the flow of the supply air flow is in the B state, and to communicate with the liquid miniaturization device 460 when the flow of the supply air flow is in the C state or D state. The water supply and drainage pipe 439 (second water passage 4444b) communicates with the dehumidifier 430a. That is, the water channel switching unit 444 performs humidification treatment on the heat-exchanged supply airflow 403 (state C, D state), and dehumidification treatment on the heat-exchanged supply airflow 403 (state B). Next, the flow of water in the water supply and drainage pipe 439 is switched.

接下来,对除湿装置430a中的气流(排气流402、供气流403)的流动进行说明。Next, the flow of the airflow (exhaust airflow 402, supply airflow 403) in the dehumidifier 430a will be described.

除湿装置430a中的热交换器435构成为,在除湿模式下使从第一流路436导出的第一供气流403a以不在散热器432流通的方式向供气风路405导出,并且使从第二流路437导入的第二供气流403b以不在散热器432流通的方式向供气风路405导出。The heat exchanger 435 in the dehumidification device 430a is configured to guide the first supply air flow 403a derived from the first flow channel 436 to the supply air channel 405 without passing through the radiator 432 in the dehumidification mode, and to guide the flow from the second The second supply air flow 403 b introduced by the flow path 437 is led out to the supply air path 405 without flowing through the radiator 432 .

另一方面,与除湿装置430同样地,导入到除湿装置430a的排气流402在流通过散热器432后,向热交换型换气装置410中的热交换后的排气风路404导出。具体而言,导入到除湿装置430a的排气流402在流通过被水吹送部438吹送有水的状态下的散热器432后,向热交换型换气装置410中的热交换后的排气风路404导出,并直接向室外排出。也就是说,在本实施方式中,除湿装置430a构成为通过从热交换型换气装置410导入的排气流402的空气热以及所吹送的水的气化热来冷却散热器432。On the other hand, like the dehumidifier 430 , the exhaust flow 402 introduced into the dehumidifier 430 a passes through the radiator 432 and then is led out to the exhaust air passage 404 after heat exchange in the heat exchange type ventilator 410 . Specifically, after the exhaust gas flow 402 introduced into the dehumidifier 430a passes through the radiator 432 in a state where water is blown by the water blowing unit 438, it is discharged to the heat-exchanged exhaust gas in the heat exchange type ventilator 410. The wind path 404 leads out and directly discharges to the outside. That is, in the present embodiment, the dehumidifier 430a is configured to cool the radiator 432 by the air heat of the exhaust flow 402 introduced from the heat exchange type ventilator 410 and the vaporization heat of the blown water.

以上,根据实施方式5-2的带调湿功能的热交换型换气装置450a,能够享有以下的效果。As mentioned above, according to the heat exchange type ventilator 450a with a humidity control function of Embodiment 5-2, the following effects can be enjoyed.

(5)在带调湿功能的热交换型换气装置450a中,构成为使导入到除湿装置430a的排气流402在流通过被水吹送部438吹送有水的状态下的散热器432后,向排气风路404导出。通过这样构成,在除湿模式下,能够通过来自热交换型换气装置410的排气流402的空气热以及所吹送的水的气化热得到除湿装置430a中的散热器432的冷却(排热)所需的能量,因此能够有效地冷却散热器432。因此,能够使从在除湿装置430a流通的供气流403中除去的除湿量增加。也就是说,能够成为可以提高除加湿时的调湿性能的带调湿功能的热交换型换气装置450a。(5) In the heat exchange type ventilator 450a with a humidity control function, the exhaust gas flow 402 introduced into the dehumidifier 430a is configured to pass through the radiator 432 in a state where water is blown by the water blowing part 438. , leading to the exhaust air duct 404. With this configuration, in the dehumidification mode, the heat of the air from the exhaust stream 402 of the heat exchange type ventilator 410 and the heat of vaporization of the blown water can be cooled by the radiator 432 in the dehumidifier 430a (exhaust heat). ) required energy, so the heat sink 432 can be effectively cooled. Therefore, the amount of dehumidification removed from the supply air flow 403 flowing through the dehumidification device 430a can be increased. That is, the heat exchange type ventilator 450a with a humidity control function capable of improving the humidity control performance at the time of dehumidification and humidification can be obtained.

(6)带调湿功能的热交换型换气装置450a能够通过来自热交换型换气装置410的排气流402的空气热以及由水吹送部438吹送的水的气化热得到除湿装置430a中的散热器432的冷却(排热)所需的能量,因此能够有效地冷却散热器432,并能够使除湿后的空气(供气流403)以不向散热器432流通的方式向室内吹出。也就是说,即使在将现有的除湿装置1100的结构应用于热交换型换气装置的情况下,也能够对伴随除湿而产生的温度上升得到抑制的供气流进行输送。(6) The heat exchange type ventilation device 450a with humidity control function can obtain the dehumidification device 430a through the air heat from the exhaust flow 402 of the heat exchange type ventilation device 410 and the vaporization heat of the water blown by the water blowing part 438 . Therefore, the radiator 432 can be effectively cooled, and the dehumidified air (supply airflow 403 ) can be blown into the room without flowing to the radiator 432 . That is, even when the structure of the conventional dehumidifier 1100 is applied to a heat exchange type ventilator, it is possible to send a supply air flow in which a temperature rise caused by dehumidification is suppressed.

(7)在带调湿功能的热交换型换气装置450a中,能够通过水路切换部444容易地将为了加湿而向液体微细化装置460导入的来自外部的水切换为向除湿装置430a导入。也就是说,在对除湿装置430a供给水的情况下,能够使来自外部的水的供给与液体微细化装置460共用化,因此能够以低成本实现除湿装置430a中的由水吹送部438进行的水向散热器432的吹送处理。(7) In the heat exchange type ventilator 450 a with a humidity control function, the water channel switching unit 444 can easily switch the water from the outside introduced into the liquid miniaturization device 460 for humidification into the dehumidifier 430 a. That is, in the case of supplying water to the dehumidifier 430a, the supply of water from the outside can be shared with the liquid miniaturization device 460, so that the water blowing unit 438 in the dehumidifier 430a can be realized at low cost. Blowing of water to the radiator 432 is performed.

(实施方式5-3)(Embodiment 5-3)

本发明的实施方式5-3的带调湿功能的热交换型换气装置450b在构成为使由热交换型换气装置410a进行热交换后的供气流403依次在除湿装置430、液体微细化装置460流通并向室内供给这一点上与实施方式5-1不同。除此以外的带调湿功能的热交换型换气装置450b的结构与实施方式5-1的带调湿功能的热交换型换气装置450相同。以下,适当省略对实施方式5-1中说明过的内容的再度说明,主要对与实施方式5-1不同的点进行说明。The heat exchange type ventilator 450b with a humidity control function according to Embodiment 5-3 of the present invention is configured such that the supply air flow 403 after heat exchange by the heat exchange type ventilator 410a is successively miniaturized by the dehumidifier 430 and the liquid. The device 460 is different from Embodiment 5-1 in that it circulates and supplies to the room. The structure of the heat exchange type ventilator 450b with a humidity control function other than this is the same as the heat exchange type ventilator 450 with a humidity control function of Embodiment 5-1. Hereinafter, re-description of the contents described in Embodiment 5-1 will be appropriately omitted, and points different from Embodiment 5-1 will be mainly described.

参照图37对本发明的实施方式5-3的带调湿功能的热交换型换气装置450b进行说明。图37是示出本发明的实施方式5-3的带调湿功能的热交换型换气装置的结构的示意图。A heat exchange type ventilator 450b with a humidity control function according to Embodiment 5-3 of the present invention will be described with reference to FIG. 37 . Fig. 37 is a schematic diagram showing the configuration of a heat exchange type ventilator with a humidity control function according to Embodiment 5-3 of the present invention.

如图37所示,在带调湿功能的热交换型换气装置450b中,由热交换型换气装置410a进行热交换后的供气流403在除湿装置430流通,并且在除湿装置430流通后的供气流403在液体微细化装置460流通。然后,在液体微细化装置460流通后的供气流403被向室内供给。并且,在带调湿功能的热交换型换气装置450b中,通过控制除湿装置430的动作以及液体微细化装置460的动作,能够成为与A状态~D状态相对应的各状态(E状态~H状态)。以下对各状态进行说明。As shown in Figure 37, in the heat exchange type ventilator 450b with humidity control function, the supply air flow 403 after heat exchange by the heat exchange type ventilator 410a circulates in the dehumidifier 430, and after the dehumidifier 430 circulates The supply gas flow 403 circulates through the liquid miniaturization device 460 . Then, the supply air flow 403 that has passed through the liquid miniaturization device 460 is supplied into the chamber. In addition, in the heat exchange type ventilator 450b with a humidity control function, by controlling the operation of the dehumidifier 430 and the operation of the liquid miniaturization device 460, each state corresponding to the A state to the D state (E state to D state) can be established. H state). Each status is explained below.

E状态是使热交换后的供气流403以不经历除加湿(由除湿装置430进行的除湿、由液体微细化装置460进行的加湿)的方式在除湿装置430以及液体微细化装置460流通并向室内供给的状态,相当于A状态。State E is to make the heat-exchanged air supply flow 403 flow through the dehumidification device 430 and the liquid miniaturization device 460 without dehumidification (dehumidification by the dehumidification device 430, humidification by the liquid miniaturization device 460) and flow to The state of indoor supply is equivalent to state A.

F状态是使热交换后的供气流403经历由除湿装置430进行的除湿模式下的除湿,之后以不经历由液体微细化装置460进行的加湿的方式在液体微细化装置460流通并向室内供给的状态,相当于B状态。State F is to make the heat-exchanged supply air flow 403 undergo dehumidification in the dehumidification mode by the dehumidification device 430, and then circulate through the liquid miniaturization device 460 without undergoing humidification by the liquid miniaturization device 460 and supply it to the room. The state is equivalent to the B state.

G状态是使热交换后的供气流403以不经历由除湿装置430进行的除湿以及加热的方式在除湿装置430流通,且经历由液体微细化装置460进行的加湿并向室内供给的状态,相当于C状态。State G is a state in which the heat-exchanged supply airflow 403 is circulated through the dehumidifier 430 without dehumidification and heating by the dehumidifier 430, and is humidified by the liquid miniaturization device 460 before being supplied to the room. in C state.

H状态是使热交换后的供气流403经历由除湿装置430进行的加热模式下的加热,之后经历由液体微细化装置460进行的加湿并向室内供给的状态,相当于D状态。The H state is a state in which the heat-exchanged supply air flow 403 is heated in the heating mode by the dehumidifier 430 , then humidified by the liquid miniaturization device 460 and supplied into the room, and corresponds to the D state.

如上所述,带调湿功能的热交换型换气装置450b构成为通过将供气流403的流动切换为E状态~H状态从而在控制为适当的湿度的状态下向室内供给供气流403。As described above, the heat exchange type ventilator 450b with a humidity control function is configured to supply the supply airflow 403 to the room while controlling the appropriate humidity by switching the flow of the supply airflow 403 from the E state to the H state.

以上,根据实施方式5-3的带调湿功能的热交换型换气装置450b,能够享有以下的效果。As mentioned above, according to the heat exchange type ventilator 450b with a humidity control function of Embodiment 5-3, the following effects can be enjoyed.

(8)从除湿装置430向供气风路405导出的供气流403在除湿模式在不被液体微细化装置460加湿的情况下向室内供给,且在加热模式下被液体微细化装置460加湿并向室内供给。因此,能够享有与上述(1)相同的效果。(8) The air supply airflow 403 derived from the dehumidification device 430 to the air supply air duct 405 is supplied to the room without being humidified by the liquid miniaturization device 460 in the dehumidification mode, and is humidified by the liquid miniaturization device 460 in the heating mode. Supply indoors. Therefore, the same effect as that of (1) above can be enjoyed.

(9)在带调湿功能的热交换型换气装置450b中,构成为能够以不在热交换后的供气风路405设置向各装置的切换风门(切换风门441、切换风门443)的方式实现向各状态(E状态~G状态)的切换。通过这样构成,能够降低由各切换风门引起的不良情况的产生风险,并且实现由构件的削减带来的装置的低成本化。(9) In the heat exchange type ventilator 450b with a humidity control function, it is configured so that switching dampers (switching damper 441, switching damper 443) for each device are not provided in the air supply air passage 405 after heat exchange. Switching to each state (E state to G state) is realized. With such a configuration, it is possible to reduce the risk of troubles caused by each switching damper, and to reduce the cost of the device by reducing the number of components.

以上,基于实施方式对本发明进行了说明,但容易推测的是,本发明丝毫不被上述实施方式所限定,而能够在不脱离本发明的主旨的范围内进行各种改良变形。例如,在上述实施方式中列举出的数值是一例,当然能够采用其他数值。As mentioned above, although this invention was demonstrated based on embodiment, it is easy to guess that this invention is not limited to the said embodiment at all, and various improvement and deformation|transformation are possible in the range which does not deviate from the summary of this invention. For example, the numerical values listed in the above-mentioned embodiments are examples, and other numerical values can of course be adopted.

在实施方式5-1的带调湿功能的热交换型换气装置450中,作为热交换器435,使用了显热型的热交换元件,但作为显热型的热交换元件,优选构成热交换元件412的第一流路436与第二流路437的构件具有防水性(疏水性)。作为具有防水性(疏水性)的构件,例如使用聚丙烯、聚苯乙烯等树脂构件。这样一来,在热交换元件412的内部产生的结露水容易向热交换元件412的外部流出,因此能够在不导致由结露水引起的热交换器435的热交换效率降低的情况下进行除湿。In the heat exchange type ventilator 450 with a humidity control function according to Embodiment 5-1, as the heat exchanger 435, a sensible heat type heat exchange element is used, but as a sensible heat type heat exchange element, it is preferable to configure a thermal The components of the first flow path 436 and the second flow path 437 of the exchange element 412 are waterproof (hydrophobic). As a member having water repellency (water repellency), resin members such as polypropylene and polystyrene are used, for example. In this way, the dew condensation water generated inside the heat exchange element 412 easily flows out of the heat exchange element 412, so that dehumidification can be performed without reducing the heat exchange efficiency of the heat exchanger 435 due to the dew condensation water.

另外,在实施方式5-1的带调湿功能的热交换型换气装置450中,在加湿时,通过使供气流403向加热模式的除湿装置430流通而使向液体微细化装置460导入的空气(热交换后的供气流3)的温度上升,但并不限于此。例如,在冬季且无需加湿的情况下,也可以以使被除湿装置430加热了的供气流403直接向室内供给的方式控制各切换风门。这样一来,能够向室内吹出暖风,因此也能够降低制暖(空调、地暖)的负载。另外,若使被除湿装置430加热了的气流403在液体微细化装置460的干燥处理时通风,则能够缩短装置的干燥时间,此外,也能够抑制装置内的霉菌的产生。In addition, in the heat exchange type ventilator 450 with a humidity control function according to Embodiment 5-1, at the time of humidification, by passing the supply air flow 403 to the dehumidifier 430 in the heating mode, the liquid introduced into the liquid miniaturization device 460 is The temperature of the air (heat-exchanged supply air stream 3 ) rises, but is not limited thereto. For example, when humidification is not required in winter, each switching damper may be controlled so that the air supply air 403 heated by the dehumidifier 430 is directly supplied to the room. In this way, warm air can be blown into the room, so the load on heating (air conditioning, floor heating) can also be reduced. In addition, if the airflow 403 heated by the dehumidification device 430 is ventilated during the drying process of the liquid miniaturization device 460, the drying time of the device can be shortened, and the generation of mold in the device can also be suppressed.

工业实用性Industrial Applicability

本发明的带除湿功能的热交换型换气装置即使在应用了将制冷循环和热交换器组合而成的除湿装置的情况下,也能够对伴随除湿而产生的温度上升得到抑制的供气流进行输送,因此作为能够进行室内与室外的热交换的热交换型换气装置是有用的。The heat exchange type ventilator with a dehumidification function of the present invention can control the supply air flow whose temperature rise due to dehumidification is suppressed even when a dehumidifier combining a refrigeration cycle and a heat exchanger is applied. Therefore, it is useful as a heat exchange type ventilator capable of exchanging heat between indoors and outdoors.

附图标记说明Explanation of reference signs

1、101、201、301、401 家1, 101, 201, 301, 401

2、102、202、302、402 排气流2, 102, 202, 302, 402 exhaust flow

2a、102a 第一排气流2a, 102a first exhaust flow

2b、102b 第二排气流2b, 102b second exhaust flow

3、103、203、303、403 供气流3, 103, 203, 303, 403 air supply

3a、103a、203a、303a、403a 第一供气流3a, 103a, 203a, 303a, 403a First air supply

3b、103b、203b、303b、403b 第二供气流3b, 103b, 203b, 303b, 403b Second supply air flow

4、104、204、304、404 排气风路4, 104, 204, 304, 404 exhaust air duct

5、105、205、305、405 供气风路5, 105, 205, 305, 405 air supply air path

10、10a、10b、110、110a、110b、210、310、410、410a 热交换型换气装置10, 10a, 10b, 110, 110a, 110b, 210, 310, 410, 410a heat exchange type ventilation device

11、111、211、311、411 主体外壳11, 111, 211, 311, 411 main shell

12、112、212、312、412 热交换元件12, 112, 212, 312, 412 heat exchange elements

13、113、213、313、413 排气风扇13, 113, 213, 313, 413 exhaust fan

14、114、214、314、414 内气口14, 114, 214, 314, 414 Inner air ports

15、115、215、315、415 排气口15, 115, 215, 315, 415 exhaust ports

16、116、216、316、416 供气风扇16, 116, 216, 316, 416 Air supply fan

17、117、217、317、417 外气口17, 117, 217, 317, 417 external air ports

18、118、218、318、418 供气口18, 118, 218, 318, 418 air supply ports

30、130、230、330、430 除湿装置30, 130, 230, 330, 430 dehumidification device

30a、30b、130a、130b、230a、330a、430a 除湿装置30a, 30b, 130a, 130b, 230a, 330a, 430a Dehumidifier

31、131、231、331、431 压缩机31, 131, 231, 331, 431 compressors

32、32A、132、132A、232、332、432 散热器32, 32A, 132, 132A, 232, 332, 432 radiator

32a、132a 第一散热器32a, 132a first radiator

32b、132b 第二散热器32b, 132b second radiator

33、33A、133、133A、233、333、433 膨胀器33, 33A, 133, 133A, 233, 333, 433 Expander

33a、133a 第一膨胀器33a, 133a First expander

33b、133b 第二膨胀器33b, 133b second expander

34、134、234、334、434 吸热器34, 134, 234, 334, 434 heat sink

35、135、235、335、435 热交换器35, 135, 235, 335, 435 heat exchanger

36、136、236、336、436 第一流路36, 136, 236, 336, 436 first flow path

37、137、237、337、437 第二流路37, 137, 237, 337, 437 Second flow path

38 辅助风扇38 auxiliary fan

40、140、240、340、440 切换风门40, 140, 240, 340, 440 switching damper

41、141、241、341、441 切换风门41, 141, 241, 341, 441 switching damper

143、144、145、243、247、443 切换风门143, 144, 145, 243, 247, 443 switching damper

42、142、242、342、442 分支风门42, 142, 242, 342, 442 branch damper

43 分支风门43 branch damper

44、146、245、345、445 第一温度传感器44, 146, 245, 345, 445 First temperature sensor

45、147、246、346、446 第二温度传感器45, 147, 246, 346, 446 Second temperature sensor

46 温湿度传感器46 temperature and humidity sensor

50、150、250、350 带除湿功能的热交换型换气装置50, 150, 250, 350 Heat exchange type ventilator with dehumidification function

50a、150a、250a、350a 带除湿功能的热交换型换气装置50a, 150a, 250a, 350a Heat exchange type ventilator with dehumidification function

50b、150b、250b 带除湿功能的热交换型换气装置50b, 150b, 250b Heat exchange type ventilator with dehumidification function

50c、150c、250c 带除湿功能的热交换型换气装置50c, 150c, 250c heat exchange type ventilator with dehumidification function

50d、150d、250d 带除湿功能的热交换型换气装置50d, 150d, 250d heat exchange type ventilator with dehumidification function

450、450a、450b 带调湿功能的热交换型换气装置450, 450a, 450b Heat exchange type ventilator with humidity control function

1100 除湿装置1100 dehumidification device

1101 空气吸入口1101 Air intake

1102 主体外壳1102 main shell

1103 除湿部1103 Dehumidification department

104 空气吹出口104 Air outlet

1105 压缩机1105 compressor

1106 散热器1106 Radiator

1107 膨胀器1107 Expander

1108 吸热器1108 heat sink

1109 第一流路1109 First stream

1110 第二流路1110 Second flow path

1111 热交换器1111 heat exchanger

2101 液体微细化装置2101 Liquid miniaturization device

2102 处理室2102 Processing room

2103 贮水部2103 Water storage department

2104 旋转体2104 rotating body

2105 多孔体。2105 Porous bodies.

Claims (10)

1. A heat exchange type air interchanger with dehumidification function is characterized in that,
the heat exchange ventilator with a dehumidification function includes:
a heat exchange type ventilator that performs heat exchange between an exhaust air flow that flows through an exhaust air passage for discharging indoor air to the outside of a room and an intake air flow that flows through an intake air passage for supplying the outdoor air to the inside of the room; and
a dehumidification device that dehumidifies the supply air stream,
the dehumidifying apparatus includes: a refrigeration cycle configured to sequentially connect a compressor, a first radiator, a first expander, a second radiator different from the first radiator, a second expander different from the first expander, and a heat absorber; and a heat exchanger disposed between the heat absorber and the second radiator, and configured to exchange heat between air flowing through the first flow path and air flowing through the second flow path,
The dehumidifier is configured to introduce the heat-exchanged air supply flow from the air supply air passage and to introduce the exhaust flow from the exhaust air passage,
a part of the air supply flow introduced into the dehumidifier is guided to the air supply passage after passing through the heat absorber, the first flow passage, and the second radiator in this order,
the other part of the air supply flow introduced into the dehumidifier is guided to the air supply passage after passing through the second flow path and the second radiator in this order,
the exhaust air flow introduced into the dehumidifier is guided to the exhaust air passage after passing through the first radiator.
2. The heat exchange type ventilator with a dehumidifying function according to claim 1,
the exhaust stream directed to the dehumidification device is the exhaust stream prior to heat exchange.
3. The heat exchange type ventilator with a dehumidifying function according to claim 1,
the exhaust flow introduced into the dehumidifier is an exhaust flow obtained by merging the exhaust flow before heat exchange with the exhaust flow after heat exchange.
4. The heat exchange type ventilator with a dehumidifying function according to any one of claims 1 to 3,
An air flow rate adjustment unit that increases or decreases the air flowing through the second flow path is further provided between the second flow path and the radiator.
5. A heat exchange type ventilator with a humidity control function,
the heat exchange ventilator with humidity control function comprises:
a heat exchange type ventilator that exchanges heat between an exhaust air flow that flows through an exhaust air passage for discharging indoor air to the outside and an intake air flow that flows through an intake air passage for supplying the outdoor air to the inside of the room; and
a dehumidification device that dehumidifies the supply air stream,
the dehumidifying apparatus includes: a refrigeration cycle including a compressor, a radiator, an expander, and a heat absorber; and a heat exchanger disposed between the heat absorber and the radiator, and configured to exchange heat between air flowing through the first flow path and air flowing through the second flow path,
the dehumidifier is configured to introduce the heat-exchanged air supply flow from the air supply air passage and to introduce the exhaust flow from the exhaust air passage,
a part of the air supply flow introduced into the dehumidifier is guided to the air supply passage so as not to flow through the radiator after passing through the heat absorber and the first flow passage in this order,
The other part of the air supply flow introduced into the dehumidifier is guided out to the air supply flow path so as not to flow through the radiator after passing through the second flow path,
the exhaust air flow introduced into the dehumidifier is guided out to the exhaust air passage after passing through the radiator,
the dehumidifier further comprises a water blowing part for blowing water to the radiator,
the exhaust air flow introduced into the dehumidifier is guided to the exhaust air passage after passing through the radiator in a state where the water is blown by the water blower,
the heat exchange type ventilator with a humidity control function further includes:
a liquid atomizing device configured to introduce the heat-exchanged supply air flow from the supply air passage and humidify the introduced supply air flow; and
a water passage switching unit that can be switched between a first state in which water is introduced from outside into the liquid atomizing device and a second state in which water is introduced from outside into the dehumidifying device,
the water path switching unit switches to the first state during humidification and to the second state during dehumidification.
6. The heat exchange type ventilator with a humidifying function according to claim 5,
The heat exchange ventilator with a humidity control function further includes a blower device that takes in the outdoor air and, after circulating the air through the heat sink, discharges the air to the exhaust air passage after heat exchange.
7. The heat exchange type ventilator with a humidifying function according to claim 5 or 6,
the temperature of the supply air flow supplied from the dehumidifier into the room during dehumidification is adjusted by controlling a ratio of an air volume of a part of the supply air flow to an air volume of another part of the supply air flow.
8. A heat exchange type ventilator with dehumidification function is characterized in that,
the heat exchange ventilator with a dehumidification function includes:
a heat exchange type ventilator that exchanges heat between an exhaust air flow that flows through an exhaust air passage for discharging indoor air to the outside and an intake air flow that flows through an intake air passage for supplying the outdoor air to the inside of the room; and
a dehumidification device that dehumidifies the supply air stream,
the dehumidifying apparatus includes: a refrigeration cycle including a compressor, a radiator, an expander, and a heat absorber; a heat exchanger disposed between the heat absorber and the radiator, and configured to exchange heat between air flowing through the first flow path and air flowing through the second flow path; and a water introduction unit for introducing at least water condensed in the heat absorber to the radiator,
The dehumidifier is configured to introduce the heat-exchanged air supply flow from the air supply air passage and to introduce the exhaust flow from the exhaust air passage,
a part of the air supply flow introduced into the dehumidifier is guided to the air supply passage while sequentially flowing through the heat absorber and the first flow passage,
the other part of the air supply flow introduced into the dehumidifier flows through the second flow path and is led out to the air supply duct,
the radiator is cooled by the water introduced from the water introduction part,
the exhaust air flow introduced into the dehumidifier is guided to the exhaust air passage while flowing through the radiator cooled by the water introduced from the water introduction portion,
the heat sink has: a first region that is disposed in the exhaust airflow passage and through which the exhaust airflow flows; and a second region connected to the first region, disposed in the air supply passage, and through which the air supply flow flows,
the air supply flow dehumidified by the dehumidifier is guided to the air supply flow passage while flowing through the second region of the radiator cooled by the water introduced from the water introduction portion,
the exhaust air flow introduced into the dehumidifier is guided to the exhaust air passage while flowing through the first region where the water introduced from the water introduction part is cooled by the second region.
9. The heat exchange type ventilator with a dehumidifying function according to claim 8,
the water introduction unit is configured to collect and introduce water condensed in the heat absorber and water condensed in the heat exchanger to the radiator.
10. The heat exchange type ventilator with a dehumidifying function according to claim 8 or 9,
the temperature of the air supply flow supplied from the dehumidifier into the room is adjusted by controlling the ratio of the air volume of one part of the air supply flow to the air volume of the other part of the air supply flow.
CN201980081647.2A 2018-12-14 2019-08-21 Heat exchange type ventilator with dehumidification function Active CN113167490B (en)

Applications Claiming Priority (11)

Application Number Priority Date Filing Date Title
JP2018234032A JP6653428B1 (en) 2018-12-14 2018-12-14 Heat exchange ventilator with dehumidification function
JP2018-234032 2018-12-14
JP2019005763A JP7285409B2 (en) 2019-01-17 2019-01-17 Heat exchange ventilation system with dehumidification function
JP2019-010769 2019-01-25
JP2019010769A JP7285410B2 (en) 2019-01-25 2019-01-25 Heat exchange ventilation system with dehumidification function
JP2019-005763 2019-03-19
JP2019-057581 2019-03-26
JP2019057581A JP7429835B2 (en) 2019-03-26 2019-03-26 Heat exchange type ventilation device with humidity control function
JP2019-119497 2019-06-27
JP2019119497A JP6653431B1 (en) 2019-06-27 2019-06-27 Heat exchange ventilator with dehumidification function
PCT/JP2019/032523 WO2020121598A1 (en) 2018-12-14 2019-08-21 Heat-exchange-type ventilation apparatus equipped with dehumidifying function

Publications (2)

Publication Number Publication Date
CN113167490A CN113167490A (en) 2021-07-23
CN113167490B true CN113167490B (en) 2023-04-14

Family

ID=71075500

Family Applications (1)

Application Number Title Priority Date Filing Date
CN201980081647.2A Active CN113167490B (en) 2018-12-14 2019-08-21 Heat exchange type ventilator with dehumidification function

Country Status (2)

Country Link
CN (1) CN113167490B (en)
WO (1) WO2020121598A1 (en)

Citations (7)

* Cited by examiner, † Cited by third party
Publication number Priority date Publication date Assignee Title
JP2004197991A (en) * 2002-12-17 2004-07-15 Matsushita Ecology Systems Co Ltd Multi-functional dehumidifier
JP2005510685A (en) * 2001-11-30 2005-04-21 チュン ギョン パク Air conditioner
CN102149976A (en) * 2008-09-09 2011-08-10 大金工业株式会社 Air conditioner
JP2015064171A (en) * 2013-09-26 2015-04-09 パナソニック株式会社 Dehumidification and ventilation device
WO2016031139A1 (en) * 2014-08-29 2016-03-03 パナソニックIpマネジメント株式会社 Dehumidifying device
CN105716156A (en) * 2014-12-22 2016-06-29 松下知识产权经营株式会社 Dehumidification device
CN206257751U (en) * 2016-11-23 2017-06-16 浙江欧伦电气有限公司 A kind of energy-saving fresh air dehumidifier

Family Cites Families (3)

* Cited by examiner, † Cited by third party
Publication number Priority date Publication date Assignee Title
JPH04353327A (en) * 1991-05-30 1992-12-08 Hitachi Ltd Air conditioner with ventilation function
JP3818378B2 (en) * 2002-11-28 2006-09-06 木村工機株式会社 Slim type air conditioner
JP4518998B2 (en) * 2005-04-28 2010-08-04 株式会社東洋製作所 Heat pump air conditioner

Patent Citations (7)

* Cited by examiner, † Cited by third party
Publication number Priority date Publication date Assignee Title
JP2005510685A (en) * 2001-11-30 2005-04-21 チュン ギョン パク Air conditioner
JP2004197991A (en) * 2002-12-17 2004-07-15 Matsushita Ecology Systems Co Ltd Multi-functional dehumidifier
CN102149976A (en) * 2008-09-09 2011-08-10 大金工业株式会社 Air conditioner
JP2015064171A (en) * 2013-09-26 2015-04-09 パナソニック株式会社 Dehumidification and ventilation device
WO2016031139A1 (en) * 2014-08-29 2016-03-03 パナソニックIpマネジメント株式会社 Dehumidifying device
CN105716156A (en) * 2014-12-22 2016-06-29 松下知识产权经营株式会社 Dehumidification device
CN206257751U (en) * 2016-11-23 2017-06-16 浙江欧伦电气有限公司 A kind of energy-saving fresh air dehumidifier

Also Published As

Publication number Publication date
WO2020121598A1 (en) 2020-06-18
CN113167490A (en) 2021-07-23

Similar Documents

Publication Publication Date Title
KR102283641B1 (en) Multipurpose Heat Exchanger for reducing relative humidity by dehumidification and Method for Controlling Thereof
CN107923637B (en) Air Conditioning System
JP7285410B2 (en) Heat exchange ventilation system with dehumidification function
HK1223678A1 (en) Dehumidifying device
JP7496489B2 (en) Dehumidifier
JP6653428B1 (en) Heat exchange ventilator with dehumidification function
JP2020159595A (en) Heat exchange type ventilation device with humidity control function
CN113167490B (en) Heat exchange type ventilator with dehumidification function
KR100569548B1 (en) Air conditioner
JP6653431B1 (en) Heat exchange ventilator with dehumidification function
JP7194882B2 (en) Heat exchange ventilation system with dehumidification function
JP7285409B2 (en) Heat exchange ventilation system with dehumidification function
JP2024006511A (en) heat exchange ventilation system
JP7291876B2 (en) dehumidifier
CN113939695A (en) Heat exchange type ventilator with dehumidification function
JP7129603B2 (en) Heat exchange ventilation system with dehumidification function
JP2021021544A (en) Heat exchange type ventilation device with humidity control function
WO2022043978A1 (en) Cooling apparatus with hybrid cooling cycle and closed water cycle with double wall heat transfer system
KR20160075887A (en) Air conditioner for thermo-hygrostat
JP2021021545A (en) Heat exchange type ventilation device with humidity control function
CN219177866U (en) Air treatment device
JP2024092337A (en) Air conditioner
CN119309256A (en) Multifunctional dehumidifier
JP2024119637A (en) Air Conditioning Equipment
JP4777850B2 (en) Air conditioner

Legal Events

Date Code Title Description
PB01 Publication
PB01 Publication
SE01 Entry into force of request for substantive examination
SE01 Entry into force of request for substantive examination
GR01 Patent grant
GR01 Patent grant