CN113119590A - Polar molecular ink microwave drying system and control method thereof - Google Patents

Polar molecular ink microwave drying system and control method thereof Download PDF

Info

Publication number
CN113119590A
CN113119590A CN202110348987.6A CN202110348987A CN113119590A CN 113119590 A CN113119590 A CN 113119590A CN 202110348987 A CN202110348987 A CN 202110348987A CN 113119590 A CN113119590 A CN 113119590A
Authority
CN
China
Prior art keywords
subsystem
microwave
drying
control
ink
Prior art date
Legal status (The legal status is an assumption and is not a legal conclusion. Google has not performed a legal analysis and makes no representation as to the accuracy of the status listed.)
Pending
Application number
CN202110348987.6A
Other languages
Chinese (zh)
Inventor
陆利坤
曾庆涛
齐亚莉
董武
王英博
赵瑞
张洋
李业丽
游福成
Current Assignee (The listed assignees may be inaccurate. Google has not performed a legal analysis and makes no representation or warranty as to the accuracy of the list.)
Beijing Institute of Graphic Communication
Original Assignee
Beijing Institute of Graphic Communication
Priority date (The priority date is an assumption and is not a legal conclusion. Google has not performed a legal analysis and makes no representation as to the accuracy of the date listed.)
Filing date
Publication date
Application filed by Beijing Institute of Graphic Communication filed Critical Beijing Institute of Graphic Communication
Priority to CN202110348987.6A priority Critical patent/CN113119590A/en
Publication of CN113119590A publication Critical patent/CN113119590A/en
Pending legal-status Critical Current

Links

Images

Classifications

    • BPERFORMING OPERATIONS; TRANSPORTING
    • B41PRINTING; LINING MACHINES; TYPEWRITERS; STAMPS
    • B41FPRINTING MACHINES OR PRESSES
    • B41F23/00Devices for treating the surfaces of sheets, webs, or other articles in connection with printing
    • B41F23/04Devices for treating the surfaces of sheets, webs, or other articles in connection with printing by heat drying, by cooling, by applying powders
    • B41F23/0486Particular types of dryers
    • B41F23/0493Microwave dryers

Landscapes

  • Engineering & Computer Science (AREA)
  • Mechanical Engineering (AREA)
  • Drying Of Solid Materials (AREA)

Abstract

本发明提供一种极性分子墨水微波烘干系统及其控制方法,该系统包括:走纸子系统,烘干子系统以及控制子系统;所述烘干子系统用于实现微波发射以将印刷物上的墨水烘干;所述走纸子系统驱动印刷物在所述烘干子系统下运动;所述控制子系统与所述烘干子系统以及所述走纸子系统电连接,用于控制所述走纸子系统驱动印刷物在所述烘干子系统下运动,控制所述烘干子系统发射微波以将印刷物上的墨水烘干通过将走纸子系统,烘干子系统以及控制子系统相结合,使用烘干子系统中的微波对印刷物进行烘干,与现有技术相比能耗低,且烘干速度快,穿透能力强,具有良好的烘干性能且绿色环保。

Figure 202110348987

The invention provides a polar molecular ink microwave drying system and a control method thereof. The system includes: a paper feeding subsystem, a drying subsystem and a control subsystem; the drying subsystem is used to realize microwave emission to dry the printed matter. The ink on the drying subsystem is dried; the paper feeding subsystem drives the printed matter to move under the drying subsystem; the control subsystem is electrically connected with the drying subsystem and the paper feeding subsystem, and is used to control all The paper feeding subsystem drives the printed matter to move under the drying subsystem, and controls the drying subsystem to emit microwaves to dry the ink on the printed matter by connecting the paper feeding subsystem, the drying subsystem and the control subsystem. In combination, the use of microwaves in the drying subsystem to dry the printed matter has low energy consumption compared with the prior art, fast drying speed, strong penetrating ability, good drying performance and environmental protection.

Figure 202110348987

Description

Polar molecular ink microwave drying system and control method thereof
Technical Field
The invention relates to the technical field of ink jet printing, in particular to a polar molecular ink microwave drying system and a control method thereof.
Background
In an inkjet printing system, depending on the characteristics of the ink, the ink is often dried after the completion of the inkjet process for subsequent operations. If drying is not performed, many problems are caused. For example: in the case of multiple ink-jet operations, the ink ejected first onto the substrate affects the ink ejected later, and the quality of the print is reduced. In order to avoid these problems and to improve the quality of the printed matter, various methods have been adopted in the prior art. For example: irradiating the ink with infrared rays; the ink is irradiated with ultraviolet rays. The methods have the problems of high energy consumption, low drying speed and poor penetrating power, which is not in accordance with the requirement of high efficiency of modern industrial production, and the drying technology of the polar molecular ink needs to be improved.
Disclosure of Invention
The invention provides a polar molecular ink microwave drying system and a control method thereof, which have the advantages of low energy consumption, high drying speed, strong penetrating power, good drying performance and environmental protection.
The invention provides a polar molecular ink microwave drying system, which comprises: the paper feeding subsystem, the drying subsystem and the control subsystem;
the drying subsystem is used for realizing microwave emission to dry the ink on the printed matter;
the paper feeding subsystem drives the printed matter to move under the drying subsystem;
the control subsystem is electrically connected with the drying subsystem and the paper feeding subsystem and is used for controlling the paper feeding subsystem to drive the printed matter to move under the drying subsystem and controlling the drying subsystem to emit microwaves so as to dry ink on the printed matter.
Furthermore, the drying subsystem comprises a drying box body and a microwave emission array;
the drying box body comprises a drying box body inner cavity, a microwave shielding layer and a microwave leakage detection sensor;
the microwave emission array is arranged inside the drying box body, and the microwave shielding layer is arranged outside the drying box body and used for preventing microwave leakage;
the microwave leakage detection sensor is arranged outside the microwave shielding layer and used for detecting the shielding state of the microwave shielding layer.
Further, the microwave leakage detection sensor detects the microwave metering value of the environment where the microwave leakage detection sensor is located, and sends the microwave metering value to the control subsystem;
and the control subsystem judges whether the microwave metering value exceeds a safety threshold value, and if the microwave metering value exceeds the safety threshold value, an alarm signal is sent out and the paper feeding subsystem and the drying subsystem are stopped.
Further, the paper feeding subsystem is arranged right below the drying subsystem and comprises a conveying belt, a motor and a rolling shaft;
the roller is driven by the motor, the conveying belt is arranged outside the roller, and the conveying belt drives the printed matter to move under the driving of the roller.
Furthermore, the control subsystem comprises a control subsystem shell, a microwave signal generating circuit, a communication and control circuit, a communication interface, a power supply interface, an emergency stop button and a status indicator lamp;
a microwave signal generating circuit and a communication and control circuit are arranged in the control subsystem shell; the communication interface, the power interface and the emergency stop button are arranged on the surface of the control subsystem shell.
Furthermore, the control subsystem shell is arranged on the outer side of a microwave shielding layer of the microwave drying subsystem and is connected with the drying box body by adopting a mechanical structure;
the communication and control circuit and the microwave signal generating circuit are arranged in the shell of the control subsystem.
Further, the communication and control circuit is used for processing a control signal sent by a computer, sending working state information to the computer, sending control information to the microwave signal generating circuit and processing the state information sent by the microwave signal generating circuit;
the microwave signal generating circuit is used for receiving the control signal sent by the communication and control circuit, sending state information to the communication and control circuit, generating a proper electric signal according to a built-in algorithm of the communication and control circuit and sending the electric signal to the microwave transmitting array; and the microwave signal generating circuit is electrically connected with the microwave transmitting array.
Furthermore, a status indicator light is arranged at the top of the control subsystem shell, mechanical connection is arranged between the status indicator light and the control subsystem shell, and electrical connection is arranged between the status indicator light and the communication and control circuit;
the emergency stop button is arranged on the side face of the control subsystem shell, and the communication interface and the power supply interface are arranged on the surface of the control subsystem shell.
Furthermore, a monitoring window is arranged on the surface of the drying box of the drying subsystem;
the monitoring window is made of transparent organic glass;
a metal shielding wire is arranged inside the organic glass;
the monitoring window is used for an operator to observe the working condition of the equipment.
In a second aspect, an embodiment of the present invention provides a method for controlling a polar molecular ink microwave drying system, which is applied to any one of the polar molecular ink microwave drying systems in the first aspect, and includes:
controlling the paper feeding subsystem to drive the printed matter to move under the drying subsystem;
and controlling the drying subsystem to emit microwaves to dry the ink on the printed matter.
According to the polar molecular ink microwave drying system and the control method thereof, the paper feeding subsystem, the drying subsystem and the control subsystem are combined, and the microwave in the drying subsystem is used for drying printed matters.
Drawings
In order to more clearly illustrate the technical solutions of the present invention or the prior art, the drawings needed for the description of the embodiments or the prior art will be briefly described below, and it is obvious that the drawings in the following description are some embodiments of the present invention, and those skilled in the art can also obtain other drawings according to the drawings without creative efforts.
Fig. 1 is a schematic structural diagram of a polar molecular ink microwave drying system according to an embodiment of the present invention;
fig. 2 is a cross-sectional view of a polar molecular ink microwave drying system according to an embodiment of the present invention;
fig. 3 is a flowchart of a control method of a polar molecular ink microwave drying system according to an embodiment of the present invention.
The drawings are identified below:
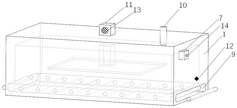
1. the microwave oven comprises a drying box body, 2, a microwave transmitting array, 3, a fixing structure, 4, a microwave shielding layer, 5, an inner wall of the drying box body, 6, an inner cavity of the drying box body, 7, a control subsystem shell, 8, a rolling shaft, 9, a drying groove, 10, a status indicator lamp, 11, a microwave signal power amplifier, 12, a microwave leakage detection sensor, 13, a cooling fan, 14 and an emergency stop button.
Detailed Description
In order to make the objects, technical solutions and advantages of the present invention clearer, the technical solutions of the present invention will be clearly and completely described below with reference to the accompanying drawings, and it is obvious that the described embodiments are some, but not all embodiments of the present invention. All other embodiments, which can be derived by a person skilled in the art from the embodiments given herein without making any creative effort, shall fall within the protection scope of the present invention.
The following describes a polar molecular ink microwave drying system according to the present invention with reference to fig. 1-2. Fig. 1 is a schematic structural diagram of a polar molecular ink microwave drying system according to an embodiment of the present invention; fig. 2 is a cross-sectional view of a polar molecular ink microwave drying system according to an embodiment of the present invention.
The embodiment of the invention provides a polar molecular ink microwave drying system, which comprises: the paper feeding subsystem, the drying subsystem and the control subsystem; the drying subsystem is used for realizing microwave emission to dry the ink on the printed matter; the paper feeding subsystem drives the printed matter to move under the drying subsystem; the control subsystem is electrically connected with the drying subsystem and the paper feeding subsystem and is used for controlling the paper feeding subsystem to drive the printed matter to move under the drying subsystem and controlling the drying subsystem to emit microwaves so as to dry ink on the printed matter.
Specifically, the drying subsystem is used for realizing microwave emission and ink drying and avoiding microwave leakage, and comprises a drying box body 1 and a microwave emission array 2. The drying box body 1 and the microwave transmitting array 2 are provided with a fixing structure 3, and an electric connection is arranged inside the fixing structure 3.
The drying box body 1 comprises a microwave shielding layer 4, a drying box body inner wall 5, a drying box body inner cavity 6 and a microwave leakage detection sensor. The microwave emission array 2 is arranged inside the drying box body 1, and the microwave shielding layer 4 is arranged outside the drying box body 1 and used for preventing microwave leakage.
The microwave leakage detection sensor 12 is installed outside the microwave shielding layer 4 and used for detecting the state of the microwave shielding layer 4, specifically, the microwave leakage detection sensor 12 detects the microwave metering of the environment where the microwave leakage detection sensor is located, and if the microwave metering in the environment exceeds a safety value, an alarm is sent out and the ink microwave drying system is stopped.
The paper feeding subsystem is arranged right below the drying subsystem, penetrates through the bottom of the drying box body 1, is arranged inside the drying groove 9 and comprises a motor and a rolling shaft 8. The roller 8 is driven by the motor, and the motor is electrically connected with the control subsystem.
The control subsystem comprises a control subsystem shell 7, a microwave signal generating circuit, a microwave signal power amplifier 11, a communication and control circuit, a communication interface, a power interface, an emergency stop button 14 and a status indicator lamp 10. The microwave signal power amplifier 11 is provided with a cooling fan 13, the control subsystem shell 7 is used for installing a microwave signal generating circuit and a communication and control circuit in the control subsystem shell, and the surface of the control subsystem shell 7 is provided with a communication interface, a power supply interface and an emergency stop button.
The control subsystem shell is arranged on the outer side of a microwave shielding layer 4 of the microwave drying subsystem and is connected with the drying box body 1 by adopting a mechanical structure.
The communication and control circuit, the microwave signal generating circuit are mounted within the control subsystem housing 7.
The communication and control circuit is used for processing the control signal sent by the computer, sending working state information to the computer, sending control information to the microwave signal generating circuit and processing the state information sent by the microwave signal generating circuit.
The microwave signal generating circuit is used for receiving the control signal sent by the communication and control circuit, sending status information to the communication and control circuit, generating a proper electric signal according to a built-in algorithm of the communication and control circuit and sending the electric signal to the microwave transmitting array.
And the microwave signal generating circuit is electrically connected with the microwave transmitting array 2.
The status indicator light 10 is arranged at the top of the shell of the drying box body 1, the status indicator light 10 is mechanically connected with the control subsystem shell 7, and the status indicator light 10 is electrically connected with the communication and control circuit.
The emergency stop button 14 is arranged on the side surface of the control subsystem shell, and the communication interface and the power supply interface are arranged on the surface of the control subsystem shell.
Optionally, the window is kept watch on to stoving subsystem stoving box body surface can also install, it is transparent material's organic glass to keep watch on the window, the inside metallic shield silk that contains of organic glass, it is used for operator observation equipment behavior to keep watch on the window.
Optionally, the length of the paper feeding subsystem conveying belt is three times of the side length of the projection surface of the drying box.
The following describes a control method of the polar molecular ink microwave drying system provided by the present invention, and the control method of the polar molecular ink microwave drying system described below and the above-described polar molecular ink microwave drying system may be referred to correspondingly.
Fig. 3 is a flowchart of a control method of a polar molecular ink microwave drying system according to an embodiment of the present invention.
The embodiment of the invention provides a control method of a polar molecular ink microwave drying system, which is applied to the polar molecular ink microwave drying system in any one embodiment, and comprises the following steps:
step 110: controlling the paper feeding subsystem to drive the printed matter to move under the drying subsystem;
step 120: and controlling the drying subsystem to emit microwaves to dry the ink on the printed matter.
The above-described embodiments of the apparatus are merely illustrative, and the units described as separate parts may or may not be physically separate, and parts displayed as units may or may not be physical units, may be located in one place, or may be distributed on a plurality of network units. Some or all of the modules may be selected according to actual needs to achieve the purpose of the solution of the present embodiment. One of ordinary skill in the art can understand and implement it without inventive effort.
Through the above description of the embodiments, those skilled in the art will clearly understand that each embodiment can be implemented by software plus a necessary general hardware platform, and certainly can also be implemented by hardware. With this understanding in mind, the above-described technical solutions may be embodied in the form of a software product, which can be stored in a computer-readable storage medium such as ROM/RAM, magnetic disk, optical disk, etc., and includes instructions for causing a computer device (which may be a personal computer, a server, or a network device, etc.) to execute the methods described in the embodiments or some parts of the embodiments.
Finally, it should be noted that: the above examples are only intended to illustrate the technical solution of the present invention, but not to limit it; although the present invention has been described in detail with reference to the foregoing embodiments, it will be understood by those of ordinary skill in the art that: the technical solutions described in the foregoing embodiments may still be modified, or some technical features may be equivalently replaced; and such modifications or substitutions do not depart from the spirit and scope of the corresponding technical solutions of the embodiments of the present invention.

Claims (10)

1.一种极性分子墨水微波烘干系统,其特征在于,包括:走纸子系统,烘干子系统以及控制子系统;1. a polar molecular ink microwave drying system, is characterized in that, comprises: paper feeding subsystem, drying subsystem and control subsystem; 所述烘干子系统用于实现微波发射以将印刷物上的墨水烘干;The drying subsystem is used to realize microwave emission to dry the ink on the printed matter; 所述走纸子系统驱动印刷物在所述烘干子系统下运动;the paper feeding subsystem drives the printed matter to move under the drying subsystem; 所述控制子系统与所述烘干子系统以及所述走纸子系统电连接,用于控制所述走纸子系统驱动印刷物在所述烘干子系统下运动,控制所述烘干子系统发射微波以将印刷物上的墨水烘干。The control subsystem is electrically connected with the drying subsystem and the paper feeding subsystem, and is used to control the paper feeding subsystem to drive the printed matter to move under the drying subsystem, and control the drying subsystem Microwaves are fired to dry the ink on the print. 2.根据权利要求1所述的极性分子墨水微波烘干系统,其特征在于,2. polar molecular ink microwave drying system according to claim 1, is characterized in that, 所述烘干子系统包括烘干箱体,微波发射阵列;The drying subsystem includes a drying box and a microwave emission array; 所述烘干箱体包括烘干箱体内腔,微波屏蔽层,微波泄露检测传感器;The drying box includes a drying box cavity, a microwave shielding layer, and a microwave leakage detection sensor; 所述微波发射阵列安装在烘干箱体内部,所述微波屏蔽层安装在烘干箱体外部,用于防止微波泄露;The microwave emission array is installed inside the drying box, and the microwave shielding layer is installed outside the drying box to prevent microwave leakage; 所述微波泄露检测传感器安装在微波屏蔽层外部,用于检测微波屏蔽层屏蔽状态。The microwave leakage detection sensor is installed outside the microwave shielding layer, and is used to detect the shielding state of the microwave shielding layer. 3.根据权利要求2所述的极性分子墨水微波烘干系统,其特征在于,3. polar molecular ink microwave drying system according to claim 2, is characterized in that, 所述微波泄露检测传感器检测其所处环境的微波计量值,并将所述微波计量值发送到所述控制子系统;The microwave leakage detection sensor detects the microwave metering value of the environment where it is located, and sends the microwave metering value to the control subsystem; 所述控制子系统判断所述微波计量值是否超过安全阈值,如果所述微波计量值超过安全阈值则发出报警信号并停止所述走纸子系统和所述烘干子系统。The control subsystem determines whether the microwave metering value exceeds the safety threshold, and if the microwave metering value exceeds the safety threshold, an alarm signal is issued and the paper feeding subsystem and the drying subsystem are stopped. 4.根据权利要求1所述的极性分子墨水微波烘干系统,其特征在于,4. polar molecular ink microwave drying system according to claim 1, is characterized in that, 所述走纸子系统设置于所述烘干子系统的正下方,包括传送皮带,电机,滚轴;The paper feeding subsystem is arranged directly below the drying subsystem, and includes a conveyor belt, a motor, and a roller; 所述滚轴通过所述电机驱动,所述传送皮带安装在所述滚轴外部,所述传送皮带在所述滚轴的带动下驱动印刷物运动。The roller is driven by the motor, the conveying belt is installed outside the roller, and the conveying belt drives the printed matter to move under the driving of the roller. 5.根据权利要求2所述的极性分子墨水微波烘干系统,其特征在于,5. The polar molecular ink microwave drying system according to claim 2, characterized in that, 所述控制子系统包括控制子系统外壳,微波信号发生电路,通信和控制电路,通信接口,电源接口,急停按钮,状态指示灯;The control subsystem includes a control subsystem housing, a microwave signal generating circuit, a communication and control circuit, a communication interface, a power interface, an emergency stop button, and a status indicator light; 所述控制子系统外壳的内部安装有微波信号发生电路,通信和控制电路;所述控制子系统外壳表面安装有所述通信接口、所述电源接口以及所述急停按钮。A microwave signal generating circuit, a communication and control circuit are installed inside the shell of the control subsystem; the communication interface, the power interface and the emergency stop button are installed on the surface of the shell of the control subsystem. 6.根据权利要求5所述的极性分子墨水微波烘干系统,其特征在于,6. The polar molecular ink microwave drying system according to claim 5, characterized in that, 所述控制子系统外壳安装在微波烘干子系统微波屏蔽层外侧,采用机械结构与所述烘干箱体连接;The control subsystem shell is installed on the outside of the microwave shielding layer of the microwave drying subsystem, and is connected with the drying box by a mechanical structure; 所述通信和控制电路,微波信号发生电路安装在控制子系统外壳内。The communication and control circuit and the microwave signal generating circuit are installed in the control subsystem housing. 7.根据权利要求5所述的极性分子墨水微波烘干系统,其特征在于,7. The polar molecular ink microwave drying system according to claim 5, characterized in that, 所述通信和控制电路用于处理计算机发送的控制信号,以及向所述计算机发送工作状态信息,以及向所述微波信号发生电路发送控制信息,以及处理所述微波信号发生电路发送的状态信息;The communication and control circuit is used for processing the control signal sent by the computer, sending the working status information to the computer, sending the control information to the microwave signal generating circuit, and processing the status information sent by the microwave signal generating circuit; 所述微波信号发生电路用于接收所述通信和控制电路发送的控制信号,以及用于向所述通信和控制电路发送状态信息,以及根据其内置的算法产生适当的电信号,并将所述电信号发送至所述微波发射阵列;所述微波信号发生电路与所述微波发射阵列之间设有电连接。The microwave signal generating circuit is used for receiving the control signal sent by the communication and control circuit, and for sending status information to the communication and control circuit, and for generating an appropriate electrical signal according to its built-in algorithm, and for sending the signal to the communication and control circuit. An electrical signal is sent to the microwave emitting array; an electrical connection is provided between the microwave signal generating circuit and the microwave emitting array. 8.根据权利要求5所述的极性分子墨水微波烘干系统,其特征在于,8. The polar molecular ink microwave drying system according to claim 5, characterized in that, 状态指示灯安装在控制子系统外壳顶部,所述状态指示灯与所述控制子系统外壳之间设有机械连接,所述状态指示灯与所述通信和控制电路之间设有电连接;The status indicator light is installed on the top of the control subsystem housing, and a mechanical connection is provided between the status indicator light and the control subsystem housing, and an electrical connection is provided between the status indicator light and the communication and control circuit; 所述急停按钮安装在控制子系统外壳侧面,所述通信接口和电源接口安装在控制子系统外壳表面。The emergency stop button is installed on the side of the housing of the control subsystem, and the communication interface and the power interface are installed on the surface of the housing of the control subsystem. 9.根据权利要求1至8任一项所述的极性分子墨水微波烘干系统,其特征在于,9. The polar molecular ink microwave drying system according to any one of claims 1 to 8, characterized in that, 所述烘干子系统烘干箱体表面安装有监视窗;A monitoring window is installed on the surface of the drying box of the drying subsystem; 所述监视窗为透明材质的有机玻璃;The monitoring window is plexiglass of transparent material; 所述有机玻璃内部设有金属屏蔽丝;A metal shielding wire is arranged inside the plexiglass; 所述监视窗用于操作者观察设备工作情况。The monitoring window is used for the operator to observe the working condition of the equipment. 10.一种极性分子墨水微波烘干系统控制方法,应用于如权利要求1至9任一项所述的极性分子墨水微波烘干系统,其特征在于,包括:10. A method for controlling a polar molecular ink microwave drying system, applied to the polar molecular ink microwave drying system as claimed in any one of claims 1 to 9, characterized in that, comprising: 控制所述走纸子系统驱动印刷物在所述烘干子系统下运动;controlling the paper feeding subsystem to drive the printed matter to move under the drying subsystem; 控制所述烘干子系统发射微波以将印刷物上的墨水烘干。The drying subsystem is controlled to emit microwaves to dry the ink on the printed matter.
CN202110348987.6A 2021-03-31 2021-03-31 Polar molecular ink microwave drying system and control method thereof Pending CN113119590A (en)

Priority Applications (1)

Application Number Priority Date Filing Date Title
CN202110348987.6A CN113119590A (en) 2021-03-31 2021-03-31 Polar molecular ink microwave drying system and control method thereof

Applications Claiming Priority (1)

Application Number Priority Date Filing Date Title
CN202110348987.6A CN113119590A (en) 2021-03-31 2021-03-31 Polar molecular ink microwave drying system and control method thereof

Publications (1)

Publication Number Publication Date
CN113119590A true CN113119590A (en) 2021-07-16

Family

ID=76774381

Family Applications (1)

Application Number Title Priority Date Filing Date
CN202110348987.6A Pending CN113119590A (en) 2021-03-31 2021-03-31 Polar molecular ink microwave drying system and control method thereof

Country Status (1)

Country Link
CN (1) CN113119590A (en)

Citations (7)

* Cited by examiner, † Cited by third party
Publication number Priority date Publication date Assignee Title
US6578959B1 (en) * 2000-06-30 2003-06-17 Hewlett-Packard Development Company, L.P. Printer including microwave dryer
CN208006463U (en) * 2017-11-01 2018-10-26 河北领成包装材料科技有限公司 A kind of printing packaging microwave drying equipment
CN208216272U (en) * 2018-05-08 2018-12-11 河南中瀛包装科技股份有限公司 A kind of printing packaging drying equipment
CN109228642A (en) * 2018-10-11 2019-01-18 杭州莱鸿能源科技有限公司 A kind of ink intaglio press microwave drying equipment
CN209813413U (en) * 2019-02-20 2019-12-20 成都纽曼和瑞微波技术有限公司 Ink printing microwave heating drying device
CN110973664A (en) * 2019-12-26 2020-04-10 江苏全链通信息科技有限公司 Microwave dryer for vegetable, fruit and crops
CN111246613A (en) * 2018-11-29 2020-06-05 青岛海尔智能技术研发有限公司 Radio frequency heating device, control method and device thereof, radio frequency heating appliance, storage medium

Patent Citations (7)

* Cited by examiner, † Cited by third party
Publication number Priority date Publication date Assignee Title
US6578959B1 (en) * 2000-06-30 2003-06-17 Hewlett-Packard Development Company, L.P. Printer including microwave dryer
CN208006463U (en) * 2017-11-01 2018-10-26 河北领成包装材料科技有限公司 A kind of printing packaging microwave drying equipment
CN208216272U (en) * 2018-05-08 2018-12-11 河南中瀛包装科技股份有限公司 A kind of printing packaging drying equipment
CN109228642A (en) * 2018-10-11 2019-01-18 杭州莱鸿能源科技有限公司 A kind of ink intaglio press microwave drying equipment
CN111246613A (en) * 2018-11-29 2020-06-05 青岛海尔智能技术研发有限公司 Radio frequency heating device, control method and device thereof, radio frequency heating appliance, storage medium
CN209813413U (en) * 2019-02-20 2019-12-20 成都纽曼和瑞微波技术有限公司 Ink printing microwave heating drying device
CN110973664A (en) * 2019-12-26 2020-04-10 江苏全链通信息科技有限公司 Microwave dryer for vegetable, fruit and crops

Similar Documents

Publication Publication Date Title
US10201991B2 (en) Inkjet printing apparatus and method for controlling inkjet printing apparatus
JP2012179802A (en) Inkjet printer
US10308059B2 (en) Printing apparatus and control method for printing apparatus
JP6244953B2 (en) Drying device, image forming device
JP2018001501A (en) Printer
CN113119590A (en) Polar molecular ink microwave drying system and control method thereof
WO2007112763A1 (en) Method and apparatus for cooling and ventilation
JP6801419B2 (en) Printing equipment and head unit
US20210047533A1 (en) Photonic sintered nanoink, photonic sintering method, and conductive nanostructure
CN203929653U (en) Circuit board double-side detection equipment
JP2012196604A (en) Printing device and manufacturing device
CN113103571A (en) Light-curing 3D printer and its control method
CN214983199U (en) Photocuring 3D printer
JP2004237724A (en) Liquid ejector
JP5615002B2 (en) Printer apparatus and printing method therefor
JP2005096374A (en) Image recording apparatus
KR101499647B1 (en) Printing apparatus having fire fighting function
JP5801043B2 (en) Recording device
JP2018114697A (en) Recording apparatus and method for controlling operation sound thereof
US20220258496A1 (en) Drying device, printing system
JP5752919B2 (en) Recording device
JP2011258914A (en) Circuit board and apparatus for processing defect in circuit board
JP6727417B2 (en) Ink jet recording apparatus and cooling method
CN216885242U (en) Three-dimensional printer
JP2016024674A (en) IMAGING DEVICE, MEDIUM CONVEYING DEVICE, AND PRINTING DEVICE

Legal Events

Date Code Title Description
PB01 Publication
PB01 Publication
SE01 Entry into force of request for substantive examination
SE01 Entry into force of request for substantive examination