CN113099916B - Soybean new variety seedling breeding device - Google Patents
Soybean new variety seedling breeding device Download PDFInfo
- Publication number
- CN113099916B CN113099916B CN202110434385.2A CN202110434385A CN113099916B CN 113099916 B CN113099916 B CN 113099916B CN 202110434385 A CN202110434385 A CN 202110434385A CN 113099916 B CN113099916 B CN 113099916B
- Authority
- CN
- China
- Prior art keywords
- incubator
- conveying
- fixedly connected
- bearing
- conveying mechanism
- Prior art date
- Legal status (The legal status is an assumption and is not a legal conclusion. Google has not performed a legal analysis and makes no representation as to the accuracy of the status listed.)
- Active
Links
- 244000068988 Glycine max Species 0.000 title claims abstract description 32
- 235000010469 Glycine max Nutrition 0.000 title claims abstract description 31
- 238000009395 breeding Methods 0.000 title description 2
- 230000001488 breeding effect Effects 0.000 title description 2
- 230000007246 mechanism Effects 0.000 claims abstract description 122
- 239000007788 liquid Substances 0.000 claims abstract description 17
- 230000033001 locomotion Effects 0.000 claims abstract description 4
- 239000007921 spray Substances 0.000 claims description 9
- 230000005540 biological transmission Effects 0.000 claims description 4
- 238000010438 heat treatment Methods 0.000 claims description 3
- 230000002262 irrigation Effects 0.000 claims 4
- 238000003973 irrigation Methods 0.000 claims 4
- 230000000007 visual effect Effects 0.000 claims 3
- 238000009987 spinning Methods 0.000 claims 2
- 230000007723 transport mechanism Effects 0.000 claims 2
- 230000008595 infiltration Effects 0.000 claims 1
- 238000001764 infiltration Methods 0.000 claims 1
- 238000005507 spraying Methods 0.000 abstract description 3
- 230000004083 survival effect Effects 0.000 abstract description 2
- 238000001802 infusion Methods 0.000 description 16
- 239000002689 soil Substances 0.000 description 8
- XLYOFNOQVPJJNP-UHFFFAOYSA-N water Substances O XLYOFNOQVPJJNP-UHFFFAOYSA-N 0.000 description 7
- 235000015097 nutrients Nutrition 0.000 description 4
- 230000000844 anti-bacterial effect Effects 0.000 description 2
- 239000003899 bactericide agent Substances 0.000 description 2
- 238000000034 method Methods 0.000 description 2
- 241000196324 Embryophyta Species 0.000 description 1
- 244000046052 Phaseolus vulgaris Species 0.000 description 1
- 235000010627 Phaseolus vulgaris Nutrition 0.000 description 1
- 230000009286 beneficial effect Effects 0.000 description 1
- 238000012258 culturing Methods 0.000 description 1
- 238000010586 diagram Methods 0.000 description 1
- 230000004720 fertilization Effects 0.000 description 1
- 230000005012 migration Effects 0.000 description 1
- 238000013508 migration Methods 0.000 description 1
- 230000000243 photosynthetic effect Effects 0.000 description 1
- 238000007789 sealing Methods 0.000 description 1
Images
Classifications
-
- A—HUMAN NECESSITIES
- A01—AGRICULTURE; FORESTRY; ANIMAL HUSBANDRY; HUNTING; TRAPPING; FISHING
- A01G—HORTICULTURE; CULTIVATION OF VEGETABLES, FLOWERS, RICE, FRUIT, VINES, HOPS OR SEAWEED; FORESTRY; WATERING
- A01G9/00—Cultivation in receptacles, forcing-frames or greenhouses; Edging for beds, lawn or the like
- A01G9/14—Greenhouses
- A01G9/16—Dismountable or portable greenhouses ; Greenhouses with sliding roofs
-
- A—HUMAN NECESSITIES
- A01—AGRICULTURE; FORESTRY; ANIMAL HUSBANDRY; HUNTING; TRAPPING; FISHING
- A01C—PLANTING; SOWING; FERTILISING
- A01C23/00—Distributing devices specially adapted for liquid manure or other fertilising liquid, including ammonia, e.g. transport tanks or sprinkling wagons
- A01C23/04—Distributing under pressure; Distributing mud; Adaptation of watering systems for fertilising-liquids
- A01C23/042—Adding fertiliser to watering systems
-
- A—HUMAN NECESSITIES
- A01—AGRICULTURE; FORESTRY; ANIMAL HUSBANDRY; HUNTING; TRAPPING; FISHING
- A01C—PLANTING; SOWING; FERTILISING
- A01C23/00—Distributing devices specially adapted for liquid manure or other fertilising liquid, including ammonia, e.g. transport tanks or sprinkling wagons
- A01C23/04—Distributing under pressure; Distributing mud; Adaptation of watering systems for fertilising-liquids
- A01C23/047—Spraying of liquid fertilisers
-
- A—HUMAN NECESSITIES
- A01—AGRICULTURE; FORESTRY; ANIMAL HUSBANDRY; HUNTING; TRAPPING; FISHING
- A01G—HORTICULTURE; CULTIVATION OF VEGETABLES, FLOWERS, RICE, FRUIT, VINES, HOPS OR SEAWEED; FORESTRY; WATERING
- A01G9/00—Cultivation in receptacles, forcing-frames or greenhouses; Edging for beds, lawn or the like
- A01G9/24—Devices or systems for heating, ventilating, regulating temperature, illuminating, or watering, in greenhouses, forcing-frames, or the like
-
- Y—GENERAL TAGGING OF NEW TECHNOLOGICAL DEVELOPMENTS; GENERAL TAGGING OF CROSS-SECTIONAL TECHNOLOGIES SPANNING OVER SEVERAL SECTIONS OF THE IPC; TECHNICAL SUBJECTS COVERED BY FORMER USPC CROSS-REFERENCE ART COLLECTIONS [XRACs] AND DIGESTS
- Y02—TECHNOLOGIES OR APPLICATIONS FOR MITIGATION OR ADAPTATION AGAINST CLIMATE CHANGE
- Y02A—TECHNOLOGIES FOR ADAPTATION TO CLIMATE CHANGE
- Y02A40/00—Adaptation technologies in agriculture, forestry, livestock or agroalimentary production
- Y02A40/10—Adaptation technologies in agriculture, forestry, livestock or agroalimentary production in agriculture
- Y02A40/25—Greenhouse technology, e.g. cooling systems therefor
Landscapes
- Life Sciences & Earth Sciences (AREA)
- Environmental Sciences (AREA)
- Engineering & Computer Science (AREA)
- Water Supply & Treatment (AREA)
- Soil Sciences (AREA)
- Cultivation Receptacles Or Flower-Pots, Or Pots For Seedlings (AREA)
Abstract
本发明公开了一种大豆新品种幼苗培育装置,包括培育箱、箱盖、箱门,所述箱盖、箱门分别设置在培育箱的顶部和侧面将培育箱密封,所述培育箱内设置有若干组培育机构,所述培育机构包括输送机构、承载机构、浇灌机构以及传送机构;所述输送机构设置在培育箱的左右两侧内壁上;所述承载机构放置在输送机构的上表面并通过输送机构传送到培育箱内;所述传送机构、浇灌机构位于承载机构的上方,所述传送机构固定在培育箱的后侧内壁上并与输送机构的输送方向平行设置;所述浇灌机构传动连接在输送机构上且在传送机构上做往复运动同时向承载机构喷洒液体,本发明可以减少劳动强度,提高移栽存活率。
The invention discloses a seedling cultivation device of a new soybean variety, comprising an incubator, a box cover and a box door. The box cover and the box door are respectively arranged on the top and side of the incubator to seal the incubator. There are several groups of cultivating mechanisms, and the cultivating mechanism includes a conveying mechanism, a carrying mechanism, a watering mechanism and a conveying mechanism; the conveying mechanism is arranged on the inner walls of the left and right sides of the incubator; the carrying mechanism is placed on the upper surface of the conveying mechanism and is It is transferred into the incubator through the conveying mechanism; the conveying mechanism and the watering mechanism are located above the bearing mechanism, and the conveying mechanism is fixed on the inner wall of the rear side of the incubator and is arranged parallel to the conveying direction of the conveying mechanism; the watering mechanism drives The invention can reduce labor intensity and improve the survival rate of transplanting by connecting to the conveying mechanism and performing reciprocating motion on the conveying mechanism while spraying liquid to the carrying mechanism.
Description
技术领域technical field
本发明涉及大豆幼苗的培养装置领域,具体涉及一种大豆新品种幼苗培育装置。The invention relates to the field of soybean seedling cultivation devices, in particular to a soybean new variety seedling cultivation device.
背景技术Background technique
大豆是指豆科大豆属植物,根据大豆的种子种皮颜色和粒形分为五类:黄大豆、青大豆、黑大豆、其它大豆、饲料豆;我国是世界最大的大豆消费国,。目前,我国对大豆需求量特别的大,因此每年需要在国外大量进口大豆。其原因在于,国内现有亩产大豆产量较低,平均每亩产量约较低;远远不能满足国内所需。因此需要培育一些新的大豆品种来提高平均亩产量,而在培育新品种时需要用到幼苗的培育装置,现有的培育装置存在这劳动强度大、移栽不便等问题,因此需要一种新型的选育用的培育装置,因此需要一种大豆新品种幼苗培育装置。Soybean refers to the leguminous soybean plant, which is divided into five categories according to the seed coat color and grain shape of soybean: yellow soybean, green soybean, black soybean, other soybeans, and feed beans; my country is the world's largest soybean consumer. At present, my country's demand for soybeans is particularly large, so a large number of soybeans need to be imported abroad every year. The reason is that the existing domestic soybean yield per mu is relatively low, and the average yield per mu is about low; it is far from meeting domestic needs. Therefore, it is necessary to cultivate some new soybean varieties to increase the average yield per mu. When cultivating new varieties, a seedling cultivation device needs to be used. The existing cultivation devices have problems such as high labor intensity and inconvenient transplanting. Therefore, a new type of cultivation device is required. Therefore, a new soybean variety seedling cultivation device is needed.
发明内容SUMMARY OF THE INVENTION
本发明的目的在于提供一种大豆新品种幼苗培育装置。The purpose of the present invention is to provide a seedling cultivation device of a new soybean variety.
为实现上述目的,本发明提供如下技术方案:To achieve the above object, the present invention provides the following technical solutions:
一种大豆新品种幼苗培育装置,包括培育箱、箱盖、箱门,所述箱盖、箱门分别设置在培育箱的顶部和侧面将培育箱密封,所述培育箱内设置有若干组培育机构,所述培育机构包括输送机构、承载机构、浇灌机构以及传送机构,所述输送机构设置在培育箱的左右两侧内壁上,所述承载机构放置在输送机构的上表面并通过输送机构传送到培育箱内,所述传送机构、浇灌机构位于承载机构的上方,所述传送机构固定在培育箱的后侧内壁上并与输送机构的输送方向平行设置,所述浇灌机构传动连接在输送机构上且在传送机构上做往复运动同时向承载机构喷洒液体。A device for cultivating seedlings of new soybean varieties, comprising an incubator, a box cover, and a box door, wherein the box cover and the box door are respectively arranged on the top and side of the incubator to seal the incubator, and several groups of cultivation boxes are arranged in the incubator. The cultivating mechanism includes a conveying mechanism, a carrying mechanism, a watering mechanism and a conveying mechanism, the conveying mechanism is arranged on the inner walls of the left and right sides of the incubator, and the carrying mechanism is placed on the upper surface of the conveying mechanism and conveyed by the conveying mechanism In the incubator, the conveying mechanism and the watering mechanism are located above the bearing mechanism, the conveying mechanism is fixed on the inner wall of the rear side of the incubator and is arranged in parallel with the conveying direction of the conveying mechanism, and the watering mechanism is drivingly connected to the conveying mechanism. and reciprocate on the conveying mechanism while spraying liquid to the carrying mechanism.
进一步的,所述输送机构包括输送带、主动轮、从动轮,所述主动轮、从动轮转动连接在培育箱的内壁上,所述主动轮在动力装置的驱动下带动输送带在主动轮和从动轮上进行转动,所述承载机构一端放置在输送带上后,输送带带动承载机构向培育箱内部运动至承载机构完全进入到培育箱内后停止,所述动力装置为第一电机,所述第一电机固定连接在培育箱的外壁上,所述第一电机的动力输出端伸入到培育箱内并与主动轮固定连接。Further, the conveying mechanism includes a conveyor belt, a driving wheel, and a driven wheel, the driving wheel and the driven wheel are rotatably connected to the inner wall of the incubator, and the driving wheel drives the conveyor belt to the driving wheel and the driving wheel under the driving of the power device. The driven wheel rotates. After one end of the carrying mechanism is placed on the conveyor belt, the conveyor belt drives the carrying mechanism to move into the incubator until the carrying mechanism completely enters the incubator and stops. The power device is the first motor, so the The first motor is fixedly connected to the outer wall of the incubator, and the power output end of the first motor extends into the incubator and is fixedly connected to the driving wheel.
进一步的,所述承载机构包括承载板,所述承载板上均匀开设有承载孔,承载孔内固定连接有培育皿,所述承载板底部固定连接有输送块,所述输送带顶部开设有若干输送槽,所述承载板放置到输送带上后输送块与输送带的其中的一个输送槽扣合输送带带动承载板向培育箱内部运动。Further, the bearing mechanism includes a bearing plate, the bearing plate is evenly provided with bearing holes, the bearing holes are fixedly connected with a culture dish, the bottom of the bearing plate is fixedly connected with a conveying block, and the top of the conveying belt is provided with several A conveying groove, after the carrying plate is placed on the conveying belt, the conveying block is engaged with one of the conveying grooves of the conveying belt and the conveying belt drives the carrying plate to move towards the inside of the incubator.
进一步的,所述培育箱的左侧的内壁上固定连接有限位块,所述限位块顶部做倒圆角处理,所述浇灌机构包括移动块、输液管、进液软管以及若干喷头,所述移动块传动连接在传送机构上,所述输液管固定连接在移动块底部,所述进液软管一端固定连接在输液管上且与输液管相连通,所述输液管与进液软管的连接处设置有电磁阀,所述进液软管的另一端伸出培育箱后与外界连通,所述喷头均匀分布在输液管的底部并与输液管连通,且喷头中心的间距与承载板上承载孔中心的间距相同,所述输液管的左侧开设有开关槽,所述开关槽内设置有开关,所述开关与电磁阀电性连接,所述浇灌机构在沿传送机构做往复运动时,若干所述限位块依次按压开关控制电磁阀的开启和关闭,控制喷头向承载孔内喷入液体。Further, a limit block is fixedly connected to the inner wall of the left side of the incubator, the top of the limit block is rounded, and the watering mechanism includes a moving block, an infusion pipe, a liquid inlet hose and a number of nozzles, The moving block is driven and connected to the transmission mechanism, the infusion tube is fixedly connected to the bottom of the moving block, and one end of the liquid inlet hose is fixedly connected to the infusion tube and communicated with the infusion tube. A solenoid valve is arranged at the connection of the pipe, the other end of the liquid inlet hose extends out of the incubator and communicates with the outside world, the nozzles are evenly distributed at the bottom of the infusion pipe and communicated with the infusion pipe, and the distance between the centers of the nozzles and the bearing The distance between the centers of the bearing holes on the plate is the same, a switch slot is provided on the left side of the infusion tube, a switch is arranged in the switch slot, the switch is electrically connected with the solenoid valve, and the watering mechanism reciprocates along the conveying mechanism. During movement, several of the limiting blocks press the switches in sequence to control the opening and closing of the solenoid valve, and control the spray head to spray liquid into the bearing hole.
进一步的,所述传送机构包括丝杠和滑杠,所述培育箱的箱盖底部前端固定连接有挡板,所述丝杠一端转动连接在培育箱的后壁上后伸出培育箱并连接在第二电机的动力输出端上,所述丝杠的另一端转动连接在挡板上,所述滑杠一端固定连接在培育箱后壁上,所述滑杠的另一端固定连接在挡板上,所述丝杠和滑杠依次穿过移动块的通孔,所述丝杠和移动块的其中一个通孔通过螺纹连接,所述滑杠和移动块的另一个通孔滑动连接,所述第二电机固定连接在培育箱的外壁上。Further, the conveying mechanism includes a lead screw and a sliding screw, the front end of the bottom of the box cover of the incubator is fixedly connected with a baffle plate, and one end of the lead screw is rotatably connected to the rear wall of the incubator and then extends out of the incubator and connected to the incubator. On the power output end of the second motor, the other end of the lead screw is rotatably connected to the baffle, one end of the sliding rod is fixedly connected to the rear wall of the incubator, and the other end of the sliding rod is fixedly connected to the baffle The lead screw and the slide screw pass through the through holes of the moving block in sequence, one of the through holes of the lead screw and the moving block is connected by a thread, and the sliding rod and the other through hole of the moving block are slidably connected, so The second motor is fixedly connected to the outer wall of the incubator.
进一步的,所述培育皿为上端开口的中空结构,所述培育皿底部开设有若干渗水孔,所述培育皿的底部中心位置转动连接有连接条,所述培育皿内侧底部设置有底板,所述底板底部与连接条固定连接,所述底板的圆周上固定连接有至少一个旋转刀片,所述旋转刀片紧贴在培育皿的内壁上。Further, the culture dish is a hollow structure with an open upper end, the bottom of the culture dish is provided with a number of water seepage holes, the center of the bottom of the culture dish is rotatably connected with a connecting strip, and the bottom of the inside of the culture dish is provided with a bottom plate. The bottom of the bottom plate is fixedly connected with the connecting strip, and at least one rotary blade is fixedly connected on the circumference of the bottom plate, and the rotary blade is closely attached to the inner wall of the culture dish.
进一步的,所述旋转刀片为两端开刃的弧形刀片。Further, the rotating blade is an arc-shaped blade with edges at both ends.
进一步的,所述培育机构还包括顶板,所述顶板固定连接培育箱的左右两侧内壁之间,所述顶板位于浇灌机构的上方,所述顶板底部固定连接有若干日光灯。Further, the cultivation mechanism further includes a top plate, the top plate is fixedly connected between the left and right inner walls of the incubator, the top plate is located above the watering mechanism, and a number of fluorescent lamps are fixedly connected to the bottom of the top plate.
进一步的,所述培育箱内部固定连接有若干加热棒、温度传感器、湿度传感器。Further, several heating rods, temperature sensors and humidity sensors are fixedly connected inside the incubator.
进一步的,所述箱门上固定连接有把手、可视窗,所述可视窗的数量与培育机构的数量一致,且可视窗正对培育机构。Further, a handle and a viewing window are fixedly connected to the box door, the number of the viewing windows is the same as the number of the cultivation mechanism, and the viewing window is facing the cultivation mechanism.
与现有技术相比,本发明的有益效果是:Compared with the prior art, the beneficial effects of the present invention are:
1、本发明提供的大豆新品种幼苗培育装置,在承载机构的培育皿内装过培养土后,将承载板的一端放置在输送机构上,输送机构可以快速将承载板传送到培育箱内,可以节省大量的人力。1. In the device for cultivating new soybean varieties provided by the present invention, after culturing soil is placed in the culture dish of the carrying mechanism, one end of the carrying plate is placed on the conveying mechanism, and the conveying mechanism can quickly transfer the carrying plate into the incubator, which can Save a lot of manpower.
2、本发明提供的大豆新品种幼苗培育装置,在对培育皿内的培养土进行浇灌或者施肥时,可以通过箱进液软管内输入水或营养液,浇灌机构沿着丝杠和滑杠运动,当浇灌机构经过限位块时按下开关,电磁阀打开,喷头向培养土内喷水活营养液,避免内部的培育皿浇水施肥不到位,使用单条输液管也可以防止浇灌机构过大,影响光照,影响种子的光合效应。2. The device for cultivating seedlings of new soybean varieties provided by the present invention, when watering or fertilizing the culture soil in the culture dish, can input water or nutrient solution through the tank inlet hose, and the watering mechanism can follow the lead screw and slide bar. When the watering mechanism passes the limit block, press the switch, the solenoid valve opens, and the nozzle sprays water and live nutrient solution into the culture soil, so as to avoid the watering and fertilization of the internal culture dish is not in place, and a single infusion tube can also prevent the watering mechanism from overrunning Large, affecting the light, affecting the photosynthetic effect of seeds.
3、本发提供的大豆新品种幼苗培育装置,在培育皿内设置有底板。旋转刀片,当培育结束后,可以通过连接杆带动底板和旋转刀片转动,将粘结在培育皿内壁上的土壤与内壁分离,防止取出培养后的种子时,培养土散落而导致的选育移栽失败,提高选育移栽存活率。3. The device for cultivating seedlings of new soybean varieties provided by the present invention is provided with a bottom plate in the cultivation dish. Rotary blade, when the cultivation is over, the bottom plate and the rotary blade can be driven to rotate through the connecting rod, and the soil adhered to the inner wall of the culture dish is separated from the inner wall to prevent the breeding and migration caused by the scattered culture soil when the cultured seeds are taken out. Planting failure, improve the survival rate of selection and transplanting.
附图说明:Description of drawings:
为了更清楚地说明本发明实施例或现有技术中的技术方案,下面将对实施例或现有技术描述中所需要使用的附图作简单地介绍,显而易见地,下面描述中的附图仅仅是本发明的一些实施例,对于本领域普通技术人员来讲,在不付出创造性劳动的前提下,还可以根据这些附图获得其他的附图。In order to explain the embodiments of the present invention or the technical solutions in the prior art more clearly, the following briefly introduces the accompanying drawings that need to be used in the description of the embodiments or the prior art. Obviously, the accompanying drawings in the following description are only These are some embodiments of the present invention. For those of ordinary skill in the art, other drawings can also be obtained according to these drawings without creative efforts.
图1为本发明的主视剖面图;Fig. 1 is the front sectional view of the present invention;
图2为本发明的左视剖面图Figure 2 is a left side sectional view of the present invention
图3为本发明的俯视剖面图;Fig. 3 is the top sectional view of the present invention;
图4为本发明的培育皿结构放大图;Fig. 4 is an enlarged view of the culture dish structure of the present invention;
图5为本发明的培育皿俯视结构图;Fig. 5 is the top view structure diagram of the culture dish of the present invention;
图6为本发明的承载板仰视图。FIG. 6 is a bottom view of the carrier plate of the present invention.
具体实施方式:Detailed ways:
下面将结合本发明实施例中的附图,对本发明实施例中的技术方案进行清楚、完整地描述,显然,所描述的实施例仅仅是本发明一部分实施例,而不是全部的实施例;基于本发明中的实施例,本领域普通技术人员在没有做出创造性劳动前提下所获得的所有其他实施例,都属于本发明保护的范围。The technical solutions in the embodiments of the present invention will be clearly and completely described below with reference to the accompanying drawings in the embodiments of the present invention. Obviously, the described embodiments are only a part of the embodiments of the present invention, rather than all the embodiments; based on the The embodiments of the present invention, and all other embodiments obtained by those of ordinary skill in the art without creative work, fall within the protection scope of the present invention.
请参阅图1-图6所示,Please refer to Figure 1-Figure 6,
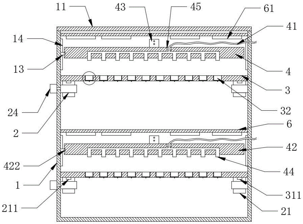
一种大豆新品种幼苗培育装置,包括培育箱1、箱盖11、箱门12,所述箱盖11、箱门12分别设置在培育箱1的顶部和侧面将培育箱1密封,密封的方式可以在箱盖11、箱门12与培育箱1的连接处设置密封条实现,所述培育箱1内设置有若干组培育机构,所述培育机构包括输送机构2、承载机构3、浇灌机构4以及传送机构5,所述输送机构2设置在培育箱1的左右两侧内壁上,所述承载机3构放置在输送机构2的上表面并通过输送机构2传送到培育箱1内,所述传送机构5、浇灌机构4位于承载机构3的上方,所述传送机构5固定在培育箱1的后侧内壁上并且传送机构5的传送方向与输送机构5的输送方向平行设置,所述浇灌机构4传动连接在输送机构2上且在传送机构5上做往复运动同时向承载机构喷洒液体,这些液体可以为水或者是其他营养液或者杀菌剂。A device for cultivating seedlings of new soybean varieties, comprising an
本实施例中,所述输送机构2包括输送带21、主动轮22、从动轮23,所述主动轮22、从动轮转23动连接在培育箱1的内壁上,所述主动轮22在动力装置的驱动下带动输送带21在主动轮22和从动轮23上进行转动,所述承载机构3一端放置在输送带21上后,输送带21带动承载机构3向培育箱1内部运动至承载机构3完全进入到培育箱1内后停止,停止的方式是控制动力装置提示工作,所述动力装置为第一电机24,所述第一电机24固定连接在培育箱1的外壁上,所述第一电机24的动力输出端伸入到培育箱1内并与主动轮22固定连接。In this embodiment, the conveying
本实施例中,所述承载机构3包括承载板31,所述承载板31上均匀开设有承载孔,承载孔内固定连接有培育皿33,所述承载板31底部固定连接有输送块311,所述输送带21顶部开设有若干输送槽211,所述承载板31放置到输送带21上后输送块311与输送带21的其中的一个输送槽211扣合输送带21带动承载板31向培育箱1内部运动至完全进入到培育箱1内。In the present embodiment, the carrying
本实施例中,所述培育箱1的左侧的内壁上固定连接有限位块13,所述限位13块顶部做倒圆角处理,所述浇灌机构4包括移动块43、输液管42、进液软管41以及若干喷头44,所述移动块43传动连接在传送机构5上,所述输液管42固定连接在移动块43底部,所述进液软管41一端固定连接在输液管42上且与输液管42相连通,所述输液管42与进液软管41的连接处设置有电磁阀45,所述进液软管41的另一端伸出培育箱1后与外界连通,并且连接在水箱或者其他装有营养液或者杀菌剂的箱体上,所述喷头44均匀分布在输液管42的底部并与输液管42连通,且喷头44中心的间距与承载板31上承载孔中心的间距相同,所述输液管42的左侧开设有开关槽421,所述开关槽421内设置有开关422,所述开关422与电磁阀45电性连接,所述浇灌机构4在沿传送机构5做往复运动时,若干所述限位块13依次按压开关422控制电磁阀45的开启和关闭,控制喷头44向承载孔内喷入液体。In this embodiment, a limit block 13 is fixedly connected to the inner wall of the left side of the incubator 1, the top of the limit block 13 is rounded, and the watering mechanism 4 includes a moving block 43, an infusion tube 42, The liquid inlet hose 41 and several spray heads 44, the moving block 43 is drivingly connected to the transmission mechanism 5, the liquid infusion pipe 42 is fixedly connected to the bottom of the moving block 43, and one end of the liquid inlet hose 41 is fixedly connected to the liquid infusion pipe 42 It is connected with the infusion tube 42, the connection between the infusion tube 42 and the liquid inlet hose 41 is provided with a solenoid valve 45, and the other end of the liquid inlet hose 41 extends out of the incubator 1 and communicates with the outside world, and Connected to the water tank or other boxes containing nutrient solution or bactericide, the nozzles 44 are evenly distributed at the bottom of the infusion pipe 42 and communicate with the infusion pipe 42, and the spacing between the centers of the nozzles 44 and the center of the bearing hole on the carrier plate 31 A switch slot 421 is provided on the left side of the infusion tube 42, a switch 422 is arranged in the switch slot 421, the switch 422 is electrically connected with the solenoid valve 45, and the watering mechanism 4 is located along the conveying mechanism. 5. During the reciprocating motion, several of the limiting
本实施例中,所述传送机构5包括丝杠51和滑杠52,所述培育箱1的箱盖11底部前端固定连接有挡板54,所述丝杠51一端转动连接在培育箱1的后壁上后伸出培育箱1并连接在第二电机53的动力输出端上,所述丝杠51的另一端转动连接在挡板54上,所述滑杠52一端固定连接在培育箱1后壁上,所述滑杠52的另一端固定连接在挡板54上,所述丝杠51和滑杠52依次穿过移动块43的通孔,所述丝杠51和移动块43的其中一个通孔通过螺纹连接,所述滑杠52和移动块43的另一个通孔滑动连接,所述第二电机53固定连接在培育箱1的外壁上。In this embodiment, the conveying
本实施例中,所述培育皿32为上端开口的中空结构,所述培育皿32底部开设有若干渗水孔321,所述培育皿32的底部中心位置转动连接有连接条33,所述培育皿32内侧底部设置有底板331,所述底板331底部与连接条33固定连接,所述底板331的圆周上固定连接有至少一个旋转刀片332,所述旋转刀片332紧贴在培育皿32的内壁上,使用时,连接条33带动底板331转动,底板331带动旋转刀片332沿着培育皿32的内壁运动,将培育皿32内的培养土与培育皿32的内壁分离,便于取出培育的大豆种苗。In the present embodiment, the
本实施例中,所述旋转刀片332为两端开刃的弧形刀片。In this embodiment, the
本实施例中,所述培育机构还包括顶板6,所述顶板6固定连接培育箱1的左右两侧内壁之间,所述顶板6位于浇灌机构4的上方,所述顶板5底部固定连接有若干日光灯51。In this embodiment, the cultivation mechanism further includes a
本实施例中,所述培育箱1内部固定连接有若干加热棒14、温度传感器、湿度传感器。In this embodiment, a plurality of
本实施例中,所述箱门12上固定连接有把手121、可视窗,所述可视窗的数量与培育机构的数量一致,且可视窗正对培育机构。In this embodiment, a
在使用本发明时,将培养土装到培育皿内,将承载板放置到输送机构上,输送机构将承载板输送到培养箱内,在培养的过程中,通过温度传感器、湿度传感器进行监测培养箱内的温度和湿度,打开日光灯为大豆新品种提供合适的生长环境,并且通过浇灌机构对培育皿内的大豆新品种进行浇水、施肥、杀菌等操作,当培育结束后,将承载板通过输送机构抽出,使用手或者电机转动连接条,连接条带动底板,底板带动旋转刀片转动,旋转刀片将培育皿内的培养土和培育皿分开,并选取合适的大豆种苗,方便进行选育移栽工作。When using the present invention, the culture soil is loaded into the culture dish, the carrier plate is placed on the conveying mechanism, and the conveying mechanism conveys the carrier plate into the incubator. During the cultivation process, the temperature sensor and the humidity sensor are used to monitor the cultivation. The temperature and humidity in the box, turn on the fluorescent lamp to provide a suitable growth environment for the new soybean varieties, and water, fertilize and sterilize the new soybean varieties in the culture dish through the watering mechanism. The conveying mechanism is pulled out, and the connecting strip is rotated by hand or motor. The connecting strip drives the bottom plate, and the bottom plate drives the rotating blade to rotate. The rotating blade separates the culture soil in the culture dish from the culture dish, and selects the appropriate soybean seedlings to facilitate selection and transfer. Plant work.
对于本领域技术人员而言,显然本发明不限于上述示范性实施例的细节,而且在不背离本发明的精神或基本特征的情况下,能够以其他的具体形式实现本发明。因此,无论从哪一点来看,均应将实施例看作是示范性的,而且是非限制性的,本发明的范围由所附权利要求而不是上述说明限定,因此旨在将落在权利要求的等同要件的含义和范围内的所有变化囊括在本发明内。不应将权利要求中的任何附图标记视为限制所涉及的权利要求。It will be apparent to those skilled in the art that the present invention is not limited to the details of the above-described exemplary embodiments, but that the present invention may be embodied in other specific forms without departing from the spirit or essential characteristics of the invention. Therefore, the embodiments are to be regarded in all respects as illustrative and not restrictive, and the scope of the invention is to be defined by the appended claims rather than the foregoing description, which are therefore intended to fall within the scope of the claims. All changes within the meaning and range of the equivalents of , are included in the present invention. Any reference signs in the claims shall not be construed as limiting the involved claim.
Claims (5)
Priority Applications (1)
| Application Number | Priority Date | Filing Date | Title |
|---|---|---|---|
| CN202110434385.2A CN113099916B (en) | 2021-04-22 | 2021-04-22 | Soybean new variety seedling breeding device |
Applications Claiming Priority (1)
| Application Number | Priority Date | Filing Date | Title |
|---|---|---|---|
| CN202110434385.2A CN113099916B (en) | 2021-04-22 | 2021-04-22 | Soybean new variety seedling breeding device |
Publications (2)
| Publication Number | Publication Date |
|---|---|
| CN113099916A CN113099916A (en) | 2021-07-13 |
| CN113099916B true CN113099916B (en) | 2022-06-10 |
Family
ID=76719311
Family Applications (1)
| Application Number | Title | Priority Date | Filing Date |
|---|---|---|---|
| CN202110434385.2A Active CN113099916B (en) | 2021-04-22 | 2021-04-22 | Soybean new variety seedling breeding device |
Country Status (1)
| Country | Link |
|---|---|
| CN (1) | CN113099916B (en) |
Families Citing this family (1)
| Publication number | Priority date | Publication date | Assignee | Title |
|---|---|---|---|---|
| CN114051861A (en) * | 2021-11-30 | 2022-02-18 | 丽水学院 | A moss cultivation device and method based on drip irrigation technology |
Citations (10)
| Publication number | Priority date | Publication date | Assignee | Title |
|---|---|---|---|---|
| KR870017663U (en) * | 1986-05-02 | 1987-12-21 | 주식회사유일정밀 | Pollution-free bean sprouts growing machine |
| CN204917899U (en) * | 2015-07-20 | 2015-12-30 | 俞小青 | Apparatus for preparing energy -conserving quantitative liquid filling of health preserving wine |
| CN106718683A (en) * | 2016-12-28 | 2017-05-31 | 漳州市三匠工业设计有限公司 | Irrigating plant system |
| CN207296201U (en) * | 2017-08-07 | 2018-05-01 | 诚邦包装(江苏)有限公司 | A kind of planting greenhouse automatic snow-removing device |
| CN208064109U (en) * | 2018-04-11 | 2018-11-09 | 沧州师范学院 | A kind of intelligent flower watering robot based on potting |
| CN108812222A (en) * | 2018-07-11 | 2018-11-16 | 张勇 | A kind of home-use balcony plant watering equipment |
| CN208300460U (en) * | 2018-04-02 | 2019-01-01 | 天津市津润农业科技有限公司 | A kind of vegetable cultivation incubator |
| CN208970619U (en) * | 2018-08-30 | 2019-06-11 | 广州倬粤动力新能源有限公司 | Transport equipment for carbon fiber battery injection |
| CN211960312U (en) * | 2020-01-08 | 2020-11-20 | 王平亮 | Seedling growth device for forestry |
| CN112385383A (en) * | 2020-11-30 | 2021-02-23 | 玉林师范学院 | Automatic data collection and multistage fertilizer conveying device for vegetable planting |
-
2021
- 2021-04-22 CN CN202110434385.2A patent/CN113099916B/en active Active
Patent Citations (10)
| Publication number | Priority date | Publication date | Assignee | Title |
|---|---|---|---|---|
| KR870017663U (en) * | 1986-05-02 | 1987-12-21 | 주식회사유일정밀 | Pollution-free bean sprouts growing machine |
| CN204917899U (en) * | 2015-07-20 | 2015-12-30 | 俞小青 | Apparatus for preparing energy -conserving quantitative liquid filling of health preserving wine |
| CN106718683A (en) * | 2016-12-28 | 2017-05-31 | 漳州市三匠工业设计有限公司 | Irrigating plant system |
| CN207296201U (en) * | 2017-08-07 | 2018-05-01 | 诚邦包装(江苏)有限公司 | A kind of planting greenhouse automatic snow-removing device |
| CN208300460U (en) * | 2018-04-02 | 2019-01-01 | 天津市津润农业科技有限公司 | A kind of vegetable cultivation incubator |
| CN208064109U (en) * | 2018-04-11 | 2018-11-09 | 沧州师范学院 | A kind of intelligent flower watering robot based on potting |
| CN108812222A (en) * | 2018-07-11 | 2018-11-16 | 张勇 | A kind of home-use balcony plant watering equipment |
| CN208970619U (en) * | 2018-08-30 | 2019-06-11 | 广州倬粤动力新能源有限公司 | Transport equipment for carbon fiber battery injection |
| CN211960312U (en) * | 2020-01-08 | 2020-11-20 | 王平亮 | Seedling growth device for forestry |
| CN112385383A (en) * | 2020-11-30 | 2021-02-23 | 玉林师范学院 | Automatic data collection and multistage fertilizer conveying device for vegetable planting |
Also Published As
| Publication number | Publication date |
|---|---|
| CN113099916A (en) | 2021-07-13 |
Similar Documents
| Publication | Publication Date | Title |
|---|---|---|
| CN205161425U (en) | Cultivation device | |
| CN113099916B (en) | Soybean new variety seedling breeding device | |
| CN112753449B (en) | Adjustable agricultural planting is with device of growing seedlings | |
| CN208462516U (en) | A kind of gardens nursery auxiliary system | |
| CN207340466U (en) | One kind automation shoot vegetable production line | |
| CN220191589U (en) | Multi-layer type wheat water-saving cultivation device | |
| CN213639032U (en) | Crop is planted and is used seed breeding device with evenly function of watering | |
| CN110476661B (en) | Automatic nutrition pot seeding mechanism | |
| CN221178367U (en) | Seed soaking germination accelerating device for rice breeding | |
| CN216775630U (en) | Agricultural vegetable seed cultivation equipment | |
| CN211458222U (en) | A breeding device for fruit vegetables are planted | |
| CN214482478U (en) | Seedling raising box for agricultural planting protection | |
| CN212324938U (en) | Agricultural fungus planting culture apparatus | |
| CN220493747U (en) | Incubator is used in chinese-medicinal material planting | |
| CN215301804U (en) | Intelligence is grown seedlings and is used seed breeding device | |
| CN215530341U (en) | Constant-temperature and moisture-controllable corn seedling raising device | |
| CN222465494U (en) | Flower seedling cultivation device | |
| CN223182713U (en) | Soil covering and bean sowing device | |
| CN214257370U (en) | Intelligent agricultural multifunctional constant-temperature cultivation system | |
| CN219500152U (en) | Water planting forage grass culture apparatus | |
| CN220554321U (en) | Corn seed cultivation planting box | |
| CN220068388U (en) | Multifunctional organic vegetable incubator | |
| CN219478628U (en) | Cultivating device suitable for mango seedling | |
| CN220191614U (en) | Seedling raising box for forestry operation planting | |
| CN211881334U (en) | Chinese rose is planted with device of growing seedlings |
Legal Events
| Date | Code | Title | Description |
|---|---|---|---|
| PB01 | Publication | ||
| PB01 | Publication | ||
| SE01 | Entry into force of request for substantive examination | ||
| SE01 | Entry into force of request for substantive examination | ||
| GR01 | Patent grant | ||
| GR01 | Patent grant |
