CN113059973A - Combined suspension device - Google Patents

Combined suspension device Download PDF

Info

Publication number
CN113059973A
CN113059973A CN202010002814.4A CN202010002814A CN113059973A CN 113059973 A CN113059973 A CN 113059973A CN 202010002814 A CN202010002814 A CN 202010002814A CN 113059973 A CN113059973 A CN 113059973A
Authority
CN
China
Prior art keywords
leaf spring
bearing block
elastic bearing
suspension device
composite material
Prior art date
Legal status (The legal status is an assumption and is not a legal conclusion. Google has not performed a legal analysis and makes no representation as to the accuracy of the status listed.)
Pending
Application number
CN202010002814.4A
Other languages
Chinese (zh)
Inventor
徐波
郭春杰
李建林
周滨
刘波
周海湘
Current Assignee (The listed assignees may be inaccurate. Google has not performed a legal analysis and makes no representation or warranty as to the accuracy of the list.)
Bogo Rubber Plastic Zhuzhou Co ltd
Original Assignee
Bogo Rubber Plastic Zhuzhou Co ltd
Priority date (The priority date is an assumption and is not a legal conclusion. Google has not performed a legal analysis and makes no representation as to the accuracy of the date listed.)
Filing date
Publication date
Application filed by Bogo Rubber Plastic Zhuzhou Co ltd filed Critical Bogo Rubber Plastic Zhuzhou Co ltd
Priority to CN202010002814.4A priority Critical patent/CN113059973A/en
Publication of CN113059973A publication Critical patent/CN113059973A/en
Pending legal-status Critical Current

Links

Images

Classifications

    • BPERFORMING OPERATIONS; TRANSPORTING
    • B60VEHICLES IN GENERAL
    • B60GVEHICLE SUSPENSION ARRANGEMENTS
    • B60G11/00Resilient suspensions characterised by arrangement, location or kind of springs
    • B60G11/02Resilient suspensions characterised by arrangement, location or kind of springs having leaf springs only
    • B60G11/10Resilient suspensions characterised by arrangement, location or kind of springs having leaf springs only characterised by means specially adapted for attaching the spring to axle or sprung part of the vehicle
    • BPERFORMING OPERATIONS; TRANSPORTING
    • B60VEHICLES IN GENERAL
    • B60GVEHICLE SUSPENSION ARRANGEMENTS
    • B60G11/00Resilient suspensions characterised by arrangement, location or kind of springs
    • B60G11/02Resilient suspensions characterised by arrangement, location or kind of springs having leaf springs only
    • B60G11/04Resilient suspensions characterised by arrangement, location or kind of springs having leaf springs only arranged substantially parallel to the longitudinal axis of the vehicle
    • BPERFORMING OPERATIONS; TRANSPORTING
    • B60VEHICLES IN GENERAL
    • B60GVEHICLE SUSPENSION ARRANGEMENTS
    • B60G11/00Resilient suspensions characterised by arrangement, location or kind of springs
    • B60G11/02Resilient suspensions characterised by arrangement, location or kind of springs having leaf springs only
    • B60G11/10Resilient suspensions characterised by arrangement, location or kind of springs having leaf springs only characterised by means specially adapted for attaching the spring to axle or sprung part of the vehicle
    • B60G11/113Mountings on the axle
    • FMECHANICAL ENGINEERING; LIGHTING; HEATING; WEAPONS; BLASTING
    • F16ENGINEERING ELEMENTS AND UNITS; GENERAL MEASURES FOR PRODUCING AND MAINTAINING EFFECTIVE FUNCTIONING OF MACHINES OR INSTALLATIONS; THERMAL INSULATION IN GENERAL
    • F16FSPRINGS; SHOCK-ABSORBERS; MEANS FOR DAMPING VIBRATION
    • F16F1/00Springs
    • F16F1/02Springs made of steel or other material having low internal friction; Wound, torsion, leaf, cup, ring or the like springs, the material of the spring not being relevant
    • F16F1/18Leaf springs
    • F16F1/20Leaf springs with layers, e.g. anti-friction layers, or with rollers between the leaves
    • FMECHANICAL ENGINEERING; LIGHTING; HEATING; WEAPONS; BLASTING
    • F16ENGINEERING ELEMENTS AND UNITS; GENERAL MEASURES FOR PRODUCING AND MAINTAINING EFFECTIVE FUNCTIONING OF MACHINES OR INSTALLATIONS; THERMAL INSULATION IN GENERAL
    • F16FSPRINGS; SHOCK-ABSORBERS; MEANS FOR DAMPING VIBRATION
    • F16F1/00Springs
    • F16F1/02Springs made of steel or other material having low internal friction; Wound, torsion, leaf, cup, ring or the like springs, the material of the spring not being relevant
    • F16F1/18Leaf springs
    • F16F1/26Attachments or mountings
    • FMECHANICAL ENGINEERING; LIGHTING; HEATING; WEAPONS; BLASTING
    • F16ENGINEERING ELEMENTS AND UNITS; GENERAL MEASURES FOR PRODUCING AND MAINTAINING EFFECTIVE FUNCTIONING OF MACHINES OR INSTALLATIONS; THERMAL INSULATION IN GENERAL
    • F16FSPRINGS; SHOCK-ABSORBERS; MEANS FOR DAMPING VIBRATION
    • F16F1/00Springs
    • F16F1/36Springs made of rubber or other material having high internal friction, e.g. thermoplastic elastomers
    • F16F1/366Springs made of rubber or other material having high internal friction, e.g. thermoplastic elastomers made of fibre-reinforced plastics, i.e. characterised by their special construction from such materials
    • F16F1/368Leaf springs
    • F16F1/3683Attachments or mountings therefor
    • FMECHANICAL ENGINEERING; LIGHTING; HEATING; WEAPONS; BLASTING
    • F16ENGINEERING ELEMENTS AND UNITS; GENERAL MEASURES FOR PRODUCING AND MAINTAINING EFFECTIVE FUNCTIONING OF MACHINES OR INSTALLATIONS; THERMAL INSULATION IN GENERAL
    • F16FSPRINGS; SHOCK-ABSORBERS; MEANS FOR DAMPING VIBRATION
    • F16F3/00Spring units consisting of several springs, e.g. for obtaining a desired spring characteristic
    • F16F3/08Spring units consisting of several springs, e.g. for obtaining a desired spring characteristic with springs made of a material having high internal friction, e.g. rubber
    • F16F3/10Spring units consisting of several springs, e.g. for obtaining a desired spring characteristic with springs made of a material having high internal friction, e.g. rubber combined with springs made of steel or other material having low internal friction
    • F16F3/12Spring units consisting of several springs, e.g. for obtaining a desired spring characteristic with springs made of a material having high internal friction, e.g. rubber combined with springs made of steel or other material having low internal friction the steel spring being in contact with the rubber spring
    • BPERFORMING OPERATIONS; TRANSPORTING
    • B60VEHICLES IN GENERAL
    • B60GVEHICLE SUSPENSION ARRANGEMENTS
    • B60G2202/00Indexing codes relating to the type of spring, damper or actuator
    • B60G2202/10Type of spring
    • B60G2202/11Leaf spring
    • B60G2202/112Leaf spring longitudinally arranged
    • FMECHANICAL ENGINEERING; LIGHTING; HEATING; WEAPONS; BLASTING
    • F16ENGINEERING ELEMENTS AND UNITS; GENERAL MEASURES FOR PRODUCING AND MAINTAINING EFFECTIVE FUNCTIONING OF MACHINES OR INSTALLATIONS; THERMAL INSULATION IN GENERAL
    • F16FSPRINGS; SHOCK-ABSORBERS; MEANS FOR DAMPING VIBRATION
    • F16F2238/00Type of springs or dampers
    • F16F2238/02Springs
    • F16F2238/022Springs leaf-like, e.g. of thin, planar-like metal

Landscapes

  • Engineering & Computer Science (AREA)
  • General Engineering & Computer Science (AREA)
  • Mechanical Engineering (AREA)
  • Vehicle Body Suspensions (AREA)

Abstract

本发明公开了一种组合式悬挂装置,包括金属板簧、设于金属板簧下方的至少一片复合材料板簧、刚性支座、以及设于刚性支座上的弹性承载块,所述刚性支座设于所述金属板簧的中部,空车时所述弹性承载块与车架之间具有间隙、且随着车架上载荷的增加弹性承载块可与车架抵接;或所述刚性支座设于车架上,空车时所述弹性承载块与金属板簧之间具有间隙、且随着车架上载荷的增加弹性承载块可与金属板簧中部抵接。本发明结构简单、可靠,兼顾轻量化和承载能力,空车时具备较高的舒适性,重车时具备良好的承载能力。

Figure 202010002814

The invention discloses a combined suspension device, comprising a metal leaf spring, at least one composite material leaf spring arranged below the metal leaf spring, a rigid support, and an elastic bearing block arranged on the rigid support, the rigid support The seat is arranged in the middle of the metal leaf spring, there is a gap between the elastic bearing block and the frame when the vehicle is empty, and the elastic bearing block can abut with the frame as the load on the frame increases; or the rigidity The support is arranged on the frame, there is a gap between the elastic bearing block and the metal leaf spring when the vehicle is empty, and the elastic bearing block can abut with the middle of the metal leaf spring as the load on the frame increases. The invention has a simple and reliable structure, takes into account light weight and bearing capacity, has high comfort when empty, and has good bearing capacity when heavy.

Figure 202010002814

Description

Combined suspension device
Technical Field
The invention relates to an automobile suspension, in particular to a combined type suspension device.
Background
The leaf spring is an important component of a suspension of a truck, a tractor and the like, and has a very important influence on the performance of the whole vehicle. At present, 4 variable-section few leaf springs or 7-14 constant-section leaf springs are mainly adopted in suspension devices of trucks, tractors and the like, the leaf springs are heavy and are not beneficial to realizing the light weight of a trailer, meanwhile, large friction force exists between every two leaf springs, and the leaf springs become large along with the increase of vibration speed, so that unacceptable noise can be generated. The resin-based composite material has the advantages of light weight, high specific strength, high fatigue limit, corrosion resistance, vibration reduction and noise reduction, and is produced in light-weight manufacturing of automobiles. For trailers and semitrailers, the load difference between an empty car and a heavy car is obvious, and if the rigidity of the composite plate spring is set to be lower, the composite plate spring has better comfort during the empty car, but the load-bearing capacity is deficient during the heavy car; if set up the higher with combined material leaf spring rigidity, although bearing capacity is stronger when heavily driving, the travelling comfort during the air traffic is relatively poor, is difficult to accomplish and compromises.
Disclosure of Invention
The invention aims to overcome the defects of the prior art and provide a combined suspension device which is simple and reliable in structure and can give consideration to both the comfort in the empty process and the bearing capacity in the heavy process.
In order to solve the technical problems, the invention adopts the following technical scheme:
a combined suspension device comprises a metal plate spring, at least one composite plate spring arranged below the metal plate spring, a rigid support and an elastic bearing block arranged on the rigid support, wherein the rigid support is arranged in the middle of the metal plate spring, a gap is formed between the elastic bearing block and a frame when the vehicle is empty, and the elastic bearing block can be abutted against the frame along with the increase of the load on the frame; or the rigid support is arranged on the frame, and when the vehicle is empty, a gap is formed between the elastic bearing block and the metal plate spring, and the elastic bearing block can be abutted against the middle part of the metal plate spring along with the increase of the load on the frame.
As a further improvement of the above technical solution: the rigid support is provided with a limiting sleeve, the limiting sleeve is sleeved on the periphery of the elastic bearing block, and a gap is reserved between the elastic bearing block and the limiting sleeve.
As a further improvement of the above technical solution: the rigid support comprises a support main body, a supporting plate and an installation sleeve, the support main body is connected with the supporting plate through a fastening assembly, the limiting sleeve and the installation sleeve are respectively arranged on two sides of the supporting plate, and the installation sleeve is sleeved with the support main body.
As a further improvement of the above technical solution: the elastic bearing block is of a hollow structure, and the hollow part corresponds to the fastening component.
As a further improvement of the above technical solution: and a lower pressing plate is fixedly arranged on the lower side of the middle part of the composite plate spring at the lowest part.
As a further improvement of the above technical solution: and composite material gaskets are arranged between the middle parts of the metal plate springs and the composite material plate springs, between the middle parts of the two adjacent composite material plate springs, and between the composite material plate spring at the lowest part and the lower pressing plate.
As a further improvement of the above technical solution: the composite material gasket has a thickness of no more than 4 mm.
As a further improvement of the above technical solution: the upper wear-resisting plates are fixedly arranged on the upper sides of the two end portions of the composite plate spring, and the lower wear-resisting plates are fixedly arranged on the lower sides of the two end portions of the composite plate spring.
As a further improvement of the above technical solution: the metal leaf spring and the composite leaf spring respectively comprise a horizontal section positioned in the middle, inclined sections positioned at two ends and inclined upwards, and a bending section used for smoothly connecting the horizontal section and the inclined sections, wherein the thickness of the horizontal section is greater than that of the inclined sections, and the thickness of the bending section is gradually reduced from the horizontal section to the inclined sections.
Compared with the prior art, the invention has the advantages that: the combined suspension device comprises a metal plate spring and at least one layer of composite material plate spring arranged below the metal plate spring, and the bearing capacity and the light weight of a suspension system are both considered; the design of secondary rigidity is adopted, the rigidity is lower when the vehicle is empty, the elastic bearing block is not contacted with the vehicle frame or the metal plate spring, and the load on the vehicle frame is borne by the metal plate spring and the composite plate spring; along with the increase of the load, the elastic bearing block is contacted with the frame or the metal plate spring, and the load is born by the plate spring and the elastic bearing block; when the vehicle is heavy, the plate spring and the elastic bearing block provide high rigidity together, so that the suspension system can meet the vehicle operation requirement; furthermore, the empty comfort of the whole vehicle can be improved under the condition of ensuring the unchanged heavy vehicle bearing capacity by reducing the rigidity of the composite plate spring and improving the rigidity of the elastic bearing block; the inflection point displacement of the secondary rigidity can be adjusted according to the performance requirement of the whole vehicle by adjusting the gap between the elastic bearing block and the vehicle frame or the metal plate spring; when the compression degree of the elastic bearing block is too large, the rigid support can play a role of hard stop, so that the frame is prevented from contacting with the metal leaf spring, and the composite leaf spring is effectively protected from bearing too large load or impact; compared with the traditional steel plate spring suspension device, the suspension device has the advantages of weight reduction of more than 50%, low friction noise, better comfort, more than 3 times of service life and the like.
Drawings
Fig. 1 is a schematic view of the combined suspension device of the invention when used in a small axle heavy vehicle.
Fig. 2 is a schematic view of the combined suspension device of the invention when used in a medium axle weight vehicle.
Fig. 3 is a schematic view of the combined suspension device of the invention when used in a heavy-axle vehicle.
Fig. 4 is an enlarged schematic view of the rigid mount of the present invention.
Fig. 5 is a schematic structural view of the composite plate spring in the present invention.
Fig. 6 is a schematic view of the combined suspension of the present invention mounted to a vehicle frame.
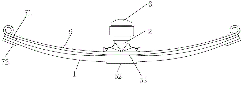
The reference numerals in the figures denote: 1. a composite leaf spring; 11. a horizontal segment; 12. an inclined section; 13. a curved section; 2. a rigid support; 21. a limiting sleeve; 22. a support body; 23. a support plate; 24. installing a sleeve; 3. an elastic bearing block; 4. a frame; 52. a lower pressing plate; 53. a composite gasket; 6. a fastening assembly; 71. an upper wear plate; 72. a lower wear plate; 8. an axle; 9. a metal leaf spring.
Detailed Description
The invention is described in further detail below with reference to the figures and specific examples of the specification.
Fig. 1 to 6 show an embodiment of the combined suspension device of the present invention, which includes a metal plate spring 9, at least one composite plate spring 1 disposed below the metal plate spring 9, a rigid support 2, and an elastic bearing block 3 disposed on the rigid support 2, wherein the rigid support 2 is disposed in the middle of the metal plate spring 9, a gap is formed between the elastic bearing block 3 and the frame 4 when the vehicle is empty, and the elastic bearing block 3 can abut against the frame 4 as the load on the frame 4 increases. Of course, in other embodiments, the rigid support 2 may be disposed on the frame 4, and the elastic support block 3 may abut against the middle portion of the metal plate spring 9 with a gap between the elastic support block 3 and the metal plate spring 9 when the vehicle is empty and with an increase in load on the frame 4. Wherein the composite leaf spring 1 preferably comprises a resin matrix and reinforcing fibers, which may be: carbon fiber, glass fiber, aramid fiber, natural fiber or the like; the elastic bearing block 3 is preferably made of high polymer elastic materials such as rubber or polyurethane; the metal leaf spring 9 may be, for example, a common leaf spring or the like; the number of the composite plate spring 1 is adjusted according to the vehicle axle weight, and only one plate can be arranged for less than 8 tons, two plates can be arranged for about 10 tons, and three plates can be arranged for 12 tons; the metal leaf spring 9 and each composite leaf spring 1 can be connected and fixed by a fastening assembly 6, for example.
According to the combined type rotary hanging device, the metal plate spring 9 and the composite material plate spring 1 are combined, so that the bearing capacity and the light weight of a hanging system can be considered; the design of secondary rigidity is adopted, the rigidity is lower when the vehicle is empty, the elastic bearing block 3 is not contacted with the vehicle frame 4, and the load on the vehicle frame 4 is completely born by the metal plate spring 9 and the composite plate spring 1; along with the increase of the load, the elastic bearing block 3 is contacted with the frame 4, and the load is jointly born by the metal plate spring 9, the composite plate spring 1 and the elastic bearing block 3; when the vehicle is heavily driven, the metal plate spring 9, the composite plate spring 1 and the elastic bearing block 3 together provide larger rigidity, so that the suspension system can meet the vehicle operation requirement; furthermore, the empty comfort of the whole vehicle can be improved under the condition of ensuring the unchanged load bearing capacity of the heavy vehicle by reducing the rigidity of the metal plate spring 9 and the composite plate spring 1 and improving the rigidity of the elastic bearing block 3; the inflection point displacement of the secondary rigidity can be adjusted according to the performance requirement of the whole vehicle by adjusting the gap between the elastic bearing block 3 and the frame 4; when the compression degree of the elastic bearing block 3 is too large, the rigid support 2 can play a role of hard stop, so that the frame 4 is prevented from contacting the composite material leaf spring 1, and the composite material leaf spring 1 is effectively protected from bearing too large load or impact; compared with the traditional steel plate spring suspension device, the suspension device has the advantages of weight reduction of more than 50%, low friction noise, better comfort, more than 3 times of service life and the like.
Further, in this embodiment, the rigid support 2 is provided with a limiting sleeve 21, the limiting sleeve 21 is sleeved on the periphery of the elastic bearing block 3, and a gap is formed between the elastic bearing block 3 and the limiting sleeve 21. When the vehicle is in a heavy vehicle, the elastic bearing block 3 is compressed and deformed, and a gap between the elastic bearing block 3 and the limiting sleeve 21 is partially filled, so that higher rigidity is provided; when the vehicle frame 4 is compressed to a certain displacement, the rigid support 2 can play a role of hard stop, the composite plate spring 1 can be effectively protected from bearing excessive load or impact, nonlinear rigidity is realized, the overload bearing capacity of the vehicle is improved, and the structure is simple and reliable.
Furthermore, in this embodiment, the rigid support 2 includes a support main body 22, a support plate 23 and a mounting sleeve 24, the support main body 22 is connected to the support plate 23 through the fastening assembly 6, the limiting sleeve 21 and the mounting sleeve 24 are respectively disposed on two sides of the support plate 23, and the mounting sleeve 24 is sleeved on the support main body 22. The rigid support 2 of this kind of structure can realize the reliable installation of elasticity carrier block 3, and bearing capacity is strong, and installation cover 24 cup joints with support main part 22 and locks through fastening components 6, easily dismouting, maintenance.
Furthermore, in the present embodiment, the elastic bearing block 3 is a hollow structure, and the hollow portion corresponds to the fastening component 6. Hollow structure's elasticity carrier block 3 multiplicable deflection, and fastening component 6 specifically can be bolt and nut etc. and nut and bolt upper end are located the cavity intracavity, and appearance quality is good.
Furthermore, in the present embodiment, a lower pressing plate 52 is fixedly disposed at the lower side of the middle portion of the lowest composite plate spring 1. The lower press plate 52 provides a certain protection of the composite leaf spring 1 when the middle of the composite leaf spring 1 is mounted on the axle 8 by means of U-bolts.
Further, in the present embodiment, a composite material spacer 53 is disposed between the middle portion of the metal plate spring 9 and the middle portion of the composite material plate spring 9, between the middle portions of the two adjacent layers of the composite material plate springs 1, and between the lowest composite material plate spring 1 and the lower pressing plate 52. The composite material gasket 53 is beneficial to solving the problem of overlarge local stress caused by the direct contact between the metal plate spring 9 and the lower pressing plate 52 and the composite material plate spring 1, and the service life of the composite material plate spring 1 can be greatly prolonged; preferably, the thickness of the composite material spacer 53 is not greater than 4 mm.
In this embodiment, the upper wear plates 71 are fixed to the upper sides of the two end portions of the composite leaf spring 1, and the lower wear plates 72 are fixed to the lower sides thereof. The upper wear plate 71 and the lower wear plate 72 can avoid friction between the metal plate spring 9 and the composite plate spring 1 and between the composite plate springs 9, and are beneficial to prolonging the service life of the composite plate spring 1; the lower wear-resisting plates 72 on the lower surfaces of the two ends of the composite plate spring 1 at the lowest part can prevent the limit bolts below the end part of the composite plate spring 1 from directly contacting the composite plate spring 1 to damage when the two ends of the composite plate spring 1 are installed or pass through uneven road surfaces.
Further, in the present embodiment, each of the metal plate spring 9 and the composite plate spring 1 includes a horizontal section 11 located in the middle, inclined sections 12 located at both ends and inclined upward, and a curved section 13 for smoothly connecting the horizontal section 11 and the inclined sections 12, the thickness of the horizontal section 11 is greater than that of the inclined sections 12, and the thickness of the curved section 13 decreases from the horizontal section 11 to the inclined sections 12. The composite plate spring 1 in the form is reasonable in structure and beneficial to keeping stress at each position consistent.
Although the present invention has been described with reference to the preferred embodiments, it is not intended to be limited thereto. Those skilled in the art can make numerous possible variations and modifications to the present invention, or modify equivalent embodiments to equivalent variations, without departing from the scope of the invention, using the teachings disclosed above. Therefore, any simple modification, equivalent change and modification made to the above embodiments according to the technical spirit of the present invention should fall within the protection scope of the technical scheme of the present invention, unless the technical spirit of the present invention departs from the content of the technical scheme of the present invention.

Claims (9)

1.一种组合式悬挂装置,其特征在于:包括金属板簧(9)、设于金属板簧(9)下方的至少一片复合材料板簧(1)、刚性支座(2)、以及设于刚性支座(2)上的弹性承载块(3),所述刚性支座(2)设于所述金属板簧(9)的中部,空车时所述弹性承载块(3)与车架(4)之间具有间隙、且随着车架(4)上载荷的增加弹性承载块(3)可与车架(4)抵接;或所述刚性支座(2)设于车架(4)上,空车时所述弹性承载块(3)与金属板簧(9)之间具有间隙、且随着车架(4)上载荷的增加弹性承载块(3)可与金属板簧(9)中部抵接。1. A combined suspension device, characterized in that it comprises a metal leaf spring (9), at least one composite material leaf spring (1) arranged below the metal leaf spring (9), a rigid support (2), and a An elastic bearing block (3) on a rigid support (2), the rigid support (2) is arranged in the middle of the metal leaf spring (9), and the elastic bearing block (3) is connected to the vehicle when the vehicle is empty. There is a gap between the frames (4), and as the load on the frame (4) increases, the elastic bearing block (3) can abut with the frame (4); or the rigid support (2) is provided on the frame (4), there is a gap between the elastic bearing block (3) and the metal leaf spring (9) when the vehicle is empty, and as the load on the frame (4) increases, the elastic bearing block (3) can be connected to the metal plate The middle part of the spring (9) abuts. 2.根据权利要求1所述的组合式悬挂装置,其特征在于:所述刚性支座(2)上设有限位套(21),所述限位套(21)套设于所述弹性承载块(3)外周,所述弹性承载块(3)与所述限位套(21)之间具有间隙。2 . The combined suspension device according to claim 1 , wherein a limit sleeve ( 21 ) is provided on the rigid support ( 2 ), and the limit sleeve ( 21 ) is sleeved on the elastic bearing. 3 . The outer periphery of the block (3) has a gap between the elastic bearing block (3) and the limiting sleeve (21). 3.根据权利要求2所述的组合式悬挂装置,其特征在于:所述刚性支座(2)包括支座主体(22)、支撑板(23)及安装套(24),所述支座主体(22)与所述支撑板(23)通过紧固组件(6)连接,所述限位套(21)和安装套(24)分设于所述支撑板(23)的两侧,所述安装套(24)与所述支座主体(22)套接。3. The combined suspension device according to claim 2, wherein the rigid support (2) comprises a support body (22), a support plate (23) and an installation sleeve (24), the support The main body (22) is connected with the support plate (23) through a fastening assembly (6), the limit sleeve (21) and the installation sleeve (24) are respectively arranged on both sides of the support plate (23). The installation sleeve (24) is sleeved with the support main body (22). 4.根据权利要求3所述的组合式悬挂装置,其特征在于:所述弹性承载块(3)为中空结构、且中空处与所述紧固组件(6)对应。4 . The combined suspension device according to claim 3 , wherein the elastic bearing block ( 3 ) is a hollow structure, and the hollow part corresponds to the fastening component ( 6 ). 5 . 5.根据权利要求1至4中任一项所述的组合式悬挂装置,其特征在于:最下方的所述复合材料板簧(1)中部下侧固设有下压板(52)。5. The combined suspension device according to any one of claims 1 to 4, wherein a lower pressing plate (52) is fixed on the lower side of the middle of the lowermost composite material leaf spring (1). 6.根据权利要求5所述的组合式悬挂装置,其特征在于:所述金属板簧(9)中部与复合材料板簧(9)中部之间、相邻的两片复合材料板簧(1)中部之间,以及最下方的复合材料板簧(1)与下压板(52)之间均设有复合材料垫片(53)。6. The combined suspension device according to claim 5, characterized in that: between the middle part of the metal leaf spring (9) and the middle part of the composite material leaf spring (9), two adjacent composite material leaf springs (1) ), and between the lowermost composite material leaf spring (1) and the lower pressing plate (52), a composite material gasket (53) is provided. 7.根据权利要求6所述的组合式悬挂装置,其特征在于:所述复合材料垫片(53)的厚度不超过4mm。7. The combined suspension device according to claim 6, characterized in that: the thickness of the composite material gasket (53) does not exceed 4 mm. 8.根据权利要求1至4中任一项所述的组合式悬挂装置,其特征在于:所述复合材料板簧(1)的两端部上侧固设有上耐磨板(71)、且下侧固设有下耐磨板(72)。8. The combined suspension device according to any one of claims 1 to 4, characterized in that: upper wear plates (71), upper wear plates (71), And a lower wear-resistant plate (72) is fixed on the lower side. 9.根据权利要求1至4中任一项所述的组合式悬挂装置,其特征在于:所述金属板簧(9)和所述复合材料板簧(1)均包括位于中部的水平段(11)、位于两端部并向上倾斜的倾斜段(12)、以及用于光滑连接水平段(11)和倾斜段(12)的弯曲段(13),所述水平段(11)的厚度大于所述倾斜段(12)的厚度,所述弯曲段(13)的厚度自水平段(11)向倾斜段(12)递减。9. The combined suspension device according to any one of claims 1 to 4, characterized in that: both the metal leaf spring (9) and the composite leaf spring (1) comprise a horizontal section ( 11), inclined sections (12) located at both ends and inclined upward, and curved sections (13) for smoothly connecting the horizontal section (11) and the inclined section (12), the horizontal section (11) having a thickness greater than The thickness of the inclined section (12) and the thickness of the curved section (13) decrease from the horizontal section (11) to the inclined section (12).
CN202010002814.4A 2020-01-02 2020-01-02 Combined suspension device Pending CN113059973A (en)

Priority Applications (1)

Application Number Priority Date Filing Date Title
CN202010002814.4A CN113059973A (en) 2020-01-02 2020-01-02 Combined suspension device

Applications Claiming Priority (1)

Application Number Priority Date Filing Date Title
CN202010002814.4A CN113059973A (en) 2020-01-02 2020-01-02 Combined suspension device

Publications (1)

Publication Number Publication Date
CN113059973A true CN113059973A (en) 2021-07-02

Family

ID=76558298

Family Applications (1)

Application Number Title Priority Date Filing Date
CN202010002814.4A Pending CN113059973A (en) 2020-01-02 2020-01-02 Combined suspension device

Country Status (1)

Country Link
CN (1) CN113059973A (en)

Cited By (1)

* Cited by examiner, † Cited by third party
Publication number Priority date Publication date Assignee Title
WO2024221073A1 (en) * 2023-04-25 2024-10-31 Instituto Hercílio Randon Spring assembly for commercial vehicle suspension, method for attenuating mechanical energy in a commercial vehicle, and commercial vehicle

Citations (6)

* Cited by examiner, † Cited by third party
Publication number Priority date Publication date Assignee Title
GB233089A (en) * 1924-03-04 1925-05-07 Ernest Harry Ellingham Improvements in springs and shock absorbing devices for road vehicles
CN203528230U (en) * 2013-10-11 2014-04-09 徐州重型机械有限公司 Wheel crane and suspension frame mechanism thereof
CN104842734A (en) * 2014-02-14 2015-08-19 北汽福田汽车股份有限公司 Composite material-made plate spring and automobile
CN205853799U (en) * 2016-08-05 2017-01-04 上海汽车集团股份有限公司 Longitudinal composite material plate spring assembly
CN109812527A (en) * 2019-02-01 2019-05-28 株洲时代新材料科技股份有限公司 One kind having second level rigidity flat spring light weight method and flat spring assembly
CN109878285A (en) * 2019-02-01 2019-06-14 株洲时代新材料科技股份有限公司 A kind of flat spring and rubber spring compound suspension frame system

Patent Citations (6)

* Cited by examiner, † Cited by third party
Publication number Priority date Publication date Assignee Title
GB233089A (en) * 1924-03-04 1925-05-07 Ernest Harry Ellingham Improvements in springs and shock absorbing devices for road vehicles
CN203528230U (en) * 2013-10-11 2014-04-09 徐州重型机械有限公司 Wheel crane and suspension frame mechanism thereof
CN104842734A (en) * 2014-02-14 2015-08-19 北汽福田汽车股份有限公司 Composite material-made plate spring and automobile
CN205853799U (en) * 2016-08-05 2017-01-04 上海汽车集团股份有限公司 Longitudinal composite material plate spring assembly
CN109812527A (en) * 2019-02-01 2019-05-28 株洲时代新材料科技股份有限公司 One kind having second level rigidity flat spring light weight method and flat spring assembly
CN109878285A (en) * 2019-02-01 2019-06-14 株洲时代新材料科技股份有限公司 A kind of flat spring and rubber spring compound suspension frame system

Cited By (1)

* Cited by examiner, † Cited by third party
Publication number Priority date Publication date Assignee Title
WO2024221073A1 (en) * 2023-04-25 2024-10-31 Instituto Hercílio Randon Spring assembly for commercial vehicle suspension, method for attenuating mechanical energy in a commercial vehicle, and commercial vehicle

Similar Documents

Publication Publication Date Title
US5996981A (en) Reduced size bushing for beam-type axle suspension system
US8770558B2 (en) Pad for leaf spring
US8720921B1 (en) Vehicular suspension enhancement
CN201183440Y (en) Cargo vehicle variable hardness rubber balance suspension apparatus
CA2512848A1 (en) Lightweight, low part-count, suspension system for wheeled vehicles
CN100591539C (en) Heavy-duty vehicle rubber bearing and leaf spring bracket assembly
CN113059973A (en) Combined suspension device
CN111152614A (en) A Two-stage Vibration Reduction and High Adaptability Balanced Suspension System
CN113059974B (en) Composite plate spring protection device
CN111497540B (en) A composite leaf spring suspension assembly device with two levels of stiffness
CN202656821U (en) Elastomer assembly used for shock absorption of rear suspension of heavy truck
CN113059972A (en) Lightweight suspension device
CN211764769U (en) Composite material plate spring
CN217753388U (en) Rubber polyurethane composite bushing
KR20250067147A (en) Axle structure for commercial vehicle chassis including axle bridge
CN201300681Y (en) Auxiliary-spring shackle
CN211032080U (en) Mining dump truck and rubber auxiliary spring composite front suspension structure thereof
CN215950219U (en) A rear suspension leaf spring assembly
CN116691252A (en) Vehicle front suspension system and vehicle protection device
CN223672203U (en) A vehicle lateral stability structure and vehicle
CN118205357B (en) A lateral stabilization structure and chassis assembly
CN222698244U (en) Leaf spring suspension assembly and vehicle
CN216636069U (en) Light-weight rear rubber auxiliary spring suspension system and light truck
CN219667915U (en) Stabilizer bar system and vehicle with same
CN223750590U (en) The rear underbody of the vehicle and the vehicle

Legal Events

Date Code Title Description
PB01 Publication
PB01 Publication
SE01 Entry into force of request for substantive examination
SE01 Entry into force of request for substantive examination
RJ01 Rejection of invention patent application after publication

Application publication date: 20210702

RJ01 Rejection of invention patent application after publication