CN113041414A - Uterine cavity perfusion liquid recovery and metering, tissue specimen collection and pollution protection device - Google Patents
Uterine cavity perfusion liquid recovery and metering, tissue specimen collection and pollution protection device Download PDFInfo
- Publication number
- CN113041414A CN113041414A CN202110306411.3A CN202110306411A CN113041414A CN 113041414 A CN113041414 A CN 113041414A CN 202110306411 A CN202110306411 A CN 202110306411A CN 113041414 A CN113041414 A CN 113041414A
- Authority
- CN
- China
- Prior art keywords
- liquid storage
- funnel
- storage bag
- funnel body
- patch
- Prior art date
- Legal status (The legal status is an assumption and is not a legal conclusion. Google has not performed a legal analysis and makes no representation as to the accuracy of the status listed.)
- Pending
Links
- 239000007788 liquid Substances 0.000 title claims abstract description 114
- 230000010412 perfusion Effects 0.000 title claims abstract description 30
- 238000011084 recovery Methods 0.000 title claims abstract description 15
- XLYOFNOQVPJJNP-UHFFFAOYSA-N water Substances O XLYOFNOQVPJJNP-UHFFFAOYSA-N 0.000 claims description 25
- 230000002265 prevention Effects 0.000 claims description 12
- 230000001939 inductive effect Effects 0.000 claims description 10
- 230000004044 response Effects 0.000 claims description 7
- 239000012530 fluid Substances 0.000 claims description 5
- 239000000463 material Substances 0.000 claims description 5
- 210000000056 organ Anatomy 0.000 claims description 5
- 230000006978 adaptation Effects 0.000 claims description 4
- 239000011550 stock solution Substances 0.000 claims description 4
- 206010049244 Ankyloglossia congenital Diseases 0.000 claims description 3
- 230000005611 electricity Effects 0.000 claims description 2
- 238000011109 contamination Methods 0.000 claims 9
- 238000000034 method Methods 0.000 abstract description 10
- 230000008569 process Effects 0.000 abstract description 8
- 238000010521 absorption reaction Methods 0.000 abstract description 6
- 230000000694 effects Effects 0.000 abstract description 5
- 206010016803 Fluid overload Diseases 0.000 abstract description 2
- 206010021036 Hyponatraemia Diseases 0.000 abstract description 2
- 239000000853 adhesive Substances 0.000 abstract description 2
- 230000001070 adhesive effect Effects 0.000 abstract description 2
- 210000001124 body fluid Anatomy 0.000 abstract description 2
- 239000010839 body fluid Substances 0.000 abstract description 2
- 230000007480 spreading Effects 0.000 abstract description 2
- 210000004291 uterus Anatomy 0.000 description 7
- 230000008961 swelling Effects 0.000 description 6
- 238000005452 bending Methods 0.000 description 5
- 231100000572 poisoning Toxicity 0.000 description 4
- 230000000607 poisoning effect Effects 0.000 description 4
- 230000009471 action Effects 0.000 description 3
- 238000001914 filtration Methods 0.000 description 3
- 206010000060 Abdominal distension Diseases 0.000 description 2
- 210000000038 chest Anatomy 0.000 description 2
- 230000002349 favourable effect Effects 0.000 description 2
- 210000002640 perineum Anatomy 0.000 description 2
- 230000000007 visual effect Effects 0.000 description 2
- 206010048962 Brain oedema Diseases 0.000 description 1
- 206010011409 Cross infection Diseases 0.000 description 1
- 206010019280 Heart failures Diseases 0.000 description 1
- 206010029803 Nosocomial infection Diseases 0.000 description 1
- 206010030113 Oedema Diseases 0.000 description 1
- 206010037423 Pulmonary oedema Diseases 0.000 description 1
- 206010046798 Uterine leiomyoma Diseases 0.000 description 1
- 208000027418 Wounds and injury Diseases 0.000 description 1
- 210000001015 abdomen Anatomy 0.000 description 1
- 238000013459 approach Methods 0.000 description 1
- 208000006752 brain edema Diseases 0.000 description 1
- 230000008859 change Effects 0.000 description 1
- 238000010276 construction Methods 0.000 description 1
- 238000011161 development Methods 0.000 description 1
- 208000037265 diseases, disorders, signs and symptoms Diseases 0.000 description 1
- 208000035475 disorder Diseases 0.000 description 1
- 239000003792 electrolyte Substances 0.000 description 1
- 208000016018 endometrial polyp Diseases 0.000 description 1
- 210000004696 endometrium Anatomy 0.000 description 1
- 210000000245 forearm Anatomy 0.000 description 1
- 239000003292 glue Substances 0.000 description 1
- 238000005259 measurement Methods 0.000 description 1
- 210000001370 mediastinum Anatomy 0.000 description 1
- 238000012986 modification Methods 0.000 description 1
- 230000004048 modification Effects 0.000 description 1
- 238000012544 monitoring process Methods 0.000 description 1
- 238000010827 pathological analysis Methods 0.000 description 1
- 239000012466 permeate Substances 0.000 description 1
- 239000002985 plastic film Substances 0.000 description 1
- 229920006255 plastic film Polymers 0.000 description 1
- 238000004321 preservation Methods 0.000 description 1
- 208000005333 pulmonary edema Diseases 0.000 description 1
- 239000007921 spray Substances 0.000 description 1
- 238000001356 surgical procedure Methods 0.000 description 1
- 238000012546 transfer Methods 0.000 description 1
- 239000012780 transparent material Substances 0.000 description 1
- 206010046811 uterine polyp Diseases 0.000 description 1
- 230000037303 wrinkles Effects 0.000 description 1
Images
Classifications
-
- A—HUMAN NECESSITIES
- A61—MEDICAL OR VETERINARY SCIENCE; HYGIENE
- A61M—DEVICES FOR INTRODUCING MEDIA INTO, OR ONTO, THE BODY; DEVICES FOR TRANSDUCING BODY MEDIA OR FOR TAKING MEDIA FROM THE BODY; DEVICES FOR PRODUCING OR ENDING SLEEP OR STUPOR
- A61M2205/00—General characteristics of the apparatus
- A61M2205/33—Controlling, regulating or measuring
- A61M2205/3327—Measuring
-
- A—HUMAN NECESSITIES
- A61—MEDICAL OR VETERINARY SCIENCE; HYGIENE
- A61M—DEVICES FOR INTRODUCING MEDIA INTO, OR ONTO, THE BODY; DEVICES FOR TRANSDUCING BODY MEDIA OR FOR TAKING MEDIA FROM THE BODY; DEVICES FOR PRODUCING OR ENDING SLEEP OR STUPOR
- A61M2205/00—General characteristics of the apparatus
- A61M2205/75—General characteristics of the apparatus with filters
- A61M2205/7545—General characteristics of the apparatus with filters for solid matter, e.g. microaggregates
Landscapes
- Investigating Or Analysing Biological Materials (AREA)
Abstract
The invention provides a uterine cavity perfusion liquid recovery and metering device, a tissue specimen collection and pollution protection device, which comprises a funnel body, an upper patch and a lower patch connected with the upper patch, wherein an operation opening is formed at the connection part of the upper patch and the lower patch, the front edge of the funnel body is connected below the operation opening, a neck tying belt is arranged at the rear edge of the funnel body, a back adhesive is arranged on one side of the upper patch and the lower patch, which is far away from the funnel body, and a liquid storage bag with scales is arranged at the leakage opening of the funnel body. The device can accurately acquire the absorption amount of the perfusion liquid and timely discover and process potential serious risks, so that the occurrence of body fluid overload and/or diluted hyponatremia caused by the massive absorption of the perfusion liquid is prevented, surgical complications are reduced, and the device has important clinical significance for reducing medical accidents and protecting the life safety of patients; and can collect the sample with effect, prevent the sample loss, prevent perfusion liquid splash pollution, have very high spreading value.
Description
Technical Field
The invention relates to the technical field of medical equipment, in particular to a uterine cavity perfusion fluid recovery and metering device, a tissue specimen collection device and a pollution protection device.
Background
Hysteroscopy is the most delicate and minimally invasive type of operation in gynecological surgery, and is an irreplaceable type of operation in treatment of hysteromyoma, endometrial polyp, endometrium resectioning, uterine cavity foreign matter, uterine mediastinum, uterine cavity adhesion, intrauterine device incarceration and the like, but the development and popularization of the hysteroscopy are limited by various complications. In the routine examination and the electric excision operation of a hysteroscope, the wound surface and the intima can absorb perfusion liquid under the action of the osmosis principle and the water pressure, a patient can have the phenomenon of water poisoning after the perfusion liquid absorbed by a human body exceeds a certain amount, and serious patients can have electrolyte disorder, pulmonary edema, cerebral edema, renal edema, heart failure and the like, and even die. Accurate measurement of the liquid uptake is of great importance.
At present, the input amount of the uterus swelling liquid (also called uterine cavity perfusion liquid) can be read through the scale of the uterus swelling liquid bag body; the key point is that the output is collected, some hospitals judge the state by experience, some hospitals place a collecting barrel under an operating table, the uterine cavity flowing out from the uterine cavity directly flows into the collecting barrel, but the uterine cavity perfusion liquid can only flow out from a relatively narrow uterine orifice under the action of water pressure, so that the splashing phenomenon happens occasionally, on one hand, the collecting barrel is difficult to comprehensively and uninterruptedly collect the uterine cavity perfusion liquid, the metering is inaccurate, and the phenomenon of water poisoning is reported in all levels of hospitals; on the other hand, the sprayed uterine cavity perfusion liquid can pollute the work clothes of doctors and the ground around the operating bed, and the chance of nosocomial infection is increased.
In addition, the tissue specimens obtained in hysteroscopy need to be collected completely, pathological analysis is carried out, no special collecting device is provided at present, the generally adopted method is that aseptic gauze is placed around the operation position to contain the specimens, and the pick-up of a little bit is carried out after the operation, so that the tissue specimens are lost and washed away, and the trouble, the time and the labor are wasted.
Disclosure of Invention
The invention aims to solve the technical problem of providing a hysteroscope perfusion fluid recovery and metering, tissue specimen collection and pollution prevention device, which can completely recover and accurately meter perfusion fluid, timely acquire the absorption capacity of the perfusion fluid and simultaneously have the functions of tissue specimen collection and pollution prevention.
In order to solve the technical problems, the technical scheme of the invention is as follows:
the utility model provides a palace chamber perfusate is retrieved and is counted, tissue specimen collection and pollution prevention device, includes the funnel body, goes up the paster and links to each other with last paster down, has seted up the operation mouth in the department of linking to each other of last paster and lower paster, the front edge of the funnel body is connected the below of operation mouth the back edge of the funnel body is provided with the neck frenulum, it is provided with the gum to go up paster and lower paster in the one side that deviates from the funnel body, the leak department of the funnel body is provided with the stock solution bag of taking the scale.
Further: the liquid storage bag comprises a liquid storage bag body with bag body scales, a liquid storage bag neck arranged at the top of the liquid storage bag body and a water outlet arranged at the bottom of the liquid storage bag body, wherein a drain valve is arranged at the water outlet, the liquid storage bag neck is connected with a leakage opening of the funnel body, and a filter screen is arranged in the liquid storage bag neck.
Further: the liquid storage bag further comprises a filtering hopper, the filtering hopper comprises a hopper body, the filter screen is arranged at the bottom of the hopper body, and the outer wall of the hopper body is in interference fit with the inner wall of the neck of the liquid storage bag.
Further: the liquid storage bag body is provided with a bag body front face, the bag body scales are arranged on the bag body front face, and the bag body front face faces to the left side or the right side of the funnel body.
Further: be provided with the cursory in the internal portion of liquid storage bag, cursory upper end fixedly connected with liquid level indicator pole is provided with the last slip cover that runs through the filter screen in the bottom of bucket portion main part, and the bottom fixedly connected with area of liquid storage bag neck permeates water the porous disk of hole be provided with the gliding cover that runs through on the porous disk, liquid level indicator pole passes lower sliding sleeve and last sliding sleeve in proper order.
Further: the stock solution bag still includes non-contact inductive switch and bee calling organ, non-contact inductive switch including the response piece and with the inductor of response piece looks adaptation, the inductor slides through the slide and sets up on the bag body is positive, the trend of slide is corresponding with cursory motion trail, bag body scale sets up the one side at the slide, the response piece sets up in cursory positive one side towards the bag body, the inductor is connected with bee calling organ electricity.
Further: the trepanning between lower sliding sleeve and the last sliding sleeve is rectangle A, liquid level indicator pole have with the cross-section of rectangle A looks adaptation, one of two wide sides of liquid level indicator pole is provided with the body of rod scale and is provided with the one side of neck frenulum towards the funnel body.
Further: the joint of the upper patch and the lower patch forms a saddle body, the operation opening is arranged at the saddle valley of the saddle body, and the front edge of the funnel body is connected to the lower sides of two saddle peaks of the saddle body.
Further: the funnel body is made of flexible materials, bent elastic strips are arranged at the upper edges of the left side and the right side of the funnel body, and the bent elastic strips enable the upper edges of the left side and the right side of the funnel body to bulge outwards.
Further: the bending elastic strip is a V-shaped elastic strip, the turning position of the V-shaped elastic strip is positioned below two end points of the V-shaped elastic strip, the side walls of the left side and the right side of the funnel body are provided with support rods, one end of each support rod is abutted with the turning position of the V-shaped elastic strip, and the other end of each support rod is abutted with the neck of the liquid storage bag.
By adopting the technical scheme, the invention has the technical effects of providing the hysteroscope perfusate recovery and metering device, the tissue specimen collection and pollution protection device, and solving the technical problems of incomplete liquid collection, inaccurate metering in time, specimen loss and operator pollution in the prior art. The device can completely recover and particularly collect the distending liquid flowing through the sacral caudal part and splashed uterus, and can timely and accurately know the absorption amount of the perfusion liquid due to the scale, monitor the absorption amount of the perfusion liquid at any time so as to timely discover and process potential serious risks, and take effective measures, thereby preventing the occurrence of body fluid overload and/or diluted hyponatremia caused by the absorption of a large amount of the perfusion liquid, avoiding the occurrence of complications such as water poisoning, and having important clinical significance for reducing medical accidents and protecting the life safety of patients. In addition, the utility model can effectively collect the specimen, prevent the specimen from losing and fill the blank of specimen collecting instruments in the clinical hysteroscopy and treatment. Finally, the medical staff can be effectively prevented from being splashed and polluted, the medical quality is improved, the psychological pressure of doctors is improved, the practicability is high, and the popularization value is high.
Drawings
FIG. 1 is a front view of the present invention in a schematic configuration;
FIG. 2 is a schematic left side view of the structure of the present invention;
FIG. 3 is a schematic top view of the structure of the present invention;
FIG. 4 is a schematic view of the funnel and the connection location of the upper patch to the lower patch of the present invention;
FIG. 5 is a schematic left side view of the structure of the reservoir bag of the present invention;
FIG. 6 is a schematic front view of the structure of the reservoir bag of the present invention;
FIG. 7 is a schematic top view of the construction of the filter hopper of the present invention;
FIG. 8 is a bottom view of the permeable plate of the present invention;
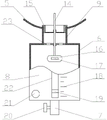
the automatic water-saving filter comprises an upper patch 1, an operation port 2, a 3-V-shaped elastic strip, a 4-supporting rod, a 5-funnel body, a liquid storage bag 6, a water outlet 7, a bag body front 8, a liquid storage bag neck 9, a lower patch 10, a neck tie 11, a saddle 12, a filter screen 13, a liquid level indicating rod 14, a filter hopper 15, a float 16, a sensor sheet 17, a bag body scale 18, a sensor 19, a drain valve 20, a buzzer 21, a slideway 22, a water permeable plate 23, a rod body scale 24, a bucket body 25, a connecting rod 26, an upper sliding sleeve 27, a plate body 28, a water permeable hole 29 and a lower sliding sleeve 30.
Detailed Description
As shown in fig. 1 to 8, one embodiment of the present invention is shown. It should be noted that, for convenience of discussion and clarity of description, the terms of orientation such as "front, back, left, right, up, down" and the like in the following description are determined by the main viewing direction of fig. 1 unless otherwise specified, and generally represent the orientation (especially the relationship of up and down orientation) of the present invention in the use state, but do not represent that the terms of orientation of the present invention are rigid in the following discussion process, and the same scheme as the present embodiment can be obtained after converting the coordinate system.
The basic technical scheme of the preferred embodiment has the following characteristics: as shown in fig. 1 to 4, the patch type liquid storage funnel comprises a funnel body 5, an upper patch 1 and a lower patch 10 connected with the upper patch 1, wherein an operation opening 2 is formed at the connection position of the upper patch 1 and the lower patch 10, the front edge of the funnel body 5 (namely the front edge of a large opening at the upper part of the funnel body 5) is connected below the operation opening 2, a neck tying belt 11 is arranged at the rear edge of the funnel body 5, a back adhesive is arranged on one side of the upper patch 1 and the lower patch 10, which is far away from the funnel body 5, and a liquid storage bag with scales is arranged at the leakage opening of the funnel body 5.
When the device is used, the back glue of the upper patch 1 and the lower patch 10 is uncovered, the operation opening 2 is aligned with the perineum of the patient for fitting, then the upper patch 1 is attached to the front side (namely the lower abdomen) of the body of the patient, and the lower patch 10 is attached to the back side (namely the sacral tail) of the body of the patient. The patient adopts the posture of lying down and then spreading the legs, so the funnel body 5 is positioned between the patient and the doctor, at the moment, the doctor ties the neck strap 11 on the neck, and then the perineum of the patient in the operation opening 2 can be operated. The water flow flowing out from the uterine orifice can be collected by the funnel body 5, especially the liquid flowing away from the femoral sulcus of the patient originally, because the lower patch 10 is tightly attached to the body of the patient, the water flow can only flow out from the operation port 2 and is collected, even if the liquid which reaches the body of the doctor is sprayed out far, the uterine cavity perfusion liquid is completely collected by the funnel body 5 without leaving behind due to the fact that the funnel body 5 is shielded by the doctor in front of the chest, and finally collected into the liquid storage bag at the position of the leakage port of the funnel body 5, the liquid storage bag is a transparent bag marked with scales, the collection amount can be conveniently read, the body condition of the patient can be determined by comparing with the input amount, and the uterus expanding liquid can not pollute the work clothes of the doctor and the ground around the operating bed due to complete and sufficient collection. In addition, the tissue specimen flowing out together with the uterine distention liquid can be collected in the liquid storage bag, so that the specimen is ensured to be lost, and the tissue specimen can be comprehensively collected after operation.
As shown in fig. 1 to 4, in the present embodiment, it is also preferable that the connection between the upper sheet 1 and the lower sheet 10 is formed into a saddle 12. The saddle shape is similar to a hump in a certain degree, and the saddle shape is not similar to the hump and generally has a descending slope section after reaching the highest point of the two humps from the middle part, the two humps are called saddle peaks, and the middle low part of the two saddle peaks is a saddle valley. The operation opening 2 of the embodiment is arranged at the saddle valley of the saddle body 12, and the front edge of the funnel body 5 is connected to the lower sides of two saddle peaks of the saddle body 12.
This is because the patient is lying down and then has his legs spread, and therefore the upper patch 1 and the lower patch 10 connected by simply laying them flat are difficult to conform to the contour of the joint of the patient's trunk and legs (i.e., the crotch), so that the operation port 2 is likely to be wrinkled and uneven after fitting the patient, and the water flow through the operation port 2 may flow from these wrinkles to other places, resulting in incomplete collection. After the saddle 12 is formed at the joint, the raised saddle and the lowered saddle can be adapted to the contour of the crotch of the patient, so that the operation opening 2 can be more closely fitted to the skin of the patient, and the water flows out of the operation opening 2 and is then collected by the funnel 5. The front edge of the funnel body 5 is connected to the lower sides of the two saddle peaks of the saddle body 12, so that the shape of the saddle body 12 can be used for enlarging the front edge of the funnel body 5, the receiving and collecting area of the funnel body 5 is enlarged, and the phenomenon that the operation of a doctor near the operation opening 2 is hindered due to the fact that the side edge of the funnel body 5 is too high is avoided.
The funnel 5 may be made of a relatively hard material to maintain the funnel shape, but is preferably made of a flexible material because the funnel 5 having a too rigid shape causes inconvenience in transportation and storage. However, the shape of the funnel is difficult to maintain, especially the upper opening, and after the doctor approaches and leaves the patient for several times, the shape of the upper edge of the funnel is difficult to maintain a fully open state, so that the splashed uterus swelling liquid exceeds the collection range of the funnel, and the collection is polluted and incomplete. In the preferred embodiment, the upper edges of the left and right sides of the funnel body 5 are provided with bending elastic strips, and the bending elastic strips make the upper edges of the left and right sides of the funnel body 5 bulge outwards. The bending elastic strip may be an elastic strip having a bending curve shape such as a V shape or a C shape, and the V-shaped elastic strip 3 is adopted in the present embodiment, which is more convenient to fold and store than the C-shaped strip. As shown in figure 3, one end of the V-shaped elastic strip 3 is positioned at the front end of the funnel body 5, the other end is positioned at the rear end of the funnel body 5, the middle turning part enables the upper edges of the left side and the right side of the funnel body 5 to bulge outwards, the collection area of the upper opening of the funnel body 5 is enlarged and maintained, and liquid is difficult to spray out of the range. The reason for using the elastic strip rather than the rigid rod is that the doctor can get close to and away from the patient continuously for various reasons in the operation, so that the distance from the neck strap 11 to the operation opening 2 is uncertain and can be changed at any time, therefore, the elastic strip can be used for adapting to the distance change at any time, and the upper side of the funnel body 5 can be expanded outwards all the time, thereby ensuring the collection effect of the funnel body 5.
As shown in fig. 1 and 2, in the present embodiment, the inflection point of V-shaped elastic strip 3 is located below both end points of V-shaped elastic strip 3. The reason for this is that the binding position of the neck strap 11 makes the upper edge of the funnel 5 flush with the lowest point of the neck of the doctor, so that although the funnel 5 is shielded in front of the chest of the doctor to prevent pollution, the doctor still needs to extend his/her hands to operate the operation opening 2, the too high upper edge of the funnel 5 hinders the action of the doctor, and the doctor must hold the shoulder and support the elbow to complete the operation, which is very inconvenient. After the turning point of the V-shaped elastic strip 3 is positioned below two end points of the V-shaped elastic strip 3, a notch (as shown in fig. 2) is formed on the side wall of the original funnel body 5 with the same height, and the notch can enable the forearm of a doctor to easily cross without the need of labyrinthine operation like erecting an elbow of an arm, thereby improving the working efficiency.
In the embodiment, the side walls of the left side and the right side of the funnel body 5 are further provided with a support rod 4, one end of the support rod 4 is abutted with the turning part of the V-shaped elastic strip 3, and the other end of the support rod 4 is abutted with the neck part 9 of the liquid storage bag. Because the funnel body 5 is made by flexible material, if its flexibility is too high, the hardness is low excessively, then can be difficult to the weight of support column V-arrangement elastic strip 3, make the V-arrangement elastic strip 3 that expands outward can tend to droop, be difficult to guarantee the effect that the top edge that makes the funnel body 5 left and right sides outwards swells, so can still set up vaulting pole 4 on the lateral wall of the funnel body 5 left and right sides, its both ends support V-arrangement elastic strip 3 and stock solution bag neck 9 respectively, alright guarantee the effect of swelling of V-arrangement elastic strip 3, make funnel body 5 keep effective form, it is not influenced to make it collect the function.
As shown in fig. 2 and 5, the liquid storage bag comprises a liquid storage bag body 6 with bag body scales 18, a liquid storage bag neck 9 arranged at the top of the liquid storage bag body 6 and a water outlet 7 arranged at the bottom of the liquid storage bag body 6, wherein the water outlet 7 is provided with a water discharge valve 20, the liquid storage bag neck 9 is connected with a leakage opening of the funnel body 5, and a filter screen 13 is arranged in the liquid storage bag neck 9. Specifically, the liquid storage bag further comprises a filter hopper 15, the filter hopper 15 comprises a hopper body 25 and a filter screen 13 arranged at the bottom of the hopper body 25, and the outer wall of the hopper body 25 is in interference fit with the inner wall of the neck 9 of the liquid storage bag.
The water outlet 7 is arranged at the bottom of the liquid storage bag body 6, so that the liquid storage bag can be conveniently discharged in a proper amount after scales are recorded when the liquid storage bag is about to be filled, and the phenomenon that the operation is interrupted due to the full liquid storage bag in the single operation process is prevented. And set up filter screen 13 in liquid storage bag neck 9, be for collecting the tissue sample as early as possible, the tissue sample is unfavorable for the preservation in later stage after being soaked for a long time by uterus swelling liquid, and is filtered out and lie in the tissue sample of liquid storage bag neck 9 and also can be observed by the doctor at any time, is favorable to the understanding and the control of doctor to the all aspects condition of whole hysteroscopy operation. And the filter screen 13 is arranged in the detachable filter hopper 15, so that the tissue specimen can be conveniently collected after operation, and only the filter hopper 15 needs to be detached for collection. Compared with the flat state of a common filter screen, the bucket-shaped state of the filter hopper 15 can accommodate more tissue specimens and is not easy to scatter and lose in the transfer process of the tissue specimens. The outer wall of bucket portion main part 25 with the inner wall interference fit of liquid storage bag neck 9 then prevents that the rivers from not filtering the condition emergence that just gets into liquid storage bag body 6 of filter screen 13, makes the tissue sample obtain collecting comprehensively.
As shown in fig. 1 and 2, since the liquid storage bag body 6 is a bag body formed by thermoplastic-bonding front and rear plastic films, the liquid storage bag body 6 has a bag body front surface 8 and a back surface thereof, and the bag body scale 18 is provided on the bag body front surface 8. This preferred embodiment is with bag body front 8 towards the left side or the right side of funnel 5, and the setting is because the liquid storage bag body 6 is located the below of funnel 5, is in the position that is very unfavorable for observing, even if funnel 5 adopts transparent material, the doctor also is difficult to read bag body scale 18 because of visual angle and the transparent wall that wets colation, often need observe the report by auxiliary personnel this moment, and bag body front 8 just is favorable to standing the auxiliary personnel who is at the doctor side to bend over and observe the scale and report towards the left side or the right side of funnel 5.
As shown in fig. 5 to 8, in the present embodiment, a float 16 is provided inside the liquid storage bag 6, the upper end of the float 16 is fixedly connected with a liquid level indicating rod 14, the bottom of the bucket body 25 is fixedly connected with an upper sliding sleeve 27 through four connecting rods 26, and the filter screen 13 is provided between the connecting rods 26, so that the upper sliding sleeve 27 penetrates through the filter screen 13. At the bottom fixedly connected with porous disk 23 of reservoir bag neck 9, porous disk 23 has the hole 29 of permeating water on its board main part 28 be provided with the gliding cover 30 that runs through on the board main part 28 of porous disk 23, liquid level indicator pole 14 passes lower sliding sleeve 30 and goes up slide sleeve 27 in proper order.
Because the doctor usually easily raises the head to see the scales of the uterine distention liquid bag body which is being input, but the doctor hardly observes the scales of the collected liquid, and can know the operation process only by listening to the report of auxiliary personnel, which brings inconvenience to a certain extent. And set up liquid level gauge rod 14 through cursory 16 after, alright make be in the funnel body 5 rear end the doctor one low head alright observe liquid level gauge rod 14's length in the funnel body 5, thereby know the liquid level height condition, although liquid level gauge rod 14 is limited to its tiny bodily form and is difficult to give the accurate liquid level reading of doctor, but can give a visual synopsis of doctor, the doctor can master through practising many times after using and estimate the liquid level numerical value through observing the summit height of liquid level gauge rod 14, make the doctor master the operation process more easily, judge patient's safety and danger according to input and outflow difference. And through the structural style that sets up the sliding sleeve from top to bottom for liquid level gauge 14 is difficult to be brought the card phenomenon because of the flexible messenger resistance arm overlength of liquid level gauge 14 self in the upper and lower slip in-process of cursory 16, avoids finally making the liquid level feedback malfunctioning.
As shown in fig. 5 and 6, the liquid storage bag of this embodiment further includes a non-contact inductive switch and a buzzer 21, the non-contact inductive switch includes an inductive sheet 17 and an inductor 19 adapted to the inductive sheet 17, the inductor 19 is slidably disposed on the front surface 8 of the bag body through a strip-shaped slide rail 22, the direction of the slide rail 22 corresponds to the up-and-down movement track of the float 16, the bag body scale 18 is disposed on one side of the slide rail 22, the inductive sheet 17 is disposed on one side of the float 16 facing the front surface 8 of the bag body, and the inductor 19 is electrically connected to the buzzer 21.
The non-contact inductive switch can be of a magnetic type, and can also be of a photoelectric type due to the transparent bag body. After the setting, can establish a prediction warning volume before the art, with inductor 19 along slide 22 slide to specific bag body scale 18 department, later along with the operation goes on, the response piece 17 of pasting in cursory 16 towards bag body front 8 one side just can reach inductor 19 position, just so means the collection capacity has arrived prediction alarm value, and inductor 19 is put through at this moment and makes bee calling organ 21 send out the police dispatch newspaper, prevents to cause the condition of patient's water poisoning to take place because of personnel's careless monitoring uterus swelling liquid collection capacity.
If the matching section of the liquid level indicating rod 14 and the upper and lower sliding sleeves in the above scheme is circular, it is difficult for the float 16 to ensure that the side to which the sensing piece 17 is attached always faces the front side 8 of the bag body in the process of moving up and down, so the sleeve holes of the lower sliding sleeve 30 and the upper sliding sleeve 27 in the preferred embodiment are both rectangular a (as shown in fig. 7 and 8), and the liquid level indicating rod 14 has a section matched with the rectangular a so as to prevent the float 16 from twisting by itself. In addition, because the liquid level indicating rod 14 with the rectangular cross section has two wide side faces (namely the side faces corresponding to the relatively wide rectangular sides), the rod body scale 24 is arranged on the wide side face of the side, which is provided with the neck tying belt 11, facing the funnel body 5, so that a doctor can conveniently observe the corresponding liquid level scale, and compared with the experience, the current liquid collection amount can be known more accurately, and the doctor can know the operation progress more accurately.
The present invention has been disclosed in terms of the preferred embodiments, but the invention is not limited to these embodiments. Any equivalent changes or modifications made without departing from the spirit and scope of the invention are also within the protection scope of the invention. The scope of the invention should therefore be determined with reference to the appended claims.
Claims (10)
1. The utility model provides a palace chamber perfusion fluid is retrieved and is counted, tissue specimen collection and pollution protection device which characterized in that: the novel funnel comprises a funnel body (5), an upper patch (1) and a lower patch (10) connected with the upper patch (1), wherein an operation opening (2) is formed in the connection position of the upper patch (1) and the lower patch (10), the front edge of the funnel body (5) is connected below the operation opening (2), a neck tying belt (11) is arranged on the rear edge of the funnel body (5), gum is arranged on one side, deviating from the funnel body (5), of the upper patch (1) and the lower patch (10), and a liquid storage bag with scales is arranged at the leakage opening of the funnel body (5).
2. Uterine cavity perfusion recovery and metering, tissue specimen collection and contamination prevention device according to claim 1, characterized in that: the liquid storage bag comprises a liquid storage bag body (6) provided with bag body scales (18), a liquid storage bag neck (9) arranged at the top of the liquid storage bag body (6) and a water outlet (7) arranged at the bottom of the liquid storage bag body (6), wherein a water drain valve (20) is arranged at the water outlet (7), the liquid storage bag neck (9) is connected with a leakage opening of the funnel body (5), and a filter screen (13) is arranged in the liquid storage bag neck (9).
3. Uterine cavity perfusion recovery and metering, tissue specimen collection and contamination prevention device according to claim 2, characterized in that: the liquid storage bag further comprises a filter hopper (15), the filter hopper (15) comprises a hopper body (25), the filter screen (13) is arranged at the bottom of the hopper body (25), and the outer wall of the hopper body (25) is in interference fit with the inner wall of the neck (9) of the liquid storage bag.
4. The uterine cavity perfusion recovery and metering, tissue specimen collection and contamination prevention device of claim 3, wherein: the liquid storage bag body (6) is provided with a bag body front face (8), bag body scales (18) are arranged on the bag body front face (8), and the bag body front face (8) faces to the left side or the right side of the funnel body (5).
5. Uterine cavity perfusion recovery and metering, tissue specimen collection and contamination prevention device according to claim 4, characterized in that: be provided with cursory (16) in the liquid storage bag body (6) inside, the upper end fixedly connected with liquid level indicator pole (14) of cursory (16) is provided with last slide sleeve (27) that run through filter screen (13) in the bottom of bucket portion main part (25), take porous disk (23) of hole (29) of permeating water in the bottom fixedly connected with of liquid storage bag neck (9) be provided with lower sliding sleeve (30) that run through on porous disk (23), lower sliding sleeve (30) and last sliding sleeve (27) are passed in proper order in liquid level indicator pole (14).
6. Uterine cavity perfusion recovery and metering, tissue specimen collection and contamination prevention device according to claim 5, characterized in that: the stock solution bag still includes non-contact inductive switch and bee calling organ (21), non-contact inductive switch including response piece (17) and with inductor (19) of response piece (17) looks adaptation, inductor (19) slide through slide (22) and set up on the positive (8) of bag body, the trend of slide (22) is corresponding with the movement track of cursory (16), bag body scale (18) set up the one side at slide (22), response piece (17) set up cursory (16) one side towards the positive (8) of bag body, inductor (19) are connected with bee calling organ (21) electricity.
7. Uterine cavity perfusion recovery and metering, tissue specimen collection and contamination prevention device according to claim 6, characterized in that: the trepanning between lower sliding sleeve (30) and upper sliding sleeve (27) is rectangle A, liquid level indicator pole (14) have with the cross-section of rectangle A looks adaptation, one of two wide sides of liquid level indicator pole (14) is provided with body of rod scale (24) and is provided with the one side of neck frenulum (11) towards funnel body (5).
8. Uterine cavity perfusion recovery and metering, tissue specimen collection and contamination prevention device according to claim 7, characterized in that: a saddle body (12) is formed at the joint of the upper patch (1) and the lower patch (10), the operation opening (2) is arranged at the saddle valley of the saddle body (12), and the front edge of the funnel body (5) is connected to the lower sides of two saddle peaks of the saddle body (12).
9. Uterine cavity perfusion recovery and metering, tissue specimen collection and contamination prevention device according to claim 8, characterized in that: the funnel body (5) is made of flexible materials, bent elastic strips are arranged at the upper edges of the left side and the right side of the funnel body (5), and the bent elastic strips enable the upper edges of the left side and the right side of the funnel body (5) to bulge outwards.
10. Uterine cavity perfusion recovery and metering, tissue specimen collection and contamination prevention device according to claim 9, characterized in that: the utility model discloses a funnel, including funnel body (5), buckling form elastic strip, the turning department of V-arrangement elastic strip (3) is located the below of the both ends point of V-arrangement elastic strip (3), is provided with vaulting pole (4) on the lateral wall of funnel body (5) left and right sides, the one end of vaulting pole (4) and the turning department looks butt of V-arrangement elastic strip (3), the other end and the reservoir bag neck (9) looks butt of vaulting pole (4).
Priority Applications (1)
| Application Number | Priority Date | Filing Date | Title |
|---|---|---|---|
| CN202110306411.3A CN113041414A (en) | 2021-03-23 | 2021-03-23 | Uterine cavity perfusion liquid recovery and metering, tissue specimen collection and pollution protection device |
Applications Claiming Priority (1)
| Application Number | Priority Date | Filing Date | Title |
|---|---|---|---|
| CN202110306411.3A CN113041414A (en) | 2021-03-23 | 2021-03-23 | Uterine cavity perfusion liquid recovery and metering, tissue specimen collection and pollution protection device |
Publications (1)
| Publication Number | Publication Date |
|---|---|
| CN113041414A true CN113041414A (en) | 2021-06-29 |
Family
ID=76514331
Family Applications (1)
| Application Number | Title | Priority Date | Filing Date |
|---|---|---|---|
| CN202110306411.3A Pending CN113041414A (en) | 2021-03-23 | 2021-03-23 | Uterine cavity perfusion liquid recovery and metering, tissue specimen collection and pollution protection device |
Country Status (1)
| Country | Link |
|---|---|
| CN (1) | CN113041414A (en) |
Cited By (1)
| Publication number | Priority date | Publication date | Assignee | Title |
|---|---|---|---|---|
| CN113440363A (en) * | 2021-07-12 | 2021-09-28 | 湖南省妇幼保健院 | Hysteroscope perfusion liquid meter |
Citations (8)
| Publication number | Priority date | Publication date | Assignee | Title |
|---|---|---|---|---|
| KR20130139487A (en) * | 2012-06-13 | 2013-12-23 | 가톨릭대학교 산학협력단 | After inserting the drainage tube insertion site around the leaking liquid ejectors |
| CN204863799U (en) * | 2015-08-26 | 2015-12-16 | 重庆医科大学附属永川医院 | Medical automatic control connects urine device |
| CN206410759U (en) * | 2017-01-23 | 2017-08-15 | 嘉兴市福莱喷绘写真材料有限公司 | Liquid level detection device and fluid level control device |
| CN107714100A (en) * | 2016-08-12 | 2018-02-23 | 广州迪克医疗器械有限公司 | Urological surgery specimen trap |
| CN107899098A (en) * | 2017-12-22 | 2018-04-13 | 玉林市玉州区万通华信科技服务部 | A kind of hysteroscope draining fluids collection device |
| CN209186774U (en) * | 2018-07-05 | 2019-08-02 | 广州市妇女儿童医疗中心 | Integrated hysteroscopic surgery specimen collection and liquid metering device |
| CN210331240U (en) * | 2019-06-06 | 2020-04-17 | 郑州大学第三附属医院(河南省妇幼保健院) | Obstetrics and Gynecology Poly Blood Bag |
| CN211355797U (en) * | 2019-12-09 | 2020-08-28 | 中国医科大学附属第一医院 | A downstream bag for accurate collection of uterine distention fluid for hysteroscopic surgery |
-
2021
- 2021-03-23 CN CN202110306411.3A patent/CN113041414A/en active Pending
Patent Citations (8)
| Publication number | Priority date | Publication date | Assignee | Title |
|---|---|---|---|---|
| KR20130139487A (en) * | 2012-06-13 | 2013-12-23 | 가톨릭대학교 산학협력단 | After inserting the drainage tube insertion site around the leaking liquid ejectors |
| CN204863799U (en) * | 2015-08-26 | 2015-12-16 | 重庆医科大学附属永川医院 | Medical automatic control connects urine device |
| CN107714100A (en) * | 2016-08-12 | 2018-02-23 | 广州迪克医疗器械有限公司 | Urological surgery specimen trap |
| CN206410759U (en) * | 2017-01-23 | 2017-08-15 | 嘉兴市福莱喷绘写真材料有限公司 | Liquid level detection device and fluid level control device |
| CN107899098A (en) * | 2017-12-22 | 2018-04-13 | 玉林市玉州区万通华信科技服务部 | A kind of hysteroscope draining fluids collection device |
| CN209186774U (en) * | 2018-07-05 | 2019-08-02 | 广州市妇女儿童医疗中心 | Integrated hysteroscopic surgery specimen collection and liquid metering device |
| CN210331240U (en) * | 2019-06-06 | 2020-04-17 | 郑州大学第三附属医院(河南省妇幼保健院) | Obstetrics and Gynecology Poly Blood Bag |
| CN211355797U (en) * | 2019-12-09 | 2020-08-28 | 中国医科大学附属第一医院 | A downstream bag for accurate collection of uterine distention fluid for hysteroscopic surgery |
Cited By (1)
| Publication number | Priority date | Publication date | Assignee | Title |
|---|---|---|---|---|
| CN113440363A (en) * | 2021-07-12 | 2021-09-28 | 湖南省妇幼保健院 | Hysteroscope perfusion liquid meter |
Similar Documents
| Publication | Publication Date | Title |
|---|---|---|
| CN209074698U (en) | Sample is collected and liquid withdrawal system in a kind of hysteroscope operation | |
| CN113041414A (en) | Uterine cavity perfusion liquid recovery and metering, tissue specimen collection and pollution protection device | |
| CN205411661U (en) | Liquid measure warning uropoiesis bag | |
| CN203724228U (en) | Medical thin film for surgery | |
| CN209422574U (en) | Drainage tube seepage collection bag and drainage tube seepage collection assembly | |
| CN204972655U (en) | Have calibration mark catheter | |
| CN211023418U (en) | Enema irrigation metered anal bag | |
| CN219398413U (en) | Self-vaginal uterine cavity autologous blood recovery device | |
| CN214857425U (en) | Operation drape capable of measuring liquid and collecting specimen | |
| CN109908425A (en) | A device for collecting irrigation waste liquid for gynecological hysteroscopy | |
| CN201067513Y (en) | Disposable precision quantity measurement urine bag | |
| CN214761960U (en) | A new type of urinal | |
| CN213345735U (en) | A urine collection device for uropoiesis surgery | |
| CN208274774U (en) | A kind of Urology Surgery urinal structure | |
| CN209186774U (en) | Integrated hysteroscopic surgery specimen collection and liquid metering device | |
| CN219022305U (en) | Multifunctional blood collection bag device capable of early warning | |
| CN207055624U (en) | A kind of disposable urethral catheterization bag | |
| CN220513089U (en) | An improved fluid collection bag for shoulder joint surgery | |
| CN222533281U (en) | Obstetrical blood collection device | |
| CN222604591U (en) | A disposable toilet seat matching urine measuring bag | |
| CN214073309U (en) | Urine storage barrel for 24-hour quantitative test of urine protein | |
| CN215191810U (en) | Vagina imbedding type uterus swelling liquid and tissue specimen collecting device | |
| CN215503130U (en) | Urine collector | |
| CN211985505U (en) | Urine collection device for urology surgery | |
| CN222347847U (en) | Disposable self-sterilizing infectious waste collecting bag |
Legal Events
| Date | Code | Title | Description |
|---|---|---|---|
| PB01 | Publication | ||
| PB01 | Publication | ||
| SE01 | Entry into force of request for substantive examination | ||
| SE01 | Entry into force of request for substantive examination | ||
| RJ01 | Rejection of invention patent application after publication |
Application publication date: 20210629 |
|
| RJ01 | Rejection of invention patent application after publication |