CN113040641A - Outdoor window cleaning piece and window cleaner capable of crossing indoor obstacle - Google Patents

Outdoor window cleaning piece and window cleaner capable of crossing indoor obstacle Download PDF

Info

Publication number
CN113040641A
CN113040641A CN202110538110.3A CN202110538110A CN113040641A CN 113040641 A CN113040641 A CN 113040641A CN 202110538110 A CN202110538110 A CN 202110538110A CN 113040641 A CN113040641 A CN 113040641A
Authority
CN
China
Prior art keywords
indoor
outdoor
magnet
window
cleaning member
Prior art date
Legal status (The legal status is an assumption and is not a legal conclusion. Google has not performed a legal analysis and makes no representation as to the accuracy of the status listed.)
Granted
Application number
CN202110538110.3A
Other languages
Chinese (zh)
Other versions
CN113040641B (en
Inventor
徐桂凤
Current Assignee (The listed assignees may be inaccurate. Google has not performed a legal analysis and makes no representation or warranty as to the accuracy of the list.)
Shandong Gerui Construction Engineering Co.,Ltd.
Original Assignee
Linhai Small Walnut Industrial Design Service Department
Priority date (The priority date is an assumption and is not a legal conclusion. Google has not performed a legal analysis and makes no representation as to the accuracy of the date listed.)
Filing date
Publication date
Application filed by Linhai Small Walnut Industrial Design Service Department filed Critical Linhai Small Walnut Industrial Design Service Department
Priority to CN202110538110.3A priority Critical patent/CN113040641B/en
Publication of CN113040641A publication Critical patent/CN113040641A/en
Application granted granted Critical
Publication of CN113040641B publication Critical patent/CN113040641B/en
Active legal-status Critical Current
Anticipated expiration legal-status Critical

Links

Images

Classifications

    • AHUMAN NECESSITIES
    • A47FURNITURE; DOMESTIC ARTICLES OR APPLIANCES; COFFEE MILLS; SPICE MILLS; SUCTION CLEANERS IN GENERAL
    • A47LDOMESTIC WASHING OR CLEANING; SUCTION CLEANERS IN GENERAL
    • A47L1/00Cleaning windows
    • A47L1/06Hand implements
    • A47L1/12Hand implements for cleaning both sides simultaneously

Landscapes

  • Wing Frames And Configurations (AREA)

Abstract

室外擦窗件及可跨越室内障碍的擦窗器,该室外擦窗件设有分别与第一室内擦窗件的第一室内磁体、第二室内擦窗件的第二室内磁体相互吸引固定的第一室外磁体和第二室外磁体,当所述第一室外磁体和所述第一室内磁体靠近所述框体时,所述第二室内磁体可在玻璃内侧的框体背向所述第一室内磁体的一侧与所述第二室外磁体相互吸引固定所述室外擦窗件,所述第一室内磁体或所述第二室内磁体可单独与所述第一室外磁体、所述第二室外磁体配合固定所述室外擦窗件。

Figure 202110538110

An outdoor window cleaning member and a window cleaning device capable of spanning indoor obstacles, the outdoor window cleaning member is provided with a first indoor magnet of the first indoor window cleaning member and a second indoor magnet of the second indoor window cleaning member respectively attracted and fixed to each other. The first outdoor magnet and the second outdoor magnet, when the first outdoor magnet and the first indoor magnet are close to the frame, the second indoor magnet can be on the inside of the glass frame facing away from the first One side of the indoor magnet and the second outdoor magnet attract each other to fix the outdoor window-cleaning member, and the first indoor magnet or the second indoor magnet can be independently connected with the first outdoor magnet and the second outdoor magnet. The magnet cooperates to fix the outdoor window cleaning member.

Figure 202110538110

Description

Outdoor window cleaning piece and window cleaner capable of crossing indoor obstacle
Technical Field
The invention relates to the field of cleaning products, in particular to an outdoor window wiper and a window wiper capable of crossing indoor obstacles.
Background
The metal frame of the hidden frame glass curtain wall is hidden on the back of the glass, and the metal frame cannot be seen outdoors. The hidden frame glass curtain wall can be divided into a full hidden frame glass curtain wall and a semi hidden frame glass curtain wall, and the semi hidden frame glass curtain wall can be horizontally exposed, vertically exposed and horizontally exposed or vertically exposed and horizontally exposed. The hidden frame glass curtain wall has the structural characteristics that: the glass is arranged on the outer side of the aluminum frame (frame body), and the glass is bonded with the aluminum frame by using the sealing glue with the silicone structure. The load of the curtain wall is mainly born by the sealant.
The chinese patent publication No. CN108236430A discloses an adjustable magnetic double-sided window wiper, and specifically discloses a magnetic component 111 (a first outdoor magnet), a magnetic component 21 (a first indoor magnet), a first wiper 1 (a first indoor wiper), a second wiper 2 (a second wiper), a wiper strip mechanism 5 (a wiper strip), a handle 3, a magnetic adjustment mechanism 11 (a bolt), and a first housing 11122 (a first adjustment frame).
In the prior art, the window cleaner cannot work continuously when meeting indoor obstacles (frame bodies), and the outdoor window cleaner needs to be placed outside glass needing to be cleaned by a user.
Disclosure of Invention
The invention aims to provide an outdoor window wiper capable of crossing indoor obstacles and a window wiper capable of crossing indoor obstacles.
In order to achieve the above object, the present invention provides an outdoor window cleaning device, which includes a first outdoor magnet and a second outdoor magnet that are respectively attracted and fixed to a first indoor magnet of a first indoor window cleaning device and a second indoor magnet of a second indoor window cleaning device, wherein when the first outdoor magnet and the first indoor magnet are close to a frame body, the second indoor magnet can attract and fix the outdoor window cleaning device to the second outdoor magnet on a side of the frame body on an inner side of a glass opposite to the first indoor magnet, and the first indoor magnet or the second indoor magnet can be independently matched with the first outdoor magnet and the second outdoor magnet to fix the outdoor window cleaning device.
In order to achieve the above object, the present invention further provides a window cleaner capable of crossing over an indoor obstacle, the window cleaner being used for cleaning glass, the glass being fixed with a frame body indoors, the window cleaner comprising a first indoor window cleaning member and an outdoor window cleaning member, the first indoor window cleaning member and the outdoor window cleaning member being respectively provided with a first indoor magnet and a first outdoor magnet which are attracted to each other, the window cleaner further comprising a second indoor window cleaning member, the outdoor window cleaning member being further provided with a second outdoor magnet, the second indoor window cleaning member being provided with a second indoor magnet which is attracted to the second outdoor magnet and is attracted to each other, when the first outdoor magnet and the first indoor magnet are close to the frame body, the second indoor magnet is capable of mutually attracting to fix the outdoor window cleaning member with the second outdoor magnet on a side of the frame body opposite to the first indoor magnet, and the first indoor magnet or the second indoor magnet is capable of being independently fixed to the first outdoor magnet, The second outdoor magnet is matched and fixed with the outdoor window wiping piece.
In one embodiment of the present invention, a clear distance between the first outdoor wiping magnet and the second outdoor magnet is greater than or equal to a width of the frame body.
In one embodiment of the invention, the outdoor window wiping piece comprises a first outdoor window wiping part shell for accommodating and fixing the first outdoor magnet, a second outdoor window wiping part shell for accommodating and fixing the second outdoor magnet, and a connecting beam for connecting and fixing the first outdoor window wiping part shell and the second outdoor window wiping part shell, wherein a wiper and/or a water scraping strip is arranged on one surface of the first outdoor window wiping part shell and/or the second outdoor window wiping part shell facing the glass.
In one embodiment of the invention, the first indoor window wiper comprises a first indoor shell for accommodating the first indoor magnet, the second indoor window wiper comprises a second indoor shell for accommodating the second indoor magnet, and the side, facing the glass, of the first indoor shell and/or the second indoor shell is/are provided with a wiper and/or a water scraping strip.
In an embodiment of the present invention, the first indoor housing and/or the second indoor housing is provided with a first adjusting bracket for fixing the first indoor magnet and/or a second adjusting bracket, a first adjusting screw and/or a second adjusting screw for fixing the second indoor magnet, which are used for adjusting the distance between the first indoor magnet and the glass and the second indoor magnet, and the first adjusting screw and the second adjusting screw respectively penetrate through the first indoor housing and the second indoor housing and are then in threaded connection with the first adjusting bracket and the second adjusting bracket.
In one embodiment of the invention, the first outdoor window wiping part shell and/or the second outdoor window wiping part shell is provided with a sliding guide surface towards one side edge of the glass.
In one embodiment of the present invention, the outdoor window cleaning element is provided with a safety rope, and the safety rope is fixedly connected with the first outdoor window cleaning part shell or the second outdoor window cleaning part or the connecting beam.
In one embodiment of the present invention, a handle or a rod is disposed on a side of the first indoor housing and/or the second indoor housing facing away from the glass.
In one embodiment of the present invention, the connection beam is fixed to the first outdoor window cleaning unit casing and the first outdoor window cleaning unit casing by bolts.
The outdoor window wiping piece is placed outside the glass through the window, the first indoor magnet of the first indoor window wiping piece and the first outdoor magnet of the outdoor window wiping piece are matched and fixed with the outdoor window wiping piece, the outdoor window wiping piece is moved by moving the first indoor window wiping piece to wipe the glass in the first area, when an indoor obstacle needs to be crossed, the first indoor window wiping piece is controlled to adjust the position of the outdoor window wiping piece to enable the position of the second outdoor magnet to be located on the other side of the frame body, the second indoor window wiping piece and the second outdoor magnet are matched and fixed with the outdoor window wiping piece, the connection between the first indoor window wiping piece and the outdoor magnet is released, and the second indoor window wiping piece is moved to clean the glass in the second area.
Drawings
Fig. 1 is a schematic structural view of a window cleaner capable of crossing an indoor obstacle according to a first embodiment of the present invention.
Fig. 2 is a schematic structural diagram of a window wiper capable of crossing an indoor obstacle according to a second embodiment of the present invention.
Detailed Description
The technical solutions in the embodiments of the present invention will be clearly and completely described below with reference to the drawings in the embodiments of the present invention, and it is obvious that the described embodiments are only a part of the embodiments of the present invention, and not all of the embodiments. All other embodiments, which can be derived by a person skilled in the art from the embodiments given herein without making any creative effort, shall fall within the protection scope of the present invention.
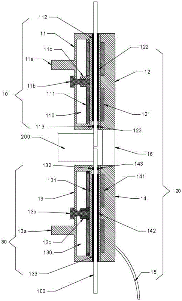
Referring to fig. 1, a window cleaner capable of crossing an indoor obstacle according to a first embodiment of the present invention is used for cleaning a glass 100, a frame 200 is fixed in a room of the glass 100, the window cleaner includes a first indoor window cleaning member 10, an outdoor window cleaning member 20, and a second indoor window cleaning member 30, the first indoor window cleaning member 10 and the outdoor window cleaning member 20 are respectively provided with a first indoor magnet 111 and a first outdoor magnet 121 that attract each other, the outdoor window cleaning member 20 is further provided with a second outdoor magnet 141, the second indoor window cleaning member 30 is provided with a second indoor magnet 131 that attracts each other and fixes the outdoor window cleaning member 20 with the second outdoor magnet 141, when the first outdoor magnet 121 and the first indoor magnet 111 are close to the frame 200, the second indoor magnet 131 attracts each other and fixes the outdoor window cleaning member 20 with the second outdoor magnet 141 on a side of the frame 200 opposite to the first indoor magnet 111, and the first indoor magnet 111 or the second indoor magnet 131 may be independent of the first outdoor magnet 121, and the outdoor magnet 121, The second outdoor magnet 141 is fitted to fix the outdoor wiping window 20.
The clear distance between the first outdoor magnet 121 and the second outdoor magnet 141 is greater than or equal to the width of the frame 200.
The outdoor window wiper 20 comprises a first outdoor window wiping part shell 12 for accommodating and fixing the first outdoor magnet 121, a second outdoor window wiping part shell 14 for accommodating and fixing the second outdoor magnet 141, and a connecting beam 16 for connecting and fixing the first outdoor window wiping part shell 12 and the second outdoor window wiping part shell 14, wherein the side, facing the glass 100, of the first outdoor window wiping part shell 12 and/or the second outdoor window wiping part shell 14 is provided with wipers 122,142 and/or a water scraping strip 123,143.
The first indoor window wiper 10 comprises a first indoor housing 11 for accommodating a first indoor magnet 111, the second indoor window wiper 30 comprises a second indoor housing 13 for accommodating a second indoor magnet 131, and the side of the first indoor housing 11 and/or the second indoor housing 13 facing the glass 100 is provided with a wiper 112,132 and/or a wiper strip 113, 133.
The first indoor housing 11 and/or the second indoor housing 13 are provided with a first adjusting bracket 11c for fixing the first indoor magnet 111 and/or a second adjusting bracket 13c for fixing the second indoor magnet 131, a first adjusting screw 11b and/or a second adjusting screw 13b for adjusting the distance between the first indoor magnet 111 and the second indoor magnet 131 and the glass 100, and the first adjusting screw 11b and the second adjusting screw 13b are respectively threaded with the first adjusting bracket 11c and the second adjusting bracket 13c after penetrating through the first indoor housing 11 and the second indoor housing 13. The first indoor housing 11 and/or the second indoor housing 13 is provided with a first movable chamber 110 and a second movable chamber 120 of a first adjusting bracket 11c and a second adjusting bracket 13c
Preferably, the first outdoor window cleaning housing 12 and/or the second outdoor window cleaning housing 14 has a slide guide surface on one side edge facing the glass 100.
The outdoor window cleaning element 20 is provided with a safety rope, and the safety rope is fixedly connected with the first outdoor window cleaning part shell 12 or the second outdoor window cleaning part or the connecting beam 16. The first indoor housing 11 and/or the second indoor housing 13 is provided with handles 11a,13a on a side facing away from the glass 100. In other embodiments, a side of the first indoor housing 11 and/or the second indoor housing 13 facing away from the glass 100 is provided with a rod. The connecting beam 16 is fixed to the first outdoor wiper housing 12 and the first outdoor wiper housing 12 by bolts.
In the present invention, after the outdoor wiping window 20 is placed outside the glass 100 through the window, the first indoor magnet 111 of the first indoor wiping window 10 and the first outdoor magnet 121 of the outdoor wiping window 20 are used to cooperate with each other to fix the outdoor wiping window 20, the first indoor wiping window 10 is moved to wipe the glass 100 in the first area, when an indoor obstacle needs to be overcome, the first indoor wiping window 10 is controlled to adjust the position of the outdoor wiping window 20 so that the position of the second outdoor magnet 141 is located at the other side of the frame 200, the second indoor wiping window 30 and the second outdoor magnet 141 are used to cooperate with each other to fix the outdoor wiping window 20, the connection between the first indoor wiping window 10 and the outdoor magnet is released, and the second indoor wiping window 30 is moved to clean the glass 100 in the second area.
Referring to fig. 2, in the present embodiment, the outdoor window cleaner fixes the first outdoor magnet 121 and the second outdoor magnet 141 through a housing 201.
Although embodiments of the present invention have been shown and described, it will be appreciated by those skilled in the art that changes, modifications, substitutions and alterations can be made in these embodiments without departing from the principles and spirit of the invention, the scope of which is defined in the appended claims and their equivalents.

Claims (10)

1.一种室外擦窗件,其特征在于,该室外擦窗件设有分别与第一室内擦窗件的第一室内磁体、第二室内擦窗件的第二室内磁体相互吸引固定的第一室外磁体和第二室外磁体,当所述第一室外磁体和所述第一室内磁体靠近所述框体时,所述第二室内磁体可在玻璃内侧的框体背向所述第一室内磁体的一侧与所述第二室外磁体相互吸引固定所述室外擦窗件,所述第一室内磁体或所述第二室内磁体可单独与所述第一室外磁体、所述第二室外磁体配合固定所述室外擦窗件。1. An outdoor window-cleaning member is characterized in that, the outdoor window-cleaning member is provided with the first indoor magnet of the first indoor window-cleaning member, the second indoor magnet of the second indoor window-wiping member is attracted and fixed to each other. An outdoor magnet and a second outdoor magnet, when the first outdoor magnet and the first indoor magnet are close to the frame, the second indoor magnet can be in the frame inside the glass facing away from the first indoor One side of the magnet and the second outdoor magnet attract each other to fix the outdoor window cleaning member, and the first indoor magnet or the second indoor magnet can be independently connected with the first outdoor magnet and the second outdoor magnet The outdoor window cleaning member is fixed in cooperation. 2.一种可跨越室内障碍的擦窗器,用于擦拭玻璃,该玻璃室内固定有框体,该擦窗器包括第一室内擦窗件、室外擦窗件,该第一室内擦窗件、该室外擦窗件分别设有相互吸引的第一室内磁体、第一室外磁体,其特征在于,还包括第二室内擦窗件,该室外擦窗件还设有第二室外磁体,该第二室内擦窗件设有可与该第二室外磁体相互吸引的相互吸引的第二室内磁体,所述第一室外磁体和所述第一室内磁体靠近所述框体时,所述第二室内磁体可在所述框体背向所述第一室内磁体的一侧与所述第二室外磁体相互吸引固定所述室外擦窗件,所述第一室内磁体或所述第二室内磁体可单独与所述第一室外磁体、所述第二室外磁体配合固定所述室外擦窗件。2. A window cleaner capable of spanning indoor obstacles, for wiping glass, a frame is fixed in the glass room, the window cleaner comprising a first indoor window cleaning member and an outdoor window cleaning member, the first indoor window cleaning member , The outdoor window cleaning member is respectively provided with a first indoor magnet and a first outdoor magnet that attract each other, and it is characterized in that it also includes a second indoor window cleaning member, and the outdoor window cleaning member is also provided with a second outdoor magnet. The two indoor window cleaning members are provided with a second indoor magnet that can attract each other with the second outdoor magnet. When the first outdoor magnet and the first indoor magnet are close to the frame, the second indoor magnet The magnet can attract and fix the outdoor window-cleaning member on the side of the frame facing away from the first indoor magnet and the second outdoor magnet, and the first indoor magnet or the second indoor magnet can be used independently The outdoor window cleaning member is fixed in cooperation with the first outdoor magnet and the second outdoor magnet. 3.根据权利要求2所述的可跨越室内障碍的擦窗器,其特征在于,所述第一室外擦磁体和所述第二室外磁体之间的净距大于或等于所述框体的宽度。3 . The window cleaner capable of spanning indoor obstacles according to claim 2 , wherein the clear distance between the first outdoor wiping magnet and the second outdoor magnet is greater than or equal to the width of the frame body. 4 . . 4.根据权利要求3所述的可跨越室内障碍的擦窗器,其特征在于,所述室外擦窗件包括容纳并固定所述第一室外磁体的第一室外擦窗部壳体、容纳并固定所述第二室外磁体的第二室外擦窗部壳体、用于连接固定所述第一室外擦窗部壳体所述第一室外擦窗部壳体、所述第二室外擦窗部壳体的连接梁,所述第一室外擦窗部壳体和\或所述第二室外擦窗部壳体朝向所述玻璃的一面设有擦拭物和\或刮水条。4 . The window cleaner capable of crossing indoor obstacles according to claim 3 , wherein the outdoor window cleaning member comprises a first outdoor window cleaning part housing for accommodating and fixing the first outdoor magnet, accommodating and a second outdoor window-cleaning part housing for fixing the second outdoor magnet; the first outdoor window-cleaning part housing and the second outdoor window-cleaning part for connecting and fixing the first outdoor window-cleaning part housing The connecting beam of the casing, the side of the first outdoor window cleaning part casing and/or the second outdoor window cleaning part casing facing the glass is provided with wipers and/or wiper strips. 5.根据权利要求4所述的可跨越室内障碍的擦窗器,其特征在于,所述第一室内擦窗件包括容纳所述第一室内磁体的第一室内壳体,所述第二室内擦窗件包括容纳所述第二室内磁体的第二室内壳体,该第一室内壳体和/或该第二室内壳体朝向所述玻璃的一面设有擦拭物和\或刮水条。5 . The window cleaner capable of spanning indoor obstacles according to claim 4 , wherein the first indoor window cleaning member comprises a first indoor housing for accommodating the first indoor magnet, and the second indoor window cleaner The window wiping member comprises a second indoor housing that accommodates the second indoor magnet, and a wiper and/or a wiper strip is provided on the side of the first indoor housing and/or the second indoor housing facing the glass. 6.根据权利要求5所述的可跨越室内障碍的擦窗器,其特征在于,所述第一室内壳体和/或所述第二室内壳体设有用于调节所述第一室内磁体、所述第二室内磁体与所述玻璃之间距离的固定所述第一室内磁体的第一调节架和/或固定所述第二室内磁体的第二调节架、第一调节螺杆和/或第二调节螺杆,该第一调节螺杆、该第二调节螺杆分别穿过所述第一室内壳体、所述第二室内壳体后与所述第一调节架、所述第二调节架螺纹连接。6. The window cleaner according to claim 5, wherein the first indoor housing and/or the second indoor housing are provided with a magnet for adjusting the first indoor, The distance between the second indoor magnet and the glass is a first adjusting frame for fixing the first indoor magnet and/or a second adjusting frame, a first adjusting screw and/or a second adjusting frame for fixing the second indoor magnet. Two adjusting screws, the first adjusting screw and the second adjusting screw pass through the first and second indoor housings respectively and are connected with the first adjusting frame and the second adjusting frame by screw thread . 7.根据权利要求6所述的可跨越室内障碍的擦窗器,其特征在于,所述第一室外擦窗部壳体和\或所述第二室外擦窗部壳体朝向所述玻璃的一面边缘设有滑动引导面。7. The window cleaner capable of spanning indoor obstacles according to claim 6, wherein the first outdoor window cleaning portion housing and/or the second outdoor window cleaning portion housing face the edge of the glass. One edge has a sliding guide surface. 8.根据权利要求7所述的可跨越室内障碍的擦窗器,其特征在于,所述室外擦窗件设有安全绳,该安全绳与所述第一室外擦窗部壳体或所述第二室外擦窗部或所述连接梁连接固定。8 . The window cleaner capable of crossing indoor obstacles according to claim 7 , wherein the outdoor window cleaning member is provided with a safety rope, and the safety rope is connected to the first outdoor window cleaning part housing or the The second outdoor window cleaning part or the connecting beam is connected and fixed. 9.根据权利要求8所述的可跨越室内障碍的擦窗器,其特征在于,所述第一室内壳体和/或所述第二室内壳体背向所述玻璃的一面设有手柄或杆体。9 . The window cleaner capable of crossing indoor obstacles according to claim 8 , wherein a handle or a handle is provided on the side of the first indoor casing and/or the second indoor casing facing away from the glass. rod body. 10.根据权利要求9所述的可跨越室内障碍的擦窗器,其特征在于,所述连接梁通过螺栓与所述第一室外擦窗部壳体、所述第一室外擦窗部壳体固定。10 . The window cleaner according to claim 9 , wherein the connecting beam is connected to the first outdoor window cleaning portion housing and the first outdoor window cleaning portion housing through bolts. 11 . fixed.
CN202110538110.3A 2021-05-18 2021-05-18 Outdoor window cleaning device and window cleaning device capable of crossing indoor obstacles Active CN113040641B (en)

Priority Applications (1)

Application Number Priority Date Filing Date Title
CN202110538110.3A CN113040641B (en) 2021-05-18 2021-05-18 Outdoor window cleaning device and window cleaning device capable of crossing indoor obstacles

Applications Claiming Priority (1)

Application Number Priority Date Filing Date Title
CN202110538110.3A CN113040641B (en) 2021-05-18 2021-05-18 Outdoor window cleaning device and window cleaning device capable of crossing indoor obstacles

Publications (2)

Publication Number Publication Date
CN113040641A true CN113040641A (en) 2021-06-29
CN113040641B CN113040641B (en) 2025-05-02

Family

ID=76518358

Family Applications (1)

Application Number Title Priority Date Filing Date
CN202110538110.3A Active CN113040641B (en) 2021-05-18 2021-05-18 Outdoor window cleaning device and window cleaning device capable of crossing indoor obstacles

Country Status (1)

Country Link
CN (1) CN113040641B (en)

Citations (7)

* Cited by examiner, † Cited by third party
Publication number Priority date Publication date Assignee Title
JPH06339440A (en) * 1993-06-01 1994-12-13 Nippon Kentetsu Co Ltd Device for cleaning glass surface of fixed sash
CN207768298U (en) * 2017-09-29 2018-08-28 彭俊毫 A kind of double-sided glass window cleaner
CN108903765A (en) * 2018-07-06 2018-11-30 河北洁仕宝日用塑料制品有限公司 Window cleaner and its application method
CN109744934A (en) * 2019-01-29 2019-05-14 长沙锐旭工程技术服务有限公司 A kind of flexible window cleaner
CN110151047A (en) * 2019-05-21 2019-08-23 广州晒帝智能科技有限公司 Automatic window-cleaning robot and its driving device for crossing obstacles
CN210541297U (en) * 2019-07-11 2020-05-19 罗仁杰 A magnetic adsorption arc glass cleaner
CN215838671U (en) * 2021-05-18 2022-02-18 临海市小核桃工业设计服务部 Outdoor window cleaning piece and window cleaner capable of crossing indoor obstacle

Patent Citations (7)

* Cited by examiner, † Cited by third party
Publication number Priority date Publication date Assignee Title
JPH06339440A (en) * 1993-06-01 1994-12-13 Nippon Kentetsu Co Ltd Device for cleaning glass surface of fixed sash
CN207768298U (en) * 2017-09-29 2018-08-28 彭俊毫 A kind of double-sided glass window cleaner
CN108903765A (en) * 2018-07-06 2018-11-30 河北洁仕宝日用塑料制品有限公司 Window cleaner and its application method
CN109744934A (en) * 2019-01-29 2019-05-14 长沙锐旭工程技术服务有限公司 A kind of flexible window cleaner
CN110151047A (en) * 2019-05-21 2019-08-23 广州晒帝智能科技有限公司 Automatic window-cleaning robot and its driving device for crossing obstacles
CN210541297U (en) * 2019-07-11 2020-05-19 罗仁杰 A magnetic adsorption arc glass cleaner
CN215838671U (en) * 2021-05-18 2022-02-18 临海市小核桃工业设计服务部 Outdoor window cleaning piece and window cleaner capable of crossing indoor obstacle

Also Published As

Publication number Publication date
CN113040641B (en) 2025-05-02

Similar Documents

Publication Publication Date Title
CN215838671U (en) Outdoor window cleaning piece and window cleaner capable of crossing indoor obstacle
CN108903765A (en) Window cleaner and its application method
WO2012166996A9 (en) Cleaning system for nonporous surfaces
CN105769046A (en) Glass cleaning device with adjustable magnetic force
CN113040641A (en) Outdoor window cleaning piece and window cleaner capable of crossing indoor obstacle
KR102132968B1 (en) Window cleaning apparatus
CN209761186U (en) Environment-friendly energy-saving aluminum alloy window
KR100531254B1 (en) Structure of window for cleaning
CN105769047B (en) A kind of family expenses window cleaner
CN211573303U (en) Lighting window for green building lighting room
CN102797411A (en) Self-cleaning window
CN212117737U (en) a decorative mirror
CN221682842U (en) A casement window
US20150020337A1 (en) Built-in wiper system for single and multiple planar surfaces
JP4426335B2 (en) Indoor air purification system
CN213910009U (en) Novel easy-to-clean aluminum alloy door and window
CN211342631U (en) A kind of aluminum alloy double-layer shutter
CN221450524U (en) Door and window with flip structure
CN209915814U (en) Mini shower room screen structure
CN222633162U (en) Dustproof aluminum alloy window convenient to clean
CN220469738U (en) Screen window hidden magnetic stripe
CN217872418U (en) Nylon transmission door and window hardware made of PA66 nylon
CN214659658U (en) Insect-proof wind-resistant aluminum alloy door and window
CN215583984U (en) Special quick drainage water guide door and window of high-rise building
CN207863833U (en) Dismountable fixing device

Legal Events

Date Code Title Description
PB01 Publication
PB01 Publication
SE01 Entry into force of request for substantive examination
SE01 Entry into force of request for substantive examination
TA01 Transfer of patent application right

Effective date of registration: 20250407

Address after: No. 2789 Nantianmen Street, High tech Zone, Tai'an City, Shandong Province, China 271000

Applicant after: Shandong Gerui Construction Engineering Co.,Ltd.

Country or region after: China

Address before: 317000 no.6-185, fangjianong village, Datian street, Linhai City, Taizhou City, Zhejiang Province

Applicant before: Linhai small walnut Industrial Design Service Department

Country or region before: China

TA01 Transfer of patent application right
GR01 Patent grant
GR01 Patent grant