CN113023140A - Categorised save set of progesterone raw materials - Google Patents
Categorised save set of progesterone raw materials Download PDFInfo
- Publication number
- CN113023140A CN113023140A CN202110249822.3A CN202110249822A CN113023140A CN 113023140 A CN113023140 A CN 113023140A CN 202110249822 A CN202110249822 A CN 202110249822A CN 113023140 A CN113023140 A CN 113023140A
- Authority
- CN
- China
- Prior art keywords
- base
- raw material
- progesterone
- storing device
- filter
- Prior art date
- Legal status (The legal status is an assumption and is not a legal conclusion. Google has not performed a legal analysis and makes no representation as to the accuracy of the status listed.)
- Granted
Links
- RJKFOVLPORLFTN-LEKSSAKUSA-N Progesterone Chemical compound C1CC2=CC(=O)CC[C@]2(C)[C@@H]2[C@@H]1[C@@H]1CC[C@H](C(=O)C)[C@@]1(C)CC2 RJKFOVLPORLFTN-LEKSSAKUSA-N 0.000 title claims abstract description 72
- 239000000186 progesterone Substances 0.000 title claims abstract description 35
- 229960003387 progesterone Drugs 0.000 title claims abstract description 35
- 239000002994 raw material Substances 0.000 title claims abstract description 26
- 239000000463 material Substances 0.000 claims abstract description 32
- 230000007246 mechanism Effects 0.000 claims abstract description 9
- 238000007599 discharging Methods 0.000 claims abstract description 4
- 238000007790 scraping Methods 0.000 claims description 19
- 238000004321 preservation Methods 0.000 claims description 5
- 230000000694 effects Effects 0.000 description 7
- OKKJLVBELUTLKV-UHFFFAOYSA-N Methanol Chemical compound OC OKKJLVBELUTLKV-UHFFFAOYSA-N 0.000 description 6
- 241000220317 Rosa Species 0.000 description 4
- HEMHJVSKTPXQMS-UHFFFAOYSA-M Sodium hydroxide Chemical compound [OH-].[Na+] HEMHJVSKTPXQMS-UHFFFAOYSA-M 0.000 description 3
- 238000004519 manufacturing process Methods 0.000 description 3
- 238000009423 ventilation Methods 0.000 description 3
- OKTJSMMVPCPJKN-UHFFFAOYSA-N Carbon Chemical compound [C] OKTJSMMVPCPJKN-UHFFFAOYSA-N 0.000 description 2
- 230000009286 beneficial effect Effects 0.000 description 2
- 230000005540 biological transmission Effects 0.000 description 2
- 238000010586 diagram Methods 0.000 description 2
- 229940088597 hormone Drugs 0.000 description 2
- 239000005556 hormone Substances 0.000 description 2
- 210000001672 ovary Anatomy 0.000 description 2
- 230000002265 prevention Effects 0.000 description 2
- 239000000583 progesterone congener Substances 0.000 description 2
- 238000000926 separation method Methods 0.000 description 2
- 229920001817 Agar Polymers 0.000 description 1
- 235000001674 Agaricus brunnescens Nutrition 0.000 description 1
- WQZGKKKJIJFFOK-GASJEMHNSA-N Glucose Natural products OC[C@H]1OC(O)[C@H](O)[C@@H](O)[C@@H]1O WQZGKKKJIJFFOK-GASJEMHNSA-N 0.000 description 1
- 239000001888 Peptone Substances 0.000 description 1
- 108010080698 Peptones Proteins 0.000 description 1
- 239000004721 Polyphenylene oxide Substances 0.000 description 1
- 240000008042 Zea mays Species 0.000 description 1
- 235000005824 Zea mays ssp. parviglumis Nutrition 0.000 description 1
- 235000002017 Zea mays subsp mays Nutrition 0.000 description 1
- 238000010521 absorption reaction Methods 0.000 description 1
- 239000008272 agar Substances 0.000 description 1
- WQZGKKKJIJFFOK-VFUOTHLCSA-N beta-D-glucose Chemical compound OC[C@H]1O[C@@H](O)[C@H](O)[C@@H](O)[C@@H]1O WQZGKKKJIJFFOK-VFUOTHLCSA-N 0.000 description 1
- 230000000975 bioactive effect Effects 0.000 description 1
- 229940041514 candida albicans extract Drugs 0.000 description 1
- 235000005822 corn Nutrition 0.000 description 1
- 239000013530 defoamer Substances 0.000 description 1
- 230000000593 degrading effect Effects 0.000 description 1
- MNNHAPBLZZVQHP-UHFFFAOYSA-N diammonium hydrogen phosphate Chemical compound [NH4+].[NH4+].OP([O-])([O-])=O MNNHAPBLZZVQHP-UHFFFAOYSA-N 0.000 description 1
- 229910000388 diammonium phosphate Inorganic materials 0.000 description 1
- 235000019838 diammonium phosphate Nutrition 0.000 description 1
- 238000001035 drying Methods 0.000 description 1
- 238000005516 engineering process Methods 0.000 description 1
- 238000000605 extraction Methods 0.000 description 1
- 238000000855 fermentation Methods 0.000 description 1
- 230000004151 fermentation Effects 0.000 description 1
- 239000007789 gas Substances 0.000 description 1
- 239000008103 glucose Substances 0.000 description 1
- 239000007788 liquid Substances 0.000 description 1
- 238000000034 method Methods 0.000 description 1
- 244000005700 microbiome Species 0.000 description 1
- 238000012986 modification Methods 0.000 description 1
- 230000004048 modification Effects 0.000 description 1
- 229910000402 monopotassium phosphate Inorganic materials 0.000 description 1
- 235000019796 monopotassium phosphate Nutrition 0.000 description 1
- 230000016087 ovulation Effects 0.000 description 1
- 238000004806 packaging method and process Methods 0.000 description 1
- 235000019319 peptone Nutrition 0.000 description 1
- PJNZPQUBCPKICU-UHFFFAOYSA-N phosphoric acid;potassium Chemical compound [K].OP(O)(O)=O PJNZPQUBCPKICU-UHFFFAOYSA-N 0.000 description 1
- 229920000570 polyether Polymers 0.000 description 1
- 239000000843 powder Substances 0.000 description 1
- 230000035935 pregnancy Effects 0.000 description 1
- 230000006259 progesterone secretion Effects 0.000 description 1
- 108090000623 proteins and genes Proteins 0.000 description 1
- 102000004169 proteins and genes Human genes 0.000 description 1
- 238000000746 purification Methods 0.000 description 1
- 239000007787 solid Substances 0.000 description 1
- 239000000758 substrate Substances 0.000 description 1
- 208000024891 symptom Diseases 0.000 description 1
- 239000002699 waste material Substances 0.000 description 1
- 239000012138 yeast extract Substances 0.000 description 1
Images
Classifications
-
- B—PERFORMING OPERATIONS; TRANSPORTING
- B65—CONVEYING; PACKING; STORING; HANDLING THIN OR FILAMENTARY MATERIAL
- B65D—CONTAINERS FOR STORAGE OR TRANSPORT OF ARTICLES OR MATERIALS, e.g. BAGS, BARRELS, BOTTLES, BOXES, CANS, CARTONS, CRATES, DRUMS, JARS, TANKS, HOPPERS, FORWARDING CONTAINERS; ACCESSORIES, CLOSURES, OR FITTINGS THEREFOR; PACKAGING ELEMENTS; PACKAGES
- B65D88/00—Large containers
- B65D88/74—Large containers having means for heating, cooling, aerating or other conditioning of contents
-
- B—PERFORMING OPERATIONS; TRANSPORTING
- B01—PHYSICAL OR CHEMICAL PROCESSES OR APPARATUS IN GENERAL
- B01D—SEPARATION
- B01D46/00—Filters or filtering processes specially modified for separating dispersed particles from gases or vapours
- B01D46/0027—Filters or filtering processes specially modified for separating dispersed particles from gases or vapours with additional separating or treating functions
-
- B—PERFORMING OPERATIONS; TRANSPORTING
- B01—PHYSICAL OR CHEMICAL PROCESSES OR APPARATUS IN GENERAL
- B01D—SEPARATION
- B01D46/00—Filters or filtering processes specially modified for separating dispersed particles from gases or vapours
- B01D46/66—Regeneration of the filtering material or filter elements inside the filter
-
- B—PERFORMING OPERATIONS; TRANSPORTING
- B08—CLEANING
- B08B—CLEANING IN GENERAL; PREVENTION OF FOULING IN GENERAL
- B08B15/00—Preventing escape of dirt or fumes from the area where they are produced; Collecting or removing dirt or fumes from that area
-
- B—PERFORMING OPERATIONS; TRANSPORTING
- B65—CONVEYING; PACKING; STORING; HANDLING THIN OR FILAMENTARY MATERIAL
- B65D—CONTAINERS FOR STORAGE OR TRANSPORT OF ARTICLES OR MATERIALS, e.g. BAGS, BARRELS, BOTTLES, BOXES, CANS, CARTONS, CRATES, DRUMS, JARS, TANKS, HOPPERS, FORWARDING CONTAINERS; ACCESSORIES, CLOSURES, OR FITTINGS THEREFOR; PACKAGING ELEMENTS; PACKAGES
- B65D90/00—Component parts, details or accessories for large containers
-
- B—PERFORMING OPERATIONS; TRANSPORTING
- B65—CONVEYING; PACKING; STORING; HANDLING THIN OR FILAMENTARY MATERIAL
- B65D—CONTAINERS FOR STORAGE OR TRANSPORT OF ARTICLES OR MATERIALS, e.g. BAGS, BARRELS, BOTTLES, BOXES, CANS, CARTONS, CRATES, DRUMS, JARS, TANKS, HOPPERS, FORWARDING CONTAINERS; ACCESSORIES, CLOSURES, OR FITTINGS THEREFOR; PACKAGING ELEMENTS; PACKAGES
- B65D90/00—Component parts, details or accessories for large containers
- B65D90/12—Supports
- B65D90/18—Castors, rolls, or the like; e.g. detachable
Landscapes
- Engineering & Computer Science (AREA)
- Mechanical Engineering (AREA)
- Chemical & Material Sciences (AREA)
- Chemical Kinetics & Catalysis (AREA)
- Combined Means For Separation Of Solids (AREA)
Abstract
The invention provides a progesterone raw material classifying and storing device. The progesterone raw material classifying and storing device comprises a base; the two storage tanks are arranged at the top of the base; the two feeding pipes are respectively arranged at the tops of the two storage tanks; the two material discharging pipes are respectively arranged at the bottoms of the two material storage tanks; the four guide wheels are arranged at the bottom of the base and distributed in a rectangular array; the four fixing mechanisms are all arranged at the bottom of the base and respectively correspond to the four guide wheels; two curb plates, two the curb plate is all fixed mounting in the top of base. The progesterone raw material classifying and storing device provided by the invention has the advantages of convenience in moving, stability in fixing and capability of exhausting redundant gas in the tank body.
Description
Technical Field
The invention relates to the technical field of progesterone production and preservation, in particular to a progesterone raw material classification and preservation device.
Background
Progesterone, also known as progesterone hormone and progestin, is a bioactive primary progestin secreted by the ovaries and has the molecular formula of C21H30O 2. Before ovulation, the daily produced progesterone hormone amount is 2-3 mg, mainly comes from ovaries, because the progesterone secretion content in part of patients is low, the pregnancy is greatly influenced, in order to treat related symptoms, people produce a large amount of progesterone and put on the market, and the production mode of progesterone is more, for example: taking phytosterol as a substrate, and selectively degrading by microorganisms to generate progesterone. The solid-liquid separation of the fermentation liquor, the extraction of the product progesterone from the solid mushroom dregs by using methanol, the separation, purification, drying and packaging to obtain the qualified progesterone product, and more raw materials are needed in the production, such as: phytosterol, methanol, sodium hydroxide, glucose, corn protein powder, a high-efficiency polyether defoamer, diammonium hydrogen phosphate, peptone, potassium dihydrogen phosphate, yeast extract, agar, activated carbon and the like.
Because above-mentioned material need keep dry when storing mostly, however its holding vessel is placed the position when actually placing mostly and is comparatively fixed, and a large amount of holding vessels are placed in same position for a long time, and it is comparatively intensive to pile up, comparatively unfavorable to the circulation of air, and the material lets in the air when putting into, and the steam in the air contacts the material in airtight space for a long time, reacts easily to cause economic loss.
Therefore, there is a need to provide a new progesterone raw material classifying and storing device to solve the above technical problems.
Disclosure of Invention
The invention aims to provide a progesterone raw material classifying and storing device which is convenient to move, relatively stable in fixation and capable of exhausting redundant gas in a tank body.
In order to solve the technical problem, the classification and preservation device for progesterone provided by the invention comprises: a base; the two storage tanks are arranged at the top of the base; the two feeding pipes are respectively arranged at the tops of the two storage tanks; the two material discharging pipes are respectively arranged at the bottoms of the two material storage tanks; the four guide wheels are arranged at the bottom of the base and distributed in a rectangular array; the four fixing mechanisms are all arranged at the bottom of the base and respectively correspond to the four guide wheels; the two side plates are fixedly arranged at the top of the base; the top plate is fixedly arranged on the tops of the two side plates; the two filter tanks are arranged at the top of the top plate; the two top covers are respectively arranged at the tops of the two filter boxes; the two air guide pipes are respectively arranged at the tops of the two material storage tanks, and the exhaust ends of the two air guide pipes are respectively communicated with the two filter tanks; the vacuum pump is arranged at the top of the base and is positioned between the two side plates; the three-way pipe is arranged at the air inlet end of the vacuum pump, and the two air inlet ends of the three-way pipe are respectively and fixedly connected with the bottoms of the two filter boxes.
Preferably, fixed establishment includes voussoir, spout, screw rod, driving plate and twists the piece, the voussoir sets up one side of guide pulley, the spout is seted up the bottom of base, the screw rod rotates to be installed on the both sides inner wall of spout, the driving plate thread bush is established on the screw rod, the bottom of driving plate extends to outside the base, the driving plate with the inner wall sliding connection of spout, the driving plate is located the voussoir is kept away from one side of guide pulley, twist the fixed cover of piece and establish on the screw rod.
Preferably, a filter element is arranged in the filter box and communicated with the three-way pipe.
Preferably, be provided with outside the filter core and scrape the frame, the pivot is rotated and is installed on the top cap, the bottom of pivot extend to in the rose box and with scrape the top fixed connection of frame, the top of pivot extends to outside the top cap.
Preferably, a motor is fixedly mounted at the top of the top cover, and an output shaft of the motor is fixedly connected with the top end of the rotating shaft.
Preferably, the casing is installed to the top bolt of top cap, the motor is located in the casing, the inboard of scraping the frame is provided with the brush, the brush with the outer wall of filter core contacts.
Preferably, the scraping frame is U-shaped, two balls are movably embedded in the top of the scraping frame, and the tops of the two balls are both in contact with the bottom of the top cover.
Preferably, one side of the transmission piece, which is attached to the wedge block, is provided with a caulking groove, and the wedge block is embedded into the caulking groove.
Preferably, one side of the wedge block, which is attached to the guide wheel, is an arc surface, and the outer ring of the twisting block is provided with anti-skid lines.
Compared with the related art, the progesterone raw material classifying and storing device provided by the invention has the following beneficial effects:
the invention provides a progesterone raw material classification and preservation device which comprises:
1. the materials can be classified and stored through the two material storage tanks on the base, the guide wheels facilitate the movement of the device, the optimal position of ventilation is ensured, the filter box can collect materials which are sucked by mistake when the vacuum pump absorbs vacuum, the subsequent collection treatment is facilitated, and the air guide pipe and the three-way pipe are responsible for air guide;
2. the guide wheel can be abutted and fixed through the wedge block in the fixing mechanism, the wedge block can be reinforced through the transmission piece driven by the screw rod, and air and materials are separated through the filter element, so that the air and the materials are prevented from being discharged outside;
3. can strike off the material that the filter core outside blockked up through scraping the frame, the exhaust effect is guaranteed in the prevention jam, through the motor as scraping a pivoted power supply, comparatively laborsaving, is convenient for install the motor through the casing, and the brush strikes off the effect better, can guarantee to scrape a pivoted smooth and easy nature through the ball, and is fixed comparatively stable through caulking groove and voussoir, difficult skew.
Drawings
Fig. 1 is a schematic structural diagram of a progesterone raw material sorting and storing device according to a preferred embodiment of the present invention;
FIG. 2 is an enlarged schematic view of portion A shown in FIG. 1;
FIG. 3 is an enlarged schematic view of a portion B shown in FIG. 2;
FIG. 4 is an enlarged schematic view of a portion C shown in FIG. 1;
fig. 5 is an enlarged structural view of a portion D shown in fig. 4.
Reference numbers in the figures: 1. a base; 2. a material storage tank; 3. a feed pipe; 4. a discharge pipe; 5. a guide wheel; 6. a wedge block; 7. a chute; 8. a screw; 9. a driving strap; 10. twisting the block; 11. a side plate; 12. a top plate; 13. a filter box; 14. a top cover; 15. an air duct; 16. a vacuum pump; 17. a three-way pipe; 18. a filter element; 19. a scraping frame; 20. a rotating shaft; 21. an electric motor.
Detailed Description
The invention is further described with reference to the following figures and embodiments.
Please refer to fig. 1-5, wherein fig. 1 is a schematic structural diagram of a progesterone raw material sorting and storing device according to a preferred embodiment of the present invention; FIG. 2 is an enlarged schematic view of portion A shown in FIG. 1; FIG. 3 is an enlarged schematic view of a portion B shown in FIG. 2; FIG. 4 is an enlarged schematic view of a portion C shown in FIG. 1; fig. 5 is an enlarged structural view of a portion D shown in fig. 4. Categorised save set of progesterone raw materials includes: a base 1; the two material storage tanks 2 are arranged at the top of the base 1; the two feeding pipes 3 are respectively arranged at the tops of the two material storage tanks 2; the two discharging pipes 4 are respectively arranged at the bottoms of the two material storage tanks 2; the four guide wheels 5 are all arranged at the bottom of the base 1, and the four guide wheels 5 are distributed in a rectangular array; the four fixing mechanisms are all arranged at the bottom of the base 1 and respectively correspond to the four guide wheels 5; the two side plates 11 are fixedly arranged at the top of the base 1; the top plate 12 is fixedly arranged on the tops of the two side plates 11; two filter boxes 13, wherein the two filter boxes 13 are arranged on the top of the top plate 12; the two top covers 14 are respectively arranged at the tops of the two filter boxes 13; the two air guide pipes 15 are respectively arranged at the tops of the two material storage tanks 2, and the exhaust ends of the two air guide pipes 15 are respectively communicated with the two filter boxes 13; a vacuum pump 16, wherein the vacuum pump 16 is arranged on the top of the base 1 and positioned between the two side plates 11; the three-way pipe 17, the three-way pipe 17 sets up on the inlet end of vacuum pump 16, two inlet ends of three-way pipe 17 respectively with two the bottom fixed connection of rose box 13 can be with the categorised save of material through two storage tanks 2 on the base 1, and guide pulley 5 makes things convenient for this device to move, guarantees the best position of ventilation, and rose box 13 can be collected the material of mistake absorption when vacuum pump 16 absorbs the vacuum, and the follow-up collection of being convenient for is handled, and air duct 15 and three-way pipe 17 are responsible for the air guide.
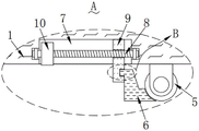
Fixed establishment includes voussoir 6, spout 7, screw rod 8, driving lug 9 and twists piece 10, voussoir 6 sets up one side of guide pulley 5, spout 7 is seted up the bottom of base 1, screw rod 8 rotates and installs on the both sides inner wall of spout 7, 9 threaded sleeves of driving lug are established on the screw rod 8, the bottom of driving lug 9 extends to outside the base 1, driving lug 9 with the inner wall sliding connection of spout 7, driving lug 9 is located voussoir 6 is kept away from one side of guide pulley 5, twist the fixed cover of piece 10 and establish on the screw rod 8, it is fixed to contradict guide pulley 5 through voussoir 6 among the fixed establishment, and 8 driven driving lugs 9 of screw rod can consolidate voussoir 6.
A filter element 18 is arranged in the filter box 13, the filter element 18 is communicated with the three-way pipe 17, and air and materials are separated through the filter element 18 to be prevented from being discharged outside.
The filter core 18 is provided with outward and scrapes frame 19, pivot 20 rotates to be installed on the top cap 14, the bottom of pivot 20 extend to in the rose box 13 and with scrape the top fixed connection of frame 19, the top of pivot 20 extends to outside the top cap 14, can scrape off the material of the outside jam of filter core 18 through scraping frame 19, the prevention is blockked up, guarantees the exhaust effect.
The top of top cap 14 is fixed with motor 21, the output shaft of motor 21 with the top fixed connection of pivot 20, through motor 21 as scrape the pivoted power supply of frame 19, it is comparatively laborsaving.
The casing is installed to the top bolt of top cap 14, motor 21 is located the casing, the inboard of scraping frame 19 is provided with the brush, the brush with the outer wall of filter core 18 contacts, is convenient for install motor 21 through the casing, and the effect is scraped to the brush is better.
The drive strap 9 with one side that the voussoir 6 was laminated mutually has seted up the caulking groove, voussoir 6 imbeds to in the caulking groove, it is comparatively stable through caulking groove and voussoir 6 are fixed, difficult skew.
One side of the wedge block 6, which is attached to the guide wheel 5, is an arc surface, and the outer ring of the twisting block 10 is provided with anti-skid lines.
The working principle of the progesterone raw material classifying and storing device provided by the invention is as follows:
after the materials are introduced into the storage tank 2 through the feeding pipe 3, the vacuum pump 16 is started, at the moment, redundant air in the storage tank 2 is introduced into the filter box 13 through the air guide pipe 15, and then is discharged into the vacuum pump 16 through the three-way pipe 17 after being filtered by the filter element 18, the filter element 18 can avoid the waste of the materials sucked by mistake, and is convenient for subsequent collection, when vacuum exhaust is performed, the motor 21 is started, the output shaft of the motor 21 drives the rotating shaft 20 and the scraping frame 19 to rotate, the outer wall of the filter element 18 can be scraped through the hairbrush on the scraping frame 19, and the blockage of the outer wall of the filter element 18 is prevented;
when the position of the device needs to be moved, the twisting block 10 is firstly twisted by the palm, the twisting block 10 drives the screw rod 8 to rotate, the driving strip 9 is driven by the screw rod 8 to rotate along the sliding groove 7, the driving strip 9 at the moment is separated from the wedge block 6, then the wedge block 6 can be taken down, and the device can be moved through the four guide wheels 5.
Compared with the related art, the progesterone raw material classifying and storing device provided by the invention has the following beneficial effects:
the invention provides a progesterone raw material classified storage device, materials can be classified and stored through two storage tanks 2 on a base 1, a guide wheel 5 is convenient for the device to move, the optimal position of ventilation is ensured, a filter box 13 can collect materials which are mistakenly sucked when a vacuum pump 16 absorbs vacuum, and is convenient for subsequent collection and treatment, an air guide pipe 15 and a three-way pipe 17 are responsible for air guide, the guide wheel 5 can be butted and fixed through a wedge block 6 in a fixing mechanism, a driving sheet 9 driven by a screw 8 can reinforce the wedge block 6, air and the materials are separated through a filter element 18 and are prevented from being discharged outside, the materials blocked outside the filter element 18 can be scraped through a scraping frame 19, blockage is prevented, an exhaust effect is ensured, the motor 21 is used as a power source for rotating the scraping frame 19, labor is saved, the motor 21 is convenient to install through a shell, and the brush scraping effect is better, can guarantee through the ball to scrape frame 19 pivoted smoothness nature, it is comparatively stable through caulking groove and voussoir 6 fixed, difficult skew.
It should be noted that the device structure and the accompanying drawings of the present invention mainly describe the principle of the present invention, and in the technology of the design principle, the arrangement of the power mechanism, the power supply system, the control system, and the like of the device is not completely described, but the details of the power mechanism, the power supply system, and the control system can be clearly known by those skilled in the art on the premise that the above inventive principle is understood.
The above description is only an embodiment of the present invention, and not intended to limit the scope of the present invention, and all modifications of equivalent structures and equivalent processes, which are made by using the contents of the present specification and the accompanying drawings, or directly or indirectly applied to other related technical fields, are included in the scope of the present invention.
Claims (9)
1. The utility model provides a categorised save set of progesterone raw materials which characterized in that includes:
a base;
the two storage tanks are arranged at the top of the base;
the two feeding pipes are respectively arranged at the tops of the two storage tanks;
the two material discharging pipes are respectively arranged at the bottoms of the two material storage tanks;
the four guide wheels are arranged at the bottom of the base and distributed in a rectangular array;
the four fixing mechanisms are all arranged at the bottom of the base and respectively correspond to the four guide wheels;
the two side plates are fixedly arranged at the top of the base;
the top plate is fixedly arranged on the tops of the two side plates;
the two filter tanks are arranged at the top of the top plate;
the two top covers are respectively arranged at the tops of the two filter boxes;
the two air guide pipes are respectively arranged at the tops of the two material storage tanks, and the exhaust ends of the two air guide pipes are respectively communicated with the two filter tanks;
the vacuum pump is arranged at the top of the base and is positioned between the two side plates;
the three-way pipe is arranged at the air inlet end of the vacuum pump, and the two air inlet ends of the three-way pipe are respectively and fixedly connected with the bottoms of the two filter boxes.
2. The progesterone raw material classification and preservation device according to claim 1, wherein the fixing mechanism comprises a wedge, a sliding groove, a screw, a driving plate and a screwing block, the wedge is disposed on one side of the guide wheel, the sliding groove is disposed on the bottom of the base, the screw is rotatably mounted on inner walls of two sides of the sliding groove, the driving plate is threadedly sleeved on the screw, the bottom of the driving plate extends out of the base, the driving plate is slidably connected with the inner wall of the sliding groove, the driving plate is located on one side of the wedge away from the guide wheel, and the screwing block is fixedly sleeved on the screw.
3. The progesterone raw material classifying and storing device according to claim 1, wherein a filter element is arranged in the filter box and is communicated with the three-way pipe.
4. The progesterone raw material classifying and storing device according to claim 3, wherein a scraping frame is arranged outside the filter element, the rotating shaft is rotatably mounted on the top cover, the bottom end of the rotating shaft extends into the filter box and is fixedly connected with the top of the scraping frame, and the top end of the rotating shaft extends out of the top cover.
5. The progesterone raw material classifying and storing device according to claim 4, wherein a motor is fixedly installed on the top of the top cover, and an output shaft of the motor is fixedly connected with the top end of the rotating shaft.
6. The progesterone raw material classifying and storing device according to claim 5, wherein a housing is mounted on the top bolt of the top cover, the motor is located in the housing, and a brush is arranged on the inner side of the scraping frame and is in contact with the outer wall of the filter element.
7. The progesterone raw material classifying and storing device according to claim 4, wherein the scraping frame is U-shaped, two balls are movably embedded in the top of the scraping frame, and the tops of the two balls are both in contact with the bottom of the top cover.
8. The progesterone raw material classifying and storing device according to claim 2, wherein a caulking groove is formed on one side of the driving strap, which is attached to the wedge block, and the wedge block is inserted into the caulking groove.
9. The progesterone raw material classifying and storing device according to claim 2, wherein one side of the wedge block, which is attached to the guide wheel, is an arc surface, and the outer ring of the screwing block is provided with anti-skid lines.
Priority Applications (1)
| Application Number | Priority Date | Filing Date | Title |
|---|---|---|---|
| CN202110249822.3A CN113023140B (en) | 2021-03-08 | 2021-03-08 | Categorised save set of progesterone raw materials |
Applications Claiming Priority (1)
| Application Number | Priority Date | Filing Date | Title |
|---|---|---|---|
| CN202110249822.3A CN113023140B (en) | 2021-03-08 | 2021-03-08 | Categorised save set of progesterone raw materials |
Publications (2)
| Publication Number | Publication Date |
|---|---|
| CN113023140A true CN113023140A (en) | 2021-06-25 |
| CN113023140B CN113023140B (en) | 2022-07-26 |
Family
ID=76466662
Family Applications (1)
| Application Number | Title | Priority Date | Filing Date |
|---|---|---|---|
| CN202110249822.3A Active CN113023140B (en) | 2021-03-08 | 2021-03-08 | Categorised save set of progesterone raw materials |
Country Status (1)
| Country | Link |
|---|---|
| CN (1) | CN113023140B (en) |
Citations (11)
| Publication number | Priority date | Publication date | Assignee | Title |
|---|---|---|---|---|
| CN101259358A (en) * | 2008-05-13 | 2008-09-10 | 海湾石油设备(北京)有限公司 | Continuous circulating type oil-gas adsorption recovery method |
| CN201586509U (en) * | 2009-11-25 | 2010-09-22 | 广东自然涂化工有限公司 | Emulsion storage tank system control device |
| CN205867912U (en) * | 2015-10-20 | 2017-01-11 | 中国石油化工股份有限公司 | Novel tail gas is retrieved device |
| CN108036190A (en) * | 2017-11-07 | 2018-05-15 | 李竟铭 | A kind of device of herborization polyphenol powde |
| CN110040380A (en) * | 2018-01-17 | 2019-07-23 | 贾海亮 | A kind of 2,3- pyridinedicarboxylic acid storage device with measuring equipment |
| CN110550282A (en) * | 2019-07-18 | 2019-12-10 | 中山市马里奥机械科技有限公司 | Production feeding system of silicone adhesive |
| CN210874238U (en) * | 2019-09-21 | 2020-06-30 | 沧州兴达化工有限责任公司 | Oil-gas separator for preparing rubber softener |
| CN111471805A (en) * | 2020-04-17 | 2020-07-31 | 杨兴会 | Process device for producing freshly-squeezed old-method brown sugar |
| CN211352765U (en) * | 2020-03-05 | 2020-08-25 | 杨道丽 | Heat dissipation type electric power communication cabinet convenient to adjust |
| CN211562178U (en) * | 2019-11-26 | 2020-09-25 | 天津富士达体育用品有限公司 | Central vacuum dust collection system for dust treatment |
| CN212196843U (en) * | 2020-02-20 | 2020-12-22 | 兴化市鑫翔机械有限公司 | Leak protection formula storage device of coating production usefulness |
-
2021
- 2021-03-08 CN CN202110249822.3A patent/CN113023140B/en active Active
Patent Citations (11)
| Publication number | Priority date | Publication date | Assignee | Title |
|---|---|---|---|---|
| CN101259358A (en) * | 2008-05-13 | 2008-09-10 | 海湾石油设备(北京)有限公司 | Continuous circulating type oil-gas adsorption recovery method |
| CN201586509U (en) * | 2009-11-25 | 2010-09-22 | 广东自然涂化工有限公司 | Emulsion storage tank system control device |
| CN205867912U (en) * | 2015-10-20 | 2017-01-11 | 中国石油化工股份有限公司 | Novel tail gas is retrieved device |
| CN108036190A (en) * | 2017-11-07 | 2018-05-15 | 李竟铭 | A kind of device of herborization polyphenol powde |
| CN110040380A (en) * | 2018-01-17 | 2019-07-23 | 贾海亮 | A kind of 2,3- pyridinedicarboxylic acid storage device with measuring equipment |
| CN110550282A (en) * | 2019-07-18 | 2019-12-10 | 中山市马里奥机械科技有限公司 | Production feeding system of silicone adhesive |
| CN210874238U (en) * | 2019-09-21 | 2020-06-30 | 沧州兴达化工有限责任公司 | Oil-gas separator for preparing rubber softener |
| CN211562178U (en) * | 2019-11-26 | 2020-09-25 | 天津富士达体育用品有限公司 | Central vacuum dust collection system for dust treatment |
| CN212196843U (en) * | 2020-02-20 | 2020-12-22 | 兴化市鑫翔机械有限公司 | Leak protection formula storage device of coating production usefulness |
| CN211352765U (en) * | 2020-03-05 | 2020-08-25 | 杨道丽 | Heat dissipation type electric power communication cabinet convenient to adjust |
| CN111471805A (en) * | 2020-04-17 | 2020-07-31 | 杨兴会 | Process device for producing freshly-squeezed old-method brown sugar |
Also Published As
| Publication number | Publication date |
|---|---|
| CN113023140B (en) | 2022-07-26 |
Similar Documents
| Publication | Publication Date | Title |
|---|---|---|
| TWI596051B (en) | Kitchen waste treatment device | |
| CN111423253B (en) | Kitchen waste treatment device | |
| CN113023140B (en) | Categorised save set of progesterone raw materials | |
| CN212285268U (en) | Organic garbage centrifugal crushing and dewatering integrated device | |
| CN215965453U (en) | Fruit and vegetable garbage pulping device capable of preventing splashing | |
| CN103128078A (en) | Full-automatic raw-food material cleaning machine | |
| CN102107102A (en) | Slag removal equipment for urban septic tank | |
| CN221141684U (en) | Fungus matrix fermentation device | |
| CN218202772U (en) | Straw feed fermentation equipment | |
| CN216662806U (en) | Biological purification's high-efficient sludge treatment device | |
| CN215207447U (en) | Microorganism feed storage extracting device | |
| CN215137567U (en) | Solid-liquid separation device for biogas residues and biogas slurry | |
| CN212143876U (en) | High-efficient environment-friendly solid useless processing apparatus | |
| CN211914960U (en) | A resource recovery type domestic waste treatment device | |
| CN110452811A (en) | A kind of dregs of a decoction processing unit | |
| CN222211094U (en) | Novel vertical spin dehydrator of desulfurization gypsum | |
| CN206492786U (en) | Wet refuse deweighing machine | |
| CN220634812U (en) | Device for improving separation effect of kitchen waste three-phase separator | |
| CN220392701U (en) | Kitchen garbage processor capable of preventing discharge hole from being blocked | |
| CN206538333U (en) | A kind of efficient sludge dewatering equipment | |
| CN215288726U (en) | Garlic straw fodder aerobic and anaerobic fermentation equipment | |
| CN219160890U (en) | Active carbon drying equipment | |
| CN219211051U (en) | Efficient energy-saving recycling treatment equipment for waste fungus bags | |
| CN221666558U (en) | Garrulous end recovery unit of fruit vegetables dehydration broken bits drying-machine | |
| CN221154747U (en) | Vacuum type medicine wetting device |
Legal Events
| Date | Code | Title | Description |
|---|---|---|---|
| PB01 | Publication | ||
| PB01 | Publication | ||
| SE01 | Entry into force of request for substantive examination | ||
| SE01 | Entry into force of request for substantive examination | ||
| GR01 | Patent grant | ||
| GR01 | Patent grant |