CN113022805B - Assembled surface of water photovoltaic power generation floats mounting system - Google Patents
Assembled surface of water photovoltaic power generation floats mounting system Download PDFInfo
- Publication number
- CN113022805B CN113022805B CN202110415948.3A CN202110415948A CN113022805B CN 113022805 B CN113022805 B CN 113022805B CN 202110415948 A CN202110415948 A CN 202110415948A CN 113022805 B CN113022805 B CN 113022805B
- Authority
- CN
- China
- Prior art keywords
- fixed
- limiting
- plate
- photovoltaic
- adapter sleeve
- Prior art date
- Legal status (The legal status is an assumption and is not a legal conclusion. Google has not performed a legal analysis and makes no representation as to the accuracy of the status listed.)
- Active
Links
- 238000010248 power generation Methods 0.000 title claims abstract description 27
- XLYOFNOQVPJJNP-UHFFFAOYSA-N water Substances O XLYOFNOQVPJJNP-UHFFFAOYSA-N 0.000 title claims abstract description 26
- 230000007246 mechanism Effects 0.000 claims abstract description 29
- 230000008093 supporting effect Effects 0.000 claims abstract description 29
- 238000007667 floating Methods 0.000 claims abstract description 18
- 238000013461 design Methods 0.000 claims abstract description 11
- 239000000178 monomer Substances 0.000 claims abstract description 10
- 239000012530 fluid Substances 0.000 claims description 37
- 230000005684 electric field Effects 0.000 claims description 13
- 238000003466 welding Methods 0.000 claims description 8
- 239000007788 liquid Substances 0.000 claims description 7
- 230000009471 action Effects 0.000 claims description 6
- 239000007787 solid Substances 0.000 claims description 4
- 238000012544 monitoring process Methods 0.000 abstract description 4
- 238000000034 method Methods 0.000 description 8
- 238000009434 installation Methods 0.000 description 5
- 230000008569 process Effects 0.000 description 4
- 230000000452 restraining effect Effects 0.000 description 3
- 238000009825 accumulation Methods 0.000 description 2
- 238000005265 energy consumption Methods 0.000 description 2
- 238000007789 sealing Methods 0.000 description 2
- 230000009286 beneficial effect Effects 0.000 description 1
- 230000000903 blocking effect Effects 0.000 description 1
- 238000005260 corrosion Methods 0.000 description 1
- 230000000694 effects Effects 0.000 description 1
- 230000005484 gravity Effects 0.000 description 1
- 230000006872 improvement Effects 0.000 description 1
- 230000004048 modification Effects 0.000 description 1
- 238000012986 modification Methods 0.000 description 1
- 230000002035 prolonged effect Effects 0.000 description 1
- 230000001737 promoting effect Effects 0.000 description 1
- 230000001105 regulatory effect Effects 0.000 description 1
- 239000013535 sea water Substances 0.000 description 1
- 238000012546 transfer Methods 0.000 description 1
Images
Classifications
-
- B—PERFORMING OPERATIONS; TRANSPORTING
- B63—SHIPS OR OTHER WATERBORNE VESSELS; RELATED EQUIPMENT
- B63B—SHIPS OR OTHER WATERBORNE VESSELS; EQUIPMENT FOR SHIPPING
- B63B35/00—Vessels or similar floating structures specially adapted for specific purposes and not otherwise provided for
- B63B35/44—Floating buildings, stores, drilling platforms, or workshops, e.g. carrying water-oil separating devices
-
- B—PERFORMING OPERATIONS; TRANSPORTING
- B63—SHIPS OR OTHER WATERBORNE VESSELS; RELATED EQUIPMENT
- B63B—SHIPS OR OTHER WATERBORNE VESSELS; EQUIPMENT FOR SHIPPING
- B63B35/00—Vessels or similar floating structures specially adapted for specific purposes and not otherwise provided for
- B63B35/44—Floating buildings, stores, drilling platforms, or workshops, e.g. carrying water-oil separating devices
- B63B2035/4433—Floating structures carrying electric power plants
- B63B2035/4453—Floating structures carrying electric power plants for converting solar energy into electric energy
Landscapes
- Engineering & Computer Science (AREA)
- Architecture (AREA)
- Civil Engineering (AREA)
- Structural Engineering (AREA)
- Chemical & Material Sciences (AREA)
- Combustion & Propulsion (AREA)
- Mechanical Engineering (AREA)
- Ocean & Marine Engineering (AREA)
- Photovoltaic Devices (AREA)
Abstract
The invention discloses an assembled water surface photovoltaic power generation floating support system, which comprises a plurality of floating platform monomers distributed dispersedly and photovoltaic panels respectively arranged on the platform monomers; the bottom of each platform monomer extends to underwater to form a post rod; under water, two adjacent posts are connected by an underwater stable adjusting mechanism; all the supporting devices are connected into a whole under water through a plurality of underwater stable adjusting mechanisms; the underwater stability adjusting mechanism comprises two horizontal cross rods, wherein one end of one horizontal cross rod is fixedly connected with one of the column rods, and the other end of the horizontal cross rod is fixedly connected with an outer adapter sleeve; the support system can connect all photovoltaic platforms in an area into a whole under water, so that the stability of the photovoltaic platforms in the whole area is improved, and meanwhile, the underwater stability adjusting mechanism is arranged under water, so that the influence of wind waves can be reduced, the disaster resistance, the stability and the service life of the offshore photovoltaic platform can be improved, and the remote monitoring, the operation and the design layout can be realized.
Description
Technical Field
The invention relates to the technical field of photovoltaic power generation, in particular to an assembled water surface photovoltaic power generation floating support system.
Background
Photovoltaic power generation refers to the process of converting solar energy into electric energy through a photovoltaic power generation system, and the system mainly comprises a solar photovoltaic module, a combiner box, an inverter, a transformer and distribution equipment, and meanwhile, a monitoring system, an active and reactive control system, a power prediction system, a five-prevention system, a reactive compensation device and other auxiliary systems form a set of complete photovoltaic power generation system, and the photovoltaic power generation system is generally supported and fixed through a support frame when a photovoltaic power generation board is erected at present.
However, the existing photovoltaic platform is poor in stability and particularly difficult to resist severe weather at sea, and application and popularization of photovoltaic power generation at sea are greatly limited; offshore photovoltaic platforms generally adopt a distributed distribution of the monomers, and each platform monomer generally adopts chain links, but the method is difficult to ensure the stability of the mutual positions of the photovoltaic platforms and is more difficult to resist severe weather.
Disclosure of Invention
The invention provides an assembled water surface photovoltaic power generation floating support system, which can connect all photovoltaic platforms in an area underwater into a whole, thereby improving the stability of the photovoltaic platforms in the whole area, and meanwhile, an underwater stability adjusting mechanism is arranged underwater, so that the influence of stormy waves can be reduced, the disaster resistance, the stability and the service life of the offshore photovoltaic platforms can be improved, remote monitoring, operation and design layout can be realized, a scheme for avoiding and resisting severe weather can be designed in advance by combining with accurate local weather prediction, the adaptability of the offshore photovoltaic platforms to various environments can be obviously improved, thereby increasing the arrangeable area of the offshore photovoltaic platforms, prolonging the service life of the photovoltaic platforms, reducing investment risks and promoting the market investment of renewable energy sources.
In order to achieve the purpose, the invention provides the following technical scheme:
an assembled water surface photovoltaic power generation floating support system comprises a plurality of floating platform monomers which are distributed dispersedly and photovoltaic panels which are respectively arranged on the platform monomers; the bottom of each platform monomer extends to underwater to form a post rod; under water, two adjacent posts are connected by an underwater stable adjusting mechanism; all the supporting devices are connected into a whole under water through a plurality of underwater stable adjusting mechanisms; the underwater stability adjusting mechanism comprises two horizontal cross rods, wherein one end of one horizontal cross rod is fixedly connected with one of the column rods, and the other end of the horizontal cross rod is fixedly connected with an outer adapter sleeve; the inner ring of the outer adapter sleeve is provided with a wave-shaped inner wall; one end of the other horizontal cross rod is fixedly connected with the other column rod, and the other end of the other horizontal cross rod is fixedly connected with an inner rotating shaft; the inner adapter shaft penetrates through the inner ring of the outer adapter sleeve and is provided with a wavy outer wall in the area corresponding to the outer adapter sleeve; the maximum outer wall diameter of the inner adapter shaft is smaller than the minimum inner ring diameter of the outer adapter sleeve; a hollow rubber ring which is provided with a wave-shaped outer wall and a wave-shaped inner wall is sleeved in a space between the outer adapter sleeve and the inner adapter shaft; electrorheological fluid is filled in the rubber ring; the wavy outer wall and the wavy inner wall of the rubber ring correspond to the wavy inner wall of the outer adapter sleeve and the wavy outer wall of the inner adapter shaft respectively; electrodes in contact with the electrorheological fluid are respectively arranged inside the upper end face and the lower end face of the rubber ring; a circuit for applying an electric field to the electrorheological fluid via the electrodes; the relative rotation of the external rotating sleeve and the internal rotating shaft is the relative rotation in the horizontal direction.
Preferably, the underwater stability adjusting mechanism further comprises a rotation angle sensor and a controller; the rotation angle sensor monitors the relative rotation angle of the outer rotating sleeve and the inner rotating shaft and triggers the controller to control the electric field applied to the electrorheological fluid through the circuit.
Preferably, the inner rotary shaft is fixed at an opening part of a U-shaped extension head, and the other end of the U-shaped extension head is fixedly connected with a corresponding horizontal cross rod.
The platform single body comprises a fixed supporting plate, a fixed assembly is arranged on one side of the fixed supporting plate, and the fixed assembly comprises a connecting strip, a fixed placing plate, a clamping port, a fixed clamping block, a photovoltaic plate, a limiting port, a limiting column, a limiting spring, a sliding supporting frame and an adjusting screw rod;
fixed bolster top one side welding has the connecting strip, connecting strip one end is rotated and is connected with the fixed board of placing, the fixed board top equidistance of placing has seted up a plurality of joint mouth, the inboard embedding joint of joint mouth has fixed joint piece, fixed joint piece top welded connection has the photovoltaic board, spacing mouthful has been seted up to fixed joint piece one end, spacing mouthful inboard embedding joint has spacing post, spacing post one end welding has the restriction spring, restriction spring one end spot welding is installed in fixed board one end of placing, fixed board bottom middle part of placing is rotated and is connected with the slip support frame, slip support frame one end runs through there is adjusting screw, adjusting screw rotates to be installed in fixed bolster top one side.
Preferably, the maximum rotation angle of the fixed placing plate is a degree, and sliding guide columns symmetrically penetrate through two sides of one end of the sliding support frame.
The connecting assembly is mounted on one side of the fixed supporting plate and comprises a limiting clamping plate, a limiting clamping groove, a fixing port, a limiting connecting plate, a rotating port, a torsion spring, a sliding groove, a fixing spring and a fixed mounting column;
fixed bolster bottom one side is rotated and is connected with restriction joint board, restriction joint board inboard has been seted up spacing joint groove, fixed mouthful has been seted up to spacing joint groove one end, one side that restriction joint board was kept away from to the fixed bolster bottom is rotated and is connected with the restriction connecting plate, the mouth that rotates has been seted up to restriction connecting plate and restriction joint board one end, the inboard welding of rotation mouth has torque spring, torque spring one end spot welding installation and fixed bolster one end, the sliding tray has been seted up to restriction connecting plate one end, the inboard spot welding of sliding tray is connected with fixing spring, fixing spring one end spot welding is connected with the fixed erection post, the fixed erection post slides and places in the sliding tray inboard.
Preferably, the length and the width of the limiting clamping groove limit the length and the width of the connecting plate to be equal respectively, and the diameter of the fixed mounting column is equal to that of the fixed opening.
Preferably, the bottom end of the fixed supporting plate is equidistantly connected with a plurality of inflatable air bags.
Preferably, the length of the inflatable air bag is equal to that of the fixed supporting plate.
The method for resisting severe offshore weather by using the underwater stability adjusting mechanism comprises the following steps:
in non-severe weather, an electric field does not need to be applied to the electrorheological fluid, the electrorheological fluid is in a liquid state, the rubber ring can sufficiently prevent the outer adapter sleeve and the inner adapter shaft from rotating relatively, and the relative position stability of the adjacent horizontal cross rods can be guaranteed;
in severe weather, sea stormy waves are large, the rubber ring filled with liquid electrorheological fluid is not enough to prevent the relative rotation of the outer adapter sleeve and the inner adapter shaft, workers design the integral shape of the whole photovoltaic power generation area remotely or through a self-contained operation system of the photovoltaic power generation area to resist the severe weather, and the integral conglomeration or windward serial arrangement can be usually adopted; because the sea condition has chaos, the relative rotation condition of the outer adapter sleeve and the inner adapter shaft under the external force cannot be predicted, but only when the outer adapter sleeve and the inner adapter shaft relatively rotate to the designed angle at the position, an electric field is applied to the electrorheological fluid in the rubber ring, the electrorheological fluid is instantly converted into a solid state, so that the rubber ring loses the deformation capability, and the relative angle of the outer adapter sleeve and the inner adapter shaft at the position is locked; since the offshore condition is disordered, the outer adapter sleeve and the inner adapter shaft always rotate to a designed angle under the condition of time accumulation, and the angle is locked;
after the severe weather disappears, the curing state of the electrorheological fluid is released one by one or batch by batch, and the whole photovoltaic power generation area can be gradually unfolded or recovered to the optimal shape under the gradual action of sea waves.
Compared with the prior art, the invention has the beneficial effects that: the invention has scientific and reasonable structure and safe and convenient use:
1. the underwater stable adjusting mechanism arranged in the invention can connect all the photovoltaic platforms in the area into a whole under water, thereby improving the stability of the photovoltaic platforms in the whole area, and meanwhile, the underwater stable adjusting mechanism is arranged under water, thereby reducing the influence of wind waves,
2. the underwater stability adjusting mechanism is provided with the outer adapter sleeve, the inner adapter shaft and the rubber ring, and the rubber ring is filled with the electrorheological fluid, so that the characteristics of the electrorheological fluid are ingeniously utilized, the electrorheological fluid can be instantly converted into a solid under an external electric field, and the design of the wavy inner wall and the wavy outer wall is added, so that the rubber ring filled with the liquid electrorheological fluid can play a certain blocking role under normal conditions, not only can the connection of each photovoltaic platform have a certain yielding space, but also the position stability among the photovoltaic platforms can be improved, and energy consumption is not needed; under the condition of severe weather, the distribution, the mutual spacing and the controllable adjustment of the angle of each photovoltaic platform are realized by utilizing the characteristics of electrorheological fluid and the ingenious design of an underwater stable adjusting mechanism and by means of the kinetic energy and the disorder of sea waves, so that the severe weather on the sea is resisted in an optimal posture on the whole, and the energy consumption is less because the energy and the characteristics of the sea waves are utilized in the process; the sealing rubber ring filled with the rheological fluid and the wavy clamping and rotating design are utilized, the structure is simple, the service life is long, and particularly in a high-corrosion environment of seawater, the sealing rubber ring has the stability, the durability, the reliability and the low cost which are not possessed by other electrical structures.
3. The method for resisting severe offshore weather by using the underwater stability regulating mechanism can improve the disaster resistance, the stability and the service life of the offshore photovoltaic platform, realize remote monitoring, operation and design, can combine with accurate local weather prediction to design a scheme for avoiding and resisting severe weather in advance and can be implemented in a simple mode, and the adaptability of the offshore photovoltaic platform to various environments can be obviously improved, so that the arrangeable area of the offshore photovoltaic platform is increased, the service life of the photovoltaic platform is prolonged, the investment risk is reduced, and the market investment of renewable energy sources is promoted.
4. The photovoltaic panel fixing device is provided with the fixing component, the fixing clamping block is limited by the limiting column and is fixed by the limiting spring, so that the photovoltaic panel can be quickly mounted and dismounted, and therefore, the photovoltaic panel fixing device is convenient for personnel to overhaul and replace.
5. The photovoltaic grid connecting structure is provided with the connecting assembly, the limiting connecting plate is clamped in the limiting clamping groove, the fixed mounting column is embedded into the fixing port, and the limiting connecting plate is limited by the fixing spring, so that the situation that the limiting clamping plate is separated from the limiting connecting plate is avoided, the connecting stability is ensured, meanwhile, a plurality of photovoltaic plates can be quickly connected together, the photovoltaic grid assembly is quickly realized, and the assembling and the disassembling are convenient.
6. The invention is provided with the inflatable air bag, the connecting cable and the lead weight, the inflatable air bag is used for supporting and fixing the inflatable air bag to prevent the inflatable air bag from being directly immersed into water, and the connecting cable and the lead weight are used for fixing the device, so that the condition of drifting caused by overlarge wind power or wave in the use process is avoided.
Drawings
The accompanying drawings, which are included to provide a further understanding of the invention and are incorporated in and constitute a part of this specification, illustrate embodiments of the invention and together with the description serve to explain the principles of the invention and not to limit the invention.
In the drawings:
FIG. 1 is a schematic perspective view of the present invention;
FIG. 2 is a partial schematic view of the underwater stability adjustment mechanism of the present invention;
FIG. 3 is a schematic view, partially in vertical section, of the underwater stability adjustment mechanism of the present invention.
FIG. 4 is a schematic structural view of the securing assembly of the present invention;
FIG. 5 is a schematic view of the installation structure of the fixed placing plate of the present invention;
FIG. 6 is a schematic structural view of the connection assembly of the present invention;
FIG. 7 is a schematic view of the mounting structure of the restraining connection plate of the present invention;
reference numbers in the figures:
1. fixing the support plate;
2. a fixing assembly; 201. a connecting strip; 202. fixing the placing plate; 203. a card interface; 204. fixing the clamping block; 205. a photovoltaic panel; 206. a limiting port; 207. a limiting column; 208. a restraining spring; 209. a sliding support frame; 210. adjusting the screw rod;
3. a connecting assembly; 301. limiting the clamping and connecting plate; 302. a limiting clamping groove; 303. a fixed port; 304. a restraining connection plate; 305. a rotation port; 306. a torsion spring; 307. a sliding groove; 308. fixing the spring; 309. fixing the mounting post;
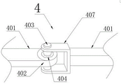
4. an underwater stability adjustment mechanism; 401. a horizontal cross bar; 402. an outer adapter sleeve; 403. an inner transfer shaft; 404. a rubber ring; 405. electrorheological fluid; 406. an electrode; 407. a U-shaped extension head;
5. a post rod; 6. an inflatable air bag.
Detailed Description
The preferred embodiments of the present invention will be described in conjunction with the accompanying drawings, and it will be understood that they are described herein for the purpose of illustration and explanation and not limitation.
Example (b): referring to fig. 1 to 3, the present invention provides a technical solution, which includes a plurality of floating platform units distributed dispersedly and photovoltaic panels 205 respectively installed on the platform units); the bottom of the platform single body extends to underwater to form a post rod 5; under water, two adjacent posts 5 are connected by an underwater stable adjusting mechanism 4; all the supporting devices are connected into a whole under water through a plurality of underwater stable adjusting mechanisms 4; the underwater stability adjusting mechanism 4 comprises two horizontal cross rods 401, wherein one end of one horizontal cross rod 401 is fixedly connected with one of the posts 5, and the other end of the horizontal cross rod 401 is fixedly connected with an outer adapter sleeve 402; the inner ring of outer adapter sleeve 402 has a wavy inner wall; one end of the other horizontal cross rod 401 is fixedly connected with the other post rod 5, and the other end of the other horizontal cross rod is fixedly connected with an inner rotating shaft 403; the inner swivel shaft 403 passes through the inner ring of the outer swivel sleeve 402 and has a wave-shaped outer wall in the region corresponding to the outer swivel sleeve 402; the maximum outer wall diameter of the inner swivel shaft 403 is less than the minimum inner ring diameter of the outer swivel sleeve 402; a hollow rubber ring 404 having a wavy outer wall and a wavy inner wall is fitted in the space between the outer adapter sleeve 402 and the inner spindle 403; the rubber ring 404 is filled with electrorheological fluid 405; the wavy outer wall and the wavy inner wall of the rubber ring 404 correspond to the wavy inner wall of the outer adapter sleeve 402 and the wavy outer wall of the inner adapter shaft 403 respectively; electrodes 406 in contact with the electrorheological fluid 405 are respectively arranged inside the upper end face and the lower end face of the rubber ring 404; an electric circuit can apply an electric field to the electrorheological fluid 405 through the electrodes 406; the relative rotation between the external rotating sleeve 402 and the internal rotating shaft 403 is the relative rotation in the horizontal direction.
In order to facilitate installation, a groove in the vertical direction can be formed in the post rod 5, the hook key is correspondingly arranged on the horizontal cross rod 401, so that the horizontal cross rod 401 can be well connected on the water surface, and then the hook key slides to the underwater under the action of gravity, so that the horizontal cross rod 401 can not rotate relative to the post rod 5, the installation cost can be reduced, the installation efficiency can be improved, and the underwater stable adjusting mechanism 4 can be overhauled only by vertically pulling upwards during overhauling; the design can also improve the up-down sinking and floating capacity of a single photovoltaic platform, and the flexibility of the photovoltaic platform is improved.
The underwater stability adjusting mechanism 4 also comprises a corner sensor and a controller; the rotation angle sensor monitors the relative rotation angles of the outer adapter sleeve 402 and the inner adapter shaft 403 and triggers the controller to control the electric field applied to the electro-rheological fluid 405 through a circuit.
The inner rotary shaft 403 is fixed at an opening of a U-shaped extension head 407, and the other end of the U-shaped extension head 407 is fixedly connected with the corresponding horizontal cross bar 401.
The method for resisting severe offshore weather by using the underwater stability adjusting mechanism 4 comprises the following steps:
in non-severe weather, an electric field does not need to be applied to the electro-rheological fluid 405, the electro-rheological fluid is in a liquid state, the rubber ring 404 can sufficiently prevent the outer adapter sleeve 402 and the inner adapter shaft 403 from rotating relatively, and the relative position stability of the adjacent horizontal cross rod 401 can be guaranteed;
in severe weather, sea stormy waves are large, the rubber ring 404 filled with the liquid electrorheological fluid 405 is not enough to prevent the relative rotation of the outer adapter sleeve 402 and the inner adapter shaft 403, and a worker designs the integral shape of the whole photovoltaic power generation area to resist the severe weather remotely or through an own operation system of the photovoltaic power generation area, and the integral shape can be generally arranged in a cluster or in a series manner facing the wind; because the sea condition has chaos, the relative rotation condition of the outer adapter sleeve 402 and the inner adapter shaft 403 under the external force cannot be predicted, but only when the outer adapter sleeve 402 and the inner adapter shaft 403 relatively rotate to the designed angle, an electric field is applied to the electrorheological fluid 405 in the rubber ring 404, the electrorheological fluid 405 is instantly converted into a solid state, so that the rubber ring 404 loses the deformation capability, and the relative angle between the outer adapter sleeve 402 and the inner adapter shaft 403 is locked; since the offshore situation is disordered, the outer swivel sleeve 402 and the inner swivel shaft 403 always rotate to a designed angle under the accumulation of time, and the angle is locked;
after the severe weather disappears, the curing state of the electrorheological fluid 405 is released one by one or batch by batch, and the whole photovoltaic power generation area can be gradually unfolded or recovered to the optimal shape under the gradual action of the sea waves.
Referring to fig. 1 and 4 to 7, the platform unit includes a fixed support plate 1, a fixed component 2 is installed on one side of the fixed support plate 1, and the fixed component 2 includes a connecting bar 201, a fixed placing plate 202, a clamping interface 203, a fixed clamping block 204, a photovoltaic panel 205, a limiting interface 206, a limiting column 207, a limiting spring 208, a sliding support frame 209 and an adjusting screw 210;
one side of the top end of the fixed supporting plate 1 is welded with a connecting strip 201, one end of the connecting strip 201 is rotatably connected with a fixed placing plate 202, the maximum rotating angle of the fixed placing plate 202 is 60 degrees, so as to be convenient for adjusting the light receiving position of a photovoltaic panel 205, a plurality of clamping ports 203 are arranged at equal intervals on the top end of the fixed placing plate 202, a fixed clamping block 204 is embedded and clamped in the inner side of each clamping port 203, the top end of the fixed clamping block 204 is welded with the photovoltaic panel 205, a limiting port 206 is arranged at one end of the fixed clamping block 204, a limiting column 207 is embedded and clamped in the inner side of the limiting port 206, a limiting spring 208 is welded at one end of the limiting column 207, one end of the limiting spring 208 is spot-welded and installed at one end of the fixed placing plate 202, a sliding supporting frame 209 is rotatably connected in the middle of the bottom end of the fixed placing plate 202, sliding guiding columns are symmetrically penetrated through two sides of one end of the sliding supporting frame 209, so as to be convenient for limiting, an adjusting screw 210 is penetrated through one end of the sliding supporting frame 209, the adjusting screw 210 is rotatably installed at one side of the top end of the fixed support plate 1.
A connecting assembly 3 is installed on one side of the fixed support plate 1, and the connecting assembly 3 comprises a limiting clamping plate 301, a limiting clamping groove 302, a fixing port 303, a limiting connecting plate 304, a rotating port 305, a torsion spring 306, a sliding groove 307, a fixing spring 308 and a fixed mounting column 309;
one side of the bottom end of the fixed support plate 1 is rotatably connected with a limiting clamping plate 301, the inner side of the limiting clamping plate 301 is provided with a limiting clamping groove 302, one end of the limiting clamping groove 302 is provided with a fixed port 303, one side of the bottom end of the fixed support plate 1, which is far away from the limiting clamping plate 301, is rotatably connected with a limiting connecting plate 304, the length and the width of the limiting clamping groove 302 are respectively equal to the length and the width of the limiting connecting plate 304, so that the connection and the clamping are convenient, one ends of the limiting connecting plate 304 and the limiting clamping plate 301 are provided with a rotating port 305, the inner side of the rotating port 305 is welded with a torsion spring 306, one end of the torsion spring 306 is spot-welded and installed with one end of the fixed support plate 1, one end of the limiting connecting plate 304 is provided with a sliding groove 307, the inner side of the sliding groove 307 is spot-welded and connected with a fixed spring 308, one end of the fixed spring 308 is spot-welded and connected with a fixed mounting column 309, the diameter of the fixed mounting column 309 is equal to the diameter of the fixed port 303, so that the direct clamping is convenient, the fixed mounting post 309 is slidably disposed inside the sliding slot 307.
The bottom end of the fixed supporting plate 1 is connected with a plurality of inflatable air bags 6 at equal intervals, the length of each inflatable air bag 6 is equal to that of the fixed supporting plate 1, and the optimal supporting effect is guaranteed.
The working principle and the using process of the fixing component and the connecting component are as follows: when the photovoltaic panel 205 needs to be installed, a worker embeds the fixed clamping block 204 into the clamping interface 203, pulls the limiting column 207, when the limiting column 207 is pulled, the limiting spring 208 is extruded at the same time, after the clamping of the fixed clamping block 204 is completed, the limiting column 207 is aligned with the limiting port 206, the limiting column 207 is loosened, the limiting column 207 is driven to be embedded into the limiting port 206 under the reset action of the limiting spring 208, so that the photovoltaic panel 205 is fixedly limited, after the fixing is completed, the worker rotates the adjusting screw 210, the adjusting screw 210 drives the sliding support frame 209 to move, so that the fixed placing plate 202 is driven to rotate along the connecting strip 201, the light receiving position can be quickly adjusted when the light receiving position needs to be adjusted, and the situation that the power generation effect is influenced due to poor light receiving is avoided;
when a plurality of fixed supporting plates 1 need to be connected with each other, a worker inserts the limiting connecting plate 304 into the limiting clamping groove 302, the limiting connecting plate 304 is inserted into the limiting clamping groove 302, the fixed mounting column 309 is extruded and heated to the inner side of the sliding groove 307 while the limiting connecting plate 304 is inserted, the fixed spring 308 is compressed, after the limiting connecting plate 304 is inserted into the limiting clamping groove 302, the fixed mounting column 309 is inserted into the inner side of the fixing port 303 under the reset action of the fixed spring 308, so that the limiting clamping plate 301 and the limiting connecting plate 304 are clamped with each other, a plurality of fixed supporting plates 1 are fixed with each other, when the limiting clamping plate 301 and the limiting connecting plate 304 rotate, the torsion spring 306 limits the fixed clamping plate to prevent the fixed clamping plate from being quickly reset after the rotation, and the stability among the fixed supporting plates 1 is guaranteed;
after the fixed connection is finished, the inflatable air bag 6 is inflated, the fixed support plate 1 is placed on the water surface after the inflation is finished, and the fixed support plate is supported and fixed through the inflatable air bag 6, so that the fixed support plate is prevented from being directly immersed into the water. Finally, it should be noted that: although the present invention has been described in detail with reference to the foregoing embodiments, it will be apparent to those skilled in the art that changes may be made in the embodiments and/or equivalents thereof without departing from the spirit and scope of the invention. Any modification, equivalent replacement, or improvement made within the spirit and principle of the present invention should be included in the protection scope of the present invention.
Claims (10)
1. The utility model provides an assembled surface of water photovoltaic power generation floats mounting system which characterized in that: comprises a plurality of floating platform monomers distributed dispersedly and photovoltaic plates (205) respectively arranged on the platform monomers; the bottom of each platform single body extends to underwater to form a post rod (5); under water, two adjacent posts (5) are connected by an underwater stable adjusting mechanism (4); all the supporting devices are connected into a whole under water through a plurality of underwater stable adjusting mechanisms (4); the underwater stability adjusting mechanism (4) comprises two horizontal cross rods (401), wherein one end of one horizontal cross rod (401) is fixedly connected with one of the column rods (5), and the other end of the horizontal cross rod (401) is fixedly connected with an outer adapter sleeve (402); the inner ring of the outer adapter sleeve (402) is provided with a wave-shaped inner wall; one end of the other horizontal cross rod (401) is fixedly connected with the other post rod 5, and the other end of the other horizontal cross rod is fixedly connected with an inner rotating shaft (403); the inner adapter shaft (403) penetrates through the inner ring of the outer adapter sleeve (402) and is provided with a wave-shaped outer wall in the area corresponding to the outer adapter sleeve (402); the maximum outer wall diameter of the inner swivel shaft (403) is smaller than the minimum inner ring diameter of the outer swivel sleeve (402); a hollow rubber ring (404) which is provided with a wave-shaped outer wall and a wave-shaped inner wall at the same time is sleeved in a space between the outer adapter sleeve (402) and the inner adapter shaft (403); the rubber ring (404) is filled with electrorheological fluid (405); the wavy outer wall and the wavy inner wall of the rubber ring (404) correspond to the wavy inner wall of the outer adapter sleeve (402) and the wavy outer wall of the inner adapter shaft (403) respectively; electrodes (406) which are contacted with the electrorheological fluid (405) are respectively arranged inside the upper end face and the lower end face of the rubber ring (404); an electric circuit for applying an electric field to the electrorheological fluid (405) via the electrodes (406); the relative rotation of the outer adapter sleeve (402) and the inner rotating shaft (403) is the relative rotation in the horizontal direction.
2. The assembled surface photovoltaic floating support system of claim 1, wherein: the underwater stability adjusting mechanism (4) further comprises a corner sensor and a controller; the rotation angle sensor monitors the relative rotation angle of the outer adapter sleeve (402) and the inner adapter shaft (403) and triggers the controller to control the electric field applied to the electrorheological fluid (405) through a circuit.
3. The assembled surface photovoltaic floating support system of claim 1, wherein: the inner rotary shaft (403) is fixed at the opening part of a U-shaped extension head (407), and the other end of the U-shaped extension head (407) is fixedly connected with the corresponding horizontal cross rod (401).
4. The assembled surface photovoltaic floating support system of claim 1, wherein: the platform single body comprises a fixed supporting plate (1), a fixed assembly (2) is installed on one side of the fixed supporting plate (1), and the fixed assembly (2) comprises a connecting strip (201), a fixed placing plate (202), a clamping interface (203), a fixed clamping block (204), a photovoltaic plate (205), a limiting port (206), a limiting column (207), a limiting spring (208), a sliding supporting frame (209) and an adjusting screw (210);
the fixed supporting plate is characterized in that a connecting strip (201) is welded on one side of the top end of the fixed supporting plate (1), one end of the connecting strip (201) is rotatably connected with a fixed placing plate (202), a plurality of clamping ports (203) are formed in the top end of the fixed placing plate (202) in an equal distance mode, a fixed clamping block (204) is embedded into the clamping ports (203) in an inner side, a photovoltaic plate (205) is welded on the top end of the fixed clamping block (204), a limiting port (206) is formed in one end of the fixed clamping block (204), a limiting column (207) is embedded into the clamping ports (206) in an inner side, a limiting spring (208) is welded on one end of the limiting column (207), one end of the limiting spring (208) is installed on one end of the fixed placing plate (202) in a spot welding mode, a sliding supporting frame (209) is rotatably connected in the middle of the bottom end of the fixed placing plate (202), and an adjusting screw (210) penetrates through one end of the sliding supporting frame (209), the adjusting screw rod (210) is rotatably arranged on one side of the top end of the fixed supporting plate (1).
5. The assembled water surface photovoltaic power generation floating support system according to claim 4, wherein the maximum rotation angle of the fixed placing plate (202) is 60 degrees, and sliding guide columns symmetrically penetrate through two sides of one end of the sliding support frame (209).
6. The assembled water surface photovoltaic power generation floating support system according to claim 4, wherein a connecting assembly (3) is installed on one side of the fixed support plate (1), and the connecting assembly (3) comprises a limiting clamping plate (301), a limiting clamping groove (302), a fixing port (303), a limiting connecting plate (304), a rotating port (305), a torsion spring (306), a sliding groove (307), a fixing spring (308) and a fixed mounting column (309);
the limiting clamping plate is characterized in that one side of the bottom end of the fixed support plate (1) is rotatably connected with a limiting clamping plate (301), the inner side of the limiting clamping plate (301) is provided with a limiting clamping groove (302), one end of the limiting clamping groove (302) is provided with a fixing port (303), one side of the bottom end of the fixed support plate (1), far away from the limiting clamping plate (301), is rotatably connected with a limiting connecting plate (304), one ends of the limiting connecting plate (304) and the limiting clamping plate (301) are provided with a rotating port (305), the inner side of the rotating port (305) is welded with a torsion spring (306), one end of the torsion spring (306) is spot-welded with one end of the fixed support plate (1), one end of the limiting connecting plate (304) is provided with a sliding groove (307), the inner side of the sliding groove (307) is spot-welded with a fixed spring (308), and one end of the fixed spring (308) is spot-welded with a fixed mounting column (309), the fixed mounting column (309) is placed inside the sliding groove (307) in a sliding mode.
7. The assembled water surface photovoltaic power generation floating support system according to claim 6, wherein the length and the width of the limiting clamping groove (302) respectively limit the length and the width of the connecting plate (304) to be equal, and the diameter of the fixing mounting column (309) is equal to that of the fixing port (303).
8. Assembled surface photovoltaic floating support system according to claim 1, characterized in that several inflatable air bags (6) are connected to the bottom of the fixed support plate (1) at equal distance.
9. An assembled surface photovoltaic floating support system according to claim 8, characterized in that the length of the inflatable air bag (6) is equal to the length of the fixed support plate (1).
10. The modular surface pv floating mount system according to claim 1, wherein the means for providing the underwater stability adjustment mechanism (4) with protection against rough sea weather is:
in non-severe weather, an electric field does not need to be applied to the electrorheological fluid (405), the electrorheological fluid is in a liquid state, the rubber ring (404) is enough to prevent the outer adapter sleeve (402) and the inner adapter shaft (403) from rotating relatively, and the relative position of the adjacent horizontal cross rod (401) can be ensured to be stable;
in severe weather, the rubber ring (404) filled with the liquid electrorheological fluid (405) is not enough to prevent the outer adapter sleeve (402) and the inner adapter shaft (403) from rotating relatively, and a worker designs the integral shape of the whole photovoltaic power generation area remotely or through a self-contained operation system of the photovoltaic power generation area so as to resist the severe weather; when the outer adapter sleeve (402) and the inner adapter shaft (403) relatively rotate to a designed angle, an electric field is applied to the electrorheological fluid (405) in the rubber ring (404), the electrorheological fluid (405) is instantly converted into a solid state, so that the rubber ring (404) loses the deformation capability, and the relative angle between the outer adapter sleeve (402) and the inner adapter shaft (403) is locked;
after the severe weather disappears, the curing state of the electrorheological fluid (405) is released one by one or one by one, and the whole photovoltaic power generation area can be gradually unfolded or recovered to the optimal shape under the gradual action of sea waves.
Priority Applications (1)
| Application Number | Priority Date | Filing Date | Title |
|---|---|---|---|
| CN202110415948.3A CN113022805B (en) | 2021-04-19 | 2021-04-19 | Assembled surface of water photovoltaic power generation floats mounting system |
Applications Claiming Priority (1)
| Application Number | Priority Date | Filing Date | Title |
|---|---|---|---|
| CN202110415948.3A CN113022805B (en) | 2021-04-19 | 2021-04-19 | Assembled surface of water photovoltaic power generation floats mounting system |
Publications (2)
| Publication Number | Publication Date |
|---|---|
| CN113022805A CN113022805A (en) | 2021-06-25 |
| CN113022805B true CN113022805B (en) | 2022-04-26 |
Family
ID=76456766
Family Applications (1)
| Application Number | Title | Priority Date | Filing Date |
|---|---|---|---|
| CN202110415948.3A Active CN113022805B (en) | 2021-04-19 | 2021-04-19 | Assembled surface of water photovoltaic power generation floats mounting system |
Country Status (1)
| Country | Link |
|---|---|
| CN (1) | CN113022805B (en) |
Families Citing this family (5)
| Publication number | Priority date | Publication date | Assignee | Title |
|---|---|---|---|---|
| CN113428305A (en) * | 2021-07-07 | 2021-09-24 | 浙江慕兰尼新能源科技有限公司 | Offshore installation platform with orientation self-adjusting function for photovoltaic module |
| CN114834621B (en) * | 2022-04-25 | 2023-03-24 | 浙江省水利河口研究院(浙江省海洋规划设计研究院) | A kind of unmanned boat using light wave complementary work |
| CN115987190B (en) * | 2023-01-18 | 2025-08-05 | 洪华伟 | A photovoltaic power generation suspension support system capable of synchronously adjusting the angle of photovoltaic panels |
| CN116923644A (en) * | 2023-08-01 | 2023-10-24 | 中建国信大数据集团有限公司 | Collaborative mapping operation equipment |
| CN117220577B (en) * | 2023-09-26 | 2024-03-05 | 同景新能源科技(江山)有限公司 | Marine showy photovoltaic support |
Citations (4)
| Publication number | Priority date | Publication date | Assignee | Title |
|---|---|---|---|---|
| JP2016063670A (en) * | 2014-09-19 | 2016-04-25 | 三菱電機株式会社 | Solar cell panel |
| CN109874406A (en) * | 2017-02-28 | 2019-06-11 | 奥托雷克斯株式会社 | Floating photovoltaic power generation device |
| CN110775213A (en) * | 2019-11-15 | 2020-02-11 | 浙江精工能源科技集团有限公司 | Floating type overwater photovoltaic rigid connection device |
| KR102150020B1 (en) * | 2019-12-06 | 2020-08-31 | 박현우 | Floating Solar Power System |
Family Cites Families (1)
| Publication number | Priority date | Publication date | Assignee | Title |
|---|---|---|---|---|
| US11489485B2 (en) * | 2019-01-16 | 2022-11-01 | CubeX Solar, LLC | Foldable solar power system |
-
2021
- 2021-04-19 CN CN202110415948.3A patent/CN113022805B/en active Active
Patent Citations (4)
| Publication number | Priority date | Publication date | Assignee | Title |
|---|---|---|---|---|
| JP2016063670A (en) * | 2014-09-19 | 2016-04-25 | 三菱電機株式会社 | Solar cell panel |
| CN109874406A (en) * | 2017-02-28 | 2019-06-11 | 奥托雷克斯株式会社 | Floating photovoltaic power generation device |
| CN110775213A (en) * | 2019-11-15 | 2020-02-11 | 浙江精工能源科技集团有限公司 | Floating type overwater photovoltaic rigid connection device |
| KR102150020B1 (en) * | 2019-12-06 | 2020-08-31 | 박현우 | Floating Solar Power System |
Also Published As
| Publication number | Publication date |
|---|---|
| CN113022805A (en) | 2021-06-25 |
Similar Documents
| Publication | Publication Date | Title |
|---|---|---|
| CN113022805B (en) | Assembled surface of water photovoltaic power generation floats mounting system | |
| CN113098370B (en) | Floating net-shaped supporting device based on photovoltaic power generation | |
| CN116961547A (en) | Adjusting structure of solar panel fixing frame for building | |
| CN220616100U (en) | Wind-light wave comprehensive power generation and utilization system | |
| CN219627624U (en) | High wind-resistant hydraulic lifting rod | |
| CN110185573B (en) | An offshore super-large floating body using a combined power supply system | |
| CN216216671U (en) | Photovoltaic tracking support and photovoltaic power generation device | |
| CN112977747B (en) | Semi-submersible type ocean platform anti-overturning device | |
| CN210867572U (en) | Solar photovoltaic panel roof mounting bracket | |
| CN118597337A (en) | A floating photovoltaic platform and a water photovoltaic power generation system | |
| CN210027828U (en) | Cross splicing type water surface photovoltaic power generation system with component supporting floating bodies | |
| CN208470072U (en) | A kind of fixed device of photovoltaic plant waterborne | |
| CN219312972U (en) | a stable float | |
| CN214930422U (en) | Ship safety monitoring system based on network | |
| CN216625665U (en) | Installing support that solar photovoltaic board that can install fast was used | |
| CN109450349B (en) | Photovoltaic power plant support mounting structure | |
| CN117559884A (en) | Battery integrated module for photovoltaic energy storage system | |
| CN219372319U (en) | Wind-wave-resistant floating type offshore photovoltaic device | |
| CN219954908U (en) | Portable tetrapod that individual soldier used | |
| CN220130294U (en) | Water surface photovoltaic device | |
| CN217637526U (en) | Hydraulic engineering liquid level monitoring device | |
| JP7813081B2 (en) | Self-regulating wind and solar hybrid power generating floating breakwater and its operation process | |
| CN220492925U (en) | Support for supporting photovoltaic cell panel | |
| CN219365531U (en) | Transmission line iron tower righting device | |
| CN221546844U (en) | Dedicated folding ladder of photovoltaic fortune dimension |
Legal Events
| Date | Code | Title | Description |
|---|---|---|---|
| PB01 | Publication | ||
| PB01 | Publication | ||
| SE01 | Entry into force of request for substantive examination | ||
| SE01 | Entry into force of request for substantive examination | ||
| GR01 | Patent grant | ||
| GR01 | Patent grant |