CN113021171A - Compound honing head for small hole - Google Patents
Compound honing head for small hole Download PDFInfo
- Publication number
- CN113021171A CN113021171A CN202110325877.8A CN202110325877A CN113021171A CN 113021171 A CN113021171 A CN 113021171A CN 202110325877 A CN202110325877 A CN 202110325877A CN 113021171 A CN113021171 A CN 113021171A
- Authority
- CN
- China
- Prior art keywords
- working section
- honing head
- grooves
- hole
- section
- Prior art date
- Legal status (The legal status is an assumption and is not a legal conclusion. Google has not performed a legal analysis and makes no representation as to the accuracy of the status listed.)
- Granted
Links
- 150000001875 compounds Chemical class 0.000 title claims description 9
- 239000002131 composite material Substances 0.000 claims abstract description 9
- 244000137852 Petrea volubilis Species 0.000 claims description 4
- 238000012545 processing Methods 0.000 abstract description 2
- 238000000034 method Methods 0.000 description 4
- 239000000463 material Substances 0.000 description 3
- 238000005259 measurement Methods 0.000 description 3
- 229910001018 Cast iron Inorganic materials 0.000 description 2
- 238000003754 machining Methods 0.000 description 2
- 238000004519 manufacturing process Methods 0.000 description 2
- 230000003746 surface roughness Effects 0.000 description 2
- 229910000975 Carbon steel Inorganic materials 0.000 description 1
- 239000006061 abrasive grain Substances 0.000 description 1
- 239000002390 adhesive tape Substances 0.000 description 1
- 239000011449 brick Substances 0.000 description 1
- 239000010962 carbon steel Substances 0.000 description 1
- 238000005520 cutting process Methods 0.000 description 1
- 230000007547 defect Effects 0.000 description 1
- 230000000694 effects Effects 0.000 description 1
- 239000003292 glue Substances 0.000 description 1
- 230000001050 lubricating effect Effects 0.000 description 1
- 239000011159 matrix material Substances 0.000 description 1
- 239000002245 particle Substances 0.000 description 1
- 229910052698 phosphorus Inorganic materials 0.000 description 1
- 239000011574 phosphorus Substances 0.000 description 1
- 238000012797 qualification Methods 0.000 description 1
- 238000010561 standard procedure Methods 0.000 description 1
- 238000003860 storage Methods 0.000 description 1
- 239000000758 substrate Substances 0.000 description 1
Images
Classifications
-
- B—PERFORMING OPERATIONS; TRANSPORTING
- B24—GRINDING; POLISHING
- B24B—MACHINES, DEVICES, OR PROCESSES FOR GRINDING OR POLISHING; DRESSING OR CONDITIONING OF ABRADING SURFACES; FEEDING OF GRINDING, POLISHING, OR LAPPING AGENTS
- B24B33/00—Honing machines or devices; Accessories therefor
- B24B33/08—Honing tools
-
- B—PERFORMING OPERATIONS; TRANSPORTING
- B24—GRINDING; POLISHING
- B24B—MACHINES, DEVICES, OR PROCESSES FOR GRINDING OR POLISHING; DRESSING OR CONDITIONING OF ABRADING SURFACES; FEEDING OF GRINDING, POLISHING, OR LAPPING AGENTS
- B24B41/00—Component parts such as frames, beds, carriages, headstocks
- B24B41/007—Weight compensation; Temperature compensation; Vibration damping
Landscapes
- Engineering & Computer Science (AREA)
- Mechanical Engineering (AREA)
- Finish Polishing, Edge Sharpening, And Grinding By Specific Grinding Devices (AREA)
- Polishing Bodies And Polishing Tools (AREA)
Abstract
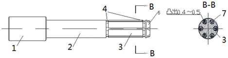
本发明公开了一种小孔用复合珩磨头。所公开的珩磨头包括基体、多个橡胶条和砂纸;基体轴向依次设有夹持段、第二工作段和第一工作段,所述第一工作段侧壁上设有多条沿轴向开设的凹槽,且多条凹槽沿第一工作段的周向分布;各橡胶条设置在各凹槽中,且各橡胶条突出于所述第一工作段侧壁表面;砂纸包覆在所述第一工作段,且将所述多条橡胶条包裹;所述包裹有砂纸的第一工作段外形与待珩磨孔匹配;所述第二工作段的外形与所述待处理孔匹配或所述第二工作段的外径小于待处理孔的孔径;所述待珩磨孔内径小于
本发明的珩磨头可对φ12以下5级精度甚至更高精度等级小孔进行精整加工,使用范围较广。The invention discloses a composite honing head for small holes. The disclosed honing head includes a base body, a plurality of rubber strips and sandpaper; the base body is axially provided with a clamping section, a second working section and a first working section in sequence, and the side wall of the first working section is provided with a plurality of along the axis The grooves are opened in the direction of the first working section, and a plurality of grooves are distributed along the circumferential direction of the first working section; each rubber strip is arranged in each groove, and each rubber strip protrudes from the surface of the side wall of the first working section; sandpaper wraps In the first working section, the plurality of rubber strips are wrapped; the shape of the first working section wrapped with sandpaper matches the hole to be honed; the shape of the second working section matches the hole to be processed Or the outer diameter of the second working section is smaller than the hole diameter of the hole to be processed; the inner diameter of the hole to be honed is smaller than
The honing head of the present invention can carry out finishing processing on small holes with a 5-grade precision or even higher precision grades below φ12, and has a wide application range.Description
Claims (10)
Priority Applications (1)
| Application Number | Priority Date | Filing Date | Title |
|---|---|---|---|
| CN202110325877.8A CN113021171B (en) | 2021-03-26 | 2021-03-26 | Compound honing head for small hole |
Applications Claiming Priority (1)
| Application Number | Priority Date | Filing Date | Title |
|---|---|---|---|
| CN202110325877.8A CN113021171B (en) | 2021-03-26 | 2021-03-26 | Compound honing head for small hole |
Publications (2)
| Publication Number | Publication Date |
|---|---|
| CN113021171A true CN113021171A (en) | 2021-06-25 |
| CN113021171B CN113021171B (en) | 2022-09-13 |
Family
ID=76474172
Family Applications (1)
| Application Number | Title | Priority Date | Filing Date |
|---|---|---|---|
| CN202110325877.8A Active CN113021171B (en) | 2021-03-26 | 2021-03-26 | Compound honing head for small hole |
Country Status (1)
| Country | Link |
|---|---|
| CN (1) | CN113021171B (en) |
Citations (24)
| Publication number | Priority date | Publication date | Assignee | Title |
|---|---|---|---|---|
| GB533972A (en) * | 1938-10-03 | 1941-02-25 | Norton Co | Improvements in or relating to abrading machines |
| DD275838A1 (en) * | 1988-09-30 | 1990-02-07 | Schwermasch Liebknecht Veb K | PRAZZIONENZIEHSCHLEIFKOPF FOR HIGH-ACCURACY INTERIOR MACHINING SMALL HOLES |
| US20040058634A1 (en) * | 2002-09-20 | 2004-03-25 | Deware William R. | Adjustable abrading tool, abrasive star and abrading kit |
| CN101229628A (en) * | 2006-12-12 | 2008-07-30 | 纳格尔机械及工具制造厂有限责任公司 | Cylindrical form interior surface of hole fine finishing method and fine finishing device thereof |
| CN201881262U (en) * | 2010-10-27 | 2011-06-29 | 南京飞燕活塞环股份有限公司 | Honing cylinder for piston ring internally supported with elastic body |
| CN202964322U (en) * | 2012-12-18 | 2013-06-05 | 于竣宇 | Guide wheel grinding machine with phase compensation function |
| CN202963646U (en) * | 2012-11-29 | 2013-06-05 | 东莞市多邦珩磨技术有限公司 | Novel honing reamer |
| CN203197723U (en) * | 2013-04-01 | 2013-09-18 | 扬州五亭桥缸套有限公司 | Cylindrical workpiece inner hole polishing device |
| CN203650219U (en) * | 2013-12-31 | 2014-06-18 | 贵州高峰石油机械股份有限公司 | Inner-hole groove cuspidal edge polishing device |
| CN203751926U (en) * | 2014-04-04 | 2014-08-06 | 江西铜业股份有限公司 | Small hole honing and hardening honing rod for drilling machine |
| CN204366686U (en) * | 2014-12-31 | 2015-06-03 | 上虞市内燃机配件有限公司 | Valve tappet ball-and-socket polishing rod |
| CN105415117A (en) * | 2015-12-10 | 2016-03-23 | 西安航天动力研究所 | Specific pressure regulating device for mechanically-grinded end face of sealing ring |
| CN106695487A (en) * | 2016-12-25 | 2017-05-24 | 重庆润跃机械有限公司 | Gear deburring device |
| CN107363707A (en) * | 2017-08-31 | 2017-11-21 | 覃幼洁 | A kind of simple honing head for adapting to aperture Honing process |
| CN206677752U (en) * | 2017-03-29 | 2017-11-28 | 天津鹰格尔液压缸有限公司 | A kind of easy honing machine |
| CN207139528U (en) * | 2017-07-22 | 2018-03-27 | 上海沁格杰机械有限公司 | A kind of hone for hinge integration of rising |
| CN108214228A (en) * | 2017-12-06 | 2018-06-29 | 浙江信源电器制造有限公司 | Sand paper circle Quick-attachable polishing and grinding head |
| CN108620819A (en) * | 2018-04-19 | 2018-10-09 | 哈尔滨汽轮机厂有限责任公司 | A method of processing diffusion tubing product endoporus |
| CN208323047U (en) * | 2018-05-24 | 2019-01-04 | 庆铃汽车(集团)有限公司 | Grinding equipment |
| CN110539248A (en) * | 2019-09-29 | 2019-12-06 | 苏州微创关节医疗科技有限公司 | polishing head and grinding tool |
| CN110757331A (en) * | 2019-11-26 | 2020-02-07 | 中北大学 | Rifling honing head |
| CN210209739U (en) * | 2019-07-04 | 2020-03-31 | 上海金茂建筑装饰有限公司 | Indoor decoration device |
| CN111468999A (en) * | 2020-04-27 | 2020-07-31 | 赵大为 | Stainless steel flange manufacturing processing treatment system |
| CN212071553U (en) * | 2020-04-07 | 2020-12-04 | 镇江市耐尔特超硬刀具有限公司 | Novel self-centering honing rod |
-
2021
- 2021-03-26 CN CN202110325877.8A patent/CN113021171B/en active Active
Patent Citations (24)
| Publication number | Priority date | Publication date | Assignee | Title |
|---|---|---|---|---|
| GB533972A (en) * | 1938-10-03 | 1941-02-25 | Norton Co | Improvements in or relating to abrading machines |
| DD275838A1 (en) * | 1988-09-30 | 1990-02-07 | Schwermasch Liebknecht Veb K | PRAZZIONENZIEHSCHLEIFKOPF FOR HIGH-ACCURACY INTERIOR MACHINING SMALL HOLES |
| US20040058634A1 (en) * | 2002-09-20 | 2004-03-25 | Deware William R. | Adjustable abrading tool, abrasive star and abrading kit |
| CN101229628A (en) * | 2006-12-12 | 2008-07-30 | 纳格尔机械及工具制造厂有限责任公司 | Cylindrical form interior surface of hole fine finishing method and fine finishing device thereof |
| CN201881262U (en) * | 2010-10-27 | 2011-06-29 | 南京飞燕活塞环股份有限公司 | Honing cylinder for piston ring internally supported with elastic body |
| CN202963646U (en) * | 2012-11-29 | 2013-06-05 | 东莞市多邦珩磨技术有限公司 | Novel honing reamer |
| CN202964322U (en) * | 2012-12-18 | 2013-06-05 | 于竣宇 | Guide wheel grinding machine with phase compensation function |
| CN203197723U (en) * | 2013-04-01 | 2013-09-18 | 扬州五亭桥缸套有限公司 | Cylindrical workpiece inner hole polishing device |
| CN203650219U (en) * | 2013-12-31 | 2014-06-18 | 贵州高峰石油机械股份有限公司 | Inner-hole groove cuspidal edge polishing device |
| CN203751926U (en) * | 2014-04-04 | 2014-08-06 | 江西铜业股份有限公司 | Small hole honing and hardening honing rod for drilling machine |
| CN204366686U (en) * | 2014-12-31 | 2015-06-03 | 上虞市内燃机配件有限公司 | Valve tappet ball-and-socket polishing rod |
| CN105415117A (en) * | 2015-12-10 | 2016-03-23 | 西安航天动力研究所 | Specific pressure regulating device for mechanically-grinded end face of sealing ring |
| CN106695487A (en) * | 2016-12-25 | 2017-05-24 | 重庆润跃机械有限公司 | Gear deburring device |
| CN206677752U (en) * | 2017-03-29 | 2017-11-28 | 天津鹰格尔液压缸有限公司 | A kind of easy honing machine |
| CN207139528U (en) * | 2017-07-22 | 2018-03-27 | 上海沁格杰机械有限公司 | A kind of hone for hinge integration of rising |
| CN107363707A (en) * | 2017-08-31 | 2017-11-21 | 覃幼洁 | A kind of simple honing head for adapting to aperture Honing process |
| CN108214228A (en) * | 2017-12-06 | 2018-06-29 | 浙江信源电器制造有限公司 | Sand paper circle Quick-attachable polishing and grinding head |
| CN108620819A (en) * | 2018-04-19 | 2018-10-09 | 哈尔滨汽轮机厂有限责任公司 | A method of processing diffusion tubing product endoporus |
| CN208323047U (en) * | 2018-05-24 | 2019-01-04 | 庆铃汽车(集团)有限公司 | Grinding equipment |
| CN210209739U (en) * | 2019-07-04 | 2020-03-31 | 上海金茂建筑装饰有限公司 | Indoor decoration device |
| CN110539248A (en) * | 2019-09-29 | 2019-12-06 | 苏州微创关节医疗科技有限公司 | polishing head and grinding tool |
| CN110757331A (en) * | 2019-11-26 | 2020-02-07 | 中北大学 | Rifling honing head |
| CN212071553U (en) * | 2020-04-07 | 2020-12-04 | 镇江市耐尔特超硬刀具有限公司 | Novel self-centering honing rod |
| CN111468999A (en) * | 2020-04-27 | 2020-07-31 | 赵大为 | Stainless steel flange manufacturing processing treatment system |
Non-Patent Citations (1)
| Title |
|---|
| 聂兆云等: "EA4T动车组空心车轴深孔加工工艺研究", 《制造基础与机床》 * |
Also Published As
| Publication number | Publication date |
|---|---|
| CN113021171B (en) | 2022-09-13 |
Similar Documents
| Publication | Publication Date | Title |
|---|---|---|
| CN101195205A (en) | Integrated roughing/finishing processing device for abrasive belt centerless grinding and polishing | |
| CN201253720Y (en) | Thread rolling tool | |
| US12325107B2 (en) | Texture pattern for abrasive tool | |
| CN105522224B (en) | Guider is processed in a kind of collet-type rod line pipe peeling | |
| CN101293329A (en) | Finishing method for abrasive wheel for grinding electro-hydraulic servo valve tube spring thin wall | |
| CN101758453A (en) | Adjustable honing head | |
| CN105619271A (en) | Machining method for cutting inner hole of grinding wheel | |
| CN113021171A (en) | Compound honing head for small hole | |
| CN201092001Y (en) | Assembly for machining inner cambered surface of sapphire by ordinary grinder | |
| CN210414054U (en) | High-precision honing head | |
| CN118682659A (en) | A grinding tool and a manual inner hole grinding method | |
| CN203305039U (en) | Device for improving surface roughness of inner hole of hole-type part | |
| CN201940908U (en) | Grinding Wheels for Ball End Processing | |
| US20060205321A1 (en) | Super-abrasive machining tool and method of use | |
| WO2012053455A1 (en) | Method for machining inner surface of cylinder and boring tool | |
| CN211940156U (en) | Auxiliary grinding tool for bearing-removing hollow roller | |
| CN111451911B (en) | Superhard grinding wheel repairing tool and using method | |
| CN210757172U (en) | A dabber anchor clamps for work piece processing of polishing | |
| CN206273493U (en) | A kind of axle centre-hole lapping machine | |
| CN114535940A (en) | Processing method of short cylindrical roller bearing retainer with positioning flange on outer ring | |
| CN102275117A (en) | Oilstone clamp for super finishing of bearing groove | |
| CN201632925U (en) | Small hole honing head | |
| CN105538129A (en) | Floating grinding method and fixture | |
| US12017329B2 (en) | Grinding wheel with different work surfaces | |
| CN217552105U (en) | Finish machining device for inner hole of large oil cylinder |
Legal Events
| Date | Code | Title | Description |
|---|---|---|---|
| PB01 | Publication | ||
| PB01 | Publication | ||
| SE01 | Entry into force of request for substantive examination | ||
| SE01 | Entry into force of request for substantive examination | ||
| GR01 | Patent grant | ||
| GR01 | Patent grant | ||
| TR01 | Transfer of patent right | ||
| TR01 | Transfer of patent right |
Effective date of registration: 20250113 Address after: Room 08-10, 6 / F, block a, No. 5, Dongtucheng Road, Chaoyang District, Beijing 100013 Patentee after: National Petroleum and natural gas pipeline network Group Co.,Ltd. Country or region after: China Patentee after: South China branch of National Petroleum and natural gas pipeline network Group Co.,Ltd. Patentee after: XI'AN AEROSPACE PROPULSION INSTITUTE Address before: 6 / F, tower a, Sinopec building, 191 TIYU West Road, Guangzhou, Guangdong 510620 Patentee before: South China branch of National Petroleum and natural gas pipeline network Group Co.,Ltd. Country or region before: China Patentee before: XI'AN AEROSPACE PROPULSION INSTITUTE |





