CN112974419A - Device for cleaning cut sleeve of air pipe and using method thereof - Google Patents

Device for cleaning cut sleeve of air pipe and using method thereof Download PDF

Info

Publication number
CN112974419A
CN112974419A CN201911308929.XA CN201911308929A CN112974419A CN 112974419 A CN112974419 A CN 112974419A CN 201911308929 A CN201911308929 A CN 201911308929A CN 112974419 A CN112974419 A CN 112974419A
Authority
CN
China
Prior art keywords
cleaning
normal saline
bin
nozzle
inner sleeve
Prior art date
Legal status (The legal status is an assumption and is not a legal conclusion. Google has not performed a legal analysis and makes no representation as to the accuracy of the status listed.)
Granted
Application number
CN201911308929.XA
Other languages
Chinese (zh)
Other versions
CN112974419B (en
Inventor
于媛
Current Assignee (The listed assignees may be inaccurate. Google has not performed a legal analysis and makes no representation or warranty as to the accuracy of the list.)
Cancer Hospital and Institute of CAMS and PUMC
Original Assignee
Cancer Hospital and Institute of CAMS and PUMC
Priority date (The priority date is an assumption and is not a legal conclusion. Google has not performed a legal analysis and makes no representation as to the accuracy of the date listed.)
Filing date
Publication date
Application filed by Cancer Hospital and Institute of CAMS and PUMC filed Critical Cancer Hospital and Institute of CAMS and PUMC
Priority to CN201911308929.XA priority Critical patent/CN112974419B/en
Publication of CN112974419A publication Critical patent/CN112974419A/en
Application granted granted Critical
Publication of CN112974419B publication Critical patent/CN112974419B/en
Active legal-status Critical Current
Anticipated expiration legal-status Critical

Links

Images

Classifications

    • BPERFORMING OPERATIONS; TRANSPORTING
    • B08CLEANING
    • B08BCLEANING IN GENERAL; PREVENTION OF FOULING IN GENERAL
    • B08B9/00Cleaning hollow articles by methods or apparatus specially adapted thereto
    • B08B9/02Cleaning pipes or tubes or systems of pipes or tubes
    • B08B9/027Cleaning the internal surfaces; Removal of blockages
    • B08B9/032Cleaning the internal surfaces; Removal of blockages by the mechanical action of a moving fluid, e.g. by flushing
    • BPERFORMING OPERATIONS; TRANSPORTING
    • B08CLEANING
    • B08BCLEANING IN GENERAL; PREVENTION OF FOULING IN GENERAL
    • B08B13/00Accessories or details of general applicability for machines or apparatus for cleaning
    • BPERFORMING OPERATIONS; TRANSPORTING
    • B08CLEANING
    • B08BCLEANING IN GENERAL; PREVENTION OF FOULING IN GENERAL
    • B08B9/00Cleaning hollow articles by methods or apparatus specially adapted thereto
    • B08B9/02Cleaning pipes or tubes or systems of pipes or tubes
    • B08B9/027Cleaning the internal surfaces; Removal of blockages
    • B08B9/04Cleaning the internal surfaces; Removal of blockages using cleaning devices introduced into and moved along the pipes
    • B08B9/043Cleaning the internal surfaces; Removal of blockages using cleaning devices introduced into and moved along the pipes moved by externally powered mechanical linkage, e.g. pushed or drawn through the pipes
    • B08B9/0436Cleaning the internal surfaces; Removal of blockages using cleaning devices introduced into and moved along the pipes moved by externally powered mechanical linkage, e.g. pushed or drawn through the pipes provided with mechanical cleaning tools, e.g. scrapers, with or without additional fluid jets
    • FMECHANICAL ENGINEERING; LIGHTING; HEATING; WEAPONS; BLASTING
    • F26DRYING
    • F26BDRYING SOLID MATERIALS OR OBJECTS BY REMOVING LIQUID THEREFROM
    • F26B21/00Arrangements or duct systems, e.g. in combination with pallet boxes, for supplying and controlling air or gases for drying solid materials or objects
    • F26B21/006Arrangements or duct systems, e.g. in combination with pallet boxes, for supplying and controlling air or gases for drying solid materials or objects the gas supply or exhaust being effected through hollow spaces or cores in the materials or objects, e.g. tubes, pipes, bottles
    • F26B21/008Arrangements or duct systems, e.g. in combination with pallet boxes, for supplying and controlling air or gases for drying solid materials or objects the gas supply or exhaust being effected through hollow spaces or cores in the materials or objects, e.g. tubes, pipes, bottles the objects being flexible articles, which may be blown up by the drying gas, e.g. tubes, sausage casings
    • FMECHANICAL ENGINEERING; LIGHTING; HEATING; WEAPONS; BLASTING
    • F26DRYING
    • F26BDRYING SOLID MATERIALS OR OBJECTS BY REMOVING LIQUID THEREFROM
    • F26B3/00Drying solid materials or objects by processes involving the application of heat
    • F26B3/02Drying solid materials or objects by processes involving the application of heat by convection, i.e. heat being conveyed from a heat source to the materials or objects to be dried by a gas or vapour, e.g. air
    • F26B3/06Drying solid materials or objects by processes involving the application of heat by convection, i.e. heat being conveyed from a heat source to the materials or objects to be dried by a gas or vapour, e.g. air the gas or vapour flowing through the materials or objects to be dried
    • FMECHANICAL ENGINEERING; LIGHTING; HEATING; WEAPONS; BLASTING
    • F26DRYING
    • F26BDRYING SOLID MATERIALS OR OBJECTS BY REMOVING LIQUID THEREFROM
    • F26B9/00Machines or apparatus for drying solid materials or objects at rest or with only local agitation; Domestic airing cupboards
    • F26B9/06Machines or apparatus for drying solid materials or objects at rest or with only local agitation; Domestic airing cupboards in stationary drums or chambers
    • F26B9/066Machines or apparatus for drying solid materials or objects at rest or with only local agitation; Domestic airing cupboards in stationary drums or chambers the products to be dried being disposed on one or more containers, which may have at least partly gas-previous walls, e.g. trays or shelves in a stack
    • BPERFORMING OPERATIONS; TRANSPORTING
    • B08CLEANING
    • B08BCLEANING IN GENERAL; PREVENTION OF FOULING IN GENERAL
    • B08B2209/00Details of machines or methods for cleaning hollow articles
    • B08B2209/02Details of apparatuses or methods for cleaning pipes or tubes
    • B08B2209/027Details of apparatuses or methods for cleaning pipes or tubes for cleaning the internal surfaces
    • B08B2209/04Details of apparatuses or methods for cleaning pipes or tubes for cleaning the internal surfaces using cleaning devices introduced into and moved along the pipes

Landscapes

  • Engineering & Computer Science (AREA)
  • Mechanical Engineering (AREA)
  • General Engineering & Computer Science (AREA)
  • Life Sciences & Earth Sciences (AREA)
  • Microbiology (AREA)
  • Devices For Medical Bathing And Washing (AREA)
  • Cleaning In General (AREA)

Abstract

本发明提供了一种清洗气管切开套管的装置及其使用方法,属于医疗用品领域。该装置包括:壳体、清水清理部件、生理盐水清理部件;所述壳体分为上下两层,在上层设置有清洗仓、消毒仓,在下层设置有废液收集仓;所述清水清洗部件包括清水喷嘴、清洗刷;所述生理盐水清理部件包括生理盐水喷嘴;所述清水喷嘴、生理盐水喷嘴设置在所述清洗仓上,所述清洗刷设置在所述清洗仓的内腔中,并与清水喷嘴连接;所述清洗仓的底部与所述废液收集仓的顶部之间设置有漏水板,在所述消毒仓的底部与所述废液收集仓的顶部之间设置有消毒底板。利用本发明能够快速对内套管进行清洗、消毒和烘干,节省了护理人员的时间和降低了护理人员的工作强度,并避免了内套管被污染。

Figure 201911308929

The invention provides a device for cleaning a tracheostomy sleeve and a method for using the same, belonging to the field of medical supplies. The device includes: a casing, a clean water cleaning part, and a physiological saline cleaning part; the casing is divided into upper and lower layers, a cleaning bin and a disinfection bin are arranged on the upper layer, and a waste liquid collection bin is arranged on the lower layer; the clean water cleaning part It includes a clean water nozzle and a cleaning brush; the physiological saline cleaning component includes a physiological saline nozzle; the clean water nozzle and the physiological saline nozzle are arranged on the cleaning bin, and the cleaning brush is arranged in the inner cavity of the cleaning bin, and Connected with the clean water nozzle; a water leakage plate is arranged between the bottom of the cleaning bin and the top of the waste liquid collection bin, and a disinfection bottom plate is set between the bottom of the disinfection bin and the top of the waste liquid collection bin. The invention can quickly clean, sterilize and dry the inner sleeve, save the time and work intensity of the nursing staff, and prevent the inner sleeve from being polluted.

Figure 201911308929

Description

Device for cleaning cut sleeve of air pipe and using method thereof
Technical Field
The invention belongs to the field of medical supplies, and particularly relates to a device for cleaning an incised sleeve of an air tube and a using method thereof.
Background
The tracheotomy sleeve pipe can be put into from the department of cutting after the tracheotomy, and the tracheotomy sleeve pipe includes interior sleeve pipe, the outer tube that is arc tubular structure, and interior sleeve pipe suit is in the inner chamber of outer tube, during the use, the outer tube is fixed in the trachea, inserts interior sleeve pipe in the inner chamber of outer tube. Because dirt such as sputum scab and the like can appear on the inner wall of the inner sleeve, the inner sleeve needs to be taken out for multiple times every day, the dirt in the inner sleeve is cleaned up by nursing staff, and the inner sleeve is soaked in alcohol for a certain time, washed clean by normal saline, and then put back into the outer sleeve after being dried.
At present, the operation of the clearance of internal sleeve pipe and washing is very troublesome, the nursing staff generally washes the internal sleeve pipe with the water earlier, then penetrate the one end of yarn strip from interior sheathed tube one end, wear out from the other end, then the clearance of the both ends pulling back and forth that presss from both sides the yarn strip with tweezers realizes the foul on the internal sleeve pipe inner wall, then wash with the water, wash the back that finishes, reuse alcohol soaks the disinfection, reuse normal saline washes alcohol clean after the disinfection is accomplished, dry it naturally at last, whole process need spend a large amount of time and physical power of nursing staff, and can not guarantee that the yarn strip can touch all positions of interior sleeve pipe wall, consequently all clean up all positions of difficult sleeve pipe wall, in addition, adopt the method of drying naturally to make interior sleeve pipe receive the pollution easily, and then influence patient's health.
Disclosure of Invention
The invention aims to solve the problems in the prior art and provides a device for cleaning a tracheotomy cannula and a using method thereof, which can clean, disinfect and dry the inner cannula of the tracheotomy cannula, save the time of nursing staff, reduce the working strength of the nursing staff and prevent the inner cannula from being polluted.
The invention is realized by the following technical scheme:
an apparatus for cleaning a tracheotomy cannula, said apparatus comprising: the device comprises a shell, a clear water cleaning component and a normal saline cleaning component;
the shell is divided into an upper layer and a lower layer, a cleaning bin and a disinfecting bin are arranged on the upper layer, and a waste liquid collecting bin is arranged on the lower layer;
the clean water cleaning part comprises a clean water nozzle and a cleaning brush;
the normal saline cleaning component comprises a normal saline nozzle;
the clean water nozzle and the normal saline nozzle are arranged on the cleaning bin, and the cleaning brush is arranged in an inner cavity of the cleaning bin and is connected with the clean water nozzle;
a water leakage plate is arranged between the bottom of the cleaning bin and the top of the waste liquid collecting bin, and a disinfection bottom plate is arranged between the bottom of the disinfection bin and the top of the waste liquid collecting bin.
The cleaning bin comprises: the washing bin comprises a top plate, two side plates, a back plate, a water leakage plate and a bin door, wherein the two side plates are arranged in parallel and are vertical to a horizontal plane, the top plate is connected above the two side plates and is parallel to the horizontal plane, the water leakage plate is connected below the two side plates and is parallel to the horizontal plane, the back plate is connected behind the two side plates and is vertical to the horizontal plane, an inner cavity of the washing bin is formed by enclosing the two side plates, the back plate, the top plate and the water leakage plate, and the bin door is connected in front of one side plate through a hinge;
two holes are formed in the top plate of the cleaning bin, the clear water nozzle is installed in one hole, and the normal saline nozzle is installed in the other hole;
the water leaking plate is of a net-shaped flat plate structure.
The lower part of the clean water nozzle is connected with the cleaning brush;
the cleaning brush comprises a main body and bristles, the main body is of a tubular structure with one open end and one closed end, and a plurality of groups of water outlet hole groups are formed in the tube wall of the main body; each group of water outlet hole groups comprises a plurality of water outlet holes; each water outlet hole communicates the inner cavity of the main body with the outside;
the open end of the main body is connected with the clean water nozzle.
Preferably, the main body adopts a silicone tube; the brush hair adopts the silica gel brush hair, the one end of silica gel brush hair is fixed on the outer wall of main part.
Preferably, a pulling device is arranged on the outer wall of the closed end of the main body;
the traction device comprises a traction rope and a traction ball;
one end of the traction rope is connected with the outer wall of the closed end of the main body, and the other end of the traction rope is connected with the traction ball; the length of the pulling rope is greater than that of the inner sleeve;
the traction ball is a sphere, and the diameter of the traction ball is smaller than the inner diameter of the inner sleeve.
Suspension parts are respectively arranged below the clear water nozzle and the normal saline nozzle;
the hanging part comprises a connecting piece and a clamping piece, the clamping piece is of an open annular structure, the central axis of the clamping piece is vertical to the horizontal plane and is respectively arranged coaxially with the clear water nozzle and the normal saline nozzle, the open end of the clamping piece is positioned at the front end, the rear end of the clamping piece is connected with one end of the connecting piece, and the other end of the connecting piece is connected with the back plate;
preferably, the clamping piece adopts an open annular stainless steel spring piece, and a cushion layer is bonded on the inner side of the spring piece;
the inner diameter of the clamping piece is smaller than the outer diameter of the inner sleeve, and the length of the opening end is larger than half of the outer diameter of the inner sleeve and smaller than the outer diameter of the inner sleeve.
The clear water cleaning part further comprises a clear water pressure pump, a clear water spray gun and a clear water container which are positioned outside the cleaning bin, the upper part of the clear water spray nozzle is connected with the outlet of the clear water spray gun through a pipeline, the inlet of the clear water spray gun is connected with the outlet of the clear water pressure pump through a pipeline, the inlet of the clear water pressure pump is connected with the clear water container, and clear water is contained in the clear water container;
the normal saline cleaning component further comprises a normal saline pressure pump, a normal saline spray gun and a normal saline container which are positioned outside the cleaning bin; the upper part of the normal saline nozzle is connected with an outlet of a normal saline spray gun through a pipeline, an inlet of the normal saline spray gun is connected with an outlet of a normal saline pressure pump through a pipeline, an inlet of the normal saline pressure pump is connected with a normal saline container, and the normal saline is contained in the normal saline container;
the diameter of the normal saline nozzle is larger than the outer diameter of the inner sleeve;
the device for cleaning the tracheotomy tube further comprises a drying part, wherein the drying part comprises a drying nozzle and drying equipment positioned outside the cleaning bin, and the drying nozzle is connected with the drying equipment through a pipeline;
a hole is formed in one side plate of the cleaning bin, and the drying nozzle is installed in the hole;
or the drying nozzle and the normal saline nozzle adopt the same nozzle, the nozzle is a three-way valve and comprises a first interface, a second interface and a third interface, and one end of the first interface and one end of the second interface are respectively connected with one end of the third interface; the device comprises a top plate, a first interface, a second interface, a first connector, a second interface, a third interface, a normal saline switch, a drying switch, a pipeline and a drying device.
The disinfection bin is arranged beside the cleaning bin;
the disinfection bin is of a box body structure with an opening at the upper end, and the bottom surface of the disinfection bin is the disinfection bottom plate;
the width of the disinfection bottom plate is smaller than that of the waste liquid collection bin;
the disinfection bottom plate inclines forwards from the back, and a liquid outlet is formed in the lowest position of the disinfection bottom plate;
and a plug is arranged on the liquid outlet.
A waste liquid tray is arranged in the waste liquid collecting bin;
the waste liquid tray adopts a drawer structure;
the inner walls of the two side plates of the waste liquid collecting bin are respectively provided with a groove, and the two grooves are arranged in parallel and are parallel to a horizontal plane; the two sides of the waste liquid plate are respectively provided with outward flanges, and the flanges on the two sides can be respectively inserted into the grooves on the two sides.
The invention also provides a using method of the device, which comprises the following steps:
(1) opening a bin door of the cleaning bin, putting a pulling ball into the inner sleeve from one end of the inner sleeve, and pulling the pulling ball to pull the cleaning brush into the inner cavity of the inner sleeve after the pulling ball penetrates out of the other end of the inner sleeve; then the upper end of the inner sleeve is clamped into a suspension part below the clean water nozzle, a clean water pressure pump is opened, and clean water is sprayed out from each water outlet hole on the cleaning brush to clean the inner sleeve;
(2) after the clean water is cleaned, closing the clean water pressure pump;
(3) taking the inner sleeve out of the suspension component below the clear water nozzle, placing the inner sleeve into a disinfection bin containing disinfectant, taking the inner sleeve out of the disinfection bin after disinfection is finished, and clamping one end of the inner sleeve into the suspension component below the normal saline nozzle;
(4) the normal saline pressure pump is opened, the normal saline is sprayed out from the normal saline nozzle, and the inner sleeve is washed; after the inner sleeve is washed clean, the normal saline pressure pump is closed, the drying device is opened, hot air is blown out from the drying nozzle, and the inner sleeve is dried;
or the normal saline switch is turned on, the drying switch is turned off, then the normal saline pressure pump is turned on, the normal saline is sprayed out from the third interface of the three-way valve, and the inner sleeve is washed; after the inner sleeve is washed clean, the normal saline pressure pump is closed, the normal saline switch is closed, the drying switch is opened, then the drying device is opened, hot air is blown out from a third interface of the three-way valve, and the inner sleeve is dried;
the step (2) further comprises:
if the inner sleeve needs to be further brushed, the pulling ball is pulled, the inner sleeve is taken out of the suspension component, the inner sleeve moves back and forth along the cleaning brush and rotates, and then the inner sleeve is clamped into the suspension component below the clean water nozzle again; and opening the clean water pressure pump again, and washing the inner sleeve by using clean water.
Compared with the prior art, the invention has the beneficial effects that: the invention can quickly clean, disinfect and dry the inner sleeve of the tracheotomy tube, saves the time of nursing staff, reduces the working intensity of the nursing staff and avoids the inner sleeve from being polluted.
Drawings
FIG. 1 is a front view of the apparatus for cleaning a tracheostomy cannula of the present invention;
FIG. 2 is a left side view of the apparatus for cleaning a tracheostomy cannula of the present invention;
FIG. 3 is a right side view of the apparatus for cleaning tracheostomy cannulae of the present invention;
FIG. 4 is a top view of the apparatus for cleaning a tracheotomy cannula of the invention;
FIG. 5 is a top view of the suspension components of the apparatus for cleaning tracheotomy tubes of the invention.
Detailed Description
The invention is described in further detail below with reference to the accompanying drawings:
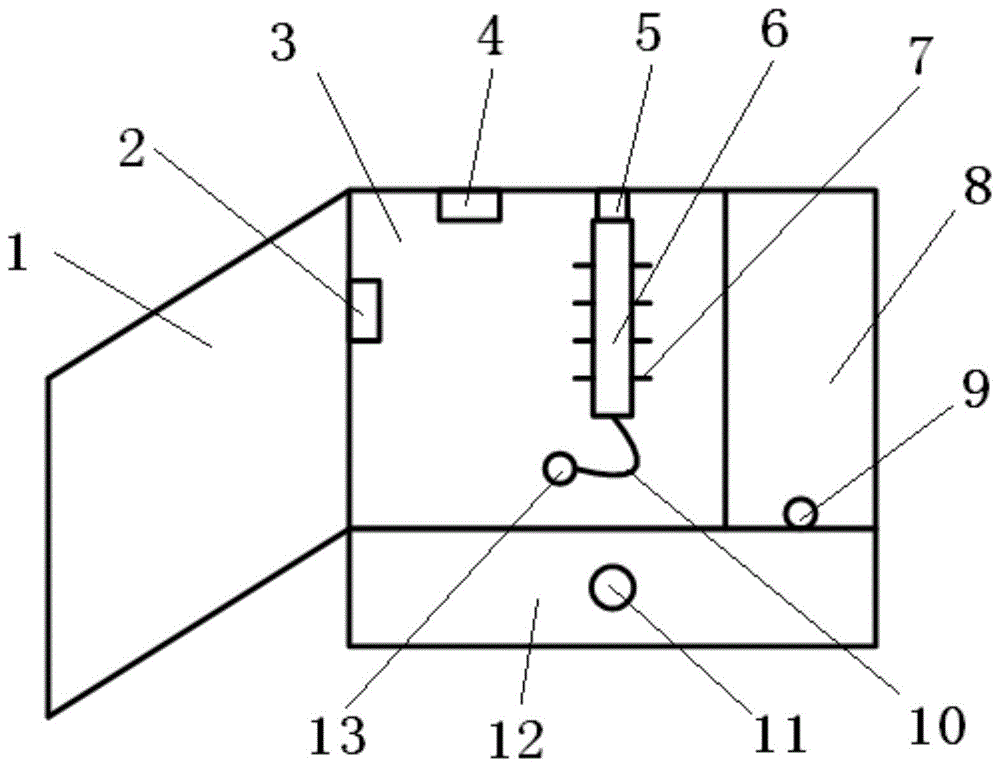
as shown in fig. 1 to 5, the apparatus for cleaning a tracheotomy tube according to the present invention comprises: the device comprises a shell, a clear water cleaning component, a normal saline cleaning component and a drying component; the shell is divided into an upper layer and a lower layer, the upper layer is provided with a cleaning bin 3 and a disinfection bin 8, and the lower layer is provided with a waste liquid collecting bin 12; the clean water cleaning part comprises a clean water nozzle 5 and a cleaning brush; the normal saline cleaning component comprises a normal saline nozzle 4; the drying part comprises a drying nozzle 2; the clean water nozzle 5, the normal saline nozzle 4 and the drying nozzle 2 are arranged on the cleaning bin 3, and the cleaning brush is arranged in the inner cavity of the cleaning bin 3 and is connected with the clean water nozzle 5; a water leakage plate is arranged between the bottom of the cleaning bin 3 and the top of the waste liquid collecting bin 12, liquid in the cleaning bin 3 can flow into the waste liquid collecting bin 12 through the water leakage plate, and a disinfection bottom plate is arranged between the bottom of the disinfection bin 8 and the top of the waste liquid collecting bin 12. The upper end opening of disinfection storehouse 8, the front end opening in washing storehouse 3, there is bin door 1 at the open end in washing storehouse 3 through hinge connection.
The examples of the invention are as follows:
the first embodiment is as follows:
the cleaning bin 3 includes: the roof, two curb plates, the backplate, the board that leaks, door 1, two curb plate parallel arrangement, and perpendicular with the horizontal plane, the top of two curb plates is connected to the roof, and parallel with the horizontal plane, the below at two curb plates is connected to the board that leaks, and parallel with the horizontal plane, the rear at two curb plates is connected to the backplate, and perpendicular with the horizontal plane, by two curb plates, the backplate, the roof, the board that leaks encloses to close forms the inner chamber that washs storehouse 3, there is door 1 through hinged joint in the place ahead of one of them curb plate, open the door after, can put into clear stoving storehouse with interior sleeve pipe.
The water leaking plate is of a net-shaped flat plate structure, and liquid can fall into the waste liquid collecting bin 12 below through the water leaking plate.
Preferably, the top plate, the two side plates, the back plate, the water leakage plate and the bin door 1 of the cleaning bin 3 are all made of stainless steel plates. The bottom plate adopts a stainless steel net or a stainless steel basket net.
Two holes are formed in the top plate of the cleaning bin 3, and a clean water nozzle 5 and a normal saline nozzle 4 are respectively arranged in the two holes; a side plate of the cleaning bin 3 is provided with a hole, and a drying nozzle 2 is arranged in the hole. Preferably, the normal saline nozzle 4 is close to the drying nozzle 2, and the drying nozzle is closer to the normal saline nozzle, so that the drying effect on the inner sleeve hung below the normal saline nozzle is better.
Example two:
the clean water cleaning part further comprises: the device comprises a clear water pressure pump, a clear water spray gun and a clear water container, wherein the upper part of a clear water spray nozzle 5 is connected with an outlet of the clear water spray gun positioned outside a cleaning bin 3 through a pipeline, an inlet of the clear water spray gun is connected with an outlet of the pressure pump through a pipeline, an inlet of the pressure pump is connected with the clear water container, and clear water is contained in the clear water container.
Example three:
the saline solution clearing member further includes: a normal saline pressure pump, a normal saline spray gun and a normal saline container; the upper part of the normal saline nozzle 4 is connected with an outlet of a normal saline spray gun positioned outside the cleaning bin 3 through a pipeline, an inlet of the normal saline spray gun is connected with an outlet of a normal saline pressure pump through a pipeline, an inlet of the normal saline pressure pump is connected with a normal saline container, and the normal saline container is filled with normal saline.
Preferably, the diameter of the saline nozzle 4 is larger than the outer diameter of the inner tube in order to clean both the inside and the outside of the inner tube, so that the saline discharged from the nozzle may flow out of the inner tube or may flow down along the outer wall of the inner tube.
The clean water pressure pump, the clean water spray gun, the clean water container, the normal saline pressure pump, the normal saline spray gun and the normal saline container in the second embodiment and the third embodiment all adopt the existing pressure pump, spray gun and container; the connection mode among the container, the pressure pump, the spray gun and the nozzle also adopts the existing connection mode, and the details are not repeated. The pressure pump, the nozzle and the container can be arranged above or behind the cleaning bin 3 according to actual needs, and the pressure pump, the nozzle and the container can be arranged according to actual needs.
Example four:
the lower part of the clean water nozzle 5 is connected with the cleaning brush. The cleaning brush comprises a main body 6 and a plurality of groups of bristles 7, wherein the main body 6 is of a tubular structure with one open end and one closed end, and a plurality of groups of water outlet holes are formed in the tube wall of the main body 6. Preferably, each group of water outlet hole groups comprises a plurality of water outlet holes uniformly distributed on the circumference, each group of water outlet hole groups are sequentially arranged from the opening end to the closed end of the main body 6, and the inner cavity of the main body 6 is communicated with the outside through each water outlet hole. The outlet openings may also be arranged in other arrangements, such as a plurality of sets of spiral arrangements or other arrangements, as long as liquid entering from the open end can be ejected from each outlet opening.
The open end of the main body 6 is connected with the clean water nozzle 5, and the connection mode can adopt various existing structures, for example, the connection mode adopts a connector, or the open end can be directly sleeved on the clean water nozzle 5.
Preferably, the main body 6 adopts a silicone tube, and the silicone tube has certain flexibility and can be well adapted to the radian of the inner sleeve.
Preferably, the brush hair 7 adopts silica gel brush hair 7, the one end of silica gel brush hair 7 is fixed on the outer wall of main part 6, silica gel brush hair 7 and apopore interval set up, set up one or many brush hairs 7 between two apopores promptly.
The length of the part of the main body 6 provided with the brush bristles 7 is greater than that of the inner sleeve, and the length of the part provided with the water outlet hole is equal to that of the inner sleeve or is slightly greater than that of the inner sleeve, so that water sprayed from the water outlet hole can clean all positions in the inner cavity of the inner sleeve.
Example five:
on the basis of the fourth embodiment, a pulling device is arranged on the outer wall of the closed end of the main body 6. The pulling device comprises a pulling rope 10 and a pulling ball 13, wherein one end of the pulling rope 10 is connected with the outer wall of the closed end of the main body 6, the other end of the pulling rope 10 is connected with the pulling ball 13, and the connection of the two is realized by adopting the existing connection mode, for example, the connection mode can adopt the mode of bonding or other fixed connection modes.
The pulling ball 13 is a sphere with a diameter smaller than the inner diameter of the inner sleeve and a certain weight, and for example, a small steel ball can be used. The length of the pulling rope 10 is greater than the length of the inner casing. During the use, drop into interior sheathed tube inner chamber with tractive ball 13 from interior sheathed tube one end, under the action of gravity, tractive ball 13 can be worn out from interior sheathed tube other end, and then drives tractive rope 10 and passes interior sheathed tube, and tractive rope 10 drives main part 6 and penetrates interior sheathed tube, and main part 6 has just been arranged in interior sheathed tube inner chamber like this.
Example six:
a suspension member is provided below the fresh water nozzle 5 and the saline nozzle 4, respectively (for clarity, the suspension member is not shown in fig. 1). As shown in fig. 5, the suspension member includes a connecting member 14 and a clamping member, the clamping member is an open ring structure, the central axis of the clamping member is perpendicular to the horizontal plane, and is coaxially disposed with the clear water nozzle 5 and the saline nozzle 4, the open end of the clamping member is located at the front end, the rear end of the clamping member is connected with one end of the connecting member 14, the other end of the connecting member 14 is connected with the back plate, the connecting manner can be through bolt connection, for example, the back plate is provided with a hole, the connecting member is provided with a hole, one end of the bolt is fixed by a nut after passing through the hole on the connecting member and the hole on the back plate.
Preferably, the clamping piece is an open annular stainless steel spring piece 15, a cushion layer 16 is adhered to the inner side of the spring piece 15, and the cushion layer 16 can prevent the spring piece 15 from wearing the outer wall of the inner sleeve.
The inner diameter of the clamping piece is smaller than the outer diameter of the inner sleeve, and the length of the opening end is larger than half of the outer diameter of the inner sleeve and smaller than the outer diameter of the inner sleeve. When the clamping device is used, any one end of the inner sleeve is pushed into the opening end of the clamping piece from the front, the clamping piece can clamp the inner sleeve, and the fixation of the inner sleeve is realized.
Example seven:
the drying component further comprises a drying device, the drying nozzle 2 is connected with the drying device located outside the cleaning bin 3 through a pipeline (the drying device can be arranged above or behind the cleaning bin 3 and can be arranged according to actual needs), the drying device can adopt various existing small drying devices, for example, small devices similar to hair dryers, an air outlet of the drying device is connected with the drying nozzle 2 through a pipeline, or the pipeline is directly inserted into the drying nozzle 2, and the pipeline can also be connected with the drying nozzle 2 through a pipeline connector. The drying nozzle 2 can be round or longitudinal rectangle, when the inner sleeve is hung below the normal saline nozzle, the drying nozzle 2 is opposite to the inner sleeve.
Example eight:
the difference from the first embodiment lies in that a drying nozzle is not arranged on the side plate, the same nozzle is adopted by the drying nozzle and the normal saline nozzle, the nozzle is arranged in a hole for installing the normal saline nozzle on the top plate in the first embodiment, the nozzle is a three-way valve and comprises a first interface, a second interface and a third interface, and one end of the first interface and one end of the second interface are respectively connected with one end of the third interface; the device comprises a top plate, a first interface, a second interface, a first connector, a second interface, a third interface, a normal saline switch, a drying switch, a pipeline and a drying device. During the use, turn on the normal saline switch, close the drying switch, turn on the normal saline pump and can realize that normal saline washes, closes the normal saline switch, opens the drying switch, opens drying equipment and can realize drying.
Example nine:
the disinfection bin 8 is arranged beside the cleaning bin 3, and can share one side plate with the cleaning bin 3 or can use one side plate independently. The disinfection bin 8 is a box body structure with an upper end open, the bottom surface of the disinfection bin is a disinfection bottom plate, and the box body structure with the upper end open is enclosed by two side plates, a front end plate, a rear end plate and the disinfection bottom plate. The disinfection bottom plate inclines forwards from the back, and a liquid outlet is arranged at the lowest part of the disinfection bottom plate, namely the bottom of the front end plate of the disinfection bin 8. The width of the disinfection bottom plate is smaller than the width of the waste liquid collection bin 12, so that a part of the waste liquid collection bin 12 in the front of the disinfection bin 8 is not shielded by the disinfection bottom.
The drain outlet is provided with a plug 9, when disinfectant needs to be replaced, the plug 9 on the drain outlet is opened, liquid in the disinfection bin 8 flows into the waste liquid collecting bin 12 located below from the drain outlet, after the disinfectant is emptied, the plug 9 is installed again, and new disinfectant is placed into the disinfection bin 8 to be disinfected next time.
When in use, the inner sleeve can be directly thrown into the disinfection bin 8 from the upper end opening of the disinfection bin 8, and then the inner sleeve can be soaked in the disinfection liquid. The disinfectant can be alcohol or other disinfectant, and is poured into the disinfection bin 8 from the opening end, and is discharged into the waste liquid collecting bin 12 from the liquid outlet.
Example ten:
in order to facilitate the treatment of the waste liquid, a waste liquid tray is arranged in the waste liquid collecting bin 12; the waste liquid dish adopts the drawer structure the inner wall of two curb plates of waste liquid collection storehouse 12 is provided with the recess respectively, two recess parallel arrangement, and is parallel with the horizontal plane the both sides of waste liquid dish are provided with outside turn-ups, and the turn-ups of both sides can insert the recess of both sides respectively in, during the use, insert waste liquid collection storehouse 12 along the recess of both sides respectively with two turn-ups of surveying of waste liquid dish in, when needing to empty the waste liquid, take waste liquid dish out from waste liquid collection storehouse 12. Preferably, in order to facilitate the drawing of the waste liquid tray, a handle 11 or a protrusion is provided on the front outer portion of the waste liquid tray, and the waste liquid tray can be easily drawn out by the handle 11 or the protrusion.
In addition, can judge whether the waste liquid needs to be handled through the waste liquid collection bin 12's that disinfection 8 the place ahead is exposed part, for example can set up the scale mark on the inner wall at this place, when the liquid level exceeded the scale mark, the nursing staff took out the waste liquid dish, pours off wherein the waste liquid to in putting back waste liquid collection bin 12 again after clearing up the waste liquid dish.
The use method of the device comprises the following steps:
open door 1 that washs storehouse 3, drop into interior sleeve pipe with tractive ball 13 from interior sheathed tube one end, tractive ball 13 is worn out the back from interior sheathed tube other end, pulling tractive ball 13 is about to draw the cleaning brush into interior sheathed tube inner chamber, then go into the suspension member of interior sheathed tube upper end card below clear water nozzle 5, open clear water force pump, the clear water is spout from clear water nozzle 5 through the spray gun, the clear water enters into the main part 6 of cleaning brush from clear water nozzle 5, and spout from each apopore on it, water can wash the filth that persists on the inner wall and soften, main part 6 also can take place to remove in the inner tube under the impact force effect of water simultaneously, also can drive silica gel brush hair 7 vibration like this, and then can further clear up interior sheathed tube inner wall, and because silica gel brush hair 7 texture, it can not fish tail interior sheathed tube inner wall yet.
After the clear water cleaning is finished, the clear water pressure pump is closed, if further brushing is needed, the pulling ball 13 can be pulled by hand, the inner sleeve is taken down from the suspension component, the inner sleeve is moved back and forth along the cleaning brush and rotated, so that the inner wall of the inner sleeve can be further cleaned by the bristles 7 positioned in the inner cavity of the inner sleeve, the inner sleeve is clamped into the suspension component again, the clear water pressure pump is opened again, the inner sleeve is washed by clear water, and the process can be repeated for many times as required during actual use.
If no further cleaning is needed, the inner sleeve is directly taken down from the hanging part below the clean water nozzle 5 and put into a disinfection bin 8 containing disinfection liquid (the disinfection liquid can adopt alcohol or other disinfection liquid), and after a period of disinfection, the inner sleeve is taken out from the disinfection bin 8 and is clamped on the hanging part below the normal saline nozzle 4.
The normal saline pressure pump is opened, the normal saline is sprayed out from the normal saline nozzle, and the inner sleeve is washed; after the water is washed, the normal saline pressure pump is closed, the drying device is opened, and hot air is blown out from the drying nozzle; if a three-way valve is adopted, the process is as follows: the normal saline switch is turned on, the drying switch is turned off, then the normal saline pressure pump is turned on, the normal saline is sprayed out from the third interface of the three-way valve, and the inner sleeve is washed; after the water is washed clean, the normal saline pressure pump is closed, the normal saline switch is closed, the drying switch is opened, then the drying device is opened, and hot air is blown out from the third interface of the three-way valve. The inner sleeve is dried under the action of hot air, and when the inner sleeve is used again, the inner sleeve is taken down from the suspension component.
When clear water clearance, physiological saline clearance are carried out, can close door 1, can prevent like this that liquid splash from washing outside storehouse 3, can open door 1 when drying, the hot-air effluvium of being convenient for like this.
If the antiseptic solution needs to be changed, only need open the end cap 9 in disinfection storehouse 8, in the antiseptic solution flowed into waste liquid collection storehouse 12 from the liquid outlet, if need clear up the waste liquid storehouse, only need with the waste liquid dish from the waste liquid storehouse extract can.
The above-described embodiment is only one embodiment of the present invention, and it will be apparent to those skilled in the art that various modifications and variations can be easily made based on the application and principle of the present invention disclosed in the present application, and the present invention is not limited to the method described in the above-described embodiment of the present invention, so that the above-described embodiment is only preferred, and not restrictive.

Claims (10)

1. The utility model provides a device that washing trachea opens sleeve pipe which characterized in that: the apparatus for cleaning the tracheotomy cannula comprises: the device comprises a shell, a clear water cleaning component and a normal saline cleaning component;
the shell is divided into an upper layer and a lower layer, a cleaning bin and a disinfecting bin are arranged on the upper layer, and a waste liquid collecting bin is arranged on the lower layer;
the clean water cleaning part comprises a clean water nozzle and a cleaning brush;
the normal saline cleaning component comprises a normal saline nozzle;
the clean water nozzle and the normal saline nozzle are arranged on the cleaning bin, and the cleaning brush is arranged in an inner cavity of the cleaning bin and is connected with the clean water nozzle;
a water leakage plate is arranged between the bottom of the cleaning bin and the top of the waste liquid collecting bin, and a disinfection bottom plate is arranged between the bottom of the disinfection bin and the top of the waste liquid collecting bin.
2. A device for cleaning a tracheotomy cannula according to claim 1, characterized in that: the cleaning bin comprises: the washing bin comprises a top plate, two side plates, a back plate, a water leakage plate and a bin door, wherein the two side plates are arranged in parallel and are vertical to a horizontal plane, the top plate is connected above the two side plates and is parallel to the horizontal plane, the water leakage plate is connected below the two side plates and is parallel to the horizontal plane, the back plate is connected behind the two side plates and is vertical to the horizontal plane, an inner cavity of the washing bin is formed by enclosing the two side plates, the back plate, the top plate and the water leakage plate, and the bin door is connected in front of one side plate through a hinge;
two holes are formed in the top plate of the cleaning bin, the clear water nozzle is installed in one hole, and the normal saline nozzle is installed in the other hole;
the water leaking plate is of a net-shaped flat plate structure.
3. A device for cleaning a tracheotomy cannula according to claim 2, characterized in that: the lower part of the clean water nozzle is connected with the cleaning brush;
the cleaning brush comprises a main body and bristles, the main body is of a tubular structure with one open end and one closed end, and a plurality of groups of water outlet hole groups are formed in the tube wall of the main body; each group of water outlet hole groups comprises a plurality of water outlet holes; each water outlet hole communicates the inner cavity of the main body with the outside;
the opening end of the main body is connected with the clean water nozzle;
the main body adopts a silicone tube; the brush hair adopts the silica gel brush hair, the one end of silica gel brush hair is fixed on the outer wall of main part.
4. A device for cleaning a tracheotomy cannula according to claim 3, characterized in that: a traction device is arranged on the outer wall of the closed end of the main body;
the traction device comprises a traction rope and a traction ball;
one end of the traction rope is connected with the outer wall of the closed end of the main body, and the other end of the traction rope is connected with the traction ball; the length of the pulling rope is greater than that of the inner sleeve;
the traction ball is a sphere, and the diameter of the traction ball is smaller than the inner diameter of the inner sleeve.
5. A device for cleaning a tracheotomy cannula according to claim 2, characterized in that: suspension parts are respectively arranged below the clear water nozzle and the normal saline nozzle;
the hanging part comprises a connecting piece and a clamping piece, the clamping piece is of an open annular structure, the central axis of the clamping piece is vertical to the horizontal plane and is respectively arranged coaxially with the clear water nozzle and the normal saline nozzle, the open end of the clamping piece is positioned at the front end, the rear end of the clamping piece is connected with one end of the connecting piece, and the other end of the connecting piece is connected with the back plate;
the clamping piece adopts an open annular stainless steel spring piece, and a soft cushion layer is bonded on the inner side of the spring piece;
the inner diameter of the clamping piece is smaller than the outer diameter of the inner sleeve, and the length of the opening end is larger than half of the outer diameter of the inner sleeve and smaller than the outer diameter of the inner sleeve.
6. A device for cleaning a tracheotomy cannula according to claim 1, characterized in that: the clear water cleaning part further comprises a clear water pressure pump, a clear water spray gun and a clear water container which are positioned outside the cleaning bin, the upper part of the clear water spray nozzle is connected with the outlet of the clear water spray gun through a pipeline, the inlet of the clear water spray gun is connected with the outlet of the clear water pressure pump through a pipeline, the inlet of the clear water pressure pump is connected with the clear water container, and clear water is contained in the clear water container;
the normal saline cleaning component further comprises a normal saline pressure pump, a normal saline spray gun and a normal saline container which are positioned outside the cleaning bin; the upper part of the normal saline nozzle is connected with an outlet of a normal saline spray gun through a pipeline, an inlet of the normal saline spray gun is connected with an outlet of a normal saline pressure pump through a pipeline, an inlet of the normal saline pressure pump is connected with a normal saline container, and the normal saline is contained in the normal saline container;
the diameter of the normal saline nozzle is larger than the outer diameter of the inner sleeve.
7. A device for cleaning a tracheotomy cannula according to claim 2, characterized in that: the device for cleaning the tracheotomy tube further comprises a drying part, wherein the drying part comprises a drying nozzle and drying equipment positioned outside the cleaning bin, and the drying nozzle is connected with the drying equipment through a pipeline;
a hole is formed in one side plate of the cleaning bin, and the drying nozzle is installed in the hole;
or the drying nozzle and the normal saline nozzle adopt the same nozzle, the nozzle is a three-way valve and comprises a first interface, a second interface and a third interface, and one end of the first interface and one end of the second interface are respectively connected with one end of the third interface; the device comprises a top plate, a first interface, a second interface, a first connector, a second interface, a third interface, a normal saline switch, a drying switch, a pipeline and a drying device.
8. A device for cleaning a tracheotomy cannula according to claim 1, characterized in that: the disinfection bin is arranged beside the cleaning bin;
the disinfection bin is of a box body structure with an opening at the upper end, and the bottom surface of the disinfection bin is the disinfection bottom plate;
the width of the disinfection bottom plate is smaller than that of the waste liquid collection bin;
the disinfection bottom plate inclines forwards from the back, and a liquid outlet is formed in the lowest position of the disinfection bottom plate;
and a plug is arranged on the liquid outlet.
9. A device for cleaning a tracheotomy cannula according to claim 1, characterized in that: a waste liquid tray is arranged in the waste liquid collecting bin;
the waste liquid tray adopts a drawer structure;
the inner walls of the two side plates of the waste liquid collecting bin are respectively provided with a groove, and the two grooves are arranged in parallel and are parallel to a horizontal plane; the two sides of the waste liquid plate are respectively provided with outward flanges, and the flanges on the two sides can be respectively inserted into the grooves on the two sides.
10. A method of using the apparatus for cleaning tracheostomy cannulae of any of claims 1 to 9, characterized in that: the method comprises the following steps:
(1) opening a bin door of the cleaning bin, putting a pulling ball into the inner sleeve from one end of the inner sleeve, and pulling the pulling ball to pull the cleaning brush into the inner cavity of the inner sleeve after the pulling ball penetrates out of the other end of the inner sleeve; then the upper end of the inner sleeve is clamped into a suspension part below the clean water nozzle, a clean water pressure pump is opened, and clean water is sprayed out from each water outlet hole on the cleaning brush to clean the inner sleeve;
(2) after the clean water is cleaned, closing the clean water pressure pump;
(3) taking the inner sleeve out of the suspension component below the clear water nozzle, placing the inner sleeve into a disinfection bin containing disinfectant, taking the inner sleeve out of the disinfection bin after disinfection is finished, and clamping one end of the inner sleeve into the suspension component below the normal saline nozzle;
(4) the normal saline pressure pump is opened, the normal saline is sprayed out from the normal saline nozzle, and the inner sleeve is washed; after the inner sleeve is washed clean, the normal saline pressure pump is closed, the drying device is opened, hot air is blown out from the drying nozzle, and the inner sleeve is dried;
or the normal saline switch is turned on, the drying switch is turned off, then the normal saline pressure pump is turned on, the normal saline is sprayed out from the third interface of the three-way valve, and the inner sleeve is washed; after the inner sleeve is washed clean, the normal saline pressure pump is closed, the normal saline switch is closed, the drying switch is opened, then the drying device is opened, hot air is blown out from a third interface of the three-way valve, and the inner sleeve is dried;
the step (2) further comprises:
if the inner sleeve needs to be further brushed, the pulling ball is pulled, the inner sleeve is taken out of the suspension component, the inner sleeve moves back and forth along the cleaning brush and rotates, and then the inner sleeve is clamped into the suspension component below the clean water nozzle again; and opening the clean water pressure pump again, and washing the inner sleeve by using clean water.
CN201911308929.XA 2019-12-18 2019-12-18 Device for cleaning tracheostomy tube and application method thereof Active CN112974419B (en)

Priority Applications (1)

Application Number Priority Date Filing Date Title
CN201911308929.XA CN112974419B (en) 2019-12-18 2019-12-18 Device for cleaning tracheostomy tube and application method thereof

Applications Claiming Priority (1)

Application Number Priority Date Filing Date Title
CN201911308929.XA CN112974419B (en) 2019-12-18 2019-12-18 Device for cleaning tracheostomy tube and application method thereof

Publications (2)

Publication Number Publication Date
CN112974419A true CN112974419A (en) 2021-06-18
CN112974419B CN112974419B (en) 2024-05-03

Family

ID=76343874

Family Applications (1)

Application Number Title Priority Date Filing Date
CN201911308929.XA Active CN112974419B (en) 2019-12-18 2019-12-18 Device for cleaning tracheostomy tube and application method thereof

Country Status (1)

Country Link
CN (1) CN112974419B (en)

Cited By (3)

* Cited by examiner, † Cited by third party
Publication number Priority date Publication date Assignee Title
CN114522925A (en) * 2022-01-27 2022-05-24 南京鼓楼医院 Cross reciprocating bionic dry-state adhesion type thoracoscope lens cleaning device
CN116689416A (en) * 2023-08-04 2023-09-05 佳木斯大学 Tracheal cleaning device
CN119368515A (en) * 2024-11-19 2025-01-28 浙江大学 A metal tracheotomy cannula cleaning and disinfection device

Citations (6)

* Cited by examiner, † Cited by third party
Publication number Priority date Publication date Assignee Title
CN203955598U (en) * 2014-01-06 2014-11-26 南通大学附属医院 Can washing apparatus in a kind of tracheostomy cannula
CN106001011A (en) * 2016-05-27 2016-10-12 三峡大学 Tracheal casing pipe washing device and washing system
CN205833762U (en) * 2016-07-08 2016-12-28 罗云鹏 Can washing apparatus in a kind of percutaneous tracheostomy cannula
CN205887573U (en) * 2016-08-05 2017-01-18 中国人民解放军第三军医大学第一附属医院 Electronic purger of sleeve pipe in hand -held type
CN108704907A (en) * 2018-06-04 2018-10-26 郑州大学第附属医院 Electronic tracheal tube cleaning device
CN211464164U (en) * 2019-12-18 2020-09-11 中国医学科学院肿瘤医院 Device for cleaning cut sleeve of air pipe

Patent Citations (6)

* Cited by examiner, † Cited by third party
Publication number Priority date Publication date Assignee Title
CN203955598U (en) * 2014-01-06 2014-11-26 南通大学附属医院 Can washing apparatus in a kind of tracheostomy cannula
CN106001011A (en) * 2016-05-27 2016-10-12 三峡大学 Tracheal casing pipe washing device and washing system
CN205833762U (en) * 2016-07-08 2016-12-28 罗云鹏 Can washing apparatus in a kind of percutaneous tracheostomy cannula
CN205887573U (en) * 2016-08-05 2017-01-18 中国人民解放军第三军医大学第一附属医院 Electronic purger of sleeve pipe in hand -held type
CN108704907A (en) * 2018-06-04 2018-10-26 郑州大学第附属医院 Electronic tracheal tube cleaning device
CN211464164U (en) * 2019-12-18 2020-09-11 中国医学科学院肿瘤医院 Device for cleaning cut sleeve of air pipe

Cited By (4)

* Cited by examiner, † Cited by third party
Publication number Priority date Publication date Assignee Title
CN114522925A (en) * 2022-01-27 2022-05-24 南京鼓楼医院 Cross reciprocating bionic dry-state adhesion type thoracoscope lens cleaning device
CN116689416A (en) * 2023-08-04 2023-09-05 佳木斯大学 Tracheal cleaning device
CN116689416B (en) * 2023-08-04 2023-10-13 佳木斯大学 A trachea cleaning device
CN119368515A (en) * 2024-11-19 2025-01-28 浙江大学 A metal tracheotomy cannula cleaning and disinfection device

Also Published As

Publication number Publication date
CN112974419B (en) 2024-05-03

Similar Documents

Publication Publication Date Title
CN112974419A (en) Device for cleaning cut sleeve of air pipe and using method thereof
CN215823754U (en) Cleaning and sterilizing device for medical instruments
CN111545505A (en) Instrument cleaning and sterilizing device for digestive system department
CN211464164U (en) Device for cleaning cut sleeve of air pipe
CN208437307U (en) A kind of oral equipment cleaning equipment
CN215023536U (en) Wound washing unit
CN213698091U (en) Animal doctor uses apparatus degassing unit
CN215191833U (en) Clinical sampler of dermatology
CN206784507U (en) A kind of medical antiseptic hand washing table apparatus
CN205463376U (en) B ultrasonic probe belt cleaning device
CN211155877U (en) Ultrasonic diagnostic apparatus with disinfection function
CN103191894A (en) Test tube cleaning device
CN210408875U (en) Medical nursing vehicle for obstetrics and gynecology department
CN208877139U (en) Tracheal tube special nursing car
CN217222778U (en) Instrument cleaner for disinfection supply center
CN208388782U (en) A kind of old age sufferer oral care cleaning means
CN214679089U (en) A device for oral care and disinfection
CN208373675U (en) A kind of medical instrument cleaning integrated box
CN213698001U (en) Old nursing's sputum collection device
CN216934160U (en) Tray disinfection equipment for cardiology department nursing
CN213553165U (en) Novel severe patient nurses with wasing device
CN209829791U (en) A Pediatric Nursing Cleaning and Disinfecting Device
CN213911937U (en) A medicine application device for gynecological nursing
CN107362381A (en) Medical appliance decontaminating apparatus
CN211535783U (en) Internal medicine surgical instruments degassing unit

Legal Events

Date Code Title Description
PB01 Publication
PB01 Publication
SE01 Entry into force of request for substantive examination
SE01 Entry into force of request for substantive examination
GR01 Patent grant
GR01 Patent grant