CN112973224A - Electrolyte circulation filtering device for fuel cell and flushing method thereof - Google Patents

Electrolyte circulation filtering device for fuel cell and flushing method thereof Download PDF

Info

Publication number
CN112973224A
CN112973224A CN202110183192.4A CN202110183192A CN112973224A CN 112973224 A CN112973224 A CN 112973224A CN 202110183192 A CN202110183192 A CN 202110183192A CN 112973224 A CN112973224 A CN 112973224A
Authority
CN
China
Prior art keywords
space
electrolyte
fuel cell
filter
filter device
Prior art date
Legal status (The legal status is an assumption and is not a legal conclusion. Google has not performed a legal analysis and makes no representation as to the accuracy of the status listed.)
Pending
Application number
CN202110183192.4A
Other languages
Chinese (zh)
Inventor
康钦淼
管楠祥
周明
Current Assignee (The listed assignees may be inaccurate. Google has not performed a legal analysis and makes no representation or warranty as to the accuracy of the list.)
Tsinghua University
Original Assignee
Tsinghua University
Priority date (The priority date is an assumption and is not a legal conclusion. Google has not performed a legal analysis and makes no representation as to the accuracy of the date listed.)
Filing date
Publication date
Application filed by Tsinghua University filed Critical Tsinghua University
Priority to CN202110183192.4A priority Critical patent/CN112973224A/en
Publication of CN112973224A publication Critical patent/CN112973224A/en
Pending legal-status Critical Current

Links

Images

Classifications

    • BPERFORMING OPERATIONS; TRANSPORTING
    • B01PHYSICAL OR CHEMICAL PROCESSES OR APPARATUS IN GENERAL
    • B01DSEPARATION
    • B01D29/00Filters with filtering elements stationary during filtration, e.g. pressure or suction filters, not covered by groups B01D24/00 - B01D27/00; Filtering elements therefor
    • B01D29/11Filters with filtering elements stationary during filtration, e.g. pressure or suction filters, not covered by groups B01D24/00 - B01D27/00; Filtering elements therefor with bag, cage, hose, tube, sleeve or like filtering elements
    • B01D29/114Filters with filtering elements stationary during filtration, e.g. pressure or suction filters, not covered by groups B01D24/00 - B01D27/00; Filtering elements therefor with bag, cage, hose, tube, sleeve or like filtering elements arranged for inward flow filtration
    • BPERFORMING OPERATIONS; TRANSPORTING
    • B01PHYSICAL OR CHEMICAL PROCESSES OR APPARATUS IN GENERAL
    • B01DSEPARATION
    • B01D29/00Filters with filtering elements stationary during filtration, e.g. pressure or suction filters, not covered by groups B01D24/00 - B01D27/00; Filtering elements therefor
    • B01D29/11Filters with filtering elements stationary during filtration, e.g. pressure or suction filters, not covered by groups B01D24/00 - B01D27/00; Filtering elements therefor with bag, cage, hose, tube, sleeve or like filtering elements
    • B01D29/31Self-supporting filtering elements
    • B01D29/33Self-supporting filtering elements arranged for inward flow filtration
    • BPERFORMING OPERATIONS; TRANSPORTING
    • B01PHYSICAL OR CHEMICAL PROCESSES OR APPARATUS IN GENERAL
    • B01DSEPARATION
    • B01D29/00Filters with filtering elements stationary during filtration, e.g. pressure or suction filters, not covered by groups B01D24/00 - B01D27/00; Filtering elements therefor
    • B01D29/62Regenerating the filter material in the filter
    • B01D29/64Regenerating the filter material in the filter by scrapers, brushes, nozzles, or the like, acting on the cake side of the filtering element
    • B01D29/6469Regenerating the filter material in the filter by scrapers, brushes, nozzles, or the like, acting on the cake side of the filtering element scrapers
    • B01D29/6476Regenerating the filter material in the filter by scrapers, brushes, nozzles, or the like, acting on the cake side of the filtering element scrapers with a rotary movement with respect to the filtering element
    • BPERFORMING OPERATIONS; TRANSPORTING
    • B01PHYSICAL OR CHEMICAL PROCESSES OR APPARATUS IN GENERAL
    • B01DSEPARATION
    • B01D29/00Filters with filtering elements stationary during filtration, e.g. pressure or suction filters, not covered by groups B01D24/00 - B01D27/00; Filtering elements therefor
    • B01D29/62Regenerating the filter material in the filter
    • B01D29/66Regenerating the filter material in the filter by flushing, e.g. counter-current air-bumps
    • BPERFORMING OPERATIONS; TRANSPORTING
    • B01PHYSICAL OR CHEMICAL PROCESSES OR APPARATUS IN GENERAL
    • B01DSEPARATION
    • B01D35/00Filtering devices having features not specifically covered by groups B01D24/00 - B01D33/00, or for applications not specifically covered by groups B01D24/00 - B01D33/00; Auxiliary devices for filtration; Filter housing constructions
    • B01D35/02Filters adapted for location in special places, e.g. pipe-lines, pumps, stop-cocks
    • HELECTRICITY
    • H01ELECTRIC ELEMENTS
    • H01MPROCESSES OR MEANS, e.g. BATTERIES, FOR THE DIRECT CONVERSION OF CHEMICAL ENERGY INTO ELECTRICAL ENERGY
    • H01M12/00Hybrid cells; Manufacture thereof
    • H01M12/04Hybrid cells; Manufacture thereof composed of a half-cell of the fuel-cell type and of a half-cell of the primary-cell type
    • H01M12/06Hybrid cells; Manufacture thereof composed of a half-cell of the fuel-cell type and of a half-cell of the primary-cell type with one metallic and one gaseous electrode
    • HELECTRICITY
    • H01ELECTRIC ELEMENTS
    • H01MPROCESSES OR MEANS, e.g. BATTERIES, FOR THE DIRECT CONVERSION OF CHEMICAL ENERGY INTO ELECTRICAL ENERGY
    • H01M8/00Fuel cells; Manufacture thereof
    • H01M8/06Combination of fuel cells with means for production of reactants or for treatment of residues
    • H01M8/0662Treatment of gaseous reactants or gaseous residues, e.g. cleaning
    • H01M8/0687Reactant purification by the use of membranes or filters
    • YGENERAL TAGGING OF NEW TECHNOLOGICAL DEVELOPMENTS; GENERAL TAGGING OF CROSS-SECTIONAL TECHNOLOGIES SPANNING OVER SEVERAL SECTIONS OF THE IPC; TECHNICAL SUBJECTS COVERED BY FORMER USPC CROSS-REFERENCE ART COLLECTIONS [XRACs] AND DIGESTS
    • Y02TECHNOLOGIES OR APPLICATIONS FOR MITIGATION OR ADAPTATION AGAINST CLIMATE CHANGE
    • Y02EREDUCTION OF GREENHOUSE GAS [GHG] EMISSIONS, RELATED TO ENERGY GENERATION, TRANSMISSION OR DISTRIBUTION
    • Y02E60/00Enabling technologies; Technologies with a potential or indirect contribution to GHG emissions mitigation
    • Y02E60/30Hydrogen technology
    • Y02E60/50Fuel cells

Landscapes

  • Chemical & Material Sciences (AREA)
  • Chemical Kinetics & Catalysis (AREA)
  • Engineering & Computer Science (AREA)
  • Manufacturing & Machinery (AREA)
  • Electrochemistry (AREA)
  • General Chemical & Material Sciences (AREA)
  • Life Sciences & Earth Sciences (AREA)
  • Sustainable Development (AREA)
  • Sustainable Energy (AREA)
  • Fuel Cell (AREA)

Abstract

本申请提出一种用于燃料电池的电解液循环过滤装置及其冲洗方法,用于燃料电池的电解液循环过滤装置包括:过滤体,过滤体用于过滤电解液中的析出物;第一空间,第一空间连通用于燃料电池的电解液循环过滤装置的进液口和排污口,排污口设置有排污阀;以及第二空间,第二空间连通用于燃料电池的电解液循环过滤装置的出液口,第一空间包围第二空间,限定第二空间的外壁包括过滤体。在排污阀关闭的状态下,通过过滤体来滤除电解液中的析出物,在排污阀打开的状态下,使电解液冲洗过滤体,将附着在过滤体的析出物冲洗下来并从排污口排出,从而避免过滤体堵塞,使过滤体可以较长时间有效工作,持续过滤电解液中的析出物。

Figure 202110183192

The present application proposes an electrolyte circulation filter device for a fuel cell and a flushing method thereof. The electrolyte circulation filter device for a fuel cell includes: a filter body, the filter body is used for filtering precipitates in the electrolyte; a first space , the first space is connected to the liquid inlet and the sewage outlet of the electrolyte circulating filter device for fuel cells, and the sewage outlet is provided with a sewage valve; and the second space, the second space is connected to the electrolyte circulating filter device for fuel cells. The liquid outlet, the first space surrounds the second space, and the outer wall defining the second space includes a filter body. When the drain valve is closed, the precipitate in the electrolyte is filtered out by the filter body. When the drain valve is open, the electrolyte solution flushes the filter body, and the precipitate adhering to the filter body is washed down and discharged from the drain outlet. discharge, so as to avoid blockage of the filter body, so that the filter body can work effectively for a long time, and continuously filter the precipitates in the electrolyte.

Figure 202110183192

Description

Electrolyte circulation filtering device for fuel cell and flushing method thereof
Technical Field
The application belongs to the field of metal air fuel cells, and particularly relates to an electrolyte circulating and filtering device for a fuel cell and a flushing method thereof.
Background
The metal-air fuel cell is operated by electrochemical reaction, and the concentration of the products of the electrochemical reaction is higher and higher as the electrochemical reaction proceeds. When the concentration of the product of the electrochemical reaction exceeds the solubility of the reaction product in the electrolyte, the reaction product is separated out, and the separated out may be a particulate matter or a flocculent precipitate. The precipitation of products of the electrochemical reaction increases the resistivity of the electrolyte. In some cases, the precipitated electrochemical reaction products may deposit on the air cathode and/or the metal anode, thereby affecting the discharge efficiency of the metal-air battery.
The products of the electrochemical reaction are precipitated and deposited on the air cathode, and precipitates can be formed and are difficult to remove, so that the performance of the air cathode is permanently damaged.
Disclosure of Invention
The application aims to provide an electrolyte circulating and filtering device for a fuel cell and a flushing method thereof, and aims to filter precipitates of electrochemical reaction products, further reduce the adverse effect on the cell performance after the electrochemical reaction products are precipitated, and enable a filter body to have the capability of continuous filtration.
The application proposes an electrolyte circulation filter device for a fuel cell, the electrolyte circulation filter device for a fuel cell includes:
a filter for filtering a precipitate in the electrolyte;
the first space is communicated with a liquid inlet and a drain outlet of an electrolyte circulating and filtering device for the fuel cell, and the drain outlet is provided with a drain valve; and
a second space which is communicated with a liquid outlet of an electrolyte circulating and filtering device for the fuel cell, the first space surrounds the second space, the outer wall which limits the second space comprises the filtering body,
in the state that the blowoff valve is closed, the electrolyte entering the first space can enter the second space through the filter body and can be discharged out of the second space through the liquid outlet,
under the state that the blowoff valve is opened, the electrolyte in second space can permeate filter body enters into first space, and the electrolyte in first space can pass through the drain flows out be used for fuel cell's electrolyte circulation filter equipment, the electrolyte in first space passes through the drain flows out be used for fuel cell's electrolyte circulation filter equipment's in-process, electrolyte can wash filter body.
Preferably, the electrolyte circulation filter device for the fuel cell further comprises a support body, the support body is used for supporting the filter body, a hollow part through which the electrolyte can flow is arranged on a side wall of the support body, and a sealing member is arranged between an edge position of the filter body and the support body.
Preferably, the electrolyte circulation filter device for the fuel cell further comprises a rotary scraping component,
scrape the subassembly soon including scraping the ware soon, scrape the ware cover soon and locate the supporter with filter the body, scrape the ware soon and be equipped with soon and scrape the strip, it is provided with court to scrape the strip soon first portion of scraping the radial inboard extension of ware soon and court the portion is scraped soon to the second that the radial outside of scraping the ware extends soon, first scrape the portion soon with the second is scraped the portion soon and is hugged closely the lateral wall in first space.
Preferably, the sidewall of the cyclone scraper is provided with a quick suction hole array installation groove extending to the bottom of the cyclone scraper to form a discharge hole, and a quick suction hole array is installed in the quick suction hole array installation groove, the quick suction hole array having a plurality of quick suction holes capable of sucking the precipitates attached to the filter body to the quick suction hole array installation groove and discharging the precipitates through the discharge hole to the quick suction hole array installation groove.
Preferably, the rotary scraping assembly further comprises a coupling part and a transmission assembly, the coupling part is connected to the lower part of the rotary scraper,
the coupling portion is provided with a coupling hole, the coupling hole is connected with the transmission assembly in a torsion-proof mode, and the scraper can be rotated by transmitting torque through the transmission assembly and the coupling portion.
Preferably, the transmission assembly includes a transmission shaft, a gear mounted to the transmission shaft, and a motor, the gear mounted to an output shaft of the motor being engaged with the gear mounted to the transmission shaft so as to drive the transmission shaft to rotate by the motor.
Preferably, the electrolyte circulation filtering device for the fuel cell further comprises a sewage discharging part, the sewage discharging part comprises the sewage discharging valve and the sewage discharging port, the sewage discharging part is installed on the transmission shaft, the transmission shaft is a hollow shaft, and the first space is communicated with the sewage discharging port through the hollow part of the transmission shaft.
Preferably, the coupling part is provided with a diversion hole, and the diversion hole penetrates through the side wall of the coupling part.
Preferably, the electrolyte circulation filter device for the fuel cell further comprises a shell, the support body and the rotary scraping component are both arranged in the shell,
the casing is provided with a flow guide portion on an inner wall, the flow guide portion is configured to enable the electrolyte to flow in a radial direction and an axial direction of the casing, and the flow guide portion corresponds to the position of the flow guide hole in the axial direction of the casing.
Preferably, the first and second electrodes are formed of a metal,
a first pressure sensor is installed in the first space, the first pressure sensor is used for measuring the pressure of the electrolyte in the first space,
a second pressure sensor is installed in the second space, the second pressure sensor being used for measuring the pressure of the electrolyte in the second space,
wherein the first pressure sensor and the second pressure sensor are located at the same height.
Preferably, the electrolyte circulating and filtering device for the fuel cell is further provided with a filter screen flushing port, the filter screen flushing port is communicated with the second space, and the filter screen flushing port is used for leading electrolyte into the second space.
The application also provides a flushing method of the electrolyte circulation and filtration device for the fuel cell, when the electrolyte circulation and filtration device for the fuel cell carries out filtration, the electrolyte flows from the first space with the rotary scraper to the second space,
the flushing method of the electrolyte circulation and filtration device for the fuel cell comprises the following steps:
step 1: rotating the scraper to clean the deposit adhering to the side wall of the first space while the electrolyte passes through the filter and flows from the first space to the second space;
step 2: a sewage draining port is opened, so that the electrolyte enters the first space and then is discharged out of the electrolyte circulating and filtering device for the fuel cell through the sewage draining port;
and step 3: the filter screen washes the mouth with the drain is opened, makes electrolyte pass through the filter screen washes the mouth and gets into the second space to see through the filter body is followed the second space flow direction is to first space, and then passes through the drain discharges be used for fuel cell's electrolyte circulation filter equipment.
By adopting the technical scheme, under the state that the blowoff valve is closed, educt in the electrolyte is filtered by the filter body, and under the state that the blowoff valve is opened, the electrolyte is enabled to wash the filter body, and the educt attached to the filter body is washed and discharged from the drain outlet, so that the filter body is prevented from being blocked, the filter body can effectively work for a long time, and the educt in the electrolyte is continuously filtered.
Drawings
Fig. 1 shows a schematic configuration diagram of an electrolyte circulation filter device for a fuel cell according to an embodiment of the present application.
Fig. 2 shows a perspective cross-sectional view of an electrolyte circulation filter device for a fuel cell according to an embodiment of the present application.
Fig. 3 shows a cross-sectional view of an electrolyte circulation filter device for a fuel cell according to an embodiment of the present application.
Fig. 4 shows a cross-sectional view of a top cover of an electrolyte circulation filter device for a fuel cell according to an embodiment of the present application.
Fig. 5 shows a schematic structural view of a top cover of an electrolyte circulation filter device for a fuel cell according to an embodiment of the present application.
Fig. 6 shows a perspective cross-sectional view of a housing of an electrolyte circulation filter device for a fuel cell according to an embodiment of the present application.
Fig. 7 shows a schematic structural view of a support body of an electrolyte circulation filter device for a fuel cell according to an embodiment of the present application.
Fig. 8 shows a perspective cross-sectional view of a support body of an electrolyte circulation filter device for a fuel cell according to an embodiment of the present application.
Fig. 9 shows a sectional view of a support body of an electrolyte circulation filter device for a fuel cell according to an embodiment of the present application.
Fig. 10 shows a schematic view of an electrolyte circulation filter device for a fuel cell according to an embodiment of the present application.
Fig. 11 shows a schematic view of an electrolyte circulation filter device for a fuel cell according to an embodiment of the present application.
Fig. 12 shows a schematic configuration diagram of a cyclone and a coupling part of an electrolyte circulation filter device for a fuel cell according to an embodiment of the present application.
Fig. 13 shows a perspective cross-sectional view of a scraper and a coupling part of an electrolyte circulation filter device for a fuel cell according to an embodiment of the present application.
Fig. 14 shows a schematic structural view of a transmission assembly and a drain of an electrolyte circulation filtering apparatus for a fuel cell according to an embodiment of the present application.
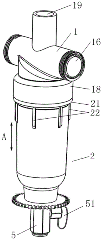
Description of the reference numerals
1 top cover 11 first passage 12 second passage 13 separation plate 14 first opening 15 second opening 16 third opening 17 fourth opening 18 connecting sleeve
2 the shell 21, the sealing ring limiting part 22, the antiskid part 23, the flow guide part 24, the step part 25 and the clamping groove
3 filtering body of the first sealing ring mounting groove 34, the second sealing ring mounting groove 35, the third sealing ring mounting groove 36, the fourth sealing ring mounting groove 37 of the first sealing ring mounting groove 34, the second sealing ring mounting groove 35 and the fourth sealing ring mounting groove 37 of the clamping part 32 and the hollow part 33 of the supporting body 31
4 scrape subassembly soon
41 rotating scraper 411 rotating scraping strip mounting groove 412 fast suction hole array mounting groove 413 discharge hole 414 fifth sealing ring mounting groove
42 coupling portion 421 coupling hole 422 water conservancy diversion hole
43 drive assembly 431 drive shaft 432 gear 433 sixth seal ring mounting groove
44 scraping strip 441, first scraping portion 442 and second scraping portion
45 quick suction hole array 451 quick suction hole
5 blowdown member 51 blowdown valve 52 blowdown port
6 first pressure sensor
7 second pressure sensor
S1 first space S2 second space
The A axis R is radial to the C circumferential direction.
Detailed Description
In order to more clearly illustrate the above objects, features and advantages of the present application, a detailed description of the present application is provided in this section in conjunction with the accompanying drawings. This application is capable of embodiments in addition to those described herein, and is intended to cover such departures from the present disclosure as come within known or customary practice in the art to which this application pertains and which fall within the limits of the appended claims. The protection scope of the present application shall be subject to the claims.
As shown in fig. 1 to 14, the present application proposes an electrolyte circulation filter device for a fuel cell (hereinafter sometimes simply referred to as a filter device), which includes a top cover 1, a housing 2, a support body 3, a spin-scraping assembly 4, and a drain member 5.
(coping)
As shown in fig. 2 to 5, the inside of the top cover 1 is formed with a first passage 11 and a second passage 12, and the first passage 11 and the second passage 12 are separated from each other by a partition plate 13.
The first channel 11 has a first opening (liquid inlet) 14 and a second opening 15 at its two ends, and the second channel 12 has a third opening (liquid outlet) 16, a fourth opening 17 and a fifth opening (screen flushing opening) 19. The first opening 14 and the third opening 16 may face in opposite directions, the second opening 15 and the fourth opening 17 may face in the same direction, and the fourth opening 17 and the fifth opening 19 may face in opposite directions.
The first opening 14 may be connected to an inlet valve, the third opening 16 may be connected to an outlet valve, and the fifth opening 19 may be connected to a flush valve.
The top cover 1 is provided with a coupling sleeve 18, the coupling sleeve 18 being used to connect the top cover 1 and the housing 2. The top cover 1 may be formed in a T-shape as a whole similar to the shape of a three-way connection pipe, and the first opening 14 and the third opening 16 are both oriented perpendicular to the opening direction of the connection sleeve 18. Both the second opening 15 and the fourth opening 17 may be arranged inside the joint sleeve 18, the fourth opening 17 being located in a central position of the joint sleeve 18, the second opening 15 being located radially outside the fourth opening 17.
(outer cover)
As shown in fig. 1 to 3 and 6, the case 2 is cylindrical, and the inner wall and/or the outer wall of the case 2 is formed in a tapered conical shape in the direction from top to bottom, so that the electrolyte can form a swirling flow when flowing from top to bottom within the case.
The housing 2 is located below the top cover 1, the top end of the housing 2 is inserted into the connection sleeve 18, and the housing 2 may be connected with the top cover 1 by a screw.
The outer wall of the housing 2 is provided with a seal ring limiting portion 21, for example, a seal ring of an O-ring can be clamped in the seal ring limiting portion 21, and the seal ring can seal a gap between the top cover 1 and the housing 2 in a state that the top cover 1 and the housing 2 are mounted together.
The outer wall of the housing 2 is provided with the anti-slip portion 22, the anti-slip portion 22 may be a long strip extending in the axial direction a of the housing 2, the anti-slip portion 22 is provided in plurality in the circumferential direction C of the housing 2, and the housing 2 and the top cover 1 are screwed together by screwing the anti-slip portion 22.
The housing 2 is provided with a flow guide portion 23, the flow guide portion 23 is provided on an inner wall surface of a lower portion of the housing 2, the flow guide portion 23 may be plate-shaped, and the flow guide portion 23 may be provided in plurality in a circumferential direction C of the housing 2. The diversion part 23 corresponds to a diversion hole 422 of the coupling part 42, which will be described later, in the axial direction a of the housing 2, and the diversion part 23 can make the electrolyte flow along the radial direction R and the axial direction a of the housing 2, so as to prevent the electrolyte from flowing along the circumferential direction C of the housing 2, thereby making the electrolyte easily flow into the diversion hole 422.
The inner wall of the housing 2 is provided with a step 24, and the step 24 is used for supporting a rotary scraping assembly 4.
The inside of shell 2 is provided with draw-in groove 25, and draw-in groove 25 can be equipped with a plurality ofly, for example 4 along the circumference C of shell 2, and the draw-in groove can block joint portion 31 of supporter 3 described later to prevent that supporter 3 also rotates along with when scraping subassembly 4 soon and carrying out rotary motion.
(support)
As shown in fig. 1 to 3 and 7 to 9, the support body 3 is cylindrical, the support body 3 includes a side wall and a bottom wall, the support body 3 is provided with a catching portion 31, and the catching portion 31 may protrude from an outer wall surface of the support body 3 toward a radial outer side. The snap-in portion 31 may be provided in plural, for example, 4. The clamping portion 31 can be embedded into the clamping groove 25, and the supporting body 3 and the shell 2 are fixed in relative position in the axial direction A and the circumferential direction C through the matching of the clamping portion 31 and the clamping groove 25.
The side wall of the support body 3 is provided with a hollow portion 32, and the hollow portion 32 forms the side wall of the support body 3 into a grid shape.
The outer wall surface of the support body 3 is provided with a sealing ring mounting groove, which includes a first sealing ring mounting groove 33, a second sealing ring mounting groove 34, a third sealing ring mounting groove 35, and a fourth sealing ring mounting groove 36.
The first packing mounting groove 33 and the second packing mounting groove 34 are located at the upper portion of the support body 3, and the first packing mounting groove 33 is located above the second packing mounting groove 34. The third packing mounting groove 35 and the fourth packing mounting groove 36 are located at the lower portion of the support body 3, and the fourth packing mounting groove 36 is located below the third packing mounting groove 35.
The first packing groove 33 is used for installing a first packing which can seal a gap between the support body 3 and the connection sleeve 18, so that an independent space separated by a filter screen is formed inside and outside the support body 3. The space between the outside of the support body 3 and the housing 2 communicates with the first passage 11, and the inside of the support body 3 communicates with the second passage 12.
Fourth sealing washer mounting groove 36 is used for installing the fourth sealing washer, and the fourth sealing washer is located the supporter 3 and scrapes the gap between the subassembly 4 soon, and the fourth sealing washer can help the fixed subassembly 4 of scraping soon, avoids scraping the subassembly 4 soon and produces and rock.
The second and third packing installation grooves 34 and 35 are used to install a second packing and a third packing, respectively.
The filter body 37 is sleeved on the support body 3, and two ends of the filter body 37 can be fixed by respectively sleeving the second sealing ring mounting groove 34 and the third sealing ring mounting groove 35 of the support body 3 with fixing sleeves. The second sealing ring and the third sealing ring can seal the gap between the supporting body 3 and the filter body, and prevent the electrolyte and educt from passing through the gap between the supporting body 3 and the upper and lower edges of the filter body.
The filter 37 allows the electrolyte to flow therethrough and prevents the passage of the precipitates, and the filter 37 is used to filter the precipitates in the electrolyte. The sealing prevents the electrolyte from entering the interior of the support body 3 through the gap between the edge of the filter body 37 and the support body 3. The support body 3 may support the filter 37 to prevent the filter 37 from being deformed, or the electrolyte passing through the filter 37 may enter the internal space of the support body 3 through the hollow portion 32 of the support body 3.
The filter 37 may be a filter net, a filter paper, a filter cloth, or the like.
As shown in fig. 3, 10 and 11, the top cover 1, the housing 2 and the support body 3 enclose a first space S1, the top cover 1 and the support body 3 enclose a second space S2, the first space S1 encloses the second space S2, and an outer wall defining the second space S2 includes the filter body 37.
As shown in fig. 10, in a state that the liquid inlet valve is opened, the liquid outlet valve is opened, the flushing valve is closed, and the blowdown valve 51 is closed, the electrolyte enters the first space S1 through the liquid inlet, and under the action of the electrolyte circulating pump (not shown), the electrolyte penetrates through the filter 37 and enters the second space S2, and the separated electrochemical reaction products are blocked by the filter 37, and the blocked precipitates may block the filter 37. When the second space S2 is filled with the electrolyte, the electrolyte flows out of the filter device through the liquid outlet.
As shown in fig. 10 and 11, the first pressure sensor 6 is located at an upper portion of the first space S1, and the second pressure sensor 7 is located at an upper portion of the second space S2, for example, both the first pressure sensor 6 and the second pressure sensor 7 are mounted to the top cover 1. The first pressure sensor 6 and the second pressure sensor 7 are located at the same height and are both lower than the height of the first opening (liquid inlet) 14 and the third opening (liquid outlet) 16.
The first pressure sensor 6 may measure the pressure of the electrolyte in the first space S1, and the second pressure sensor 7 may measure the pressure of the electrolyte in the second space S2. When electrolyte enters the filter device and flows out of the filter device, the electrolyte can submerge the two pressure sensors. The clogged state of the filter body 37 can be judged by the value change of the first pressure sensor 6 and the second pressure sensor 7, thereby providing information to the control module to decide whether to enter the flushing state, and the flushing state is controlled by the opening and closing of the liquid inlet valve, the liquid outlet valve, the flushing valve and the blow-down valve 51, and the rotation of the rotary scraper assembly.
(rotating scraping component)
As shown in fig. 2, 3, 12 to 14, the scraping assembly 4 includes a scraper 41, a coupling portion 42, a transmission assembly 43 and a driving portion. The coupling portion 42 is connected with the transmission assembly 43 in a torsion-proof manner, and the transmission assembly 43 and the coupling portion 42 can be driven to rotate through the driving portion, so as to drive the scraper 41 to rotate.
The scraper 41 is cylindrical, and the scraper 41 is fitted to the support body 3. In the radial direction R of the filter device, the scraper 41 is located between the housing 2 and the filter body 37. The side wall of the cyclone 41 is formed with a hollow, so that the electrolyte can pass through the side wall of the cyclone 41 to flow between the first space S1 and the second space S2.
The side wall of the scraper 41 is provided with a scraper bar mounting groove 411, and the scraper bar mounting groove 411 may be a long strip extending in the axial direction a of the scraper 41. In the circumferential direction C of the wiper 41, a plurality of wiper strip mounting grooves 411 may be provided, for example, two wiper strip mounting grooves 411 are provided oppositely.
The scraping bar mounting groove 411 is used for mounting the scraping bar 44, the scraping bar 44 is provided with a first scraping portion 441 extending towards the radial inner side of the scraping bar 44 and a second scraping portion 442 extending towards the radial outer side of the scraping bar, the first scraping portion 441 can be tightly attached to the filter body 37, and the second scraping portion 442 can be tightly attached to the inner wall of the housing 2. When the scraper 41 performs the rotation movement, the first scraping part 441 and the second scraping part 442 can clean the precipitates generated by the electrochemical reaction attached to the filter 37 and the inner wall of the housing 2, respectively. Thereby avoiding the blockage of the filter body, leading the filter body to work effectively for a longer time and continuously filtering the educts in the electrolyte.
The sidewall of the rotary scraper 41 is provided with a quick-suction hole array mounting groove 412, and the quick-suction hole array mounting groove 412 may be a long strip extending in the axial direction a of the rotary scraper 41. In the circumferential direction of the cyclone 41, a plurality of the quick suction hole array installation grooves 412 may be provided, for example, two quick suction hole array installation grooves 412 are oppositely provided.
The rapid suction hole array installation groove 412 extends to the bottom of the cyclone 41 to form a discharge hole 413, and the discharge hole 413 connects a space inside the cyclone 41 with a space below the cyclone 41.
The quick suction hole array mounting groove 412 is used for mounting the quick suction hole array 45, the quick suction hole array 45 may be plate-shaped, the quick suction hole array 45 has a plurality of quick suction holes 451, and the plurality of quick suction holes 451 may be arranged in the axial direction a of the rotary scraper 41. A gap is formed between the rapid suction hole array 45 and the rapid suction hole array mounting groove 412, so that the plurality of rapid suction holes 451 are communicated with the rapid suction hole array mounting groove 412. When the spin shaver 41 is rotated, the precipitates adhered to the filter body 37 are sucked out through the quick suction holes 451, and are discharged from the discharge holes 413 to the lower side of the spin shaver 41 through the quick suction hole array mounting groove 412.
The outer side wall of the rotary scraper 41 is provided with a fifth sealing ring mounting groove 414, the fifth sealing ring mounting groove 414 is used for mounting a fifth sealing ring, the fifth sealing ring is located in a gap between the inner walls of the rotary scraper 41 and the shell 2, the fifth sealing ring can help to fix the rotary scraper assembly 4, and the rotary scraper assembly 4 is prevented from shaking.
The coupling portion 42 is connected to a lower portion of the cyclone 41, a radial dimension of the coupling portion 42 is smaller than a radial dimension of the cyclone 41, and the coupling portion 42 and the cyclone 41 are coaxially disposed. The coupling portion 42 may be integrally formed with the scraper 41.
The coupling portion 42 is provided with a coupling hole 421, and the coupling hole 421 has a non-circular shape, such as a rectangular shape (including a rounded rectangular shape), and transmits torque by the coupling hole 421 and the transmission assembly 43 being non-rotatably fitted, so that the scraper 41 can be rotated.
The coupling part 42 is provided with a guide hole 422, the guide hole 422 penetrates through the side wall of the coupling part 42, and the guide hole 422 is located below the fifth sealing ring mounting groove 414, so that the space below the scraper 41 is communicated with the inner space of the coupling part 42.
As shown in fig. 14, the transmission assembly 43 includes a transmission shaft 431, a gear 432, and a motor (not shown), which may be a servo motor.
The transmission shaft 431 is a hollow shaft, and the upper portion of the transmission shaft 431 is matched with the coupling hole 421, so that the transmission shaft 431 can drive the coupling part 42 to rotate together. The inner space of the propeller shaft 431 communicates with the inner space of the coupling portion 42. The gear 432 is fixedly installed on the transmission shaft 431, and the transmission shaft 431 can be driven to rotate by meshing the gear installed on the output shaft of the motor with the gear 432 installed on the transmission shaft 431.
Electrolyte below the fifth sealing ring can be discharged out of the filtering device through the pollution discharge member 5, and the electrolyte needing to be discharged out of the filtering device can be guided out of the inner space of the coupling portion 42 through the flow guide hole 422 and then enter the inside of the transmission assembly 43 and be discharged out of the filtering device through the pollution discharge member 5.
The outer wall of the transmission shaft 431 is provided with a sixth sealing ring mounting groove 433, the sixth sealing ring mounting groove 433 is used for mounting a sixth sealing ring, and the sixth sealing ring can seal a gap between the transmission shaft 431 and the housing 2. The sixth packing installation groove 433 may be provided in plural, for example, 3.
(pollution discharging member)
As shown in fig. 1 to 3 and 14, the drain member 5 is installed below the driving shaft 431, the drain member 5 may have a tubular shape, and the drain port 52 communicates with the hollow portion of the driving shaft 431. The drain 5 has a drain opening 52, and the drain opening 52 is provided with a drain valve 51. The opening and closing of the drain port 52 can be controlled by the drain valve 51, and the electrolyte containing the electrochemical reaction educt with higher concentration can be discharged from the filtering device through the drain member 5.
In a state where the blowoff valve 51 is closed, the electrolyte of the first space S1 may enter the second space S2 only through the filter 37.
In a state where the soil discharge valve 51 is opened, the first space S1 communicates with the outside, and the electrolyte can be discharged out of the filtering apparatus through the soil discharge outlet 52. The electrolyte pressure in the first space S1 is reduced to form a pressure difference between both sides of the filter body 37, and the electrolyte pressure in the second space S2 is greater than the electrolyte pressure in the first space S1.
When the filter body 37 is clogged, the filter device can be brought into a flushing state, which can comprise 3 stages.
(first stage)
The liquid inlet valve is opened, the liquid outlet valve is opened, the flushing valve is closed, and the blow-down valve 51 is closed. The scraper 41 scrapes off the precipitate adhering to the filter 37. And the precipitate can be sucked out through the quick suction hole 451 and discharged from the discharge hole 413 to the lower side of the spin coater 41 through the quick suction hole array installation groove 412 so that the precipitate can fall on the bottom of the filtering apparatus.
(second stage)
The liquid inlet valve is opened, the liquid outlet valve is closed, the flushing valve is closed, and the blow-down valve 51 is opened. Since the filter 37 has a filtering-blocking effect, the resistance of the electrolyte passing through the filter 37 is greater than the resistance directly passing through the drain 5, and the electrolyte flows downward through the drain 5 and out of the filter device. The filter 37, the inner wall of the case 2 and the precipitate deposited on the bottom of the case 2 are washed away in the process of the electrolyte flowing out of the filter, thereby preventing the filter 37 from being clogged, and the electrolyte containing the precipitate is discharged out of the filter through the drain 5. At the same time, a part of the electrolyte still enters the second space S2 through the filter 37.
(third stage)
As shown in fig. 11, the inlet valve is closed, the outlet valve is closed, the flush valve is opened, and the waste valve 51 is opened. The electrolyte enters the second space S2 of the filter device from the fifth opening 19, and then the electrolyte can pass through the filter body 37 from the second space S2 to the first space S1 and then out of the filter device through the drain 5. When the electrolyte permeates the filter 37, the precipitate clogged in the filter 37 can be washed away.
The filter body 37 can be washed through the washing state, and the filter body 37 is prevented from being blocked in a large area in the long-term use process, so that the filtering device can effectively work for a long time, precipitate in the electrolyte is continuously filtered, and the working resistance of the electrolyte circulating pump can be reduced.
The above three stages are preferably performed in the order of the first stage, the second stage, and the third stage, however, in other embodiments, the order of the first stage, the second stage, and the third stage may not be performed or at least one of the stages may be omitted.
While the present application has been described in detail with reference to the above embodiments, it will be apparent to those skilled in the art that the present application is not limited to the embodiments described in the present specification. The present application can be modified and implemented as a modified embodiment without departing from the spirit and scope of the present application defined by the claims. Therefore, the description in this specification is for illustrative purposes and does not have any limiting meaning for the present application.

Claims (12)

1. An electrolyte circulation filter device for a fuel cell, characterized by comprising:
a filter (37), wherein the filter (37) is used for filtering educts in the electrolyte;
the first space (S1) is communicated with a liquid inlet (14) of an electrolyte circulating and filtering device of the fuel cell and a sewage draining outlet (52), and the sewage draining outlet (52) is provided with a sewage draining valve (51); and
a second space (S2), the second space (S2) being in communication with a liquid outlet (16) of an electrolyte circulation filtering device for a fuel cell, the first space (S1) surrounding the second space (S2), an outer wall defining the second space (S2) comprising the filter body (37),
in a state where the blowoff valve (51) is closed, the electrolyte introduced into the first space (S1) can be introduced into the second space (S2) through the filter body (37), and can be discharged out of the second space (S2) through the liquid outlet (16),
under the state that the blowoff valve (51) is opened, the electrolyte of the second space (S2) can permeate the filter body (37) to enter the first space (S1), and the electrolyte of the first space (S1) can flow out through the blowoff port (52) the electrolyte circulation filter device for the fuel cell, the electrolyte of the first space (S1) flows out through the blowoff port (52) in the process of the electrolyte circulation filter device for the fuel cell, and the electrolyte can flush the filter body (37).
2. The electrolyte circulation filter device for a fuel cell according to claim 1, further comprising a support body (3), wherein the support body (3) is used for supporting the filter body (37), a hollow portion (32) allowing the electrolyte to flow through is arranged on a side wall of the support body (3), and a sealing member is arranged between an edge position of the filter body (37) and the support body (3).
3. The electrolyte circulation filter device for a fuel cell according to claim 2, further comprising a spin-on assembly (4),
scrape subassembly (4) soon including scraping ware (41) soon, scrape ware (41) cover soon and locate supporter (3) with filter body (37), scrape ware (41) soon and be equipped with and scrape strip (44) soon, scrape strip (44) soon and be provided with towards scrape first portion of scraping (441) soon that the radial inboard of scraping ware (41) extends and towards scrape portion (442) soon that the second that the radial outside of scraping ware (41) extends, first portion of scraping (441) soon with the second is scraped portion (442) soon and is hugged closely the lateral wall of first space (S1).
4. The electrolyte circulation filter device for a fuel cell according to claim 3, wherein a side wall of the cyclone (41) is provided with a rapid suction hole array installation groove (412), the rapid suction hole array installation groove (412) extends to the bottom of the cyclone (41) to form a discharge hole (413), a rapid suction hole array (45) is installed in the rapid suction hole array installation groove (412), the rapid suction hole array (45) has a plurality of rapid suction holes (451), and the rapid suction holes (451) can suck the precipitates attached to the filter body (37) into the rapid suction hole array installation groove (412) and discharge the precipitates out of the rapid suction hole array installation groove (412) through the discharge hole (413).
5. The electrolyte circulation filter device for a fuel cell according to claim 3, wherein the spin-scraper assembly (4) further comprises a coupling portion (42) and a transmission assembly (43), the coupling portion (42) being connected to a lower portion of the spin-scraper (41),
the coupling part (42) is provided with a coupling hole (421), the coupling hole (421) is connected with the transmission assembly (43) in a torsion-proof manner, and the scraper (41) can be rotated by transmitting torque through the transmission assembly (43) and the coupling part (42).
6. The electrolyte circulation filter device for a fuel cell according to claim 5, wherein the driving assembly (43) includes a driving shaft (431), a gear (432), and a motor, the gear (432) is mounted to the driving shaft (431), and the gear mounted to an output shaft of the motor is engaged with the gear (432) mounted to the driving shaft (431), so that the driving shaft (431) is driven to rotate by the motor.
7. The electrolyte circulation filter device for a fuel cell according to claim 6, further comprising a drain member (5), wherein the drain member (5) comprises the drain valve (51) and the drain outlet (52), the drain member (5) is mounted to the drive shaft (431), the drive shaft (431) is a hollow shaft, and the first space (S1) is communicated with the drain outlet (52) through a hollow portion of the drive shaft (431).
8. The electrolyte circulation filter device for a fuel cell according to claim 5, wherein the coupling portion (42) is provided with a guide hole (422), and the guide hole (422) penetrates through a side wall of the coupling portion (42).
9. The electrolyte circulation filter device for a fuel cell according to claim 8, further comprising a housing (2), wherein the support body (3) and the spin-on assembly (4) are both disposed inside the housing (2),
the housing (2) is provided with a flow guide portion (23) on an inner wall thereof, the flow guide portion (23) being configured to enable the electrolyte to flow in a radial direction (R) and an axial direction (A) of the housing (2), the flow guide portion (23) corresponding to a position of the flow guide hole (422) in the axial direction (A) of the housing (2).
10. The electrolyte circulation filter device for a fuel cell according to claim 1,
a first pressure sensor (6) is installed at the first space (S1), the first pressure sensor (6) for measuring a pressure of the electrolyte within the first space (S1),
a second pressure sensor (7) is installed at the second space (S2), the second pressure sensor (7) for measuring a pressure of the electrolyte within the second space (S2),
wherein the first pressure sensor (6) and the second pressure sensor (7) are located at the same height.
11. The electrolyte circulation filter device for a fuel cell according to claim 1, further provided with a screen flushing port (19), wherein the screen flushing port (19) is communicated with the second space (S2), and the screen flushing port (19) is used for introducing electrolyte into the second space (S2).
12. A washing method of an electrolyte circulation filter device for a fuel cell, which flows electrolyte from a first space (S1) having a cyclone (41) to a second space (S2) when filtering, characterized in that,
the flushing method of the electrolyte circulation and filtration device for the fuel cell comprises the following steps:
step 1: rotating the scraper (41) in a state where the electrolyte flows from the first space (S1) to the second space (S2) through the filter (37), thereby cleaning precipitates attached to the side wall of the first space (S1);
step 2: a sewage draining outlet (52) is opened, and the electrolyte enters the first space (S1) and then is discharged out of the electrolyte circulation and filtration device for the fuel cell through the sewage draining outlet (52);
and step 3: the filter screen flushing port (19) and the sewage draining port (52) are opened, so that the electrolyte enters the second space (S2) through the filter screen flushing port (19) and flows to the first space (S1) from the second space (S2) through the filter body (37), and then the electrolyte for the fuel cell is drained out through the sewage draining port (52).
CN202110183192.4A 2021-02-08 2021-02-08 Electrolyte circulation filtering device for fuel cell and flushing method thereof Pending CN112973224A (en)

Priority Applications (1)

Application Number Priority Date Filing Date Title
CN202110183192.4A CN112973224A (en) 2021-02-08 2021-02-08 Electrolyte circulation filtering device for fuel cell and flushing method thereof

Applications Claiming Priority (1)

Application Number Priority Date Filing Date Title
CN202110183192.4A CN112973224A (en) 2021-02-08 2021-02-08 Electrolyte circulation filtering device for fuel cell and flushing method thereof

Publications (1)

Publication Number Publication Date
CN112973224A true CN112973224A (en) 2021-06-18

Family

ID=76393972

Family Applications (1)

Application Number Title Priority Date Filing Date
CN202110183192.4A Pending CN112973224A (en) 2021-02-08 2021-02-08 Electrolyte circulation filtering device for fuel cell and flushing method thereof

Country Status (1)

Country Link
CN (1) CN112973224A (en)

Citations (12)

* Cited by examiner, † Cited by third party
Publication number Priority date Publication date Assignee Title
US20110303543A1 (en) * 2010-06-15 2011-12-15 Fritze Karl J Electrically enhanced filter cartridge and methods for its use
JP2014104389A (en) * 2012-11-26 2014-06-09 Miura Co Ltd Filter cleaning mechanism
CN204910939U (en) * 2015-07-21 2015-12-30 海宁市倍世环保科技有限公司 Take two -sided mill to scrape and leading filter of siphon blowdown
CN205164278U (en) * 2015-11-19 2016-04-20 杭州美固科技有限公司 Install and remove leading filter convenient, that maintain simply, consolidate crack control
CN205182310U (en) * 2015-11-13 2016-04-27 灵宝金源矿业股份有限公司 Analytic liquid clarifier of electrolysis
CN107171007A (en) * 2017-06-27 2017-09-15 清华大学 Metal air fuel cell system and its application
CN207203593U (en) * 2017-07-27 2018-04-10 海宁美康环保科技有限公司 It is double to scrape filter
CN108261822A (en) * 2018-01-31 2018-07-10 海宁美康环保科技有限公司 Misplace the fore filter scraped
CN109638317A (en) * 2019-01-29 2019-04-16 清华大学 Metal air fuel cell electrolyte total management system and method
US20200054973A1 (en) * 2018-08-15 2020-02-20 Mann+Hummel Gmbh Filter element for use as a particulate filter in a cooling circuit of an electrochemical energy converter and arrangement with an electrochemical energy converter and a cooling circuit
CN211133130U (en) * 2019-10-31 2020-07-31 四会市宏创工业机械设备有限公司 Electrolyte circulating filter device for electrolytic machining
CN111477998A (en) * 2020-05-27 2020-07-31 哈尔滨工业大学 A kind of aluminum-air battery electrolyte circulation filter system

Patent Citations (12)

* Cited by examiner, † Cited by third party
Publication number Priority date Publication date Assignee Title
US20110303543A1 (en) * 2010-06-15 2011-12-15 Fritze Karl J Electrically enhanced filter cartridge and methods for its use
JP2014104389A (en) * 2012-11-26 2014-06-09 Miura Co Ltd Filter cleaning mechanism
CN204910939U (en) * 2015-07-21 2015-12-30 海宁市倍世环保科技有限公司 Take two -sided mill to scrape and leading filter of siphon blowdown
CN205182310U (en) * 2015-11-13 2016-04-27 灵宝金源矿业股份有限公司 Analytic liquid clarifier of electrolysis
CN205164278U (en) * 2015-11-19 2016-04-20 杭州美固科技有限公司 Install and remove leading filter convenient, that maintain simply, consolidate crack control
CN107171007A (en) * 2017-06-27 2017-09-15 清华大学 Metal air fuel cell system and its application
CN207203593U (en) * 2017-07-27 2018-04-10 海宁美康环保科技有限公司 It is double to scrape filter
CN108261822A (en) * 2018-01-31 2018-07-10 海宁美康环保科技有限公司 Misplace the fore filter scraped
US20200054973A1 (en) * 2018-08-15 2020-02-20 Mann+Hummel Gmbh Filter element for use as a particulate filter in a cooling circuit of an electrochemical energy converter and arrangement with an electrochemical energy converter and a cooling circuit
CN109638317A (en) * 2019-01-29 2019-04-16 清华大学 Metal air fuel cell electrolyte total management system and method
CN211133130U (en) * 2019-10-31 2020-07-31 四会市宏创工业机械设备有限公司 Electrolyte circulating filter device for electrolytic machining
CN111477998A (en) * 2020-05-27 2020-07-31 哈尔滨工业大学 A kind of aluminum-air battery electrolyte circulation filter system

Similar Documents

Publication Publication Date Title
KR102046694B1 (en) Self Cleaning Screen Device
EP2886180A1 (en) Multicage-type apparatus for filtering ballast water for automatically controlling simultaneous reverse cleaning and method for same
KR101476868B1 (en) Externally attached filter material cleaning device of filtration device
CN102921231B (en) Fully-automatic back-flushing type self-cleaning filter
KR101820959B1 (en) Filtration System with Real-time Cleaning Function
CN116251404B (en) Backwashing industrial water filter
KR101531599B1 (en) Back washing type water purifier
KR100328545B1 (en) A continuous washing system ofa filter that filtering liguid
CN115845457B (en) Self-cleaning device of filter cartridge
KR20100000395A (en) Auto screen washing type's filtering apparatus using fluis pressure
CN216878102U (en) Automatic liquid filter of self-cleaning and intermittent type nature blowdown
CN112973224A (en) Electrolyte circulation filtering device for fuel cell and flushing method thereof
CN210966233U (en) Automatic cleaning device of water film dust remover
CN211706061U (en) Scraper filter
CN211706066U (en) Wastewater treatment filtration system
KR100257861B1 (en) Automatic filter
CN220589137U (en) Hydraulic drive self-cleaning filter
CN213049722U (en) Centrifugal oil purifier
JP3090022U (en) Strainer equipment
CN105879462A (en) Self-cleaning filter
CN213285855U (en) Horizontal hydraulic drive filter
SE512272C2 (en) Vacuum cleaner Dutch with cross bars
CN220098664U (en) Full-automatic roller micro-filter
CN220003180U (en) Emulsion filter equipment
KR100238617B1 (en) A filtering device

Legal Events

Date Code Title Description
PB01 Publication
PB01 Publication
SE01 Entry into force of request for substantive examination
SE01 Entry into force of request for substantive examination
RJ01 Rejection of invention patent application after publication

Application publication date: 20210618

RJ01 Rejection of invention patent application after publication