CN112931465A - Adjustable view gardens of spraying angle are maintained and are sprayed liquid medicine device - Google Patents

Adjustable view gardens of spraying angle are maintained and are sprayed liquid medicine device Download PDF

Info

Publication number
CN112931465A
CN112931465A CN202110105665.9A CN202110105665A CN112931465A CN 112931465 A CN112931465 A CN 112931465A CN 202110105665 A CN202110105665 A CN 202110105665A CN 112931465 A CN112931465 A CN 112931465A
Authority
CN
China
Prior art keywords
shaft
stirring
liquid medicine
angle
base
Prior art date
Legal status (The legal status is an assumption and is not a legal conclusion. Google has not performed a legal analysis and makes no representation as to the accuracy of the status listed.)
Granted
Application number
CN202110105665.9A
Other languages
Chinese (zh)
Other versions
CN112931465B (en
Inventor
黄荣
Current Assignee (The listed assignees may be inaccurate. Google has not performed a legal analysis and makes no representation or warranty as to the accuracy of the list.)
Individual
Original Assignee
Individual
Priority date (The priority date is an assumption and is not a legal conclusion. Google has not performed a legal analysis and makes no representation as to the accuracy of the date listed.)
Filing date
Publication date
Application filed by Individual filed Critical Individual
Priority to CN202110105665.9A priority Critical patent/CN112931465B/en
Publication of CN112931465A publication Critical patent/CN112931465A/en
Application granted granted Critical
Publication of CN112931465B publication Critical patent/CN112931465B/en
Expired - Fee Related legal-status Critical Current
Anticipated expiration legal-status Critical

Links

Images

Classifications

    • AHUMAN NECESSITIES
    • A01AGRICULTURE; FORESTRY; ANIMAL HUSBANDRY; HUNTING; TRAPPING; FISHING
    • A01MCATCHING, TRAPPING OR SCARING OF ANIMALS; APPARATUS FOR THE DESTRUCTION OF NOXIOUS ANIMALS OR NOXIOUS PLANTS
    • A01M7/00Special adaptations or arrangements of liquid-spraying apparatus for purposes covered by this subclass
    • A01M7/0025Mechanical sprayers
    • BPERFORMING OPERATIONS; TRANSPORTING
    • B05SPRAYING OR ATOMISING IN GENERAL; APPLYING FLUENT MATERIALS TO SURFACES, IN GENERAL
    • B05BSPRAYING APPARATUS; ATOMISING APPARATUS; NOZZLES
    • B05B15/00Details of spraying plant or spraying apparatus not otherwise provided for; Accessories
    • B05B15/20Arrangements for agitating the material to be sprayed, e.g. for stirring, mixing or homogenising
    • B05B15/25Arrangements for agitating the material to be sprayed, e.g. for stirring, mixing or homogenising using moving elements, e.g. rotating blades

Landscapes

  • Engineering & Computer Science (AREA)
  • Life Sciences & Earth Sciences (AREA)
  • Mechanical Engineering (AREA)
  • Insects & Arthropods (AREA)
  • Pest Control & Pesticides (AREA)
  • Wood Science & Technology (AREA)
  • Zoology (AREA)
  • Environmental Sciences (AREA)
  • Catching Or Destruction (AREA)

Abstract

本发明涉及园林技术技术领域,且公开了一种可调整喷洒角度的景观园林维护用药液喷洒装置,解决了农药喷洒范围小而造成喷洒效率低以及劳动力投入较大的问题,其包括底座、箱体和移动轮,所述底座的顶端设有箱体,底座的底端四周均设有移动轮,箱体的顶端中间位置设有电机一,电机一的输出轴设有位于箱体内部的搅拌轴,底座和箱体的底端均开设有套设于搅拌轴外部的通孔,搅拌轴的一端设有位于底座底端的高度调节器,高度调节器的底端设有安装轴;本设计采用双重喷洒的方式,有效的提高了喷洒效率,同时实现喷洒角度的变化,进而有效的增大了喷洒范围,大大提高了工作效率。

Figure 202110105665

The invention relates to the technical field of garden technology, and discloses a liquid spraying device for landscape garden maintenance with adjustable spraying angle, which solves the problems of low spraying efficiency and large labor input caused by small pesticide spraying range. The box body and the moving wheel, the top of the base is provided with a box body, the bottom end of the base is provided with moving wheels all around, the top of the box body is provided with a motor one in the middle, and the output shaft of the motor one is provided with a motor located inside the box body. The bottom ends of the stirring shaft, the base and the box are all provided with through holes sleeved on the outside of the stirring shaft, one end of the stirring shaft is provided with a height adjuster at the bottom end of the base, and the bottom end of the height adjuster is provided with a mounting shaft; this design The double spraying method effectively improves the spraying efficiency, and at the same time realizes the change of the spraying angle, thereby effectively increasing the spraying range and greatly improving the work efficiency.

Figure 202110105665

Description

Adjustable view gardens of spraying angle are maintained and are sprayed liquid medicine device
Technical Field
The invention belongs to the technical field of gardens, and particularly relates to a liquid medicine spraying device capable of adjusting a spraying angle for landscape garden maintenance.
Background
Gardens refer to the beautiful natural environment and the rest territory that use engineering technology and artistic means in certain region, are created through reforming transform topography, planting trees flowers and plants, building the building and arranging ways such as garden way, and gardens have a lot of epitaxial concepts: garden communities, garden streets, garden cities, national garden counties and the like, modern life styles and living environments have urgent functional and artistic requirements on gardens, and have more and more important functions on modern life and future development directions of people.
In order to protect the ecological environment of gardens, often need spray the pesticide, prevent to produce the pest and disease damage in the gardens, modern pesticide sprays and generally all need to drop into more manpower, and intensity of labour is big, and can not adjust the spraying angle moreover, lead to spraying the scope limited and cause the pesticide to spray inefficiency, the pesticide need mix pesticide and water before spraying simultaneously, because the speed that water dilutes the pesticide completely is slower, and then lead to the uniformity of pesticide relatively poor, and reduce the drug effect.
Disclosure of Invention
In order to overcome the defects of the prior art, the invention provides the liquid medicine spraying device capable of adjusting the spraying angle for landscape garden maintenance, which effectively solves the problems of low spraying efficiency and large labor input caused by a small pesticide spraying range in the background technology.
In order to achieve the purpose, the invention provides the following technical scheme: a spraying angle adjustable liquid medicine spraying device for landscape garden maintenance comprises a base, a box body and moving wheels, wherein the box body is arranged at the top end of the base, the moving wheels are arranged on the periphery of the bottom end of the base, a first motor is arranged in the middle of the top end of the box body, a first stirring shaft located in the box body is arranged on an output shaft of the first motor, through holes sleeved outside the stirring shaft are formed in the bottom ends of the base and the box body, a height adjuster located at the bottom end of the base is arranged at one end of the stirring shaft, an installation shaft is arranged at the bottom end of the height adjuster, a first conical gear is connected to the bottom end of the installation shaft and is connected with a moving driver located below the base, a first electric telescopic rod is arranged at the top end of the base, the output shaft of the first electric telescopic;
two stirring plates are symmetrically sleeved outside the stirring shaft, the two stirring plates are connected through a connecting rod, a stirring plate is arranged on one side of the connecting rod, and stirring blades located between the two stirring plates are equidistantly arranged on the stirring shaft;
the movable driver comprises a supporting seat, a driving shaft, a driving wheel and a second bevel gear, the supporting seat is fixedly installed on two sides of the bottom end of the base, the two supporting seats are connected through the driving shaft, the second bevel gear meshed with the first bevel gear is sleeved on the driving shaft, and the driving wheel is symmetrically sleeved on the driving shaft.
Preferably, the height adjuster comprises a storage box connected with the bottom end of the stirring shaft, a telescopic shaft connected with the mounting shaft is inserted into the storage box, a connecting plate is arranged at the top end of the storage box, an electric telescopic rod II is arranged in the middle of the connecting plate, an output shaft of the electric telescopic rod II is connected with a connecting seat, a first adjusting rod and a second adjusting rod are movably connected below the connecting plate, the first adjusting rod is connected with the second adjusting rod through a connecting shaft, the connecting shaft is movably connected with the connecting seat, and the first adjusting rod and the second adjusting rod are both in sliding connection with the telescopic shaft.
Preferably, the bottom ends of the first adjusting rod and the second adjusting rod are both provided with sliding rods, and the top end of the telescopic shaft is provided with a sliding chute in sliding connection with the sliding rods.
Preferably, the top ends of the second adjusting rod and the first adjusting rod are respectively provided with a connecting wheel, and the connecting wheels are in sliding connection with connecting grooves in the connecting plate.
Preferably, the joining groove is of a cross structure, the two sides of the telescopic shaft are symmetrically provided with moving grooves, and the bottom end of the inner wall of the storage box is provided with clamping blocks in sliding connection with the moving grooves.
Preferably, the sprayer comprises a fixed column installed at the top end of the supporting plate, a rotating shaft is arranged at the top end of the fixed column, two ends of the rotating shaft are both connected with angle adjusting rods, one ends of the two angle adjusting rods are both provided with spray heads connected with the infusion hoses, and the two angle adjusting rods are connected with the angle adjusting mechanisms.
Preferably, the angle adjusting mechanism comprises a movable opening, a limiting shaft, a threaded cylinder, a screw shaft, belt pulleys, a belt and a driving piece, the movable opening is formed in each of the two angle adjusting rods, the limiting shaft is movably connected inside the movable opening, the threaded cylinder is arranged at one end of the chute, a stirring plate connected with the top end of the supporting plate is inserted into the threaded cylinder, the belt pulleys are arranged at the top end of the screw shaft, the two belt pulleys are connected through the belt, and one of the screw shafts is connected with the driving piece.
Preferably, the driving part comprises a groove formed in the side wall of the fixed column, a second motor is arranged inside the groove, an output shaft of the second motor is connected with a third conical gear, and a fourth conical gear meshed with the third conical gear is arranged on one screw shaft.
Preferably, the top ends of the two screw shafts are provided with limiting plates located below the belt pulley, one ends of the two limiting shafts are provided with stop plates located on one side of the angle adjusting rod, and the diameter of each stop plate is 1 cm larger than that of the movable opening.
Preferably, the top end of the height adjuster is provided with a clamping plate, and one side of the stirring plate is provided with a rubber scraper.
Compared with the prior art, the invention has the beneficial effects that:
(1) during work, the base, the box body moving wheel, the first motor, the stirring shaft, the height adjuster and the moving driver are arranged, so that moving power is provided for the device conveniently, the manual pushing device can be prevented from moving, and labor force is effectively saved; through the design of the stirring plate, the connecting rod, the stirring plate and the stirring blades, the pesticide and water are stirred conveniently, and the mixing uniformity of the pesticide liquid is improved; through the design of the electric telescopic rod I, the supporting plate, the sprayer and the infusion hose, the height adjustment of the sprayer is convenient to realize, meanwhile, the double spraying mode is adopted in the design, the spraying efficiency is effectively improved, the change of the spraying angle is realized, the spraying range is effectively enlarged, and the working efficiency is greatly improved;
(2) through the matching of the electric telescopic rod II, the telescopic shaft, the connecting seat, the adjusting rod I and the adjusting rod II, the telescopic shaft can be conveniently controlled to drive the mounting shaft to stretch, so that the movement of the bevel gear I can be conveniently realized, power can be provided for the movement of the device, the movement of a manual pushing device can be effectively avoided, and the purpose of saving labor force can be achieved;
(3) the device is driven to move by the action of the supporting seat, the driving shaft, the driving wheel and the bevel gear II, so that the device can move;
(4) through the design of the electric telescopic rod I, the supporting plate, the infusion hose and the sprayer, the height of the sprayer can be conveniently adjusted, the pesticide spraying range is enlarged, and the spraying efficiency is improved;
(5) through fixed column, axis of rotation, driver and shower nozzle, realize two-way spraying, and then improved and sprayed efficiency, the inclination of the control shower nozzle of being convenient for has further increaseed the scope of spraying simultaneously to cooperation driver and angle adjustment mechanism's effect, and effectual improvement sprays efficiency.
Drawings
The accompanying drawings, which are included to provide a further understanding of the invention and are incorporated in and constitute a part of this specification, illustrate embodiments of the invention and together with the description serve to explain the principles of the invention and not to limit the invention.
In the drawings:
FIG. 1 is a schematic structural view of the present invention;
FIG. 2 is a schematic view of the height adjuster of the present invention;
FIG. 3 is a schematic view of the construction of the sprinkler of the present invention;
figure 4 is a schematic view of the construction of connector tiles of the present invention;
FIG. 5 is a perspective view of the mounting shaft of the present invention;
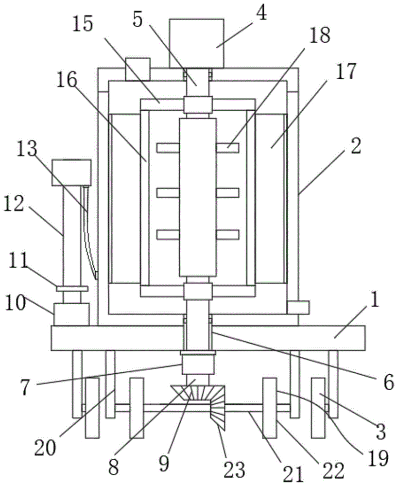
in the figure: 1. a base; 2. a box body; 3. a moving wheel; 4. a first motor; 5. a stirring shaft; 6. a through hole; 7. a height adjuster; 8. installing a shaft; 9. a first conical gear; 10. a first electric telescopic rod; 11. a support plate; 12. a sprinkler; 13. a flexible infusion tube; 14. a drive member; 15. a stirring plate; 16. a connecting rod; 17. stirring the plate; 18. stirring blades; 19. a movement driver; 20. a supporting seat; 21. a drive shaft; 22. a drive wheel; 23. a second bevel gear; 24. a storage box; 25. a connector tile; 26. a second electric telescopic rod; 27. a telescopic shaft; 28. a connecting seat; 29. adjusting a rod I; 30. a second adjusting rod; 31. a connecting shaft; 32. an engaging wheel; 33. a joining groove; 34. a chute; 35. a slide bar; 36. a moving groove; 37. a clamping block; 38. fixing a column; 39. a rotating shaft; 40. an angle adjusting rod; 41. a spray head; 42. a movable opening; 43. a limiting shaft; 44. a threaded barrel; 45. a screw shaft; 46. a belt pulley; 47. a belt; 48. a groove; 49. a second motor; 50. a third bevel gear; 51. a bevel gear four; 52. an angle adjusting mechanism.
Detailed Description
The technical solutions in the embodiments of the present invention will be clearly and completely described below with reference to the drawings in the embodiments of the present invention, and it is obvious that the described embodiments are only a part of the embodiments of the present invention, and not all of the embodiments; all other embodiments, which can be derived by a person skilled in the art from the embodiments given herein without making any creative effort, shall fall within the protection scope of the present invention.
In the first embodiment, as shown in fig. 1 to 5, the present invention includes a base 1, a box 2 and a moving wheel 3, the top of the base 1 is provided with the box 2, the moving wheel 3 is provided around the bottom of the base 1, a motor 1 is provided in the middle of the top of the box 2, an output shaft of the motor 4 is provided with a stirring shaft 5 located inside the box 2, the bottom of the base 1 and the bottom of the box 2 are both provided with a through hole 6 sleeved outside the stirring shaft 5, one end of the stirring shaft 5 is provided with a height adjuster 7 located at the bottom of the base 1, the bottom of the height adjuster 7 is provided with an installation shaft 8, the bottom of the installation shaft 8 is connected with a bevel gear 9, through the design of the height adjuster 7, the height of the bevel gear 9 is conveniently controlled, the bevel gear 9 is connected with a moving driver 19 located below the base 1, the top of the base 1 is provided with an electric telescopic rod 10, the top end of the supporting plate 11 is provided with a sprayer 12, and the box body 2 is connected with the sprayer 12 through a transfusion hose 13;
two stirring plates 15 are symmetrically sleeved outside the stirring shaft 5, the two stirring plates 15 are connected through a connecting rod 16, a stirring plate 17 is arranged on one side of the connecting rod 16, and stirring blades 18 positioned between the two stirring plates 15 are equidistantly arranged on the stirring shaft 5, so that the stirring efficiency is accelerated, and the mixing uniformity of the liquid medicine is improved;
the movable driver 19 comprises supporting seats 20, a driving shaft 21, a driving wheel 22 and a second bevel gear 23, the supporting seats 20 are fixedly installed on two sides of the bottom end of the base 1, the two supporting seats 20 are connected through the driving shaft 21, the second bevel gear 23 meshed with the first bevel gear 9 is sleeved on the driving shaft 21, and the driving wheel 22 is symmetrically sleeved on the driving shaft 21, so that power is provided for movement of the device.
In the second embodiment, on the basis of the first embodiment, as shown in fig. 1 and 2, the height adjuster 7 includes a storage box 24 connected to the bottom end of the stirring shaft 5, a telescopic shaft 27 connected to the installation shaft 8 penetrates through the storage box 24, a connection plate 25 is disposed at the top end of the storage box 24, a second electric telescopic rod 26 is disposed at the middle position of the connection plate 25, an output shaft of the second electric telescopic rod 26 is connected to a connection seat 28, a first adjustment rod 29 and a second adjustment rod 30 are movably connected to the lower portion of the connection plate 25, the first adjustment rod 29 is connected to the second adjustment rod 30 through a connection shaft 31, the connection shaft 31 is movably connected to the connection seat 28, and the bottom ends of the first adjustment rod 29 and the second adjustment rod 30 are both slidably connected to the telescopic shaft 27, so that height adjustment of the installation shaft 8 is controlled, and convenience is brought to connection of the first conical gear 9 and.
In the third embodiment, on the basis of the second embodiment, as shown in fig. 2, the bottom ends of the first adjusting rod 29 and the second adjusting rod 30 are both provided with a sliding rod 35, and the top end of the telescopic shaft 27 is provided with a sliding chute 34 slidably connected with the sliding rod 35, so that the first adjusting rod 29 and the second adjusting rod 30 can conveniently push the telescopic shaft 27.
In the fourth embodiment, based on the third embodiment, as shown in fig. 2, the engaging wheels 32 are disposed at the top ends of the second adjusting rod 30 and the first adjusting rod 29, and the engaging wheels 32 are slidably connected with the engaging grooves 33 formed in the inner portions of the engaging plates 25, so that the stability of the first adjusting rod 29 and the second adjusting rod 30 is improved.
Fifth embodiment, on the basis of the fourth embodiment, as shown in fig. 2 and 4, the joining groove 33 is a cross structure, the moving grooves 36 are symmetrically formed in both sides of the telescopic shaft 27, and the bottom end of the inner wall of the storage box 24 is provided with the fixture block 37 slidably connected with the moving grooves 36, so that the moving balance of the telescopic shaft 27 is improved, and the storage box 24 and the mounting shaft 8 are rotated synchronously.
Sixth embodiment, based on the first embodiment, as shown in fig. 1 and 3, the spraying device 12 includes a fixing column 38 installed on the top end of the supporting plate 11, a rotating shaft 39 is installed on the top end of the fixing column 38, two ends of the rotating shaft 39 are connected with angle adjusting rods 40, one ends of the two angle adjusting rods 40 are provided with spraying heads 41 connected with the infusion hoses 13, and the two angle adjusting rods 40 are connected with an angle adjusting mechanism 52, so that double spraying of the medicine is realized, and the spraying efficiency is improved.
Seventh embodiment, on the basis of the sixth embodiment, as shown in fig. 3, the angle adjusting mechanism 52 includes a movable opening 42, a limiting shaft 43, a threaded cylinder 44, a screw shaft 45, belt pulleys 46, a belt 47 and a driving member 14, the movable opening 42 is respectively formed on the two angle adjusting rods 40, the limiting shaft 43 is movably connected inside the movable opening 42, the threaded cylinder 44 is arranged at one end of the chute 34, the stirring plate 15 connected with the top end of the supporting plate 11 is inserted inside the threaded cylinder 44, the belt pulleys 46 are respectively arranged at the top ends of the screw shafts 45, the two belt pulleys 46 are connected through the belt 47, and one of the screw shafts 45 is connected with the driving member 14, so as to adjust the angle of the spray head 41 and further increase the spraying range.
In an eighth embodiment, based on the seventh embodiment, as shown in fig. 1 and 3, the driving member 14 includes a groove 48 opened on a side wall of the fixed column 38, a second motor 49 is disposed inside the groove 48, an output shaft of the second motor 49 is connected to a third bevel gear 50, and a fourth bevel gear 51 meshed with the third bevel gear 50 is disposed on one of the screw shafts 45 to provide power for adjusting the angle of the spraying head 41.
Ninth embodiment, on the basis of the eighth embodiment, as shown in fig. 3, the top ends of the two screw shafts 45 are respectively provided with a limiting plate located below the belt pulley 46, and one end of each of the two limiting shafts 43 is provided with a stop plate located on one side of the angle adjusting rod 40, and the diameter of the stop plate is 1 cm larger than the diameter of the movable opening 42, so that the swing stability of the angle adjusting rod 40 is improved.
In the tenth embodiment, on the basis of the first embodiment, as shown in fig. 1, the top end of the height adjuster 7 is provided with a snap plate, and one side of the stirring plate 17 is provided with a rubber scraper to prevent the pesticide from adhering to the inner wall of the box body 2.
The working principle is as follows: when the sprayer works, pesticide and water are injected into the box body 2, the motor I4 is started, the motor I4 drives the stirring shaft 5 to rotate, the stirring shaft 5 drives the stirring plate 15, the connecting rod 16, the stirring plate 17 and the stirring blade 18 to synchronously rotate, so that the liquid medicine is stirred, the mixing uniformity of the liquid medicine is improved, the liquid medicine enters the sprayer 12 through the infusion hose 13, then the electric telescopic rod II 26 is started, the electric telescopic rod II 26 drives the connecting seat 28 to move downwards, the connecting seat 28 pushes the connecting shaft 31 to move downwards, the adjusting rod I29 and the adjusting rod II 30 are further extended, the connecting wheel 32 slides in the connecting groove 33, the sliding rod 35 slides on the sliding groove 34, the adjusting rod II 30 and the adjusting rod I29 drive the telescopic shaft 27 to move downwards, the clamping block 37 slides in the moving groove 36, the telescopic shaft 27 drives the mounting shaft 8 to move downwards, the mounting shaft 8 drives the conical gear I9 to move downwards, the first bevel gear 9 is meshed with the second bevel gear 23, the first bevel gear 9 is driven to rotate by the stirring shaft 5 through the storage box 24, the telescopic shaft 27 and the mounting shaft 8, the second bevel gear 23 drives the driving shaft 21 to rotate, the driving shaft 21 drives the driving wheel 22 to rotate, driving force is further provided for the device, then the moving wheel 3 rolls, the device is moved, meanwhile, due to the bidirectional spraying of the spray head 41, the first electric telescopic rod 10 is started, the height adjustment of the spray head 41 is achieved, the second motor 49 is started, the second motor 49 drives the third bevel gear 50 to rotate, the third bevel gear 50 drives the fourth bevel gear 51 to rotate, the lead screw shaft 45 rotates, the lead screw shaft 45 and the threaded cylinder 44 move through the connection relation of the belt pulley 46 and the belt 47 and the sliding relation of the movable opening 42 and the second bevel gear 23, and further deflection of the angle adjusting rod 40 is achieved, and the angle adjustment of the spray head 41 is completed, so that the multi-angle spraying of the spray head 41 is realized, the spraying range is enlarged, and the spraying efficiency is improved.
It is noted that, herein, relational terms such as first and second, and the like may be used solely to distinguish one entity or action from another entity or action without necessarily requiring or implying any actual such relationship or order between such entities or actions. Also, the terms "comprises," "comprising," or any other variation thereof, are intended to cover a non-exclusive inclusion, such that a process, method, article, or apparatus that comprises a list of elements does not include only those elements but may include other elements not expressly listed or inherent to such process, method, article, or apparatus.
Although embodiments of the present invention have been shown and described, it will be appreciated by those skilled in the art that changes, modifications, substitutions and alterations can be made in these embodiments without departing from the principles and spirit of the invention, the scope of which is defined in the appended claims and their equivalents.

Claims (10)

1. The utility model provides an adjustable view gardens of spraying angle are maintained and are sprayed liquid medicine device, includes base (1), box (2) and removal wheel (3), its characterized in that: the top end of the base (1) is provided with a box body (2), the periphery of the bottom end of the base (1) is provided with moving wheels (3), the middle position of the top end of the box body (2) is provided with a motor I (4), an output shaft of the motor I (4) is provided with a stirring shaft (5) positioned in the box body (2), the bottom ends of the base (1) and the box body (2) are respectively provided with a through hole (6) sleeved outside the stirring shaft (5), one end of the stirring shaft (5) is provided with a height adjuster (7) positioned at the bottom end of the base (1), the bottom end of the height adjuster (7) is provided with an installation shaft (8), the bottom end of the installation shaft (8) is connected with a bevel gear I (9), the bevel gear I (9) is connected with a moving driver (19) positioned below the base (1), the top end of the base (1) is provided with an electric telescopic rod, the top end of the supporting plate (11) is provided with a sprayer (12), and the box body (2) is connected with the sprayer (12) through a transfusion hose (13);
two stirring plates (15) are symmetrically sleeved outside the stirring shaft (5), the two stirring plates (15) are connected through a connecting rod (16), a stirring plate (17) is arranged on one side of the connecting rod (16), and stirring blades (18) located between the two stirring plates (15) are equidistantly arranged on the stirring shaft (5);
remove driver (19) and include supporting seat (20), drive shaft (21), drive wheel (22) and two (23) of bevel gear, supporting seat (20) fixed mounting is in the bottom both sides of base (1), connects through drive shaft (21) between two supporting seats (20), and the cover is equipped with two (23) of bevel gear that are connected with the meshing of bevel gear (9) on drive shaft (21), and the symmetry cover is equipped with drive wheel (22) on drive shaft (21).
2. The landscape architecture maintenance liquid medicine spraying device with the adjustable spraying angle of claim 1, which is characterized in that: altitude controller (7) include storage box (24) of being connected with (mixing) shaft (5) bottom, the inside interlude of storage box (24) has telescopic shaft (27) of being connected with installation axle (8), the interior top of storage box (24) is equipped with linkage plate (25), the intermediate position of linkage plate (25) is equipped with electric telescopic handle two (26), the output shaft of electric telescopic handle two (26) has connecting seat (28), the below swing joint of linkage plate (25) has regulation pole one (29) and adjusts pole two (30), adjust pole one (29) and adjust and be connected through linking axle (31) between pole two (30), and link axle (31) and connecting seat (28) swing joint, and adjust the bottom of pole one (29) and adjust pole two (30) all with telescopic shaft (27) sliding connection.
3. The landscape architecture maintenance liquid medicine spraying device with the adjustable spraying angle of claim 2, which is characterized in that: the bottom ends of the first adjusting rod (29) and the second adjusting rod (30) are both provided with a sliding rod (35), and the top end of the telescopic shaft (27) is provided with a sliding groove (34) which is in sliding connection with the sliding rod (35).
4. The landscape architecture maintenance liquid medicine spraying device with the adjustable spraying angle of claim 3, which is characterized in that: the top ends of the second adjusting rod (30) and the first adjusting rod (29) are respectively provided with a connecting wheel (32), and the connecting wheels (32) are in sliding connection with a connecting groove (33) in the connecting plate (25).
5. The landscape architecture maintenance liquid medicine spraying device with the adjustable spraying angle of claim 4, which is characterized in that: the connecting groove (33) is of a cross structure, moving grooves (36) are symmetrically formed in two sides of the telescopic shaft (27), and clamping blocks (37) which are connected with the moving grooves (36) in a sliding mode are arranged at the bottom end of the inner wall of the storage box (24).
6. The landscape architecture maintenance liquid medicine spraying device with the adjustable spraying angle of claim 1, which is characterized in that: the sprayer (12) comprises fixing columns (38) installed at the top ends of the supporting plates (11), rotating shafts (39) are arranged at the top ends of the fixing columns (38), angle adjusting rods (40) are connected to two ends of each rotating shaft (39), a sprayer (41) connected with the infusion hose (13) is arranged at one end of each angle adjusting rod (40), and the two angle adjusting rods (40) are connected with an angle adjusting mechanism (52).
7. The landscape architecture maintenance liquid medicine spraying device with the adjustable spraying angle of claim 6, which is characterized in that: the angle adjusting mechanism (52) comprises a movable opening (42), a limiting shaft (43), a threaded cylinder (44), a screw rod shaft (45), belt pulleys (46), a belt (47) and a driving piece (14), the movable opening (42) is formed in each of the two angle adjusting rods (40), the limiting shaft (43) is movably connected inside the movable opening (42), the threaded cylinder (44) is arranged at one end of the chute (34), a stirring plate (15) connected with the top end of the supporting plate (11) penetrates through the inside of the threaded cylinder (44), the belt pulleys (46) are arranged at the top end of the screw rod shaft (45), the two belt pulleys (46) are connected through the belt (47), and one of the screw rod shafts (45) is connected with the driving piece (14).
8. The landscape architecture maintenance liquid medicine spraying device with the adjustable spraying angle of claim 7, which is characterized in that: the driving piece (14) comprises a groove (48) formed in the side wall of the fixing column (38), a second motor (49) is arranged inside the groove (48), an output shaft of the second motor (49) is connected with a third conical gear (50), and a fourth conical gear (51) meshed with the third conical gear (50) is arranged on one screw shaft (45).
9. The landscape architecture maintenance liquid medicine spraying device with the adjustable spraying angle of claim 8, which is characterized in that: limiting plates located below the belt pulley (46) are arranged at the top ends of the two screw rod shafts (45), a stop plate located on one side of the angle adjusting rod (40) is arranged at one end of each limiting shaft (43), and the diameter of each stop plate is 1 cm larger than that of the movable opening (42).
10. The landscape architecture maintenance liquid medicine spraying device with the adjustable spraying angle of claim 1, which is characterized in that: the top end of the height adjuster (7) is provided with a clamping plate, and one side of the stirring plate (17) is provided with a rubber scraper.
CN202110105665.9A 2021-01-26 2021-01-26 Adjustable view gardens of spraying angle are maintained and are used liquid medicine spraying device Expired - Fee Related CN112931465B (en)

Priority Applications (1)

Application Number Priority Date Filing Date Title
CN202110105665.9A CN112931465B (en) 2021-01-26 2021-01-26 Adjustable view gardens of spraying angle are maintained and are used liquid medicine spraying device

Applications Claiming Priority (1)

Application Number Priority Date Filing Date Title
CN202110105665.9A CN112931465B (en) 2021-01-26 2021-01-26 Adjustable view gardens of spraying angle are maintained and are used liquid medicine spraying device

Publications (2)

Publication Number Publication Date
CN112931465A true CN112931465A (en) 2021-06-11
CN112931465B CN112931465B (en) 2022-10-28

Family

ID=76237235

Family Applications (1)

Application Number Title Priority Date Filing Date
CN202110105665.9A Expired - Fee Related CN112931465B (en) 2021-01-26 2021-01-26 Adjustable view gardens of spraying angle are maintained and are used liquid medicine spraying device

Country Status (1)

Country Link
CN (1) CN112931465B (en)

Cited By (4)

* Cited by examiner, † Cited by third party
Publication number Priority date Publication date Assignee Title
CN113841676A (en) * 2021-10-26 2021-12-28 湖南辰投碣滩茶业开发有限公司 Tealeaves is planted with spouting medicine device with adjustable spray angle
CN114304117A (en) * 2021-12-29 2022-04-12 福建青旅农业科技有限责任公司 A spraying device with self-positioning spraying function for pest control
CN115735727A (en) * 2022-12-07 2023-03-07 厦门恒旗建设有限公司 Afforestation water saving fixtures
CN115943794A (en) * 2022-12-07 2023-04-11 厦门恒旗建设有限公司 A high-efficiency spraying device for liquid fertilizer for garden planting

Citations (6)

* Cited by examiner, † Cited by third party
Publication number Priority date Publication date Assignee Title
KR20020024098A (en) * 2002-01-25 2002-03-29 이원식 High and low or wide regulation possible of injection nozzle for power sprayer
CN208981252U (en) * 2018-09-03 2019-06-14 中宁县久隆物业服务有限公司 A kind of property cell sprinkling truck
CN110393074A (en) * 2018-04-24 2019-11-01 佛山市嘉懿行农业科技有限公司 A kind of wisdom agricultural Internet of Things liquid manure all-in-one machine
CN211532187U (en) * 2019-12-24 2020-09-22 苏州市吴中水建建设发展有限公司 Energy-concerving and environment-protective irrigation and water conservancy device
CN211725757U (en) * 2019-12-21 2020-10-23 宿迁市同创化工科技股份有限公司 Polymer water based paint reation kettle
CN212035626U (en) * 2020-04-24 2020-12-01 张瑞雪 Novel agricultural pest control pesticide sprays device

Patent Citations (6)

* Cited by examiner, † Cited by third party
Publication number Priority date Publication date Assignee Title
KR20020024098A (en) * 2002-01-25 2002-03-29 이원식 High and low or wide regulation possible of injection nozzle for power sprayer
CN110393074A (en) * 2018-04-24 2019-11-01 佛山市嘉懿行农业科技有限公司 A kind of wisdom agricultural Internet of Things liquid manure all-in-one machine
CN208981252U (en) * 2018-09-03 2019-06-14 中宁县久隆物业服务有限公司 A kind of property cell sprinkling truck
CN211725757U (en) * 2019-12-21 2020-10-23 宿迁市同创化工科技股份有限公司 Polymer water based paint reation kettle
CN211532187U (en) * 2019-12-24 2020-09-22 苏州市吴中水建建设发展有限公司 Energy-concerving and environment-protective irrigation and water conservancy device
CN212035626U (en) * 2020-04-24 2020-12-01 张瑞雪 Novel agricultural pest control pesticide sprays device

Non-Patent Citations (1)

* Cited by examiner, † Cited by third party
Title
李敏: "《物流设施与设备》", 31 July 2014 *

Cited By (5)

* Cited by examiner, † Cited by third party
Publication number Priority date Publication date Assignee Title
CN113841676A (en) * 2021-10-26 2021-12-28 湖南辰投碣滩茶业开发有限公司 Tealeaves is planted with spouting medicine device with adjustable spray angle
CN114304117A (en) * 2021-12-29 2022-04-12 福建青旅农业科技有限责任公司 A spraying device with self-positioning spraying function for pest control
CN114304117B (en) * 2021-12-29 2023-01-10 福建青旅农业科技有限责任公司 Spraying equipment with self-positioning spraying function for pest control
CN115735727A (en) * 2022-12-07 2023-03-07 厦门恒旗建设有限公司 Afforestation water saving fixtures
CN115943794A (en) * 2022-12-07 2023-04-11 厦门恒旗建设有限公司 A high-efficiency spraying device for liquid fertilizer for garden planting

Also Published As

Publication number Publication date
CN112931465B (en) 2022-10-28

Similar Documents

Publication Publication Date Title
CN112931465A (en) Adjustable view gardens of spraying angle are maintained and are sprayed liquid medicine device
CN211726297U (en) A tree spraying device for garden maintenance
CN108781620A (en) A kind of intelligentized afforestation sprinkler irrigation fertilization and spraying integration apparatus
CN212877017U (en) Agricultural irrigation device convenient to adjust and irrigate height and have multi-angle to irrigate
CN220211345U (en) Irrigation equipment for vegetable planting
CN209345668U (en) A kind of greenhouse for camellia seedling
CN219536842U (en) Landscape design landscape curing means
CN221634670U (en) Adjusting structure of spray head for irrigation of agricultural greenhouse
CN112772372A (en) Landscaping maintenance device convenient to install and maintain and use method thereof
CN216362945U (en) Gardens are with automatic sprinkling irrigation water saving fixtures
CN213881254U (en) High-efficient water-saving irrigation equipment of afforestation nursery stock
CN216626769U (en) Plant planning and design sample display device
CN216961249U (en) Medicine device is spouted in municipal garden
CN211886363U (en) A device for preventing and controlling plant diseases and insect pests in garden landscape
CN109089838A (en) Flusher is used in a kind of portable chu lan flower plantation
CN221510425U (en) Afforestation device of growing seedlings
CN223786805U (en) A portable irrigation device for landscaping and greening.
CN222017405U (en) Irrigation device
CN215648975U (en) A high-efficiency spraying device for gardens
CN217591871U (en) An automatic sprinkler for landscaping
CN219919908U (en) Swing type irrigation spray head and water conservancy irrigation equipment
CN223786972U (en) Afforestation maintenance is with spouting medicine device
CN221011263U (en) Afforestation watering device
CN221749190U (en) An automatic spraying device with adjustable spraying angle for landscaping maintenance
CN218303074U (en) Sprayer for lime planting

Legal Events

Date Code Title Description
PB01 Publication
PB01 Publication
SE01 Entry into force of request for substantive examination
SE01 Entry into force of request for substantive examination
GR01 Patent grant
GR01 Patent grant
CF01 Termination of patent right due to non-payment of annual fee

Granted publication date: 20221028

CF01 Termination of patent right due to non-payment of annual fee