CN112899414A - Belt forming device for belt processing - Google Patents
Belt forming device for belt processing Download PDFInfo
- Publication number
- CN112899414A CN112899414A CN202110221386.9A CN202110221386A CN112899414A CN 112899414 A CN112899414 A CN 112899414A CN 202110221386 A CN202110221386 A CN 202110221386A CN 112899414 A CN112899414 A CN 112899414A
- Authority
- CN
- China
- Prior art keywords
- fixedly connected
- block
- sliding
- sliding rail
- belt
- Prior art date
- Legal status (The legal status is an assumption and is not a legal conclusion. Google has not performed a legal analysis and makes no representation as to the accuracy of the status listed.)
- Pending
Links
- 230000007246 mechanism Effects 0.000 claims abstract description 83
- 238000005520 cutting process Methods 0.000 claims abstract description 44
- 238000005553 drilling Methods 0.000 claims abstract description 19
- 238000001125 extrusion Methods 0.000 claims abstract description 9
- 239000000463 material Substances 0.000 claims description 13
- 230000002950 deficient Effects 0.000 claims description 4
- 230000008878 coupling Effects 0.000 claims 6
- 238000010168 coupling process Methods 0.000 claims 6
- 238000005859 coupling reaction Methods 0.000 claims 6
- 238000000465 moulding Methods 0.000 claims 5
- 239000010985 leather Substances 0.000 abstract description 50
- 230000001737 promoting effect Effects 0.000 abstract description 5
- 238000007493 shaping process Methods 0.000 abstract description 2
- 238000004140 cleaning Methods 0.000 description 7
- 238000000034 method Methods 0.000 description 3
- 230000008569 process Effects 0.000 description 3
- 241000270722 Crocodylidae Species 0.000 description 1
- 230000009471 action Effects 0.000 description 1
- LNNWVNGFPYWNQE-GMIGKAJZSA-N desomorphine Chemical compound C1C2=CC=C(O)C3=C2[C@]24CCN(C)[C@H]1[C@@H]2CCC[C@@H]4O3 LNNWVNGFPYWNQE-GMIGKAJZSA-N 0.000 description 1
- 230000000694 effects Effects 0.000 description 1
- 238000005516 engineering process Methods 0.000 description 1
- 230000005484 gravity Effects 0.000 description 1
- 238000012986 modification Methods 0.000 description 1
- 230000004048 modification Effects 0.000 description 1
- 238000003825 pressing Methods 0.000 description 1
- 238000010408 sweeping Methods 0.000 description 1
- 238000003466 welding Methods 0.000 description 1
Images
Classifications
-
- C—CHEMISTRY; METALLURGY
- C14—SKINS; HIDES; PELTS; LEATHER
- C14B—MECHANICAL TREATMENT OR PROCESSING OF SKINS, HIDES OR LEATHER IN GENERAL; PELT-SHEARING MACHINES; INTESTINE-SPLITTING MACHINES
- C14B5/00—Clicking, perforating, or cutting leather
- C14B5/04—Clicking, perforating, or cutting leather for making leather belts or strips
-
- C—CHEMISTRY; METALLURGY
- C14—SKINS; HIDES; PELTS; LEATHER
- C14B—MECHANICAL TREATMENT OR PROCESSING OF SKINS, HIDES OR LEATHER IN GENERAL; PELT-SHEARING MACHINES; INTESTINE-SPLITTING MACHINES
- C14B17/00—Details of apparatus or machines for manufacturing or treating skins, hides, leather, or furs
- C14B17/14—Auxiliary devices for leather-working machines, e.g. grinding devices for blading cylinders or dust-removal devices combined with the working machines
Landscapes
- Engineering & Computer Science (AREA)
- Mechanical Engineering (AREA)
- Chemical & Material Sciences (AREA)
- Organic Chemistry (AREA)
- Manufacturing & Machinery (AREA)
- Control Of Cutting Processes (AREA)
Abstract
The invention relates to the field of belt processing, in particular to a belt forming device for belt processing, which comprises a machine table, a placing table, a pushing and cutting mechanism, a drilling mechanism, an extruding mechanism and the like; the top of the machine table is provided with a placing table, the pushing cutting mechanism is arranged on the placing table, the drilling mechanism is arranged on the pushing cutting mechanism, and the extruding mechanism is arranged on the pushing cutting mechanism. Through promoting cutting mechanism, can be automatic cut monoblock leather into the strip, through drilling mechanism, can drill to the leather, through extrusion mechanism, can cut processing once more to leather one side, the staff of being convenient for is follow-up to further processing the leather strip that cuts off, has realized can carrying out the purpose of preliminary processing to the belt shaping.
Description
Technical Field
The invention relates to the field of belt processing, in particular to a belt forming device for belt processing.
Background
The belt is exactly the belt of making with the leather, refers in particular to the waistband, and the leather waistband that is currently popular is gradually wide gradually growing formula appearance to one is wide, and one end is narrow, and the colour is diversified, and another use of belt is used in the wrist-watch trade, and the leather that can process into the belt is very various, and its main material is: crocodile skin, cow leather, PU leather, PVC leather and regenerated leather, wherein the first layer cow leather is the highest-grade leather in the market.
The existing belt processing technology is generally manufactured manually by manpower, and because the steps are various, the speed is low, the efficiency is low, so that a worker can select mechanical equipment to replace some simple cutting steps in the belt processing process, and the working efficiency can be improved while the same effect is achieved.
Disclosure of Invention
In view of the above, it is desirable to provide a belt forming apparatus for belt processing, which can automatically cut a whole piece of leather into a strip shape, can drill the leather, can perform re-cutting processing on one side of the leather, can continuously perform cutting processing on the whole piece of leather, and can automatically clean residual leftover bits.
The technical scheme is as follows: the utility model provides a belt forming device is used in belt processing, is including the board, place the platform, promote cutting mechanism, drilling mechanism, extrusion mechanism and return mechanism, and the board top is equipped with places the platform, promotes cutting mechanism and locates and place the bench, and drilling mechanism locates on promoting cutting mechanism, and extrusion mechanism locates on promoting cutting mechanism, and return mechanism locates on promoting cutting mechanism.
In one embodiment, the pushing and cutting mechanism comprises a supporting plate, an electric push rod, a first connecting bar, a supporting block, a first sliding rail block, a connecting sliding block, a knife block, a rotating plate and a torsion spring, wherein the supporting plate is fixedly connected to the top of one side of the machine table, the electric push rod is installed on the supporting plate, one side of the first connecting bar is fixedly connected to a telescopic rod of the electric push rod, a pair of supporting blocks is fixedly connected to the top of one side of the placing table, the first sliding rail block is fixedly connected to the tops of the two supporting blocks, the connecting sliding block is slidably arranged in a sliding groove at the bottom of the first sliding rail block, the knife block is fixedly connected to the bottom of the connecting sliding block, the rotating plate is.
In one embodiment, the drilling mechanism comprises a second sliding rail block, a convex block, a first spring, a second connecting bar, a circular hole cutter, a third connecting bar, a wedge-shaped sliding rail, a sliding rod and a rotary drum, wherein the second sliding rail block is fixedly connected to the top of one side of the placing table, the convex block is slidably arranged in a sliding groove of the second sliding rail block, the first spring is connected between the convex block and the inner wall of the sliding groove of the second sliding rail block, the second connecting bar is fixedly connected to the bottom of the convex block, a plurality of circular hole cutters are fixedly connected to the bottom of the second connecting bar, the third connecting bar is fixedly connected to one side of the first connecting bar, the wedge-shaped sliding rail is fixedly connected to one side of the third connecting bar, one side of the sliding rod is slidably arranged.
In one embodiment, the extrusion mechanism includes a fourth connecting bar, a wedge, a third sliding block, a connecting plate, a V-shaped cutter and a second spring, the fourth connecting bar is fixedly connected to one side of the first connecting bar, the wedge is fixedly connected to one side of the fourth connecting bar, the third sliding block is fixedly connected to one side of the first sliding block, the connecting plate is slidably disposed in a sliding groove of the third sliding block, the V-shaped cutter is fixedly connected to a lower portion of the connecting plate, and the second spring is connected between one side of the connecting plate and an inner wall of the sliding groove of the third sliding block.
In one embodiment, the return mechanism comprises a first sliding plate, a first rack, a second rack, a connecting frame, a first rotating shaft, a first gear, a first bevel gear, a second rotating shaft, an overrunning clutch, a second gear and a second bevel gear, wherein the first sliding plate is slidably arranged in a sliding groove at the top of the placing table, the first rack is fixedly connected to one side of the first connecting bar, the second rack is fixedly connected to one side of the first sliding plate, the connecting frame is fixedly connected to one side of the first sliding rail block, the middle part of the first rotating shaft is rotatably arranged on the connecting frame, the first gear is fixedly connected to one end of the first rotating shaft, the first gear is meshed with the second rack, the first bevel gear is fixedly connected to the other end of the first rotating shaft, one end of the second rotating shaft is rotatably arranged on the connecting frame, the overrunning clutch is fixedly connected to the middle part of the second rotating shaft, the second gear is fixedly connected to the overrunning clutch, the second bevel gear is fixedly connected to one end of the second rotating shaft and meshed with the first bevel gear.
In one embodiment, the machine table further comprises a residual material cleaning mechanism, the residual material cleaning mechanism is arranged on the machine table and comprises a second sliding plate, a third spring and a wedge-shaped frame, the second sliding plate is slidably arranged in a top sliding groove at one side of the machine table, the third spring is connected between the second sliding plate and the inner wall of the sliding groove of the machine table, and the wedge-shaped frame is fixedly connected to one side of a fourth connecting strip.
The invention has the following advantages:
through promoting cutting mechanism, can be automatic cut monoblock leather into the strip, through drilling mechanism, can drill to the leather, through extrusion mechanism, can cut processing once more to leather one side, the staff of being convenient for is follow-up to further processing the leather strip that cuts off, has realized can carrying out the purpose of preliminary processing to the belt shaping.
Through return mechanism, can make the device carry out cutting process to monoblock leather in succession, facilitate to monoblock leather cutting process in succession for the staff.
Clean the mechanism through the defective material, can clear up the remaining leftover bits of last cutting automatically, prevent that the leftover bits from influencing the device function, saved the staff and carried out the trouble of still needing manual clearance residual leftover bits after cutting process to the leather.
Drawings
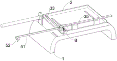
Fig. 1 is a schematic perspective view of the present invention.
Fig. 2 is a schematic partial perspective view of the push cutting mechanism of the present invention.
Fig. 3 is an enlarged schematic view of the structure of the present invention a.
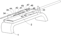
Fig. 4 is a schematic perspective view of the drilling mechanism of the present invention.
Fig. 5 is a partial perspective view of the present invention.
FIG. 6 is an enlarged schematic view of the present invention B.
Fig. 7 is a schematic perspective view of the return mechanism of the present invention.
Fig. 8 is a schematic perspective view of the residual material cleaning mechanism of the present invention.
Description of reference numerals: 1_ machine table, 2_ placing table, 3_ pushing cutting mechanism, 31_ supporting plate, 32_ electric push rod, 33_ first connecting bar, 34_ supporting block, 35_ first sliding rail block, 36_ connecting slider, 37_ cutter block, 38_ rotating plate, 39_ torsion spring, 4_ drilling mechanism, 41_ second sliding rail block, 42_ lug, 43_ first spring, 44_ second connecting bar, 45_ circular hole cutter, 46_ third connecting bar, 47_ wedge slide rail, 48_ slide bar, 49_ drum, 5_ pressing mechanism, 51_ fourth connecting bar, 52_ wedge block, 53_ third sliding rail block, 54_ connecting plate, 55_ V traveling knife, 56_ second spring, 6_ return mechanism, 61_ first sliding plate, 62_ first rack, 63_ second rack, 64_ connecting frame, 65_ first rotating shaft, 66_ first gear, 67_ first rotating shaft, 68_ second rotating shaft, 69_ overrunning clutch, 610_ second gear, 611_ second bevel gear, 7_ scrap sweeping mechanism, 71_ second slide plate, 72_ third spring, 73_ wedge frame.
Detailed Description
The standard parts used in the invention can be purchased from the market, the special-shaped parts can be customized according to the description and the description of the attached drawings, and the specific connection mode of each part adopts the conventional means of mature bolts, rivets, welding, sticking and the like in the prior art, and the detailed description is not repeated.
Example 1
The utility model provides a belt forming device is used in belt processing, as shown in fig. 1-8, including board 1, place platform 2, promote cutting mechanism 3, drilling mechanism 4, extrusion mechanism 5 and return mechanism 6, board 1 top is equipped with places platform 2, place platform 2 and be used for placing the leather, promote cutting mechanism 3 and locate and place on platform 2, promote cutting mechanism 3 and be used for cutting monoblock leather into strips, drilling mechanism 4 is located and is promoted on cutting mechanism 3, drilling mechanism 4 is used for drilling the leather, extrusion mechanism 5 is located and is promoted on cutting mechanism 3, extrusion mechanism 5 is used for carrying out cutting once more to leather one side, return mechanism 6 is located and is promoted on cutting mechanism 3, return mechanism 6 is used for making the device can carry out cutting process to monoblock leather in succession.
The pushing and cutting mechanism 3 comprises a supporting plate 31, an electric push rod 32, a first connecting bar 33, supporting blocks 34, a first sliding rail block 35, a connecting slide block 36, a cutter block 37, a rotating plate 38 and a torsion spring 39, the supporting plate 31 is fixedly connected to the top of one side of the machine table 1 far away from a connecting frame 64, the supporting plate 31 is used for supporting the electric push rod 32, the electric push rod 32 is installed on the supporting plate 31, the electric push rod 32 is used for driving the first connecting bar 33 and an upper device thereof to reciprocate, one side of the first connecting bar 33 far away from the connecting slide block 36 is fixedly connected to an expansion link of the electric push rod 32, the top of one side of the placing table 2 far away from the first sliding plate 61 is fixedly connected with a pair of the supporting blocks 34, the supporting blocks 34 are used for supporting the first sliding rail block 35, the top of the two supporting blocks 34 is fixedly connected with the first sliding rail block 35 together, the connecting slide block 36 is arranged in a sliding, the knife block 37 is fixedly connected to the bottom of the connecting slide block 36, the knife block 37 is used for cutting the whole leather into strips, the rotating plate 38 is rotatably arranged on one side of the knife block 37 close to the fourth connecting strip 51, the rotating plate 38 is used for pushing the cut leather strips to move towards the direction far away from the connecting frame 64, a torsion spring 39 is connected between the knife block 37 and the rotating plate 38, and the torsion spring 39 is used for driving the rotating plate 38 to reset.
The drilling mechanism 4 comprises a second sliding rail block 41, a convex block 42, a first spring 43, a second connecting strip 44, a circular hole cutter 45, a third connecting strip 46, a wedge-shaped sliding rail 47, a sliding rod 48 and a rotary drum 49, wherein the second sliding rail block 41 is fixedly connected to the top of one side of the placing table 2 far away from the first sliding plate 61, the second sliding rail block 41 is used for supporting the convex block 42 and devices thereon, the convex block 42 is slidably arranged in a sliding groove of the second sliding rail block 41, the convex block 42 is used for extruding the rotary drum 49 and the sliding rod 48 to move upwards along the sliding groove of the wedge-shaped sliding rail 47, the first spring 43 is connected between the convex block 42 and the inner wall of the sliding groove of the second sliding rail block 41, the first spring 43 is used for driving the convex block 42 and devices thereon to reset, the second connecting strip 44 is fixedly connected to the bottom of the convex block 42, a plurality of circular hole cutters 45 are fixedly connected to the bottom of the second connecting strip 44, the circular hole cutters 45 are used for drilling, the wedge-shaped slide rail 47 is fixedly connected to the side of the third connecting bar 46 far away from the first connecting bar 33, one side of the slide rod 48 is slidably disposed in the slide slot of the wedge-shaped slide rail 47, the rotary drum 49 is rotatably disposed on the side of the slide rod 48 far away from the wedge-shaped slide rail 47, and the rotary drum 49 is used for squeezing the bump 42 and the upper device thereof to move downwards.
The squeezing mechanism 5 comprises a fourth connecting bar 51, a wedge block 52, a third slide rail block 53, a connecting plate 54, a V-shaped row knife 55 and a second spring 56, the fourth connecting bar 51 is fixedly connected to one side of the first connecting bar 33 far away from the support plate 31, the wedge block 52 is fixedly connected to one side of the fourth connecting bar 51 far away from the first connecting bar 33, the wedge block 52 is used for squeezing the connecting plate 54 and the V-shaped row knife 55 to move downwards, the third slide rail block 53 is fixedly connected to one side of the first slide rail block 35 close to the fourth connecting bar 51, the connecting plate 54 is slidably arranged in a chute of the third slide rail block 53, the V-shaped row knife 55 is fixedly connected to the lower portion of the connecting plate 54, the V-shaped row knife 55 is used for performing cutting processing on one side of leather again, the second spring 56 is connected between one side of the connecting plate 54 and the inner wall of the chute of the third slide rail block 53, and the second spring 56.
The return mechanism 6 comprises a first sliding plate 61, a first rack 62, a second rack 63, a connecting frame 64, a first rotating shaft 65, a first gear 66, a first bevel gear 67, a second rotating shaft 68, an overrunning clutch 69, a second gear 610 and a second bevel gear 611, wherein the first sliding plate 61 is slidably arranged in a chute at the top of the placing table 2, the first sliding plate 61 is used for driving the rest of the leather on the placing table 2 to move in the direction close to the first sliding rail block 35, the first rack 62 is fixedly connected to one side of the first connecting bar 33, the first rack 62 is used for driving the second gear 610 to rotate, the second rack 63 is fixedly connected to one side of the first sliding plate 61 far away from the supporting plate 31, the connecting frame 64 is fixedly connected to one side of the first sliding rail block 35 far away from the fourth connecting bar 51, the middle part of the first rotating shaft 65 is rotatably arranged on the connecting frame 64, the first rotating shaft 65 is used for driving the first gear 66, and the first gear 66 is fixedly connected to one, the first gear 66 is used for driving the second rack 63 and the first sliding plate 61 to move towards the direction close to the first sliding rail block 35, the first gear 66 is engaged with the second rack 63, the first bevel gear 67 is fixedly connected to the end of the first rotating shaft 65 far away from the first gear 66, the first bevel gear 67 is used for driving the first rotating shaft 65 to rotate forward, the end of the second rotating shaft 68 is rotatably arranged on the connecting frame 64, the overrunning clutch 69 is fixedly connected to the middle of the second rotating shaft 68, the overrunning clutch 69 is used for driving the second rotating shaft 68 and the second bevel gear 611 to rotate reversely, the second gear 610 is fixedly connected to the overrunning clutch 69, the second gear 610 is engaged with the first rack 62, the second bevel gear 611 is fixedly connected to one end of the second rotating shaft 68, the second bevel gear 611 is used for driving the first bevel gear 67 to rotate forward, and the second bevel gear 611 is engaged with.
A whole piece of leather is placed on the top of the placing table 2, the electric push rod 32 is manually controlled to be started, the electric push rod 32 pushes the first connecting bar 33 and the device on the first connecting bar to move towards the direction close to the connecting frame 64, the first rack 62 drives the second gear 610 to rotate forwards when moving, the overrunning clutch 69 only transmits the reverse force, so the second rotating shaft 68 and the second bevel gear 611 cannot rotate, then the first rack 62 and the second gear 610 are separated, when the knife block 37 moves along with the connecting sliding block 36, the knife block 37 contacts with the leather and cuts the leather, when the knife block 37 moves to the rotating plate 38 to contact with the leather, the leather pushes the rotating plate 38 to swing outwards to be in the same straight line with the knife block 37, when the third connecting bar 46 and the device on the third connecting bar 46 move to enable the rotary drum 49 to contact with the lug 42, the rotary drum 49 pushes the lug 42 and the device on the upper device to move downwards, and further the round hole knife 45 can drill the leather, when the drum 49 is separated from the bump 42, the bump 42 and the devices thereon will be reset by the first spring 43, then when the wedge 52 moves to contact with the connection board 54 along with the fourth connection strip 51, the wedge 52 will push the connection board 54 and the V-row knife 55 to move downwards, so that the V-row knife 55 can perform the cutting process on one side of the leather again, at this time, the knife block 37 will just cut the leather, and separate the rotation board 38 from the leather, the rotation board 38 will reset by the torsion spring 39, then the electric push rod 32 will drive the first connection strip 33 and the devices thereon to move backwards and reset, the wedge 52 will be separated from the connection board 54 when being reset, the connection board 54 and the V-row knife 55 will reset by the second spring 56, and when the connection slider 36 and the devices are reset, the rotation board 38 will push the cut leather strip to move away from the connection frame 64, provides convenience for the worker to further process the cut leather strips, when the third connecting bar 46 and the device thereon are reset to make the rotating drum 49 and the projection 42 contact again, the projection 42 will push the rotating drum 49 and the sliding rod 48 to move upwards along the sliding slot of the wedge-shaped sliding rail 47, when the rotating drum 49 and the projection 42 are separated again, the rotating drum 49 and the projection 42 will reset under the action of gravity, then when the first rack 62 is reset to contact with the second gear 610, the first rack 62 will drive the second gear 610 to rotate reversely, and drive the second rotating shaft 68 and the second bevel gear 611 to rotate reversely through the overrunning clutch 69, the second bevel gear 611 rotates reversely to drive the first bevel gear 67 to rotate forwardly and drive the first gear 66 to rotate forwardly through the first rotating shaft 65, the first forward rotating gear 66 will drive the second rack 63 and the first sliding plate 61 to move towards the direction close to the first sliding rail block 35, when the first sliding plate 61 moves, the remaining leather on the placing table 2 is driven to move in a direction close to the first sliding rail block 35, and then the electric push rod 32 pushes the first connecting bar 33 again and the device thereon to move in a direction close to the connecting frame 64, so that the device can continuously cut the remaining leather.
When the leather is cut and the next piece of leather needs to be replaced, the electric push rod 32 is manually controlled to be closed, then the first sliding plate 61 and the second rack 63 are manually reset, and then the next piece of leather is placed on the top of the placing table 2.
Example 2
Based on embodiment 1, as shown in fig. 8, the device further includes a remainder cleaning mechanism 7, the remainder cleaning mechanism 7 is disposed on the machine platform 1, the remainder cleaning mechanism 7 is configured to clean the leftover materials left after cutting, and prevent the leftover materials from affecting the operation of the device, the remainder cleaning mechanism 7 includes a second sliding plate 71, a third spring 72 and a wedge frame 73, the second sliding plate 71 is slidably disposed in a top sliding slot on one side of the machine platform 1 away from the connecting frame 64, the second sliding plate 71 is configured to clean the leftover materials left after cutting, the third spring 72 is connected between the second sliding plate 71 and an inner wall of the sliding slot of the machine platform 1, the third spring 72 is configured to drive the second sliding plate 71 to return, the wedge frame 73 is fixedly connected to one side of the fourth connecting bar 51 away from the first connecting bar 33, and the wedge frame 73 is configured to push the second sliding plate 71 to move in a direction away from the supporting plate 31.
When the wedge-shaped frame 73 moves to contact with the second sliding plate 71 along with the fourth connecting strip 51, the wedge-shaped frame 73 can squeeze the second sliding plate 71 to move towards the direction away from the supporting plate 31, a containing basket is placed at the position corresponding to the second sliding plate 71 on one side of the device, the second sliding plate 71 can enable leftover materials left in the last cutting to fall into the containing basket when moving, the trouble that workers need to manually clean the leftover materials after cutting the leather is further omitted, and when the wedge-shaped frame 73 is reset to be separated from the second sliding plate 71 along with the fourth connecting strip 51, the second sliding plate 71 resets along with the third spring 72.
The foregoing shows and describes the general principles and broad features of the present invention and advantages thereof. It will be understood by those skilled in the art that the present invention is not limited to the embodiments described above, which are described in the specification and illustrated only to illustrate the principle of the present invention, but that various changes and modifications may be made therein without departing from the spirit and scope of the present invention, which fall within the scope of the invention as claimed. The scope of the invention is defined by the appended claims and equivalents thereof.
Claims (6)
1. The utility model provides a belt forming device is used in belt processing which characterized by: the drilling machine comprises a machine table (1), a placing table (2), a pushing cutting mechanism (3), a drilling mechanism (4), an extruding mechanism (5) and a return mechanism (6), wherein the placing table (2) is arranged at the top of the machine table (1), the pushing cutting mechanism (3) is arranged on the placing table (2), the drilling mechanism (4) is arranged on the pushing cutting mechanism (3), the extruding mechanism (5) is arranged on the pushing cutting mechanism (3), and the return mechanism (6) is arranged on the pushing cutting mechanism (3).
2. The belt molding apparatus for belt processing as claimed in claim 1, wherein: the pushing cutting mechanism (3) comprises a supporting plate (31), an electric push rod (32), a first connecting strip (33), a supporting block (34), a first sliding rail block (35), a connecting sliding block (36), a cutter block (37), a rotating plate (38) and a torsion spring (39), backup pad (31) rigid coupling in board (1) one side top, electric putter (32) are installed on backup pad (31), first connecting strip (33) one side rigid coupling is on electric putter (32) telescopic link, place platform (2) one side top rigid coupling and have a pair of supporting shoe (34), the common rigid coupling in two supporting shoe (34) tops has first slide rail piece (35), first slide rail piece (35) bottom spout is located to link block (36) slidingtype, sword piece (37) rigid coupling is in link block (36) bottom, sword piece (37) one side is located to rotor plate (38) rotary type, be connected with torsion spring (39) between sword piece (37) and rotor plate (38).
3. A belt molding apparatus for belt processing as claimed in claim 2, wherein: the drilling mechanism (4) comprises a second sliding rail block (41), a convex block (42), a first spring (43), a second connecting strip (44), a round hole cutter (45), a third connecting strip (46), a wedge-shaped sliding rail (47), a sliding rod (48) and a rotary drum (49), the second sliding rail block (41) is fixedly connected with the top of one side of the placing platform (2), the convex block (42) is arranged in a sliding groove of the second sliding rail block (41) in a sliding way, the first spring (43) is connected between the convex block (42) and the inner wall of the sliding groove of the second sliding rail block (41), the second connecting strip (44) is fixedly connected with the bottom of the convex block (42), the bottom of the second connecting strip (44) is fixedly connected with a plurality of round hole cutters (45), the third connecting strip (46) is fixedly connected with one side of the first connecting strip (33), the wedge-shaped sliding rail (47) is fixedly connected with one side of the third connecting strip (46), one side of the sliding rod (48) is arranged, the rotary drum (49) is rotatably arranged at the other side of the slide rod (48).
4. A belt molding apparatus for belt processing as claimed in claim 3, wherein: the extrusion mechanism (5) comprises a fourth connecting strip (51), a wedge-shaped block (52), a third sliding rail block (53), a connecting plate (54), a V-shaped traveling cutter (55) and a second spring (56), wherein the fourth connecting strip (51) is fixedly connected to one side of the first connecting strip (33), the wedge-shaped block (52) is fixedly connected to one side of the fourth connecting strip (51), the third sliding rail block (53) is fixedly connected to one side of the first sliding rail block (35), the connecting plate (54) is slidably arranged in a sliding groove of the third sliding rail block (53), the V-shaped traveling cutter (55) is fixedly connected to the lower portion of the connecting plate (54), and the second spring (56) is connected between one side of the connecting plate (54) and the inner wall of the sliding groove of the third sliding rail block (53).
5. The belt molding apparatus for belt processing as claimed in claim 4, wherein: the return mechanism (6) comprises a first sliding plate (61), a first rack (62), a second rack (63), a connecting frame (64), a first rotating shaft (65), a first gear (66), a first bevel gear (67), a second rotating shaft (68), an overrunning clutch (69), a second gear (610) and a second bevel gear (611), wherein the first sliding plate (61) is arranged in a sliding groove at the top of the placing table (2) in a sliding manner, the first rack (62) is fixedly connected to one side of the first connecting bar (33), the second rack (63) is fixedly connected to one side of the first sliding plate (61), the connecting frame (64) is fixedly connected to one side of the first sliding rail block (35), the middle part of the first rotating shaft (65) is rotatably arranged on the connecting frame (64), the first gear (66) is fixedly connected to one end of the first rotating shaft (65), the first gear (66) is meshed with the second rack (63), the first bevel gear (67) is fixedly connected to the other end of the first rotating shaft (65), one end of a second rotating shaft (68) is rotatably arranged on the connecting frame (64), an overrunning clutch (69) is fixedly connected to the middle of the second rotating shaft (68), a second gear (610) is fixedly connected to the overrunning clutch (69), the second gear (610) is meshed with the first rack (62), a second bevel gear (611) is fixedly connected to one end of the second rotating shaft (68), and the second bevel gear (611) is meshed with the first bevel gear (67).
6. The belt molding apparatus for belt processing as claimed in claim 5, wherein: still clean mechanism (7) including the defective material, the defective material cleans mechanism (7) and locates on board (1), the defective material cleans mechanism (7) including second slide (71), third spring (72) and wedge frame (73), in board (1) one side top spout was located to second slide (71) slidingtype, be connected with third spring (72) between second slide (71) and board (1) spout inner wall, wedge frame (73) rigid coupling in fourth connecting strip (51) one side.
Priority Applications (1)
| Application Number | Priority Date | Filing Date | Title |
|---|---|---|---|
| CN202110221386.9A CN112899414A (en) | 2021-02-27 | 2021-02-27 | Belt forming device for belt processing |
Applications Claiming Priority (1)
| Application Number | Priority Date | Filing Date | Title |
|---|---|---|---|
| CN202110221386.9A CN112899414A (en) | 2021-02-27 | 2021-02-27 | Belt forming device for belt processing |
Publications (1)
| Publication Number | Publication Date |
|---|---|
| CN112899414A true CN112899414A (en) | 2021-06-04 |
Family
ID=76107400
Family Applications (1)
| Application Number | Title | Priority Date | Filing Date |
|---|---|---|---|
| CN202110221386.9A Pending CN112899414A (en) | 2021-02-27 | 2021-02-27 | Belt forming device for belt processing |
Country Status (1)
| Country | Link |
|---|---|
| CN (1) | CN112899414A (en) |
Cited By (1)
| Publication number | Priority date | Publication date | Assignee | Title |
|---|---|---|---|---|
| CN113684667A (en) * | 2021-08-27 | 2021-11-23 | 陈燕红 | Environment-friendly imitation leather texture composite fabric cutting device |
Citations (8)
| Publication number | Priority date | Publication date | Assignee | Title |
|---|---|---|---|---|
| GB566335A (en) * | 1943-06-15 | 1944-12-22 | Stirling Textile Ind Ltd | Improvements in or relating to machines for cutting materials into strips |
| CS233877B1 (en) * | 1983-05-20 | 1985-03-14 | Jiri Bednarik | Leather cutting equipment |
| TW451943U (en) * | 1999-06-16 | 2001-08-21 | Li Ruei Lung | Automatic adjustment mechanism for blade winding of stripping machine |
| CN110760626A (en) * | 2019-11-12 | 2020-02-07 | 厦门月厅版箱包有限公司 | Automatic belt manufacturing device |
| CN110894560A (en) * | 2019-12-10 | 2020-03-20 | 苏州震伴威自动化设备科技有限公司 | Novel equidistant punching machine for belt leather |
| CN211440248U (en) * | 2019-12-28 | 2020-09-08 | 四川长宁县蜀山食品有限公司 | Blade for processing bamboo shoots |
| CN112126724A (en) * | 2020-09-29 | 2020-12-25 | 刘佳 | Integrated belt manufacturing and processing device |
| CN112356086A (en) * | 2020-10-12 | 2021-02-12 | 曾小妹 | Rice paper cutting device |
-
2021
- 2021-02-27 CN CN202110221386.9A patent/CN112899414A/en active Pending
Patent Citations (8)
| Publication number | Priority date | Publication date | Assignee | Title |
|---|---|---|---|---|
| GB566335A (en) * | 1943-06-15 | 1944-12-22 | Stirling Textile Ind Ltd | Improvements in or relating to machines for cutting materials into strips |
| CS233877B1 (en) * | 1983-05-20 | 1985-03-14 | Jiri Bednarik | Leather cutting equipment |
| TW451943U (en) * | 1999-06-16 | 2001-08-21 | Li Ruei Lung | Automatic adjustment mechanism for blade winding of stripping machine |
| CN110760626A (en) * | 2019-11-12 | 2020-02-07 | 厦门月厅版箱包有限公司 | Automatic belt manufacturing device |
| CN110894560A (en) * | 2019-12-10 | 2020-03-20 | 苏州震伴威自动化设备科技有限公司 | Novel equidistant punching machine for belt leather |
| CN211440248U (en) * | 2019-12-28 | 2020-09-08 | 四川长宁县蜀山食品有限公司 | Blade for processing bamboo shoots |
| CN112126724A (en) * | 2020-09-29 | 2020-12-25 | 刘佳 | Integrated belt manufacturing and processing device |
| CN112356086A (en) * | 2020-10-12 | 2021-02-12 | 曾小妹 | Rice paper cutting device |
Cited By (1)
| Publication number | Priority date | Publication date | Assignee | Title |
|---|---|---|---|---|
| CN113684667A (en) * | 2021-08-27 | 2021-11-23 | 陈燕红 | Environment-friendly imitation leather texture composite fabric cutting device |
Similar Documents
| Publication | Publication Date | Title |
|---|---|---|
| CN111633762B (en) | Bamboo board cutting machine is used in bamboo let processing | |
| CN112643728B (en) | An auxiliary cutting device for celery root | |
| CN111687918B (en) | Quick potato chip cutting machine | |
| CN112454448A (en) | Department of traditional chinese medicine is with energy-concerving and environment-protective traditional chinese medicine medicinal material cutting equipment | |
| CN113057193A (en) | Dumpling wrapper forming and cutting equipment for food processing | |
| CN113016858A (en) | Fried chicken cutting equipment | |
| CN111516222A (en) | Injection molding stub bar cutting device is used in washbasin production | |
| CN112450242A (en) | Equipment is used in plastic envelope cake production | |
| CN113059056A (en) | Municipal administration is special-shaped steel pipe processingequipment for building materials | |
| CN113558078B (en) | Automatic production machine for manufacturing round dough cover | |
| CN112899414A (en) | Belt forming device for belt processing | |
| CN109049043A (en) | A kind of vegetable-chopper | |
| CN214055484U (en) | A radish cutting device | |
| CN113575984A (en) | Equipment is peeld in shaddock processing | |
| CN112515194A (en) | Convenient persimmon equipment of peeling | |
| CN111673012A (en) | Automatic continuous trimmer of cage frame based on poultry is bred with steel wire cage processing | |
| CN113796400B (en) | Production equipment for children's complementary food cartoon noodles | |
| CN110801046A (en) | Rice cake pressing and cutting device | |
| CN217373471U (en) | Automatic pad pasting device of dot matrix product material piece | |
| CN114347178B (en) | Bending leg cutting forming equipment for round stool processing | |
| CN212288238U (en) | Energy-saving rubber secondary open mill | |
| CN213440004U (en) | From type membrane cutting equipment | |
| CN215164048U (en) | Leather cutting device with memory function | |
| CN214323498U (en) | Slicing device for cucumbers | |
| CN113977680B (en) | Sole processing and trimming device and method based on shoe production |
Legal Events
| Date | Code | Title | Description |
|---|---|---|---|
| PB01 | Publication | ||
| PB01 | Publication | ||
| SE01 | Entry into force of request for substantive examination | ||
| SE01 | Entry into force of request for substantive examination | ||
| RJ01 | Rejection of invention patent application after publication | ||
| RJ01 | Rejection of invention patent application after publication |
Application publication date: 20210604 |