CN112844934A - Wave-soldering spraying system equipment based on ultrasonic wave - Google Patents
Wave-soldering spraying system equipment based on ultrasonic wave Download PDFInfo
- Publication number
- CN112844934A CN112844934A CN202011585587.9A CN202011585587A CN112844934A CN 112844934 A CN112844934 A CN 112844934A CN 202011585587 A CN202011585587 A CN 202011585587A CN 112844934 A CN112844934 A CN 112844934A
- Authority
- CN
- China
- Prior art keywords
- fixedly connected
- box
- box body
- motor
- guide rail
- Prior art date
- Legal status (The legal status is an assumption and is not a legal conclusion. Google has not performed a legal analysis and makes no representation as to the accuracy of the status listed.)
- Pending
Links
- 238000005507 spraying Methods 0.000 title claims abstract description 49
- 238000005476 soldering Methods 0.000 title claims abstract description 17
- 241000883990 Flabellum Species 0.000 claims abstract description 8
- 230000005540 biological transmission Effects 0.000 claims description 26
- 239000007921 spray Substances 0.000 claims description 15
- 238000003466 welding Methods 0.000 claims description 9
- 230000000149 penetrating effect Effects 0.000 claims description 3
- 230000002349 favourable effect Effects 0.000 abstract description 14
- 239000002699 waste material Substances 0.000 abstract description 6
- 239000011248 coating agent Substances 0.000 abstract description 3
- 238000000576 coating method Methods 0.000 abstract description 3
- 230000007613 environmental effect Effects 0.000 abstract description 3
- 239000007788 liquid Substances 0.000 description 6
- 230000009286 beneficial effect Effects 0.000 description 4
- 238000009434 installation Methods 0.000 description 2
- 238000000889 atomisation Methods 0.000 description 1
- 238000010276 construction Methods 0.000 description 1
- 230000000694 effects Effects 0.000 description 1
- 238000005516 engineering process Methods 0.000 description 1
- 238000007667 floating Methods 0.000 description 1
- 239000007789 gas Substances 0.000 description 1
- 230000005484 gravity Effects 0.000 description 1
- 239000002245 particle Substances 0.000 description 1
- 239000002912 waste gas Substances 0.000 description 1
Images
Classifications
-
- B—PERFORMING OPERATIONS; TRANSPORTING
- B05—SPRAYING OR ATOMISING IN GENERAL; APPLYING FLUENT MATERIALS TO SURFACES, IN GENERAL
- B05B—SPRAYING APPARATUS; ATOMISING APPARATUS; NOZZLES
- B05B17/00—Apparatus for spraying or atomising liquids or other fluent materials, not covered by the preceding groups
- B05B17/04—Apparatus for spraying or atomising liquids or other fluent materials, not covered by the preceding groups operating with special methods
- B05B17/06—Apparatus for spraying or atomising liquids or other fluent materials, not covered by the preceding groups operating with special methods using ultrasonic or other kinds of vibrations
-
- B—PERFORMING OPERATIONS; TRANSPORTING
- B05—SPRAYING OR ATOMISING IN GENERAL; APPLYING FLUENT MATERIALS TO SURFACES, IN GENERAL
- B05B—SPRAYING APPARATUS; ATOMISING APPARATUS; NOZZLES
- B05B14/00—Arrangements for collecting, re-using or eliminating excess spraying material
Landscapes
- Spray Control Apparatus (AREA)
Abstract
The invention discloses wave-soldering spraying system equipment based on ultrasonic waves, which belongs to the technical field of ultrasonic spraying and comprises a box body, wherein two sides of the box body are respectively provided with a through notch, the top end inside the box body is provided with a moving assembly, the bottom end inside the box body is provided with a spraying assembly, the moving assembly comprises a guide rail, a sliding block, a connecting plate, a supporting rod, a supporting plate, a screw rod and a first motor, the guide rail is arranged at the bottom of the notch, the guide rail is fixedly connected with the box body, the sliding block is arranged at the top of the guide rail and is in sliding connection with the guide rail, and the number. Can drive the flabellum rotation of its one end through the pivot, the flabellum rotates and can form the air current, and then drives and fly away inside the box waste coating gets into collection box through the air vent, and this structure is favorable to preventing that the waste material of spraying from spilling over the box and causing the pollution to the environment, and environmental protection more when in-service use is favorable to protecting the environment.
Description
Technical Field
The invention relates to the technical field of ultrasonic spraying, in particular to a wave-soldering spraying system device based on ultrasonic waves.
Background
The wave-soldering ultrasonic atomizing system replaces the difference of the traditional atomizing head which crushes liquid into small particles by pressure and gas, and the ultrasonic atomizing head atomizes the liquid by utilizing lower ultrasonic vibration energy. The liquid can be conveyed to the spray head through self gravity or a low-pressure liquid pump and realize continuous or discontinuous atomization, so that the spraying effect is more uniform.
However, the conventional spraying equipment for welding is inconvenient to install for a workpiece when in use, cannot convey the workpiece to the inside of the equipment for spraying quickly, and cannot clean waste gas generated by spraying, so that the environment is polluted. Accordingly, one skilled in the art provides an ultrasonic based wave soldering spray system apparatus to solve the problems set forth in the background above.
Disclosure of Invention
The invention aims to provide wave-soldering spraying system equipment based on ultrasonic waves, so as to solve the problems in the background technology.
In order to achieve the purpose, the invention provides the following technical scheme: wave-soldering spraying system equipment based on ultrasonic waves comprises a box body, wherein two sides of the box body are provided with through notches, the top end inside the box body is provided with a moving assembly, and the bottom end inside the box body is provided with a spraying assembly;
the moving assembly comprises a guide rail, sliders, a connecting plate, a supporting rod, a supporting plate, a screw rod and a first motor, the guide rail is arranged at the bottom of the notch, the guide rail is fixedly connected with the box body, the sliders are arranged at the tops of the guide rail and are in sliding connection with the guide rail, the number of the sliders is multiple, the connecting plate is arranged between two adjacent sliders, a penetrating screw rod is arranged on the outer side of the connecting plate, the supporting rod is fixedly connected to the tops of the sliders, the supporting plate is fixedly connected to one end, away from the sliders, of the supporting rod, the screw rod penetrates through the supporting plate and is in threaded connection with the supporting plate, the first motor is arranged at one end, away from the supporting plate, of the screw rod and the output end of the first motor;
the spraying component comprises a cross bar, a convex block, a spray head, a second motor, a transmission shaft, a first supporting rod and a second supporting rod, the cross bar is fixedly connected inside the box body, the lug is connected outside the cross bar in a sliding manner, the transmission shaft is fixedly connected with the output end of the second motor, the first supporting rod is arranged at one end of the transmission shaft far away from the second motor and is fixedly connected with the transmission shaft, the second supporting rod is arranged at one side of the lug close to the second motor, one end of the second supporting rod is hinged with the first supporting rod, the other end of the second supporting rod is hinged with the convex block, the spray head is arranged on the top of the lug, the structure can drive the spray head on the top of the lug to move by utilizing the lug, and then move the position that needs the spraying to the work piece bottom, be favorable to accomplishing the spraying operation to the work piece, the position of shower nozzle can conveniently be adjusted fast to this structure, can show the efficiency that improves the spraying.
As a further scheme of the invention: the box is kept away from first motor one side fixedly connected with diaphragm, fixedly connected with gusset between diaphragm and the box, diaphragm bottom fixedly connected with riser, the lead screw is kept away from first motor one end and is rotated with the riser and be connected, and the riser is favorable to the installation of lead screw.
As a still further scheme of the invention: the handle is fixedly connected with one end of the screw rod, the guide rail is fixedly connected with the box body through welding, a door plate is arranged on the outer side of the box body and hinged with the box body, and a handle is fixedly connected to the outer side of the door plate and can clamp a workpiece to be processed through the screw rod.
As a still further scheme of the invention: the base is arranged at the bottom end of the first motor and fixedly connected with the box body through a welding guide rail, the base is arranged at the bottom end of the second motor and fixedly connected with the box body through welding, and the first motor is favorable for driving a clamped workpiece to move towards the interior of the box body.
As a still further scheme of the invention: the second branch is close to the first circle axle of second motor one side fixedly connected with, first circle axle runs through first branch and rotates with first branch to be connected, the lug is close to second branch one side fixedly connected with second circle axle, second circle axle runs through second branch and rotates with second branch to be connected, and this structure can drive controlling of shower nozzle.
As a still further scheme of the invention: the utility model discloses a spraying device, including transmission shaft, box, transmission shaft outside fixedly connected with flabellum, first band pulley, second band pulley, the transmission shaft top is provided with the pivot, the pivot runs through the box and rotates with the box to be connected, the first band pulley of transmission shaft outside fixedly connected with, pivot outside fixedly connected with second band pulley, first band pulley and second band pulley outside are provided with the belt, the pivot extends to the inside one end fixedly connected with flabellum of box, and this structure is favorable to preventing that the waste material of spraying from spilling over the box and causing the pollution to the.
As a still further scheme of the invention: the box outside is provided with collects the box, the box is close to and collects box one side and is provided with the air vent, the air vent sets up inside collecting the box, collects the box and is favorable to collecting dumped spraying liquid.
As a still further scheme of the invention: the slider bottom is provided with the spout, the slider passes through spout and guide rail sliding connection.
Compared with the prior art, the invention has the beneficial effects that:
1. according to the structure, the handle drives the screw rod to rotate so as to drive the screw rod to move, the workpiece to be processed can be clamped through the screw rod, the screw rod is driven to rotate through the output end of the first motor, the screw rod penetrates through the supporting plate and is in threaded connection with the supporting plate, and therefore the clamped workpiece can move towards the interior of the box body through rotation of the screw rod.
2. According to the invention, the output end of the second motor drives the transmission shaft to rotate so as to drive the first support rod at one end to rotate, the rotating first support rod can drive the second support rod to deflect, the second support rod drives the lug to slide left and right, the transverse rod is arranged so as to support the lug and improve the moving stability of the lug, the lug can be used for driving the spray head at the top of the lug to move and further move to a part needing spraying at the bottom of a workpiece, so that the spraying operation on the workpiece can be completed, the structure can conveniently and quickly adjust the position of the spray head, and the spraying efficiency can be obviously improved.
3. According to the invention, when the second motor drives the transmission shaft to rotate, the first belt wheel can be driven to rotate, and then the second belt wheel is driven to rotate, so that the rotating shaft is driven to rotate, the rotating shaft can drive the fan blades at one end of the rotating shaft to rotate, the fan blades rotate to form air flow, and further the waste coating floating in the box body is driven to enter the collecting box through the vent hole.
Drawings
FIG. 1 is a schematic view of the overall structure of the present invention;
FIG. 2 is a schematic view of the spray assembly of the present invention;
FIG. 3 is a schematic view of the moving assembly of the present invention;
FIG. 4 is a schematic view of the construction of a first strut and a second strut of the present invention;
FIG. 5 is a schematic view of a slider structure according to the present invention;
FIG. 6 is an enlarged view of the portion A of FIG. 2 according to the present invention.
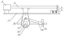
In the figure: 1. a box body; 2. a notch; 3. a guide rail; 4. a slider; 5. a connecting plate; 6. a support bar; 7. a support plate; 8. a screw rod; 9. a first motor; 10. a first pulley; 11. a screw; 12. a cross bar; 13. a bump; 14. a spray head; 15. a second motor; 16. a drive shaft; 17. a first support bar; 18. a second support bar; 19. a transverse plate; 20. a rib plate; 21. a vertical plate; 22. A door panel; 23. a rotating shaft; 24. a belt; 25. a fan blade; 26. and (4) collecting the box.
Detailed Description
The technical solutions in the embodiments of the present invention will be clearly and completely described below with reference to the drawings in the embodiments of the present invention, and it is obvious that the described embodiments are only a part of the embodiments of the present invention, and not all of the embodiments. All other embodiments, which can be derived by a person skilled in the art from the embodiments given herein without making any creative effort, shall fall within the protection scope of the present invention.
Referring to fig. 1 to 6, in an embodiment of the present invention, an ultrasonic wave-soldering spraying system apparatus includes a box 1, two sides of the box 1 are both provided with through notches 2, a moving assembly is disposed at a top end inside the box 1, and a spraying assembly is disposed at a bottom end inside the box 1;
the moving assembly comprises a guide rail 3, sliders 4, a connecting plate 5, a support rod 6, a support plate 7, a screw rod 8 and a first motor 9, the guide rail 3 is arranged at the bottom of the notch 2, the guide rail 3 is fixedly connected with the box body 1, the sliders 4 are arranged at the top of the guide rail 3 and are in sliding connection with the guide rail 3, the number of the sliders 4 is multiple, the connecting plate 5 is arranged between two adjacent sliders 4, a penetrating screw rod 11 is arranged on the outer side of the connecting plate 5, one end of the screw rod 11 is fixedly connected with a handle, the guide rail 3 is fixedly connected with the box body 1 through welding, a door plate 22 is arranged on the outer side of the box body 1 and is hinged with the box body 1, a handle is fixedly connected on the outer side of the door plate 22, a workpiece to be processed can be clamped through the screw rod 11, the supporting plate 7 is fixedly connected with one end of the supporting rod 6 far away from the sliding block 4, the screw rod 8 penetrates through the supporting plate 7 and is in threaded connection with the supporting plate 7, the first motor 9 is arranged at one end of the screw rod 8 far away from the supporting plate 7, the screw rod 8 is fixedly connected with the output end of the first motor 9, the structure is favorable for mounting and dismounting a workpiece to be processed, thereby being beneficial to later spraying, a transverse plate 19 is fixedly connected to one side of the box body 1, which is far away from the first motor 9, a rib plate 20 is fixedly connected between the transverse plate 19 and the box body 1, a vertical plate 21 is fixedly connected to the bottom end of the transverse plate 19, one end of the lead screw 8, which is far away from the first motor 9, is rotatably connected with the vertical plate 21, the vertical plate 21 is beneficial to installation of the lead screw 8, a base is arranged at the bottom end of the first motor 9, the base is fixedly connected with the guide rail 3 through welding, a base is arranged at the bottom end of the second motor 15, the base is fixedly connected with the box body;
the spraying component comprises a cross rod 12, a convex block 13, a spray head 14, a second motor 15, a transmission shaft 16, a first support rod 17 and a second support rod 18, the cross rod 12 is fixedly connected inside the box body 1, the convex block 13 is connected outside the cross rod 12 in a sliding manner, the transmission shaft 16 is fixedly connected with the output end of the second motor 15, the first support rod 17 is arranged at one end of the transmission shaft 16 far away from the second motor 15 and is fixedly connected with the transmission shaft 16, the second support rod 18 is arranged at one side of the convex block 13 close to the second motor 15, one end of the second support rod 18 is hinged with the first support rod 17, the other end of the second support rod 18 is hinged with the convex block 13, one side of the second support rod 18 close to the second motor 15 is fixedly connected with a first round shaft, the first round shaft penetrates through the first support rod 17 and is rotatably connected with the first support rod 17, one side of the convex block 13 close to the second support rod 18, this structure can drive the removal of shower nozzle 14 and remove, and shower nozzle 14 sets up in lug 13 top, and this structure utilizes lug 13 can drive the shower nozzle 14 at its top and remove, and then moves the position that the work piece bottom needs the spraying, is favorable to accomplishing the spraying operation to the work piece, and this structure can conveniently adjust the position of shower nozzle 14 fast, can show the efficiency that improves the spraying.
16 tops of transmission shaft are provided with pivot 23, pivot 23 runs through box 1 and rotates with box 1 to be connected, the first band pulley 10 of 16 outside fixedly connected with of transmission shaft, the second band pulley of the fixedly connected with in the 23 outside of pivot, first band pulley 10 and the second band pulley outside are provided with belt 24, pivot 23 extends to the inside one end fixedly connected with flabellum 25 of box 1, this structure is favorable to preventing that the waste material of spraying from spilling over box 1 and causing the pollution to the environment, environmental protection more when in-service use, be favorable to protecting the environment.
The box 1 outside is provided with collects box 26, and box 1 is close to and is provided with the air vent on one side of collecting box 26, and the air vent sets up inside collecting box 26, collects box 26 and is favorable to collecting dumped spraying liquid.
The working principle of the invention is as follows: the notch 2 is arranged on the outer side of the box body 1, a workpiece to be processed is placed between the left sliding block 4 and the right sliding block 4 when the spraying machine is used, the screw rod 11 is driven to rotate through the handle, the screw rod 11 is in threaded connection with the connecting plate 5, the screw rod 11 can be driven to move when being rotated, the workpiece to be processed can be clamped through the screw rod 11, the output end of the first motor 9 drives the screw rod 8 to rotate, the screw rod 8 penetrates through the supporting plate 7 and is in threaded connection with the supporting plate 7, the clamped workpiece can move towards the interior of the box body 1 through the rotation of the screw rod 8, and the spraying machine is beneficial to mounting and dismounting the workpiece to be processed, so that later-stage;
the output end of the second motor 15 drives the transmission shaft 16 to rotate, the transmission shaft 16 can drive the first support rod 17 at one end of the transmission shaft to rotate, one end of the second support rod 18 is hinged with the first support rod 17, and the other end of the second support rod 18 is hinged with the lug 13, so that the second support rod 18 can be driven to deflect by the rotating first support rod 17, the lug 13 is driven to slide left and right by the second support rod 18, at the moment, the cross rod 12 is arranged, the cross rod 12 penetrates through the lug 13 and is in sliding connection with the lug 13, the lug 13 can be supported, the moving stability of the lug is improved, the spray head 14 at the top of the lug 13 can be driven to move by the lug 13, the spray head can move to a part needing spraying at the bottom of the workpiece, the spraying operation on the workpiece can be completed, the position of the spray;
can drive first band pulley 10 when second motor 15 drives transmission shaft 16 and rotates, and be provided with belt 24 in first band pulley 10 and the second band pulley outside, can drive the second band pulley through first band pulley 10 and rotate, thereby it rotates to drive pivot 23, pivot 23 can drive the flabellum 25 rotation of its one end, flabellum 25 rotates and can form the air current, and then it enters into inside collection box 26 to drive the abandonment coating that drifts away at box 1 inside through the air vent, this structure is favorable to preventing that the waste material of spraying from spilling over box 1 and causing the pollution to the environment, environmental protection more when in-service use, be favorable to protecting the environment.
The above description is only for the preferred embodiment of the present invention, but the scope of the present invention is not limited thereto, and any person skilled in the art should be considered to be within the technical scope of the present invention, and the technical solutions and the inventive concepts thereof according to the present invention should be equivalent or changed within the scope of the present invention.
Claims (8)
1. The utility model provides a wave-soldering water-spraying system equipment based on ultrasonic wave, includes box (1), box (1) both sides all are provided with notch (2) that run through, its characterized in that: the top end in the box body (1) is provided with a moving assembly, and the bottom end in the box body (1) is provided with a spraying assembly;
the moving assembly comprises a guide rail (3), a sliding block (4), a connecting plate (5), a supporting rod (6), a supporting plate (7), a screw rod (8) and a first motor (9), the guide rail (3) is arranged at the bottom of the notch (2), the guide rail (3) is fixedly connected with the box body (1), the sliding block (4) is arranged at the top of the guide rail (3) and is in sliding connection with the guide rail (3), the sliding blocks (4) are arranged in a plurality, the connecting plate (5) is arranged between two adjacent sliding blocks (4), a penetrating screw rod (11) is arranged on the outer side of the connecting plate (5), the supporting rod (6) is fixedly connected with the top of the sliding block (4), the supporting plate (7) is fixedly connected with one end, far away from the sliding block (4), of the supporting plate (6), and the screw rod (8) penetrates through the supporting plate (, the first motor (9) is arranged at one end of the screw rod (8) far away from the supporting plate (7), and the screw rod (8) is fixedly connected with the output end of the first motor (9);
the spraying assembly comprises a cross rod (12), a convex block (13), a spray head (14), a second motor (15), a transmission shaft (16), a first support rod (17) and a second support rod (18), the cross rod (12) is fixedly connected to the inside of the box body (1), the convex block (13) is slidably connected to the outer side of the cross rod (12), the transmission shaft (16) is fixedly connected with the output end of the second motor (15), the first support rod (17) is arranged on the transmission shaft (16) to be far away from one end of the second motor (15) and fixedly connected with the transmission shaft (16), the second support rod (18) is arranged on one side, close to the second motor (15), of the convex block (13), one end of the second support rod (18) is hinged to the first support rod (17), the other end of the second support rod (18) is hinged to the convex block (13), and the spray head (14) is arranged on the top.
2. An ultrasonic-based wave soldering spraying system apparatus as claimed in claim 1, wherein: the box (1) is far away from one side of the first motor (9) and is fixedly connected with a transverse plate (19), a rib plate (20) is fixedly connected between the transverse plate (19) and the box (1), a vertical plate (21) is fixedly connected to the bottom end of the transverse plate (19), and one end of the lead screw (8) far away from the first motor (9) is rotatably connected with the vertical plate (21).
3. An ultrasonic-based wave soldering spraying system apparatus as claimed in claim 1, wherein: the handle is fixedly connected with one end of the screw rod (11), the guide rail (3) is fixedly connected with the box body (1) through welding, a door plate (22) is arranged on the outer side of the box body (1), the door plate (22) is hinged to the box body (1), and the handle is fixedly connected to the outer side of the door plate (22).
4. An ultrasonic-based wave soldering spraying system apparatus as claimed in claim 1, wherein: the base is arranged at the bottom end of the first motor (9), the base is fixedly connected with the welding guide rail (3), the base is arranged at the bottom end of the second motor (15), and the base is fixedly connected with the box body (1) through welding.
5. An ultrasonic-based wave soldering spraying system apparatus as claimed in claim 1, wherein: second branch (18) are close to the first circle axle of second motor (15) one side fixedly connected with, first circle axle runs through first branch (17) and rotates with first branch (17) to be connected, lug (13) are close to second branch (18) one side fixedly connected with second circle axle, second circle axle runs through second branch (18) and rotates with second branch (18) to be connected.
6. An ultrasonic-based wave soldering spraying system apparatus as claimed in claim 1, wherein: transmission shaft (16) top is provided with pivot (23), pivot (23) run through box (1) and rotate with box (1) and be connected, the first band pulley (10) of transmission shaft (16) outside fixedly connected with, pivot (23) outside fixedly connected with second band pulley, first band pulley (10) and the second band pulley outside are provided with belt (24), pivot (23) extend to box (1) inside one end fixedly connected with flabellum (25).
7. An ultrasonic-based wave soldering spraying system apparatus as claimed in claim 1, wherein: the collecting box (26) is arranged on the outer side of the box body (1), a vent hole is formed in one side, close to the collecting box (26), of the box body (1), and the vent hole is formed in the collecting box (26).
8. An ultrasonic-based wave soldering spraying system apparatus as claimed in claim 1, wherein: the bottom end of the sliding block (4) is provided with a sliding groove, and the sliding block (4) is connected with the guide rail (3) in a sliding mode through the sliding groove.
Priority Applications (1)
| Application Number | Priority Date | Filing Date | Title |
|---|---|---|---|
| CN202011585587.9A CN112844934A (en) | 2020-12-29 | 2020-12-29 | Wave-soldering spraying system equipment based on ultrasonic wave |
Applications Claiming Priority (1)
| Application Number | Priority Date | Filing Date | Title |
|---|---|---|---|
| CN202011585587.9A CN112844934A (en) | 2020-12-29 | 2020-12-29 | Wave-soldering spraying system equipment based on ultrasonic wave |
Publications (1)
| Publication Number | Publication Date |
|---|---|
| CN112844934A true CN112844934A (en) | 2021-05-28 |
Family
ID=75997935
Family Applications (1)
| Application Number | Title | Priority Date | Filing Date |
|---|---|---|---|
| CN202011585587.9A Pending CN112844934A (en) | 2020-12-29 | 2020-12-29 | Wave-soldering spraying system equipment based on ultrasonic wave |
Country Status (1)
| Country | Link |
|---|---|
| CN (1) | CN112844934A (en) |
Citations (10)
| Publication number | Priority date | Publication date | Assignee | Title |
|---|---|---|---|---|
| DE4306523A1 (en) * | 1993-03-03 | 1994-09-08 | Kabelmetal Electro Gmbh | Electromagnetic oscillation system |
| CN108031595A (en) * | 2017-12-28 | 2018-05-15 | 方宣崇 | A kind of paint spraying apparatus of engineering machinery car body |
| CN207667880U (en) * | 2017-11-15 | 2018-07-31 | 安徽邦尼特轨道装备有限公司 | One kind can transverse shifting spray painting clamping tooling |
| CN108816574A (en) * | 2018-07-23 | 2018-11-16 | 合肥工业大学 | A kind of robot automation's spray-painting production line work station towards large-scale assembling class furniture |
| CN109530138A (en) * | 2018-11-27 | 2019-03-29 | 安徽蓝华环保科技有限公司 | A kind of uniform environmentally friendly paint spraying apparatus of spray painting |
| CN109530160A (en) * | 2018-12-12 | 2019-03-29 | 佛山市顺德区天本模具制造有限公司 | A kind of handware automatic positioning glue applying mechanism |
| CN110899026A (en) * | 2019-11-30 | 2020-03-24 | 徐州九龙电子工业有限公司 | High-efficient spraying device is used to electric motor car accessory |
| CN210756960U (en) * | 2019-07-11 | 2020-06-16 | 长泰鑫邦塑胶五金有限公司 | A environmental protection grinding device for plastic products |
| CN111389642A (en) * | 2020-03-24 | 2020-07-10 | 杭州驰飞超声波设备有限公司 | Ultrasonic spraying machine |
| CN111644318A (en) * | 2020-06-29 | 2020-09-11 | 李闯 | Position automatic adjusting device for workpiece spraying |
-
2020
- 2020-12-29 CN CN202011585587.9A patent/CN112844934A/en active Pending
Patent Citations (10)
| Publication number | Priority date | Publication date | Assignee | Title |
|---|---|---|---|---|
| DE4306523A1 (en) * | 1993-03-03 | 1994-09-08 | Kabelmetal Electro Gmbh | Electromagnetic oscillation system |
| CN207667880U (en) * | 2017-11-15 | 2018-07-31 | 安徽邦尼特轨道装备有限公司 | One kind can transverse shifting spray painting clamping tooling |
| CN108031595A (en) * | 2017-12-28 | 2018-05-15 | 方宣崇 | A kind of paint spraying apparatus of engineering machinery car body |
| CN108816574A (en) * | 2018-07-23 | 2018-11-16 | 合肥工业大学 | A kind of robot automation's spray-painting production line work station towards large-scale assembling class furniture |
| CN109530138A (en) * | 2018-11-27 | 2019-03-29 | 安徽蓝华环保科技有限公司 | A kind of uniform environmentally friendly paint spraying apparatus of spray painting |
| CN109530160A (en) * | 2018-12-12 | 2019-03-29 | 佛山市顺德区天本模具制造有限公司 | A kind of handware automatic positioning glue applying mechanism |
| CN210756960U (en) * | 2019-07-11 | 2020-06-16 | 长泰鑫邦塑胶五金有限公司 | A environmental protection grinding device for plastic products |
| CN110899026A (en) * | 2019-11-30 | 2020-03-24 | 徐州九龙电子工业有限公司 | High-efficient spraying device is used to electric motor car accessory |
| CN111389642A (en) * | 2020-03-24 | 2020-07-10 | 杭州驰飞超声波设备有限公司 | Ultrasonic spraying machine |
| CN111644318A (en) * | 2020-06-29 | 2020-09-11 | 李闯 | Position automatic adjusting device for workpiece spraying |
Similar Documents
| Publication | Publication Date | Title |
|---|---|---|
| CN118745929A (en) | An environmentally friendly dust removal device for mines | |
| CN207239277U (en) | A kind of solid wall pipe shaping cutting machine | |
| CN112844934A (en) | Wave-soldering spraying system equipment based on ultrasonic wave | |
| CN204815979U (en) | Paint recovery unit | |
| CN220101271U (en) | Dust settling machine for mining | |
| CN214292764U (en) | A intelligent regulation anchor clamps for atomizing lid production | |
| CN218047138U (en) | An environmentally friendly sprinkler | |
| CN212020937U (en) | Splitting machine for processing PE pipe | |
| CN223747306U (en) | A baffle-type desulfurization tower demister | |
| CN215654533U (en) | An electrical engineering automation dust removal device | |
| CN220748251U (en) | Dust removal system for underground tunneling working face | |
| CN223171165U (en) | Spraying device for alloy section bar | |
| CN219291867U (en) | Novel glue filling machine | |
| CN222767901U (en) | Piece collection device is used in spring steel cutting processing | |
| CN220110680U (en) | Powder spraying's spraying dust device | |
| CN220613621U (en) | Dust removing device of shot blasting room | |
| CN220142917U (en) | Site dust fall equipment for constructional engineering | |
| CN222197458U (en) | Ultrasonic spraying machine with automatic turnover mechanism | |
| CN113426232B (en) | A environmental protection purifier for handling dust sediment of polishing | |
| CN118357056B (en) | Dust removal structure for ore crusher | |
| CN112473290A (en) | Atomizing device and dust fall equipment based on venturi principle | |
| CN220590438U (en) | Efficient double-colored reciprocating engine | |
| CN222468474U (en) | A dust suppression device for residual anode storage yard | |
| CN220918665U (en) | Efficient gas distributor | |
| CN220658026U (en) | Automatic coating mechanism capable of saving coating |
Legal Events
| Date | Code | Title | Description |
|---|---|---|---|
| PB01 | Publication | ||
| PB01 | Publication | ||
| SE01 | Entry into force of request for substantive examination | ||
| SE01 | Entry into force of request for substantive examination | ||
| RJ01 | Rejection of invention patent application after publication |
Application publication date: 20210528 |
|
| RJ01 | Rejection of invention patent application after publication |