CN112762495A - Volute component and range hood with same - Google Patents

Volute component and range hood with same Download PDF

Info

Publication number
CN112762495A
CN112762495A CN202110187755.7A CN202110187755A CN112762495A CN 112762495 A CN112762495 A CN 112762495A CN 202110187755 A CN202110187755 A CN 202110187755A CN 112762495 A CN112762495 A CN 112762495A
Authority
CN
China
Prior art keywords
electrostatic
volute
range hood
module
volute assembly
Prior art date
Legal status (The legal status is an assumption and is not a legal conclusion. Google has not performed a legal analysis and makes no representation as to the accuracy of the status listed.)
Pending
Application number
CN202110187755.7A
Other languages
Chinese (zh)
Inventor
马雪玲
许宁
张皓坤
任东雪
Current Assignee (The listed assignees may be inaccurate. Google has not performed a legal analysis and makes no representation or warranty as to the accuracy of the list.)
Gree Electric Appliances Inc of Zhuhai
Original Assignee
Gree Electric Appliances Inc of Zhuhai
Priority date (The priority date is an assumption and is not a legal conclusion. Google has not performed a legal analysis and makes no representation as to the accuracy of the date listed.)
Filing date
Publication date
Application filed by Gree Electric Appliances Inc of Zhuhai filed Critical Gree Electric Appliances Inc of Zhuhai
Priority to CN202110187755.7A priority Critical patent/CN112762495A/en
Publication of CN112762495A publication Critical patent/CN112762495A/en
Pending legal-status Critical Current

Links

Images

Classifications

    • FMECHANICAL ENGINEERING; LIGHTING; HEATING; WEAPONS; BLASTING
    • F24HEATING; RANGES; VENTILATING
    • F24CDOMESTIC STOVES OR RANGES ; DETAILS OF DOMESTIC STOVES OR RANGES, OF GENERAL APPLICATION
    • F24C15/00Details
    • F24C15/20Removing cooking fumes
    • BPERFORMING OPERATIONS; TRANSPORTING
    • B03SEPARATION OF SOLID MATERIALS USING LIQUIDS OR USING PNEUMATIC TABLES OR JIGS; MAGNETIC OR ELECTROSTATIC SEPARATION OF SOLID MATERIALS FROM SOLID MATERIALS OR FLUIDS; SEPARATION BY HIGH-VOLTAGE ELECTRIC FIELDS
    • B03CMAGNETIC OR ELECTROSTATIC SEPARATION OF SOLID MATERIALS FROM SOLID MATERIALS OR FLUIDS; SEPARATION BY HIGH-VOLTAGE ELECTRIC FIELDS
    • B03C3/00Separating dispersed particles from gases or vapour, e.g. air, by electrostatic effect
    • FMECHANICAL ENGINEERING; LIGHTING; HEATING; WEAPONS; BLASTING
    • F04POSITIVE - DISPLACEMENT MACHINES FOR LIQUIDS; PUMPS FOR LIQUIDS OR ELASTIC FLUIDS
    • F04DNON-POSITIVE-DISPLACEMENT PUMPS
    • F04D29/00Details, component parts, or accessories
    • F04D29/40Casings; Connections of working fluid
    • F04D29/42Casings; Connections of working fluid for radial or helico-centrifugal pumps
    • F04D29/4206Casings; Connections of working fluid for radial or helico-centrifugal pumps especially adapted for elastic fluid pumps
    • F04D29/4226Fan casings

Landscapes

  • Engineering & Computer Science (AREA)
  • Mechanical Engineering (AREA)
  • General Engineering & Computer Science (AREA)
  • Chemical & Material Sciences (AREA)
  • Combustion & Propulsion (AREA)
  • Ventilation (AREA)

Abstract

本发明涉及一种上述蜗壳组件及设有其的吸油烟机,蜗壳组件包括:蜗壳本体,蜗壳本体界定形成进烟通道;静电除油模块,收容于进烟通道,静电除油模块能够产生具有吸附功能的电场。上述蜗壳组件,蜗壳组件中设置有一个或多个静电除油模块,该静电除油模块与设有该蜗壳组件的吸油烟机同时工作,进入蜗壳本体的进烟通道的油滴颗粒可在电场做作用下被吸附在静电除油模块上,从而防止油污在蜗壳本体和离心风轮上积累,避免因油污积累导致设有该蜗壳组件的吸油烟机出现吸力下降、噪声增大的问题,保证了吸油烟机的性能始终维持在较高水平。静电除油模块的设置还提高了油烟的油脂分离度,从而防止油污排放至环境中污染空气,提高了吸油烟机的环保性能。

Figure 202110187755

The invention relates to the above-mentioned volute assembly and a range hood provided with the volute assembly. The volute assembly comprises: a volute body, which defines a smoke inlet channel; The module can generate an electric field with adsorption function. The above volute assembly, the volute assembly is provided with one or more electrostatic oil removal modules, the electrostatic oil removal module and the range hood equipped with the volute assembly work simultaneously, and the oil droplets entering the smoke inlet channel of the volute body The particles can be adsorbed on the electrostatic degreasing module under the action of the electric field, so as to prevent the accumulation of oil pollution on the volute body and the centrifugal fan, and avoid the suction drop and noise of the range hood equipped with the volute assembly due to the accumulation of oil pollution. The increased problem ensures that the performance of the range hood is always maintained at a high level. The setting of the electrostatic oil removal module also improves the oil separation degree of the oil fume, thereby preventing the oil pollution from being discharged into the environment to pollute the air, and improving the environmental protection performance of the range hood.

Figure 202110187755

Description

Volute component and range hood with same
Technical Field
The invention relates to the technical field of kitchen equipment, in particular to a volute component and a range hood with the same.
Background
The cooking process of the cooking device is characterized in that the cooking device comprises a cooking body, a cooking range and a cooking range, wherein the cooking range is arranged on the cooking body, the cooking range is arranged on the cooking range, and the cooking range is arranged on the cooking range. In order to discharge the oil smoke generated in the cooking process in time, the range hood becomes one of necessary equipment of a kitchen, can adsorb and discharge the oil smoke generated in the cooking process in time, and obviously improves the cooking experience and the life quality of a user.
However, in the long-term use process of the range hood, grease in the smoke oil entering the range hood is easily attached to the interior of the range hood, and the grease accumulated in the interior of the range hood is more and more along with the passage of time, so that the performance of the range hood is reduced, and bacteria and peculiar smell are easily bred in the interior of the range hood to influence the user experience.
In order to clean the oil smoke in the range hood, the range hood is generally required to be integrally disassembled, but great difficulty is brought to users who are not familiar with the structure and the disassembly and assembly of the range hood, and a professional is required to wash the range hood, so that certain time and money are consumed, the use experience and the service life of the range hood are influenced, and inconvenience is brought to the life of people.
Disclosure of Invention
Therefore, it is necessary to provide a volute assembly and a range hood with the same, aiming at the problem that grease is easily deposited in the range hood, and the volute assembly and the range hood with the same can achieve the technical effect of effectively preventing the grease from being deposited to influence the performance of the range hood.
According to one aspect of the present application, there is provided a volute assembly comprising:
a volute body defining a smoke inlet passage; and
the electrostatic oil removal module is accommodated in the smoke inlet channel and can generate an electric field with an adsorption function.
In one embodiment, the electrostatic oil removal module is arranged on the inner wall of the volute body forming the smoke inlet channel.
In one embodiment, the range hood includes a plurality of the electrostatic oil removal modules, and the plurality of the electrostatic oil removal modules are arranged at intervals in the axial direction of the volute body.
In one embodiment, the electrostatic oil removal module comprises an electrostatic oil removal unit, the electrostatic oil removal unit comprises a positive plate and a negative plate which are arranged at intervals, a gap between the positive plate and the negative plate is communicated with the smoke inlet channel, and an electric field with an adsorption function can be generated between the positive plate and the negative plate.
In one embodiment, the electrostatic oil removal module comprises a plurality of groups of electrostatic oil removal units, the groups of electrostatic oil removal units are arranged at intervals, and gaps between the positive plate and the negative plate of every two adjacent groups of electrostatic oil removal units are communicated with each other.
In one embodiment, the electrostatic oil removal module further comprises an electrostatic oil removal housing, the electrostatic oil removal housing is provided with an electrostatic oil removal unit accommodating cavity communicated with the smoke inlet channel, and the electrostatic oil removal unit is accommodated in the electrostatic oil removal unit accommodating cavity.
In one of them embodiment, the static deoiling casing includes the casing diapire and certainly the casing lateral wall that the casing diapire formed towards same direction extension, the casing lateral wall along the axial around the casing lateral wall with the casing lateral wall defines jointly and forms the static deoiling unit holds the chamber, casing diapire rigid coupling in the spiral case body forms the inner wall of advancing the cigarette passageway, static deoiling unit rigid coupling in the casing lateral wall.
In one embodiment, the volute assembly further comprises a replacement reminding module, and the replacement reminding module is used for detecting the weight of the electrostatic oil removal module and sending out reminding information according to the weight of the electrostatic oil removal module.
According to another aspect of the present application, a range hood is provided, which includes the above volute assembly.
In one embodiment, the range hood includes a main housing and a centrifugal wind wheel, the volute assembly is accommodated in the main housing, the centrifugal wind wheel is accommodated in the volute body of the volute assembly, and the centrifugal wind wheel can rotate in the smoke inlet channel to generate an airflow flowing into the smoke inlet channel.
Above-mentioned spiral case subassembly, be provided with one or more static deoiling modules in the spiral case subassembly, this static deoiling module and the range hood simultaneous working that is equipped with this spiral case subassembly, the oil droplet granule that enters into the cigarette passageway of spiral case body can be adsorbed on static deoiling module under the effect is done to the electric field to prevent grease and accumulate on spiral case body and centrifugal wind wheel, avoid leading to the range hood that is equipped with this spiral case subassembly to appear the suction because of the grease accumulation and descend, the problem of noise increase, guaranteed that range hood's performance maintains higher level all the time. And the arrangement of the electrostatic oil removal module also improves the oil-fat separation degree of the oil smoke, thereby preventing the oil from being discharged to the environment to pollute the air and improving the environmental protection performance of the range hood. Compared with the prior art, the range hood with the volute component does not need to be disassembled to clean the volute component, and does not need to be provided with a self-cleaning device with a complex structure to carry out self-cleaning, and clean wastes such as waste water and the like can not be generated, so that the range hood brings convenience to the life of people and can not cause extra pressure on environmental protection.
Drawings
Fig. 1 is a schematic structural diagram of a range hood according to an embodiment of the present invention;
fig. 2 is a sectional view of an electrostatic oil removal module of the extractor hood shown in fig. 1.
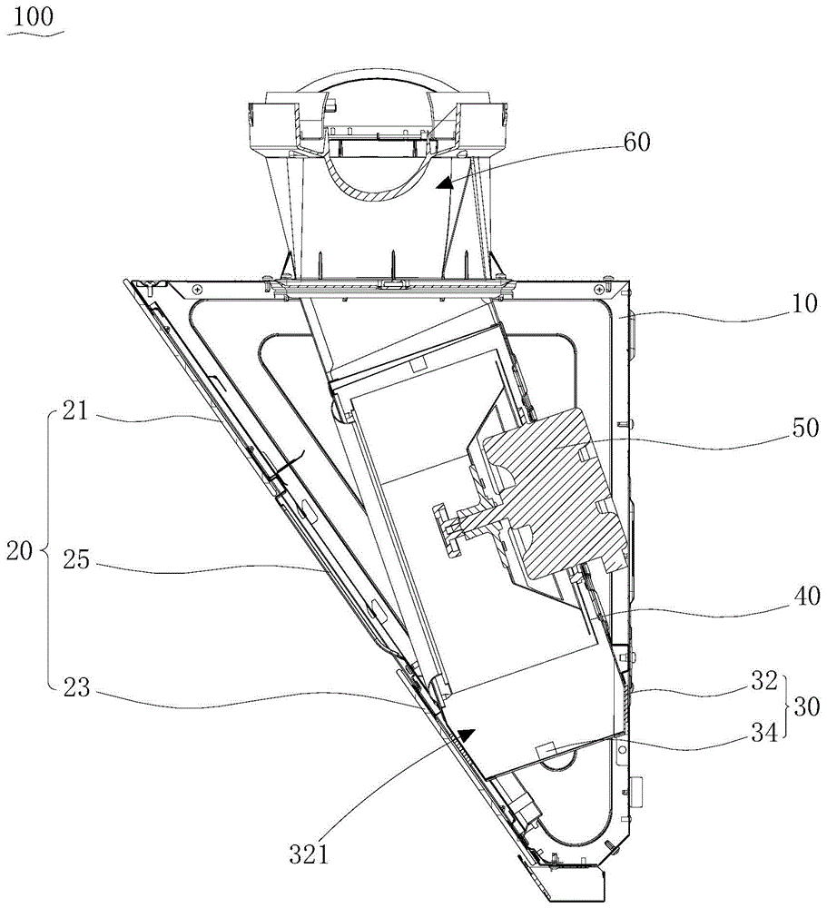
The reference numbers illustrate:
100. a range hood; 10. a main housing; 20. a panel assembly; 21. an upper panel; 23. a lower panel;
25. an oil screen; 30. a volute assembly; 32. a volute body; 321. a smoke inlet channel; 34. an electrostatic degreasing module;
341. an electrostatic degreasing housing; 3412. an electrostatic degreasing unit accommodating cavity; 343. an electrostatic degreasing unit; 3432.
a positive plate; 3434. a negative plate; 40. a centrifugal wind wheel; 50. a drive motor; 60. a check valve assembly.
Detailed Description
In order to make the aforementioned objects, features and advantages of the present invention comprehensible, embodiments accompanied with figures are described in detail below. In the following description, numerous specific details are set forth in order to provide a thorough understanding of the present invention. This invention may, however, be embodied in many different forms and should not be construed as limited to the embodiments set forth herein.
In the description of the present invention, it is to be understood that the terms "central," "longitudinal," "lateral," "length," "width," "thickness," "upper," "lower," "front," "rear," "left," "right," "vertical," "horizontal," "top," "bottom," "inner," "outer," "clockwise," "counterclockwise," "axial," "radial," "circumferential," and the like are used in the orientations and positional relationships indicated in the drawings for convenience in describing the invention and to simplify the description, and are not intended to indicate or imply that the referenced device or element must have a particular orientation, be constructed and operated in a particular orientation, and are not to be considered limiting of the invention.
Furthermore, the terms "first", "second" and "first" are used for descriptive purposes only and are not to be construed as indicating or implying relative importance or implicitly indicating the number of technical features indicated. Thus, a feature defined as "first" or "second" may explicitly or implicitly include at least one such feature. In the description of the present invention, "a plurality" means at least two, e.g., two, three, etc., unless specifically limited otherwise.
In the present invention, unless otherwise expressly stated or limited, the terms "mounted," "connected," "secured," and the like are to be construed broadly and can, for example, be fixedly connected, detachably connected, or integrally formed; can be mechanically or electrically connected; they may be directly connected or indirectly connected through intervening media, or they may be connected internally or in any other suitable relationship, unless expressly stated otherwise. The specific meanings of the above terms in the present invention can be understood by those skilled in the art according to specific situations.
In the present invention, unless otherwise expressly stated or limited, the first feature "on" or "under" the second feature may be directly contacting the first and second features or indirectly contacting the first and second features through an intermediate. Also, a first feature "on," "over," and "above" a second feature may be directly or diagonally above the second feature, or may simply indicate that the first feature is at a higher level than the second feature. A first feature being "under," "below," and "beneath" a second feature may be directly under or obliquely under the first feature, or may simply mean that the first feature is at a lesser elevation than the second feature.
It will be understood that when an element is referred to as being "secured to" or "disposed on" another element, it can be directly on the other element or intervening elements may also be present. When an element is referred to as being "connected" to another element, it can be directly connected to the other element or intervening elements may also be present. The terms "vertical," "horizontal," "upper," "lower," "left," "right," and the like as used herein are for illustrative purposes only and do not denote a unique embodiment.
Referring to fig. 1, fig. 1 shows a schematic structural diagram of a range hood according to an embodiment of the present invention.
An embodiment of the present invention provides a range hood 100 for absorbing and filtering oil smoke generated during a cooking process. The structure of the range hood 100 in the present application will be described below by taking the range hood 100 as an example of a side-draft range hood in which oil smoke enters the range hood 100 from a side surface of the range hood 100. The present embodiment is described as an example, and the technical scope of the present application is not limited thereto. It is understood that in other embodiments, the range hood 100 may also be embodied as a ceiling-mounted range hood, and the oil smoke enters the range hood 100 from the lower side of the range hood 100, which is not limited herein.
Specifically, the range hood 100 includes a main housing 10, a panel assembly 20, a volute assembly 30, a centrifugal wind wheel 40, a drive motor 50, and a check valve assembly 60. The main housing 10 is a hollow housing structure with a right triangle-shaped longitudinal section, the main housing 10 has a main accommodating cavity, and a panel assembly 20 is installed on one side of the main housing 10. The panel assembly 20 is disposed obliquely toward the cooking area and includes an upper panel 21, a lower panel 23, and an oil screen 25, the oil screen 25 being located between the upper panel 21 and the lower panel 23, and the oil can pass through the oil screen 25 into the main receiving cavity of the main housing 10.
The volute component 30 is arranged in the main accommodating cavity of the main shell 10, the volute component 30 defines a smoke inlet channel 321 communicated with the oil screen 25, the centrifugal wind wheel 40 is accommodated in the smoke inlet channel 321, the driving motor 50 is accommodated in the main accommodating cavity of the main shell 10 and is in transmission connection with the centrifugal wind wheel 40, and the centrifugal wind wheel 40 can generate air flow entering the smoke inlet channel 321 under the driving of the driving motor 50. The check valve assembly 60 is provided at the top of the main housing 10 and communicates with the smoke inlet passage 321 and the smoke tube, and the check valve assembly 60 prevents smoke in the smoke tube from flowing back into the smoke inlet passage 321.
When the range hood 100 operates, the driving motor 50 drives the centrifugal wind wheel 40 to rotate to generate centrifugal force, so that negative pressure is generated in the smoke inlet passage 321 to form airflow flowing into the smoke inlet passage 321, and the oil smoke outside the panel assembly 20 passes through the oil screen 25 to enter the smoke inlet passage 321, and then passes through the centrifugal wind wheel 40 and the check valve assembly 60 to be discharged to the outside through the smoke pipe.
It is understood that the specific structure of the range hood 100 is not a main inventive point of the present application, and the internal structure of the range hood 100 may be configured as required, which is not described herein again.
The inventor finds that, in the research process, the centrifugal wind wheel 40 for generating negative pressure and the volute component 30 for guiding airflow to flow are used as core components of the range hood 100 and are located in a main area through which oil smoke flows, so that grease is very easy to deposit, and the grease deposited on the volute component 30 and the centrifugal wind wheel 40 can affect the dynamic balance of the centrifugal wind wheel 40 in the rotation process, so that the suction force of the range hood 100 is reduced, the noise is increased, and the performance of the range hood 100 is seriously affected. Moreover, the accumulated grease can gradually breed bacteria and peculiar smell to influence the use experience and the body health of a user, and secondary pollution is generated to the indoor environment. In addition, the oil content in the oil smoke discharged from the range hood 100 is high, which is not favorable for environmental protection.
In order to solve the problem caused by the deposition of grease in the range hood, the range hood on the market at present usually needs to be cleaned inside the range hood manually or a self-cleaning device is arranged to automatically clean the inside of the range hood.
In the manual cleaning process, the range hood can be cleaned only by integrally disassembling the range hood, but the range hood has great difficulty for users who are not familiar with the structure and the disassembly and assembly of the range hood, and the professionals are required to spend certain time and money for cleaning, so that the use experience and the service life of the range hood are influenced, and inconvenience is brought to the life of people.
The self-cleaning technology is mainly divided into two types of steam cleaning and thermal oil stain treatment. Wherein, the steam washing mainly comprises the steps of pumping water into a steam machine through a water pump, and washing the interior of the range hood through a nozzle of the steam machine to realize self-cleaning; the oil stain is heated to the melting point that the oil can be melted mainly by heating the inside of the range hood, so that the oil is melted and flows out of the range hood automatically to realize self-cleaning. However, grease is a stain which is not easy to dissolve, and the inventor finds that the automatic cleaning effect of the range hood with the self-cleaning function is not controllable, the self-cleaning device is complex and needs to consume a large amount of water, and a large amount of waste water is not easy to collect after cleaning, so that the requirement of a user is still difficult to meet.
In order to solve the above problem, the volute assembly 30 of the present application includes a volute body 32 and an electrostatic oil removal module 34, the volute body 32 is used for defining and forming a smoke inlet channel 321, the electrostatic oil removal module 34 is accommodated in the smoke inlet channel 321, and the electrostatic oil removal module 34 can generate an electric field with an adsorption function.
Therefore, oil drop particles entering the smoke inlet channel 321 of the volute body 32 can be adsorbed on the electrostatic oil removal module 34 under the action of the electric field, so that grease is prevented from being accumulated on the volute body 32 and the centrifugal wind wheel 40, the problems of reduced suction force and increased noise of the range hood 100 with the volute assembly 30 due to grease accumulation are avoided, and the performance of the range hood 100 is ensured to be maintained at a high level all the time. Moreover, the arrangement of the electrostatic oil removal module 34 also improves the oil-fat separation degree of the oil smoke, thereby preventing the oil from being discharged into the environment to pollute the air and improving the environmental protection performance of the range hood 100.
Referring to fig. 1, the electrostatic oil removing module 34 is detachably mounted on the inner wall of the volute body 32 forming the smoke inlet channel 321, so as to effectively adsorb oil drops entering the smoke inlet channel 321. Specifically, in one embodiment, the electrostatic degreasing module 34 is mounted to the inner wall of the volute body by fasteners such as screws. It is understood that the mounting manner of the electrostatic oil removal module 34 is not limited thereto, and in other embodiments, the electrostatic oil removal module 34 may be mounted on the inner wall of the volute body 32 by means of a snap-fit connection.
Further, in some embodiments, the range hood 100 includes two sets of electrostatic oil removal modules 34, and the two sets of electrostatic oil removal modules 34 are symmetrically disposed at the upper and lower ends of the volute body 32, so as to respectively adsorb oil droplets entering the smoke inlet passage 321 from the upper side of the smoke inlet passage 321 and the lower side of the smoke inlet passage 321, and have a good oil removal effect.
It is understood that the number and the specific installation position of the electrostatic oil removal modules 34 of the range hood 100 are not limited. In some embodiments, the range hood 100 includes only one electrostatic degreasing module 34, and the electrostatic degreasing module 34 may be disposed above, below, or at any other position of the volute body 32. In other embodiments, the range hood 100 includes a plurality of electrostatic degreasing modules 34, and the plurality of electrostatic degreasing modules 34 are spaced apart in an axial direction of the volute body 32.
Referring to fig. 2, fig. 2 is a schematic structural diagram of an electrostatic degreasing module 34 according to an embodiment of the invention.
In some embodiments, the electrostatic degreasing module 34 includes an electrostatic degreasing housing 341 and an electrostatic degreasing unit 343. The electrostatic oil removing housing 341 is a housing-shaped structure with an opening at one end, and includes a housing bottom wall and a housing side wall formed by extending from the housing bottom wall toward the same direction, the housing side wall axially surrounds the housing side wall to define the electrostatic oil removing unit accommodating cavity 3412 together with the housing side wall, the housing bottom wall is fixedly connected to the volute body 32, and the electrostatic oil removing unit accommodating cavity 3412 is away from the opening at one end of the housing bottom wall to communicate with the smoke inlet passage 321.
The electrostatic degreasing unit 343 includes a positive electrode plate 3432 and a negative electrode plate 3434, the positive electrode plate 3432 and the negative electrode plate 3434 being disposed at intervals on opposite sides of the case side wall, the positive electrode plate 3432 and the negative electrode plate 3434 each having a rectangular plate-like structure, a gap between the positive electrode plate 3432 and the negative electrode plate 3434 communicating with the smoke inlet passage 321 through an open end of the electrostatic degreasing case 341, and an electric field having an adsorption function being able to be generated between the positive electrode plate 3432 and the negative electrode plate 3434. In this way, when the positive electrode plate 3432 and the negative electrode plate 3434 are energized to generate an electric field, oil droplets entering the smoke inlet passage 321 enter the electrostatic oil removing unit accommodating chamber 3412 by adsorption of the electric field and are adsorbed on the positive electrode plate 3432 or the negative electrode plate 3434.
Specifically, in some embodiments, the positive electrode plate 3432 and the negative electrode plate 3434 are secured to the electrostatic degreasing housing 341 by fasteners such as screws. It is to be understood that the fixing manner of the positive electrode plate 3432 and the negative electrode plate 3434 is not limited, and may be set as needed to meet different requirements. For example, in some embodiments, a snap is disposed in the electrostatic oil removal unit 343, and the positive electrode plate 3432 and the negative electrode plate 3434 are snapped into the snap.
In some embodiments, the electrostatic degreasing module 34 includes one set of electrostatic degreasing units 343, and in other embodiments, the electrostatic degreasing module 34 includes a plurality of sets of electrostatic degreasing units 343, the plurality of sets of electrostatic degreasing units 343 are arranged at intervals, and gaps between the positive electrode plate 3432 and the negative electrode plate 3434 of each two adjacent sets of electrostatic degreasing units 343 are communicated with each other, so that the adsorption effect is effectively improved. It can be understood that the number and arrangement of the electrostatic oil removing units 343 are not limited, and may be set as required to meet different requirements.
Specifically, in one embodiment, the electrostatic oil removing housing 341 is a cube-shaped structure, the bottom wall of the housing is a rectangle, the side walls of the housing include a front side wall, a rear side wall, a left side wall and a right side wall, the front side wall and the rear side wall are parallel and opposite to each other, the left side wall and the right side wall are connected between the front side wall and the rear side wall, and the left side wall and the right side wall are parallel and opposite to each other. The positive electrode plate 3432 and the negative electrode plate 3434 in the group of electrostatic degreasing units 343 are disposed on the case front side wall and the case rear side wall or the case left side wall and the case right side wall, respectively. It is to be understood that the shape of the electrostatic degreasing housing 341 is not limited thereto, and may be set as needed to meet various requirements.
In some embodiments, the range hood 100 further includes an electrical box circuit board, which is connected to the electrostatic oil removal module 34 through a wire to supply power to the electrostatic oil removal module 34. It is understood that the power supply mode of the electrostatic degreasing module 34 is not limited, and may be set as required to meet different requirements.
In some embodiments, the volute assembly 30 further includes a replacement reminding module (not shown) for detecting the weight of the electrostatic degreasing module 34 and sending a reminding message according to the weight of the electrostatic degreasing module 34, so as to prompt a user to replace the electrostatic degreasing module 34 in time, thereby ensuring a good degreasing effect.
Specifically, the replacement reminding module includes a weight sensor for detecting the weight of the electrostatic degreasing module 34 and comparing the acquired weight with a target weight, and when the weight of the electrostatic degreasing module 34 is determined to exceed the target weight, it indicates that too much grease is accumulated in the electrostatic degreasing module 34, and the replacement reminding module reminds the user to replace the electrostatic degreasing module 34. It can be understood that the reminding mode of the replacement reminding module is not limited, and the modes of sound reminding, light reminding and the like can be adopted. For example, when the weight of the electrostatic degreasing module 34 is judged to exceed the target weight, the user may be reminded by sounding a buzzer and flashing a light.
Above-mentioned spiral case subassembly 30 and be equipped with its range hood 100, be provided with one or more static deoiling module 34 in the spiral case subassembly 30, this static deoiling module 34 and range hood 100 work simultaneously, the oil smoke that gets into spiral case subassembly 30 can be adsorbed to on the positive plate 3432 or the negative plate 3434 of static deoiling module 34 under the electric field effect to avoid grease to deposit on spiral case body 32 and centrifugal wind wheel 40, and then avoid centrifugal wind wheel 40 to influence the dynamic balance in the rotation because of accumulating too much grease, avoid the performance degradation of range hood 100. Meanwhile, the electrostatic oil removal module 34 can absorb grease in the oil smoke, so that the grease separation degree of the oil smoke is effectively improved, the grease content in the oil smoke discharged from the range hood 100 is reduced, and the environmental protection performance of the range hood 100 is improved to a limited extent. Compared with the prior art, the range hood 100 of the application does not need to be disassembled to clean the volute component 30 and the centrifugal wind wheel 40, does not need to be provided with a self-cleaning device with a complex structure to carry out self-cleaning, and does not generate cleaning wastes such as waste water, so that the range hood brings convenience to the life of people and does not cause extra pressure on environmental protection.
The technical features of the embodiments described above may be arbitrarily combined, and for the sake of brevity, all possible combinations of the technical features in the embodiments described above are not described, but should be considered as being within the scope of the present specification as long as there is no contradiction between the combinations of the technical features.
The above-mentioned embodiments only express several embodiments of the present invention, and the description thereof is more specific and detailed, but not construed as limiting the scope of the invention. It should be noted that, for a person skilled in the art, several variations and modifications can be made without departing from the inventive concept, which falls within the scope of the present invention. Therefore, the protection scope of the present patent shall be subject to the appended claims.

Claims (10)

1.一种蜗壳组件,其特征在于,蜗壳组件包括:1. a volute assembly is characterized in that, the volute assembly comprises: 蜗壳本体(32),所述蜗壳本体(32)界定形成进烟通道(321);及a volute body (32) defining a smoke inlet passage (321); and 静电除油模块(34),收容于所述进烟通道(321),所述静电除油模块(34)能够产生具有吸附功能的电场。An electrostatic degreasing module (34) is accommodated in the smoke inlet channel (321), and the electrostatic degreasing module (34) can generate an electric field with an adsorption function. 2.根据权利要求1所述的蜗壳组件,其特征在于,所述静电除油模块(34)设于所述蜗壳本体(32)形成所述进烟通道(321)的内壁。2 . The volute assembly according to claim 1 , wherein the electrostatic degreasing module ( 34 ) is provided on the inner wall of the volute body ( 32 ) to form the smoke inlet passage ( 321 ). 3 . 3.根据权利要求2所述的蜗壳组件,其特征在于,所述吸油烟机包括多个所述静电除油模块(34),多个所述静电除油模块(34)在所述蜗壳本体(32)的轴向方向上间隔排布。3. The volute assembly according to claim 2, wherein the range hood comprises a plurality of the electrostatic oil removal modules (34), and a plurality of the electrostatic oil removal modules (34) are installed in the volute The shell bodies (32) are arranged at intervals in the axial direction. 4.根据权利要求1所述的蜗壳组件,其特征在于,所述静电除油模块(34)包括静电除油单元(343),所述静电除油单元(343)包括间隔设置正极板(3432)和负极板(3434),所述正极板(3432)和所述负极板(3434)之间的间隙与所述进烟通道(321)连通,所述正极板(3432)和负极板(3434)之间能够产生具有吸附功能的电场。4. The volute assembly according to claim 1, wherein the electrostatic degreasing module (34) comprises an electrostatic degreasing unit (343), and the electrostatic degreasing unit (343) includes positive plates (343) arranged at intervals. 3432) and the negative plate (3434), the gap between the positive plate (3432) and the negative plate (3434) is communicated with the smoke inlet channel (321), the positive plate (3432) and the negative plate ( 3434) can generate an electric field with adsorption function. 5.根据权利要求4所述的蜗壳组件,其特征在于,所述静电除油模块(34)包括多组静电除油单元(343),多组所述静电除油单元(343)间隔排布,每相邻两组所述静电除油单元(343)的所述正极板(3432)和所述负极板(3434)之间的间隙相互连通。5. The volute assembly according to claim 4, characterized in that, the electrostatic degreasing module (34) comprises multiple groups of electrostatic degreasing units (343), and the multiple groups of electrostatic degreasing units (343) are arranged at intervals cloth, and the gaps between the positive electrode plates (3432) and the negative electrode plates (3434) of each adjacent two groups of the electrostatic degreasing units (343) are communicated with each other. 6.根据权利要求4所述的蜗壳组件,其特征在于,所述静电除油模块(34)还包括静电除油壳体(341),所述静电除油壳体(341)具有连通所述进烟通道(321)的静电除油单元容纳腔(3412),所述静电除油单元(343)收容于所述静电除油单元容纳腔(3412)中。6. The volute assembly according to claim 4, characterized in that, the electrostatic degreasing module (34) further comprises an electrostatic degreasing housing (341), the electrostatic degreasing housing (341) having a communication The electrostatic degreasing unit accommodating cavity (3412) of the smoke inlet channel (321), and the electrostatic degreasing unit (343) is accommodated in the electrostatic degreasing unit accommodating cavity (3412). 7.根据权利要求6所述的蜗壳组件,其特征在于,所述静电除油壳体(341)包括壳体底壁及自所述壳体底壁朝同一方向延伸形成的壳体侧壁,所述壳体侧壁沿轴向围绕所述壳体侧壁以与所述壳体侧壁共同界定形成所述静电除油单元容纳腔(3412),所述壳体底壁固接于所述蜗壳本体(32)形成所述进烟通道(321)的内壁,所述静电除油单元(343)固接于所述壳体侧壁。7 . The volute assembly according to claim 6 , wherein the electrostatic degreasing casing ( 341 ) comprises a casing bottom wall and a casing side wall extending from the casing bottom wall in the same direction. 8 . , the side wall of the casing surrounds the side wall of the casing in the axial direction to define together with the side wall of the casing to form the accommodating cavity (3412) of the electrostatic degreasing unit, and the bottom wall of the casing is fixed to the The volute body (32) forms the inner wall of the smoke inlet channel (321), and the electrostatic degreasing unit (343) is fixedly connected to the side wall of the casing. 8.根据权利要求1所述的蜗壳组件,其特征在于,所述蜗壳组件还包括更换提醒模块,所述更换提醒模块用于检测所述静电除油模块(34)的重量,并根据所述静电除油模块(34)的重量发出提醒信息。8. The volute assembly according to claim 1, wherein the volute assembly further comprises a replacement reminder module, the replacement reminder module is used to detect the weight of the electrostatic degreasing module (34), and according to The weight of the electrostatic degreasing module (34) sends out reminder information. 9.一种吸油烟机,其特征在于,包括如权利要求1至8任意一项所述的蜗壳组件。9. A range hood, characterized in that it comprises the volute assembly according to any one of claims 1 to 8. 10.根据权利要求9所述的蜗壳组件,其特征在于,所述吸油烟机包括主壳体(10)及离心风轮(40),所述蜗壳组件收容于所述主壳体(10)内,所述离心风轮(40)收容于所述蜗壳组件的所述蜗壳本体(32)内,所述离心风轮(40)能够在所述进烟通道(321)内转动以产生流入所述进烟通道(321)的气流。10. The volute assembly according to claim 9, wherein the range hood comprises a main casing (10) and a centrifugal fan wheel (40), and the volute assembly is accommodated in the main casing (10). 10), the centrifugal wind wheel (40) is accommodated in the volute body (32) of the volute assembly, and the centrifugal wind wheel (40) can rotate in the smoke inlet channel (321) so as to generate the airflow flowing into the smoke inlet channel (321).
CN202110187755.7A 2021-02-18 2021-02-18 Volute component and range hood with same Pending CN112762495A (en)

Priority Applications (1)

Application Number Priority Date Filing Date Title
CN202110187755.7A CN112762495A (en) 2021-02-18 2021-02-18 Volute component and range hood with same

Applications Claiming Priority (1)

Application Number Priority Date Filing Date Title
CN202110187755.7A CN112762495A (en) 2021-02-18 2021-02-18 Volute component and range hood with same

Publications (1)

Publication Number Publication Date
CN112762495A true CN112762495A (en) 2021-05-07

Family

ID=75703697

Family Applications (1)

Application Number Title Priority Date Filing Date
CN202110187755.7A Pending CN112762495A (en) 2021-02-18 2021-02-18 Volute component and range hood with same

Country Status (1)

Country Link
CN (1) CN112762495A (en)

Cited By (1)

* Cited by examiner, † Cited by third party
Publication number Priority date Publication date Assignee Title
CN113669771A (en) * 2021-09-22 2021-11-19 珠海格力电器股份有限公司 A range hood, a control method and a control device for a range hood

Citations (5)

* Cited by examiner, † Cited by third party
Publication number Priority date Publication date Assignee Title
CN201126219Y (en) * 2007-10-11 2008-10-01 海信(山东)空调有限公司 Cabinet air conditioner with air purification device installed
CN107101232A (en) * 2016-02-19 2017-08-29 博西华电器(江苏)有限公司 Smoke exhaust ventilator
CN109990331A (en) * 2017-12-29 2019-07-09 宁波方太厨具有限公司 The alarm method of High-voltage electrostatic purification device and the range hood of application this method
CN112361418A (en) * 2020-12-10 2021-02-12 珠海格力电器股份有限公司 Range hood cleaning method and device and range hood
CN215175322U (en) * 2021-02-18 2021-12-14 珠海格力电器股份有限公司 Volute component and range hood with same

Patent Citations (5)

* Cited by examiner, † Cited by third party
Publication number Priority date Publication date Assignee Title
CN201126219Y (en) * 2007-10-11 2008-10-01 海信(山东)空调有限公司 Cabinet air conditioner with air purification device installed
CN107101232A (en) * 2016-02-19 2017-08-29 博西华电器(江苏)有限公司 Smoke exhaust ventilator
CN109990331A (en) * 2017-12-29 2019-07-09 宁波方太厨具有限公司 The alarm method of High-voltage electrostatic purification device and the range hood of application this method
CN112361418A (en) * 2020-12-10 2021-02-12 珠海格力电器股份有限公司 Range hood cleaning method and device and range hood
CN215175322U (en) * 2021-02-18 2021-12-14 珠海格力电器股份有限公司 Volute component and range hood with same

Cited By (1)

* Cited by examiner, † Cited by third party
Publication number Priority date Publication date Assignee Title
CN113669771A (en) * 2021-09-22 2021-11-19 珠海格力电器股份有限公司 A range hood, a control method and a control device for a range hood

Similar Documents

Publication Publication Date Title
CN1784258B (en) air purifier
CN111012161A (en) cooking appliances
US7025812B2 (en) Portable air cleaning apparatus
CN117091179A (en) Integrated stove
CN114081405A (en) Dirt collecting box and cleaning equipment
CN215175322U (en) Volute component and range hood with same
CN112762495A (en) Volute component and range hood with same
CN208419056U (en) Machine and contain its kitchen air conditioner in air conditioning
KR102172664B1 (en) Construction kitchen hood filter device
CN113898984A (en) Range hood, control method thereof and computer-readable storage medium
CN106061580A (en) air purifier
CN216724456U (en) Dirt collecting box and cleaning equipment
CN212431109U (en) Be applied to washing module, hanging air conditioner of hanging air conditioner
CN108302750A (en) Purge module and air conditioner
CN112128870A (en) Washed air purifier
CN216393978U (en) cleaning robot
CN107514794B (en) Condensate water recycling filter device for air conditioner and air conditioner
CN213040662U (en) Water purification module and air conditioner
CN216557278U (en) Fume exhaust fan
CN216825385U (en) Oil smoke filtering component, smoke collecting device and range hood
KR200374130Y1 (en) Air conditioner a air filter assembly
CN221146611U (en) A fume purifier with cleaning function
CN218295883U (en) Fume exhaust fan
CN222773360U (en) Oil fume purification device and household appliances
CN221705796U (en) Filter device and water heater

Legal Events

Date Code Title Description
PB01 Publication
PB01 Publication
SE01 Entry into force of request for substantive examination
SE01 Entry into force of request for substantive examination