CN112743125A - Universal flange drill jig - Google Patents

Universal flange drill jig Download PDF

Info

Publication number
CN112743125A
CN112743125A CN201911055777.7A CN201911055777A CN112743125A CN 112743125 A CN112743125 A CN 112743125A CN 201911055777 A CN201911055777 A CN 201911055777A CN 112743125 A CN112743125 A CN 112743125A
Authority
CN
China
Prior art keywords
drill
jig
drill bushing
hole
universal flange
Prior art date
Legal status (The legal status is an assumption and is not a legal conclusion. Google has not performed a legal analysis and makes no representation as to the accuracy of the status listed.)
Pending
Application number
CN201911055777.7A
Other languages
Chinese (zh)
Inventor
郭永宁
许炳全
王赟刚
张菡
Current Assignee (The listed assignees may be inaccurate. Google has not performed a legal analysis and makes no representation or warranty as to the accuracy of the list.)
CNNC Sufa Technology Industry Co Ltd
Original Assignee
CNNC Sufa Technology Industry Co Ltd
Priority date (The priority date is an assumption and is not a legal conclusion. Google has not performed a legal analysis and makes no representation as to the accuracy of the date listed.)
Filing date
Publication date
Application filed by CNNC Sufa Technology Industry Co Ltd filed Critical CNNC Sufa Technology Industry Co Ltd
Priority to CN201911055777.7A priority Critical patent/CN112743125A/en
Publication of CN112743125A publication Critical patent/CN112743125A/en
Pending legal-status Critical Current

Links

Images

Classifications

    • BPERFORMING OPERATIONS; TRANSPORTING
    • B23MACHINE TOOLS; METAL-WORKING NOT OTHERWISE PROVIDED FOR
    • B23BTURNING; BORING
    • B23B47/00Constructional features of components specially designed for boring or drilling machines; Accessories therefor
    • B23B47/28Drill jigs for workpieces
    • BPERFORMING OPERATIONS; TRANSPORTING
    • B23MACHINE TOOLS; METAL-WORKING NOT OTHERWISE PROVIDED FOR
    • B23BTURNING; BORING
    • B23B2247/00Details of drilling jigs
    • B23B2247/14Jigs for drilling flanges

Landscapes

  • Engineering & Computer Science (AREA)
  • Mechanical Engineering (AREA)
  • Drilling And Boring (AREA)

Abstract

本发明涉及一种通用型法兰钻模,属于机械部件加工工装领域,尤其用于钻孔加工的工装领域。一种通用型法兰钻模,包括钻模底板、转动支架、钻套组件和定位销;其中钻模底板为圆盘状零件,在钻模底板上沿圆周方向均匀开有等分角度槽,在钻模底板上设有转动支架,转动支架的固定端设置在钻模底板圆周的中心点位置,自由端可以绕固定端旋转,在转动支架上设置钻套和钻套组件。本发明的有益效果在于:其通过定位销对法兰工件精准定位,通过可转动支架与沿径向可精准调节的钻套底座、内孔尺寸可更换的钻套相配合完成法兰钻孔,故针对相同孔数、不同孔心距、不同孔径的法兰工件不需要单独配置钻模板,设计合理,大大提高了其通用性,降低工装制造成本和管理成本,提高工作效率。

Figure 201911055777

The invention relates to a universal flange drilling die, belonging to the field of tooling for machining parts, in particular to the field of tooling for drilling processing. A universal flange drilling die, comprising a drilling die base plate, a rotating bracket, a drill sleeve assembly and a positioning pin; wherein the drilling die base plate is a disc-shaped part, and equally divided angle grooves are evenly opened along the circumferential direction on the drilling die base plate, A rotating bracket is arranged on the bottom plate of the drilling die, the fixed end of the rotating bracket is arranged at the center point of the circumference of the bottom plate of the drilling die, the free end can rotate around the fixed end, and a drill sleeve and a drill sleeve assembly are arranged on the rotating bracket. The beneficial effect of the present invention is that the flange workpiece is accurately positioned by the positioning pin, and the flange drilling is completed by the rotatable bracket, the drill sleeve base that can be precisely adjusted in the radial direction, and the drill sleeve with the inner hole size replaceable. Therefore, for flange workpieces with the same number of holes, different hole center distances, and different diameters, there is no need to configure a drill template separately. The design is reasonable, which greatly improves its versatility, reduces tooling manufacturing costs and management costs, and improves work efficiency.

Figure 201911055777

Description

Universal flange drill jig
Technical Field
The invention relates to a universal flange drill jig, belongs to the field of mechanical part machining tools, and particularly relates to the field of tools for drilling.
Background
When a disc-shaped flange part is machined, a special drilling template is often required to be designed according to the requirements of flange part holes, when the hole center distance on a flange changes, different drilling templates need to be designed, and meanwhile, a corresponding number of matched drilling sleeves need to be designed according to the number of the drilling template holes, so that the universality of the drilling template is poor. The design of the new drill jig plate not only causes the manufacturing cost and the management cost of the drill jig tool to be increased, but also requires time for machining the drill jig plate, and the machining efficiency is greatly reduced.
Disclosure of Invention
Aiming at the problems, the invention provides a universal flange drill jig which can solve the problems of poor universality and high cost of the existing flange drill jig plate and reduce the time for managing the stock of the drill jig.
In order to solve the problems, the invention adopts the technical scheme that: a universal flange drill jig comprises a drill jig bottom plate, a rotating support, a drill bushing assembly and a positioning pin;
wherein the drill jig base plate is a disk-shaped part, evenly provided with angle-dividing grooves along the circumferential direction,
the drill jig comprises a drill jig base plate, a drill bushing assembly, a drill bushing rotating bracket and a drill bushing rotating bracket.
The universal flange drill jig comprises a drill jig bottom plate, a plurality of positioning grooves, a positioning groove, a graduated scale and a positioning pin, wherein the positioning grooves are uniformly arranged on the drill jig bottom plate along the circumferential direction, are arranged among the angle dividing grooves, and are provided with a graduated scale along the depth direction of the positioning grooves.
The universal flange drill jig has the advantages that the number of the angle dividing grooves is 24, and the angle dividing grooves are uniformly distributed along the circumferential direction of the drill jig bottom plate.
The universal flange drill jig has the advantages that the cross section of the positioning groove is in a dry shape.
The universal flange jig as described above, wherein the number of the positioning grooves is three.
The universal flange drilling jig is characterized in that the rotating support is a long-strip-shaped part, a positioning shaft hole is formed in the fixed end of the rotating support, a hole positioning groove 4 is formed in the free end of the rotating support, and a supporting screw hole is formed between the positioning shaft hole and the hole positioning groove 4.
The universal flange drill jig comprises a positioning shaft, wherein the positioning shaft penetrates through a positioning shaft hole of the rotating support and a hole in the center point of the drill jig base plate, the positioning shaft is an inverted T-shaped part, a threaded hole is formed in the bottom end of the positioning shaft, a tension screw and a gasket are arranged in the threaded hole, and a bearing is arranged on the connecting surface of the positioning shaft and the rotating support.
The universal flange drill jig is characterized in that the drill bush base is arranged on the rotating support, the drill bush is arranged on the drill bush base, and the drill bush base and the drill bush are arranged on the rotating support through the drill bush assembly and the adjusting bolt.
The universal flange drill jig comprises a drill bush base, wherein the cross section of the drill bush base is in an inverted 'mountain' shape, a through hole penetrating through a part is formed in the center of the drill bush base, a drill bush fixing groove is formed in the through hole in the center of the drill bush base, and a drill bush mounting groove is formed in the top surface of the drill bush base.
The universal flange drill jig comprises a drill sleeve, a flange and a flange, wherein the drill sleeve is a cylindrical part with a through hole, a protruding outer circle is arranged on the outer surface of the top end of the drill sleeve, and two lug shoulders are arranged on two sides below the protruding outer circle.
The invention has the beneficial effects that: the flange drilling machine has the advantages that the flange workpiece is accurately positioned through the positioning pin, the flange drilling is completed through the cooperation of the rotatable support, the drill bushing base which can be accurately adjusted along the radial direction and the drill bushing with the replaceable inner hole size, so that a drill plate does not need to be independently configured for the flange workpieces with the same hole number, different hole center distances and different hole diameters, the design is reasonable, the universality is greatly improved, the tool manufacturing cost and the management cost are reduced, and the working efficiency is improved.
Drawings
FIG. 1 is a schematic view of a universal flange drill jig according to the present invention;
FIG. 2 is a schematic top view of FIG. 1;
FIG. 3 is a schematic view of the structure of the bottom plate of the drill jig
FIG. 4 is a schematic view of a rotary stand structure
FIG. 5 is a schematic view of a connecting assembly
FIG. 6 is a three-view of the drill bushing base
FIG. 7 is a view showing the structure of a drill bushing
FIG. 8 is a view showing the structure of a positioning pin
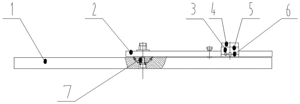
Reference numbers in the drawings indicate: 1-drilling a mold bottom plate; 2-rotating the bracket; 3-drilling sleeve base; 4-drilling a sleeve; 5-a drill bushing assembly; 6-adjusting the bolt; 7-a connecting assembly; 8-a grating sensor; 9-a graduated scale; 10-a positioning pin; 31-equal angular slot; 32-positioning grooves; 33-a central bearing seat; 41-positioning shaft holes; 42-support screw holes; 43-hole positioning groove 4; 51-a positioning shaft; 52-a bearing; 53-a spacer; 54-a tension screw; 63-installing a drill bushing in a groove; 61-drill bushing fixing groove; 62-base mounting sliding grooves; 71-projecting the outer circle; 72-two ear shoulders are designed on two sides.
Detailed Description
The invention discloses a universal flange drill jig, which comprises a drill jig base plate 1, a rotating bracket 2, a connecting assembly 7, a drill bushing assembly 5 and a positioning pin 10, as shown in figures 1 and 2.
As shown in FIG. 3, the drill plate 1 is provided with an angle-dividing groove 31, a positioning groove 32 and a central bearing seat 33. The positioning grooves are 3 equally-divided T-shaped grooves formed in the bottom plate of the drill jig, and scale scales are arranged on the edges of the grooves (as shown in an enlarged view in figure 3A).
As shown in fig. 4, the rotating bracket 2 is provided with a positioning shaft hole 41, a supporting screw hole 42 and a hole positioning slot 43; the end face of the support screw 6 is spherical and is arranged on the support screw hole 42 to play a supporting role and ensure that the support slides smoothly in the rotating process;
the rotary bracket 2 and the drill jig base plate 1 are installed and fixed through a connecting assembly 7 (shown in figure 5); the connecting assembly 7 comprises a positioning shaft 51, a bearing 52, a gasket 53 and a tensioning screw 54; firstly, the lower end of a positioning shaft 51 is connected with a central bearing seat 33 of a drilling jig bottom plate through a bearing 52, the positioning shaft 51 and the central bearing seat 33 are connected and fixed through a tensioning screw 54, and a gasket is arranged between the tensioning screw 54 and the bearing seat to prevent the support from being seized in the rotating process; the upper end of the positioning shaft 51 is fixed on the positioning shaft hole of the rotating bracket by a nut, and a gasket is added between the nut and the bracket.
The drill bushing assembly 5 comprises a drill bushing base 3, a drill bushing 4 and an adjusting bolt 6; the drill bushing base is provided with a drill bushing mounting groove 63, a drill bushing fixing groove 61 and a base mounting sliding groove 62 (see fig. 6); the drill bush base is embedded on the hole positioning groove on the bracket through the installation sliding groove (see figure 4); the upper portion of the drill bushing is designed to be a convex outer circle 71, two lug shoulders 72 are designed on two sides of the drill bushing, the two lug shoulders are installed in a drill bushing installation groove in a drill bushing base, a certain angle of rotation is clamped into a drill bushing fixing groove, axial freedom degree of the drill bushing is limited, the convex outer circle of the drill bushing is higher than the upper end face of the drill bushing base after the drill bushing is fixed, the drill bushing can be conveniently assembled and disassembled by being held by a hand, the outer diameter of the convex outer circle is larger than the maximum size of the drill bushing base installation groove, scrap iron clamping can be avoided, the drill bushing is clamped and is inconvenient to take out, the outer circle size of the lower end of the drill bushing is matched with the size of the equal-. The center of the support positioning shaft hole, the center of the support supporting screw hole, the support hole positioning groove and the center of the drill bushing component are kept on the same axis.
The positioning pin 10 is arranged in a positioning groove on the bottom plate of the drill jig, and is divided into an upper part and a lower part, wherein the lower part is T-shaped and can slide in the positioning groove, and the upper part is connected by a screw to play a role in fixing and moving.
The drill jig base plate is provided with equant angle grooves, positioning grooves and a central shaft bearing seat, the equant angle grooves are designed by taking the number of holes as a reference, the positioning grooves are 3 equant T-shaped grooves formed in the drill jig base plate, and the edges of the grooves are provided with scale scales;
the rotating bracket is provided with a positioning shaft hole, a hole positioning groove and a supporting screw hole; the support screw is arranged at the support screw hole, the end surface of the support screw is a spherical surface, so that the support function can be achieved, and smooth rotation is ensured in the rotation process of the bracket; the drill bushing base is arranged on the hole positioning groove, the sensor is additionally arranged on the side edge, and when the drill bushing base is used, the sensor is used for accurately positioning according to the hole center distance of a machined workpiece; a positioning shaft is arranged on the positioning shaft hole;
the connecting assembly comprises a bearing, a gasket, a tensioning screw and a positioning shaft; the tensioning screw is used for fixing the positioning shaft and the bearing seat, and a gasket is arranged between the tensioning screw and the bearing seat, so that the support is prevented from being seized in the rotating process; the positioning shaft is arranged in a positioning shaft hole on the rotating support, the lower end of the positioning shaft is connected with a bearing seat of the drill jig bottom plate through a bearing, and the upper end of the positioning shaft is fixed by a nut;
the drill bushing assembly comprises a drill bushing base, a drill bushing and an adjusting bolt; a drill bushing mounting groove, a drill bushing fixing groove and a base mounting sliding groove are designed on the drill bushing base, and are clamped on the two side arms of the hole positioning groove of the rotating support through the base mounting sliding groove; the drill bushing is arranged on the drill bushing base through the drill bushing mounting groove and is fixed through a drill bushing fixing groove on the drill bushing base;
the positioning pin is arranged in the positioning groove on the bottom plate of the drill jig and is divided into an upper part and a lower part, the lower part is T-shaped and can slide in the positioning groove, the upper part is connected by a screw to play a role in fixing and moving, and when the positioning pin is used, the readings of the scale scales of the positioning grooves corresponding to the 3 positioning pins are required to be the same, so that the concentricity of the machined holes is ensured.
Two lug shoulders are designed on two sides of the drill bushing, the two lug shoulders are arranged in a drill bushing mounting groove on a drill bushing base, and the drill bushing is clamped into a drill bushing fixing groove on the drill bushing base after rotating for a certain angle, so that the axial freedom degree of the drill bushing is limited; the upper part of the drill bushing is designed to be a convex excircle, the convex excircle is higher than the upper end face of the drill bushing base after being screwed into the drill bushing fixing groove, the outer diameter of the convex excircle is larger than the maximum size of the drill bushing base mounting groove, the size of the excircle of the lower end of the drill bushing is matched with the size of the equal-division angle groove on the drill jig base plate to limit the rotation of the rotating support, and the drill bushing can be replaced according to the actual size of the flange hole.
The drill bushing base can slide along the radial direction of the drill jig bottom plate to adjust the position and is fixed through an adjusting bolt.
When the device is used, the device is placed on the end face of a flange workpiece to be machined, the excircle of the workpiece is positioned by 3T-shaped positioning pins 10 on a drill jig base plate 1, the readings of 3 corresponding scale scales 9 are kept consistent to ensure the concentricity of a machined hole, the positioning pins are locked, a drill bushing base 3 is radially slid, after the accurate positioning is carried out by a grating sensor 8 according to the size requirement of the center distance of the workpiece hole, an adjusting bolt 6 on the drill bushing base is screwed to fix the drill bushing base, a support 2 is rotated to be overlapped with a certain equant angle groove on the drill jig base plate, a drill bushing with the required size is installed, the lower end of the drill bushing is sunk into the equant angle groove on the drill jig base plate and fixed, the drilling work is completed, then the drill bushing 4 is taken out, and the support is rotated along the axial direction of the drill jig base plate.

Claims (10)

1. A universal flange drill jig is characterized in that: the drilling jig comprises a drilling jig bottom plate (1), a rotating support (2), a drilling sleeve assembly (5) and a positioning pin (10);
wherein the drill jig base plate (1) is a disk-shaped part, the drill jig base plate (1) is uniformly provided with angle-dividing grooves (31) along the circumferential direction,
the drill jig is characterized in that a rotating support (2) is arranged on the drill jig base plate (1), the fixed end of the rotating support (2) is arranged at the central point of the circumference of the drill jig base plate (1), the free end can rotate around the fixed end, and a drill bushing (4) and a drill bushing assembly (5) are arranged on the rotating support (2).
2. The universal flange jig of claim 1, wherein: the drill jig base plate (1) on along circumference, evenly set up a plurality of constant head tank (32), constant head tank (32) set up between halving angle groove (31), set up scale (9) along constant head tank (32) degree of depth direction, set up locating pin (10) on constant head tank (32).
3. The universal flange jig of claim 1, wherein: the number of the equal angle grooves (31) is 24, and the equal angle grooves are uniformly distributed along the circumferential direction of the drill jig base plate (1).
4. The universal flange jig of claim 1, wherein: the section of the positioning groove (32) is in a dry shape.
5. The universal flange jig of claim 1, wherein: the number of the positioning grooves (32) is three.
6. The universal flange jig of claim 1, wherein: the rotary support (2) is a long-strip-shaped part, a positioning shaft hole (41) is formed in the fixed end of the rotary support (2), a hole positioning groove (4) (43) is formed in the free end of the rotary support (2), and a supporting screw hole (42) is formed between the positioning shaft hole (41) and the hole positioning groove (4) (43).
7. The universal flange jig of claim 6, wherein: the stiff end of rotating bracket (2) passes through coupling assembling (7) and sets up on jig bottom plate (1), this coupling assembling (7) are including location axle (51), location axle (51) pass the hole of location axle hole (41) and jig bottom plate (1) central point of rotating bracket (2), location axle (51) are "T" type part of invering, set up the screw hole in the bottom of location axle (51), set up lag screw (54) and gasket (53) in the screw hole, set up bearing (52) on the face of being connected of location axle (51) and rotating bracket (2).
8. The universal flange jig of claim 1, wherein: the drill bushing base (3) is arranged on the rotating support (2), the drill bushing (4) is arranged on the drill bushing base (3), and the drill bushing base (3) and the drill bushing (4) are arranged on the rotating support (2) through the drill bushing component (5) and the adjusting bolt (6).
9. The universal flange jig of claim 8, wherein: the cross section of the drill bushing base (3) is inverted 'mountain' -shaped, a through hole penetrating through a part is formed in the center, a drill bushing fixing groove (61) is formed in the through hole in the center, and a drill bushing mounting groove (63) is formed in the top surface of the drill bushing base (3).
10. The universal flange jig of claim 9, wherein: the drill sleeve (4) is a cylindrical part with a through hole, a convex outer circle (71) is arranged on the outer surface of the top end of the drill sleeve (4), and two lug shoulders (72) are arranged below the convex outer circle (71) on two sides.
CN201911055777.7A 2019-10-31 2019-10-31 Universal flange drill jig Pending CN112743125A (en)

Priority Applications (1)

Application Number Priority Date Filing Date Title
CN201911055777.7A CN112743125A (en) 2019-10-31 2019-10-31 Universal flange drill jig

Applications Claiming Priority (1)

Application Number Priority Date Filing Date Title
CN201911055777.7A CN112743125A (en) 2019-10-31 2019-10-31 Universal flange drill jig

Publications (1)

Publication Number Publication Date
CN112743125A true CN112743125A (en) 2021-05-04

Family

ID=75644793

Family Applications (1)

Application Number Title Priority Date Filing Date
CN201911055777.7A Pending CN112743125A (en) 2019-10-31 2019-10-31 Universal flange drill jig

Country Status (1)

Country Link
CN (1) CN112743125A (en)

Cited By (2)

* Cited by examiner, † Cited by third party
Publication number Priority date Publication date Assignee Title
CN113634795A (en) * 2021-08-27 2021-11-12 北京曙光航空电气有限责任公司 Angular positioning device and positioning method of shaft parts based on shaft end square groove
CN117464330A (en) * 2023-12-05 2024-01-30 中国航空工业集团公司沈阳飞机设计研究所 An assembly accuracy calibration and control device and method for return hole manufacturing

Citations (6)

* Cited by examiner, † Cited by third party
Publication number Priority date Publication date Assignee Title
GB793954A (en) * 1955-03-18 1958-04-23 Walter Stanley Brett Improvements in or relating to drilling jigs
US3204493A (en) * 1962-07-26 1965-09-07 Severdia Mfg Co Standardized combination universal drill jig and milling fixture
CN201776487U (en) * 2010-07-13 2011-03-30 合肥锻压机床有限公司 Drilling jig sleeve for drilling connecting screw hole of oil cylinder
CN202278221U (en) * 2011-08-11 2012-06-20 宜兴市迪凡特机械制造有限公司 Universal adjustable drill jig for disc and cover type parts
CN202780604U (en) * 2012-04-25 2013-03-13 南京梅山冶金发展有限公司 Drilling clamp
CN211966044U (en) * 2019-10-31 2020-11-20 中核苏阀科技实业股份有限公司 A universal flange drilling die

Patent Citations (6)

* Cited by examiner, † Cited by third party
Publication number Priority date Publication date Assignee Title
GB793954A (en) * 1955-03-18 1958-04-23 Walter Stanley Brett Improvements in or relating to drilling jigs
US3204493A (en) * 1962-07-26 1965-09-07 Severdia Mfg Co Standardized combination universal drill jig and milling fixture
CN201776487U (en) * 2010-07-13 2011-03-30 合肥锻压机床有限公司 Drilling jig sleeve for drilling connecting screw hole of oil cylinder
CN202278221U (en) * 2011-08-11 2012-06-20 宜兴市迪凡特机械制造有限公司 Universal adjustable drill jig for disc and cover type parts
CN202780604U (en) * 2012-04-25 2013-03-13 南京梅山冶金发展有限公司 Drilling clamp
CN211966044U (en) * 2019-10-31 2020-11-20 中核苏阀科技实业股份有限公司 A universal flange drilling die

Cited By (2)

* Cited by examiner, † Cited by third party
Publication number Priority date Publication date Assignee Title
CN113634795A (en) * 2021-08-27 2021-11-12 北京曙光航空电气有限责任公司 Angular positioning device and positioning method of shaft parts based on shaft end square groove
CN117464330A (en) * 2023-12-05 2024-01-30 中国航空工业集团公司沈阳飞机设计研究所 An assembly accuracy calibration and control device and method for return hole manufacturing

Similar Documents

Publication Publication Date Title
CN202199805U (en) Fixture for radial indexing drilling of pipe fitting
CN102962497A (en) Pipe fitting radial indexing drilling clamp tooling
CN204504890U (en) A kind of Manual rotary calibration locating turntable device
CN201275632Y (en) Revolving drill plate positioning apparatus
CN112743125A (en) Universal flange drill jig
CN103433553A (en) High-precision turbocharger rotary shaft turntable mortise pull tool
CN206952600U (en) A kind of universal wheel hub boring grab
CN211966044U (en) A universal flange drilling die
CN108714723A (en) The not equation graduation processing tool of valve seat bush
CN206169355U (en) A location jig that is used for branch spot facing works such as round hole flange face
CN115488403B (en) A locomotive driving hollow shaft cross gear processing device and method
CN103358157A (en) Fixture for machining eccentric rotary bodies
CN104690582A (en) Valve body lathe clamp
CN109663936B (en) special lathe equipment for processing arc sheet parts and using method thereof
CN109676177B (en) Special drilling jig for conical surface circumferential uniform drilling
CN205237151U (en) Ring flange location system casement utensil
CN109648337B (en) Automobile brake pad processing device
CN213136346U (en) Eccentric adjustment type centering fixture for grinding of three-eccentric butterfly valve sealing ring or valve body
CN104690581A (en) Valve body turning method
CN212704547U (en) Cage pocket hole processingequipment
CN203509680U (en) Composite angle deep hole machining device
CN211162955U (en) a drilling jig
CN213469646U (en) Detachable machine tool clamp for indexing drilling of long-shaft parts
CN203409348U (en) High-accuracy broaching tool of mortise groove of rotary-shaft wheel disc of turbocharger
CN104816246A (en) Grinding machine clamping tool specialized for supercharger sliding bearing

Legal Events

Date Code Title Description
PB01 Publication
PB01 Publication
SE01 Entry into force of request for substantive examination
SE01 Entry into force of request for substantive examination
RJ01 Rejection of invention patent application after publication
RJ01 Rejection of invention patent application after publication

Application publication date: 20210504