CN112739195A - 一种电源线路板智能制造设备 - Google Patents
一种电源线路板智能制造设备 Download PDFInfo
- Publication number
- CN112739195A CN112739195A CN202011478284.7A CN202011478284A CN112739195A CN 112739195 A CN112739195 A CN 112739195A CN 202011478284 A CN202011478284 A CN 202011478284A CN 112739195 A CN112739195 A CN 112739195A
- Authority
- CN
- China
- Prior art keywords
- plate
- cylinder
- lifting
- locking
- frame
- Prior art date
- Legal status (The legal status is an assumption and is not a legal conclusion. Google has not performed a legal analysis and makes no representation as to the accuracy of the status listed.)
- Pending
Links
- 238000004519 manufacturing process Methods 0.000 title claims abstract description 26
- 230000000903 blocking effect Effects 0.000 claims description 24
- 238000003825 pressing Methods 0.000 claims description 15
- 230000000149 penetrating effect Effects 0.000 claims 1
- 238000009434 installation Methods 0.000 description 8
- 238000010586 diagram Methods 0.000 description 4
- 238000010521 absorption reaction Methods 0.000 description 3
- 230000003287 optical effect Effects 0.000 description 3
- 238000000034 method Methods 0.000 description 2
- 238000012986 modification Methods 0.000 description 2
- 230000004048 modification Effects 0.000 description 2
- 208000027418 Wounds and injury Diseases 0.000 description 1
- 230000005540 biological transmission Effects 0.000 description 1
- 230000006378 damage Effects 0.000 description 1
- 230000007547 defect Effects 0.000 description 1
- 230000002950 deficient Effects 0.000 description 1
- 230000000694 effects Effects 0.000 description 1
- 208000014674 injury Diseases 0.000 description 1
Images
Classifications
-
- H—ELECTRICITY
- H05—ELECTRIC TECHNIQUES NOT OTHERWISE PROVIDED FOR
- H05K—PRINTED CIRCUITS; CASINGS OR CONSTRUCTIONAL DETAILS OF ELECTRIC APPARATUS; MANUFACTURE OF ASSEMBLAGES OF ELECTRICAL COMPONENTS
- H05K13/00—Apparatus or processes specially adapted for manufacturing or adjusting assemblages of electric components
- H05K13/04—Mounting of components, e.g. of leadless components
-
- H—ELECTRICITY
- H05—ELECTRIC TECHNIQUES NOT OTHERWISE PROVIDED FOR
- H05K—PRINTED CIRCUITS; CASINGS OR CONSTRUCTIONAL DETAILS OF ELECTRIC APPARATUS; MANUFACTURE OF ASSEMBLAGES OF ELECTRICAL COMPONENTS
- H05K13/00—Apparatus or processes specially adapted for manufacturing or adjusting assemblages of electric components
- H05K13/04—Mounting of components, e.g. of leadless components
- H05K13/0417—Feeding with belts or tapes
Landscapes
- Engineering & Computer Science (AREA)
- Manufacturing & Machinery (AREA)
- Microelectronics & Electronic Packaging (AREA)
- Automatic Assembly (AREA)
Abstract
本发明涉及组装设备领域,尤其涉及的是一种电源线路板智能制造设备,包括机架,在所述机架上设置工作台,在所述机架左侧设置提升机构,在所述工作台上设置左右方向的链条输送线,并对应所述链条输送线从左至右依次跨设有边框上料机构和锁紧机构,在所述边框上料机构的内侧面设置左右方向的移料机构;相对于现有技术的有益效果是,采用上述方案,本发明结构简单,使用方便,实现自动化,可连续工作,节省人工,满足生产需要,适用性强,可适应不同型号的线路板,提高生产效率,具有很好的市场应用价值。
Description
技术领域
本发明涉及组装设备领域,尤其涉及的是一种电源线路板智能制造设备。
背景技术
一些电路板的组装过程中,需要将电路板和边框组装固定在一起,目前生产中该工序均为人工操作,效率低,效果差,而电源线路板智能制造设备可以有效提高设备组装效率,减少次品率,降低人工伤害风险,基于上述原因有必要开发一种能够满足上述要求的设备。
发明内容
针对现有技术存在的不足,本发明目的是提供一种电源线路板智能制造设备,以解决上述背景技术中提出的问题。为实现上述目的,本发明所采用了下述的技术方案:该电源线路板智能制造设备,包括机架,在所述机架上设置工作台,在所述机架左侧设置提升机构,在所述工作台上设置左右方向的链条输送线,并对应所述链条输送线从左至右依次跨设有边框上料机构和锁紧机构,在所述边框上料机构的内侧面设置左右方向的移料机构;
所述锁紧机构包括下压锁紧装置和顶升装置,所述下压锁紧装置包括支撑架,所述支撑架跨设在所述链条输送线右端的所述工作台上,在所述支撑架顶部水平设置固定板,在所述固定板上表面设置下压气缸,所述下压气缸的工作端贯穿所述固定板并安装有连接架,所述连接架的下端水平连接有锁紧安装板,所述锁紧安装板的下方通过连接杆连接有水平的锁紧底板,所述锁紧安装板下表面设置有伺服电机,所述伺服电机的转轴贯穿并转动连接所述锁紧安装板,其顶端安装有主动齿轮,沿所述主动齿轮圆周的所述锁紧安装板上等距设置多个从动齿轮,多个所述从动齿轮均和所述主动齿轮啮合,多个所述从动齿轮的转轴分别贯穿并转动连接所述锁紧安装板,多个所述从动齿轮的转轴底端分别通过万向节连接有连杆,多个所述连杆的底端分别通过万向节连接有旋转轴,多个所述旋转轴分别垂直贯穿并转动连接所述锁紧底板,多个所述旋转轴的底端分别安装有旋钮卡头。
优选的,所述顶升装置包括顶升底板,所述顶升底板对应安装在所述下压锁紧装置下方的所述工作台上,所述顶升底板上表面中部垂直设置有顶升气缸安装板,所述顶升气缸安装板的侧面垂直向上安装有顶升气缸,所述顶升气缸的活动端安装有水平的顶升活动板,所述顶升活动板的上表面左端安装有固定块,所述顶升活动板的下表面右端安装有双杆气缸,所述双杆气缸的活动端向外并安装有夹紧块安装板,所述夹紧块安装板的顶端对应所述固定块安装有夹紧块。
优选的,所述提升机构包括提升支撑架,所述提升支撑架设置在所述机架左侧,所述提升支撑架上水平设置有提升底板,所述提升底板上表面前端安装有提升气缸固定架,所述提升气缸固定架的下表面垂直安装有提升气缸,所述提升气缸的工作端贯穿所述提升气缸固定架,所述提升气缸固定架后方的所述提升底板上前后对应分别设置有四根导柱,四根所述导柱上水平滑动连接有提升活动板,所述提升活动板上表面设置有输送带,所述提升活动板的前端设置有提升气缸连接板,所述提升气缸连接板连接所述提升气缸的工作端。
优选的,所述边框上料机构包括上料支撑架,所述上料支撑架设置在所述锁紧机构左侧的所述工作台上,所述上料支撑架顶端左侧水平设置有前后方向的滑轨,右侧平行设置有直线模组,所述直线模组和所述滑轨之间滑动设置有连接板,所述连接板上表面垂直设置有上料气缸,所述上料气缸的工作端贯穿所述连接板并水平安装有抓取气缸固定板,所述抓取气缸固定板的下表面水平安装有夹紧气缸,所述夹紧气缸的两个工作端下表面分别安装有夹爪。
优选的,所述移料机构包括移料固定板,所述移料固定板安装在所述上料支撑架的内侧面上,所述移料气缸固定板的前侧面水平安装有无杆气缸,所述无杆气缸的下方平行设置有直线导轨,所述直线导轨上滑动设置有吸取气缸固定板,所述无杆气缸的活动端安装有气缸连接板,所述气缸连接板和所述吸取气缸固定板连接,所述吸取气缸固定板的前端面垂直设置有吸取气缸,所述吸取气缸的活动端垂直安装有吸盘连接板,所述吸盘连接板的下端安装有吸盘组件。
优选的,所述吸盘组件包括吸盘安装板,所述吸盘安装板水平安装在所述吸盘连接板的下端,所述吸盘安装板上设置有多条纵向并贯穿所述吸盘安装板的滑槽,相邻的所述滑槽之间分别安装有吸盘固定条,所述吸盘固定条上贯穿设置有安装槽,所述安装槽内垂直安装有真空吸盘。
优选的,所述锁紧安装板和所述固定板之间对称设置有多根导向轴,多根所述导向轴分别和所述固定板滑动连接。
优选的,所述旋钮卡头上方的所述旋转轴上套设有弹簧。
优选的,在所述边框上料机构下方的所述工作台上设置阻挡机构,所述阻挡机构包括支撑立板、阻挡气缸、阻挡板,所述支撑立板垂直安装在所述工作台上表面,所述支撑立板的侧面安装有所述阻挡气缸,所述阻挡气缸的工作端安装有所述阻挡板。
相对于现有技术的有益效果是,采用上述方案,本发明结构简单,使用方便,实现自动化,可连续工作,节省人工,满足生产需要,适用性强,可适应不同型号的线路板,提高生产效率,具有很好的市场应用价值。
附图说明
图1为本发明的一个实施例的总装配结构示意图;
图2为本发明的图1实施例的下压锁紧机构结构示意图;
图3为本发明的图1实施例的锁紧机构的主动齿轮和从动齿轮结构示意图;
图4为本发明的图1实施例的锁紧机构局部结构示意图;
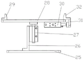
图5为本发明的图1实施例的顶升装置结构示意图;
图6为本发明的图1实施例的提升机构结构示意图;
图7为本发明的图1实施例的边框上料机构结构示意图;
图8为本发明的图1实施例的移料机构机构结构示意图;
图9为本发明的图1实施例的吸盘组件结构示意图;
图10为本发明的图1实施例的链条输送线和阻挡机构结构示意图;
以上附图所示:机架1、工作台2、提升机构3、链条输送线4、移料机构6、边框上料机构7、锁紧机构8、支撑架10、固定板11、下压气缸12、连接架13、锁紧安装板14、连接杆15、锁紧底板16、伺服电机17、主动齿轮18、从动齿轮19、万向节20、连杆21、旋转轴22、旋钮卡头23、顶升底板25、顶升气缸安装板26、顶升气缸27、顶升活动板28、固定块29、双杆气缸30、夹紧块安装板31、夹紧块32、提升支撑架40、提升底板41、提升气缸固定架42、提升气缸43、导柱44、提升活动板45、导柱固定板46、输送带47、提升气缸连接板48、上料支撑架50、滑轨51、直线模组52、连接板53、上料气缸54、抓取气缸固定板55、夹紧气缸56、夹爪57、光轴58、移料固定板60、无杆气缸61、直线导轨62、吸取气缸固定板63、气缸连接板64、吸取气缸65、吸盘连接板66、吸盘安装板70、滑槽71、吸盘固定条72、安装槽73、真空吸盘74、支撑立板80、阻挡气缸81、阻挡板82。
具体实施方式
为了便于理解本发明,下面结合附图和具体实施例,对本发明进行更详细的说明。附图中给出了本发明的较佳的实施例。但是,本发明可以以许多不同的形式来实现,并不限于本说明书所描述的实施例。相反地,提供这些实施例的目的是使对本发明的公开内容的理解更加透彻全面。
需要说明的是,当元件被称为“固定于”另一个元件,它可以直接在另一个元件上或者也可以存在居中的元件。当一个元件被认为是“连接”另一个元件,它可以是直接连接到另一个元件或者可能同时存在居中元件。本说明书所使用的术语“垂直的”、“水平的”、“左”、“右”“前”、“后”以及类似的表述只是为了说明的目的。
除非另有定义,本说明书所使用的所有的技术和科学术语与属于本发明的技术领域的技术人员通常理解的含义相同。本说明书中在本发明的说明书中所使用的术语只是为了描述具体的实施例的目的,不是用于限制本发明。
如图1-10所示,本发明的一个实施例是:该电源线路板智能制造设备,包括机架1,在所述机架1上表面设置工作台2,在所述机架1左侧设置提升机构3,在所述工作台2上设置左右方向的链条输送线4,并对应所述链条输送线4上方从左至右依次跨设有边框上料机构7和锁紧机构8,在所述边框上料机构7的内侧面设置左右方向的移料机构6;
所述锁紧机构8包括下压锁紧装置和顶升装置,所述下压锁紧装置包括支撑架10,所述支撑架10跨设在所述链条输送线4前后方向的所述工作台2上,在所述支撑架10顶部水平设置有固定板11,在所述固定板11上表面设置下压气缸12,所述下压气缸12的工作端贯穿所述固定板11并安装有连接架13,所述连接架13的下端水平连接有锁紧安装板14,所述锁紧安装板14和所述连接架13之间设置有空腔,所述锁紧安装板14的下表面四个角分别设置有连接杆15,四个所述连接杆15的底端连接有水平的锁紧底板16,所述锁紧安装板14下表面中部设置有伺服电机17,所述伺服电机17的转轴贯穿并转动连接所述锁紧安装板14,其顶端安装有主动齿轮18,沿所述主动齿轮18圆周的所述锁紧安装板14上等距设置多个从动齿轮19,多个所述从动齿轮19均和所述主动齿轮18啮合,多个所述从动齿轮19的转轴分别贯穿并转动连接所述锁紧安装板14,多个所述从动齿轮19的转轴底端分别通过万向节20连接有连杆21,多个所述连杆21的底端分别通过万向节连接有旋转轴22,多个所述旋转轴22分别垂直贯穿并转动连接所述锁紧底板16,多个所述旋转轴22的底端分别安装有旋钮卡头23。
该机构的优点在于,根据加工的产品,可选择从动齿轮和连杆的数量,使用万向节,可使旋转轴和从动齿轮的位置不需要对应,旋转轴的数量和位置可根据代加工的产品所需要的选择,也可将旋钮卡头换为螺丝刀,实现对线路板锁螺丝。
优选的,所述顶升装置包括顶升底板25,所述顶升底板25对应安装在所述下压锁紧装置下方的所述工作台2上,所述顶升底板25上表面中部垂直设置有顶升气缸安装板26,所述顶升气缸安装板26的侧面垂直向上安装有顶升气缸27,所述顶升气缸27的活动端安装有水平的顶升活动板28,所述顶升活动板28的上表面左端安装有固定块29,所述顶升活动板28的下表面右端安装有双杆气缸30,所述双杆气缸30的活动端向外并安装有夹紧块安装板31,所述夹紧块安装板31的顶端对应所述固定块29安装有夹紧块32。顶升装置将线路板和边框顶起,夹紧块和固定块配合夹紧边框,配合下压锁紧装置,将边框和线路板锁紧。
优选的,所述提升机构包括提升支撑架40,所述提升支撑架40设置在所述机架1左侧,所述提升支撑架40上表面水平设置有提升底板41,所述提升底板41上表面前端安装有提升气缸固定架42,所述提升气缸固定架42的下表面垂直向上安装有提升气缸43,所述提升气缸43的工作端贯穿所述提升气缸固定架42,所述提升气缸固定架42后方的所述提升底板41上前后对应分别设置有四根导柱44,四根所述导柱44上水平滑动连接有提升活动板45,四根所述导柱44的顶端连接有导柱固定板46,所述提升活动板45上表面设置有输送带47,所述提升活动板45的前端设置有提升气缸连接板48,所述提升气缸连接板48连接所述提升气缸43的工作端,提升机构将线路板提升至移料机构工作范围。
优选的,所述边框上料机构包括上料支撑架50,所述上料支撑架50设置在所述锁紧机构8左侧的所述工作台上,所述上料支撑架50顶端左侧水平设置有前后方向的滑轨51,右侧平行设置有直线模组52,所述直线模组52和所述滑轨51之间滑动设置有连接板53,所述连接板53上表面垂直设置有上料气缸54,所述上料气缸54的工作端贯穿所述连接板53并水平安装有抓取气缸固定板55,所述抓取气缸固定板55的下表面水平安装有夹紧气缸56,所述夹紧气缸56的两个工作端下表面分别安装有夹爪57。所述夹紧气缸为阔型气动手指气缸,型号优选为:MHL2-40D2,本实施例所选用的无杆气缸型号优选为:CY3B32,双杆气缸型号优选为:CXSM32-60,其他气缸和直线滑台均为现有常用元器件,故此未做过多赘述。
优选的,所述抓取气缸固定板55上表面两端分别垂直安装有光轴58,所述光轴58分别贯穿并滑动连接所述连接板53。
优选的,所述移料机构6包括移料固定板60,所述移料固定板60左右方向安装在所述上料支撑架50的内侧面上,所述移料气缸固定板60的前侧面水平安装有无杆气缸61,所述无杆气缸61的下方平行设置有直线导轨62,所述直线导轨62上滑动设置有吸取气缸固定板63,所述无杆气缸61的活动端安装有气缸连接板64,所述气缸连接板64和所述吸取气缸固定板63连接,所述吸取气缸固定板63的前端面垂直设置有吸取气缸65,所述吸取气缸65的活动端垂直安装有吸盘连接板66,所述吸盘连接板66的下端安装有吸盘组件。
优选的,所述吸盘组件包括吸盘安装板70,所述吸盘安装板70水平安装在所述吸盘连接板66的下端,所述吸盘安装板70上设置有多条纵向并贯穿所述吸盘安装板70的滑槽71,相邻的所述滑槽71之间分别安装有吸盘固定条72,所述吸盘固定条72上贯穿设置有安装槽73,所述安装槽73内垂直安装有真空吸盘74。
吸盘固定条的两端通过螺丝和滑槽连接,可调整吸盘固定条的位置,真空吸盘可在吸盘固定条的安装槽内调整位置,可适应不同型号和结构的线路板。
优选的,所述锁紧安装板和所述固定板之间对称设置有多根导向轴,多根所述导向轴分别和所述固定板滑动连接。
优选的,所述旋钮卡头23上方的所述旋转轴22上套设有弹簧。弹簧可降低真空吸盘和线路板之间的冲击力,有效保护线路板。
优选的,在所述边框上料机构7下方的所述工作台2上表面设置阻挡机构,所述阻挡机构包括支撑立板80、阻挡气缸81、阻挡板82,所述支撑立板80垂直安装在所述工作台2上表面,所述支撑立板80的侧面安装有所述阻挡气缸81,所述阻挡气缸81的工作端安装有所述阻挡板82;阻挡机构用于边框在链条输送线上固定位置。
工作原理:首先,在边框上料机构前方的工作范围内设置边框上料输送带,在提升机构的左侧设置线路板上料输送带,将待加工的线路板板运送至提升机构的输送带上,提升气缸推动提升活动板沿导柱向上运动,到达移料机构工作范围;同时,边框上料机构的直线模组带动连接板,向前移动至边框上料输送带上方,上料气缸伸出,推动抓取气缸固定板向下运动,夹紧气缸带动夹爪夹紧边框,边框上料机构将边框向后移动至链条输送线上;移料机构的无杆气缸带动吸取气缸固定板沿直线导轨到达线路板上方,吸取气缸伸出,推动吸盘安装板向下运动,真空吸盘吸取线路板,吸取气缸缩回,移料机构将线路板放置在链条输送线上的边框内;链条输送线将线路板和边框一起运送至锁紧机构下方;顶升装置的顶升气缸推动顶升活动板向上运动,将线路板和边框顶起,双杆气缸收缩拉动夹紧块安装板向内运动,夹紧块和固定块配合,夹紧边框和线路板;下压锁紧装置的下压气缸伸出,推动连接架继而推动锁紧安装板和锁紧底板向下运动,旋转轴下端的旋钮卡头卡入边框上的旋钮上,伺服电机转动,带动主动齿轮转动,主动齿轮带动多个从动齿轮转动,从动齿轮通过万向节带动连杆转动,连杆通过万向节带动旋转轴旋转,旋转轴带动旋钮卡头转动,使旋钮转动将线路板和边框固定,组装完成后,链条输送线将组装完成的产品继续向右传送至工作台右端,完成本工序。
需要说明的是,上述各技术特征继续相互组合,形成未在上面列举的各种实施例,均视为本发明说明书记载的范围;并且,对本领域普通技术人员来说,可以根据上述说明加以改进或变换,而所有这些改进和变换都应属于本发明所附权利要求的保护范围。
Claims (9)
1.一种电源线路板智能制造设备,其特征在于,包括机架,在所述机架上设置工作台,在所述机架左侧设置提升机构,在所述工作台上设置左右方向的链条输送线,并对应所述链条输送线从左至右依次跨设有边框上料机构和锁紧机构;在所述边框上料机构的内侧面设置左右方向的移料机构;
所述锁紧机构包括下压锁紧装置和顶升装置,所述下压锁紧装置包括支撑架,所述支撑架跨设在所述链条输送线右端的所述工作台上,在所述支撑架顶部水平设置固定板,在所述固定板上表面设置下压气缸,所述下压气缸的工作端贯穿所述固定板并安装有连接架,所述连接架的下端水平连接有锁紧安装板,所述锁紧安装板的下方通过连接杆连接有水平的锁紧底板,所述锁紧安装板下表面设置有伺服电机,所述伺服电机的转轴贯穿并转动连接所述锁紧安装板,其顶端安装有主动齿轮,沿所述主动齿轮圆周的所述锁紧安装板上等距设置多个从动齿轮,多个所述从动齿轮均和所述主动齿轮啮合,多个所述从动齿轮的转轴分别贯穿并转动连接所述锁紧安装板,多个所述从动齿轮的转轴底端分别通过万向节连接有连杆,多个所述连杆的底端分别通过万向节连接有旋转轴,多个所述旋转轴分别垂直贯穿并转动连接所述锁紧底板,多个所述旋转轴的底端分别安装有旋钮卡头。
2.根据权利要求1所述的一种电源线路板智能制造设备,其特征在于,所述顶升装置包括顶升底板,所述顶升底板对应安装在所述下压锁紧装置下方的所述工作台上,所述顶升底板上表面中部垂直设置有顶升气缸安装板,所述顶升气缸安装板的侧面垂直向上安装有顶升气缸,所述顶升气缸的活动端安装有水平的顶升活动板,所述顶升活动板的上表面左端安装有固定块,所述顶升活动板的下表面右端安装有双杆气缸,所述双杆气缸的活动端向外并安装有夹紧块安装板,所述夹紧块安装板的顶端对应所述固定块安装有夹紧块。
3.根据权利要求1所述的一种电源线路板智能制造设备,其特征在于,所述提升机构包括提升支撑架,所述提升支撑架设置在所述机架左侧,所述提升支撑架上水平设置有提升底板,所述提升底板上表面前端安装有提升气缸固定架,所述提升气缸固定架的下表面垂直安装有提升气缸,所述提升气缸的工作端贯穿所述提升气缸固定架,所述提升气缸固定架后方的所述提升底板上前后对应分别设置有四根导柱,四根所述导柱上水平滑动连接有提升活动板,所述提升活动板上表面设置有输送带,所述提升活动板的前端设置有提升气缸连接板,所述提升气缸连接板连接所述提升气缸的工作端。
4.根据权利要求1所述的一种电源线路板智能制造设备,其特征在于,所述边框上料机构包括上料支撑架,所述上料支撑架设置在所述锁紧机构左侧的所述工作台上,所述上料支撑架顶端左侧水平设置有前后方向的滑轨,右侧平行设置有直线模组,所述直线模组和所述滑轨之间滑动设置有连接板,所述连接板上表面垂直设置有上料气缸,所述上料气缸的工作端贯穿所述连接板并水平安装有抓取气缸固定板,所述抓取气缸固定板的下表面水平安装有夹紧气缸,所述夹紧气缸的两个工作端下表面分别安装有夹爪。
5.根据权利要求4所述的一种电源线路板智能制造设备,其特征在于,所述移料机构包括移料固定板,所述移料固定板安装在所述上料支撑架的内侧面上,所述移料气缸固定板的前侧面水平安装有无杆气缸,所述无杆气缸的下方平行设置有直线导轨,所述直线导轨上滑动设置有吸取气缸固定板,所述无杆气缸的活动端安装有气缸连接板,所述气缸连接板和所述吸取气缸固定板连接,所述吸取气缸固定板的前端面垂直设置有吸取气缸,所述吸取气缸的活动端垂直安装有吸盘连接板,所述吸盘连接板的下端安装有吸盘组件。
6.根据权利要求5所述的一种电源线路板智能制造设备,其特征在于,所述吸盘组件包括吸盘安装板,所述吸盘安装板水平安装在所述吸盘连接板的下端,所述吸盘安装板上设置有多条纵向并贯穿所述吸盘安装板的滑槽,相邻的所述滑槽之间分别安装有吸盘固定条,所述吸盘固定条上贯穿设置有安装槽,所述安装槽内垂直安装有真空吸盘。
7.根据权利要求1所述的一种电源线路板智能制造设备,其特征在于,所述锁紧安装板和所述固定板之间对称设置有多根导向轴,多根所述导向轴分别和所述固定板滑动连接。
8.根据权利要求1所述的一种电源线路板智能制造设备,其特征在于,所述旋钮卡头上方的所述旋转轴上套设有弹簧。
9.根据权利要求1所述的一种电源线路板智能制造设备,其特征在于,在所述边框上料机构下方的所述工作台上设置阻挡机构,所述阻挡机构包括支撑立板、阻挡气缸、阻挡板,所述支撑立板垂直安装在所述工作台上表面,所述支撑立板的侧面安装有所述阻挡气缸,所述阻挡气缸的工作端安装有所述阻挡板。
Priority Applications (1)
| Application Number | Priority Date | Filing Date | Title |
|---|---|---|---|
| CN202011478284.7A CN112739195A (zh) | 2020-12-15 | 2020-12-15 | 一种电源线路板智能制造设备 |
Applications Claiming Priority (1)
| Application Number | Priority Date | Filing Date | Title |
|---|---|---|---|
| CN202011478284.7A CN112739195A (zh) | 2020-12-15 | 2020-12-15 | 一种电源线路板智能制造设备 |
Publications (1)
| Publication Number | Publication Date |
|---|---|
| CN112739195A true CN112739195A (zh) | 2021-04-30 |
Family
ID=75602248
Family Applications (1)
| Application Number | Title | Priority Date | Filing Date |
|---|---|---|---|
| CN202011478284.7A Pending CN112739195A (zh) | 2020-12-15 | 2020-12-15 | 一种电源线路板智能制造设备 |
Country Status (1)
| Country | Link |
|---|---|
| CN (1) | CN112739195A (zh) |
Cited By (1)
| Publication number | Priority date | Publication date | Assignee | Title |
|---|---|---|---|---|
| CN114235833A (zh) * | 2021-12-14 | 2022-03-25 | 深圳仁海实业有限公司 | 一种高密度互连印制电路板的背板移送检测设备 |
Citations (9)
| Publication number | Priority date | Publication date | Assignee | Title |
|---|---|---|---|---|
| CN204843079U (zh) * | 2015-07-28 | 2015-12-09 | 苏州和瑞科自动化科技有限公司 | 一种pcb板分板机 |
| CN205571981U (zh) * | 2016-03-11 | 2016-09-14 | 泛科轴承集团有限公司 | 可升降的夹持装置 |
| CN206967489U (zh) * | 2017-08-04 | 2018-02-06 | 广州巨恒智能装备有限公司 | 一种提升移动机构 |
| CN208217865U (zh) * | 2018-05-10 | 2018-12-11 | 苏州鑫富力劲自动化设备有限公司 | 一种水平抓取吸持机构 |
| CN109228607A (zh) * | 2018-10-10 | 2019-01-18 | 深圳市鹏盈贸易有限公司 | 一种适用于平板电脑触摸屏的贴合设备 |
| CN210997408U (zh) * | 2019-10-22 | 2020-07-14 | 长春市枫实科技有限公司 | 一种自动化装配装置 |
| CN211393713U (zh) * | 2020-05-13 | 2020-09-01 | 上海力信电气技术有限公司 | 一种新能源电机部件运输用顶升装置 |
| CN211392940U (zh) * | 2019-11-06 | 2020-09-01 | 苏州维富阀门机电有限公司 | 一种流水线同侧上料提升设备 |
| CN211593891U (zh) * | 2019-12-30 | 2020-09-29 | 苏州宜琼智能科技有限公司 | 一种皮带式流水线用阻挡机构 |
-
2020
- 2020-12-15 CN CN202011478284.7A patent/CN112739195A/zh active Pending
Patent Citations (9)
| Publication number | Priority date | Publication date | Assignee | Title |
|---|---|---|---|---|
| CN204843079U (zh) * | 2015-07-28 | 2015-12-09 | 苏州和瑞科自动化科技有限公司 | 一种pcb板分板机 |
| CN205571981U (zh) * | 2016-03-11 | 2016-09-14 | 泛科轴承集团有限公司 | 可升降的夹持装置 |
| CN206967489U (zh) * | 2017-08-04 | 2018-02-06 | 广州巨恒智能装备有限公司 | 一种提升移动机构 |
| CN208217865U (zh) * | 2018-05-10 | 2018-12-11 | 苏州鑫富力劲自动化设备有限公司 | 一种水平抓取吸持机构 |
| CN109228607A (zh) * | 2018-10-10 | 2019-01-18 | 深圳市鹏盈贸易有限公司 | 一种适用于平板电脑触摸屏的贴合设备 |
| CN210997408U (zh) * | 2019-10-22 | 2020-07-14 | 长春市枫实科技有限公司 | 一种自动化装配装置 |
| CN211392940U (zh) * | 2019-11-06 | 2020-09-01 | 苏州维富阀门机电有限公司 | 一种流水线同侧上料提升设备 |
| CN211593891U (zh) * | 2019-12-30 | 2020-09-29 | 苏州宜琼智能科技有限公司 | 一种皮带式流水线用阻挡机构 |
| CN211393713U (zh) * | 2020-05-13 | 2020-09-01 | 上海力信电气技术有限公司 | 一种新能源电机部件运输用顶升装置 |
Cited By (1)
| Publication number | Priority date | Publication date | Assignee | Title |
|---|---|---|---|---|
| CN114235833A (zh) * | 2021-12-14 | 2022-03-25 | 深圳仁海实业有限公司 | 一种高密度互连印制电路板的背板移送检测设备 |
Similar Documents
| Publication | Publication Date | Title |
|---|---|---|
| CN107363525B (zh) | 自动锁螺丝设备 | |
| CN117066903B (zh) | 用于不锈钢餐桌生产的自动化钢管切割装置 | |
| CN112739195A (zh) | 一种电源线路板智能制造设备 | |
| CN216548498U (zh) | 一种pcb的板材加工自动放板机 | |
| CN113787214B (zh) | 一种汽车天窗生产用钻孔装置 | |
| CN212384433U (zh) | 一种用于铁附件定位冲孔的上料装置 | |
| CN112793834A (zh) | 一种紧固件自动化套网设备 | |
| CN218799372U (zh) | 一种可调节的双排铣削装置 | |
| CN207857612U (zh) | 铝型材生产线的冲压装置 | |
| CN212126730U (zh) | 一种芯体抓取输送装置 | |
| CN215401566U (zh) | 板材热压生产线 | |
| CN117428326A (zh) | 一种具有激光打标结构的家具激光封边机 | |
| CN212765435U (zh) | 一种自动进出料的雕刻机工作台 | |
| CN112125037B (zh) | 防水胶带出料、转移及贴附装置 | |
| CN221544446U (zh) | 一种高透光伏玻璃切割台 | |
| CN109483309B (zh) | 一种型材切割生产线 | |
| CN223276960U (zh) | 一种机械臂伺服整形机 | |
| CN109693165B (zh) | 一种滚筒型全自动研磨抛光机 | |
| CN221390026U (zh) | Led防水箱加工用机床上料辅助装置 | |
| CN112959105A (zh) | 一种薄板数控加工夹具 | |
| CN219789572U (zh) | 异形玻璃面板生产用印刷装置 | |
| CN221185465U (zh) | 一种多面锁螺丝辅助设备 | |
| CN217513549U (zh) | 一种光学镜片定位削边装置 | |
| CN221109660U (zh) | 一种折弯机定位机构 | |
| CN218659623U (zh) | 一种带多工位板材钻铣设备 |
Legal Events
| Date | Code | Title | Description |
|---|---|---|---|
| PB01 | Publication | ||
| PB01 | Publication | ||
| SE01 | Entry into force of request for substantive examination | ||
| SE01 | Entry into force of request for substantive examination | ||
| RJ01 | Rejection of invention patent application after publication |
Application publication date: 20210430 |
|
| RJ01 | Rejection of invention patent application after publication |