CN112715456B - Prawn feeding device based on centrifugal technology - Google Patents
Prawn feeding device based on centrifugal technology Download PDFInfo
- Publication number
- CN112715456B CN112715456B CN202110192724.0A CN202110192724A CN112715456B CN 112715456 B CN112715456 B CN 112715456B CN 202110192724 A CN202110192724 A CN 202110192724A CN 112715456 B CN112715456 B CN 112715456B
- Authority
- CN
- China
- Prior art keywords
- feed
- centrifugal
- culture pond
- support rod
- feeding device
- Prior art date
- Legal status (The legal status is an assumption and is not a legal conclusion. Google has not performed a legal analysis and makes no representation as to the accuracy of the status listed.)
- Active
Links
- 241000238557 Decapoda Species 0.000 title claims abstract description 32
- 230000007246 mechanism Effects 0.000 claims description 24
- 238000003756 stirring Methods 0.000 claims description 4
- 238000009395 breeding Methods 0.000 description 12
- 230000001488 breeding effect Effects 0.000 description 12
- 230000009471 action Effects 0.000 description 2
- 230000005540 biological transmission Effects 0.000 description 2
- 235000013305 food Nutrition 0.000 description 2
- 235000003642 hunger Nutrition 0.000 description 2
- 238000009434 installation Methods 0.000 description 2
- XLYOFNOQVPJJNP-UHFFFAOYSA-N water Substances O XLYOFNOQVPJJNP-UHFFFAOYSA-N 0.000 description 2
- 241000251468 Actinopterygii Species 0.000 description 1
- 241000237858 Gastropoda Species 0.000 description 1
- 241000238631 Hexapoda Species 0.000 description 1
- 241000361919 Metaphire sieboldi Species 0.000 description 1
- 241001465754 Metazoa Species 0.000 description 1
- 230000006978 adaptation Effects 0.000 description 1
- 238000009360 aquaculture Methods 0.000 description 1
- 244000144974 aquaculture Species 0.000 description 1
- 230000009286 beneficial effect Effects 0.000 description 1
- 230000008859 change Effects 0.000 description 1
- 238000010586 diagram Methods 0.000 description 1
- 239000000463 material Substances 0.000 description 1
- 235000013372 meat Nutrition 0.000 description 1
- 238000000034 method Methods 0.000 description 1
- 230000007704 transition Effects 0.000 description 1
- 235000013311 vegetables Nutrition 0.000 description 1
- 239000002699 waste material Substances 0.000 description 1
Images
Classifications
-
- A—HUMAN NECESSITIES
- A01—AGRICULTURE; FORESTRY; ANIMAL HUSBANDRY; HUNTING; TRAPPING; FISHING
- A01K—ANIMAL HUSBANDRY; AVICULTURE; APICULTURE; PISCICULTURE; FISHING; REARING OR BREEDING ANIMALS, NOT OTHERWISE PROVIDED FOR; NEW BREEDS OF ANIMALS
- A01K61/00—Culture of aquatic animals
- A01K61/80—Feeding devices
-
- Y—GENERAL TAGGING OF NEW TECHNOLOGICAL DEVELOPMENTS; GENERAL TAGGING OF CROSS-SECTIONAL TECHNOLOGIES SPANNING OVER SEVERAL SECTIONS OF THE IPC; TECHNICAL SUBJECTS COVERED BY FORMER USPC CROSS-REFERENCE ART COLLECTIONS [XRACs] AND DIGESTS
- Y02—TECHNOLOGIES OR APPLICATIONS FOR MITIGATION OR ADAPTATION AGAINST CLIMATE CHANGE
- Y02A—TECHNOLOGIES FOR ADAPTATION TO CLIMATE CHANGE
- Y02A40/00—Adaptation technologies in agriculture, forestry, livestock or agroalimentary production
- Y02A40/80—Adaptation technologies in agriculture, forestry, livestock or agroalimentary production in fisheries management
- Y02A40/81—Aquaculture, e.g. of fish
Landscapes
- Life Sciences & Earth Sciences (AREA)
- Environmental Sciences (AREA)
- Marine Sciences & Fisheries (AREA)
- Zoology (AREA)
- Animal Husbandry (AREA)
- Biodiversity & Conservation Biology (AREA)
- Fodder In General (AREA)
- Farming Of Fish And Shellfish (AREA)
Abstract
The invention discloses a prawn feeding device based on a centrifugal technology, which belongs to the technical field of prawn cultivation and comprises a support rod arranged at the edge of a cultivation pool, wherein a feed bin is arranged at one end of the support rod, the feed bin is arranged outside the cultivation pool, centrifugal equipment capable of containing feed is arranged at the other end of the support rod, the other end of the support rod can extend to the central part of the cultivation pool, the centrifugal equipment is positioned above the cultivation pool and rotates around an axis vertical to the support rod, and the feed is thrown into the cultivation pool through a discharge hole in the side wall of the centrifugal equipment. According to the invention, the supporting rod is arranged at the edge of the culture pond, and the centrifugal equipment is arranged at one end of the supporting rod extending to the central part of the culture pond, so that the feed in the centrifugal equipment can be uniformly thrown into the culture pond. The invention can improve the feed feeding efficiency, reduce the labor intensity of workers, and enlarge the feed throwing area, is particularly suitable for large-scale prawn culture, and is convenient to popularize and apply.
Description
Technical Field
The invention belongs to the technical field of prawn culture, and particularly relates to a prawn feeding device based on a centrifugal technology.
Background
With the change of natural environment, the prawn can form the life habit of omnivorous sex by utilizing the diversity of the bait variety and the adaptation to the hunger pressure. Since prawns have a habit of eating both meat and vegetables and like eating animal foods such as fish, shrimp, snail, worm, earthworm, insect and larva thereof, and eating the same kind of food which is injured or just molted, under the condition of high reproduction density or hunger, "tragic" of killing prawns mutually often occurs between prawns, and the just-molted prawns and young prawns often become "strong" prawns in a dish ".
In view of the obvious mutual cannibalism of prawns, the traditional feeding mode is not suitable for large-scale cultivation. Because the current breed pond is usually very big in area, and the fodder is thrown something and is fed and often takes the mode of walking around the pond, artifical manual sprinkling fodder, and this kind of mode of throwing something and feeding is inefficient, intensity of labour is big, and artifical sprinkling distance is limited in addition, is not enough to cover the area in real breed pond, has the inhomogeneous phenomenon of throwing something and feeding, has seriously restricted the development of shrimp aquaculture.
Disclosure of Invention
The invention aims to provide a prawn feeding device based on a centrifugal technology, and aims to solve the technical problems that in the prior art, the manual feeding efficiency is low, and the feeding is uneven.
In order to solve the technical problems, the technical scheme adopted by the invention is as follows:
the utility model provides a device is thrown something and fed to shrimp based on centrifugal technology, is including setting up in the bracing piece of breeding pond edge, the one end of bracing piece is equipped with the feed bin, the feed bin sets up in the outside of breeding the pond, the other end of bracing piece is equipped with the centrifugal equipment that can hold the fodder, the other end of bracing piece can extend to the central point of breeding the pond, makes the centrifugal equipment be in the top of breeding the pond, the centrifugal equipment is rotatory around the axis of perpendicular to bracing piece, and the discharge hole through on the lateral wall of centrifugal equipment is to the interior fodder of shedding of breeding the pond.
Preferably, centrifugal equipment includes cylindric feedbox and driver part, the inside of feedbox can hold the fodder, all be equipped with the discharge opening on the lateral wall of feedbox and the diapire, driver part drives the feedbox and rotates, makes the inside fodder of feedbox shed to breeding in the pond along the discharge opening.
Preferably, the inside of feedbox is equipped with the heliciform stirring leaf for throw away the fodder along the discharge opening on the feedbox lateral wall from bottom to top.
Preferably, the support rod is provided with a guide rail arranged along the length direction of the support rod, the centrifugal equipment is in sliding fit with the guide rail through a sliding block, and the sliding block is driven to move along the guide rail through a moving mechanism.
Preferably, the moving mechanism comprises a traction rope and a retraction mechanism for driving the traction rope, and the retraction mechanism is arranged at the edge of the culture pond; the slider is fixed in on the haulage rope, keeps away from or is close to the feed bin along the bracing piece through the drive centrifugal equipment of jack mechanism.
Preferably, the moving mechanism comprises a motor, a driving wheel, a driven wheel and a conveyor belt, the driving wheel is arranged at one end of the support rod close to the edge of the culture pond, the motor for driving the driving wheel is arranged at the edge of the culture pond, the driven wheel is arranged at the other end of the support rod, and the conveyor belt is matched with the driving wheel and the driven wheel; the sliding block is fixed on the conveying belt; the motor drives the conveying belt to drive the centrifugal equipment to be far away from or close to the feed bin along the supporting rod.
Preferably, the top of feedbox is equipped with the feed inlet, be equipped with screw conveyer between the feed inlet of the discharge gate of feedbox and feedbox.
Preferably, the discharge hole of the feed bin is provided with a metering module for metering the weight of the feed added into the feed box.
Preferably, the support rod is of a telescopic structure and is formed by sequentially sleeving a plurality of telescopic arms.
Preferably, the culture pond is circular or polygonal, and the support rods are radially arranged on the edge of the culture pond.
Adopt the produced beneficial effect of above-mentioned technical scheme to lie in: compared with the prior art, the feed centrifugal device has the advantages that the supporting rods are arranged at the edges of the culture pond, and the centrifugal device is arranged at one end of the supporting rod extending to the central part of the culture pond, so that the feed in the centrifugal device can be uniformly thrown into the culture pond. The invention can improve the feed feeding efficiency, reduce the labor intensity of workers, and enlarge the feed throwing area, is particularly suitable for large-scale prawn culture, and is convenient to popularize and apply.
Drawings
The present invention will be described in further detail with reference to the accompanying drawings and specific embodiments.
Fig. 1 is a schematic structural diagram of a prawn feeding device based on a centrifugal technology according to an embodiment of the invention;
fig. 2 is a schematic view of the installation of a feedbox according to another embodiment of the present invention;
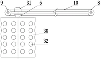
in the figure: 00-a culture pond; 1-a support rod, 2-a feed bin, 3-a centrifugal device, 32-a feed box, 31-a driving part and 30-a discharge hole; 4-guide rail, 5-slide block, 6-traction rope, 7-retraction mechanism, 8-driving wheel, 9-driven wheel, 10-conveying belt and 11-mounting seat.
Detailed Description
The technical solutions in the embodiments of the present invention are clearly and completely described below with reference to the drawings in the embodiments of the present invention, and it is obvious that the described embodiments are only a part of the embodiments of the present invention, and not all of the embodiments. All other embodiments, which can be derived by a person skilled in the art from the embodiments given herein without making any creative effort, shall fall within the protection scope of the present invention.
As shown in fig. 1, a shrimp feeding device based on centrifugal technology, including setting up in the bracing piece 1 of breeding pond 00 edge, the one end of bracing piece 1 is equipped with the feed bin 2, the feed bin 2 sets up in the outside of breeding pond 00, the other end of bracing piece 1 is equipped with the centrifugal equipment 3 that can hold the fodder, the other end of bracing piece 1 can extend to the central point of breeding pond 00, makes centrifugal equipment 3 be in the top of breeding pond 00, centrifugal equipment 3 is rotatory around the axis of perpendicular to bracing piece 1, throws the fodder in breeding pond 00 through discharge opening 30 on the lateral wall of centrifugal equipment 3. The centrifugal equipment adopting high-speed rotation can throw away the fodder in the inner cavity of the centrifugal equipment from the discharge hole under the action of centrifugal force, and the purpose of uniformly feeding the fodder is realized.
In one embodiment of the present invention, as shown in fig. 1 and 2, the centrifugal device 3 includes a cylindrical feedbox 32 and a driving member 31, the feedbox 32 can contain feed therein, the side wall and the bottom wall of the feedbox 32 are both provided with discharge holes 30, and the driving member 31 drives the feedbox 32 to rotate, so that the feed inside the feedbox 32 is thrown into the cultivation pond 00 along the discharge holes 30. Can install the feedbox in the below of bracing piece, make things convenient for the fodder to follow the discharge opening ejection of compact on lateral wall and the diapire, make the fodder of shedding away be circular cover whole breed pond's surface, ensure evenly to throw the material at the whole surface of water of breeding the pond.
Further optimize above-mentioned technical scheme, the inside of feedbox 32 is equipped with the heliciform stirring leaf for throw away fodder along discharge opening 30 on the feedbox 32 lateral wall from bottom to top. Considering the feedbox has certain height, the fodder can pile up in the bottom at the initial throwing, with the help of the heliciform stirring leaf that is driven by differential mechanism, can make the fodder obtain loose at the rotatory in-process along with the feedbox to make the fodder evenly shed along the discharge opening on the lateral wall.
In one embodiment of the present invention, as shown in fig. 1, the support rod 1 is provided with a guide rail 4 along the length direction thereof, the centrifugal device 3 is slidably engaged with the guide rail 4 through a slide block 5, and the slide block 5 is driven to move along the guide rail 4 through a moving mechanism. The centrifugal equipment can be driven by the moving mechanism to slide along the guide rail by utilizing the slide block, so that the centrifugal equipment is close to and far away from the culture pond.
In an embodiment of the present invention, as shown in fig. 1, the moving mechanism includes a pulling rope 6 and a retracting mechanism 7 for driving the pulling rope 6, the retracting mechanism 7 is disposed at the edge of the culture pond 00; the sliding block 5 is fixed on a traction rope 6, and the centrifugal device 3 is driven to be far away from or close to the feed bin 2 along the support rod 1 through a retraction mechanism 7. Wherein, the retraction mechanism can be a winch, and the winch can be used for driving the traction rope to drive the centrifugal equipment to move along the support rod.
In another embodiment of the present invention, as shown in fig. 2, the moving mechanism includes a motor (not shown), a driving wheel 8, a driven wheel 9 and a conveyor belt 10, the driving wheel 8 is disposed at one end of the support rod 1 near the edge of the culture pond 00, the motor for driving the driving wheel 8 is disposed at the edge of the culture pond 00, the driven wheel 9 is disposed at the other end of the support rod 1, and the conveyor belt 10 is engaged with the driving wheel 8 and the driven wheel 9; the sliding block 5 is fixed on the conveying belt 10; the motor drives the conveyor belt 10 to drive the centrifugal equipment to slide to the center of the culture pond along the support rod 1 to throw or be close to the feed bin 2 to add feed.
In addition, the moving mechanism can also adopt screw transmission or gear rack transmission to realize the movement of the centrifugal equipment along the supporting rod.
In one embodiment of the invention, a feed inlet is provided at the top of the feedbox 32, and a screw conveyor is provided between the discharge outlet of the feedbox 2 and the feed inlet of the feedbox 32. As a preferred scheme, a discharge port of the feed bin 2 is provided with a metering module for metering the weight of feed added into the feed box 32, controlling the feeding amount and scientifically feeding the feed.
In addition, the fodder can also be added into the feed box by using the lifting machine. Meanwhile, a metering module is installed at the bottom of a hopper of the elevator and used for metering the feed addition amount, so that the feeding amount can be flexibly controlled.
Further optimizing the technical scheme, the supporting rod 1 is of a telescopic structure and is formed by sequentially sleeving a plurality of telescopic arms. In view of the area in breed pond is great, the length of required bracing piece is very long, for convenient accomodating, installation, adopts telescopic bracing piece can receive under the condition that does not, avoids occupying great space.
In one embodiment of the present invention, as shown in fig. 1, the cultivation pond 00 is circular, and the support rods 1 are radially arranged at the edge of the cultivation pond 00. Wherein, the supporting rod 1 can be fixed on the edge of the culture pond 00 through the mounting seat 11. Meanwhile, the motor of the moving mechanism is also fixed on the mounting seat, and the feed bin can be fixed on the mounting seat or fixed on one side of the mounting seat, so that feed can be conveniently added into the feed bin. In addition, the culture pond is not limited to be round, and other polygons such as a rectangle or an octagon can be adopted, and the corners can be in circular arc transition.
In conclusion, the invention has the advantages of simple and compact structure, high feeding efficiency and uniform feed feeding, the centrifugal equipment can throw out the internal feed along the discharge holes on the side wall under the action of centrifugal force, and the discharge holes on the bottom wall discharge downwards, so that the thrown feed can comprehensively cover the water surface of the culture pond, and the phenomenon of putting and robbing the feed of prawns during feeding is avoided. The feed feeding device is time-saving and labor-saving, can reduce the labor cost investment of prawn feeding, liberates part of labor force, simultaneously reduces the feed waste phenomenon, has high feed feeding precision, and promotes the rapid propagation of prawns.
In the description above, numerous specific details are set forth in order to provide a thorough understanding of the present invention, but the present invention may be practiced in other ways than those specifically described and will be readily apparent to those of ordinary skill in the art without departing from the spirit of the present invention, and thus the present invention is not limited to the specific embodiments disclosed above.
Claims (7)
1. The utility model provides a shrimp device of throwing something and feeding based on centrifugal technology which characterized in that: the feed bin is arranged outside the culture pond, centrifugal equipment capable of containing feed is arranged at the other end of the support rod, the other end of the support rod can extend to the center of the culture pond, the centrifugal equipment is located above the culture pond and rotates around an axis perpendicular to the support rod, and the feed is thrown into the culture pond through a discharge hole in the side wall of the centrifugal equipment; the centrifugal equipment comprises a cylindrical feed box and a driving part, feed can be contained in the feed box, discharge holes are formed in the side wall and the bottom wall of the feed box, and the driving part drives the feed box to rotate so that the feed in the feed box is thrown into the culture pond along the discharge holes; the feed box is arranged below the supporting rod, and feed is discharged from the discharge holes in the side wall and the bottom wall, so that the thrown feed circularly covers the surface of the whole culture pond; the spiral stirring blades are arranged inside the feed box and are used for throwing the feed out along the discharge holes in the side wall of the feed box from bottom to top; the support rod is provided with a guide rail arranged along the length direction of the support rod, the support rod is of a cantilever beam structure, and the guide rail is a linear guide rail; the centrifugal equipment is in sliding fit with the guide rail through a sliding block, and the sliding block is driven to move along the guide rail through a moving mechanism.
2. A centrifugal technology based prawn feeding device according to claim 1, characterized in that: the moving mechanism comprises a traction rope and a retracting mechanism for driving the traction rope, and the retracting mechanism is arranged at the edge of the culture pond; the slider is fixed in on the haulage rope, keeps away from or is close to the feed bin along the bracing piece through the drive centrifugal equipment of jack mechanism.
3. A centrifugal technology based prawn feeding device as claimed in claim 1, characterised in that: the moving mechanism comprises a motor, a driving wheel, a driven wheel and a conveying belt, the driving wheel is arranged at one end of the supporting rod close to the edge of the culture pond, the motor for driving the driving wheel is arranged at the edge of the culture pond, the driven wheel is arranged at the other end of the supporting rod, and the conveying belt is matched with the driving wheel and the driven wheel; the sliding block is fixed on the conveying belt; the motor drives the conveying belt to drive the centrifugal equipment to be far away from or close to the feed bin along the supporting rod.
4. A centrifugal technology based prawn feeding device as claimed in claim 1, characterised in that: the top of feedbox is equipped with the feed inlet, be equipped with screw conveyer between the feed inlet of the discharge gate of feedbox and feedbox.
5. A centrifugal technology based prawn feeding device as claimed in claim 4, wherein: the feed bin is characterized in that a discharge hole of the feed bin is provided with a metering module for metering the weight of feed added into the feed bin.
6. A centrifugal technology based prawn feeding device as claimed in claim 1, characterised in that: the supporting rod is of a telescopic structure and is formed by sequentially sleeving a plurality of telescopic arms.
7. A prawn feeding device based on centrifugal technology as claimed in any one of claims 1-6, characterised in that: the culture pond is circular or polygonal, and the support rods are radially arranged on the edge of the culture pond.
Priority Applications (1)
| Application Number | Priority Date | Filing Date | Title |
|---|---|---|---|
| CN202110192724.0A CN112715456B (en) | 2021-02-20 | 2021-02-20 | Prawn feeding device based on centrifugal technology |
Applications Claiming Priority (1)
| Application Number | Priority Date | Filing Date | Title |
|---|---|---|---|
| CN202110192724.0A CN112715456B (en) | 2021-02-20 | 2021-02-20 | Prawn feeding device based on centrifugal technology |
Publications (2)
| Publication Number | Publication Date |
|---|---|
| CN112715456A CN112715456A (en) | 2021-04-30 |
| CN112715456B true CN112715456B (en) | 2022-05-31 |
Family
ID=75596986
Family Applications (1)
| Application Number | Title | Priority Date | Filing Date |
|---|---|---|---|
| CN202110192724.0A Active CN112715456B (en) | 2021-02-20 | 2021-02-20 | Prawn feeding device based on centrifugal technology |
Country Status (1)
| Country | Link |
|---|---|
| CN (1) | CN112715456B (en) |
Families Citing this family (2)
| Publication number | Priority date | Publication date | Assignee | Title |
|---|---|---|---|---|
| CN114128666A (en) * | 2021-12-08 | 2022-03-04 | 赵奔 | Aquaculture pond |
| CN115735826A (en) * | 2022-11-15 | 2023-03-07 | 童小威 | A evenly spill material device for small-shed shrimp is bred |
Family Cites Families (9)
| Publication number | Priority date | Publication date | Assignee | Title |
|---|---|---|---|---|
| JP2011223908A (en) * | 2010-04-19 | 2011-11-10 | Takusui:Kk | Aquaculture method and facility of bivalve |
| CN104872040B (en) * | 2015-06-09 | 2017-03-22 | 卢丽花 | Intelligent swinging-type feeding device |
| CN105941246B (en) * | 2016-07-20 | 2019-03-29 | 荣成市渔业技术推广站 | A kind of pivot angle batch charger of cultivation |
| CN205830794U (en) * | 2016-07-21 | 2016-12-28 | 张嘉强 | A kind of prawn culturing moving charging device |
| CN209002620U (en) * | 2018-08-16 | 2019-06-21 | 南通金伟农畜牧科技有限公司 | A kind of indoor aquaculture device convenient for being equipped with feed |
| CN210143586U (en) * | 2019-04-09 | 2020-03-17 | 熊文芳 | Shrimp breeding device that can throw material automatically |
| CN210168763U (en) * | 2019-04-09 | 2020-03-24 | 包新辉 | Prawn is bred with throwing material equipment |
| CN110326577B (en) * | 2019-08-21 | 2024-02-09 | 上海海洋大学 | Feeding device for penaeus vannamei boone culture pond |
| CN112119966A (en) * | 2020-10-12 | 2020-12-25 | 陈久强 | Be convenient for throw material formula aquaculture pond |
-
2021
- 2021-02-20 CN CN202110192724.0A patent/CN112715456B/en active Active
Also Published As
| Publication number | Publication date |
|---|---|
| CN112715456A (en) | 2021-04-30 |
Similar Documents
| Publication | Publication Date | Title |
|---|---|---|
| CN112715456B (en) | Prawn feeding device based on centrifugal technology | |
| CN109089984B (en) | Breed pond and eat ship with feeding | |
| CN208754968U (en) | A kind of material-strewing device of aquaculture | |
| CN112471035A (en) | Feeding device for aquaculture | |
| CN111466328B (en) | Aquaculture oxygen suppliment is thrown and is expected integrated system | |
| CN108323466B (en) | Feed delivery device for aquaculture | |
| CN215224017U (en) | Timed automatic feeding equipment for aquaculture | |
| CN114793986A (en) | Crayfish is bred and throws feeding device with fodder | |
| CN215074651U (en) | Pig is with automatic feeding device that clears up | |
| CN215123143U (en) | Livestock-raising is with fodder dispensing device of recoverable clout | |
| CN113711961A (en) | Culture box for shrimp graded culture and culture method thereof | |
| CN113692984A (en) | Automatic grass supplying mechanism and cattle and sheep breeding shed based on same | |
| CN210610710U (en) | Fish culture feeding device | |
| CN209964987U (en) | Can throw breed pond of material automatically and quantitatively | |
| CN114190318B (en) | A high efficiency feed mixing input device for aquaculture uses | |
| CN214903134U (en) | An automatic feeding device for perch farming | |
| CN116508704A (en) | Feeder for aquaculture | |
| CN213663153U (en) | Automatic blowing device of thing networking aquatic products | |
| CN109042426A (en) | One kind being based on artificial intelligence fish meal delivery device | |
| CN219514970U (en) | Feeding device for aquaculture | |
| CN210328967U (en) | A material device is thrown to fodder for fishery is bred | |
| CN108849680B (en) | Aquaculture eats equipment with feeding | |
| CN218389369U (en) | Feeding mechanism of fish and vegetable symbiotic culture barrel | |
| CN221329869U (en) | Grass carp breeding bait casting device | |
| CN214961970U (en) | A feeding device based on deep sea aquaculture |
Legal Events
| Date | Code | Title | Description |
|---|---|---|---|
| PB01 | Publication | ||
| PB01 | Publication | ||
| SE01 | Entry into force of request for substantive examination | ||
| SE01 | Entry into force of request for substantive examination | ||
| GR01 | Patent grant | ||
| GR01 | Patent grant | ||
| TR01 | Transfer of patent right | ||
| TR01 | Transfer of patent right |
Effective date of registration: 20221010 Address after: No. 50, Lvzhou Second Road, Huanghuangkou Town, Kenli District, Dongying City, Shandong Province 257509 Patentee after: Shandong ward Agricultural Development Co.,Ltd. Address before: No.50, oasis 2nd Road, Huanghekou Town, Kenli District, Dongying City, Shandong Province Patentee before: Dongying Kuohai Products Technology Co.,Ltd. |