CN112688187A - Dustproof electric power cabinet of electric power - Google Patents

Dustproof electric power cabinet of electric power Download PDF

Info

Publication number
CN112688187A
CN112688187A CN202011519349.8A CN202011519349A CN112688187A CN 112688187 A CN112688187 A CN 112688187A CN 202011519349 A CN202011519349 A CN 202011519349A CN 112688187 A CN112688187 A CN 112688187A
Authority
CN
China
Prior art keywords
bolts
cabinet
air
louver
fixedly installed
Prior art date
Legal status (The legal status is an assumption and is not a legal conclusion. Google has not performed a legal analysis and makes no representation as to the accuracy of the status listed.)
Granted
Application number
CN202011519349.8A
Other languages
Chinese (zh)
Other versions
CN112688187B (en
Inventor
张旭芬
Current Assignee (The listed assignees may be inaccurate. Google has not performed a legal analysis and makes no representation or warranty as to the accuracy of the list.)
Shaanxi Qin'en Electric Power Technology Co ltd
Original Assignee
Zibo Vocational Institute
Priority date (The priority date is an assumption and is not a legal conclusion. Google has not performed a legal analysis and makes no representation as to the accuracy of the date listed.)
Filing date
Publication date
Application filed by Zibo Vocational Institute filed Critical Zibo Vocational Institute
Priority to CN202011519349.8A priority Critical patent/CN112688187B/en
Publication of CN112688187A publication Critical patent/CN112688187A/en
Application granted granted Critical
Publication of CN112688187B publication Critical patent/CN112688187B/en
Active legal-status Critical Current
Anticipated expiration legal-status Critical

Links

Images

Landscapes

  • Cooling Or The Like Of Electrical Apparatus (AREA)

Abstract

本发明公开了一种电力防尘电力柜,包括柜体、柜门、第一隔离板、驱动电机、第二隔离板、风机和百叶格栅片,所述分气管远离所述百叶格栅片的一端通过螺栓与所述排气管固定连接,所述百叶格栅片下表面均匀开设有贯穿所述导气腔的散热孔;本发明通过散热孔将热空气垂直吹到下方的百叶格栅片上表面,由于百叶格栅片上表面倾斜设置,然后从散热孔吹向百叶格栅片上表面的热空气沿着百叶格栅片上表面吹向散热窗口外侧,从而避免外界的灰尘通过散热窗口进入到柜体内部,这样保证散热窗口正常散热的情况下,能够阻挡灰尘通过散热窗口进入到柜体内部,避免灰尘对电力柜内部电力部件造成损害。

Figure 202011519349

The invention discloses an electric dust-proof power cabinet, comprising a cabinet body, a cabinet door, a first isolation plate, a driving motor, a second isolation plate, a fan and a louver grille, and the air distribution pipe is far away from the louver grille. One end of the louver is fixedly connected to the exhaust pipe by bolts, and the lower surface of the louver grille is evenly provided with heat dissipation holes that penetrate the air guide cavity; the present invention blows hot air vertically to the louver grille below through the heat dissipation holes Since the upper surface of the louver grille is inclined, the hot air blowing from the heat dissipation holes to the upper surface of the louver grille is blown to the outside of the heat dissipation window along the upper surface of the louver grille, so as to prevent the outside dust from entering the cabinet through the heat dissipation window. In this way, under the condition of normal heat dissipation of the heat dissipation window, it can prevent dust from entering the inside of the cabinet through the heat dissipation window, so as to prevent the dust from causing damage to the power components inside the power cabinet.

Figure 202011519349

Description

Dustproof electric power cabinet of electric power
Technical Field
The invention relates to the technical field of electric power cabinets, in particular to an electric power dustproof electric power cabinet.
Background
The electric cabinet is a common electric power infrastructure, and a large number of electric power components are arranged in the electric power cabinet; when the electric power cabinet works, a large amount of heat is generated inside the electric power cabinet, so that a heat dissipation window is arranged on the cabinet body of the electric power cabinet; the basic structure of the existing heat dissipation window is a strip-shaped louver, namely, a group of parallel strip-shaped holes are formed in the side wall of a cabinet body, strip-shaped eaves which are turned downwards and surround the strip-shaped holes are arranged at the upper parts of the strip-shaped holes, and the strip-shaped eaves are used for shielding the strip-shaped holes from rainwater.
But the dust can't be blockked by the strip eaves, and the dust is usually from subaerial uplift, consequently gets into the strip downthehole again behind the encirclement region of strip eaves very easily, can think, the dust that has made things convenient for more in the setting of strip eaves gets into electric power cabinet to cause the harm to electric power cabinet inside power component, consequently one kind can prevent that the dust from passing through tripe grid department and entering into the electric power cabinet of cabinet body inside.
Disclosure of Invention
The invention aims to provide an electric power dustproof electric power cabinet to solve the problems in the background technology.
In order to achieve the purpose, the invention provides the following technical scheme: an electric power dustproof electric cabinet comprises a cabinet body, a cabinet door, a first isolation plate, a driving motor, a second isolation plate, a fan and louver pieces, wherein the cabinet door is rotatably installed on the front face of the cabinet body, the first isolation plate is fixedly installed at the bottom of the inner side of the cabinet body through bolts, vent holes are uniformly formed in the center of the surface of the first isolation plate, an air inlet cavity is formed between the lower surface of the first isolation plate and the inner wall of the cabinet body, the driving motor is fixedly installed at the center of the bottom of the air inlet cavity through bolts, fan blades are fixedly installed at the output end of the driving motor through bolts, a vent hole penetrating through the air inlet cavity is formed in the bottom of one side of the cabinet body, the fan is fixedly installed at one side of the top of the inner wall of the cabinet body through bolts, the second isolation plate is fixedly installed at one side, close to the fan, of the inner wall, the air blower is characterized in that the air blower output end is provided with an exhaust pipe penetrating through the second isolation plate through bolt fixing, a heat dissipation window is arranged at the center of the side face of the cabinet body, louver grid pieces are evenly and fixedly arranged on the inner side of the heat dissipation window through bolts, an air guide cavity is arranged at the center of the inner part of each louver grid piece, an air inlet penetrating through the air guide cavity is formed in the rear side of each louver grid piece, an air distribution pipe is arranged on one side of the air inlet through bolt fixing and is far away from one end of each louver grid piece through bolts and the exhaust pipe in fixed connection, and heat dissipation holes penetrating through the air guide cavity are evenly formed in the lower surface of each louver grid piece.
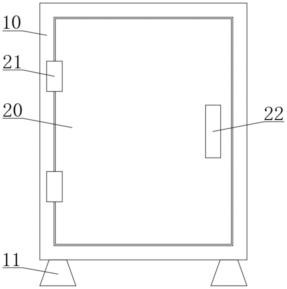
Wherein, four edges of the bottom of the cabinet body are fixedly provided with supporting legs through bolts.
The hinge is fixedly installed on one side of the front face of the cabinet body through the bolt, the cabinet door is rotatably installed on the front face of the cabinet body through the hinge, and the handle is fixedly installed on one side of the cabinet door, which is far away from the hinge, through the bolt.
Wherein, the intracavity portion of admitting air is close to one side of vent has the primary filter screen through bolt fixed mounting, the intracavity portion of admitting air is close to one side of primary filter screen has high-efficient filter screen through bolt fixed mounting.
Wherein the fan blade is positioned right below the axle center of the first isolation plate.
The air inlet pipe penetrates through the axis of the second isolation plate, and a gas collecting hood is fixedly installed at one end, far away from the fan, of the air inlet pipe through a bolt.
The louver grating pieces are obliquely arranged, and the inclination angle of the louver grating pieces is 20 degrees.
The front side face of each louver grating piece is vertically arranged, the rear side face of each louver grating piece is vertically arranged, and the upper surface and the lower surface of each louver grating piece are obliquely arranged.
Compared with the prior art, the invention has the beneficial effects that:
according to the invention, hot air in the cabinet body is extracted by the fan, then the extracted hot air is conveyed to the air distribution pipe by the exhaust pipe, then the air distribution pipe conveys the hot air into the air guide cavity through the air inlet hole, and then the hot air is vertically blown to the upper surface of the louver grating sheet below through the heat dissipation holes.
Drawings
FIG. 1 is a schematic overall front view of the present invention;
FIG. 2 is a schematic sectional view of the cabinet body of the present invention;
FIG. 3 is an enlarged view of part A of FIG. 2;
FIG. 4 is a rear view of the louver blades of the present invention.
In FIGS. 1-4: 10. a cabinet body; 11. supporting legs; 12. a vent; 13. a heat dissipation window; 20. a cabinet door; 21. a hinge; 22. a handle; 30. a first separator plate; 31. a vent hole; 32. an air inlet cavity; 33. a primary filter screen; 34. a high-efficiency filter screen; 40. a drive motor; 41. a fan blade; 50. a second separator plate; 60. a fan; 61. an air inlet pipe; 62. a gas-collecting hood; 63. an exhaust pipe; 64. a gas distributing pipe; 70. louver grating pieces; 71. a gas conducting cavity; 72. an air inlet; 73. and (4) heat dissipation holes.
Detailed Description
The technical solutions in the embodiments of the present invention will be clearly and completely described below with reference to the drawings in the embodiments of the present invention, and it is obvious that the described embodiments are only a part of the embodiments of the present invention, and not all of the embodiments. All other embodiments, which can be derived by a person skilled in the art from the embodiments given herein without making any creative effort, shall fall within the protection scope of the present invention.
Referring to fig. 1-4, the present invention provides a technical solution: an electric power dustproof electric power cabinet comprises a cabinet body 10, a cabinet door 20, a first isolation plate 30, a driving motor 40, a second isolation plate 50, a fan 60 and louver blades 70.
Wherein, four edges of the cabinet body 10 bottom all have supporting legs 11 through bolt fixed mounting, keep apart the cabinet body 10 and ground through supporting legs 11, avoid subaerial moisture to permeate to the cabinet body 10 inside.
Wherein, cabinet body 10 openly rotates installs cabinet door 20, and there is hinge 21 cabinet body 10 positive one side through bolt fixed mounting, and cabinet door 20 rotates through hinge 21 to be installed openly at cabinet body 10, and there is handle 22 cabinet door 20 openly keeps away from one side of hinge 21 through bolt fixed mounting, rotates cabinet door 20 and cabinet body 10 through hinge 21 and connects, has made things convenient for opening of cabinet door 20 individual, through the positive handle 22 of cabinet door 20, and the user can hand handle 22 like this and open and shut cabinet door 20.
Wherein, there is first division board 30 bottom of the cabinet body 10 inboard through bolt fixed mounting, air vent 31 has evenly been seted up to the center department on first division board 30 surface, be formed with air intake chamber 32 between first division board 30 lower surface and the cabinet body 10 inner wall, there is driving motor 40 at the center department of air intake chamber 32 bottom through bolt fixed mounting, there is flabellum 41 at the driving motor 40 output through bolt fixed mounting, vent 12 that runs through air intake chamber 32 is seted up to the bottom of the cabinet body 10 one side, there is primary filter screen 33 at the inside one side that is close to vent 12 of air intake chamber 32 through bolt fixed mounting, there is high efficiency filter screen 34 at the inside one side that is close to primary filter screen 33 of air intake chamber 32 through bolt fixed mounting, flabellum 41 is located under first division board 30 axle center.
Wherein, when fan 60 during operation, fan 60 takes the inside air of the cabinet body 10 out through intake pipe 61, open driving motor 40 simultaneously, then driving motor 40 drives flabellum 41 and rotates, then flabellum 41 blows the inside air in chamber 32 to the cabinet body 10 inside through air vent 31, and reduced the inside atmospheric pressure in chamber 32 that admits air, then external air enters into chamber 32 that admits air through blow vent 12 in, loop through primary filter net 33 and high-efficient filter net 34 simultaneously and filter the inside air that gets into chamber 32 that admits air, it has the dust to avoid entering into in the inside air in chamber 32 that admits air.
Wherein, there is fan 60 one side at cabinet body 10 inner wall top through bolt fixed mounting, there is second division board 50 one side that cabinet body 10 inner wall is close to fan 60 through bolt fixed mounting, there is an intake pipe 61 that runs through second division board 50 at the fan 60 input through bolt fixed mounting, there is an exhaust pipe 63 that runs through second division board 50 at the fan 60 output through bolt fixed mounting, heat dissipation window 13 has been seted up to the center department of cabinet body 10 side, there is louvre grid piece 70 heat dissipation window 13 inboard through the even fixed mounting of bolt.
Wherein, can distribute away the heat that the inside electronic components work of cabinet body 10 produced through heat dissipation window 13, evenly set up louvre grid piece 70 in heat dissipation window 13 is inside, can play rainproof effect through louvre grid piece 70, avoid the rainwater to pass through heat dissipation window 13 seepage to the inside of cabinet body 10.
Wherein, the center of the interior of the louver grid piece 70 is provided with an air guide cavity 71, the rear side of the louver grid piece 70 is provided with an air inlet 72 penetrating the air guide cavity 71, one side of the rear side of the louver grid piece 70 surrounding the air inlet 72 is fixedly provided with an air distributing pipe 64 through a bolt, one end of the air distributing pipe 64 far away from the louver grid piece 70 is fixedly connected with an exhaust pipe 63 through a bolt, and the lower surface of the louver grid piece 70 is uniformly provided with heat dissipation holes 73 penetrating the air guide cavity 71.
Wherein, when the electric cabinet is used, the fan 60 is turned on, then the fan 60 pumps out hot air generated by the operation of the electronic components in the cabinet body 10 through the air inlet pipe 61, the blower 60 then delivers the hot air to the distribution pipe 64 through the discharge duct 63, and the distribution pipe 64 delivers the hot air into the air guide chamber 71 through the intake holes 72, then the hot air is blown vertically to the upper surface of the lower louver blades 70 through the heat dissipation holes 73, since the upper surface of the louver blades 70 is obliquely arranged, and then the hot air blown from the louver holes 73 to the upper surface of the louver blades 70 is blown to the outside of the heat dissipation window 13 along the upper surface of the louver blades 70, thereby preventing external dust from entering the cabinet 10 through the heat dissipation window 13, and thus ensuring that under the condition that the heat dissipation window 13 dissipates heat normally, the dust can be prevented from entering the cabinet body 10 through the heat dissipation window 13, and the dust is prevented from damaging the electric power components in the electric power cabinet.
Wherein, the air inlet pipe 61 runs through the axis of the second isolation plate 50, and the end of the air inlet pipe 61 far away from the fan 60 is fixedly provided with the gas collecting hood 62 through a bolt, and hot air generated by the operation of the electronic components inside the cabinet 10 is conveniently extracted through the gas collecting hood 62.
Wherein, the louver blades 70 are obliquely arranged, and the inclination angle of the louver blades 70 is 20 degrees.
Wherein, the front side of the louver blades 70 is vertically arranged, the rear side of the louver blades 70 is vertically arranged, the upper surface and the lower surface of the louver blades 70 are both obliquely arranged, the louver blades 70 are obliquely arranged, external rainwater can be prevented from permeating into the cabinet body 10, and meanwhile, hot air blown to the upper surface of the louver blades 70 from the heat dissipation holes 73 can be blown to the outside of the heat dissipation window 13 along the upper surface of the louver blades 70.
The working principle is as follows: when the electric cabinet is used, the electronic components work in the electric cabinet to generate heat, then the fan 60 and the driving motor 40 are simultaneously turned on, then the fan 60 extracts hot air generated by the operation of the electronic components in the cabinet body 10 through the air inlet pipe 61, then the fan 60 delivers the hot air to the air distribution pipe 64 through the air outlet pipe 63, then the air distribution pipe 64 delivers the hot air into the air guide chamber 71 through the air inlet hole 72, and then the hot air is vertically blown to the upper surface of the lower louver blades 70 through the heat dissipation holes 73, because the upper surface of the louver blades 70 is obliquely arranged, then the hot air blown to the upper surface of the louver blades 70 from the heat dissipation holes 73 is blown to the outer side of the heat dissipation windows 13 along the upper surface of the louver blades 70, thereby preventing external dust from entering the interior of the cabinet body 10 through the heat dissipation windows 13, and thus preventing the dust from entering the interior of the cabinet body 10 through the heat dissipation windows 13 under, avoid the dust to cause the harm to the inside electric power part of electric power cabinet, driving motor 40 drives flabellum 41 and rotates simultaneously, then flabellum 41 will admit air the inside air in chamber 32 and blow to the internal portion of cabinet 10 through air vent 31, thereby guarantee the inside air flow of the internal portion of cabinet 10, and the inside atmospheric pressure in chamber 32 has been reduced admits air, then external air enters into chamber 32 of admitting air through blow vent 12, loop through just imitating filter screen 33 and high efficiency filter 34 simultaneously and filter the inside air that enters into chamber 32 of admitting air, it has the dust to avoid entering into in the inside air in chamber 32 of admitting air.
It is noted that, herein, relational terms such as first and second, and the like may be used solely to distinguish one entity or action from another entity or action without necessarily requiring or implying any actual such relationship or order between such entities or actions. Also, the terms "comprises," "comprising," or any other variation thereof, are intended to cover a non-exclusive inclusion, such that a process, method, article, or apparatus that comprises a list of elements does not include only those elements but may include other elements not expressly listed or inherent to such process, method, article, or apparatus.
Although embodiments of the present invention have been shown and described, it will be appreciated by those skilled in the art that changes, modifications, substitutions and alterations can be made in these embodiments without departing from the principles and spirit of the invention, the scope of which is defined in the appended claims and their equivalents.

Claims (8)

1.一种电力防尘电力柜,包括柜体(10)、柜门(20)、第一隔离板(30)、驱动电机(40)、第二隔离板(50)、风机(60)和百叶格栅片(70),其特征在于:所述柜体(10)正面转动安装有柜门(20),所述柜体(10)内侧的底部通过螺栓固定安装有第一隔离板(30),所述第一隔离板(30)表面的中心处均匀开设有通气孔(31),所述第一隔离板(30)下表面与所述柜体(10)内壁之间形成有进气腔(32),所述进气腔(32)底部的中心处通过螺栓固定安装有驱动电机(40),所述驱动电机(40)输出端通过螺栓固定安装有扇叶(41),所述柜体(10)一侧的底部开设有贯穿所述进气腔(32)的通风口(12),所述柜体(10)内壁顶部的一侧通过螺栓固定安装有风机(60),所述柜体(10)内壁靠近所述风机(60)的一侧通过螺栓固定安装有第二隔离板(50),所述风机(60)输入端通过螺栓固定安装有贯穿所述第二隔离板(50)的进气管(61),所述风机(60)输出端通过螺栓固定安装有贯穿所述第二隔离板(50)的排气管(63),所述柜体(10)侧面的中心处开设有散热窗口(13),所述散热窗口(13)内侧通过螺栓均匀固定安装有百叶格栅片(70),所述百叶格栅片(70)内部的中心处开设有导气腔(71),所述百叶格栅片(70)后侧开设有贯穿所述导气腔(71)的进气孔(72),所述百叶格栅片(70)后侧围绕所述进气孔(72)的一侧通过螺栓固定安装有分气管(64),所述分气管(64)远离所述百叶格栅片(70)的一端通过螺栓与所述排气管(63)固定连接,所述百叶格栅片(70)下表面均匀开设有贯穿所述导气腔(71)的散热孔(73)。1. An electric dust-proof power cabinet, comprising a cabinet body (10), a cabinet door (20), a first isolation plate (30), a drive motor (40), a second isolation plate (50), a fan (60) and The louver grille (70) is characterized in that: a cabinet door (20) is rotatably installed on the front of the cabinet body (10), and a first isolation plate (30) is fixedly installed on the bottom of the inner side of the cabinet body (10) by bolts. ), a vent hole (31) is evenly opened at the center of the surface of the first isolation plate (30), and an air intake is formed between the lower surface of the first isolation plate (30) and the inner wall of the cabinet (10). A cavity (32), a drive motor (40) is fixedly installed at the center of the bottom of the air intake cavity (32) by bolts, and a fan blade (41) is fixedly installed at the output end of the drive motor (40) by bolts. The bottom of one side of the cabinet body (10) is provided with a ventilation port (12) penetrating the air inlet cavity (32), and the fan (60) is fixedly installed on the top side of the inner wall of the cabinet body (10) by bolts, so The side of the inner wall of the cabinet body (10) close to the fan (60) is fixedly installed with a second isolation plate (50) through bolts, and the input end of the fan (60) is fixedly installed with bolts passing through the second isolation plate The air inlet pipe (61) of (50), the output end of the fan (60) is fixedly installed with an exhaust pipe (63) passing through the second isolation plate (50) by bolts, and the side of the cabinet (10) is installed with an exhaust pipe (63). A heat dissipation window (13) is opened at the center, a louver grille sheet (70) is evenly fixed and installed on the inner side of the heat dissipation window (13) by means of bolts, and an air guide cavity is opened at the center of the interior of the louver grille sheet (70). (71), the rear side of the louver grille piece (70) is provided with an air intake hole (72) passing through the air guide cavity (71), and the rear side of the louver grille piece (70) surrounds the air intake One side of the hole (72) is fixedly installed with an air distribution pipe (64) by means of bolts, and one end of the air distribution pipe (64) away from the louver grille sheet (70) is fixedly connected to the exhaust pipe (63) by means of bolts The lower surface of the louver grille sheet (70) is uniformly provided with heat dissipation holes (73) penetrating the air guide cavity (71). 2.根据权利要求1所述的一种电力防尘电力柜,其特征在于:所述柜体(10)底部的四个边角处均通过螺栓固定安装有支撑腿(11)。2 . The dust-proof electric power cabinet according to claim 1 , wherein the four corners of the bottom of the cabinet body ( 10 ) are fixedly installed with support legs ( 11 ) through bolts. 3 . 3.根据权利要求2所述的一种电力防尘电力柜,其特征在于:所述柜体(10)正面的一侧通过螺栓固定安装有铰链(21),所述柜门(20)通过所述铰链(21)转动安装在所述柜体(10)正面,所述柜门(20)正面远离所述铰链(21)的一侧通过螺栓固定安装有把手(22)。3 . The dust-proof electric power cabinet according to claim 2 , wherein a hinge ( 21 ) is fixedly installed on one side of the front of the cabinet body ( 10 ) by bolts, and the cabinet door ( 20 ) passes through the door ( 20 ). 4 . The hinge (21) is rotatably installed on the front of the cabinet body (10), and a handle (22) is fixed and installed on the front side of the cabinet door (20) away from the hinge (21) by bolts. 4.根据权利要求3所述的一种电力防尘电力柜,其特征在于:所述进气腔(32)内部靠近所述通风口(12)的一侧通过螺栓固定安装有初效过滤网(33),所述进气腔(32)内部靠近所述初效过滤网(33)的一侧通过螺栓固定安装有高效过滤网(34)。4. An electric dust-proof power cabinet according to claim 3, characterized in that: a side of the air inlet cavity (32) close to the air vent (12) is fixedly installed with a primary filter by bolts (33), a high-efficiency filter (34) is fixedly installed on the side of the air inlet chamber (32) close to the primary filter (33) by bolts. 5.根据权利要求4所述的一种电力防尘电力柜,其特征在于:所述扇叶(41)位于所述第一隔离板(30)轴心处的正下方。5 . The dust-proof electric power cabinet according to claim 4 , wherein the fan blade ( 41 ) is located just below the axis of the first isolation plate ( 30 ). 6 . 6.根据权利要求5所述的一种电力防尘电力柜,其特征在于:所述进气管(61)贯穿所述第二隔离板(50)的轴心处,且所述进气管(61)远离所述风机(60)的一端通过螺栓固定安装有集气罩(62)。6. An electric dust-proof power cabinet according to claim 5, characterized in that: the air intake pipe (61) penetrates through the axial center of the second isolation plate (50), and the air intake pipe (61) ) at one end away from the fan (60) is fixedly installed with a gas collecting hood (62) by means of bolts. 7.根据权利要求6所述的一种电力防尘电力柜,其特征在于:所述百叶格栅片(70)倾斜设置,所述百叶格栅片(70)的倾斜角度为20度。7 . The dust-proof electric power cabinet according to claim 6 , wherein the louver grille piece ( 70 ) is arranged obliquely, and the inclination angle of the louver grille piece ( 70 ) is 20 degrees. 8 . 8.根据权利要求7所述的一种电力防尘电力柜,其特征在于:所述百叶格栅片(70)前侧面垂直设置,所述百叶格栅片(70)后侧面垂直设置,所述百叶格栅片(70)上表面和下表面均倾斜设置。8 . The dust-proof electric power cabinet according to claim 7 , wherein the front side of the louver grille (70) is vertically arranged, and the rear side of the louver grille (70) is vertically arranged, so that the Both the upper surface and the lower surface of the louver grille sheet (70) are inclined.
CN202011519349.8A 2020-12-21 2020-12-21 Dustproof electric power cabinet of electric power Active CN112688187B (en)

Priority Applications (1)

Application Number Priority Date Filing Date Title
CN202011519349.8A CN112688187B (en) 2020-12-21 2020-12-21 Dustproof electric power cabinet of electric power

Applications Claiming Priority (1)

Application Number Priority Date Filing Date Title
CN202011519349.8A CN112688187B (en) 2020-12-21 2020-12-21 Dustproof electric power cabinet of electric power

Publications (2)

Publication Number Publication Date
CN112688187A true CN112688187A (en) 2021-04-20
CN112688187B CN112688187B (en) 2022-10-04

Family

ID=75449827

Family Applications (1)

Application Number Title Priority Date Filing Date
CN202011519349.8A Active CN112688187B (en) 2020-12-21 2020-12-21 Dustproof electric power cabinet of electric power

Country Status (1)

Country Link
CN (1) CN112688187B (en)

Cited By (1)

* Cited by examiner, † Cited by third party
Publication number Priority date Publication date Assignee Title
CN118399229A (en) * 2023-02-27 2024-07-26 南京旭冬升科技有限公司 A safety protection power cabinet

Citations (11)

* Cited by examiner, † Cited by third party
Publication number Priority date Publication date Assignee Title
CN105449557A (en) * 2015-11-27 2016-03-30 国家电网公司 Ventilation heat radiation device for low voltage complete set device
CN206432566U (en) * 2016-11-23 2017-08-22 孙兴旺 A kind of electric power cabinet of perfect heat-dissipating
CN107230940A (en) * 2017-07-11 2017-10-03 赵阳凯 A kind of electric power cabinet of rain-proof protection against electric shock
CN108123387A (en) * 2017-12-24 2018-06-05 乐清市驰林电气有限公司 There is the low-voltage distribution cabinet of radiating dustproof
CN208257227U (en) * 2018-06-28 2018-12-18 四川万达电气有限公司 A kind of high and low voltage switchgear with heat sinking function
CN208385970U (en) * 2018-07-23 2019-01-15 黑龙江科技大学 A kind of electrical engineering electric power cabinet
CN209434708U (en) * 2019-04-01 2019-09-24 山东高科成套设备有限公司 A kind of GGD good heat dissipation effect AC low voltage power switch box
CN210326647U (en) * 2019-08-15 2020-04-14 青海中力技术控制系统股份有限公司 Dustproof ventilation type electric power cabinet
CN210725873U (en) * 2019-11-22 2020-06-09 段秀婷 Electric automatization switch board
CN111371009A (en) * 2018-12-26 2020-07-03 陕西天汇电力建设工程有限公司 Dustproof electric power cabinet of electric power
CN211670509U (en) * 2020-02-21 2020-10-13 天津维鑫智能科技有限公司 Dustproof effectual outdoor high-voltage power cabinet for high-voltage power engineering

Patent Citations (11)

* Cited by examiner, † Cited by third party
Publication number Priority date Publication date Assignee Title
CN105449557A (en) * 2015-11-27 2016-03-30 国家电网公司 Ventilation heat radiation device for low voltage complete set device
CN206432566U (en) * 2016-11-23 2017-08-22 孙兴旺 A kind of electric power cabinet of perfect heat-dissipating
CN107230940A (en) * 2017-07-11 2017-10-03 赵阳凯 A kind of electric power cabinet of rain-proof protection against electric shock
CN108123387A (en) * 2017-12-24 2018-06-05 乐清市驰林电气有限公司 There is the low-voltage distribution cabinet of radiating dustproof
CN208257227U (en) * 2018-06-28 2018-12-18 四川万达电气有限公司 A kind of high and low voltage switchgear with heat sinking function
CN208385970U (en) * 2018-07-23 2019-01-15 黑龙江科技大学 A kind of electrical engineering electric power cabinet
CN111371009A (en) * 2018-12-26 2020-07-03 陕西天汇电力建设工程有限公司 Dustproof electric power cabinet of electric power
CN209434708U (en) * 2019-04-01 2019-09-24 山东高科成套设备有限公司 A kind of GGD good heat dissipation effect AC low voltage power switch box
CN210326647U (en) * 2019-08-15 2020-04-14 青海中力技术控制系统股份有限公司 Dustproof ventilation type electric power cabinet
CN210725873U (en) * 2019-11-22 2020-06-09 段秀婷 Electric automatization switch board
CN211670509U (en) * 2020-02-21 2020-10-13 天津维鑫智能科技有限公司 Dustproof effectual outdoor high-voltage power cabinet for high-voltage power engineering

Cited By (1)

* Cited by examiner, † Cited by third party
Publication number Priority date Publication date Assignee Title
CN118399229A (en) * 2023-02-27 2024-07-26 南京旭冬升科技有限公司 A safety protection power cabinet

Also Published As

Publication number Publication date
CN112688187B (en) 2022-10-04

Similar Documents

Publication Publication Date Title
CN210468539U (en) Indoor ventilation system of transformer substation
CN112688187A (en) Dustproof electric power cabinet of electric power
CN215528391U (en) Photovoltaic switch board is with supplementary heat abstractor
CN203756612U (en) Silencing box for single level high speed fan
CN215222752U (en) Automatic control cabinet with cooling and noise reduction functions
CN103644147A (en) Sound reducing box of single-stage high-speed blower
CN220440239U (en) External dedusting and heat dissipating device of electric cabinet ventilation opening
CN210379966U (en) Dust removal heat radiation structure of regulator cubicle
CN209056807U (en) A kind of outdoor low voltage comprehensive distribution box
CN210769409U (en) a combined case
CN223063998U (en) A noise reduction structure for ventilation and heat dissipation device of a shelter
CN209071873U (en) A kind of power equipment case with moisture-proof function
CN221742915U (en) Exhaust fan installation mechanism
CN207652849U (en) A kind of varying speed and constant pressure feed water switch board
CN222615625U (en) Fan with heat dissipation and waterproof performances
CN212435058U (en) Dampproofing electric power cabinet
CN207487061U (en) A kind of new wind turbine of environment-friendly type wall hanging
CN223434505U (en) An EC smart wind turbine chassis structure
CN218919745U (en) Novel silicon controlled intermediate frequency power supply cabinet
CN218154414U (en) Novel ultra-thin type electric fan heater
CN218627533U (en) Electric heat blast air drying cabinet ventilation structure
CN205260438U (en) Wet dedusting explosion -proof fan
CN223120268U (en) New blower
CN209608172U (en) High-low voltage electric power distribution cabinet
CN110552906A (en) Induced fan of subway

Legal Events

Date Code Title Description
PB01 Publication
PB01 Publication
SE01 Entry into force of request for substantive examination
SE01 Entry into force of request for substantive examination
GR01 Patent grant
GR01 Patent grant
TR01 Transfer of patent right
TR01 Transfer of patent right

Effective date of registration: 20240905

Address after: 710000 Across from the car door of Xi'an Yilitai Puke Beverage Co.,Ltd. in Xinfeng Industrial and Trade Community, Lintong District, Xi'an City, Shaanxi Province

Patentee after: Shaanxi Qin'en Electric Power Technology Co.,Ltd.

Country or region after: China

Address before: No. 506, Liantong Road, Zhoucun District, Zibo City, Shandong Province

Patentee before: ZIBO VOCATIONAL INSTITUTE

Country or region before: China