CN112681479A - Sponge city rainwater processing system - Google Patents

Sponge city rainwater processing system Download PDF

Info

Publication number
CN112681479A
CN112681479A CN202011543294.4A CN202011543294A CN112681479A CN 112681479 A CN112681479 A CN 112681479A CN 202011543294 A CN202011543294 A CN 202011543294A CN 112681479 A CN112681479 A CN 112681479A
Authority
CN
China
Prior art keywords
rainwater
pond
sewer
baffler
piece
Prior art date
Legal status (The legal status is an assumption and is not a legal conclusion. Google has not performed a legal analysis and makes no representation as to the accuracy of the status listed.)
Granted
Application number
CN202011543294.4A
Other languages
Chinese (zh)
Other versions
CN112681479B (en
Inventor
庄楚东
Current Assignee (The listed assignees may be inaccurate. Google has not performed a legal analysis and makes no representation or warranty as to the accuracy of the list.)
Shenzhen Xinshibang Technology Co.,Ltd.
Original Assignee
Shenzhen Zhongrongyu Construction Engineering Co ltd
Priority date (The priority date is an assumption and is not a legal conclusion. Google has not performed a legal analysis and makes no representation as to the accuracy of the date listed.)
Filing date
Publication date
Application filed by Shenzhen Zhongrongyu Construction Engineering Co ltd filed Critical Shenzhen Zhongrongyu Construction Engineering Co ltd
Priority to CN202011543294.4A priority Critical patent/CN112681479B/en
Publication of CN112681479A publication Critical patent/CN112681479A/en
Application granted granted Critical
Publication of CN112681479B publication Critical patent/CN112681479B/en
Active legal-status Critical Current
Anticipated expiration legal-status Critical

Links

Images

Landscapes

  • Sewage (AREA)

Abstract

本申请涉及雨水利用的技术领域,涉及一种海绵城市雨水处理系统,包括下水道,以及与所述下水道连通的蓄水池,所述蓄水池包括与所述下水道连通的初期雨水池,以及后期雨水池,所述初期雨水池通过出水孔与后期雨水池连通,所述出水孔的最下端的位置低于所述下水道的最下端位置,所述初期雨水池内壁上滑动连接有阻隔板,所述阻隔板设有多个下水孔,所述初期雨水池内壁上设有对所述下水孔进行遮挡的遮挡件,所述阻隔板下端设有多个用来驱使所述阻隔板沿竖直方向移动的悬浮件;给处理系统起到对初期雨水和后期雨水的分流的作用,减少初期雨水对后期雨水的混合,提高了雨水的回收质量。

Figure 202011543294

The present application relates to the technical field of rainwater utilization, and relates to a sponge city rainwater treatment system, including a sewer, and a water reservoir connected with the sewer, the water reservoir including an initial rainwater pool connected with the sewer, and a later Rainwater pool, the initial rainwater pool is communicated with the later rainwater pool through the outlet hole, the position of the lowermost end of the water outlet hole is lower than the lowermost end position of the sewer, and the inner wall of the initial rainwater pool is slidably connected with a barrier plate, so The baffle plate is provided with a plurality of drainage holes, the inner wall of the initial rainwater tank is provided with a shield for shielding the drainage holes, and the lower end of the baffle plate is provided with a plurality of drainage holes for driving the baffle plate in the vertical direction The movable suspension part plays the role of diverting the initial rainwater and the later rainwater to the treatment system, reducing the mixing of the initial rainwater and the later rainwater, and improving the quality of rainwater recovery.

Figure 202011543294

Description

Sponge city rainwater processing system
Technical Field
The application relates to the field of rainwater utilization, in particular to a sponge urban rainwater treatment system.
Background
The current sponge city refers to a city which can be like a sponge and has good elasticity in the aspects of adapting to environmental changes, coping with natural disasters and the like, the city ecology is restored through technologies such as absorption, storage, seepage, purification, utilization and drainage, the safety performance of city flood control and drainage is improved, the low-impact development rainwater system is emphasized and constructed, and the modern city rainfall flood management is realized by combining the source emission reduction, the city rainwater pipe and canal system and the standard-exceeding rainwater runoff drainage system.
With respect to the related art, the inventors consider that: in the early stage of rainfall, rainwater is dissolved together with a large amount of polluting gases in the atmosphere, such as acid gases, automobile exhaust, industrial waste gas and the like, and the collected rainwater can be mixed with rainwater in the later stage, so that the recovery quality of the rainwater is reduced.
Disclosure of Invention
In order to improve the recovery quality of rainwater, this application provides a sponge city rainwater processing system.
The application provides a sponge city rainwater processing system adopts following technical scheme:
the utility model provides a sponge city rainwater processing system, including the sewer, and the cistern with the sewer intercommunication, the cistern includes the initial stage rainwater pond with the sewer intercommunication, and later stage rainwater pond, the initial stage rainwater pond passes through apopore and later stage rainwater pond intercommunication, the position of the lower extreme of apopore is less than the lower extreme position of sewer, sliding connection has the baffler on the initial stage rainwater pond inner wall, the baffler is equipped with a plurality of holes down, be equipped with on the initial stage rainwater pond inner wall and carry out the shielding member that shelters from to the hole of launching, the baffler lower extreme is equipped with a plurality of suspended pieces that are used for ordering about the baffler and remove along vertical direction.
Through adopting above-mentioned technical scheme, the initial stage rainwater loops through the sewer, the water hole enters into the initial stage rainwater pond at last, along with the rising of water level line, the suspension orders about the baffler along initial stage rainwater inslot wall upward movement under the buoyancy of rainwater, conflict on the baffler until the baffler, most initial stage rainwater is saved in the initial stage rainwater pond this moment, and the later stage rainwater on back can only enter into the later stage rainwater pond through the delivery port, and then realize the purpose to the reposition of redundant personnel of initial stage rainwater and later stage rainwater, reduce the mixing of initial stage rainwater to the later stage rainwater, the recovery quality of rainwater has been improved.
Preferably, the shielding piece is a shielding block fixedly connected to the inner wall of the initial rainwater pool, the projections of the plurality of lower water holes in the vertical direction all fall into the shielding block, the uppermost position of the shielding block is lower than the lowermost position of the water outlet hole, and the suspension piece is a suspension block which is fixedly connected to the blocking plate and deviates from one end of the shielding block.
Through adopting above-mentioned technical scheme, the baffle is driven about to the buoyancy effect of suspension piece under water and rises, is sheltered from until the apopore is sheltered from the piece for in later stage rainwater can not enter into the initial stage rainwater pond again, has accomplished the closure to the initial stage rainwater pond automatically, has reduced artifical intensity of labour.
Preferably, be equipped with one end on the baffler rather than the guide board of rotating the connection, guide board up end sets up downwards towards the direction slope that the apopore is close to, and is provided with the elastic component between guide board and the baffler.
By adopting the technical scheme, when the blocking plate is abutted against the shielding block, later-stage rainwater falls onto the guide plate, and the guide plate guides the rainwater into the water inlet and outlet holes; on the other hand, the rainwater falls to the guide board, and the elastic component receives the extrusion and takes place deformation to reduce the rainwater and to the impact of guide board and baffler, and then prolong the life of guide board and baffler.
Preferably, fixedly connected with connecting block on the baffler shelters from the piece and is equipped with the hole of stepping down that supplies the connecting block embedding, and the connecting block upper end is equipped with the joint groove along the horizontal direction, and sliding connection has the joint piece in the joint groove, and the tank bottom fixedly connected with in joint groove orders about the first spring that joint piece one end stretches out the joint groove, first spring other end fixed connection is on the joint piece, and the one end that first spring was kept away from to the joint piece is equipped with the first direction inclined plane that can conflict hole border of stepping down.
Through adopting above-mentioned technical scheme, when the baffler rebound is ordered about to the suspension piece, connecting block one end embedding is stepped down downtheholely, then the first direction inclined plane on the hole opening border extrusion joint piece of stepping down, order about the joint piece and get into the joint inslot, and then make the connecting block can get into completely and step down downthehole, conflict in sheltering from under the piece terminal surface as the baffler up end, the joint piece is under the elasticity recovery effect of first spring, one end roll-off joint groove, and with baffler and shielding plate relatively fixed, reduce the baffler and receive the impact of rainwater and take place the phenomenon of rocking, make the airtight effect of initial stage rainwater pond to initial stage rainwater better, the recovery quality of rainwater has further been improved.
Preferably, the inner wall of the initial rainwater pool is provided with a filtering piece for filtering rainwater.
By adopting the technical scheme, as the initial rainwater can be mixed with more solid garbage to flush from the sewer to the initial rainwater pool, the fixed garbage is easy to block the sewer hole, and the filtering piece can block the solid garbage, so that the collection of the initial rainwater in the initial rainwater pool is reduced; on the other hand, the condition that solid garbage enters a later-stage rainwater pool is reduced, and the rainwater recovery quality is further improved.
Preferably, filter and be the filtration frame of a plurality of openings towards the sewer, be located the filtration frame of below and contradict in baffler upper end, a plurality of filtration holes set up side by side along vertical direction, contradict in sheltering from the piece when the baffler, are located the filtration frame and the sewer intercommunication of below.
Through adopting above-mentioned technical scheme, get into initial stage rainwater pond along with the initial stage rainwater, the solid rubbish that mingles with can be given the interception by the filter frame of the top, rise gradually along with the baffler, the filter frame of different position height intercepts the solid rubbish that the initial stage rainwater mingles with respectively, conflict in the shielding plate until the baffler, the later stage rainwater is mingled with less solid rubbish this moment, this part solid rubbish can be given the interception by the filter frame that is in the below, adjust the position of filter frame through automatic, reduce the jam of solid rubbish to filter the frame, make things convenient for the rubbish of later stage staff in to filtering the frame to handle.
Preferably, one end of the filter frame, which is close to the sewer, is provided with a plurality of sharp spines, and the sharp spines are obliquely and upwards arranged in the direction of the sewer.
By adopting the technical scheme, the positioning rod plays a role in positioning the filter frame, so that the filter frame is prevented from being impacted by rainwater to be deviated, and the interception effect of the filter frame on solid garbage is ensured; on the other hand, the installation of the filter frame by workers is facilitated, and the filter frame is only required to be sleeved on the positioning rod; simultaneously, the locating lever also can play the effect of location to the baffler board for the mobility stability of baffler board is better.
Preferably, be equipped with two locating levers along vertical direction in the initial stage rainwater pond, the baffler is worn to locate by the locating lever to and filter the frame.
By adopting the technical scheme, the sharp pricks can cut the plastic bags in the solid garbage, so that the blockage of the plastic bags on the filter frame is reduced, and the efficiency of rainwater entering the initial rainwater pool through the filter frame is improved; the obliquely arranged sharp spines reduce the impact between the obliquely arranged sharp spines and solid garbage, and the service life of the sharp spines is prolonged.
Preferably, the outlet pipe of later stage rainwater pond bottom of pool is arranged with the rainwater to the apopore, is equipped with the division board that separates into transition pond and sedimentation tank with it on the later stage rainwater pond, is equipped with the connecting hole that will pass through transition pond and sedimentation tank intercommunication on the division board.
By adopting the technical scheme, the later-stage rainwater is discharged to the bottom of the transition tank through the water outlet pipe, and along with the rising of the water level line, the later-stage rainwater can enter the sedimentation tank through the connecting hole, so that the rainwater begins to precipitate, and sludge can precipitate at the bottom of the sedimentation tank, thereby improving the recovery quality of the rainwater; on the other hand, outlet pipe and transition pond have improved the precipitation effect to the rainwater.
Preferably, a stone layer is paved at the bottom of the transition pool.
Through adopting above-mentioned technical scheme, the stone layer plays the effect of buffering, reduces the impact strength of later stage rainwater degree sedimentation tank diapire.
In summary, the present application includes at least one of the following beneficial technical effects:
under the matching use of the blocking plate, the blocking block and the suspension block, the flow distribution of initial rainwater and later rainwater is automatically completed, and the recovery quality of rainwater is improved;
the blocking plate and the filter frame are matched to be used, so that the interception of solid garbage mixed with initial rainwater is automatically completed, the collection and treatment of the solid garbage in the initial rainwater pool by workers are facilitated, and the recovery quality of the rainwater is further improved.
Drawings
Fig. 1 is a schematic structural diagram of an embodiment of the present application.
Fig. 2 is a cross-sectional view for showing a stone layer.
Fig. 3 is an enlarged view of a portion a of fig. 2 to show the spikes.
Fig. 4 is a sectional view for showing the drain hole.
Fig. 5 is an enlarged view of a portion B of fig. 4 for showing the support plate and the rotation lever.
Fig. 6 is an enlarged view of portion C of fig. 4 to show the snap-in block and the spring.
Fig. 7 is an enlarged view of portion D of fig. 4 to show the tab.
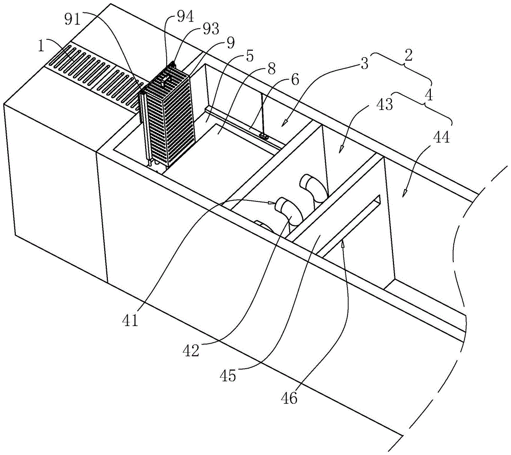
Description of reference numerals: 1. a sewer; 2. a reservoir; 3. an initial rain pool; 4. a later stage rain pond; 41. a water outlet hole; 42. a water outlet pipe; 43. a transition pool; 44. a sedimentation tank; 45. a partition plate; 46. connecting holes; 47. a stone layer; 5. a barrier plate; 51. a drain hole; 52. connecting blocks; 53. a clamping groove; 54. a clamping block; 55. a first spring; 56. a first guide slope; 6. a stop block is shielded; 61. a hole of abdication; 7. a suspension block; 8. a guide plate; 81. rotating the rod; 82. a support sheet; 83. a second spring; 9. a filter frame; 91. positioning a rod; 92. pricking with a sharp point; 93. a handle; 94. a butt joint plate; 95. a support bar; 10. pulling a rope; 101. and (4) a pull ring.
Detailed Description
The present application is described in further detail below with reference to figures 1-7.
The embodiment of the application discloses sponge city rainwater processing system. Referring to fig. 1, fig. 2, including sewer 1, and with 1 intercommunication of sewer and opening cistern 2 up, cistern 2 includes initial stage rainwater pond 3 with 1 intercommunication of sewer, and later stage rainwater pond 4, initial stage rainwater pond 3 is through apopore 41 and 4 intercommunications of later stage rainwater pond, the position of apopore 41 lower extreme is less than sewer 1 lower extreme position, sliding connection has baffler 5 on 3 inner walls of initial stage rainwater pond, baffler 5 is equipped with a plurality of lower water holes 51, in the embodiment, lower water hole 51 is located one side that baffler 5 is close to the later stage rainwater, and it is close to on the both sides of the relative both sides wall of initial stage rainwater pond 3.
Be equipped with the shielding piece that shelters from lower water hole 51 on 3 inner walls of initial stage rainwater pond, 5 lower extremes of baffler are equipped with a plurality of suspended pieces that are used for ordering about 5 vertical direction removals of baffler, and in the embodiment, shielding piece is the dog 6 that shelters from of fixed connection on 3 inner walls of initial stage rainwater pond, and the projection of lower water hole 51 on vertical direction falls into on the dog 6 completely.
The suspension piece is a suspension block 7 fixedly connected to one end of the blocking plate 5, which is back to the blocking block 6, and a plurality of suspension blocks 7 are arranged at intervals along the length direction of the blocking plate 5; the rainwater falls on baffler 5 through sewer 1, then enter into initial stage rainwater pond 3 through lower water hole 51 in, water level line along with initial stage rainwater pond 3 rises gradually, it floats under the buoyancy of initial stage rainwater to suspend piece 7, order about baffler 5 upward movement, conflict in the lower terminal surface of shielding plate when baffler 5's up end, initial stage rainwater keeps airtight state, the rainwater can not rethread down in water hole 51 enters into initial stage rainwater pond 3, most initial stage rainwater is stored in initial stage rainwater this moment, later stage rainwater falls on baffler 5 after, can flow in later stage rainwater pond 4 through apopore 41, realize the purpose to initial stage rainwater and later stage rainwater reposition of redundant personnel, and then the recovery quality of rainwater has been improved.
Referring to fig. 4, fig. 5, in the embodiment, still be equipped with on the baffler 5 earlier with the guide board 8 of rainwater contact than baffler 5, the upper end of guide board 8 sets up downwards towards the direction slope that apopore 41 is close to, guide board 8 is connected with baffler 5 through dwang 81, two backing sheets 82 of baffler 5 up end fixedly connected with, dwang 81 rotates and connects on backing sheet 82, conflict and shelter from when piece 6 is gone up when baffler 5, the one end position that sewer 1 was kept away from to guide board 8 is not higher than apopore 41 position bottom, make later stage rainwater under guide effect of guide board 8, can be quick enter into in later stage rainwater pond 4.
Referring back to fig. 2 and 3, during manufacturing, according to actual needs, the guide plate 8 may be integrally formed on the upper end surface of the blocking plate 5, in this embodiment, one end of the guide plate 8 away from the sewer 1 is rotatably connected to the blocking plate 5, an elastic member is disposed at a lower side of one end of the guide plate 8 away from the late stage rain pool 4, the elastic member may be a buffer pad, in the embodiment, the elastic member is a second spring 83, one end of the second spring 83 is fixedly connected to one side of the guide plate 8 facing the blocking plate 5, and the other end of the second spring 83 is fixedly connected to the blocking plate 5, so as to play a role of buffering, and reduce impact of rain on the blocking plate; preferably, the second spring 83 is provided in plurality at intervals to reduce the load of the single second spring 83 and prolong the service life of the second spring 83.
Refer to fig. 4, fig. 6, when the rainwater is to baffler 5, guide 8's the great time of impact, probably lead to baffler 5 to take place the condition of rocking, in order to reduce the emergence of this condition, baffler 5 is towards the one end fixedly connected with connecting block 52 that hides dog 6, connecting block 52 extends the setting along vertical direction, it is equipped with the hole 61 of stepping down that supplies connecting block 52 embedding and wear out to hide on the piece 6 along vertical direction, connecting block 52 is equipped with joint groove 53 along the horizontal direction, sliding connection has joint piece 54 in joint groove 53, and the first spring 55 of tank bottom fixedly connected with of joint groove 53, first spring 55 other end fixedly connected in is served in joint piece 54, first spring 55 orders about the opening in joint piece 54 one end roll-off joint groove 53, and simultaneously, the one end upside that first spring 55 was kept away from to joint piece 54 is equipped with first direction inclined plane 56.
When suspension piece 7 orders about baffler 5 upward movement, connecting block 52 upper end is slided in the hole of stepping down 61, the hole of stepping down 61 opening border is contradicted in first direction inclined plane 56 this moment, and then orders about joint piece 54 and get into in joint groove 53, contradict in the lower terminal surface that shelters from piece 6 when baffler 5 up end, first spring 5 orders about joint piece 54 roll-off joint groove 53, and make the lower terminal surface of joint piece 54 contradict in the up end that shelters from piece 6, in order to realize the relatively fixed's purpose that shelters from piece 6 and baffler 5.
More preferably, be provided with two joint grooves 53 on one connecting block 52, according to actual need in the manufacturing, connecting block 52 can be provided with a plurality ofly at the interval to further improve the stability of being connected of blocking piece 6 and baffling board 5, simultaneously, reduce the load of single joint piece 54.
Referring to fig. 6 and 7, in the embodiment, the bottom of the initial rainwater tank 3 may be communicated with a sewage treatment plant, so that after rainfall is finished, the initial rainwater can be treated and discharged, and pollution of the initial rainwater to the environment is avoided; after the initial stage rainwater was drained, in order to facilitate falling barrier plate 5 to initial stage rainwater pond 3 bottom again, joint piece 54 is close to the one end fixedly connected with of first spring 55 and orders about its stay cord 10 that gets into in joint groove 53, connecting block 52 is worn to locate by the stay cord 10 other end, the top of initial stage rainwater pond 3 is equipped with pull ring 101, stay cord 10 joint is on pull ring 101, make things convenient for staff directly to stimulate stay cord 10, make joint piece 54 enter into in joint groove 53, at this moment, do not have the buoyancy effect of water after, barrier plate 5 can descend initial position department, make things convenient for the collection to initial stage rainwater next time.
Referring back to fig. 2, fig. 3, for later stage rainwater, initial stage rainwater can be mingled with more solid rubbish, these solid rubbish are to entering into initial stage rainwater pond 3, block up water hole 51 easily, influence the collection of initial stage rainwater, so be equipped with on the 3 inner walls of initial stage rainwater pond and be used for carrying out filterable filter piece to the rainwater, in the embodiment, filter piece is a plurality of filter frame 9 that parallel along vertical direction, adjacent filter frame 9 can be connected through the welding mode, filter frame 9's opening orientation sewer 1, it contradicts in the upper end of baffler 5 through bracing piece 95 to be located filter frame 9 of below.
When the initial rainwater pool 3 is free of rainwater, the opening of the uppermost filtering frame 9 is communicated with the sewer 1, so that the uppermost filtering frame 9 intercepts solid garbage mixed with the initial rainwater, when the suspending block 7 drives the filtering frame 9 to move upwards, the filtering frame 9 also moves upwards, and further each filtering frame 9 intercepts garbage mixed with the initial rainwater respectively, until the blocking plate 5 is abutted against the blocking block 6, the lowermost filtering frame 9 faces the sewer 1 to intercept garbage of later rainwater, and the filtering frames 9 are matched with the blocking plate 5 to automatically collect the garbage, so that the labor intensity of workers is reduced; on the other hand, the garbage in the filter frame 9 is convenient for workers to clean.
In the embodiment, the bottom wall of the initial rainwater tank 3 is fixedly connected with two positioning rods 91, the positioning rods 91 extend in the vertical direction and sequentially penetrate through the barrier plate 5 and the filter frame 9, so that the limiting effect on the filter frame 9 and the barrier plate 5 is achieved, and meanwhile, the filter frame 9 is convenient for workers to install; the handle 93 is welded on the uppermost filter frame 9, so that after the rain stops conveniently, workers lift all the filter frames 9 out, and then clean garbage in each filter frame 9; simultaneously, fixedly connected with butt plate 94 on the 3 roof in initial stage rainwater pond, butt plate 94 can contradict in the opening of filtering frame 9 for the filtration frame 9 and the butt plate 94 looks butt of outstanding initial stage rainwater pond 3, and then make the rubbish of filtering frame 9 can not fall out, make things convenient for the staff to collect and clear up the solid waste in filtering frame 9.
In order to reduce the blocking of the plastic bags in the solid garbage to the filtering frames 9, one end of each filtering frame 9 close to the sewer 1 is provided with a plurality of sharp spines 92, and the sharp spines 92 can cut the plastic bags; preferably, the spikes 92 are arranged obliquely and upwardly in the direction of the sewer 1, so that the impact between the spikes 92 and solid garbage is reduced, and the service life of the spikes 92 is prolonged.
In the embodiment, be equipped with on later stage rainwater pond 4 and separate into transition pond 43 and sedimentation tank 44's division board 45 with it, be equipped with the connecting hole 46 with transition pond 43 and sedimentation tank 44 intercommunication on the division board 45, the horizontal position height of connecting hole 46 is less than the position height of apopore 41, in the embodiment, install outlet pipe 42 in the apopore 41, the one end that outlet pipe 42 kept away from apopore 41 extends to the bottom of transition pond 43 along vertical direction, the later stage rainwater passes through outlet pipe 42 and arranges the bottom of transition pond 43 with the later stage rainwater, rise along with the water level line, the later stage rainwater can enter into sedimentation tank 44 through connecting hole 46, make the rainwater begin to deposit, in order to improve the recovery quality of rainwater.
In the embodiment, stone layer 47 is laid at the bottom of transition pond 43, and stone layer 47 is located the below of outlet pipe 42, can play the effect of buffering to the rainwater of outlet pipe 42 exhaust, prolongs the life of 4 diapalls in later stage rainwater ponds.
The implementation principle of the sponge urban rainwater treatment system in the embodiment of the application is as follows: initial stage rainwater falls to guide board 8 through sewer 1 on, then get into initial stage rainwater pond 3 through lower water hole 51 in, it contradicts in sheltering from piece 6 to order about baffler 5 along with the rising of water level line to suspend piece 7, initial stage rainwater is stored in initial stage rainwater pond 3 this moment, later stage rainwater can only be under guide board 8's guide effect, enter into transition pond 43 through outlet pipe 42 in, then carry out the rainwater through connecting hole 46 entering into sedimentation tank 44 and deposit, this rainwater processing system shunts initial stage rainwater and later stage rainwater, the rethread is to the sediment of later stage rainwater, the effectual recovery quality that improves the rainwater.
The above embodiments are preferred embodiments of the present application, and the protection scope of the present application is not limited by the above embodiments, so: all equivalent changes made according to the structure, shape and principle of the present application shall be covered by the protection scope of the present application.

Claims (10)

1. The utility model provides a sponge city rainwater processing system, includes sewer (1), and with cistern (2) of sewer (1) intercommunication, its characterized in that: cistern (2) include with initial stage rainwater pond (3) of sewer (1) intercommunication to and later stage rainwater pond (4), initial stage rainwater pond (3) are through apopore (41) and later stage rainwater pond (4) intercommunication, the position of apopore (41) lower extreme is less than the lower extreme position of sewer (1), sliding connection has baffler (5) on initial stage rainwater pond (3) inner wall, baffler (5) are equipped with a plurality of lower water holes (51), be equipped with on initial stage rainwater pond (3) inner wall right lower water hole (51) shelter from the piece that shelters from, baffler (5) lower extreme is equipped with a plurality of and is used for ordering about baffler (5) are along the suspension piece that vertical direction removed.
2. The sponge urban rainwater treatment system of claim 1, wherein: the shielding piece is fixed connection in the dog (6) that hides on initial stage rainwater pond (3) inner wall, and is a plurality of down water hole (51) all fall into in the ascending projection of vertical side on the dog (6), just the top position that hides dog (6) is less than the bottom position of apopore (41), the suspension is a plurality of fixed connection in baffler (5) deviate from one of the overhead suspension piece (7) of dog (6).
3. The sponge urban rainwater treatment system of claim 2, characterized in that: be equipped with one end on baffler (5) rather than rotating guide board (8) of being connected, guide board (8) up end court the direction slope that apopore (41) are close to sets up downwards, just guide board (8) with be provided with the elastic component between baffler (5).
4. The sponge urban rainwater treatment system of claim 3, wherein: fixedly connected with connecting block (52) on baffler (5), it is equipped with the confession to hide dog (6) hole (61) of stepping down of connecting block (52) embedding, connecting block (52) upper end is equipped with joint groove (53) along the horizontal direction, sliding connection has joint piece (54) in joint groove (53), just the tank bottom fixedly connected with in joint groove (53) orders about joint piece (54) one end is stretched out first spring (55) of joint groove (53), first spring (55) other end fixed connection in on joint piece (54), joint piece (54) are kept away from the one end of first spring (55) is equipped with and can contradict the first direction inclined plane (56) at hole (61) border of stepping down.
5. The sponge urban rainwater treatment system of claim 2, characterized in that: and a filtering piece for filtering rainwater is arranged on the inner wall of the initial rainwater pool (3).
6. The sponge urban rainwater treatment system of claim 5, wherein: it is a plurality of openings orientation to filter piece filter frame (9) of sewer (1), be located the below filter frame (9) contradict in baffling board (5) upper end, a plurality of filtration holes set up side by side along vertical direction, work as baffling board (5) contradict in baffling piece (6), be located the below filter frame (9) with sewer (1) intercommunication.
7. The sponge urban rainwater treatment system of claim 6, wherein: two positioning rods (91) are arranged in the initial rainwater pool (3) along the vertical direction, and the positioning rods (91) penetrate through the barrier plate (5) and the filter frame (9).
8. The sponge urban rainwater treatment system of claim 7, wherein: one end of the filter frame (9) close to the sewer (1) is provided with a plurality of sharp spines (92), and the sharp spines (92) are obliquely and upwards arranged towards the sewer (1).
9. The sponge urban rainwater treatment system of claim 1, wherein: apopore (41) are installed and are arranged the rainwater outlet pipe (42) at the bottom of later stage rainwater pond (4) pool, be equipped with on later stage rainwater pond (4) and separate into division board (45) of transition pond (43) and sedimentation tank (44) with it, be equipped with on division board (45) with transition pond (43) with connecting hole (46) of sedimentation tank (44) intercommunication.
10. The sponge urban rainwater treatment system of claim 9, wherein: and a stone layer (47) is laid at the bottom of the transition pool (43).
CN202011543294.4A 2020-12-21 2020-12-21 A Sponge City Rainwater Treatment System Active CN112681479B (en)

Priority Applications (1)

Application Number Priority Date Filing Date Title
CN202011543294.4A CN112681479B (en) 2020-12-21 2020-12-21 A Sponge City Rainwater Treatment System

Applications Claiming Priority (1)

Application Number Priority Date Filing Date Title
CN202011543294.4A CN112681479B (en) 2020-12-21 2020-12-21 A Sponge City Rainwater Treatment System

Publications (2)

Publication Number Publication Date
CN112681479A true CN112681479A (en) 2021-04-20
CN112681479B CN112681479B (en) 2022-06-10

Family

ID=75451365

Family Applications (1)

Application Number Title Priority Date Filing Date
CN202011543294.4A Active CN112681479B (en) 2020-12-21 2020-12-21 A Sponge City Rainwater Treatment System

Country Status (1)

Country Link
CN (1) CN112681479B (en)

Cited By (2)

* Cited by examiner, † Cited by third party
Publication number Priority date Publication date Assignee Title
CN113152624A (en) * 2021-05-18 2021-07-23 广东乐华建设工程有限公司 Municipal rainwater drainage device capable of avoiding blockage and rainwater drainage method
CN116791826A (en) * 2023-06-26 2023-09-22 无锡市鸣腾建设工程股份有限公司 Building structure for greening top surface of building

Citations (13)

* Cited by examiner, † Cited by third party
Publication number Priority date Publication date Assignee Title
KR20050030479A (en) * 2003-09-26 2005-03-30 삼성에버랜드 주식회사 Early rainwater exclusion system
CN206737096U (en) * 2017-02-20 2017-12-12 深圳市柯沐生态科技产业有限公司 A kind of system for reclaiming rainwater for sponge city
CN107859090A (en) * 2017-10-13 2018-03-30 浙江德安科技股份有限公司 A kind of early-stage rainwater stream abandoning device
CN207419673U (en) * 2017-09-29 2018-05-29 焦作市超利洁环保科技有限公司 A kind of rain water reservoir with filter device
CN207776072U (en) * 2018-01-16 2018-08-28 河北建筑工程学院 Rainwater flow-discarding device
CN209468838U (en) * 2018-12-19 2019-10-08 徐州工程学院 An initial rainwater diversion device
CN111021512A (en) * 2019-12-18 2020-04-17 雷美玉 Sewage floor drain capable of preventing odor from flowing out and automatically opening and closing by virtue of buoyancy
CN111236551A (en) * 2020-01-15 2020-06-05 安徽安德建筑设计有限公司 House building drainage system
CN210947102U (en) * 2019-07-29 2020-07-07 河北建筑工程学院 Rainwater discarding device
CN111732232A (en) * 2020-07-17 2020-10-02 常州大学 An integrated device for separating and purifying initial rainwater and using method thereof
CN111794354A (en) * 2020-07-14 2020-10-20 河北耀腾路桥工程有限公司 A stable road drainage structure
CN211948667U (en) * 2020-03-27 2020-11-17 上海城投瀛洲生活垃圾处置有限公司 Rainwater reposition of redundant personnel collecting system
CN211948748U (en) * 2018-10-23 2020-11-17 绍兴天顺环境建设有限公司 Rainwater discarding device

Patent Citations (13)

* Cited by examiner, † Cited by third party
Publication number Priority date Publication date Assignee Title
KR20050030479A (en) * 2003-09-26 2005-03-30 삼성에버랜드 주식회사 Early rainwater exclusion system
CN206737096U (en) * 2017-02-20 2017-12-12 深圳市柯沐生态科技产业有限公司 A kind of system for reclaiming rainwater for sponge city
CN207419673U (en) * 2017-09-29 2018-05-29 焦作市超利洁环保科技有限公司 A kind of rain water reservoir with filter device
CN107859090A (en) * 2017-10-13 2018-03-30 浙江德安科技股份有限公司 A kind of early-stage rainwater stream abandoning device
CN207776072U (en) * 2018-01-16 2018-08-28 河北建筑工程学院 Rainwater flow-discarding device
CN211948748U (en) * 2018-10-23 2020-11-17 绍兴天顺环境建设有限公司 Rainwater discarding device
CN209468838U (en) * 2018-12-19 2019-10-08 徐州工程学院 An initial rainwater diversion device
CN210947102U (en) * 2019-07-29 2020-07-07 河北建筑工程学院 Rainwater discarding device
CN111021512A (en) * 2019-12-18 2020-04-17 雷美玉 Sewage floor drain capable of preventing odor from flowing out and automatically opening and closing by virtue of buoyancy
CN111236551A (en) * 2020-01-15 2020-06-05 安徽安德建筑设计有限公司 House building drainage system
CN211948667U (en) * 2020-03-27 2020-11-17 上海城投瀛洲生活垃圾处置有限公司 Rainwater reposition of redundant personnel collecting system
CN111794354A (en) * 2020-07-14 2020-10-20 河北耀腾路桥工程有限公司 A stable road drainage structure
CN111732232A (en) * 2020-07-17 2020-10-02 常州大学 An integrated device for separating and purifying initial rainwater and using method thereof

Cited By (4)

* Cited by examiner, † Cited by third party
Publication number Priority date Publication date Assignee Title
CN113152624A (en) * 2021-05-18 2021-07-23 广东乐华建设工程有限公司 Municipal rainwater drainage device capable of avoiding blockage and rainwater drainage method
CN113152624B (en) * 2021-05-18 2023-03-10 广东乐华建设工程有限公司 Municipal rainwater drainage device capable of avoiding blockage and rainwater drainage method
CN116791826A (en) * 2023-06-26 2023-09-22 无锡市鸣腾建设工程股份有限公司 Building structure for greening top surface of building
CN116791826B (en) * 2023-06-26 2025-11-14 无锡市鸣腾建设工程股份有限公司 A building structure for greening the roof of a building.

Also Published As

Publication number Publication date
CN112681479B (en) 2022-06-10

Similar Documents

Publication Publication Date Title
CN208586125U (en) An oil-water separation system
CN206360068U (en) Pond is collected by filtration in a kind of rain water drainage
CN112681479A (en) Sponge city rainwater processing system
CN105350607B (en) Urban rainwater collecting and recycling system
CN211037583U (en) Modular roof rainwater collecting and utilizing device
CN209353440U (en) Road rainwater storage and drainage system for sponge city
CN202466819U (en) Automatic lifting basket grating sewage filtering device
CN111705866B (en) Green building rainwater is collected and discharge system
CN106121004B (en) A kind of adjustable automatic flow abandoning type Rainwater collection system
CN205475588U (en) Regional burst rainwater processing system based on reposition of redundant personnel tubulation net
CN214061777U (en) Sponge city rainwater diverging device
CN216405674U (en) Primary rainwater collecting tank
CN215858110U (en) Rain and sewage flow dividing device for building engineering
CN211257233U (en) Novel rainwater diversion system for sponge city
CN213285767U (en) Integral type graded fire-fighting sedimentation tank
CN207260283U (en) A kind of road and bridge siphon drainge system
CN112551820A (en) Urban rainwater reposition of redundant personnel, clean system
CN113374024A (en) Rainwater collecting and treating device
CN111851876A (en) Water resource storage device with rainwater recycling and filtering mechanism for urban attic
CN218933377U (en) Sponge city cuts dirty anti-reflux overflow well
CN110258757B (en) A rainwater recycling device and method suitable for road rainwater inlet
CN206371136U (en) The structure on rooftop greening lawn
CN213062339U (en) A reposition of redundant personnel sluice for town road drainage
CN211922822U (en) District rainwater collecting system
CN214423213U (en) A culvert water delivery device that can prevent clogging

Legal Events

Date Code Title Description
PB01 Publication
PB01 Publication
SE01 Entry into force of request for substantive examination
SE01 Entry into force of request for substantive examination
GR01 Patent grant
GR01 Patent grant
TR01 Transfer of patent right
TR01 Transfer of patent right

Effective date of registration: 20250328

Address after: Room 101, Office Building of Landscape Group Company, Donghu 1st Street, Shuiku Community, Huangbei Street, Luohu District, Shenzhen City, Guangdong Province 518000

Patentee after: Shenzhen Xinshibang Technology Co.,Ltd.

Country or region after: China

Address before: 803, 8th floor, Yaoxiang industrial building, 92 Fukang Road, Henggang street, Longgang District, Shenzhen, Guangdong 518000

Patentee before: Shenzhen zhongrongyu Construction Engineering Co.,Ltd.

Country or region before: China