CN112676715A - 一种竹筷子雕刻加工用固定装置 - Google Patents
一种竹筷子雕刻加工用固定装置 Download PDFInfo
- Publication number
- CN112676715A CN112676715A CN202011456937.1A CN202011456937A CN112676715A CN 112676715 A CN112676715 A CN 112676715A CN 202011456937 A CN202011456937 A CN 202011456937A CN 112676715 A CN112676715 A CN 112676715A
- Authority
- CN
- China
- Prior art keywords
- box
- fixed mounting
- rod
- gear
- screw rod
- Prior art date
- Legal status (The legal status is an assumption and is not a legal conclusion. Google has not performed a legal analysis and makes no representation as to the accuracy of the status listed.)
- Granted
Links
- 235000017166 Bambusa arundinacea Nutrition 0.000 title claims abstract description 47
- 235000017491 Bambusa tulda Nutrition 0.000 title claims abstract description 47
- 241001330002 Bambuseae Species 0.000 title claims abstract description 47
- 235000015334 Phyllostachys viridis Nutrition 0.000 title claims abstract description 47
- 239000011425 bamboo Substances 0.000 title claims abstract description 47
- 244000309464 bull Species 0.000 claims description 7
- 230000001681 protective effect Effects 0.000 claims description 5
- 239000007789 gas Substances 0.000 description 9
- 230000000740 bleeding effect Effects 0.000 description 8
- 230000000694 effects Effects 0.000 description 6
- 239000002023 wood Substances 0.000 description 6
- 239000000428 dust Substances 0.000 description 4
- 238000005086 pumping Methods 0.000 description 4
- 239000002184 metal Substances 0.000 description 3
- UGFAIRIUMAVXCW-UHFFFAOYSA-N Carbon monoxide Chemical compound [O+]#[C-] UGFAIRIUMAVXCW-UHFFFAOYSA-N 0.000 description 2
- 238000005516 engineering process Methods 0.000 description 2
- 238000001914 filtration Methods 0.000 description 2
- 239000003546 flue gas Substances 0.000 description 2
- 238000010147 laser engraving Methods 0.000 description 2
- 239000000463 material Substances 0.000 description 2
- 238000000034 method Methods 0.000 description 2
- OKTJSMMVPCPJKN-UHFFFAOYSA-N Carbon Chemical compound [C] OKTJSMMVPCPJKN-UHFFFAOYSA-N 0.000 description 1
- 230000004075 alteration Effects 0.000 description 1
- 230000009286 beneficial effect Effects 0.000 description 1
- 210000000988 bone and bone Anatomy 0.000 description 1
- 229910052799 carbon Inorganic materials 0.000 description 1
- 235000013305 food Nutrition 0.000 description 1
- 238000009434 installation Methods 0.000 description 1
- 238000004519 manufacturing process Methods 0.000 description 1
- 238000012986 modification Methods 0.000 description 1
- 230000004048 modification Effects 0.000 description 1
- 239000004033 plastic Substances 0.000 description 1
- 229920003023 plastic Polymers 0.000 description 1
- 229910052573 porcelain Inorganic materials 0.000 description 1
- 239000011435 rock Substances 0.000 description 1
- 238000006467 substitution reaction Methods 0.000 description 1
- 238000003466 welding Methods 0.000 description 1
Images
Classifications
-
- Y—GENERAL TAGGING OF NEW TECHNOLOGICAL DEVELOPMENTS; GENERAL TAGGING OF CROSS-SECTIONAL TECHNOLOGIES SPANNING OVER SEVERAL SECTIONS OF THE IPC; TECHNICAL SUBJECTS COVERED BY FORMER USPC CROSS-REFERENCE ART COLLECTIONS [XRACs] AND DIGESTS
- Y02—TECHNOLOGIES OR APPLICATIONS FOR MITIGATION OR ADAPTATION AGAINST CLIMATE CHANGE
- Y02W—CLIMATE CHANGE MITIGATION TECHNOLOGIES RELATED TO WASTEWATER TREATMENT OR WASTE MANAGEMENT
- Y02W90/00—Enabling technologies or technologies with a potential or indirect contribution to greenhouse gas [GHG] emissions mitigation
- Y02W90/10—Bio-packaging, e.g. packing containers made from renewable resources or bio-plastics
Landscapes
- Table Equipment (AREA)
Abstract
本发明公开了一种竹筷子雕刻加工用固定装置,包括箱体,所述箱体一侧的前后两侧均设置有第一螺杆,所述第一螺杆远离箱体的一侧固定安装有从动齿轮,所述从动齿轮的内侧啮合有主动齿轮,所述主动齿轮的一侧与箱体一侧的顶部轴承支撑,所述第一螺杆远离主动齿轮的一端贯穿箱体并延伸至箱体的内腔与箱体内腔的一侧轴承支撑,所述第一螺杆的表面螺纹连接有滑板,所述滑板的内侧轴承支撑有转轴;本发明通过第一螺杆、从动齿轮、主动齿轮和转轴的设置,使用者摇动转杆旋转,转杆带动转盘旋转,转盘带动连接杆转动,通过连接杆的转动带动主动齿轮旋转,主动齿轮带动前后两侧的从动齿轮旋转,从动齿轮的转动带动第一螺杆旋转。
Description
技术领域
本发明涉及竹筷子加工设备技术领域,具体为一种竹筷子雕刻加工用固定装置。
背景技术
筷子是持放在手指中夹取食物或其他东西的细长条棍,可由竹、木、骨、瓷、金属、塑料等材料制作,形状或方或圆各异,多用作餐具,在竹制筷子生产过程中需要对竹筷子的表面进行雕刻纹路。
中国专利号为CN212070791U公开了一种竹筷激光雕刻装置,属于竹筷加工技术领域,包括激光头和支架,所述激光头一侧安装有支架,激光头下方设有底座,所述底座上表面安装有直线滑台,所述直线滑台上方活动连接有滑块,所述滑块上表面固定连接有壳体,所述壳体内侧对称焊接有导向柱,所述导向柱表面对称安装有夹片,所述夹片一侧安装有弹簧,所述底座内部固定连接有集气罩,所述集气罩一侧导通连接有引风机,所述引风机一侧安装有箱体,所述箱体内部安装有金属管,所述金属网内侧复合有活性炭过滤棉。本实用新型可实现对竹筷快速的安装与固定,提高了对竹筷激光雕刻的效率,同时可防止烟气被工作人员直接吸入影响身体健康。
上述专利在使用中还存在一些普遍的问题,虽然能够达到对烟气进行回收的效果,但不具备固定的功能,在对竹筷子的表面进行雕刻时,需要人工对其进行固定和翻转,然后在次雕刻,这样会使雕刻的速度变慢,且影响雕刻加工的进度,因此我们需要提出一种竹筷子雕刻加工用固定装置。
发明内容
本发明的目的在于提供一种竹筷子雕刻加工用固定装置,具备能够自动翻转,省时省力的优点,以解决上述背景技术中提出的问题。
为实现上述目的,本发明提供如下技术方案:一种竹筷子雕刻加工用固定装置,包括箱体,:所述箱体一侧的前后两侧均设置有第一螺杆,所述第一螺杆远离箱体的一侧固定安装有从动齿轮,所述从动齿轮的内侧啮合有主动齿轮,所述主动齿轮的一侧与箱体一侧的顶部轴承支撑,所述第一螺杆远离主动齿轮的一端贯穿箱体并延伸至箱体的内腔与箱体内腔的一侧轴承支撑,所述第一螺杆的表面螺纹连接有滑板,所述滑板的内侧轴承支撑有转轴,所述转轴的内侧开设有方形口,所述箱体内腔的一侧且位于第一螺杆的内侧固定安装有电机,所述电机的输出轴固定安装有管体,所述管体的两侧开设有滑槽,所述滑槽的内腔滑动连接有限位块,所述限位块的内侧固定安装有滑杆,所述滑杆的表面与管体的内腔滑动连接,所述滑杆的一侧与转轴的外侧固定安装,所述箱体内腔的一侧设置有气泵,所述气泵的进气端连通有软管,所述软管远离气泵的一端连通有出气管,所述出气管远离软管的一端连通有抽气盒,所述抽气盒的顶部等距开设有进气孔,所述抽气盒顶部的中心处且位于进气孔的内侧开设有放置槽,所述放置槽的内腔放置有竹筷子本体。
优选的,所述箱体一侧的底部轴承支撑有转杆,所述转杆的一侧贯穿箱体并延伸至箱体的内腔固定安装有第一齿轮,所述箱体内腔的底部轴承支撑有第二螺杆,所述第二螺杆的顶部与抽气盒的底部轴承支撑,所述第二螺杆表面的底部固定安装有第二齿轮,所述第二齿轮一侧的底部与第一齿轮的顶部啮合
优选的,所述第二螺杆的表面且位于第二齿轮的上方螺纹连接有螺套,所述螺套的两侧均固定安装有支撑杆,所述支撑杆的顶部与抽气盒底部的两侧固定安装。
优选的,所述转杆另一侧的顶部固定安装有杆体,所述杆体远离转杆的一侧固定安装有摇杆,所述摇杆的表面套接有防护垫,所述转杆的表面且位于箱体的内腔固定安装有支架,所述支架的底部与箱体内腔的底部固定安装。
优选的,所述箱体内腔底部的另一侧固定安装有收集盒,所述收集盒顶部的一侧与气泵的出气端连通,所述收集盒内腔的两侧固定安装有块体,所述块体的顶部插接有抽盒,所述抽盒的底部固定安装有第一过滤网,所述收集盒一侧的底部且位于块体的下方固定安装有第二过滤网,所述第二过滤网的一侧固定安装有排气管,所述排气管远离第二过滤网的一端贯穿箱体并延伸至箱体的外部。
优选的,所述主动齿轮远离箱体的一侧固定安装有连接杆,所述连接杆远离主动齿轮的一侧固定安装有转盘,所述转盘的远离连接杆的一端固定安装有握杆,所述箱体内腔一侧的顶部且位于电机的下方固定安装有支撑板,所述支撑板的顶部与电机的底部固定安装
优选的,所述箱体的正面铰接有箱门,所述箱门正面的一侧固定安装有把手,所述箱门的正面开设有观察口,所述观察口的内腔嵌设有亚克力板。
与现有技术相比,本发明的有益效果是:
1、本发明通过第一螺杆、从动齿轮、主动齿轮和转轴的设置,使用者摇动转杆旋转,转杆带动转盘旋转,转盘带动连接杆转动,通过连接杆的转动带动主动齿轮旋转,主动齿轮带动前后两侧的从动齿轮旋转,从动齿轮的转动带动第一螺杆旋转,由于第一螺杆的纹路为相反设置,第一螺杆的转动会带动表面的滑板移动,使竹筷子本体的两侧插接在方形口内,对其进行夹紧;
2、本发明通过电机、管体、滑槽、限位块和滑杆的设置,当需要对竹筷子本体进行翻转时,通过电机的转动带动管体进行旋转,管体带动滑杆转动,滑杆带动转轴进行翻转,转轴带动竹筷子本体翻转,对其背面进行雕刻,从而达到了对竹筷子本体进行快速雕刻的作用;
3、本发明通过气泵、软管、出气管、抽气盒和放置槽的设置,这时通过气泵所产生的吸力,对木屑进行抽取,这时的木屑会被吸入到收集盒内的抽盒中,通过第一过滤网对木屑进行过滤,使过滤后的气体进入到下方的收集盒内,在由第二过滤网对过滤后的气体进行再次过滤,干净的气体通过排气管排出箱体外。
附图说明
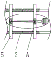
图1为本发明的结构示意图;
图2为本发明箱体的正视剖面图;
图3为本发明第一螺杆的俯视图;
图4为本发明图三中A处的局部放大图;
图5为本发明管体的正视剖面图;
图6为本发明抽气盒的俯视图;
图7为本发明主动齿轮的俯视图;
图8为本发明抽盒的俯视剖面图。
图中:1、箱体;2、第一螺杆;3、从动齿轮;4、主动齿轮;5、滑板;6、转轴;7、电机;8、管体;9、滑槽;10、限位块;11、滑杆;12、气泵;13、软管;14、出气管;15、抽气盒;16、进气孔;17、放置槽;18、竹筷子本体;19、转杆;20、第一齿轮;21、第二螺杆;22、第二齿轮;23、螺套;24、支撑杆;25、杆体;26、摇杆;27、防护垫;28、支架;29、收集盒;30、块体;31、抽盒;32、第一过滤网;33、第二过滤网;34、排气管;35、连接杆;36、转盘;37、握杆;38、支撑板;39、箱门;40、观察口。
具体实施方式
下面将结合本发明实施例中的附图,对本发明实施例中的技术方案进行清楚、完整地描述,显然,所描述的实施例仅仅是本发明一部分实施例,而不是全部的实施例。基于本发明中的实施例,本领域普通技术人员在没有做出创造性劳动前提下所获得的所有其他实施例,都属于本发明保护的范围。
实施例1:
请参阅图1-8,本发明提供一种技术方案:一种竹筷子雕刻加工用固定装置,包括箱体1,箱体1一侧的前后两侧均设置有第一螺杆2,第一螺杆2远离箱体1的一侧固定安装有从动齿轮3,从动齿轮3的内侧啮合有主动齿轮4,主动齿轮4的一侧与箱体1一侧的顶部轴承支撑,第一螺杆2远离主动齿轮4的一端贯穿箱体1并延伸至箱体1的内腔与箱体1内腔的一侧轴承支撑,第一螺杆2的表面螺纹连接有滑板5,滑板5的内侧轴承支撑有转轴6,转轴6的内侧开设有方形口,通过第一螺杆2、从动齿轮3、主动齿轮4和转轴6的设置,使用者摇动转杆19旋转,转杆19带动转盘36旋转,转盘36带动连接杆35转动,通过连接杆35的转动带动主动齿轮4旋转,主动齿轮4带动前后两侧的从动齿轮3旋转,从动齿轮3的转动带动第一螺杆2旋转,由于第一螺杆2的纹路为相反设置,第一螺杆2的转动会带动表面的滑板5移动,使竹筷子本体18的两侧插接在方形口内,对其进行夹紧;
箱体1内腔的一侧且位于第一螺杆2的内侧固定安装有电机7,电机7的输出轴固定安装有管体8,管体8的两侧开设有滑槽9,滑槽9的内腔滑动连接有限位块10,限位块10的内侧固定安装有滑杆11,滑杆11的表面与管体8的内腔滑动连接,滑杆11的一侧与转轴6的外侧固定安装,通过电机7、管体8、滑槽9、限位块10和滑杆11的设置,当需要对竹筷子本体18进行翻转时,通过电机7的转动带动管体8进行旋转,管体8带动滑杆11转动,滑杆11带动转轴6进行翻转,转轴6带动竹筷子本体18翻转,对其背面进行雕刻,从而达到了对竹筷子本体18进行快速雕刻的作用。
箱体1一侧的底部轴承支撑有转杆19,转杆19的一侧贯穿箱体1并延伸至箱体1的内腔固定安装有第一齿轮20,箱体1内腔的底部轴承支撑有第二螺杆21,第二螺杆21的顶部与抽气盒15的底部轴承支撑,第二螺杆21表面的底部固定安装有第二齿轮22,第二齿轮22一侧的底部与第一齿轮20的顶部啮合,通过转杆19、第一齿轮20、第二齿轮22、第二螺杆21的设置,通过使用者摇动摇杆26转动,摇杆26带动杆体25转动,杆体25带动转杆19旋转,转杆19带动第一齿轮20转动,通过第一齿轮20带动第二齿轮22旋转,第二齿轮22的转动带动第二螺杆21转动,第二螺杆21带动表面的螺套23和支撑杆24向上移动,从而达到了对上下竹筷子本体18方便的作用。
第二螺杆21的表面且位于第二齿轮22的上方螺纹连接有螺套23,螺套23的两侧均固定安装有支撑杆24,支撑杆24的顶部与抽气盒15底部的两侧固定安装,通过螺套23的设置,能够带动抽气盒15和竹筷子本体18上下移动,通过支撑杆24的设置,能够对抽气盒15进行固定,防止抽气盒15在上下移动时,发生晃动。
转杆19另一侧的顶部固定安装有杆体25,杆体25远离转杆19的一侧固定安装有摇杆26,摇杆26的表面套接有防护垫27,转杆19的表面且位于箱体1的内腔固定安装有支架28,支架28的底部与箱体1内腔的底部固定安装,通过杆体25和摇杆26的设置,使用者摇动摇杆26转动,摇杆26带动杆体25转动,杆体25带动转杆19旋转,转杆19带动第一齿轮20转动,从而达到了省力的作用,通过防护垫27的设置,能够对使用者的手进行防护,防止在转动摇杆26时,对手造成伤害,通过支架28的设置,能够对转杆19进行固定,防止转杆19在转动时,发生抖动,使第一齿轮20和第二齿轮22之间发生卡顿现象,对第一齿轮20和第二齿轮22造成损坏。
主动齿轮4远离箱体1的一侧固定安装有连接杆35,连接杆35远离主动齿轮4的一侧固定安装有转盘36,转盘36的远离连接杆35的一端固定安装有握杆37,箱体1内腔一侧的顶部且位于电机7的下方固定安装有支撑板38,支撑板38的顶部与电机7的底部固定安装,通过连接杆35的设置,能够给主动齿轮4提供动力,通过转盘36、握杆37、支撑杆24的设置,通过使用者摇动握杆37旋转,握杆37带动转盘36旋转,转盘36带动连接杆35转动,通过连接杆35的转动带动主动齿轮4旋转,从而达到了省力的作用。
箱体1的正面铰接有箱门39,箱门39正面的一侧固定安装有把手,箱门39的正面开设有观察口40,观察口40的内腔嵌设有亚克力板,通过箱门39的设置,使用者通过把手打开箱门39,对里面的设备进行定期保养和维修,通过观察口40和亚克力板的设置,亚克力板的材质为透明设置,能够方便使用者从外部对箱体1的内部进行观看。
实施例2:
请参阅图1-8,本实施例2与实施例1不同之处在于,箱体1内腔的一侧设置有气泵12,气泵12的进气端连通有软管13,软管13远离气泵12的一端连通有出气管14,出气管14远离软管13的一端连通有抽气盒15,抽气盒15的顶部等距开设有进气孔16,抽气盒15顶部的中心处且位于进气孔16的内侧开设有放置槽17,放置槽17的内腔放置有竹筷子本体18,本发明通过气泵12、软管13、出气管14、抽气盒15和放置槽17的设置,这时通过气泵12所产生的吸力,对木屑进行抽取,这时的木屑会被吸入到收集盒29内的抽盒31中,通过第一过滤网32对木屑进行过滤,使过滤后的气体进入到下方的收集盒29内,在由第二过滤网33对过滤后的气体进行再次过滤,干净的气体通过排气管34排出箱体1外;
箱体1内腔底部的另一侧固定安装有收集盒29,收集盒29顶部的一侧与气泵12的出气端连通,收集盒29内腔的两侧固定安装有块体30,块体30的顶部插接有抽盒31,抽盒31的底部固定安装有第一过滤网32,收集盒29一侧的底部且位于块体30的下方固定安装有第二过滤网33,第二过滤网33的一侧固定安装有排气管34,排气管34远离第二过滤网33的一端贯穿箱体1并延伸至箱体1的外部,本发明通过第一过滤网32、第二过滤网33、抽盒31、收集盒29和排气管34的设置,通过气泵12所产生的吸力,对木屑进行抽取,这时的木屑会被吸入到收集盒29内的抽盒31中,通过第一过滤网32对木屑进行过滤,使过滤后的气体进入到下方的收集盒29内,在由第二过滤网33对过滤后的气体进行再次过滤,干净的气体通过排气管34排出箱体1外。
工作原理:通过外设控制器启动电机7和气泵12,使用者通过把手打开箱门39,将竹筷子本体18放置在抽气盒15上的放置槽17内,通过使用者摇动摇杆26转动,摇杆26带动杆体25转动,杆体25带动转杆19旋转,转杆19带动第一齿轮20转动,通过第一齿轮20带动第二齿轮22旋转,第二齿轮22的转动带动第二螺杆21转动,第二螺杆21带动表面的螺套23和支撑杆24向上移动,螺套23带动抽气盒15向上移动,将竹筷子本体18移动至与转轴6相对应的位置,再通过使用者摇动握杆37旋转,握杆37带动转盘36旋转,转盘36带动连接杆35转动,通过连接杆35的转动带动主动齿轮4旋转,主动齿轮4带动前后两侧的从动齿轮3旋转,从动齿轮3的转动带动第一螺杆2旋转,由于第一螺杆2的纹路为相反设置,第一螺杆2的转动会带动表面的滑板5移动,使竹筷子本体18的两侧插接在方形口内,对其进行夹紧,这时在通过使用者转动摇杆26反转,将抽气盒15向下移动,然后对竹筷子本体18进行雕刻,在雕刻的过程中会存在木屑,这时通过气泵12所产生的吸力,对木屑进行抽取,这时的木屑会被吸入到收集盒29内的抽盒31中,通过第一过滤网32对木屑进行过滤,使过滤后的气体进入到下方的收集盒29内,在由第二过滤网33对过滤后的气体进行再次过滤,干净的气体通过排气管34排出箱体1外,当需要对竹筷子本体18进行翻转时,通过电机7的转动带动管体8进行旋转,管体8带动滑杆11转动,滑杆11带动转轴6进行翻转,转轴6带动竹筷子本体18翻转,对其背面进行雕刻,从而完成整个过程。
尽管已经示出和描述了本发明的实施例,对于本领域的普通技术人员而言,可以理解在不脱离本发明的原理和精神的情况下可以对这些实施例进行多种变化、修改、替换和变型,本发明的范围由所附权利要求及其等同物限定。
Claims (7)
1.一种竹筷子雕刻加工用固定装置,包括箱体(1),其特征在于:所述箱体(1)一侧的前后两侧均设置有第一螺杆(2),所述第一螺杆(2)远离箱体(1)的一侧固定安装有从动齿轮(3),所述从动齿轮(3)的内侧啮合有主动齿轮(4),所述主动齿轮(4)的一侧与箱体(1)一侧的顶部轴承支撑,所述第一螺杆(2)远离主动齿轮(4)的一端贯穿箱体(1)并延伸至箱体(1)的内腔与箱体(1)内腔的一侧轴承支撑,所述第一螺杆(2)的表面螺纹连接有滑板(5),所述滑板(5)的内侧轴承支撑有转轴(6),所述转轴(6)的内侧开设有方形口,所述箱体(1)内腔的一侧且位于第一螺杆(2)的内侧固定安装有电机(7),所述电机(7)的输出轴固定安装有管体(8),所述管体(8)的两侧开设有滑槽(9),所述滑槽(9)的内腔滑动连接有限位块(10),所述限位块(10)的内侧固定安装有滑杆(11),所述滑杆(11)的表面与管体(8)的内腔滑动连接,所述滑杆(11)的一侧与转轴(6)的外侧固定安装,所述箱体(1)内腔的一侧设置有气泵(12),所述气泵(12)的进气端连通有软管(13),所述软管(13)远离气泵(12)的一端连通有出气管(14),所述出气管(14)远离软管(13)的一端连通有抽气盒(15),所述抽气盒(15)的顶部等距开设有进气孔(16),所述抽气盒(15)顶部的中心处且位于进气孔(16)的内侧开设有放置槽(17),所述放置槽(17)的内腔放置有竹筷子本体(18)。
2.根据权利要求1所述的一种竹筷子雕刻加工用固定装置,其特征在于:所述箱体(1)一侧的底部轴承支撑有转杆(19),所述转杆(19)的一侧贯穿箱体(1)并延伸至箱体(1)的内腔固定安装有第一齿轮(20),所述箱体(1)内腔的底部轴承支撑有第二螺杆(21),所述第二螺杆(21)的顶部与抽气盒(15)的底部轴承支撑,所述第二螺杆(21)表面的底部固定安装有第二齿轮(22),所述第二齿轮(22)一侧的底部与第一齿轮(20)的顶部啮合。
3.根据权利要求2所述的一种竹筷子雕刻加工用固定装置,其特征在于:所述第二螺杆(21)的表面且位于第二齿轮(22)的上方螺纹连接有螺套(23),所述螺套(23)的两侧均固定安装有支撑杆(24),所述支撑杆(24)的顶部与抽气盒(15)底部的两侧固定安装。
4.根据权利要求2所述的一种竹筷子雕刻加工用固定装置,其特征在于:所述转杆(19)另一侧的顶部固定安装有杆体(25),所述杆体(25)远离转杆(19)的一侧固定安装有摇杆(26),所述摇杆(26)的表面套接有防护垫(27),所述转杆(19)的表面且位于箱体(1)的内腔固定安装有支架(28),所述支架(28)的底部与箱体(1)内腔的底部固定安装。
5.根据权利要求1所述的一种竹筷子雕刻加工用固定装置,其特征在于:所述箱体(1)内腔底部的另一侧固定安装有收集盒(29),所述收集盒(29)顶部的一侧与气泵(12)的出气端连通,所述收集盒(29)内腔的两侧固定安装有块体(30),所述块体(30)的顶部插接有抽盒(31),所述抽盒(31)的底部固定安装有第一过滤网(32),所述收集盒(29)一侧的底部且位于块体(30)的下方固定安装有第二过滤网(33),所述第二过滤网(33)的一侧固定安装有排气管(34),所述排气管(34)远离第二过滤网(33)的一端贯穿箱体(1)并延伸至箱体(1)的外部。
6.根据权利要求1所述的一种竹筷子雕刻加工用固定装置,其特征在于:所述主动齿轮(4)远离箱体(1)的一侧固定安装有连接杆(35),所述连接杆(35)远离主动齿轮(4)的一侧固定安装有转盘(36),所述转盘(36)的远离连接杆(35)的一端固定安装有握杆(37),所述箱体(1)内腔一侧的顶部且位于电机(7)的下方固定安装有支撑板(38),所述支撑板(38)的顶部与电机(7)的底部固定安装。
7.根据权利要求1所述的一种竹筷子雕刻加工用固定装置,其特征在于:所述箱体(1)的正面铰接有箱门(39),所述箱门(39)正面的一侧固定安装有把手,所述箱门(39)的正面开设有观察口(40),所述观察口(40)的内腔嵌设有亚克力板。
Priority Applications (1)
| Application Number | Priority Date | Filing Date | Title |
|---|---|---|---|
| CN202011456937.1A CN112676715B (zh) | 2020-12-13 | 2020-12-13 | 一种竹筷子雕刻加工用固定装置 |
Applications Claiming Priority (1)
| Application Number | Priority Date | Filing Date | Title |
|---|---|---|---|
| CN202011456937.1A CN112676715B (zh) | 2020-12-13 | 2020-12-13 | 一种竹筷子雕刻加工用固定装置 |
Publications (2)
| Publication Number | Publication Date |
|---|---|
| CN112676715A true CN112676715A (zh) | 2021-04-20 |
| CN112676715B CN112676715B (zh) | 2023-02-21 |
Family
ID=75449252
Family Applications (1)
| Application Number | Title | Priority Date | Filing Date |
|---|---|---|---|
| CN202011456937.1A Active CN112676715B (zh) | 2020-12-13 | 2020-12-13 | 一种竹筷子雕刻加工用固定装置 |
Country Status (1)
| Country | Link |
|---|---|
| CN (1) | CN112676715B (zh) |
Citations (21)
| Publication number | Priority date | Publication date | Assignee | Title |
|---|---|---|---|---|
| GB2098891A (en) * | 1981-05-26 | 1982-12-01 | Wu Jay Tzen | Clamping work tables |
| JPH0631564A (ja) * | 1992-07-17 | 1994-02-08 | Daido Steel Co Ltd | 端部加工機用クランプ装置 |
| CN101332739A (zh) * | 2008-08-05 | 2008-12-31 | 褚淑兵 | 筷子激光雕刻方法及其筷子激光雕刻机 |
| KR101563987B1 (ko) * | 2015-08-10 | 2015-11-06 | (주)강림나노텍 | 공작물 고정용 지그 |
| CN205996605U (zh) * | 2016-09-19 | 2017-03-08 | 济宁科尔森液压有限公司 | 一种通用可调夹具 |
| CN206660393U (zh) * | 2017-01-13 | 2017-11-24 | 天水师范学院 | 多功能体操训练器 |
| CN107932325A (zh) * | 2017-11-25 | 2018-04-20 | 肖征 | 一种竹制品加工用固定装置 |
| CN207547900U (zh) * | 2017-12-08 | 2018-06-29 | 资溪县竹富竹业有限公司 | 一种用于竹木制品的激光雕刻机 |
| CN207983086U (zh) * | 2018-03-26 | 2018-10-19 | 范永米 | 一种板材研磨专用夹具 |
| CN208409597U (zh) * | 2018-07-06 | 2019-01-22 | 湖南化工职业技术学院(湖南工业高级技工学校) | 一种机械实习用的工件夹持装置 |
| CN110315212A (zh) * | 2019-06-17 | 2019-10-11 | 浙江利众竹木有限公司 | 一种筷子激光雕刻装置 |
| CN110340700A (zh) * | 2019-08-07 | 2019-10-18 | 王卓越 | 一种板状工件开孔用可调式固定装置 |
| CN110712061A (zh) * | 2019-11-08 | 2020-01-21 | 温州职业技术学院 | 一种铣床加工铣头部的金属碎屑收集装置 |
| CN210081208U (zh) * | 2019-05-15 | 2020-02-18 | 苏州驰夫电子科技有限公司 | 一种电子产品生产用夹持固定工件 |
| CN210158957U (zh) * | 2019-05-20 | 2020-03-20 | 山东天洁净化环境科技有限公司 | 一种新型传递窗 |
| CN211195646U (zh) * | 2019-10-16 | 2020-08-07 | 泉州市新美奇艺品企业有限公司 | 一种树脂制品的雕刻装置 |
| CN211332332U (zh) * | 2019-12-31 | 2020-08-25 | 镇江双宇精密机械制造有限公司 | 一种箱体加工用夹持机构 |
| CN211415062U (zh) * | 2019-12-03 | 2020-09-04 | 沈阳华威合金材料有限公司 | 一种镍合金加工用夹持组件 |
| CN211614895U (zh) * | 2019-11-14 | 2020-10-02 | 东莞市凯福电子科技有限公司 | 一种高精度转台 |
| CN211759897U (zh) * | 2019-11-15 | 2020-10-27 | 魏忍如 | 一种钢材加工夹持装置 |
| CN212070791U (zh) * | 2020-03-30 | 2020-12-04 | 崇义县泰顺竹业有限公司 | 一种竹筷激光雕刻装置 |
-
2020
- 2020-12-13 CN CN202011456937.1A patent/CN112676715B/zh active Active
Patent Citations (21)
| Publication number | Priority date | Publication date | Assignee | Title |
|---|---|---|---|---|
| GB2098891A (en) * | 1981-05-26 | 1982-12-01 | Wu Jay Tzen | Clamping work tables |
| JPH0631564A (ja) * | 1992-07-17 | 1994-02-08 | Daido Steel Co Ltd | 端部加工機用クランプ装置 |
| CN101332739A (zh) * | 2008-08-05 | 2008-12-31 | 褚淑兵 | 筷子激光雕刻方法及其筷子激光雕刻机 |
| KR101563987B1 (ko) * | 2015-08-10 | 2015-11-06 | (주)강림나노텍 | 공작물 고정용 지그 |
| CN205996605U (zh) * | 2016-09-19 | 2017-03-08 | 济宁科尔森液压有限公司 | 一种通用可调夹具 |
| CN206660393U (zh) * | 2017-01-13 | 2017-11-24 | 天水师范学院 | 多功能体操训练器 |
| CN107932325A (zh) * | 2017-11-25 | 2018-04-20 | 肖征 | 一种竹制品加工用固定装置 |
| CN207547900U (zh) * | 2017-12-08 | 2018-06-29 | 资溪县竹富竹业有限公司 | 一种用于竹木制品的激光雕刻机 |
| CN207983086U (zh) * | 2018-03-26 | 2018-10-19 | 范永米 | 一种板材研磨专用夹具 |
| CN208409597U (zh) * | 2018-07-06 | 2019-01-22 | 湖南化工职业技术学院(湖南工业高级技工学校) | 一种机械实习用的工件夹持装置 |
| CN210081208U (zh) * | 2019-05-15 | 2020-02-18 | 苏州驰夫电子科技有限公司 | 一种电子产品生产用夹持固定工件 |
| CN210158957U (zh) * | 2019-05-20 | 2020-03-20 | 山东天洁净化环境科技有限公司 | 一种新型传递窗 |
| CN110315212A (zh) * | 2019-06-17 | 2019-10-11 | 浙江利众竹木有限公司 | 一种筷子激光雕刻装置 |
| CN110340700A (zh) * | 2019-08-07 | 2019-10-18 | 王卓越 | 一种板状工件开孔用可调式固定装置 |
| CN211195646U (zh) * | 2019-10-16 | 2020-08-07 | 泉州市新美奇艺品企业有限公司 | 一种树脂制品的雕刻装置 |
| CN110712061A (zh) * | 2019-11-08 | 2020-01-21 | 温州职业技术学院 | 一种铣床加工铣头部的金属碎屑收集装置 |
| CN211614895U (zh) * | 2019-11-14 | 2020-10-02 | 东莞市凯福电子科技有限公司 | 一种高精度转台 |
| CN211759897U (zh) * | 2019-11-15 | 2020-10-27 | 魏忍如 | 一种钢材加工夹持装置 |
| CN211415062U (zh) * | 2019-12-03 | 2020-09-04 | 沈阳华威合金材料有限公司 | 一种镍合金加工用夹持组件 |
| CN211332332U (zh) * | 2019-12-31 | 2020-08-25 | 镇江双宇精密机械制造有限公司 | 一种箱体加工用夹持机构 |
| CN212070791U (zh) * | 2020-03-30 | 2020-12-04 | 崇义县泰顺竹业有限公司 | 一种竹筷激光雕刻装置 |
Also Published As
| Publication number | Publication date |
|---|---|
| CN112676715B (zh) | 2023-02-21 |
Similar Documents
| Publication | Publication Date | Title |
|---|---|---|
| CN214865538U (zh) | —种实木家具生产加工用除尘装置 | |
| CN114932485A (zh) | 一种自带划线功能的建筑工地板材临时处理砂轮机 | |
| CN211411406U (zh) | 一种用于现代车间的除尘空气净化设备 | |
| CN213439000U (zh) | 一种珠宝表面抛光处理装置 | |
| CN112676715B (zh) | 一种竹筷子雕刻加工用固定装置 | |
| CN211993375U (zh) | 一种沙发生产用木头切割装置 | |
| CN214293586U (zh) | 一种竹木工艺品原材料加工用切割装置 | |
| CN217494592U (zh) | 一种竹板家居生产用快速侧边钻孔设备 | |
| CN221435293U (zh) | 一种激光切割用除尘装置 | |
| CN112605781A (zh) | 一种竹制筷子生产用毛刺打磨装置 | |
| CN209256329U (zh) | 一种新型机械加工用工作台 | |
| CN213054089U (zh) | 一种竹筷加工用斜倒角装置 | |
| CN218836488U (zh) | 一种激光切割机用除尘设备 | |
| CN112774357A (zh) | 一种用于现代车间的除尘空气净化设备 | |
| CN217142548U (zh) | 一种硬质合金刀片生产用收料装置 | |
| CN214185726U (zh) | 一种方便清理的激光切割头的激光切割设备 | |
| CN212554299U (zh) | 一种具有除尘功能的竹木制品加工用切割台 | |
| CN211440396U (zh) | 一种竹木的表面雕刻机 | |
| CN210679027U (zh) | 一种木质加工用自动收集废屑装置 | |
| CN220162726U (zh) | 一种木质餐具加工用原木去皮装置 | |
| CN221021429U (zh) | 一种木地板加工成形装置 | |
| CN219768182U (zh) | 一种手板模型制作台结构 | |
| CN218427422U (zh) | 一种木板加工用去毛刺机 | |
| CN112659310A (zh) | 一种具有收集切屑的家具生产用切割设备 | |
| CN219132636U (zh) | 一种竹制品加工用仿形机 |
Legal Events
| Date | Code | Title | Description |
|---|---|---|---|
| PB01 | Publication | ||
| PB01 | Publication | ||
| SE01 | Entry into force of request for substantive examination | ||
| SE01 | Entry into force of request for substantive examination | ||
| GR01 | Patent grant | ||
| GR01 | Patent grant |