CN112674968A - 一种基于连杆机构的多功能医用护理床 - Google Patents
一种基于连杆机构的多功能医用护理床 Download PDFInfo
- Publication number
- CN112674968A CN112674968A CN202011540552.3A CN202011540552A CN112674968A CN 112674968 A CN112674968 A CN 112674968A CN 202011540552 A CN202011540552 A CN 202011540552A CN 112674968 A CN112674968 A CN 112674968A
- Authority
- CN
- China
- Prior art keywords
- bed
- electric push
- push rod
- board
- leg
- Prior art date
- Legal status (The legal status is an assumption and is not a legal conclusion. Google has not performed a legal analysis and makes no representation as to the accuracy of the status listed.)
- Withdrawn
Links
- 230000000474 nursing effect Effects 0.000 title claims abstract description 45
- 230000007246 mechanism Effects 0.000 title claims abstract description 27
- 238000005452 bending Methods 0.000 claims abstract description 47
- 229910000831 Steel Inorganic materials 0.000 claims description 4
- 239000010959 steel Substances 0.000 claims description 4
- 230000002349 favourable effect Effects 0.000 abstract 1
- 238000011084 recovery Methods 0.000 abstract 1
- 230000036544 posture Effects 0.000 description 6
- 230000017531 blood circulation Effects 0.000 description 3
- 206010033799 Paralysis Diseases 0.000 description 2
- 230000009286 beneficial effect Effects 0.000 description 2
- 238000010586 diagram Methods 0.000 description 2
- 230000000694 effects Effects 0.000 description 2
- 230000009471 action Effects 0.000 description 1
- 230000004075 alteration Effects 0.000 description 1
- 230000007547 defect Effects 0.000 description 1
- 230000006872 improvement Effects 0.000 description 1
- 230000007774 longterm Effects 0.000 description 1
- 230000004048 modification Effects 0.000 description 1
- 238000012986 modification Methods 0.000 description 1
- 231100000862 numbness Toxicity 0.000 description 1
- 230000001769 paralizing effect Effects 0.000 description 1
- 238000006467 substitution reaction Methods 0.000 description 1
Images
Landscapes
- Invalid Beds And Related Equipment (AREA)
Abstract
本发明涉及医疗器械技术领域,且公开了一种基于连杆机构的多功能医用护理床,包括床框架,所述床框架的上下两侧固定连接有床头板和床尾板,所述床框架的左右两侧活动连接有左侧护板和右侧护板,所述床框架的上部活动连接有上床板,所述床框架的中部活动连接有中床板,所述床框架的下部活动连接有下床板,所述中床板下方的左右两侧设置有第一电动推杆和第二电动推杆,所述上床板的下方设置有第三电动推杆,所述下床板的下方设置有第四电动推杆,所述下床板的内部滑动连接有曲腿板。该多功能医用护理床,能够实现侧翻、抬背、曲腿等功能,更大的符合了患者的使用要求,有利于患者的康复。
Description
技术领域
本发明涉及医疗器械技术领域,具体为一种基于连杆机构的多功能医用护理床。
背景技术
多功能医用护理床是针对生活不能自理的病人、危重病人和瘫痪病人的特殊需要而使用的,根据病人的使用需求,能够随意调节床的背部和脚部的角度。即使不能自理者,护理人员也可通过床边相关的辅助设施进行操作,极大的提高了患者的康复水平,所以功能强大的护理床越来越备受关注。
目前,一些功能基础型护理床,其功能比较简单单一,不能满足使用者的护理要求,不利于有效快速地康复;对于护理床的调节以手动为主,操作繁琐;舒适性差,使用者的体验效果不佳。
发明内容
(一)解决的技术问题
针对现有技术的不足,本发明提供了一种基于连杆机构的多功能医用护理床,具备功能多样、电动调节、舒适性好的优点,解决了功能单一、手动调节、舒适性差的问题。
(二)技术方案
为实现上述功能多样、电动调节、舒适性好的目的,本发明提供如下技术方案:一种基于连杆机构的多功能医用护理床,包括床框架,所述床框架的上下两侧固定连接有床头板和床尾板,所述床框架的左右两侧活动连接有左侧护板和右侧护板,所述床框架的底部固定连接有万向滚轮,所述床框架的上部活动连接有上床板,所述床框架的中部活动连接有中床板,所述床框架的下部活动连接有下床板,所述中床板下方的左右两侧设置有第一电动推杆和第二电动推杆,所述上床板的下方设置有第三电动推杆,所述下床板的下方设置有第四电动推杆,所述下床板的内部滑动连接有曲腿板,所述第四电动推杆的上端铰接有第一曲腿连架杆,所述第一曲腿连架杆的右端铰接有第二曲腿连架杆,所述第二电动推杆的上端铰接有侧翻连杆,所述第三电动推杆的上端铰接有抬背连杆,所述曲腿板的下方设置有支撑杆。
优选的,所述上床板、中床板和下床板分别由三块钢板拼接而成,且它们之间的上、下、左、右相互铰接连接。
优选的,所述曲腿板在下床板的内部上下滑动,所述下床板的下表面设置有限位结构。
优选的,所述第一电动推杆、第二电动推杆、第三电动推杆和第四电动推杆的底端均连接有气缸。
优选的,所述第一曲腿连架杆的左端与床框架铰接,所述第二曲腿连架杆与下床板的底面铰接在一起。
优选的,所述侧翻连杆的回转中心与床框架活动连接,所述侧翻连杆的上端与中床板固定连接。
优选的,所述抬背连杆远离第三电动推杆的一端与上床板固定连接。
(三)有益效果
与现有技术相比,本发明提供了一种基于连杆机构的多功能医用护理床,具备以下有益效果:
1、该多功能医用护理床,具有多种体位姿态,通过电动推杆驱动连杆机构,能够实现床身改变的功能。采用了侧翻机构、抬背曲腿机构之后的医用护理床,其使用功能得到了增强,能够实现侧翻、抬背、曲腿等功能,更大的符合了患者的使用要求,并且有利于市场化的推广,有利于患者的康复。
2、该多功能医用护理床,为了防止长时间卧床造成血流不畅所引起的并发症,护理床可以实现床面的左右侧翻身。对于危重、高度瘫痪等生活上不能自理的病人,还可以使病人在床上以坐姿的形式抬背躺卧。同时护理床还实现了病人的抬腿坐姿体位,以减轻病人由于盘腿坐起时的不舒适感。对于护理床的控制方式,可以采用键盘按钮操纵,方便护理人员或病人自己进行控制操作。
附图说明
图1为本发明多功能医用护理床的整体示意图;
图2为本发明多功能医用护理床的右视图;
图3为本发明多功能医用护理床的侧视图;
图4为本发明多功能医用护理床的侧翻工作示意图;
图5为本发明多功能医用护理床的抬背曲腿工作示意图。
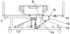
图中:1、床框架;2、床头板;3、床尾板;4、万向滚轮;5、右侧护板;6、左侧护板;7、上床板;8、中床板;9、下床板;10、曲腿板;11、第一电动推杆;12、第二电动推杆;13、第三电动推杆;14、第四电动推杆;15、第一曲腿连架杆;16、第二曲腿连架杆;17、侧翻连杆;18、抬背连杆;19、支撑杆。
具体实施方式
下面将结合本发明实施例中的附图,对本发明实施例中的技术方案进行清楚、完整地描述,显然,所描述的实施例仅仅是本发明一部分实施例,而不是全部的实施例。基于本发明中的实施例,本领域普通技术人员在没有做出创造性劳动前提下所获得的所有其他实施例,都属于本发明保护的范围。
请参阅图1-5,一种基于连杆机构的多功能医用护理床,包括床框架1,床框架1的上下两侧固定连接有床头板2和床尾板3,床框架1的左右两侧活动连接有左侧护板6和右侧护板5,床框架1的底部固定连接有万向滚轮4,床框架1的上部活动连接有上床板7,床框架1的中部活动连接有中床板8,床框架1的下部活动连接有下床板9,上床板7、中床板8和下床板9分别由三块钢板拼接而成,且它们之间的上、下、左、右相互铰接连接。为了实现床面某一个特定的体位姿态,就必须有一套特定的机构与之对应,通过各个床面板之间的协调运动,采用单动或联动方式实现了护理床所需的各种体位姿态。
中床板8下方的左右两侧设置有第一电动推杆11和第二电动推杆12,上床板7的下方设置有第三电动推杆13,下床板9的下方设置有第四电动推杆14,第一电动推杆11、第二电动推杆12、第三电动推杆13和第四电动推杆14的底端均连接有气缸。下床板9的内部滑动连接有曲腿板10,曲腿板10在下床板9的内部上下滑动,下床板9的下表面设置有限位结构。第四电动推杆14的上端铰接有第一曲腿连架杆15,第一曲腿连架杆15的右端铰接有第二曲腿连架杆16,第一曲腿连架杆15的左端与床框架1铰接,第二曲腿连架杆16与下床板9的底面铰接在一起。第二电动推杆12的上端铰接有侧翻连杆17,侧翻连杆17的回转中心与床框架1活动连接,侧翻连杆17的上端与中床板8固定连接,其构成的侧翻机构主要功能是实现患者在护理床上的左右翻身,避免了因患者背部长期接触床体对皮肤产生的危害,同时减轻了护理人员的护理强度。第三电动推杆13的上端铰接有抬背连杆18,抬背连杆18远离第三电动推杆13的一端与上床板7固定连接,其主要的功能是实现患者在护理床上的抬背及端坐的功能。曲腿板10的下方设置有支撑杆19,第一曲腿连架杆15和第二曲腿连架杆16主要实现下床板9的向下弯曲,在向下弯曲的时候,曲腿板10必须处于水平位置,支撑杆19保持曲腿板10水平,会使患者有较好的血液循环,避免了患者因腿部向下而腿部发麻。
工作原理:多功能医用护理床的侧翻机构采用两个对称的四杆机构,由第一电动推杆11、第二电动推杆12驱动。通过气缸控制,实现护理床的左右侧翻功能。电动推杆一端铰接于床架上,另一端铰接于侧翻连杆17上,侧翻连杆17的回转中心铰接于床架上,另一端与中床板8固定连接,中床板8通过螺栓与中部床板铰接,中部床板通过固定器将中部床板固定于床架上,电动推杆的推动使得侧翻连杆17绕着床架发生转动,使得中床板8绕着它与中部床板的铰接点为转轴发生转动。第三电动推杆13一端铰接于床架上,另一端铰接于抬背连杆18上,抬背连杆18的另一端与上床板7固定连接,中部床板焊接固定于床架上,第三电动推杆13的推动使得抬背连杆18绕着床架发生转动,使得上床板7绕着它与中部床板的铰接点为转轴发生转动。
曲腿机构由第四电动推杆14驱动,实现曲腿的动作。第四电动推杆14一端铰接于床架上,另一端铰接于第一曲腿连架杆15,第一曲腿连架杆15又和第二曲腿连架杆16相铰接,第二曲腿连架杆16再和曲腿板10铰接;第一曲腿连架杆15和曲腿板10通过不同的铰接分别固定于床架上,第四电动推杆14的推动使得第一曲腿连架杆15和第二曲腿连架杆16绕着床架发生转动,通过第二曲腿连架杆16与曲腿板10相铰接,使得曲腿板10绕着它与中部床板的铰接点为转轴发生转动。
综上所述,该多功能医用护理床,具有多种体位姿态,通过电动推杆驱动连杆机构,能够实现床身改变的功能。采用了侧翻机构、抬背曲腿机构之后的医用护理床,其使用功能得到了增强,能够实现侧翻、抬背、曲腿等功能,更大的符合了患者的使用要求,并且有利于市场化的推广,有利于患者的康复。
为了防止长时间卧床造成血流不畅所引起的并发症,护理床可以实现床面的左右侧翻身。对于危重、高度瘫痪等生活上不能自理的病人,还可以使病人在床上以坐姿的形式抬背躺卧。同时护理床还实现了病人的抬腿坐姿体位,以减轻病人由于盘腿坐起时的不舒适感。对于护理床的控制方式,可以采用键盘按钮操纵,方便护理人员或病人自己进行控制操作。
尽管已经示出和描述了本发明的实施例,对于本领域的普通技术人员而言,可以理解在不脱离本发明的原理和精神的情况下可以对这些实施例进行多种变化、修改、替换和变型,本发明的范围由所附权利要求及其等同物限定。
Claims (7)
1.一种基于连杆机构的多功能医用护理床,包括床框架(1),其特征在于:所述床框架(1)的上下两侧固定连接有床头板(2)和床尾板(3),所述床框架(1)的左右两侧活动连接有左侧护板(6)和右侧护板(5),所述床框架(1)的底部固定连接有万向滚轮(4),所述床框架(1)的上部活动连接有上床板(7),所述床框架(1)的中部活动连接有中床板(8),所述床框架(1)的下部活动连接有下床板(9),所述中床板(8)下方的左右两侧设置有第一电动推杆(11)和第二电动推杆(12),所述上床板(7)的下方设置有第三电动推杆(13),所述下床板(9)的下方设置有第四电动推杆(14),所述下床板(9)的内部滑动连接有曲腿板(10),所述第四电动推杆(14)的上端铰接有第一曲腿连架杆(15),所述第一曲腿连架杆(15)的右端铰接有第二曲腿连架杆(16),所述第二电动推杆(12)的上端铰接有侧翻连杆(17),所述第三电动推杆(13)的上端铰接有抬背连杆(18),所述曲腿板(10)的下方设置有支撑杆(19)。
2.根据权利要求1所述的一种基于连杆机构的多功能医用护理床,其特征在于:所述上床板(7)、中床板(8)和下床板(9)分别由三块钢板拼接而成,且它们之间的上、下、左、右相互铰接连接。
3.根据权利要求1所述的一种基于连杆机构的多功能医用护理床,其特征在于:所述曲腿板(10)在下床板(9)的内部上下滑动,所述下床板(9)的下表面设置有限位结构。
4.根据权利要求1所述的一种基于连杆机构的多功能医用护理床,其特征在于:所述第一电动推杆(11)、第二电动推杆(12)、第三电动推杆(13)和第四电动推杆(14)的底端均连接有气缸。
5.根据权利要求1所述的一种基于连杆机构的多功能医用护理床,其特征在于:所述第一曲腿连架杆(15)的左端与床框架(1)铰接,所述第二曲腿连架杆(16)与下床板(9)的底面铰接在一起。
6.根据权利要求1所述的一种基于连杆机构的多功能医用护理床,其特征在于:所述侧翻连杆(17)的回转中心与床框架(1)活动连接,所述侧翻连杆(17)的上端与中床板(8)固定连接。
7.根据权利要求1所述的一种基于连杆机构的多功能医用护理床,其特征在于:所述抬背连杆(18)远离第三电动推杆(13)的一端与上床板(7)固定连接。
Priority Applications (1)
| Application Number | Priority Date | Filing Date | Title |
|---|---|---|---|
| CN202011540552.3A CN112674968A (zh) | 2020-12-23 | 2020-12-23 | 一种基于连杆机构的多功能医用护理床 |
Applications Claiming Priority (1)
| Application Number | Priority Date | Filing Date | Title |
|---|---|---|---|
| CN202011540552.3A CN112674968A (zh) | 2020-12-23 | 2020-12-23 | 一种基于连杆机构的多功能医用护理床 |
Publications (1)
| Publication Number | Publication Date |
|---|---|
| CN112674968A true CN112674968A (zh) | 2021-04-20 |
Family
ID=75451250
Family Applications (1)
| Application Number | Title | Priority Date | Filing Date |
|---|---|---|---|
| CN202011540552.3A Withdrawn CN112674968A (zh) | 2020-12-23 | 2020-12-23 | 一种基于连杆机构的多功能医用护理床 |
Country Status (1)
| Country | Link |
|---|---|
| CN (1) | CN112674968A (zh) |
Cited By (6)
| Publication number | Priority date | Publication date | Assignee | Title |
|---|---|---|---|---|
| CN113425528A (zh) * | 2021-07-12 | 2021-09-24 | 海南泽然信息技术有限公司 | 一种多角度调整的多功能医疗护理床 |
| CN113813120A (zh) * | 2021-10-20 | 2021-12-21 | 深圳市医迪康科技有限公司 | 一种智能护理床 |
| CN114732619A (zh) * | 2022-03-10 | 2022-07-12 | 安徽工程大学 | 传染病人医疗防护床 |
| CN114983704A (zh) * | 2022-06-21 | 2022-09-02 | 中国医学科学院血液病医院(中国医学科学院血液学研究所) | 电动旋转翻身护理床 |
| CN115350020A (zh) * | 2022-07-20 | 2022-11-18 | 苏州江南航天机电工业有限公司 | 一种户外医技保障车用多功能护理装置 |
| CN116059086A (zh) * | 2022-12-08 | 2023-05-05 | 北京科技大学 | 一种可实现坐姿、站姿切换的下肢康复机器人 |
-
2020
- 2020-12-23 CN CN202011540552.3A patent/CN112674968A/zh not_active Withdrawn
Cited By (6)
| Publication number | Priority date | Publication date | Assignee | Title |
|---|---|---|---|---|
| CN113425528A (zh) * | 2021-07-12 | 2021-09-24 | 海南泽然信息技术有限公司 | 一种多角度调整的多功能医疗护理床 |
| CN113813120A (zh) * | 2021-10-20 | 2021-12-21 | 深圳市医迪康科技有限公司 | 一种智能护理床 |
| CN114732619A (zh) * | 2022-03-10 | 2022-07-12 | 安徽工程大学 | 传染病人医疗防护床 |
| CN114983704A (zh) * | 2022-06-21 | 2022-09-02 | 中国医学科学院血液病医院(中国医学科学院血液学研究所) | 电动旋转翻身护理床 |
| CN115350020A (zh) * | 2022-07-20 | 2022-11-18 | 苏州江南航天机电工业有限公司 | 一种户外医技保障车用多功能护理装置 |
| CN116059086A (zh) * | 2022-12-08 | 2023-05-05 | 北京科技大学 | 一种可实现坐姿、站姿切换的下肢康复机器人 |
Similar Documents
| Publication | Publication Date | Title |
|---|---|---|
| CN112674968A (zh) | 一种基于连杆机构的多功能医用护理床 | |
| CN108836674A (zh) | 一种多功能电动护理床 | |
| CN107773368A (zh) | 一种可调节式电动护理床 | |
| CN111759609A (zh) | 一种多功能型深度护理床 | |
| CN112245154A (zh) | 一种新型多功能可变形护理床 | |
| CN206837059U (zh) | 便捷式升降康复床 | |
| CN204600956U (zh) | 多方向翻转型护理床 | |
| CN212662129U (zh) | 一种多功能型深度护理床 | |
| CN102488597B (zh) | 多功能电动护理床 | |
| CN219022007U (zh) | 一种具有起背防护功能的护理床 | |
| CN109998815A (zh) | 一种多姿态自由控制的智能护理床 | |
| CN110236820A (zh) | 一种床架、护理床及该护理床的升降控制方法 | |
| CN209075234U (zh) | 一种多功能电动护理床 | |
| CN214018209U (zh) | 一种垂直升降带头脚升降的床 | |
| CN206334037U (zh) | 一种简易医用护理床 | |
| CN211675042U (zh) | 一种上下床辅助机构及辅助床 | |
| CN217987889U (zh) | 一种面向长期卧床人群的护理机器人床 | |
| CN112674965A (zh) | 一种轮椅护理床组合装置及其使用方法 | |
| CN214318365U (zh) | 一种轮椅护理床组合装置 | |
| CN219354435U (zh) | 一种关节外科护理座椅 | |
| CN215535828U (zh) | 一种带有可调垫架病床 | |
| CN212281953U (zh) | 一种多功能智能养老床 | |
| CN212235177U (zh) | 一种淋巴水肿治疗床 | |
| CN210991311U (zh) | 一种可活动护理组合床 | |
| CN223474014U (zh) | 一种养老床 |
Legal Events
| Date | Code | Title | Description |
|---|---|---|---|
| PB01 | Publication | ||
| PB01 | Publication | ||
| SE01 | Entry into force of request for substantive examination | ||
| SE01 | Entry into force of request for substantive examination | ||
| WW01 | Invention patent application withdrawn after publication |
Application publication date: 20210420 |
|
| WW01 | Invention patent application withdrawn after publication |