CN112667050B - 一种高散热的大数据一体机 - Google Patents
一种高散热的大数据一体机 Download PDFInfo
- Publication number
- CN112667050B CN112667050B CN202110002886.3A CN202110002886A CN112667050B CN 112667050 B CN112667050 B CN 112667050B CN 202110002886 A CN202110002886 A CN 202110002886A CN 112667050 B CN112667050 B CN 112667050B
- Authority
- CN
- China
- Prior art keywords
- fixedly connected
- gear
- rotating shaft
- installation cavity
- installation
- Prior art date
- Legal status (The legal status is an assumption and is not a legal conclusion. Google has not performed a legal analysis and makes no representation as to the accuracy of the status listed.)
- Active
Links
- 238000009434 installation Methods 0.000 claims abstract description 95
- 239000000428 dust Substances 0.000 claims abstract description 38
- 230000017525 heat dissipation Effects 0.000 claims abstract description 27
- 229940070527 tourmaline Drugs 0.000 claims abstract description 16
- 229910052613 tourmaline Inorganic materials 0.000 claims abstract description 16
- 239000011032 tourmaline Substances 0.000 claims abstract description 16
- 239000004744 fabric Substances 0.000 claims description 20
- 238000001914 filtration Methods 0.000 claims description 18
- 238000004140 cleaning Methods 0.000 claims description 10
- 235000017166 Bambusa arundinacea Nutrition 0.000 claims description 5
- 235000017491 Bambusa tulda Nutrition 0.000 claims description 5
- 241001330002 Bambuseae Species 0.000 claims description 5
- 235000015334 Phyllostachys viridis Nutrition 0.000 claims description 5
- 239000011425 bamboo Substances 0.000 claims description 5
- 210000003437 trachea Anatomy 0.000 claims description 5
- 241000883990 Flabellum Species 0.000 claims description 3
- 239000001301 oxygen Substances 0.000 abstract description 12
- 229910052760 oxygen Inorganic materials 0.000 abstract description 12
- -1 oxygen ions Chemical class 0.000 abstract description 12
- 230000002035 prolonged effect Effects 0.000 abstract description 2
- XLYOFNOQVPJJNP-UHFFFAOYSA-N water Substances O XLYOFNOQVPJJNP-UHFFFAOYSA-N 0.000 description 14
- 238000010586 diagram Methods 0.000 description 7
- 238000009423 ventilation Methods 0.000 description 4
- 238000007664 blowing Methods 0.000 description 3
- 238000000034 method Methods 0.000 description 3
- 239000007788 liquid Substances 0.000 description 2
- 239000000203 mixture Substances 0.000 description 2
- 230000009286 beneficial effect Effects 0.000 description 1
- 230000033228 biological regulation Effects 0.000 description 1
- 230000000903 blocking effect Effects 0.000 description 1
- 238000013500 data storage Methods 0.000 description 1
- 238000005516 engineering process Methods 0.000 description 1
- 239000007789 gas Substances 0.000 description 1
- 230000010354 integration Effects 0.000 description 1
- 238000007726 management method Methods 0.000 description 1
- 239000000463 material Substances 0.000 description 1
Images
Classifications
-
- Y—GENERAL TAGGING OF NEW TECHNOLOGICAL DEVELOPMENTS; GENERAL TAGGING OF CROSS-SECTIONAL TECHNOLOGIES SPANNING OVER SEVERAL SECTIONS OF THE IPC; TECHNICAL SUBJECTS COVERED BY FORMER USPC CROSS-REFERENCE ART COLLECTIONS [XRACs] AND DIGESTS
- Y02—TECHNOLOGIES OR APPLICATIONS FOR MITIGATION OR ADAPTATION AGAINST CLIMATE CHANGE
- Y02D—CLIMATE CHANGE MITIGATION TECHNOLOGIES IN INFORMATION AND COMMUNICATION TECHNOLOGIES [ICT], I.E. INFORMATION AND COMMUNICATION TECHNOLOGIES AIMING AT THE REDUCTION OF THEIR OWN ENERGY USE
- Y02D10/00—Energy efficient computing, e.g. low power processors, power management or thermal management
Landscapes
- Cooling Or The Like Of Electrical Apparatus (AREA)
Abstract
本发明公开了一种高散热的大数据一体机,属于信息管理装置技术领域。一种高散热的大数据一体机,包括第一安装箱、散热机构和一体机本体,所述第一安装箱内开设有第一安装腔、第二安装腔、第三安装腔、第四安装腔和第五安装腔,所述散热机构设置第五安装腔内,所述第五安装腔内设有与散热机构相配合的第一驱动部,所述一体机本体设置在第一安装腔内,所述第五安装腔内固定连接有第二安装箱;本发明利用电气石产生负氧离子,然后将负氧离子送入进风孔内吸附空气中的尘埃,形成尘团,从而防止尘埃进入一体机本体内损坏其内部的元器件,从而延长一体机本体的使用寿命。
Description
技术领域
本发明涉及信息管理装置技术领域,尤其涉及一种高散热的大数据一体机。
背景技术
大数据一体机是面向大数据存储、处理、展现全环节、软硬一体化的方案型产品,当前,数据处理领域正处于平台架构的更替期,大数据一体机的面市,解决了原有架构的扩展瓶颈和新技术条件下的客户应用门槛,进一步推进了大数据技术在我国各行业的应用。
现有技术中,在散热的过程中,装置内部会吸取大量的外部空气替换内部的气体,但是外部空气中含有大量的粉尘,因此在换热的过程中,装置内部会积累很多粉尘,粉尘落到电子元件上容易造成电子元件损坏,从而降低装置的使用寿命,所以需要设计一种高散热的大数据一体机。
发明内容
本发明的目的是为了解决现有技术中散热的过程中装置内部容易累积灰尘,从而缩短装置的使用寿命的问题,而提出的一种高散热的大数据一体机。
为了实现上述目的,本发明采用了如下技术方案:
一种高散热的大数据一体机,包括第一安装箱、散热机构和一体机本体,所述第一安装箱内开设有第一安装腔、第二安装腔、第三安装腔、第四安装腔和第五安装腔,所述散热机构设置第五安装腔内,所述第五安装腔内设有与散热机构相配合的第一驱动部,所述一体机本体设置在第一安装腔内,所述第五安装腔内固定连接有第二安装箱,所述第二安装箱内开设有与散热机构相配合的进风孔,所述进风孔的进风口处固定连接有过滤网,所述进风孔内固定连接有滤尘布,所述进风孔内设有与滤尘布相配合的清洁机构,所述第四安装腔内设有用于聚尘的电气箱,所述第五安装腔内设有与清洁机构相配合的第二驱动部。
优选的,所述第一驱动部包括电机和驱动轴,所述电机固定连接在第五安装腔的底部,所述驱动轴固定连接在电机的输出端,所述驱动轴延伸至第二安装腔内固定连接有第六齿轮,所述第二安装腔内设有与第六齿轮相配合的排风组件。
优选的,所述排风组件包括第一安装架和第一转轴,所述第一安装架固定连接在第二安装腔内,所述第一转轴转动连接在第一安装架上,所述第一转轴的两端分别固定连接有第一齿轮和第一扇叶,所述第一齿轮与第六齿轮相啮合。
优选的,所述电气箱固定连接在第四安装腔内,所述电气箱内固定连接有电气石,所述电气石与排风组件相配合,所述电气石内开设有通气孔,所述通气孔与散热机构相配合,所述电气箱内转动连接有第八转轴,所述第八转轴上固定连接有第四扇叶,所述电气箱的输出端通过第三气管与进风孔相连通,所述电气箱的输入端通过第四气管与第二驱动部相配合,所述第四安装腔内设有用于驱动第八转轴转动的第三驱动部。
优选的,所述第三驱动部包括第三安装箱和叶板,所述第三安装箱固定连接在第四安装腔的侧壁,所述第三安装箱内开设有第六安装腔和第七安装腔,所述第七安装腔内转动连接有第七转轴,所述叶板固定连接在第七转轴上,所述第六安装腔内转动连接有第六转轴,所述第六转轴上固定连接有第三链轮和第九齿轮,所述第七转轴延伸至第六安装腔内固定连接有第四链轮,所述第四链轮与第三链轮通过第二链条转动连接,所述第八转轴延伸至第六安装腔内固定连接有第十齿轮,所述第九齿轮与第十齿轮相啮合,所述第七安装腔的输入端通过第二气管与通气孔相连通,所述第三安装箱的输出端固定连接有第一气管,所述第一气管的顶端延伸至第一安装箱的顶部。
优选的,所述清洁机构包括第四转轴和毛刷,所述第四转轴转动连接在进风孔内,所述第四转轴上固定连接有安装筒,所述毛刷固定连接在安装筒上,所述毛刷与滤尘布相配合,所述第二安装箱内设有抽屉,所述进风孔与抽屉通过落尘槽相连通。
优选的,所述第二驱动部包括进气管和第二转轴,所述进气管固定连接在第二安装箱的顶部,所述第二转轴转动连接在进气管内,所述进气管上固定连接有第二扇叶和第四齿轮,所述进气管的输出端与第四气管固定连接,所述进气管内转动连接有第三转轴,所述第三转轴上固定连接有与第四齿轮相啮合的第五齿轮,所述第三转轴延伸至进气管外固定连接有第一链轮,所述第四转轴延伸至第二安装箱外固定连接有第二链轮,所述第一链轮与第二链轮通过第一链条转动连接。
优选的,所述第一安装箱的底部固定连接有支腿,所述支腿内开设有滑槽,所述滑槽内转动连接有螺纹筒,所述螺纹筒内螺纹连接有螺纹杆,所述螺纹杆的底部固定连接有锁紧轮,所述锁紧轮滑动连接在滑槽内,所述支腿的侧壁转动连接与调节杆,所述调节杆延伸至滑槽内固定连接有第二齿轮,所述螺纹筒上固定连接有与第二齿轮相啮合的第三齿轮。
优选的,所述第一安装腔内固定连接支撑座,所述一体机本体固定连接在支撑座上,所述支撑座上固定连接有用于固定一体机本体的固定架,所述支撑座上开设有气槽和通风孔,所述气槽和通风孔均与一体机本体相配合。
与现有技术相比,本发明提供了一种高散热的大数据一体机,具备以下有益效果:
1、该高散热的大数据一体机,通过利用电气石产生负氧离子,然后将负氧离子送入进风孔内吸附空气中的尘埃,形成尘团,从而防止尘埃进入一体机本体内损坏其内部的元器件,从而延长一体机本体的使用寿命。
2、该高散热的大数据一体机,通过清洁机构滤尘布进行拍打,从而将吸附在滤尘布上的尘团排入抽屉内,从而防止滤尘布被堵住,避免外部空气无法进入第五安装腔内导致空气不流通,进而避免一体机本体因温度过高而损坏。
3、该高散热的大数据一体机,通过固定架对一体机本体进行固定,防止移动时因颠簸而脱离支撑座,气槽和通风孔更方便一体机本体散热。
附图说明
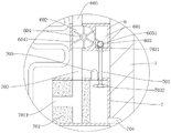
图1为本发明提出的一种高散热的大数据一体机的主视图;
图2为本发明提出的一种高散热的大数据一体机第二安装箱的结构示意图一;
图3为本发明提出的一种高散热的大数据一体机第二安装箱的结构示意图二;
图4为本发明提出的一种高散热的大数据一体机第三驱动部的的结构示意图;
图5为本发明提出的一种高散热的大数据一体机图1中A部分的结构示意图;
图6为本发明提出的一种高散热的大数据一体机图1中B部分的结构示意图;
图7为本实用提出的一种高散热的大数据一体机图1中C部分的结构示意图;
图8为本发明提出的一种高散热的大数据一体机支撑座的结构示意图。
图中:1、第一安装箱;101、第一安装腔;102、第二安装腔;1021、第一安装架;1022、第一转轴;1023、第一扇叶;1024、第一齿轮;103、第三安装腔;104、第四安装腔;105、第五安装腔;106、调节杆;1061、第二齿轮;107、螺纹筒;1071、第三齿轮;1072、螺纹杆;1073、锁紧轮;108、支腿;1081、滑槽;2、支撑座;201、固定架;202、一体机本体;203、通风孔;2031、气槽;3、进气管;301、第二转轴;3011、第四齿轮;3012、第二扇叶;302、第三转轴;3021、第五齿轮;3022、第一链轮;4、第二安装箱;401、进风孔;402、过滤网;403、滤尘布;404、第四转轴;4041、安装筒;4042、毛刷;4043、第二链轮;405、抽屉;4051、落尘槽;406、第一链条;5、电机;501、驱动轴;5011、第六齿轮;5012、曲轴;5013、第七齿轮;502、第二安装架;5021、第五转轴;5021、第五转轴;5022、第八齿轮;5023、第三扇叶;503、活塞式空气压缩机;5031、蒸发器;504、节流器;5041、冷凝器;505、滤水箱;5051、排水管;5052、集水箱;6、第三安装箱;601、第六安装腔;602、第七安装腔;603、第六转轴;6031、第九齿轮;6032、第三链轮;604、第七转轴;6041、叶板;6042、第四链轮;6043、第二链条;605、第一气管;7、电气箱;701、电气石;7011、通气孔;702、第二气管;703、第八转轴;7031、第十齿轮;7032、第四扇叶;704、第三气管;705、第四气管。
具体实施方式
下面将结合本发明实施例中的附图,对本发明实施例中的技术方案进行清楚、完整地描述,显然,所描述的实施例仅仅是本发明一部分实施例,而不是全部的实施例。
在本发明的描述中,需要理解的是,术语“上”、“下”、“前”、“后”、“左”、“右”、“顶”、“底”、“内”、“外”等指示的方位或位置关系为基于附图所示的方位或位置关系,仅是为了便于描述本发明和简化描述,而不是指示或暗示所指的装置或元件必须具有特定的方位、以特定的方位构造和操作,因此不能理解为对本发明的限制。
实施例一:
参照图1-8,一种高散热的大数据一体机,包括第一安装箱1、散热机构和一体机本体202,第一安装箱1内开设有第一安装腔101、第二安装腔102、第三安装腔103、第四安装腔104和第五安装腔105,散热机构设置第五安装腔105内,第五安装腔105内设有与散热机构相配合的第一驱动部,一体机本体202设置在第一安装腔101内,第五安装腔105内固定连接有第二安装箱4,第二安装箱4内开设有与散热机构相配合的进风孔401,进风孔401的进风口处固定连接有过滤网402,进风孔401内固定连接有滤尘布403,进风孔401内设有与滤尘布403相配合的清洁机构,第四安装腔104内设有用于聚尘的电气箱7,第五安装腔105内设有与清洁机构相配合的第二驱动部,第四安装腔104内设有用于驱动第二驱动部的第三驱动部,第三驱动部与电气箱7相配合;
第一驱动部使排风组件工作,从第一安装箱1外吸取常温空气替换第一安装腔101内的高温气体,然后将高温气体从第一安装腔101内一体机本体202内产生的热量排入第三安装腔103内,然后热气进入电气箱7内,使电气箱7产生负氧离子,然后热气使第三驱动部工作将负氧离子排入进风孔401内,负氧离子进入进风孔401内吸附空气中的尘埃,形成尘团,滤尘布403对尘团进行拦截,第三驱动部使第二驱动部工作,第二驱动部使清洁机构工作,清洁机构对滤尘布403进行清洁,从而避免尘团堵住滤尘布403。
参照图1、图6和图7,第一驱动部包括电机5和驱动轴501,电机5固定连接在第五安装腔105的底部,驱动轴501固定连接在电机5的输出端,驱动轴501延伸至第二安装腔102内固定连接有第六齿轮5011,第二安装腔102内设有与第六齿轮5011相配合的排风组件,排风组件包括第一安装架1021和第一转轴1022,第一安装架1021固定连接在第二安装腔102内,第一转轴1022转动连接在第一安装架1021上,第一转轴1022的两端分别固定连接有第一齿轮1024和第一扇叶1023,第一齿轮1024与第六齿轮5011相啮合;
电机5通过驱动轴501使第六齿轮5011转动,第六齿轮5011通过第一齿轮1024使第一转轴1022转动,第一转轴1022使第一扇叶1023转动,吸取第一安装腔101内一体机本体202散发的热量,然后将其排入第四安装腔104内,防止热气在第一安装腔101内聚集损坏一体机本体202内的电子元件,从而延长一体机本体202的使用寿命。
参照图1-5,电气箱7固定连接在第四安装腔104内,电气箱7内固定连接有电气石701,电气石701与排风组件相配合,电气石701内开设有通气孔7011,通气孔7011与散热机构相配合,电气箱7内转动连接有第八转轴703,第八转轴703上固定连接有第四扇叶7032,电气箱7的输出端通过第三气管704与进风孔401相连通,电气箱7的输入端通过第四气管705与第二驱动部相配合,第四安装腔104内设有用于驱动第八转轴703转动的第三驱动部,第三驱动部包括第三安装箱6和叶板6041,第三安装箱6固定连接在第四安装腔104的侧壁,第三安装箱6内开设有第六安装腔601和第七安装腔602,第七安装腔602内转动连接有第七转轴604,叶板6041固定连接在第七转轴604上,第六安装腔601内转动连接有第六转轴603,第六转轴603上固定连接有第三链轮6032和第九齿轮6031,第七转轴604延伸至第六安装腔601内固定连接有第四链轮6042,第四链轮6042与第三链轮6032通过第二链条6043转动连接,第八转轴703延伸至第六安装腔601内固定连接有第十齿轮7031,第九齿轮6031与第十齿轮7031相啮合,第七安装腔602的输入端通过第二气管702与通气孔7011相连通,第三安装箱6的输出端固定连接有第一气管605,第一气管605的顶端延伸至第一安装箱1的顶部,清洁机构包括第四转轴404和毛刷4042,第四转轴404转动连接在进风孔401内,第四转轴404上固定连接有安装筒4041,毛刷4042固定连接在安装筒4041上,毛刷4042与滤尘布403相配合,第二安装箱4内设有抽屉405,进风孔401与抽屉405通过落尘槽4051相连通,第二驱动部包括进气管3和第二转轴301,进气管3固定连接在第二安装箱4的顶部,第二转轴301转动连接在进气管3内,进气管3上固定连接有第二扇叶3012和第四齿轮3011,进气管3的输出端与第四气管705固定连接,进气管3内转动连接有第三转轴302,第三转轴302上固定连接有与第四齿轮3011相啮合的第五齿轮3021,第三转轴302延伸至进气管3外固定连接有第一链轮3022,第四转轴404延伸至第二安装箱4外固定连接有第二链轮4043,第一链轮3022与第二链轮4043通过第一链条406转动连接;
第一扇叶1023吹入第四安装腔104的热风增加了第四安装腔104内的气压,从而使热风进入电气箱7内,然后热风对电气石701进行加热,使电气石701产生负氧离子,然后热气通过通气孔7011进入第二气管702内,然后进入第七安装腔602内,最后通过第一气管605排出第一安装箱1,热气在第四安装腔104内部压强的作用下使叶板6041转动,叶板6041通过第七转轴604使第四链轮6042转动,第四链轮6042通过第二链条6043使第三链轮6032转动,第三链轮6032通过第六转轴603使第九齿轮6031转动,第九齿轮6031通过第十齿轮7031使第八转轴703转动,第八转轴703通过第四扇叶7032转动,第四扇叶7032通过第四气管705从进气管3内吸取过滤后的空气产生气流,通过第三气管704将负氧离子吹入进风孔401内,负氧离子进入进风孔401内吸附即将进入第五安装腔105内的空气中的尘埃,形成尘团,尘团在气流的作用下会吸附在滤尘布403上,而第四扇叶7032吸取第五安装腔105内的空气时,空气进入进气管3内时,会使第二扇叶3012转动,第二扇叶3012通过第二转轴301使第四齿轮3011转动,第四齿轮3011通过第五齿轮3021使第三转轴302转动,第三转轴302通过第一链轮3022和第一链条406使第二链轮4043转动,第二链轮4043通过第四转轴404使安装筒4041转动,安装筒4041转动使毛刷4042对滤尘布403进行拍打,从而将吸附在滤尘布403上的尘团排入抽屉405内,从而防止滤尘布403被堵住,避免外部空气无法进入第五安装腔105内导致空气不流通,进而避免一体机本体202因温度过高而损坏。
参照图1,第一安装箱1的底部固定连接有支腿108,支腿108内开设有滑槽1081,滑槽1081内转动连接有螺纹筒107,螺纹筒107内螺纹连接有螺纹杆1072,螺纹杆1072的底部固定连接有锁紧轮1073,锁紧轮1073滑动连接在滑槽1081内,支腿108的侧壁转动连接与调节杆106,调节杆106延伸至滑槽1081内固定连接有第二齿轮1061,螺纹筒107上固定连接有与第二齿轮1061相啮合的第三齿轮1071;
转动调节杆106,调节杆106通过第二齿轮1061使第三齿轮1071转动,第三齿轮1071通过使螺纹筒107转动,螺纹筒107通过螺纹杆1072使锁紧轮1073在滑槽1081内滑动,使锁紧轮1073可以收起和升降,从而方便对该装置进行搬运和固定。
参照图1和图8,第一安装腔101内固定连接支撑座2,一体机本体202固定连接在支撑座2上,支撑座2上固定连接有用于固定一体机本体202的固定架201,支撑座2上开设有气槽2031和通风孔203,气槽2031和通风孔203均与一体机本体202相配合;
固定架201对一体机本体202进行固定,防止移动时因颠簸而脱离支撑座2,气槽2031和通风孔203更方便一体机本体202散热。
实施例二:
参照图1-8,为了使一体机本体202能够更好的散热和使电气石701产生更多的负氧离子,在第一安装箱1内设置了相应的散热机构,散热机构包括活塞式空气压缩机503和节流器504,活塞式空气压缩机503固定连接在第三安装腔103内,活塞式空气压缩机503与第一驱动部相连,节流器504固定连接在第四安装腔104内,第五安装腔105内设有蒸发器5031,蒸发器5031的两端分别与节流器504的输出端和活塞式空气压缩机503的输入端相连通,第四安装腔104内设有冷凝器5041,冷凝器5041的两端分别与节流器504的输入端和活塞式空气压缩机503的输出端相连通,第五安装腔105内设有与蒸发器5031相配合的吹风组件;
散热机构内部设有氟利昂,氟利昂通过节流器504降压形成低压低温的雾化气液混合物,然后进入蒸发器5031内,吸收从外部进入第五安装腔105内的空气的中的热量,从而形成冷空气,然后经过吹风组件吹入第一安装腔101内对一体机本体202进行降温,吸收了热量雾化气液混合物经过活塞式空气压缩机503转化成高温高压的气态,然后在冷凝器5041内与第四安装腔104内的空气进行热交换,释放热能,对第四安装腔104内的空气进行加热,从而使电气石701产生更多的负氧离子。
参照图1和图7,第一驱动部包括电机5和驱动轴501,电机5固定连接在第五安装腔105的底部,驱动轴501固定连接在电机5的输出端,驱动轴501从上至下依次固定连接有曲轴5012和第七齿轮5013,活塞式空气压缩机503的驱动端转动连接在曲轴5012上,吹风组件包括第二安装架502和第五转轴5021,第二安装架502固定连接在第五安装腔105内,第五转轴5021转动连接在第二安装架502上,第五转轴5021的两端分别固定连接有第三扇叶5023和第八齿轮5022,第八齿轮5022与第七齿轮5013相啮合,第五安装腔105内设有滤水箱505,滤水箱505与蒸发器5031相配合,第一安装箱1的底部固定连接有集水箱5052,集水箱5052与滤水箱505通过排水管5051相连通,节流器504具体为膨胀阀,第一安装腔101的顶部形状具体为半圆形的槽;
驱动轴501通过曲轴5012使活塞式空气压缩机503工作,为氟利昂在通过节流器504、蒸发器5031、活塞式空气压缩机503和冷凝器5041内部循环提供动力,驱动轴501通过第七齿轮5013使第八齿轮5022转动,第八齿轮5022通过第五转轴5021使第三扇叶5023转动,从而将第五安装腔105内的冷空气输送到第一安装腔101内对一体机本体202进行快速降温,第五安装腔105内的冷空气在进入第一安装腔101之前,会经过滤水箱505过滤掉空气中的水分,使冷空气变得干燥,从而防止潮湿的空气损坏一体机本体202内的电子元件,滤水箱505过滤下来的水通过排水管5051进入集水箱5052内,排水管5051内设有单向阀,滤水箱505内的滤水材料具体为防水透气膜。
以上所述,仅为本发明较佳的具体实施方式,但本发明的保护范围并不局限于此,任何熟悉本技术领域的技术人员在本发明揭露的技术范围内,根据本发明的技术方案及其发明构思加以等同替换或改变,都应涵盖在本发明的保护范围之内。
Claims (8)
1.一种高散热的大数据一体机,包括第一安装箱(1)、散热机构和一体机本体(202),所述第一安装箱(1)内开设有第一安装腔(101)、第二安装腔(102)、第三安装腔(103)、第四安装腔(104)和第五安装腔(105),所述散热机构设置第五安装腔(105)内,所述第五安装腔(105)内设有与散热机构相配合的第一驱动部,所述一体机本体(202)设置在第一安装腔(101)内,其特征在于,所述第五安装腔(105)内固定连接有第二安装箱(4),所述第二安装箱(4)内开设有与散热机构相配合的进风孔(401),所述进风孔(401)的进风口处固定连接有过滤网(402),所述进风孔(401)内固定连接有滤尘布(403),所述进风孔(401)内设有与滤尘布(403)相配合的清洁机构,所述第四安装腔(104)内设有用于聚尘的电气箱(7),所述第五安装腔(105)内设有与清洁机构相配合的第二驱动部;
所述电气箱(7)固定连接在第四安装腔(104)内,所述电气箱(7)内固定连接有电气石(701),所述电气石(701)与排风组件相配合,所述电气石(701)内开设有通气孔(7011),所述通气孔(7011)与散热机构相配合,所述电气箱(7)内转动连接有第八转轴(703),所述第八转轴(703)上固定连接有第四扇叶(7032),所述电气箱(7)的输出端通过第三气管(704)与进风孔(401)相连通,所述电气箱(7)的输入端通过第四气管(705)与第二驱动部相配合,所述第四安装腔(104)内设有用于驱动第八转轴(703)转动的第三驱动部。
2.根据权利要求1所述的高散热的大数据一体机,其特征在于,所述第一驱动部包括电机(5)和驱动轴(501),所述电机(5)固定连接在第五安装腔(105)的底部,所述驱动轴(501)固定连接在电机(5)的输出端,所述驱动轴(501)延伸至第二安装腔(102)内固定连接有第六齿轮(5011),所述第二安装腔(102)内设有与第六齿轮(5011)相配合的排风组件。
3.根据权利要求2所述的高散热的大数据一体机,其特征在于,所述排风组件包括第一安装架(1021)和第一转轴(1022),所述第一安装架(1021)固定连接在第二安装腔(102)内,所述第一转轴(1022)转动连接在第一安装架(1021)上,所述第一转轴(1022)的两端分别固定连接有第一齿轮(1024)和第一扇叶(1023),所述第一齿轮(1024)与第六齿轮(5011)相啮合。
4.根据权利要求1所述的高散热的大数据一体机,其特征在于,所述第三驱动部包括第三安装箱(6)和叶板(6041),所述第三安装箱(6)固定连接在第四安装腔(104)的侧壁,所述第三安装箱(6)内开设有第六安装腔(601)和第七安装腔(602),所述第七安装腔(602)内转动连接有第七转轴(604),所述叶板(6041)固定连接在第七转轴(604)上,所述第六安装腔(601)内转动连接有第六转轴(603),所述第六转轴(603)上固定连接有第三链轮(6032)和第九齿轮(6031),所述第七转轴(604)延伸至第六安装腔(601)内固定连接有第四链轮(6042),所述第四链轮(6042)与第三链轮(6032)通过第二链条(6043)转动连接,所述第八转轴(703)延伸至第六安装腔(601)内固定连接有第十齿轮(7031),所述第九齿轮(6031)与第十齿轮(7031)相啮合,所述第七安装腔(602)的输入端通过第二气管(702)与通气孔(7011)相连通,所述第三安装箱(6)的输出端固定连接有第一气管(605),所述第一气管(605)的顶端延伸至第一安装箱(1)的顶部。
5.根据权利要求4所述的高散热的大数据一体机,其特征在于,所述清洁机构包括第四转轴(404)和毛刷(4042),所述第四转轴(404)转动连接在进风孔(401)内,所述第四转轴(404)上固定连接有安装筒(4041),所述毛刷(4042)固定连接在安装筒(4041)上,所述毛刷(4042)与滤尘布(403)相配合,所述第二安装箱(4)内设有抽屉(405),所述进风孔(401)与抽屉(405)通过落尘槽(4051)相连通。
6.根据权利要求5所述的高散热的大数据一体机,其特征在于,所述第二驱动部包括进气管(3)和第二转轴(301),所述进气管(3)固定连接在第二安装箱(4)的顶部,所述第二转轴(301)转动连接在进气管(3)内,所述进气管(3)上固定连接有第二扇叶(3012)和第四齿轮(3011),所述进气管(3)的输出端与第四气管(705)固定连接,所述进气管(3)内转动连接有第三转轴(302),所述第三转轴(302)上固定连接有与第四齿轮(3011)相啮合的第五齿轮(3021),所述第三转轴(302)延伸至进气管(3)外固定连接有第一链轮(3022),所述第四转轴(404)延伸至第二安装箱(4)外固定连接有第二链轮(4043),所述第一链轮(3022)与第二链轮(4043)通过第一链条(406)转动连接。
7.根据权利要求1所述的高散热的大数据一体机,其特征在于,所述第一安装箱(1)的底部固定连接有支腿(108),所述支腿(108)内开设有滑槽(1081),所述滑槽(1081)内转动连接有螺纹筒(107),所述螺纹筒(107)内螺纹连接有螺纹杆(1072),所述螺纹杆(1072)的底部固定连接有锁紧轮(1073),所述锁紧轮(1073)滑动连接在滑槽(1081)内,所述支腿(108)的侧壁转动连接与调节杆(106),所述调节杆(106)延伸至滑槽(1081)内固定连接有第二齿轮(1061),所述螺纹筒(107)上固定连接有与第二齿轮(1061)相啮合的第三齿轮(1071)。
8.根据权利要求1所述的高散热的大数据一体机,其特征在于,所述第一安装腔(101)内固定连接支撑座(2),所述一体机本体(202)固定连接在支撑座(2)上,所述支撑座(2)上固定连接有用于固定一体机本体(202)的固定架(201),所述支撑座(2)上开设有气槽(2031)和通风孔(203),所述气槽(2031)和通风孔(203)均与一体机本体(202)相配合。
Priority Applications (1)
| Application Number | Priority Date | Filing Date | Title |
|---|---|---|---|
| CN202110002886.3A CN112667050B (zh) | 2021-01-04 | 2021-01-04 | 一种高散热的大数据一体机 |
Applications Claiming Priority (1)
| Application Number | Priority Date | Filing Date | Title |
|---|---|---|---|
| CN202110002886.3A CN112667050B (zh) | 2021-01-04 | 2021-01-04 | 一种高散热的大数据一体机 |
Publications (2)
| Publication Number | Publication Date |
|---|---|
| CN112667050A CN112667050A (zh) | 2021-04-16 |
| CN112667050B true CN112667050B (zh) | 2022-08-26 |
Family
ID=75412599
Family Applications (1)
| Application Number | Title | Priority Date | Filing Date |
|---|---|---|---|
| CN202110002886.3A Active CN112667050B (zh) | 2021-01-04 | 2021-01-04 | 一种高散热的大数据一体机 |
Country Status (1)
| Country | Link |
|---|---|
| CN (1) | CN112667050B (zh) |
Families Citing this family (1)
| Publication number | Priority date | Publication date | Assignee | Title |
|---|---|---|---|---|
| CN113319451B (zh) * | 2021-06-18 | 2022-08-23 | 济南金威刻科技发展有限公司 | 一种智能高速激光切割机控制系统 |
Citations (1)
| Publication number | Priority date | Publication date | Assignee | Title |
|---|---|---|---|---|
| CN108917029A (zh) * | 2018-09-21 | 2018-11-30 | 四川建源节能科技有限公司 | 具有除湿功能的液体喷雾清洁空气制造装置 |
Family Cites Families (7)
| Publication number | Priority date | Publication date | Assignee | Title |
|---|---|---|---|---|
| CN104386982B (zh) * | 2014-10-28 | 2017-05-10 | 成都尚科厨房设备有限公司 | 一种绿色环保电气石复合家装材料及其制备方法 |
| CN206497408U (zh) * | 2017-03-02 | 2017-09-15 | 任宁 | 一种自清洁计算机 |
| CN107398204A (zh) * | 2017-08-09 | 2017-11-28 | 广西综改咨询服务有限公司 | 一种农业用药剂快速稀释混合装置 |
| CN108205365A (zh) * | 2018-03-21 | 2018-06-26 | 河南趣读信息科技有限公司 | 一种高效散热的大数据服务器 |
| JP2020069374A (ja) * | 2018-11-01 | 2020-05-07 | 陳佳佳 | 移動可能式霧化空気清浄機 |
| CN210295014U (zh) * | 2019-08-16 | 2020-04-10 | 重庆城市职业学院 | 大数据一体机水冷散热装置 |
| CN110845821A (zh) * | 2019-11-28 | 2020-02-28 | 安徽实友电力金具有限公司 | 一种用于智能家居的防尘型电子设备控制盒 |
-
2021
- 2021-01-04 CN CN202110002886.3A patent/CN112667050B/zh active Active
Patent Citations (1)
| Publication number | Priority date | Publication date | Assignee | Title |
|---|---|---|---|---|
| CN108917029A (zh) * | 2018-09-21 | 2018-11-30 | 四川建源节能科技有限公司 | 具有除湿功能的液体喷雾清洁空气制造装置 |
Also Published As
| Publication number | Publication date |
|---|---|
| CN112667050A (zh) | 2021-04-16 |
Similar Documents
| Publication | Publication Date | Title |
|---|---|---|
| CN112667050B (zh) | 一种高散热的大数据一体机 | |
| CN113573532B (zh) | 一种硅产品生产加工用电器元件的保护屏外壳 | |
| CN112601400A (zh) | 一种便于安装的户外网络机柜及安装方法 | |
| CN113381326B (zh) | 一种电气工程用高效散热电器柜 | |
| CN112490573B (zh) | 一种利用高速气流用于辅助散热的电池组外壳组件 | |
| CN208172718U (zh) | 一种计算机散热装置 | |
| CN118487146B (zh) | 一种低压配电柜成套设备 | |
| CN222415007U (zh) | 一种箱式柴油发电机 | |
| CN118040520B (zh) | 一种环网柜散热装置 | |
| CN222355220U (zh) | 一种风冷储能电池柜 | |
| CN109058132A (zh) | 一种柴油发电机进风处理装置 | |
| CN220358247U (zh) | 一种储能集装箱 | |
| CN119116742A (zh) | 一种多功能充电桩及充电桩安装方法 | |
| CN207854391U (zh) | 一种机电设备的散热装置 | |
| CN117881117A (zh) | 电气箱恒温控制装置 | |
| CN215333312U (zh) | 一种具有减震功能的微纤维离心喷吹压缩空气增压装置 | |
| CN118354579A (zh) | 一种具备防潮除尘功能的新能源风电变流柜 | |
| CN112378122B (zh) | 一种工业超高温热泵机组 | |
| CN222187184U (zh) | 一种制冷机组用除湿装置 | |
| CN118825826B (zh) | 一种高效散热组合式变电站箱体 | |
| CN218920872U (zh) | 一种一体式巡检控制柜 | |
| CN219693274U (zh) | 螺旋管壁式冷渣机 | |
| CN218479923U (zh) | 一种螺杆式空压机组 | |
| CN223104761U (zh) | 一种由伺服驱动器驱动的高效节能螺杆式空压机 | |
| CN221642300U (zh) | 一种散热性能强的充电桩电箱 |
Legal Events
| Date | Code | Title | Description |
|---|---|---|---|
| PB01 | Publication | ||
| PB01 | Publication | ||
| SE01 | Entry into force of request for substantive examination | ||
| SE01 | Entry into force of request for substantive examination | ||
| GR01 | Patent grant | ||
| GR01 | Patent grant |