CN112664924A - 一种生物质固体燃料用具有余热利用功能的燃烧装置 - Google Patents
一种生物质固体燃料用具有余热利用功能的燃烧装置 Download PDFInfo
- Publication number
- CN112664924A CN112664924A CN202011490574.3A CN202011490574A CN112664924A CN 112664924 A CN112664924 A CN 112664924A CN 202011490574 A CN202011490574 A CN 202011490574A CN 112664924 A CN112664924 A CN 112664924A
- Authority
- CN
- China
- Prior art keywords
- combustion
- box
- waste heat
- solid fuel
- pipe
- Prior art date
- Legal status (The legal status is an assumption and is not a legal conclusion. Google has not performed a legal analysis and makes no representation as to the accuracy of the status listed.)
- Withdrawn
Links
- 239000002028 Biomass Substances 0.000 title claims abstract description 59
- 239000004449 solid propellant Substances 0.000 title claims abstract description 56
- 239000002918 waste heat Substances 0.000 title claims abstract description 46
- 238000002485 combustion reaction Methods 0.000 claims abstract description 63
- 238000005245 sintering Methods 0.000 claims abstract description 30
- 239000002893 slag Substances 0.000 claims abstract description 28
- 238000010438 heat treatment Methods 0.000 claims abstract description 22
- 238000011084 recovery Methods 0.000 claims abstract description 21
- 239000000428 dust Substances 0.000 claims abstract description 11
- 241001233242 Lontra Species 0.000 claims abstract description 8
- 210000003437 trachea Anatomy 0.000 claims description 40
- XLYOFNOQVPJJNP-UHFFFAOYSA-N water Substances O XLYOFNOQVPJJNP-UHFFFAOYSA-N 0.000 claims description 15
- 238000007599 discharging Methods 0.000 claims description 13
- 238000003466 welding Methods 0.000 claims description 8
- 238000009413 insulation Methods 0.000 claims description 5
- 239000013049 sediment Substances 0.000 claims description 5
- 239000007789 gas Substances 0.000 abstract description 45
- 239000002245 particle Substances 0.000 abstract description 21
- 239000007787 solid Substances 0.000 abstract description 21
- 230000005484 gravity Effects 0.000 abstract description 6
- 230000000694 effects Effects 0.000 abstract description 3
- 238000009434 installation Methods 0.000 abstract description 3
- 238000000746 purification Methods 0.000 abstract description 3
- 239000012535 impurity Substances 0.000 description 6
- 238000004140 cleaning Methods 0.000 description 4
- 230000009286 beneficial effect Effects 0.000 description 3
- 238000010586 diagram Methods 0.000 description 2
- 238000005381 potential energy Methods 0.000 description 2
- 238000001179 sorption measurement Methods 0.000 description 2
- OKTJSMMVPCPJKN-UHFFFAOYSA-N Carbon Chemical compound [C] OKTJSMMVPCPJKN-UHFFFAOYSA-N 0.000 description 1
- 241001464837 Viridiplantae Species 0.000 description 1
- 238000007664 blowing Methods 0.000 description 1
- 229910052799 carbon Inorganic materials 0.000 description 1
- 238000005253 cladding Methods 0.000 description 1
- 239000012141 concentrate Substances 0.000 description 1
- 230000007613 environmental effect Effects 0.000 description 1
- 239000000446 fuel Substances 0.000 description 1
- 239000007788 liquid Substances 0.000 description 1
- 238000012986 modification Methods 0.000 description 1
- 230000004048 modification Effects 0.000 description 1
- 230000029553 photosynthesis Effects 0.000 description 1
- 238000010672 photosynthesis Methods 0.000 description 1
- 239000000126 substance Substances 0.000 description 1
- 238000004804 winding Methods 0.000 description 1
Images
Classifications
-
- Y—GENERAL TAGGING OF NEW TECHNOLOGICAL DEVELOPMENTS; GENERAL TAGGING OF CROSS-SECTIONAL TECHNOLOGIES SPANNING OVER SEVERAL SECTIONS OF THE IPC; TECHNICAL SUBJECTS COVERED BY FORMER USPC CROSS-REFERENCE ART COLLECTIONS [XRACs] AND DIGESTS
- Y02—TECHNOLOGIES OR APPLICATIONS FOR MITIGATION OR ADAPTATION AGAINST CLIMATE CHANGE
- Y02E—REDUCTION OF GREENHOUSE GAS [GHG] EMISSIONS, RELATED TO ENERGY GENERATION, TRANSMISSION OR DISTRIBUTION
- Y02E20/00—Combustion technologies with mitigation potential
- Y02E20/30—Technologies for a more efficient combustion or heat usage
Landscapes
- Processing Of Solid Wastes (AREA)
- Solid Fuels And Fuel-Associated Substances (AREA)
Abstract
本发明公开了一种生物质固体燃料用具有余热利用功能的燃烧装置,包括安装架、破碎机构、余热回收机构、排渣机构,还包括燃烧机构、除尘机构,所述燃烧机构包括送风箱、燃烧箱、加热箱。本发明可以通过固定架把助燃气体导流进出风架中,然后从出风架处喷出防止生物质固体燃料在未燃烧前落入到排渣机构内部,并且助燃气体与生物质固体燃料混合,有利于生物质固体燃料充分燃烧;可以通过烧结板对固体颗粒进行吸附,实现了处理燃烧尾气内部固体颗粒的功能,还可以通过燃烧尾气冲击网板,使得烧结板震动,使得固体颗粒从烧结板上脱离,并在重力的作用下落进排渣机构内部,实现了烧结板自净的功能。
Description
技术领域
本发明涉及生物质能领域,特别是涉及一种生物质固体燃料用具有余热利用功能的燃烧装置。
背景技术
生物质能,就是太阳能以化学能形式贮存在生物质中的能量形式,即以生物质为载体的能量。它直接或间接地来源于绿色植物的光合作用,可转化为常规的固态、液态及气态燃料,取之不尽、用之不竭,是一种可再生能源,同时也是唯一一种可再生的碳源。
目前,现有的燃烧装置存在燃烧不充分,且排放气体中含有大量的悬浮颗粒对周围环境造成污染,危害环境安全的问题。
发明内容
本发明的目的就在于为了解决上述问题而提供一种生物质固体燃料用具有余热利用功能的燃烧装置。
本发明通过以下技术方案来实现上述目的:
一种生物质固体燃料用具有余热利用功能的燃烧装置,包括安装架、破碎机构、余热回收机构、排渣机构,还包括燃烧机构、除尘机构,所述燃烧机构包括送风箱、燃烧箱、加热箱,所述送风箱、所述燃烧箱、所述加热箱通过螺栓连接在所述安装架前方,所述送风箱下端与所述排渣机构连通,所述送风箱上端通过法兰盘连接有所述燃烧箱,所述燃烧箱顶部通过法兰盘连接有所述加热箱,所述加热箱一侧连通所述余热回收机构,所述送风箱后端连接有进风管,所述进风管一端通过螺栓连接有固定架,所述固定架顶部中央设置有出风架,所述固定架通过螺栓连接在所述送风箱内部,这样设置可以通过固定架把助燃气体导流进出风架中,然后从出风架处喷出防止生物质固体燃料在未燃烧前落入到排渣机构内部,并且助燃气体与生物质固体燃料混合,有利于生物质固体燃料充分燃烧,所述除尘机构包括处理箱、固定块、滑杆、弹簧、网板、烧结板、过滤网、风机,所述处理箱通过螺栓连接在所述安装架前方,所述处理箱内壁顶端焊接有若干个所述固定块,所述固定块顶部焊接有所述滑杆,所述滑杆外侧滑动连接有所述网板,所述滑杆外侧还套设有所述弹簧,且所述弹簧还位于所述网板下方,所述网板底部通过螺钉连接有若干个所述烧结板,所述网板顶部设置有所述过滤网,所述处理箱内侧顶部通过螺钉连接有所述风机,所述处理箱底部伸进所述排渣机构内部,这样设置可以通过烧结板对固体颗粒进行吸附,实现了处理燃烧尾气内部固体颗粒的功能,还可以通过燃烧尾气冲击网板,使得烧结板震动,使得固体颗粒从烧结板上脱离,并在重力的作用下落进排渣机构内部,实现了烧结板自净的功能。
优选的,所述破碎机构包括破碎箱、加料斗、破碎辊、破碎电机、绞龙送料设备,所述破碎箱通过螺栓连接在所述安装架前端一侧,所述破碎箱顶部焊接有所述加料斗,所述破碎箱内部设置有两个所述破碎辊,且两个所述破碎辊之间通过齿轮啮合连接,其中一个所述破碎辊的中心轴伸出所述破碎箱,且通过键连接有所述破碎电机,所述破碎箱底部焊接有所述绞龙送料设备,所述绞龙送料设备的出料端伸进所述燃烧箱内部,这样设置可以通过破碎电机带动破碎辊转动,实现了破碎生物质固体燃料的功能,有益于生物质固体燃料充分燃烧。
优选的,与所述破碎电机连接的所述破碎辊上的齿轮齿数多与另一个所述破碎辊上的齿轮齿数,这样设置使得两个破碎辊转速不同,提高破碎效率。
优选的,所述余热回收机构包括第一气管、第二气管、第三气管、螺旋换热管、隔热层,所述第一气管一端连通所述加热箱,另一端连通所述第二气管,所述第二气管外侧缠绕有所述螺旋换热管,所述螺旋换热管外侧包覆有所述隔热层,所述第二气管远离所述第一气管的一端连通有所述第三气管,所述第三气管远离所述第二气管的一端伸进所述处理箱内部,这样设置可以通过螺旋换热管把第二气管内部燃烧尾气内部的热量置换出来,实现了余热回收利用的功能。
优选的,所述余热回收机构包括第一气管、第三气管、螺旋气管、水箱,所述第一气管一端连通所述加热箱,另一端伸进所述水箱内部,且连通所述螺旋气管,所述螺旋气管远离所述第一气管的一端连通所述第三气管,所述第三气管远离所述螺旋气管的一端伸出所述水箱,且伸进所述处理箱内部,这样设置可以通过水箱内部的水把螺旋气管内部燃烧尾气内部的热量置换出来,实现了余热回收利用的功能。
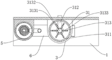
优选的,所述述出风架包括主风管、支管、出风口,所述主风管通过轴承连接在所述进风管内侧,所述主风管外侧焊接有若干个所述支管,所述支管上开设有若干个所述出风口,这样设置可以通过若干个出风口对助燃气体进行分流,防止助燃气体流过于集中,导致把生物质固体燃料在为充分燃烧前吹进第一气管内部,影响生物质固体燃料的充分燃烧。
优选的,所述排渣机构包括收集箱、排渣管,所述收集箱通过螺栓连接在所述安装架前端,所述收集箱内部中空,且所述收集箱一侧焊接有所述排渣管,这样设置可以通过收集箱集中收集送风箱和处理箱内部的灰尘,并从排渣管排除,方便了杂质的处理。
优选的,所述收集箱内底板倾斜设置,且靠近所述排渣管的一端倾斜向下,这样设置利用了重力势能自动清理收集箱内部杂质的功能。
优选的,所述烧结板均匀分布在所述网板下方,这样设置增加了对燃烧尾气内固体颗粒的吸附率。
优选的,所述加料斗顶部设置有盖板,这样设置可以防止在破碎生物质固体燃料时,灰尘从加料斗排出,造成周围环境受到污染。
有益效果在于:
1、本装置可以通过固定架把助燃气体导流进出风架中,然后从出风架处喷出防止生物质固体燃料在未燃烧前落入到排渣机构内部,并且助燃气体与生物质固体燃料混合,有利于生物质固体燃料充分燃烧;
2、本装置可以通过烧结板对固体颗粒进行吸附,实现了处理燃烧尾气内部固体颗粒的功能,还可以通过燃烧尾气冲击网板,使得烧结板震动,使得固体颗粒从烧结板上脱离,并在重力的作用下落进排渣机构内部,实现了烧结板自净的功能。
本发明的附加技术特征及其优点将在下面的描述内容中阐述地更加明显,或通过本发明的具体实践可以了解到。
附图说明
附图是用来提供对本发明的进一步理解,并且构成说明书的一部分,与下面的具体实施方式一起用于解释本发明,但并不构成对本发明的限制。在附图中:
图1是本发明所述一种生物质固体燃料用具有余热利用功能的燃烧装置的第一结构示意图;
图2是本发明所述一种生物质固体燃料用具有余热利用功能的燃烧装置的第二结构示意图;
图3是本发明所述一种生物质固体燃料用具有余热利用功能的燃烧装置的主视图;
图4是本发明所述一种生物质固体燃料用具有余热利用功能的燃烧装置的俯视图;
图5是本发明所述一种生物质固体燃料用具有余热利用功能的燃烧装置的A-A剖视图;
图6是本发明所述一种生物质固体燃料用具有余热利用功能的燃烧装置的第一实施例的B-B剖视图;
图7是本发明所述一种生物质固体燃料用具有余热利用功能的燃烧装置的C-C剖视图;
图8是本发明所述一种生物质固体燃料用具有余热利用功能的燃烧装置的第二实施例的B-B剖视图。
附图标记说明如下:
1、安装架;2、破碎机构;3、燃烧机构;4、余热回收机构;5、除尘机构;6、排渣机构;201、破碎箱;202、加料斗;203、破碎辊;204、破碎电机;205、绞龙送料设备;31、送风箱;32、燃烧箱;33、加热箱;311、固定架;312、进风管;313、出风架;3131、主风管;3132、支管;3133、出风口;401、第一气管;402、第二气管;403、第三气管;404、螺旋换热管;405、隔热层;41、螺旋气管;42、水箱;501、处理箱;502、固定块;503、滑杆;504、弹簧;505、网板;506、烧结板;507、过滤网;508、风机;601、收集箱;602、排渣管。
具体实施方式
下面将结合本发明实施例中的附图,对本发明实施例中的技术方案进行清楚、完整地描述,显然,所描述的实施例仅仅是本发明一部分实施例,而不是全部的实施例。
在本发明的描述中,需要理解的是,术语“上”、“下”、“前”、“后”、“左”、“右”、“顶”、“底”、“内”、“外”等指示的方位或位置关系为基于附图所示的方位或位置关系,仅是为了便于描述本发明和简化描述,而不是指示或暗示所指的装置或元件必须具有特定的方位、以特定的方位构造和操作,因此不能理解为对本发明的限制。
实施例1
如图1-7所示,一种生物质固体燃料用具有余热利用功能的燃烧装置,包括安装架1、破碎机构2、余热回收机构4、排渣机构6,还包括燃烧机构3、除尘机构5,燃烧机构3包括送风箱31、燃烧箱32、加热箱33,送风箱31、燃烧箱32、加热箱33通过螺栓连接在安装架1前方,送风箱31下端与排渣机构6连通,送风箱31上端通过法兰盘连接有燃烧箱32,燃烧箱32顶部通过法兰盘连接有加热箱33,加热箱33一侧连通余热回收机构4,送风箱31后端连接有进风管312,进风管312一端通过螺栓连接有固定架311,固定架311顶部中央设置有出风架313,固定架311通过螺栓连接在送风箱31内部,这样设置可以通过固定架311把助燃气体导流进出风架313中,然后从出风架313处喷出防止生物质固体燃料在未燃烧前落入到排渣机构6内部,并且助燃气体与生物质固体燃料混合,有利于生物质固体燃料充分燃烧,除尘机构5包括处理箱501、固定块502、滑杆503、弹簧504、网板505、烧结板506、过滤网507、风机508,处理箱501通过螺栓连接在安装架1前方,处理箱501内壁顶端焊接有若干个固定块502,固定块502顶部焊接有滑杆503,滑杆503外侧滑动连接有网板505,滑杆503外侧还套设有弹簧504,且弹簧504还位于网板505下方,网板505底部通过螺钉连接有若干个烧结板506,网板505顶部设置有过滤网507,处理箱501内侧顶部通过螺钉连接有风机508,处理箱501底部伸进排渣机构6内部,这样设置可以通过烧结板506对固体颗粒进行吸附,实现了处理燃烧尾气内部固体颗粒的功能,还可以通过燃烧尾气冲击网板505,使得烧结板506震动,使得固体颗粒从烧结板506上脱离,并在重力的作用下落进排渣机构6内部,实现了烧结板506自净的功能,破碎机构2包括破碎箱201、加料斗202、破碎辊203、破碎电机204、绞龙送料设备205,破碎箱201通过螺栓连接在安装架1前端一侧,破碎箱201顶部焊接有加料斗202,破碎箱201内部设置有两个破碎辊203,且两个破碎辊203之间通过齿轮啮合连接,其中一个破碎辊203的中心轴伸出破碎箱201,且通过键连接有破碎电机204,破碎箱201底部焊接有绞龙送料设备205,绞龙送料设备205的出料端伸进燃烧箱32内部,这样设置可以通过破碎电机204带动破碎辊203转动,实现了破碎生物质固体燃料的功能,有益于生物质固体燃料充分燃烧,与破碎电机204连接的破碎辊203上的齿轮齿数多与另一个破碎辊203上的齿轮齿数,这样设置使得两个破碎辊203转速不同,提高破碎效率,余热回收机构4包括第一气管401、第二气管402、第三气管403、螺旋换热管404、隔热层405,第一气管401一端连通加热箱33,另一端连通第二气管402,第二气管402外侧缠绕有螺旋换热管404,螺旋换热管404外侧包覆有隔热层405,第二气管402远离第一气管401的一端连通有第三气管403,第三气管403远离第二气管402的一端伸进处理箱501内部,这样设置可以通过螺旋换热管404把第二气管402内部燃烧尾气内部的热量置换出来,实现了余热回收利用的功能,述出风架313包括主风管3131、支管3132、出风口3133,主风管3131通过轴承连接在进风管312内侧,主风管3131外侧焊接有若干个支管3132,支管3132上开设有若干个出风口3133,这样设置可以通过若干个出风口3133对助燃气体进行分流,防止助燃气体流过于集中,导致把生物质固体燃料在为充分燃烧前吹进第一气管401内部,影响生物质固体燃料的充分燃烧,排渣机构6包括收集箱601、排渣管602,收集箱601通过螺栓连接在安装架1前端,收集箱601内部中空,且收集箱601一侧焊接有排渣管602,这样设置可以通过收集箱601集中收集送风箱31和处理箱501内部的灰尘,并从排渣管602排除,方便了杂质的处理,收集箱601内底板倾斜设置,且靠近排渣管602的一端倾斜向下,这样设置利用了重力势能自动清理收集箱601内部杂质的功能,烧结板506均匀分布在网板505下方,这样设置增加了对燃烧尾气内固体颗粒的吸附率,加料斗202顶部设置有盖板,这样设置可以防止在破碎生物质固体燃料时,灰尘从加料斗202排出,造成周围环境受到污染。
上述结构中,使用时,首先把生物质固体燃料通过加料斗202放入到破碎箱201内部,此时破碎电机204带动破碎辊203转动,破碎辊203对生物质固体燃料进行破碎,破碎后的生物质固体燃料进入到绞龙送料设备205内部,最后进入到燃烧箱32内部进行燃烧,此时进风管312把助燃气体通入到出风架313中,经过出风架313向上排出,助燃气体与生物质固体燃料混合,使得生物质固体燃料充分燃烧,燃烧的火苗进入到加热箱33内部,此时燃烧的尾气进入到第一气管401内部,当燃烧的尾气进入到第二气管402内部时,螺旋换热管404把第二气管402内部的热量置换出来,实现对余热的回收,尾气经过第三气管403进入到处理箱501内部,此时烧结板506对固体颗粒进行吸附,实现了处理燃烧尾气内部固体颗粒的功能,还可以通过燃烧尾气冲击网板505,使得烧结板506震动,使得固体颗粒从烧结板506上脱离,并在重力的作用下落进排渣机构6内部,实现了烧结板506自净的功能,最后进入到收集箱601内部的杂质从排渣管602处排出。
实施例2
如图8所示,实施例2与实施例1不同之处在于:余热回收机构4包括第一气管401、第三气管403、螺旋气管41、水箱42,第一气管401一端连通加热箱33,另一端伸进水箱42内部,且连通螺旋气管41,螺旋气管41远离第一气管401的一端连通第三气管403,第三气管403远离螺旋气管41的一端伸出水箱42,且伸进处理箱501内部,这样设置可以通过水箱42内部的水把螺旋气管41内部燃烧尾气内部的热量置换出来,实现了余热回收利用的功能。
上述结构中,使用时,首先把生物质固体燃料通过加料斗202放入到破碎箱201内部,此时破碎电机204带动破碎辊203转动,破碎辊203对生物质固体燃料进行破碎,破碎后的生物质固体燃料进入到绞龙送料设备205内部,最后进入到燃烧箱32内部进行燃烧,此时进风管312把助燃气体通入到出风架313中,经过出风架313向上排出,助燃气体与生物质固体燃料混合,使得生物质固体燃料充分燃烧,燃烧的火苗进入到加热箱33内部,此时燃烧的尾气进入到第一气管401内部,当燃烧的尾气进入到螺旋气管41内部时螺旋气管41内部的热量置换到水箱42中,实现对余热的回收,尾气经过第三气管403进入到处理箱501内部,此时烧结板506对固体颗粒进行吸附,实现了处理燃烧尾气内部固体颗粒的功能,还可以通过燃烧尾气冲击网板505,使得烧结板506震动,使得固体颗粒从烧结板506上脱离,并在重力的作用下落进排渣机构6内部,实现了烧结板506自净的功能,最后进入到收集箱601内部的杂质从排渣管602处排出。
以上显示和描述了本发明的基本原理、主要特征和优点。本行业的技术人员应该了解,本发明不受上述实施例的限制,上述实施例和说明书中描述的只是说明本发明的原理,在不脱离本发明精神和范围的前提下,本发明还会有各种变化和改进,这些变化和改进都落入要求保护的本发明范围内。本发明要求保护范围由所附的权利要求书及其效物界定。
Claims (10)
1.一种生物质固体燃料用具有余热利用功能的燃烧装置,包括安装架、破碎机构、余热回收机构、排渣机构,其特征在于:还包括燃烧机构、除尘机构,所述燃烧机构包括送风箱、燃烧箱、加热箱,所述送风箱、所述燃烧箱、所述加热箱通过螺栓连接在所述安装架前方,所述送风箱下端与所述排渣机构连通,所述送风箱上端通过法兰盘连接有所述燃烧箱,所述燃烧箱顶部通过法兰盘连接有所述加热箱,所述加热箱一侧连通所述余热回收机构,所述送风箱后端连接有进风管,所述进风管一端通过螺栓连接有固定架,所述固定架顶部中央设置有出风架,所述固定架通过螺栓连接在所述送风箱内部,所述除尘机构包括处理箱、固定块、滑杆、弹簧、网板、烧结板、过滤网、风机,所述处理箱通过螺栓连接在所述安装架前方,所述处理箱内壁顶端焊接有若干个所述固定块,所述固定块顶部焊接有所述滑杆,所述滑杆外侧滑动连接有所述网板,所述滑杆外侧还套设有所述弹簧,且所述弹簧还位于所述网板下方,所述网板底部通过螺钉连接有若干个所述烧结板,所述网板顶部设置有所述过滤网,所述处理箱内侧顶部通过螺钉连接有所述风机,所述处理箱底部伸进所述排渣机构内部。
2.根据权利要求1所述的一种生物质固体燃料用具有余热利用功能的燃烧装置,其特征在于:所述破碎机构包括破碎箱、加料斗、破碎辊、破碎电机、绞龙送料设备,所述破碎箱通过螺栓连接在所述安装架前端一侧,所述破碎箱顶部焊接有所述加料斗,所述破碎箱内部设置有两个所述破碎辊,且两个所述破碎辊之间通过齿轮啮合连接,其中一个所述破碎辊的中心轴伸出所述破碎箱,且通过键连接有所述破碎电机,所述破碎箱底部焊接有所述绞龙送料设备,所述绞龙送料设备的出料端伸进所述燃烧箱内部。
3.根据权利要求2所述的一种生物质固体燃料用具有余热利用功能的燃烧装置,其特征在于:与所述破碎电机连接的所述破碎辊上的齿轮齿数多于另一个所述破碎辊上的齿轮齿数。
4.根据权利要求1所述的一种生物质固体燃料用具有余热利用功能的燃烧装置,其特征在于:所述余热回收机构包括第一气管、第二气管、第三气管、螺旋换热管、隔热层,所述第一气管一端连通所述加热箱,另一端连通所述第二气管,所述第二气管外侧缠绕有所述螺旋换热管,所述螺旋换热管外侧包覆有所述隔热层,所述第二气管远离所述第一气管的一端连通有所述第三气管,所述第三气管远离所述第二气管的一端伸进所述处理箱内部。
5.根据权利要求1所述的一种生物质固体燃料用具有余热利用功能的燃烧装置,其特征在于:所述余热回收机构包括第一气管、第三气管、螺旋气管、水箱,所述第一气管一端连通所述加热箱,另一端伸进所述水箱内部,且连通所述螺旋气管,所述螺旋气管远离所述第一气管的一端连通所述第三气管,所述第三气管远离所述螺旋气管的一端伸出所述水箱,且伸进所述处理箱内部。
6.根据权利要求1所述的一种生物质固体燃料用具有余热利用功能的燃烧装置,其特征在于:所述述出风架包括主风管、支管、出风口,所述主风管通过轴承连接在所述进风管内侧,所述主风管外侧焊接有若干个所述支管,所述支管上开设有若干个所述出风口。
7.根据权利要求1所述的一种生物质固体燃料用具有余热利用功能的燃烧装置,其特征在于:所述排渣机构包括收集箱、排渣管,所述收集箱通过螺栓连接在所述安装架前端,所述收集箱内部中空,且所述收集箱一侧焊接有所述排渣管。
8.根据权利要求7所述的一种生物质固体燃料用具有余热利用功能的燃烧装置,其特征在于:所述收集箱内底板倾斜设置,且靠近所述排渣管的一端倾斜向下。
9.根据权利要求1所述的一种生物质固体燃料用具有余热利用功能的燃烧装置,其特征在于:所述烧结板均匀分布在所述网板下方。
10.根据权利要求2所述的一种生物质固体燃料用具有余热利用功能的燃烧装置,其特征在于:所述加料斗顶部设置有盖板。
Priority Applications (1)
| Application Number | Priority Date | Filing Date | Title |
|---|---|---|---|
| CN202011490574.3A CN112664924A (zh) | 2020-12-16 | 2020-12-16 | 一种生物质固体燃料用具有余热利用功能的燃烧装置 |
Applications Claiming Priority (1)
| Application Number | Priority Date | Filing Date | Title |
|---|---|---|---|
| CN202011490574.3A CN112664924A (zh) | 2020-12-16 | 2020-12-16 | 一种生物质固体燃料用具有余热利用功能的燃烧装置 |
Publications (1)
| Publication Number | Publication Date |
|---|---|
| CN112664924A true CN112664924A (zh) | 2021-04-16 |
Family
ID=75404272
Family Applications (1)
| Application Number | Title | Priority Date | Filing Date |
|---|---|---|---|
| CN202011490574.3A Withdrawn CN112664924A (zh) | 2020-12-16 | 2020-12-16 | 一种生物质固体燃料用具有余热利用功能的燃烧装置 |
Country Status (1)
| Country | Link |
|---|---|
| CN (1) | CN112664924A (zh) |
Cited By (3)
| Publication number | Priority date | Publication date | Assignee | Title |
|---|---|---|---|---|
| CN113426563A (zh) * | 2021-06-26 | 2021-09-24 | 黑龙江省宾州水泥有限公司 | 水泥磨热风的循环利用装置 |
| CN114396635A (zh) * | 2022-01-18 | 2022-04-26 | 山东正赢电力工程有限公司 | 一种用于连续产生热和电的木质生物质热电联产设施 |
| CN120506645A (zh) * | 2025-07-18 | 2025-08-19 | 山西顺发热电有限责任公司 | 一种制碳尾气与生物质混合燃烧炉及方法 |
-
2020
- 2020-12-16 CN CN202011490574.3A patent/CN112664924A/zh not_active Withdrawn
Cited By (5)
| Publication number | Priority date | Publication date | Assignee | Title |
|---|---|---|---|---|
| CN113426563A (zh) * | 2021-06-26 | 2021-09-24 | 黑龙江省宾州水泥有限公司 | 水泥磨热风的循环利用装置 |
| CN113426563B (zh) * | 2021-06-26 | 2022-09-02 | 黑龙江省宾州水泥有限公司 | 水泥磨热风的循环利用装置 |
| CN114396635A (zh) * | 2022-01-18 | 2022-04-26 | 山东正赢电力工程有限公司 | 一种用于连续产生热和电的木质生物质热电联产设施 |
| CN114396635B (zh) * | 2022-01-18 | 2024-10-29 | 山东正赢电力工程有限公司 | 一种用于连续产生热和电的木质生物质热电联产设施 |
| CN120506645A (zh) * | 2025-07-18 | 2025-08-19 | 山西顺发热电有限责任公司 | 一种制碳尾气与生物质混合燃烧炉及方法 |
Similar Documents
| Publication | Publication Date | Title |
|---|---|---|
| CN112664924A (zh) | 一种生物质固体燃料用具有余热利用功能的燃烧装置 | |
| CN107127205A (zh) | 生活垃圾低温热解处理系统 | |
| CN112209616A (zh) | 一种热等离子体炬高温熔融工艺及其系统 | |
| CN105987376B (zh) | 一种燃料洁净燃烧和净化排放的燃烧设备 | |
| CN106082571A (zh) | 低热值污泥三化处理工艺及装置 | |
| CN115944987B (zh) | 一种具有余热回收功能的烟气布袋除尘器 | |
| CN111998346A (zh) | 一种垃圾处理设备 | |
| CN108167833B (zh) | 一种高温气化炭化焚烧炉 | |
| CN204573999U (zh) | 燃料洁净燃烧和净化排放的燃烧设备 | |
| CN111457395A (zh) | 一种利用垃圾焚烧发电烟气焚烧污泥的装置 | |
| CN206981402U (zh) | 生活垃圾低温热解处理系统 | |
| CN211650202U (zh) | 一种往复炉排秸秆捆烧锅炉 | |
| CN108167835B (zh) | 一种全智能无害化垃圾焚烧系统 | |
| CN212987221U (zh) | 一种垃圾处理设备 | |
| CN212319733U (zh) | 垃圾焚烧系统 | |
| CN208074955U (zh) | 一种高温气化炭化焚烧炉 | |
| CN207962656U (zh) | 一种全智能无害化垃圾焚烧系统 | |
| CN208124311U (zh) | 垃圾焚烧炉炉前给料机监控装置 | |
| CN210568465U (zh) | 一种节能环保的生活用品垃圾焚烧装置 | |
| CN208124312U (zh) | 垃圾焚烧炉炉前滚筒给料机 | |
| CN220724044U (zh) | 一种自热式热解制油装置 | |
| CN112355033A (zh) | 一种热等离子体炬高温熔融系统 | |
| CN112361375A (zh) | 一种铸钢用具有防沉淀结构的锅炉 | |
| CN220397495U (zh) | 一种用于生物质颗粒及木皮燃烧用高效燃烧炉 | |
| CN207962668U (zh) | 一种烟气净化排放系统 |
Legal Events
| Date | Code | Title | Description |
|---|---|---|---|
| PB01 | Publication | ||
| PB01 | Publication | ||
| SE01 | Entry into force of request for substantive examination | ||
| SE01 | Entry into force of request for substantive examination | ||
| WW01 | Invention patent application withdrawn after publication | ||
| WW01 | Invention patent application withdrawn after publication |
Application publication date: 20210416 |