CN112621818A - 一种便于更换的组合刀具 - Google Patents
一种便于更换的组合刀具 Download PDFInfo
- Publication number
- CN112621818A CN112621818A CN202110011393.6A CN202110011393A CN112621818A CN 112621818 A CN112621818 A CN 112621818A CN 202110011393 A CN202110011393 A CN 202110011393A CN 112621818 A CN112621818 A CN 112621818A
- Authority
- CN
- China
- Prior art keywords
- handle
- groove
- plate
- blade
- moving plate
- Prior art date
- Legal status (The legal status is an assumption and is not a legal conclusion. Google has not performed a legal analysis and makes no representation as to the accuracy of the status listed.)
- Granted
Links
- 238000009434 installation Methods 0.000 claims description 9
- 239000002131 composite material Substances 0.000 claims 2
- 239000002699 waste material Substances 0.000 abstract description 2
- 230000004075 alteration Effects 0.000 description 1
- 230000009286 beneficial effect Effects 0.000 description 1
- 230000000694 effects Effects 0.000 description 1
- 238000003754 machining Methods 0.000 description 1
- 238000012986 modification Methods 0.000 description 1
- 230000004048 modification Effects 0.000 description 1
- 238000006467 substitution reaction Methods 0.000 description 1
Images
Classifications
-
- B—PERFORMING OPERATIONS; TRANSPORTING
- B26—HAND CUTTING TOOLS; CUTTING; SEVERING
- B26B—HAND-HELD CUTTING TOOLS NOT OTHERWISE PROVIDED FOR
- B26B5/00—Hand knives with one or more detachable blades
Landscapes
- Life Sciences & Earth Sciences (AREA)
- Forests & Forestry (AREA)
- Engineering & Computer Science (AREA)
- Mechanical Engineering (AREA)
- Knives (AREA)
Abstract
本发明属于组合刀具技术领域,具体公开了一种便于更换的组合刀具,包括刀片、刀柄、手柄以及握柄;刀柄与刀片的一端偏上方连接,刀柄远离刀片的一端开设有插槽,握柄与手柄的一端连接,手柄远离握柄的一端开设有安装槽,手柄的顶部设有与安装槽连通的移动槽;安装槽内设有移动板,移动板的顶端穿过移动槽置于手柄的上方;移动板朝向安装槽槽口的一侧固接有插板,插板的顶部设有定位槽;手柄的顶部靠近刀片的一侧开设有与安装槽连通的通槽,通槽内嵌合有定位板,定位板以及移动板的顶端均套设有固定套,固定套的顶部与定位板以及移动板的对应处均活动设有紧固螺杆;本发明便于对刀片进行拆卸更换,使用灵活、方便,不易造成资源的浪费。
Description
技术领域
本发明涉及组合刀具技术领域,具体为一种便于更换的组合刀具。
背景技术
组合刀具由两个以上的工作部分组合在一个刀体上,能同时或依次加工两个以上表面或完成一个表面多道加工工序的刀具。
现有的组合刀具,不能够对刀片进行更换,若刀片损坏时,则整个组合刀具都要废弃掉,造成了资源的浪费,因此,提出一种便于更换的组合刀具。
发明内容
本发明的目的在于提供一种便于更换的组合刀具,以解决上述背景技术中提出的问题。
为实现上述目的,本发明提供如下技术方案:一种便于更换的组合刀具,包括刀片、刀柄、手柄以及握柄;所述刀柄与刀片的一端偏上方连接,刀柄远离刀片的一端开设有插槽,所述握柄与手柄的一端连接,手柄远离握柄的一端开设有安装槽,手柄的顶部开设有与安装槽连通的移动槽;所述安装槽内设有移动板,移动板的顶端穿过移动槽并置于手柄的上方;所述移动板朝向安装槽槽口的一侧固接有插板,插板的顶部开设有定位槽;所述手柄的顶部靠近刀片的一侧开设有与安装槽连通的通槽,通槽内嵌合有定位板,定位板以及移动板的顶端均套设有固定套,固定套的顶部与定位板以及移动板的对应处均活动设有紧固螺杆。
优选的,所述刀柄与安装槽相适配。
优选的,所述安装槽内上下平行设有两个导向杆,导向杆与安装槽内壁固接,且导向杆贯穿移动板而设置。
优选的,所述移动板上设有用于导向杆贯穿的通孔,且通孔与导向杆滑动连接。
优选的,所述移动板的顶端以及定位板的顶端均开设有用于与紧固螺杆进行连接的螺纹孔。
优选的,所述紧固螺杆的顶端固接有旋转钮。
优选的,所述限位槽与定位板对应设置,且相适配。
与现有技术相比,本发明的有益效果是:
本发明中刀片通过刀柄与安装槽的嵌合连接而初步与手柄进行连接,之后,推动移动板,移动板带动插板朝向刀柄移动,并使插板嵌入到插槽内,直至推不动为止,之后,将定位板由通槽依次嵌入到限位槽以及定位槽内,可以对刀柄进行限位,使其固定在安装槽内,之后,将固定套套在移动板以及定位板的顶部,通过旋转钮带动紧固螺杆转动,使紧固螺杆螺旋嵌入到对应的螺纹孔内,可以实现对移动板以及定位板的固定,进而可以刀片进行稳固安装,操作简单,便于刀片的拆装,进而方便对刀片进行更换,不易造成资源的浪费,使用灵活、方便。
附图说明
图1为本发明的整体结构示意图;
图2为本发明的截面结构示意图;
图3为图2的A处放大结构示意图;
图4为本发明的移动板与插板的连接结构示意图;
图5为本发明的定位板的结构示意图;
图6为本发明的固定套的结构示意图;
图7为本发明的刀柄的结构示意图。
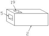
图中:1、刀片;2、刀柄;3、手柄;4、握柄;5、插槽;6、安装槽;7、移动槽;8、移动板;9、插板;10、定位槽;11、通槽;12、定位板;13、固定套;14、导向杆;15、通孔;16、紧固螺杆;17、螺纹孔;18、旋转钮;19、限位槽。
具体实施方式
下面将结合本发明实施例中的附图,对本发明实施例中的技术方案进行清楚、完整地描述,显然,所描述的实施例仅仅是本发明一部分实施例,而不是全部的实施例。基于本发明中的实施例,本领域普通技术人员在没有做出创造性劳动前提下所获得的所有其他实施例,都属于本发明保护的范围。
在本发明的描述中,需要说明的是,术语“竖直”、“上”、“下”、“水平”等指示的方位或位置关系为基于附图所示的方位或位置关系,仅是为了便于描述本发明和简化描述,而不是指示或暗示所指的装置或元件必须具有特定的方位、以特定的方位构造和操作,因此不能理解为对本发明的限制。
在本发明的描述中,还需要说明的是,除非另有明确的规定和限定,术语“设置”、“安装”、“相连”、“连接”应做广义理解,例如,可以是固定连接,也可以是可拆卸连接,或一体地连接;可以是机械连接,也可以是电连接;可以是直接相连,也可以通过中间媒介间接相连,可以是两个元件内部的连通。对于本领域的普通技术人员而言,可以根据具体情况理解上述术语在本发明中的具体含义。
请参阅图1-7,本发明提供一种技术方案:一种便于更换的组合刀具,包括刀片1、刀柄2、手柄3以及握柄4;所述刀柄2与刀片1的一端偏上方连接,刀柄2远离刀片1的一端开设有插槽5,刀柄2的顶部开设有与插槽5连通的限位槽19;所述握柄4与手柄3的一端连接,手柄3远离握柄4的一端开设有安装槽6,手柄3的顶部开设有与安装槽6连通的移动槽7;所述安装槽6内设有移动板8,移动板8的顶端穿过移动槽7并置于手柄3的上方;所述移动板8朝向安装槽6槽口的一侧固接有插板9,插板9的顶部开设有定位槽10;所述手柄3的顶部靠近刀片1的一侧开设有与安装槽6连通的通槽11,通槽11与定位槽10对应设置,且规格一致,通槽11内嵌合有定位板12,定位板12以及移动板8的顶端均套设有固定套13,固定套13的顶部与定位板12以及移动板8的对应处均活动设有紧固螺杆16。
进一步的,所述刀柄2与安装槽6相适配。
进一步的,所述安装槽6内上下平行设有两个导向杆14,导向杆14与安装槽6内壁固接,且导向杆14贯穿移动板8而设置,移动板8沿着导向杆14移动,移动平稳。
进一步的,所述移动板8上设有用于导向杆14贯穿的通孔15,且通孔15与导向杆14滑动连接。
进一步的,所述移动板8的顶端以及定位板12的顶端均开设有用于与紧固螺杆16进行连接的螺纹孔17。
进一步的,所述紧固螺杆16的顶端固接有旋转钮18,便于通过旋转钮18拆装紧固螺杆16,进而便于对移动板8以及定位板12进行固定。
进一步的,所述限位槽19与定位板12对应设置,且相适配,使得刀片1组装时,限位槽19、通槽11以及定位槽10在同一竖直线上,便于对刀柄2进行固定。
工作原理:本发明中刀片1通过刀柄2与安装槽6的嵌合连接而初步与手柄3进行连接,之后,推动移动板8,移动板8带动插板9朝向安装槽6内的刀柄2移动,并使插板9嵌入到刀柄2一端的插槽5内,直至推不动为止,此时,定位槽10、限位槽19以及通槽11均一一对应,之后,将定位板12由通槽11依次嵌入到限位槽19以及定位槽10内,可以对刀柄2进行限位,使其固定在安装槽6内,之后,将固定套13套在移动板8以及定位板12的顶部,并通过旋转钮18带动紧固螺杆16转动,使紧固螺杆16螺旋嵌入到移动板8以及定位板12顶部对应的螺纹孔17内,可以实现对移动板8以及定位板12的固定,进而可以刀片1进行稳固安装,操作简单,便于组合安装;
对刀片1进行更换时,通过旋转钮18带动紧固螺杆16转动,使紧固螺杆16螺旋从螺纹孔17内抽出,抽出后,从移动板8以及定位板12上脱下固定套13,解除对移动板8以及定位板12的固定,之后,将定位板12依次从定位槽10、限位槽19以及通槽11内抽出,可以解除对插板9的固定,之后,推动移动板8,移动板8带动插板9从插槽5内抽出,再将刀柄2从安装槽6内抽出,即可拆卸刀片1进行更换,操作简单,便于对刀片1进行更换,节约资源,使用灵活、方便。
尽管已经示出和描述了本发明的实施例,对于本领域的普通技术人员而言,可以理解在不脱离本发明的原理和精神的情况下可以对这些实施例进行多种变化、修改、替换和变型,本发明的范围由所附权利要求及其等同物限定。
Claims (7)
1.一种便于更换的组合刀具,其特征在于,包括刀片(1)、刀柄(2)、手柄(3)以及握柄(4);所述刀柄(2)与刀片(1)的一端偏上方连接,刀柄(2)远离刀片(1)的一端开设有插槽(5),刀柄(2)的顶部开设有与插槽(5)连通的限位槽(19);所述握柄(4)与手柄(3)的一端连接,手柄(3)远离握柄(4)的一端开设有安装槽(6),手柄(3)的顶部开设有与安装槽(6)连通的移动槽(7);所述安装槽(6)内设有移动板(8),移动板(8)的顶端穿过移动槽(7)并置于手柄(3)的上方;所述移动板(8)朝向安装槽(6)槽口的一侧固接有插板(9),插板(9)的顶部开设有定位槽(10);所述手柄(3)的顶部靠近刀片(1)的一侧开设有与安装槽(6)连通的通槽(11),通槽(11)内嵌合有定位板(12),定位板(12)以及移动板(8)的顶端均套设有固定套(13),固定套(13)的顶部与定位板(12)以及移动板(8)的对应处均活动设有紧固螺杆(16)。
2.根据权利要求1所述的一种便于更换的组合刀具,其特征在于:所述刀柄(2)与安装槽(6)相适配。
3.根据权利要求1所述的一种便于更换的组合刀具,其特征在于:所述安装槽(6)内上下平行设有两个导向杆(14),导向杆(14)与安装槽(6)内壁固接,且导向杆(14)贯穿移动板(8)而设置。
4.根据权利要求3所述的一种便于更换的组合刀具,其特征在于:所述移动板(8)上设有用于导向杆(14)贯穿的通孔(15),且通孔(15)与导向杆(14)滑动连接。
5.根据权利要求1所述的一种便于更换的组合刀具,其特征在于:所述移动板(8)的顶端以及定位板(12)的顶端均开设有用于与紧固螺杆(16)进行连接的螺纹孔(17)。
6.根据权利要求1所述的一种便于更换的组合刀具,其特征在于:所述紧固螺杆(16)的顶端固接有旋转钮(18)。
7.根据权利要求1所述的一种便于更换的组合刀具,其特征在于:所述限位槽(19)与定位板(12)对应设置,且相适配。
Priority Applications (1)
| Application Number | Priority Date | Filing Date | Title |
|---|---|---|---|
| CN202110011393.6A CN112621818B (zh) | 2021-01-06 | 2021-01-06 | 一种便于更换的组合刀具 |
Applications Claiming Priority (1)
| Application Number | Priority Date | Filing Date | Title |
|---|---|---|---|
| CN202110011393.6A CN112621818B (zh) | 2021-01-06 | 2021-01-06 | 一种便于更换的组合刀具 |
Publications (2)
| Publication Number | Publication Date |
|---|---|
| CN112621818A true CN112621818A (zh) | 2021-04-09 |
| CN112621818B CN112621818B (zh) | 2025-01-03 |
Family
ID=75290837
Family Applications (1)
| Application Number | Title | Priority Date | Filing Date |
|---|---|---|---|
| CN202110011393.6A Active CN112621818B (zh) | 2021-01-06 | 2021-01-06 | 一种便于更换的组合刀具 |
Country Status (1)
| Country | Link |
|---|---|
| CN (1) | CN112621818B (zh) |
Cited By (3)
| Publication number | Priority date | Publication date | Assignee | Title |
|---|---|---|---|---|
| CN113858273A (zh) * | 2021-09-26 | 2021-12-31 | 中国人民解放军陆军军医大学第二附属医院 | 一种病理取材刀具的手柄以及病理取材刀具 |
| CN114496669A (zh) * | 2021-12-31 | 2022-05-13 | 杭州拓深科技有限公司 | 一种智能物联网小型断路器结构 |
| CN115570602A (zh) * | 2022-11-01 | 2023-01-06 | 广东凯利德科技有限公司 | 一种可快速装拆的厨用刀具 |
Citations (5)
| Publication number | Priority date | Publication date | Assignee | Title |
|---|---|---|---|---|
| EP1900267A1 (en) * | 2006-09-12 | 2008-03-19 | Natura Innovation Ltd. | Detachable handle mounting structure |
| US20170208930A1 (en) * | 2016-01-27 | 2017-07-27 | Subayu Industrial Co., Ltd. | Toothbrush with front-push replaceable brush head |
| CN207027562U (zh) * | 2017-08-15 | 2018-02-23 | 沁阳市华贝尔科技有限公司 | 可拆卸陶瓷刀 |
| CN210673361U (zh) * | 2019-07-22 | 2020-06-05 | 漯河医学高等专科学校 | 一种多功能解剖装置 |
| CN214686661U (zh) * | 2021-01-06 | 2021-11-12 | 上海策力实业有限公司 | 一种便于更换的组合刀具 |
-
2021
- 2021-01-06 CN CN202110011393.6A patent/CN112621818B/zh active Active
Patent Citations (5)
| Publication number | Priority date | Publication date | Assignee | Title |
|---|---|---|---|---|
| EP1900267A1 (en) * | 2006-09-12 | 2008-03-19 | Natura Innovation Ltd. | Detachable handle mounting structure |
| US20170208930A1 (en) * | 2016-01-27 | 2017-07-27 | Subayu Industrial Co., Ltd. | Toothbrush with front-push replaceable brush head |
| CN207027562U (zh) * | 2017-08-15 | 2018-02-23 | 沁阳市华贝尔科技有限公司 | 可拆卸陶瓷刀 |
| CN210673361U (zh) * | 2019-07-22 | 2020-06-05 | 漯河医学高等专科学校 | 一种多功能解剖装置 |
| CN214686661U (zh) * | 2021-01-06 | 2021-11-12 | 上海策力实业有限公司 | 一种便于更换的组合刀具 |
Non-Patent Citations (1)
| Title |
|---|
| 秦文正: "插柄刀杆", 工具技术, no. 11, 22 November 1984 (1984-11-22), pages 51 * |
Cited By (4)
| Publication number | Priority date | Publication date | Assignee | Title |
|---|---|---|---|---|
| CN113858273A (zh) * | 2021-09-26 | 2021-12-31 | 中国人民解放军陆军军医大学第二附属医院 | 一种病理取材刀具的手柄以及病理取材刀具 |
| CN113858273B (zh) * | 2021-09-26 | 2023-02-28 | 中国人民解放军陆军军医大学第二附属医院 | 一种病理取材刀具的手柄以及病理取材刀具 |
| CN114496669A (zh) * | 2021-12-31 | 2022-05-13 | 杭州拓深科技有限公司 | 一种智能物联网小型断路器结构 |
| CN115570602A (zh) * | 2022-11-01 | 2023-01-06 | 广东凯利德科技有限公司 | 一种可快速装拆的厨用刀具 |
Also Published As
| Publication number | Publication date |
|---|---|
| CN112621818B (zh) | 2025-01-03 |
Similar Documents
| Publication | Publication Date | Title |
|---|---|---|
| CN112621818A (zh) | 一种便于更换的组合刀具 | |
| JPH058109A (ja) | 穿孔工具 | |
| CN202292694U (zh) | 一种电动工具 | |
| CN210938218U (zh) | 一种合金刀具用固定夹具 | |
| CN209407569U (zh) | 一种快换夹头 | |
| CN214686661U (zh) | 一种便于更换的组合刀具 | |
| CN213410520U (zh) | 一种串焊机焊带裁切用刀具 | |
| CN213196509U (zh) | 一种数控刀具便拆结构 | |
| CN208262409U (zh) | 一种可拆卸的数控钻孔机防护装置 | |
| CN202021388U (zh) | 一种多功能刀具 | |
| CN211019545U (zh) | 一种通讯前端设备部件紧固结构 | |
| CN218533630U (zh) | 一种伞骨多工位加工装置 | |
| CN201950288U (zh) | 一种刀具固定架与多用途工具 | |
| CN212264653U (zh) | 一种精密叶片高速稳定铣槽装置 | |
| CN219212279U (zh) | 一种多边形锥柄接口的刀座 | |
| CN219213350U (zh) | 一种纸板用裁切机构 | |
| CN223531461U (zh) | 一种刀片可更换的复合刀具 | |
| CN223763338U (zh) | 门板上装冲切工装 | |
| CN213794288U (zh) | 一种高效复合可转位的双排齿皮带轮成形刀具 | |
| CN216229505U (zh) | 一种具有定位结构的折叠刀 | |
| CN218903748U (zh) | 一种机夹式铣刀 | |
| CN221910057U (zh) | 曲线锯 | |
| CN219280343U (zh) | 一种裁布转换器以及裁布机 | |
| CN218168752U (zh) | 一种用于加工铸铁的合金高效平刀 | |
| CN223588764U (zh) | 刀具加工用复合钻孔装置 |
Legal Events
| Date | Code | Title | Description |
|---|---|---|---|
| PB01 | Publication | ||
| PB01 | Publication | ||
| SE01 | Entry into force of request for substantive examination | ||
| SE01 | Entry into force of request for substantive examination | ||
| GR01 | Patent grant | ||
| GR01 | Patent grant |