CN112606175B - 一种异形陶瓷的成型方法 - Google Patents
一种异形陶瓷的成型方法 Download PDFInfo
- Publication number
- CN112606175B CN112606175B CN202011355988.5A CN202011355988A CN112606175B CN 112606175 B CN112606175 B CN 112606175B CN 202011355988 A CN202011355988 A CN 202011355988A CN 112606175 B CN112606175 B CN 112606175B
- Authority
- CN
- China
- Prior art keywords
- die
- auxiliary
- assembly
- blank
- cavity
- Prior art date
- Legal status (The legal status is an assumption and is not a legal conclusion. Google has not performed a legal analysis and makes no representation as to the accuracy of the status listed.)
- Active
Links
- 239000000919 ceramic Substances 0.000 title claims abstract description 43
- 238000000034 method Methods 0.000 title claims abstract description 10
- 238000003825 pressing Methods 0.000 claims abstract description 6
- 238000000465 moulding Methods 0.000 claims abstract description 4
- 238000001816 cooling Methods 0.000 claims description 4
- 230000000694 effects Effects 0.000 claims description 4
- 206010066054 Dysmorphism Diseases 0.000 claims 1
- 238000004519 manufacturing process Methods 0.000 description 3
- 238000010586 diagram Methods 0.000 description 2
- 238000005498 polishing Methods 0.000 description 2
- 238000005516 engineering process Methods 0.000 description 1
- 230000001788 irregular Effects 0.000 description 1
- 238000007493 shaping process Methods 0.000 description 1
Images
Classifications
-
- B—PERFORMING OPERATIONS; TRANSPORTING
- B28—WORKING CEMENT, CLAY, OR STONE
- B28B—SHAPING CLAY OR OTHER CERAMIC COMPOSITIONS; SHAPING SLAG; SHAPING MIXTURES CONTAINING CEMENTITIOUS MATERIAL, e.g. PLASTER
- B28B7/00—Moulds; Cores; Mandrels
- B28B7/0029—Moulds or moulding surfaces not covered by B28B7/0058 - B28B7/36 and B28B7/40 - B28B7/465, e.g. moulds assembled from several parts
- B28B7/0035—Moulds characterised by the way in which the sidewalls of the mould and the moulded article move with respect to each other during demoulding
- B28B7/0041—Moulds characterised by the way in which the sidewalls of the mould and the moulded article move with respect to each other during demoulding the sidewalls of the mould being moved only parallelly away from the sidewalls of the moulded article
-
- B—PERFORMING OPERATIONS; TRANSPORTING
- B28—WORKING CEMENT, CLAY, OR STONE
- B28B—SHAPING CLAY OR OTHER CERAMIC COMPOSITIONS; SHAPING SLAG; SHAPING MIXTURES CONTAINING CEMENTITIOUS MATERIAL, e.g. PLASTER
- B28B7/00—Moulds; Cores; Mandrels
- B28B7/0002—Auxiliary parts or elements of the mould
- B28B7/0014—Fastening means for mould parts, e.g. for attaching mould walls on mould tables; Mould clamps
Landscapes
- Engineering & Computer Science (AREA)
- Manufacturing & Machinery (AREA)
- Chemical & Material Sciences (AREA)
- Ceramic Engineering (AREA)
- Mechanical Engineering (AREA)
- Moulds, Cores, Or Mandrels (AREA)
Abstract
本发明公开了一种异形陶瓷的成型方法,包括主模具、副模具总成;副模具总成从主模具的上端开口插入并卡接形成异形陶瓷模具总成;主模具内设有内腔;内腔包括模腔和导向腔;模腔为规则的形状,能够通过模腔上端取出胚体,并且不会碰伤胚体;导向腔设置在模腔的上端;副模具总成内包括异形模腔4;副模具总成能够插入导向腔内,异形模腔4与模腔能够实现无缝拼接,形成异形陶瓷胚体的模腔总成;副模具总成延中线拆分成副模具A和副模具B;在胚体压模成型后,通过将副模具总成从主模具内取出,并分别拆除副模具A和副模具B,就能得到异形陶瓷胚体。
Description
技术领域
本发明涉及陶瓷生产技术领域,尤其涉及异形陶瓷的成型方法。
背景技术
异形陶瓷,就是形状不规则的陶瓷,现在生产中通常采用模中模模具来进行生产,但这种模具生产的异形陶瓷,取出不便,容易导致陶瓷与模具之间出现磕碰划伤,影响陶瓷的外观,并且会产生大量的合缝线,需要后续的打磨工序,影响胚体质量和生产效率。
发明内容
本发明提供了一种异形陶瓷成型模具,能够解决背景技术中所提到的技术问题。
本发明提供了一种异形陶瓷成型模具,包括主模具、副模具总成;副模具总成从主模具的上端开口插入并卡接形成异形陶瓷模具总成;主模具内设有内腔;内腔包括模腔和导向腔;模腔为规则的形状,能够通过模腔上端取出胚体,并且不会碰伤胚体;导向腔设置在模腔的上端;副模具总成内包括异形模腔;副模具总成能够插入导向腔内,异形模腔与模腔能够实现无缝拼接,形成异形陶瓷胚体的模腔总成;副模具总成延中线拆分成副模具A和副模具B;在胚体压模成型后,通过将副模具总成从主模具内取出,并分别拆除副模具A和副模具B,就能得到异形陶瓷胚体。
导向腔包括导向部、夹紧部以及限位槽;导向部位于夹紧部的上端;限位槽位于夹紧部的下端;导向部和夹紧部相对于水平面均为倾斜设计,且夹紧部的倾角略小于导向部的倾角。
夹紧部的倾角相对于导向部的倾角小-度。
副模具总成侧壁设有导向壁;导向壁与导向部的倾斜角度一致;副模具总成通过导向壁与导向来实现插入主模具中;夹紧部的倾斜角度小于导向壁,当副模具总成插至夹紧部时,会受到夹紧部对导向壁的夹紧力实现副模具总成下端的夹紧的效果,保证主模具和副模具总成的拼接位置紧密,不会出现缝隙,有效的优化了合模线。
副模具总成的下端设有限位环;限位环与限位槽完整匹配;能够确保副模具总成相对主模具安装到位。
副模具A相对于副模具B的拼接部位设有凸块;副模具B相对于副模具A的拼接部位设有凹槽;凸块和凹槽向匹配,能够保证副模具B相对于副模具A拼接的稳定性。
副模具总成上端设有阶梯型的凸台;凸台上设有撬部;撬部设置在凸台靠近主模具的一侧;完成胚体成型后,通过撬部能够将副模具总成撬出,实现胚体与主模具的脱模。
所述主模具的侧壁上设置有提手;通过提手方便移动主模具。
一种异形陶瓷成型方法,所述方法包括如下步骤:
S1、将主模具和副模具总成拼接成异形陶瓷模具总成;
S2、通过压膜,在异形陶瓷模具总成内形成陶瓷胚体;
S3、待胚体冷却,使用两根撬杠同时撬起副模具总成,实现胚体与主模具的分离;
S4、分别拆除副模具A和副模具B,得到成型的胚体;
S5、通过利胚机,对胚体表面进行利胚处理,确保胚体表面光滑。
有益效果:
1、通过主模具和副模具总成的设置,副模具总成分别延总线才分为副模具A和副模具B,通过这种模具结构的设置,能够实现对异形陶瓷胚体的成型;
2、通过导向部、夹紧部、限位槽、导向壁以及限位环的设置,能够使得副模具总成与主模具在拼接位置连接更加紧密,减少拼接部位的合模线,能够减少胚体成型后对合模线打磨的工作;
3、夹紧部相对于导向部倾角小3-5度,这样的角度设置能够保证对副模具总成的夹紧效果,且不会出现因倾角过大而导致副模具总成无法插接到位的情况。
4、设置有撬部,在胚体冷却成型后,使用两根撬杠同时撬起副模具总成,实现胚体与主模具的快速分离,能够有效的节省劳动力。
附图说明
图1是本发明陶瓷异形模具结构图;
图2是本发明主模具结构图;
图3是本发明副模具总成结构图;
图4是本发明副模具A正视图;
图5是本发明副模具B正视图;
图6是本发明副模具A右视图;
图7是本发明副模具B左视图;
图8是本发明A部放大图。
图中附图标记:
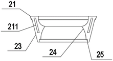
1、主模具;11、提手;12、内腔;121、模腔;122、导向腔;1221、导向部;1222、夹紧部;1223、限位槽;2、副模具总成;21、副模具A;211、凸块;22、副模具B;221、凹槽;23、导向壁;24、异形模腔;25、限位环;26、凸台;261、撬部。
具体实施方式
下面结合附图并通过具体实施方式来进一步说明本发明的技术方案。
一种异形陶瓷成型模具,包括主模具1、副模具总成2;副模具总成2从主模具1的上端开口插入并卡接形成异形陶瓷模具总成;主模具1内设有内腔12;内腔12包括模腔121和导向腔122;模腔121为规则的形状,能够通过模腔121上端取出胚体,并且不会碰伤胚体;导向腔122设置在模腔121的上端;副模具总成2内包括异形模腔24;副模具总成2能够插入导向腔122内,异形模腔24与模腔121能够实现无缝拼接,形成异形陶瓷胚体的模腔总成;副模具总成2延中线拆分成副模具A21和副模具B22;在胚体压模成型后,通过将副模具总成2从主模具1内取出,并分别拆除副模具A21和副模具B22,就能得到异形陶瓷胚体。
导向腔122包括导向部1221、夹紧部1222以及限位槽1223;导向部1221位于夹紧部1222的上端;限位槽1223位于夹紧部1222的下端;导向部1221和夹紧部1222相对于水平面均为倾斜设计,且夹紧部1222的倾角略小于导向部1221的倾角。
夹紧部1222的倾角相对于导向部1221的倾角小3-5度。
副模具总成2侧壁设有导向壁23;导向壁23与导向部1221的倾斜角度一致;副模具总成2通过导向壁23与导向部1221来实现插入主模具1中;夹紧部1222的倾斜角度小于导向壁23,当副模具总成2插至夹紧部1222时,会受到夹紧部1222对导向壁23的夹紧力实现副模具总成2下端的夹紧的效果,保证主模具1和副模具总成2的拼接位置紧密,不会出现缝隙,有效的优化了合模线。
副模具总成2的下端设有限位环25;限位环25与限位槽1223完整匹配;能够确保副模具总成2相对主模具1安装到位。
副模具A21相对于副模具B22的拼接部位设有凸块211;副模具B22相对于副模具A21的拼接部位设有凹槽221;凸块211和凹槽221向匹配,能够保证副模具B22相对于副模具A21拼接的稳定性。
副模具总成2上端设有阶梯型的凸台26;凸台26上设有撬部261;撬部261设置在凸台26靠近主模具1的一侧;完成胚体成型后,通过撬部261能够将副模具总成2撬出,实现胚体与主模具1的脱模。
所述主模具1的侧壁上设置有提手11;通过提手11方便移动主模具1。
一种异形陶瓷成型方法,所述方法包括如下步骤:
S1、将主模具1和副模具总成2拼接成异形陶瓷模具总成;
S2、通过压膜,在异形陶瓷模具总成内形成陶瓷胚体;
S3、待胚体冷却,使用两根撬杠同时撬起副模具总成2,实现胚体与主模具1的分离;
S4、分别拆除副模具A21和副模具B22,得到成型的胚体;
S5、通过利胚机,对胚体表面进行利胚处理,确保胚体表面光。
Claims (4)
1.一种异形陶瓷成型模具,其特征在于:
包括主模具(1)、副模具总成(2);
副模具总成(2)从主模具(1)的上端开口插入并卡接形成异形陶瓷模具总成;
主模具(1)内设有内腔(12);
内腔(12)包括模腔(121)和导向腔(122);
模腔(121)为规则的形状,能够通过模腔(121)上端取出胚体,并且不会碰伤胚体;
导向腔(122)设置在模腔(121)的上端;
副模具总成(2)内包括异形模腔(24);
副模具总成(2)能够插入导向腔(122)内,异形模腔(24)与模腔(121)能够实现无缝拼接,形成异形陶瓷胚体的模腔总成;
副模具总成(2)延中线拆分成副模具A(21)和副模具B(22);
在胚体压模成型后,通过将副模具总成(2)从主模具(1)内取出,并分别拆除副模具A(21)和副模具B(22),就能得到异形陶瓷胚体;
导向腔(122)包括导向部(1221)、夹紧部(1222)以及限位槽(1223);
导向部(1221)位于夹紧部(1222)的上端;
限位槽(1223)位于夹紧部(1222)的下端;
导向部(1221)和夹紧部(1222)相对于水平面均为倾斜设计,且夹紧部(1222)的倾角略小于导向部(1221)的倾角;
夹紧部(1222)的倾角相对于导向部(1221)的倾角小3-5度;
副模具总成(2)侧壁设有导向壁(23);
导向壁(23)与导向部(1221)的倾斜角度一致;
副模具总成(2)通过导向壁(23)与导向部(1221)来实现插入主模具(1)中;
夹紧部(1222)的倾斜角度小于导向壁(23),当副模具总成(2)插至夹紧部(1222)时,会受到夹紧部(1222)对导向壁(23)的夹紧力实现副模具总成(2)下端的夹紧的效果,保证主模具(1)和副模具总成(2)的拼接位置紧密,不会出现缝隙,有效的优化了合模线;
副模具总成(2)的下端设有限位环(25);
限位环(25)与限位槽(1223)完整匹配;
能够确保副模具总成(2)相对主模具(1)安装到位;
利用该异形陶瓷模具的异形陶瓷成型方法包括如下步骤:
S1、将主模具(1)和副模具总成(2)拼接成异形陶瓷模具总成;
S2、通过压膜,在异形陶瓷模具总成内形成陶瓷胚体;
S3、待胚体冷却,使用两根撬杠同时撬起副模具总成(2),实现胚体与主模具(1)的分离;
S4、分别拆除副模具A(21)和副模具B(22),得到成型的胚体;
S5、通过利胚机,对胚体表面进行利胚处理,确保胚体表面光滑。
2.根据权利要求1所述的一种异形陶瓷成型模具,其特征在于:
副模具A(21)相对于副模具B(22)的拼接部位设有凸块(211);
副模具B(22)相对于副模具A(21)的拼接部位设有凹槽(221);
凸块(211)和凹槽(221)向匹配,能够保证副模具B(22)相对于副模具A(21)拼接的稳定性。
3.根据权利要求1所述的一种异形陶瓷成型模具,其特征在于:
副模具总成(2)上端设有阶梯型的凸台(26);
凸台(26)上设有撬部(261);
撬部(261)设置在凸台(26)靠近主模具(1)的一侧;
完成胚体成型后,通过撬部(261)能够将副模具总成(2)撬出,实现胚体与主模具(1)的脱模。
4.根据权利要求1所述的一种异形陶瓷成型模具,其特征在于:
所述主模具(1)的侧壁上设置有提手(11);
通过提手(11)方便移动主模具(1)。
Priority Applications (1)
| Application Number | Priority Date | Filing Date | Title |
|---|---|---|---|
| CN202011355988.5A CN112606175B (zh) | 2020-11-27 | 2020-11-27 | 一种异形陶瓷的成型方法 |
Applications Claiming Priority (1)
| Application Number | Priority Date | Filing Date | Title |
|---|---|---|---|
| CN202011355988.5A CN112606175B (zh) | 2020-11-27 | 2020-11-27 | 一种异形陶瓷的成型方法 |
Publications (2)
| Publication Number | Publication Date |
|---|---|
| CN112606175A CN112606175A (zh) | 2021-04-06 |
| CN112606175B true CN112606175B (zh) | 2022-06-28 |
Family
ID=75225534
Family Applications (1)
| Application Number | Title | Priority Date | Filing Date |
|---|---|---|---|
| CN202011355988.5A Active CN112606175B (zh) | 2020-11-27 | 2020-11-27 | 一种异形陶瓷的成型方法 |
Country Status (1)
| Country | Link |
|---|---|
| CN (1) | CN112606175B (zh) |
Families Citing this family (1)
| Publication number | Priority date | Publication date | Assignee | Title |
|---|---|---|---|---|
| CN118559851B (zh) * | 2024-08-02 | 2024-09-27 | 福建省德化亿裕陶瓷有限公司 | 陶瓷摆件成型模具 |
Citations (4)
| Publication number | Priority date | Publication date | Assignee | Title |
|---|---|---|---|---|
| CN207373397U (zh) * | 2017-10-19 | 2018-05-18 | 醴陵市湘成陶瓷制造有限公司 | 陶瓷造型用组合模具 |
| CN207735531U (zh) * | 2017-12-14 | 2018-08-17 | 无锡宝露重工有限公司 | 一种套管头生产用模具 |
| CN108748619A (zh) * | 2018-08-10 | 2018-11-06 | 佛山市南海鑫隆机工机械有限公司 | 一种用于异型石膏模的气动抱紧装置 |
| CN209851198U (zh) * | 2019-03-07 | 2019-12-27 | 泉州理工职业学院 | 一种异形陶瓷滚压成型用的改进型模具 |
-
2020
- 2020-11-27 CN CN202011355988.5A patent/CN112606175B/zh active Active
Patent Citations (4)
| Publication number | Priority date | Publication date | Assignee | Title |
|---|---|---|---|---|
| CN207373397U (zh) * | 2017-10-19 | 2018-05-18 | 醴陵市湘成陶瓷制造有限公司 | 陶瓷造型用组合模具 |
| CN207735531U (zh) * | 2017-12-14 | 2018-08-17 | 无锡宝露重工有限公司 | 一种套管头生产用模具 |
| CN108748619A (zh) * | 2018-08-10 | 2018-11-06 | 佛山市南海鑫隆机工机械有限公司 | 一种用于异型石膏模的气动抱紧装置 |
| CN209851198U (zh) * | 2019-03-07 | 2019-12-27 | 泉州理工职业学院 | 一种异形陶瓷滚压成型用的改进型模具 |
Also Published As
| Publication number | Publication date |
|---|---|
| CN112606175A (zh) | 2021-04-06 |
Similar Documents
| Publication | Publication Date | Title |
|---|---|---|
| CN202290828U (zh) | 一种齿轮轴一次成形模具 | |
| CN112606175B (zh) | 一种异形陶瓷的成型方法 | |
| CN112373064B (zh) | 一种左前梁成型设备及方法 | |
| CN202911103U (zh) | 一种用于注塑模具的镶件脱模结构 | |
| CN211251190U (zh) | 一种内缩式滑块抽芯模具 | |
| CN220923211U (zh) | 一种用于加工上圆下方油漆桶的模具 | |
| CN218395612U (zh) | 一种汽车左右后轮罩冲压模具 | |
| CN215467832U (zh) | 一种具有辅助脱膜结构的锻造模具 | |
| CN213890860U (zh) | 一种消除模压件闭角的成形工装 | |
| CN211614046U (zh) | 一种槽楔模具 | |
| CN213645563U (zh) | 汽车后轮罩连接板的成型模具 | |
| CN209955183U (zh) | 一种用于生产尾门下饰板的模具 | |
| CN219541648U (zh) | 一种叶片精密铸造模具 | |
| CN213260843U (zh) | 一种灯壳铸造模具的模芯结构 | |
| CN207873039U (zh) | 一种用于生产金属耳机壳的模具 | |
| CN110842089B (zh) | 一种槽楔模具 | |
| CN220075404U (zh) | 轮眉加工用凸模 | |
| CN205436795U (zh) | 一种变速器辅助支撑折弯模具 | |
| CN220883190U (zh) | 一种双后视镜盖板注塑结构 | |
| CN213107730U (zh) | 一种三板模具的滑板脱模结构 | |
| CN214820440U (zh) | 汽车雨刮器壳座的注塑模具 | |
| CN217166425U (zh) | 一种定模内斜向抽芯模具 | |
| CN212147319U (zh) | 多模组注塑模具 | |
| CN219705887U (zh) | 一种便于安装的模具 | |
| CN219786514U (zh) | 一种便于脱模的自行车零件压铸模具 |
Legal Events
| Date | Code | Title | Description |
|---|---|---|---|
| PB01 | Publication | ||
| PB01 | Publication | ||
| SE01 | Entry into force of request for substantive examination | ||
| SE01 | Entry into force of request for substantive examination | ||
| GR01 | Patent grant | ||
| GR01 | Patent grant |