CN112571201B - Plank edge equipment of polishing - Google Patents
Plank edge equipment of polishing Download PDFInfo
- Publication number
- CN112571201B CN112571201B CN202011574556.3A CN202011574556A CN112571201B CN 112571201 B CN112571201 B CN 112571201B CN 202011574556 A CN202011574556 A CN 202011574556A CN 112571201 B CN112571201 B CN 112571201B
- Authority
- CN
- China
- Prior art keywords
- connecting rod
- spring
- rod
- chute
- block
- Prior art date
- Legal status (The legal status is an assumption and is not a legal conclusion. Google has not performed a legal analysis and makes no representation as to the accuracy of the status listed.)
- Expired - Fee Related
Links
Images
Classifications
-
- B—PERFORMING OPERATIONS; TRANSPORTING
- B24—GRINDING; POLISHING
- B24B—MACHINES, DEVICES, OR PROCESSES FOR GRINDING OR POLISHING; DRESSING OR CONDITIONING OF ABRADING SURFACES; FEEDING OF GRINDING, POLISHING, OR LAPPING AGENTS
- B24B9/00—Machines or devices designed for grinding edges or bevels on work or for removing burrs; Accessories therefor
- B24B9/02—Machines or devices designed for grinding edges or bevels on work or for removing burrs; Accessories therefor characterised by a special design with respect to properties of materials specific to articles to be ground
- B24B9/18—Machines or devices designed for grinding edges or bevels on work or for removing burrs; Accessories therefor characterised by a special design with respect to properties of materials specific to articles to be ground of wood
-
- B—PERFORMING OPERATIONS; TRANSPORTING
- B24—GRINDING; POLISHING
- B24B—MACHINES, DEVICES, OR PROCESSES FOR GRINDING OR POLISHING; DRESSING OR CONDITIONING OF ABRADING SURFACES; FEEDING OF GRINDING, POLISHING, OR LAPPING AGENTS
- B24B41/00—Component parts such as frames, beds, carriages, headstocks
- B24B41/005—Feeding or manipulating devices specially adapted to grinding machines
-
- B—PERFORMING OPERATIONS; TRANSPORTING
- B24—GRINDING; POLISHING
- B24B—MACHINES, DEVICES, OR PROCESSES FOR GRINDING OR POLISHING; DRESSING OR CONDITIONING OF ABRADING SURFACES; FEEDING OF GRINDING, POLISHING, OR LAPPING AGENTS
- B24B41/00—Component parts such as frames, beds, carriages, headstocks
- B24B41/007—Weight compensation; Temperature compensation; Vibration damping
-
- B—PERFORMING OPERATIONS; TRANSPORTING
- B24—GRINDING; POLISHING
- B24B—MACHINES, DEVICES, OR PROCESSES FOR GRINDING OR POLISHING; DRESSING OR CONDITIONING OF ABRADING SURFACES; FEEDING OF GRINDING, POLISHING, OR LAPPING AGENTS
- B24B41/00—Component parts such as frames, beds, carriages, headstocks
- B24B41/02—Frames; Beds; Carriages
-
- B—PERFORMING OPERATIONS; TRANSPORTING
- B24—GRINDING; POLISHING
- B24B—MACHINES, DEVICES, OR PROCESSES FOR GRINDING OR POLISHING; DRESSING OR CONDITIONING OF ABRADING SURFACES; FEEDING OF GRINDING, POLISHING, OR LAPPING AGENTS
- B24B41/00—Component parts such as frames, beds, carriages, headstocks
- B24B41/06—Work supports, e.g. adjustable steadies
-
- B—PERFORMING OPERATIONS; TRANSPORTING
- B24—GRINDING; POLISHING
- B24B—MACHINES, DEVICES, OR PROCESSES FOR GRINDING OR POLISHING; DRESSING OR CONDITIONING OF ABRADING SURFACES; FEEDING OF GRINDING, POLISHING, OR LAPPING AGENTS
- B24B47/00—Drives or gearings; Equipment therefor
- B24B47/22—Equipment for exact control of the position of the grinding tool or work at the start of the grinding operation
-
- Y—GENERAL TAGGING OF NEW TECHNOLOGICAL DEVELOPMENTS; GENERAL TAGGING OF CROSS-SECTIONAL TECHNOLOGIES SPANNING OVER SEVERAL SECTIONS OF THE IPC; TECHNICAL SUBJECTS COVERED BY FORMER USPC CROSS-REFERENCE ART COLLECTIONS [XRACs] AND DIGESTS
- Y02—TECHNOLOGIES OR APPLICATIONS FOR MITIGATION OR ADAPTATION AGAINST CLIMATE CHANGE
- Y02P—CLIMATE CHANGE MITIGATION TECHNOLOGIES IN THE PRODUCTION OR PROCESSING OF GOODS
- Y02P70/00—Climate change mitigation technologies in the production process for final industrial or consumer products
- Y02P70/10—Greenhouse gas [GHG] capture, material saving, heat recovery or other energy efficient measures, e.g. motor control, characterised by manufacturing processes, e.g. for rolling metal or metal working
Landscapes
- Engineering & Computer Science (AREA)
- Mechanical Engineering (AREA)
- Life Sciences & Earth Sciences (AREA)
- Wood Science & Technology (AREA)
- Finish Polishing, Edge Sharpening, And Grinding By Specific Grinding Devices (AREA)
Abstract
本发明涉及一种打磨设备,尤其涉及一种木板边缘打磨设备。本发明的技术问题为提供一种自动打磨木板,打磨位置精确且使用方便的木板边缘打磨设备。技术方案如下:一种木板边缘打磨设备,包括有:底座;支撑柱,底座上中部一侧设有支撑柱;踏板机构,底座上中部设有踏板机构;打磨机构,支撑柱上侧设有打磨机构。本发明的有益效果为:在打磨机构的作用下,人们将木板放置在放置板上,首先启动电动打磨机,然后向下踩动第一踏板一定距离,第一连接线会带动第一连接块和电动打磨机向下移动,连接架会带动放置板和木板向上移动,当木板与电动打磨机接触时,电动打磨机从而将木板的边缘进行打磨,提高了人们的工作效率。
The invention relates to a grinding device, in particular to a board edge grinding device. The technical problem of the present invention is to provide a wood edge grinding device that automatically grinds wood boards, has accurate grinding positions and is easy to use. The technical solution is as follows: a wood edge grinding equipment, including: a base; a support column, a support column is provided on the upper middle side of the base; a pedal mechanism, a pedal mechanism is provided on the upper middle part of the base; mechanism. The beneficial effects of the present invention are: under the action of the grinding mechanism, people place the wooden board on the placement board, first start the electric grinder, and then step down on the first pedal for a certain distance, the first connecting line will drive the first connecting block Moving down with the electric grinder, the connecting frame will drive the placement board and the wooden board to move upward. When the wooden board is in contact with the electric grinder, the electric grinder will grind the edge of the wooden board, which improves people's work efficiency.
Description
技术领域technical field
本发明涉及一种打磨设备,尤其涉及一种木板边缘打磨设备。The invention relates to a grinding device, in particular to a board edge grinding device.
背景技术Background technique
木板就是采用完整的木材制成的木板材,这些板材坚固耐用、纹路自然,是装修中常用的类别,此类板材造价较贵,没有统一的标准规格。Wooden boards are wooden boards made of complete wood. These boards are durable and have natural textures. They are commonly used in decoration. Such boards are expensive and there is no uniform standard specification.
目前,一般建筑木板都需要进行打磨才能够进行后期的一些处理工艺,然而现在的木板打磨很多时候都是用人工进行打磨,人工打磨速度慢,打磨的不平滑,使得降低了人们的工作效率,且长时间打磨易劳累分心,也会造成费时费力的情况。At present, general building wood boards need to be polished to be able to carry out some post-treatment processes. However, most of the current wood boards are polished manually. The manual grinding speed is slow and the grinding is not smooth, which reduces people's work efficiency. And grinding for a long time is easy to get tired and distracted, and it will also cause time-consuming and labor-intensive situations.
因此,特别需要设计一种自动打磨木板,打磨位置精确且使用方便的木板边缘打磨设备,可以省去大部分人工操作可能带来的一些麻烦,以至于提高工作效率,来解决上述的缺点。Therefore, there is a special need to design a kind of automatic grinding plank, the grinding position is accurate and the edge grinding equipment of the plank is easy to use, which can save some troubles that most manual operations may bring, so as to improve work efficiency and solve the above-mentioned shortcomings.
发明内容Contents of the invention
为了克服人工打磨速度慢,打磨的不平滑,使得降低了人们的工作效率,且长时间打磨易劳累分心,也会造成费时费力的缺点,本发明的技术问题为:提供一种自动打磨木板,打磨位置精确且使用方便的木板边缘打磨设备。In order to overcome the disadvantages of slow manual grinding speed and uneven grinding, which reduces people's work efficiency, and long-time grinding is easy to be tired and distracted, and will also cause time-consuming and labor-intensive shortcomings. The technical problem of the present invention is: to provide an automatic grinding plank , the grinding position is precise and easy to use wood edge grinding equipment.
技术方案如下:一种木板边缘打磨设备,包括有:底座;支撑柱,底座上中部一侧设有支撑柱;踏板机构,底座上中部设有踏板机构;打磨机构,支撑柱上侧设有打磨机构。The technical solution is as follows: a wood edge grinding equipment, including: a base; a support column, a support column is provided on the upper middle side of the base; a pedal mechanism, a pedal mechanism is provided on the upper middle part of the base; mechanism.
此外,特别优选的是,踏板机构包括有:第一滑槽,底座上中部设有第一滑槽;第一踏板,第一滑槽上滑动式设有第一踏板;第一连接杆,第一踏板内侧设有第一连接杆;第一楔形块,第一连接杆一侧滑动式设有第一楔形块;第一弹簧,第一楔形块与第一踏板之间连接有第一弹簧,第一弹簧套装在第一连接杆上;第二弹簧,第一踏板与第一滑槽之间连接有第二弹簧。In addition, it is particularly preferred that the pedal mechanism includes: a first chute, a first chute is provided in the upper middle of the base; a first pedal, a first pedal is provided slidingly on the first chute; a first connecting rod, a A first connecting rod is provided on the inner side of the pedal; a first wedge block is provided on one side of the first connecting rod slidingly; a first spring is connected between the first wedge block and the first pedal, The first spring is sleeved on the first connecting rod; the second spring is connected between the first pedal and the first slide groove.
此外,特别优选的是,打磨机构包括有:第一滑块,支撑柱中部滑动式设有第一滑块,第一滑块与第一楔形块之间配合;第三弹簧,第一滑块与支撑柱连接有第三弹簧;第一连接块,支撑柱上侧滑动式设有第一连接块;第一连接线,第一连接块与第一滑块之间连接有第一连接线;第四弹簧,第一连接块与支撑柱之间连接有第四弹簧;转动杆,支撑柱上部一侧转动式设有转动杆;绕线轮,转动杆上转动式设有绕线轮;电动打磨机,第一连接块一侧设有电动打磨机;连接架,支撑柱中部滑动式设有连接架;第二连接线,连接架与第一滑块之间通过绕线轮连接右第二连接线;放置板,连接架顶部一侧设有放置板,放置板底部与第一滑槽接触。In addition, it is particularly preferred that the grinding mechanism includes: a first slider, the middle part of the support column is slidingly provided with the first slider, and the first slider cooperates with the first wedge block; the third spring, the first slider A third spring is connected to the supporting column; a first connecting block, the first connecting block is slidingly provided on the upper side of the supporting column; a first connecting line, a first connecting line is connected between the first connecting block and the first sliding block; The fourth spring, the fourth spring is connected between the first connecting block and the support column; the rotating rod is provided with a rotating rod on one side of the upper part of the supporting column; the winding wheel is provided with a winding wheel in the rotating type on the rotating rod; Grinding machine, an electric grinder is provided on one side of the first connecting block; a connecting frame is provided with a sliding type connecting frame in the middle of the supporting column; the second connecting line is connected between the connecting frame and the first slider by a winding wheel Connecting line; placing plate, the top side of the connecting frame is provided with a placing plate, and the bottom of the placing plate is in contact with the first chute.
此外,特别优选的是,还包括有推料组件,推料组件包括有:第二连接杆,第一踏板一侧设有第二连接杆;支撑杆,底座上中部一侧设有支撑杆;上料槽,支撑杆顶部设有上料槽;第二滑槽,上料槽顶部一侧设有第二滑槽;滑动杆,第二滑槽一侧滑动式设有滑动杆;第三连接杆,滑动杆内设有第三连接杆;第二楔形块,第三连接杆一侧滑动式设有第二楔形块,第二楔形块与第二连接杆之间相互配合;第五弹簧,第二楔形块与滑动杆之间连接有第五弹簧,第五弹簧套装在第三连接杆上;第六弹簧,滑动杆一侧与第二滑槽之间连接有第六弹簧。In addition, it is particularly preferred that a pusher assembly is also included, and the pusher assembly includes: a second connecting rod, a second connecting rod is provided on one side of the first pedal; a support rod, a support rod is provided on the upper middle side of the base; Feeding chute, a feeding chute is provided on the top of the support rod; a second chute, a second chute is provided on one side of the top of the feeding chute; a sliding rod, a sliding rod is provided on one side of the second chute; the third connection Rod, the third connecting rod is provided in the sliding rod; the second wedge-shaped block, the second wedge-shaped block is slidingly provided on one side of the third connecting rod, and the second wedge-shaped block cooperates with the second connecting rod; the fifth spring, A fifth spring is connected between the second wedge block and the sliding rod, and the fifth spring is sleeved on the third connecting rod; a sixth spring is connected between one side of the sliding rod and the second chute.
此外,特别优选的是,还包括有上料组件,上料组件包括有:第一转动轴,支撑杆中部一侧转动式设有第一转动轴;单向转盘,第一转动轴一侧设有单向转盘;第二转动轴,第一滑槽一部上侧转动式设有第二转动轴;传动组件,第一转动轴与第二转动轴之间设有传动组件;推板,传动组件中部一侧设有推板,推板与上料槽之间滑动式配合;第二滑块,第二连接杆中部滑动式设有第二滑块;复位弹簧,第二滑块与第二连接杆之间连接有复位弹簧,复位弹簧套装在第二滑块上;第四连接杆,第二滑块中部滑动式设有第四连接杆,支撑杆与第四连接杆之间滑动式配合,单向转盘四周开有圆孔,第四连接杆与单向转盘上的圆孔配合;第七弹簧,第二滑块与第四连接杆之间连接有第七弹簧,第七弹簧套装在第四连接杆上。In addition, it is particularly preferred that a feeding assembly is also included, and the feeding assembly includes: a first rotating shaft, the first rotating shaft is rotated on one side of the middle part of the support rod; a one-way turntable is provided on one side of the first rotating shaft There is a one-way turntable; the second rotating shaft, the upper side of the first chute is rotated and the second rotating shaft is provided; the transmission assembly is provided between the first rotating shaft and the second rotating shaft; the push plate, the transmission There is a push plate on one side of the middle part of the component, and the sliding fit between the push plate and the feeding chute; the second slider, the second sliding block is provided in the middle of the second connecting rod; the return spring, the second slider and the second A return spring is connected between the connecting rods, and the returning spring is set on the second slider; the fourth connecting rod, the middle part of the second slider is slidingly provided with a fourth connecting rod, and the supporting rod and the fourth connecting rod are slidably matched , there is a round hole around the one-way turntable, and the fourth connecting rod matches the round hole on the one-way turntable; the seventh spring, the seventh spring is connected between the second slider and the fourth connecting rod, and the seventh spring is set on the on the fourth connecting rod.
此外,特别优选的是,还包括有缓冲组件,缓冲组件包括有:第五连接杆,第一滑槽上部一侧设有第五连接杆;第六连接杆,第五连接杆下部两侧滑动式设有第六连接杆;第一连接板,第六连接杆顶部之间设有第一连接板;第八弹簧,第一连接板与第五连接杆之间连接有两个第八弹簧,第八弹簧分别套装在第六连接杆上。In addition, it is particularly preferred that a buffer assembly is also included, and the buffer assembly includes: the fifth connecting rod, the fifth connecting rod is provided on the upper side of the first chute; the sixth connecting rod, the fifth connecting rod slides on both sides of the lower part There is a sixth connecting rod; the first connecting plate, the first connecting plate is arranged between the top of the sixth connecting rod; the eighth spring, two eighth springs are connected between the first connecting plate and the fifth connecting rod, The eighth spring is sleeved on the sixth connecting rod respectively.
此外,特别优选的是,还包括有夹紧组件,夹紧组件包括有:第二连接块,电动打磨机顶部设有第二连接块;第七连接杆,第二连接块上两侧对称滑动式设有第七连接杆;第二连接板,第七连接杆底部之间设有第二连接板;第九弹簧,第二连接板与第二连接块之间连接有四个第九弹簧,第九弹簧分别套装在第七连接杆上。In addition, it is particularly preferred that a clamping assembly is also included, and the clamping assembly includes: a second connecting block, which is provided on the top of the electric grinder; a seventh connecting rod, which slides symmetrically on both sides of the second connecting block The seventh connecting rod is provided in the formula; the second connecting plate is provided with the second connecting plate between the bottom of the seventh connecting rod; the ninth spring, four ninth springs are connected between the second connecting plate and the second connecting block, The ninth spring is sleeved on the seventh connecting rod respectively.
此外,特别优选的是,第一连接板使用橡胶材质。In addition, it is particularly preferred that the first connecting plate is made of rubber.
本发明的有益效果:Beneficial effects of the present invention:
1、在打磨机构的作用下,人们将木板放置在放置板上,首先启动电动打磨机,然后向下踩动第一踏板一定距离,第一连接线会带动第一连接块和电动打磨机向下移动,连接架会带动放置板和木板向上移动,当木板与电动打磨机接触时,电动打磨机从而将木板的边缘进行打磨,提高了人们的工作效率。1. Under the action of the grinding mechanism, people place the wooden board on the placement board, first start the electric grinder, and then step down on the first pedal for a certain distance, the first connecting line will drive the first connecting block and the electric grinder to Moving down, the connecting frame will drive the placement board and the wooden board to move upward. When the wooden board is in contact with the electric grinder, the electric grinder will grind the edge of the wooden board, which improves people's work efficiency.
2、在推料组件的作用下,当第一踏板向上移动会带动第二连接杆会向上移动,当第二连接杆向上移动与第二楔形块接触时,会带动第二楔形块向右侧移动,第二楔形块会带动第三连接杆和滑动杆向右移动,第六弹簧被拉伸,滑动杆会将最上方的木板推动至放置板上,使得自动进行推料。2. Under the action of the pushing component, when the first pedal moves upwards, it will drive the second connecting rod to move upwards, and when the second connecting rod moves upwards to contact the second wedge, it will drive the second wedge to the right Move, the second wedge block will drive the third connecting rod and the sliding rod to move to the right, the sixth spring is stretched, and the sliding rod will push the top plank to the placement plate, so that the material will be pushed automatically.
3、在夹紧机构的作用下,当第一连接块向下移动时,会带动第二连接块向下移动,第二连接块会带动第七连接杆和第二连接板向下移动,当第二连接板与木板贴合时,第九弹簧被压缩,第二连接板会将木板进行夹紧,使得木板进行打磨时位置不会偏移。3. Under the action of the clamping mechanism, when the first connecting block moves downward, it will drive the second connecting block to move downward, and the second connecting block will drive the seventh connecting rod and the second connecting plate to move downward. When the second connecting plate is attached to the plank, the ninth spring is compressed, and the second connecting plate will clamp the plank so that the position of the plank will not deviate when it is polished.
附图说明Description of drawings
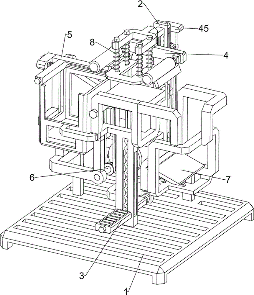
图1为本发明的立体结构示意图。Fig. 1 is a schematic diagram of the three-dimensional structure of the present invention.
图2为本发明的踏板机构、打磨机构立体结构示意图。Fig. 2 is a three-dimensional structural schematic diagram of the pedal mechanism and the grinding mechanism of the present invention.
图3为本发明的推料组件立体结构示意图。Fig. 3 is a schematic diagram of the three-dimensional structure of the pushing assembly of the present invention.
图4为本发明的上料组件立体结构示意图。Fig. 4 is a schematic diagram of the three-dimensional structure of the feeding assembly of the present invention.
图5为本发明A的放大立体结构示意图。Fig. 5 is a schematic diagram of an enlarged three-dimensional structure of the present invention A.
图6为本发明的缓冲组件、夹紧组件立体结构示意图。Fig. 6 is a three-dimensional structural schematic diagram of the cushioning assembly and the clamping assembly of the present invention.
图7为本发明B的放大立体结构示意图。Fig. 7 is a schematic diagram of an enlarged three-dimensional structure of the present invention B.
图8为本发明C的放大立体结构示意图。Fig. 8 is a schematic diagram of an enlarged three-dimensional structure of C of the present invention.
图中标记为:1-底座,2-支撑柱,3-踏板机构,31-第一滑槽,32-第一踏板,33-第一连接杆,34-第一弹簧,35-第一楔形块,36-第二弹簧,4-打磨机构,41-第一滑块,42-第三弹簧,43-第一连接线,44-第四弹簧,45-第一连接块,46-转动杆,47-绕线轮,48-第二连接线,49-电动打磨机,410-连接架,411-放置板,5-推料组件,51-第二连接杆,52-第二滑槽,53-滑动杆,54-第三连接杆,55-第五弹簧,56-第二楔形块,57-第六弹簧,58-支撑杆,59-上料槽,6-上料组件,61-第二滑块,62-第四连接杆,63-第七弹簧,64-复位弹簧,65-第一转动轴,66-第二转动轴,67-单向转盘,68-传动组件,69-推板,7-缓冲组件,71-第五连接杆,72-第六连接杆,73-第八弹簧,74-第一连接板,8-夹紧组件,81-第二连接块,82-第七连接杆,83-第二连接板,84-第九弹簧。Marked in the figure: 1-base, 2-support column, 3-pedal mechanism, 31-first chute, 32-first pedal, 33-first connecting rod, 34-first spring, 35-first wedge Block, 36-the second spring, 4-grinding mechanism, 41-the first slide block, 42-the third spring, 43-the first connecting line, 44-the fourth spring, 45-the first connecting block, 46-rotating rod , 47-winding wheel, 48-second connecting line, 49-electric grinder, 410-connecting frame, 411-placement plate, 5-push material assembly, 51-second connecting rod, 52-second chute, 53-sliding rod, 54-third connecting rod, 55-fifth spring, 56-second wedge block, 57-sixth spring, 58-support rod, 59-feeding chute, 6-feeding assembly, 61- The second slider, 62-the fourth connecting rod, 63-the seventh spring, 64-return spring, 65-the first rotating shaft, 66-the second rotating shaft, 67-one-way turntable, 68-transmission assembly, 69- Push plate, 7-buffer assembly, 71-fifth connecting rod, 72-sixth connecting rod, 73-eighth spring, 74-first connecting plate, 8-clamping assembly, 81-second connecting block, 82- The seventh connecting rod, 83-the second connecting plate, 84-the ninth spring.
具体实施方式Detailed ways
下面结合附图所示的实施例对本发明作进一步描述。The present invention will be further described below in conjunction with the embodiments shown in the accompanying drawings.
实施例1Example 1
一种木板边缘打磨设备,如图1、图2和图3所示,包括有底座1、支撑柱2、踏板机构3和打磨机构4,底座1上中部后侧设有支撑柱2,底座1上中部设有踏板机构3,支撑柱2上侧设有打磨机构4。A wood edge grinding device, as shown in Figure 1, Figure 2 and Figure 3, includes a base 1, a
踏板机构3包括有第一滑槽31、第一踏板32、第一连接杆33、第一弹簧34、第一楔形块35和第二弹簧36,底座1上中部设有第一滑槽31,第一滑槽31上滑动式设有第一踏板32,第一踏板32内侧设有第一连接杆33,第一连接杆33后侧滑动式设有第一楔形块35,第一楔形块35与第一踏板32之间连接有第一弹簧34,第一弹簧34套装在第一连接杆33上,第一踏板32与第一滑槽31之间连接有第二弹簧36。The
打磨机构4包括有第一滑块41、第三弹簧42、第一连接线43、第四弹簧44、第一连接块45、转动杆46、绕线轮47、第二连接线48、电动打磨机49、连接架410和放置板411,支撑柱2中部滑动式设有第一滑块41,第一滑块41与第一楔形块35配合,第一滑块41与支撑柱2连接有第三弹簧42,支撑柱2上侧滑动式设有第一连接块45,第一连接块45与第一滑块41之间连接有第一连接线43,第一连接块45与支撑柱2之间连接有第四弹簧44,支撑柱2上部后侧转动式设有转动杆46,转动杆46上转动式设有绕线轮47,第一连接块45前侧设有电动打磨机49,支撑柱2中部滑动式设有连接架410,连接架410与第一滑块41之间通过绕线轮47连接有第二连接线48,连接架410顶部前侧设有放置板411,放置板411底部与第一滑槽31接触。The grinding mechanism 4 includes a
初始状态为第一楔形块35在第一滑块41上方。人们将木板放置在放置板411上,首先启动电动打磨机49,然后向下踩动第一踏板32一定距离,第二弹簧36被拉伸,第一踏板32会带动第一连接杆33和第一楔形块35向下移动,当第一楔形块35与第一滑块41接触时会带动第一滑块41向下移动,第三弹簧42被压缩,第一滑块41会带动第一连接线43和第二连接线48移动,第一连接线43会带动第一连接块45和电动打磨机49向下移动,第四弹簧44被压缩,同时第二连接线48会通过绕向轮将连接架410向上移动,连接架410会带动放置板411和木板向上移动,当木板与电动打磨机49接触时,电动打磨机49从而将木板的边缘进行打磨,打磨工作完成后,人们松开第一踏板32,由于第二弹簧36的复位作用,会带动第一踏板32和第一楔形块35向上移动至复位,当第一楔形块35与第一滑块41脱离时,由于第三弹簧42的复位作用,会带动第一滑块41向上移动复位,连接架410会由于重力的作用会向下移动,由于第四弹簧44的复位作用,会带动第一连接块45和电动打磨机49向上移动复位,当电动打磨机49与木板脱离时,人们关闭电动打磨机49即可。The initial state is that the
实施例2Example 2
在实施例1的基础之上,如图3、图4、图5、图6、图7和图8所示,还包括有推料组件5,推料组件5包括有第二连接杆51、第二滑槽52、滑动杆53、第三连接杆54、第五弹簧55、第二楔形块56、第六弹簧57、支撑杆58和上料槽59,第一踏板32左后侧设有第二连接杆51,底座1上中部左侧设有支撑杆58,支撑杆58顶部设有上料槽59,上料槽59顶部后侧设有第二滑槽52,第二滑槽52左侧滑动式设有滑动杆53,滑动杆53内设有第三连接杆54,第三连接杆54后侧滑动式设有第二楔形块56,第二楔形块56与第二连接杆51之间相互配合,第二楔形块56与滑动杆53之间连接有第五弹簧55,第五弹簧55套装在第三连接杆54上,滑动杆53左侧与第二滑槽52之间连接有第六弹簧57。On the basis of Embodiment 1, as shown in Fig. 3, Fig. 4, Fig. 5, Fig. 6, Fig. 7 and Fig. 8, a pusher assembly 5 is also included, and the pusher assembly 5 includes a second connecting
人们可以将多个木板放置在上料槽59内,然后人们向下踩动第一踏板32到最低处,当第一滑块41向下移动到底时,第一楔形块35与第一滑块41接触,会带动第一楔形块35向前侧移动,第一弹簧34被压缩,当第一楔形块35与位于第一滑块41下侧并与其脱离时,由于第一弹簧34的复位作用,会带动第一楔形块35向后侧移动复位,第一踏板32会同时带动第二连接杆51向下移动,当第二连接杆51向下移动与第二楔形块56接触时,会带动第二楔形块56向前侧移动,第五弹簧55被压缩,第二连接杆51继续相向下移动与第二楔形块56脱离,由于第五弹簧55的复位作用,会带动第二楔形块56向后移动至复位,当第一踏板32向上移动会带动第二连接杆51会向上移动,同时第一踏板32带动第一楔形块35向上移动越过第一滑块41,当第二连接杆51向上移动与第二楔形块56接触时,会带动第二楔形块56向右侧移动,第二楔形块56会带动第三连接杆54和滑动杆53向右移动,第六弹簧57被拉伸,滑动杆53会将最上方的木板推动至放置板411上,当第二楔形块56移动至与第二连接杆51脱离时,由于第六弹簧57的复位作用,会带动滑动杆53、第三连接杆54和第二楔形块56向左侧移动至复位。People can place a plurality of planks in the
还包括有上料组件6,上料组件6包括有第二滑块61、第四连接杆62、第七弹簧63、复位弹簧64、第一转动轴65,第二转动轴66、单向转盘67、传动组件68和推板69,支撑杆58中部右侧转动式设有第一转动轴65,第一转动轴65后侧设有单向转盘67,第一滑槽31左部上侧转动式设有第二转动轴66,第一转动轴65与第二转动轴66之间设有传动组件68,传动组件68中部左侧设有推板69,推板69与上料槽59之间滑动式配合,第二连接杆51中部滑动式设有第二滑块61,第二滑块61与第二连接杆51之间连接有复位弹簧64,复位弹簧64套装在第二滑块61上,第二滑块61中部滑动式设有第四连接杆62,支撑杆58右侧后部为半圆弧状,第四连接杆62与支撑杆58的半圆弧位置滑动配合,单向转盘67四周开有圆孔,第四连接杆62与单向转盘67上的圆孔配合,第二滑块61与第四连接杆62之间连接有第七弹簧63,第七弹簧63套装在第四连接杆62上。Also include a feeding assembly 6, the feeding assembly 6 includes a
当人们将多个木板放置在上料槽59内时,木板会带动推板69向下移动,推板69会带动传动组件68、第一转动轴65和第二转动轴66逆时针转动,由于单向转盘67的作用,第二转动轴66不会带动单向转盘67逆时针转动,初始状态下,第四连接杆62会卡住单向转盘67上的圆孔,当第二连接杆51向上移动时,会带动第二滑块61和第四连接杆62向上移动,第四连接杆62会带动单向转盘67顺时针转动九十度,由于支撑杆58的导向作用,使得第二滑块61同时会在第二连接杆51内左右移动,复位弹簧64发生形变后复位,单向转盘67会带动传动组件68顺时针转动,传动组件68会带动推板69向上移动一段距离,从而将木板向上移动,使得滑动杆53更方便的将木板向右侧推动。When people place a plurality of wooden boards in the
还包括有缓冲组件7,缓冲组件7包括有第五连接杆71、第六连接杆72、第八弹簧73和第一连接板74,第一滑槽31上部右侧设有第五连接杆71,第五连接杆71下部左右两侧均滑动式设有第六连接杆72,第六连接杆72顶部之间设有第一连接板74,第一连接板74与第五连接杆71之间连接有两个第八弹簧73,第八弹簧73分别套装在第六连接杆72上。Also includes a buffer assembly 7, the buffer assembly 7 includes a fifth connecting
打磨工作结束后,未打磨的木板会将打磨完成的木板向右侧推动至第一连接板74上,木板与第一连接板74接触时会带动第六连接杆72向下移动,第八弹簧73发生形变后复位,使得第一连接板74给木板一个缓冲的作用,使得木板不会被破坏,且方便人们收集。After the grinding work is finished, the unpolished plank will push the polished plank to the right to the first connecting
还包括有夹紧组件8,夹紧组件8包括有第二连接块81、第七连接杆82、第二连接板83和第九弹簧84,电动打磨机49顶部设有第二连接块81,第二连接块81上左右两侧均前后对称滑动式设有第七连接杆82,第七连接杆82底部之间设有第二连接板83,第二连接板83与第二连接块81之间连接有四个第九弹簧84,第九弹簧84分别套装在第七连接杆82上。Also includes a clamping assembly 8, the clamping assembly 8 includes a second connecting
当第一连接块45向下移动时,会带动第二连接块81向下移动,第二连接块81会带动第七连接杆82和第二连接板83向下移动,当第二连接板83与木板贴合时,第九弹簧84被压缩,第二连接板83会将木板进行夹紧,使得木板进行打磨时位置不会偏移,当第一连接块45向上移动时,会带动第二连接块81向上移动,当第二连接板83与木板脱离时,第九弹簧84复位。When the first connecting block 45 moves downward, it will drive the second connecting
尽管参照上面实施例详细说明了本发明,但是通过本公开对于本领域技术人员显而易见的是,而在不脱离所述的权利要求限定的本发明的原理及精神范围的情况下,可对本发明做出各种变化或修改。因此,本公开实施例的详细描述仅用来解释,而不是用来限制本发明,而是由权利要求的内容限定保护的范围。Although the present invention has been described in detail with reference to the above embodiments, it will be apparent to those skilled in the art through this disclosure that the present invention can be modified without departing from the principle and spirit scope of the present invention defined by the claims. various changes or modifications. Therefore, the detailed description of the embodiments of the present disclosure is only for explanation, not for limiting the present invention, but the content of the claims defines the scope of protection.
Claims (3)
Priority Applications (1)
| Application Number | Priority Date | Filing Date | Title |
|---|---|---|---|
| CN202011574556.3A CN112571201B (en) | 2020-12-28 | 2020-12-28 | Plank edge equipment of polishing |
Applications Claiming Priority (1)
| Application Number | Priority Date | Filing Date | Title |
|---|---|---|---|
| CN202011574556.3A CN112571201B (en) | 2020-12-28 | 2020-12-28 | Plank edge equipment of polishing |
Publications (2)
| Publication Number | Publication Date |
|---|---|
| CN112571201A CN112571201A (en) | 2021-03-30 |
| CN112571201B true CN112571201B (en) | 2023-05-02 |
Family
ID=75140338
Family Applications (1)
| Application Number | Title | Priority Date | Filing Date |
|---|---|---|---|
| CN202011574556.3A Expired - Fee Related CN112571201B (en) | 2020-12-28 | 2020-12-28 | Plank edge equipment of polishing |
Country Status (1)
| Country | Link |
|---|---|
| CN (1) | CN112571201B (en) |
Families Citing this family (1)
| Publication number | Priority date | Publication date | Assignee | Title |
|---|---|---|---|---|
| CN113857971B (en) * | 2021-08-17 | 2023-08-22 | 南京至善骏达科技发展有限公司 | Batch deburring equipment for bottoms of plastic bowls |
Citations (1)
| Publication number | Priority date | Publication date | Assignee | Title |
|---|---|---|---|---|
| CN107639494A (en) * | 2017-11-21 | 2018-01-30 | 王小洪 | A kind of bamboo cane edge sanding apparatus |
Family Cites Families (11)
| Publication number | Priority date | Publication date | Assignee | Title |
|---|---|---|---|---|
| SU1135616A1 (en) * | 1983-05-03 | 1985-01-23 | Научно-Производственное Объединение "Грузниипроектмебель" | Apparatus for grinding wooden parts |
| JP5406126B2 (en) * | 2010-06-09 | 2014-02-05 | 株式会社岡本工作機械製作所 | Compound chamfering processing apparatus and processing method for ingot block |
| CN106965267A (en) * | 2017-03-16 | 2017-07-21 | 武汉科技大学 | OfAutomatic Woodworking Machinery device |
| CN108723963A (en) * | 2018-08-08 | 2018-11-02 | 陵县恒丰纺织品有限公司 | Roller mandrel cleaner |
| CN110216541B (en) * | 2019-05-23 | 2020-12-11 | 温州炘都工业设计有限公司 | A water pipe burr grinding device |
| CN111531442B (en) * | 2020-04-13 | 2021-06-18 | 钟国庆 | Four-way grinding device at edge of square tea tray |
| CN211890272U (en) * | 2020-04-20 | 2020-11-10 | 景德镇中达航空铸造有限公司 | Multifunctional sanding polisher |
| CN111823331B (en) * | 2020-07-07 | 2021-12-07 | 江西富龙皇冠实业有限公司 | Equipment for uniformly cutting and segmenting wood |
| CN111872761B (en) * | 2020-08-06 | 2024-12-17 | 中国二冶集团有限公司 | Steel pipe end grinding device for building |
| CN111958387B (en) * | 2020-08-10 | 2022-08-05 | 浙江维真医疗科技有限公司 | Glasses are made and are used lens corner equipment of polishing |
| CN112108958A (en) * | 2020-09-22 | 2020-12-22 | 刘志辉 | Wood cup processing device for wood working machinery |
-
2020
- 2020-12-28 CN CN202011574556.3A patent/CN112571201B/en not_active Expired - Fee Related
Patent Citations (1)
| Publication number | Priority date | Publication date | Assignee | Title |
|---|---|---|---|---|
| CN107639494A (en) * | 2017-11-21 | 2018-01-30 | 王小洪 | A kind of bamboo cane edge sanding apparatus |
Also Published As
| Publication number | Publication date |
|---|---|
| CN112571201A (en) | 2021-03-30 |
Similar Documents
| Publication | Publication Date | Title |
|---|---|---|
| CN112571201B (en) | Plank edge equipment of polishing | |
| CN118181115A (en) | Bamboo article makes with surface polishing equipment | |
| CN111451863A (en) | An automatic floor grinding device based on rotation for grinding and synchronous clamping | |
| CN111660170A (en) | Bamboo spoon fluting device | |
| CN107877285B (en) | Wood board grinding machine | |
| CN112692688B (en) | Timber rounding device for processing chess | |
| CN205765324U (en) | A kind of fritter surface of steel plate Plane surface grinding machine | |
| CN209466054U (en) | A kind of furniture panel edge grinding device | |
| CN106493637A (en) | An automatic polishing equipment for iron hardware with a waste slag recovery device | |
| CN217914433U (en) | Angle grinding device for producing mobile phone screen | |
| CN105773847A (en) | Building stone cutting and polishing device | |
| CN112872964B (en) | A single-sided grinding and chamfering device for circular cutting boards for wood processing | |
| CN221066610U (en) | A wood board cutting machine for construction | |
| CN107495641A (en) | A kind of teaching apparatus for mathematics rack of length adjustable | |
| CN211104243U (en) | Trimmer for production and preparation of plastic products | |
| CN208826736U (en) | A modified PP cutting device preventing displacement | |
| CN210285696U (en) | A transport mechanism for view guardrail | |
| CN104149012B (en) | Table tennis bat handle little side plate sanding apparatus | |
| CN209100946U (en) | A portable multimedia teaching device | |
| CN207843435U (en) | A protective film sticking device | |
| CN111941184A (en) | Quick cutting and grinding device for furniture processing | |
| CN211185677U (en) | A special scratching equipment for the production of high-nutrition and multi-effect grilled eel | |
| CN212311656U (en) | Polishing equipment for metal material processing and convenient positioning structure thereof | |
| CN220613447U (en) | Edging device | |
| CN113021098A (en) | Copper facing fibre production is with to fibre surface treatment device |
Legal Events
| Date | Code | Title | Description |
|---|---|---|---|
| PB01 | Publication | ||
| PB01 | Publication | ||
| SE01 | Entry into force of request for substantive examination | ||
| SE01 | Entry into force of request for substantive examination | ||
| TA01 | Transfer of patent application right | ||
| TA01 | Transfer of patent application right |
Effective date of registration: 20230414 Address after: 518000 504, office building, No. 96, Yangyong Road, tangxiayong community, Yanluo street, Bao'an District, Shenzhen, Guangdong Province Applicant after: SHENZHEN ZHONGYI INTELLIGENT HOUSEHOLD Co.,Ltd. Address before: Room 108, building 3, 56 yiziqiang group, Xinxing community Preparatory Committee, Tongsheng street, Yuhua District, Changsha City, Hunan Province, 41007 Applicant before: Zhou Wufen |
|
| GR01 | Patent grant | ||
| GR01 | Patent grant | ||
| CF01 | Termination of patent right due to non-payment of annual fee | ||
| CF01 | Termination of patent right due to non-payment of annual fee |
Granted publication date: 20230502 |
