CN112566838B - Cab suspension of a commercial vehicle, commercial vehicle and method of adjusting damping of a cab suspension - Google Patents
Cab suspension of a commercial vehicle, commercial vehicle and method of adjusting damping of a cab suspension Download PDFInfo
- Publication number
- CN112566838B CN112566838B CN201980052769.9A CN201980052769A CN112566838B CN 112566838 B CN112566838 B CN 112566838B CN 201980052769 A CN201980052769 A CN 201980052769A CN 112566838 B CN112566838 B CN 112566838B
- Authority
- CN
- China
- Prior art keywords
- cab
- damper
- frame
- damping
- suspension
- Prior art date
- Legal status (The legal status is an assumption and is not a legal conclusion. Google has not performed a legal analysis and makes no representation as to the accuracy of the status listed.)
- Active
Links
Images
Classifications
-
- B—PERFORMING OPERATIONS; TRANSPORTING
- B62—LAND VEHICLES FOR TRAVELLING OTHERWISE THAN ON RAILS
- B62D—MOTOR VEHICLES; TRAILERS
- B62D33/00—Superstructures for load-carrying vehicles
- B62D33/06—Drivers' cabs
- B62D33/0604—Cabs insulated against vibrations or noise, e.g. with elastic suspension
-
- B—PERFORMING OPERATIONS; TRANSPORTING
- B60—VEHICLES IN GENERAL
- B60G—VEHICLE SUSPENSION ARRANGEMENTS
- B60G99/00—Subject matter not provided for in other groups of this subclass
- B60G99/002—Suspension details of the suspension of the vehicle body on the vehicle chassis
-
- B—PERFORMING OPERATIONS; TRANSPORTING
- B62—LAND VEHICLES FOR TRAVELLING OTHERWISE THAN ON RAILS
- B62D—MOTOR VEHICLES; TRAILERS
- B62D33/00—Superstructures for load-carrying vehicles
- B62D33/06—Drivers' cabs
-
- B—PERFORMING OPERATIONS; TRANSPORTING
- B62—LAND VEHICLES FOR TRAVELLING OTHERWISE THAN ON RAILS
- B62D—MOTOR VEHICLES; TRAILERS
- B62D33/00—Superstructures for load-carrying vehicles
- B62D33/06—Drivers' cabs
- B62D33/0604—Cabs insulated against vibrations or noise, e.g. with elastic suspension
- B62D33/0608—Cabs insulated against vibrations or noise, e.g. with elastic suspension pneumatic or hydraulic suspension
Landscapes
- Engineering & Computer Science (AREA)
- Mechanical Engineering (AREA)
- Chemical & Material Sciences (AREA)
- Combustion & Propulsion (AREA)
- Transportation (AREA)
- Vehicle Body Suspensions (AREA)
- Body Structure For Vehicles (AREA)
- Vibration Prevention Devices (AREA)
Abstract
本发明涉及一种用于商用车辆(20)的驾驶室悬架(10),其包括至少四个优选以四点支承形式被布置在商用车辆(20)的驾驶室(1)和车架(2)之间的阻尼器装置(3a、3b、3c、3d),每个阻尼器装置的阻尼力能够单独地调节。根据本发明,每个阻尼器装置(3a、3b、3c、3d)被设计为阻尼从驾驶室(1)到车架(2)的拉伸负载和压缩负载二者。本发明还涉及一种具有相应的驾驶室悬架(10)的商用车辆(20)以及一种用于调节驾驶室悬架(10)的阻尼的方法。在此,该方法包括以下步骤:确定哪些阻尼器装置(3a、3b、3c、3d)承受从驾驶室(1)到车架(2)的拉伸负载以及哪些承受从驾驶室(1)到车架(2)的压缩负载。调整承受从驾驶室(1)到车架(2)的拉伸负载的阻尼器装置(3a、3b、3c、3d)的阻尼力,以阻尼从驾驶室(1)到车架(2)的拉伸负载,且/或调整承受从驾驶室(1)到车架(2)的压缩负载的阻尼器装置(3a、3b、3c、3d)的阻尼力,以阻尼从驾驶室(1)到车架(2)的压缩负载。
The invention relates to a cab suspension (10) for a commercial vehicle (20) comprising at least four cab (1) and frame ( 2) Between the damper devices (3a, 3b, 3c, 3d), the damping force of each damper device can be adjusted individually. According to the invention, each damper arrangement (3a, 3b, 3c, 3d) is designed to damp both tensile and compressive loads from the cab (1) to the frame (2). The invention also relates to a commercial vehicle (20) with a corresponding cab suspension (10) and a method for adjusting the damping of the cab suspension (10). Here, the method comprises the steps of: determining which damper arrangements (3a, 3b, 3c, 3d) bear the tensile load from the cab (1) to the frame (2) and which bear the load from the cab (1) to The compressive load of the frame (2). Adjust the damping force of the damper device (3a, 3b, 3c, 3d) that bears the tensile load from the cab (1) to the frame (2) to damp the force from the cab (1) to the frame (2) Tensile load, and/or adjust the damping force of the damper device (3a, 3b, 3c, 3d) bearing the compressive load from the cab (1) to the frame (2) to damp the The compressive load of the frame (2).
Description
技术领域technical field
本发明涉及一种用于商用车辆的驾驶室悬架、一种具有相应的驾驶室悬架的商用车辆以及一种用于调节驾驶室悬架的阻尼的方法。The invention relates to a cab suspension for a commercial vehicle, a commercial vehicle with a corresponding cab suspension and a method for adjusting the damping of the cab suspension.
背景技术Background technique
具有驾驶室的商用车辆在诸如EP 1 584 545 A2或EP 1 702 772 B1等现有技术中是众所周知的,其中,驾驶室通过相应的驾驶室悬架连接到车架。作为驾驶室和车架之间的连接件,驾驶室悬架因此具有许多不同的功能,包括驾驶室与路面和/或发动机的振动解耦。除了由此改善的驾驶安全性以外,在这里首先最重要的是改善了驾驶舒适性,因为驾驶员(特别是在长途交通运输中)的几乎所有工作时间都在驾驶室中度过。Commercial vehicles with a cab are known from the prior art such as
驾驶员的舒适度最终取决于驾驶室悬架的设计工作。更简单的解决方案通常是应抑制滚转和俯仰运动的带有阻尼的两个前部橡胶枢轴承以及两个后部阻尼支柱。在此,后侧的两个滚轮负责驾驶室的横向引导。还已知的是,在前部和后部都安装有用于驾驶室悬架的阻尼支柱,其中,它们在前部支撑稳定器。然后,驾驶室后部的横向引导通常由横拉杆执行。然而,先前解决方案的缺点是较高的部件要求和安装空间要求以及各个部件的相应重量。Driver comfort ultimately depends on the design work of the cab suspension. A simpler solution is usually two front rubber pivot bearings with damping and two rear damping struts that should dampen roll and pitch motion. Here, two rollers on the rear side are responsible for the lateral guidance of the driver's cab. It is also known to mount damping struts for the cab suspension both at the front and at the rear, wherein they support the stabilizer at the front. Lateral guidance at the rear of the cab is then usually performed by tie rods. However, the previous solutions have the disadvantage of high component and installation space requirements and the corresponding weight of the individual components.
发明内容Contents of the invention
因此,本发明的目的是提供一种用于商用车辆的驾驶室悬架,利用该悬架可以避免先前解决方案的缺点。特别地,本发明的目的是提供一种驾驶室悬架,其比先前的解决方案需要更少的安装空间和更轻的重量。It is therefore an object of the present invention to provide a cab suspension for commercial vehicles with which the disadvantages of previous solutions can be avoided. In particular, it is an object of the invention to provide a cab suspension that requires less installation space and is lighter than previous solutions.
根据本发明,这些目的通过根据本申请的装置和机动车辆来实现。本发明的有利实施例和应用是本申请的主题,并且在下面的描述中将部分参考附图来更详细地说明。According to the invention, these objects are achieved by the device and the motor vehicle according to the application. Advantageous embodiments and applications of the invention are the subject of the present application and will be explained in more detail in the following description, partly with reference to the drawings.
在此,本发明的基本思想在于,通过针对性地主动控制驾驶室悬架(特别是通过改变驾驶室悬架的阻尼力)来承担先前系统中设置的独立且通常为被动的部件(例如,用于滚转稳定的稳定器)所具有的功能和任务,从而可以省去先前解决方案中占用空间的部件。Here, the basic idea of the invention is to take over the independent and often passive components provided in previous systems (e.g. Stabilizers for roll stabilization) have functions and tasks that make it possible to dispense with space-consuming components of previous solutions.
为此,根据本发明的用于商用车辆的驾驶室悬架包括(以本身已知方式的)至少四个被布置在商用车辆的驾驶室和车架之间的优选为四点支承(Vier-Punkt-Lagerung)形式的阻尼器装置,每个阻尼器装置的阻尼力可单独地调节。优选地,阻尼器装置为半主动和/或主动阻尼器,其阻尼器特性(力-速度特性)可以离散地或连续地调节(例如,CDC阻尼器、电流变阻尼器和磁流变阻尼器)。在此,阻尼器装置可以包括一个或多个液压、液压气动和/或气动的避震器和/或阻尼器,和/或被设计为弹簧阻尼器系统的一部分,例如作为空气弹簧阻尼器模块的一部分。To this end, the cab suspension for a commercial vehicle according to the invention comprises (in a manner known per se) at least four preferably four-point bearings (Vier- Punkt-Lagerung) type damper device, the damping force of each damper device can be adjusted individually. Preferably, the damper arrangement is a semi-active and/or active damper whose damper characteristics (force-velocity characteristics) can be adjusted discretely or continuously (e.g. CDC dampers, electrorheological dampers and magnetorheological dampers ). Here, the damper arrangement can comprise one or more hydraulic, hydropneumatic and/or pneumatic shock absorbers and/or dampers and/or be designed as part of a spring-damper system, for example as an air spring-damper module a part of.
根据本发明,每个阻尼器装置被设计成阻尼从驾驶室到车架的拉伸负载和压缩负载二者。在此,拉伸负载可以被定义为驾驶室作用在车架上的实质上与重力方向相反地定向的力,并且压缩负载可以被定义为驾驶室作用在车架上的实质上指向重力方向的力。换句话说,阻尼器装置可以因此被设计成阻尼从彼此相反的方向或在彼此相反的方向上作用在相应的阻尼器装置上的负载。由于相应的阻尼器装置可以在所有负载状态下施加足够的阻尼。因此有利地实现了对驾驶室运动的尽可能快的阻尼。例如,在制动过程中在驾驶室俯仰运动的情况下,“被压缩地”加载的前部阻尼器装置可以阻尼压缩负载,而同时“被拉伸地”加载的后部阻尼器装置可以阻尼拉伸负载。According to the invention, each damper arrangement is designed to damp both tensile and compressive loads from the cab to the frame. Here, a tensile load may be defined as the force of the cab acting on the frame directed substantially against the direction of gravity, and a compressive load may be defined as a force of the cab acting on the frame directed substantially in the direction of gravity force. In other words, the damper arrangements may thus be designed to damp loads acting on the respective damper arrangements from or in opposite directions to each other. Due to the corresponding damper arrangement sufficient damping can be applied in all load states. This advantageously achieves the fastest possible damping of the movement of the driver's cab. For example, in case of pitching motion of the cab during braking, a "compressively" loaded front damper arrangement can damp compressive loads, while at the same time a "tensilely" loaded rear damper arrangement can damp tensile load.
因为利用当今可用的许多阻尼器通常仅可在压缩和拉伸方向上实现一侧或强不对称的阻尼,所以根据本发明的第一方面,每个阻尼器装置可各自包括两个阻尼器,在下文中为了更好地区分它们,将该两个阻尼器称为第一阻尼器和第二阻尼器。在此,每个阻尼器装置的两个阻尼器可以在它们的功能上彼此相反地作用。也就是说,第二阻尼器以与第一阻尼器相关地进行作用,就好像相反的负载像作用在第一阻尼器上一样作用在第二阻尼器上。例如,这可以通过两个结构相同的阻尼器来实现,该阻尼器在驾驶室和车架之间相反地安装,即彼此旋转180°地安装。Since with many dampers available today only one-sided or strongly asymmetrical damping can generally be achieved in the compression and tension directions, according to the first aspect of the invention each damper arrangement may each comprise two dampers, In order to distinguish them better, the two dampers are referred to as a first damper and a second damper hereinafter. In this case, the two dampers of each damper arrangement can act oppositely to each other in terms of their function. That is to say, the second damper acts in relation to the first damper, as if an opposite load acts on the second damper as it acts on the first damper. This can be achieved, for example, by two structurally identical dampers which are mounted oppositely, ie rotated by 180° relative to each other, between the driver's cab and the vehicle frame.
此外或替代地,每个阻尼器装置的两个阻尼器也可以被布置为使得在从驾驶室向车架施加拉伸负载的情况下,主要是第一阻尼器起阻尼作用,并且在从驾驶室向车架施加压缩负载的情况下,主要是第二阻尼器起阻尼作用。例如,该特征也可以通过两个实质上结构相同的阻尼器实现,例如通过对于拉伸负载具有高阻尼力的阻尼器实现,这两个阻尼器在驾驶室和车架之间相反地安装。因此,在从驾驶室到车架的拉伸负载的情况下,第一阻尼器(在当前情况下被拉伸地加载)可由于其阻尼特性而起阻尼作用,而第二阻尼器可能实质上是无效的。然后,在从驾驶室到车架的压缩负载的情况下,第二阻尼器由于其现在承受拉伸负载,因此第二阻尼器可以承担阻尼作用,而第一阻尼器现在实质上可以是无效的。代替上述相反地安装,第一和第二阻尼器的交替阻尼也可以通过阻尼特性的不同控制和/或相应的机械偏转来实现。因此有利地,使用实质上仅在一个负载方向上起作用的阻尼器,也可以实现对不期望的驾驶室运动的快速阻尼。Additionally or alternatively, the two dampers of each damper arrangement can also be arranged such that in the event of a tensile load being applied to the frame from the driver's In the case where the chamber applies a compressive load to the frame, it is mainly the second damper that acts as a damper. For example, this feature can also be realized by two substantially structurally identical dampers, for example with a high damping force for tensile loads, mounted oppositely between the cab and the frame. Thus, in the case of a tensile load from the cab to the frame, the first damper (loaded in tension in the present case) may dampen due to its damping properties, while the second damper may substantially it is invalid. Then in the case of a compressive load from the cab to the frame the second damper can take over the damping action as it is now carrying the tensile load and the first damper can now be essentially ineffective . Instead of the reverse mounting described above, alternate damping of the first and second damper can also be achieved by different control of the damping properties and/or corresponding mechanical deflection. Advantageously, a rapid damping of undesired cab movements can therefore also be achieved with a damper which acts essentially only in one load direction.
根据本发明的另一方面,驾驶室悬架可以不包括机械稳定器,优选地不包括扭杆弹簧(Drehstabfeder)形式的用于滚转稳定和/或俯仰稳定的机械稳定器。换句话说,驾驶室悬架可以设计成不具有稳定器。因此优选地,仅通过至少四个阻尼器装置的阻尼力来确定驾驶室悬架的滚转和/或俯仰刚度。此外或替代地,阻尼器装置也可以被控制为使得其具有机械稳定器的功能。为此,例如可以通过相应地增大阻尼器装置的阻尼力来提高滚转刚度。通过省略稳定器,因此可以有利地节省驾驶室中的安装空间和重量。此外,利用根据本发明的解决方案,还能够更快地抑制滚转和/或俯仰运动,因为常规的稳定器或扭杆弹簧最初需要一定的旋转量(即,一定的弹簧压缩量),以便建立反作用力。这在各个阻尼器装置的适当的、优选地甚至为预测的主动控制的情况下不是必需的。According to a further aspect of the invention, the cab suspension may comprise no mechanical stabilizers, preferably no mechanical stabilizers in the form of torsion bar springs for roll stabilization and/or pitch stabilization. In other words, the cab suspension can be designed without stabilizers. The roll and/or pitch stiffness of the cab suspension is therefore preferably determined solely by the damping forces of the at least four damper arrangements. Additionally or alternatively, the damper arrangement can also be controlled such that it has the function of a mechanical stabilizer. For this purpose, for example, the roll stiffness can be increased by correspondingly increasing the damping force of the damper arrangement. By omitting the stabilizer, it is thus advantageously possible to save installation space and weight in the driver's cab. Furthermore, with the solution according to the invention, roll and/or pitch motions can also be damped faster, since conventional stabilizer or torsion bar springs initially require a certain amount of rotation (i.e. a certain amount of spring compression) in order to Create reaction forces. This is not necessary with a suitable, preferably even predictive, active control of the individual damper arrangements.
根据本发明的另一方面,驾驶室悬架可以包括控制装置,该控制装置被设计为基于传感器装置的数据来确定驾驶室运动,例如,驾驶室的滚转、俯仰、升高和/或下降运动。为此,传感器装置可以例如包括加速度传感器、转向角传感器(Lenkwinkelsensor)、偏航率传感器(Gierratensensor)和/或位移传感器。优选地,驾驶室运动是驾驶室的状态改变。也就是说,代替静态的驾驶室定向(例如,由于不相同的负载而导致的时间恒定的侧倾斜),在当前情况下可以从驾驶室的当前静止位置确定改变。此外,用于阻尼所确定的驾驶室运动的控制装置可以被设计为调整阻尼器装置的阻尼力。例如,控制装置可以被设计成打开和/或关闭阻尼器装置内的开关阀和/或比例阀。此外或替代地,特别是在具有电流变流体和/或磁流变流体的阻尼器装置的情况下,控制装置也可以被设计成在阻尼器装置内产生和/或减小电磁场。优选地,阻尼器装置的相应调节的阻尼力尽可能快速且有效地抑制所确定的驾驶室运动,其中,对于本领域技术人员而言针对阻尼器装置的精确控制方法(下面将对其中一部分进行详细说明)的多个可能性是显而易见的。有利地,本发明的这个方面使得能够快速地抑制不期望的驾驶室运动,并因此省去了占用空间的部件(包括稳定器)。According to another aspect of the invention, the cab suspension may comprise control means designed to determine cab motions, for example roll, pitch, raise and/or lower of the cab, based on data from sensor means sports. For this purpose, the sensor system can include, for example, an acceleration sensor, a steering angle sensor, a yaw rate sensor and/or a displacement sensor. Preferably, the cab movement is a state change of the cab. That is to say, instead of a static cab orientation (for example, a time-constant side tilt due to different loads), a change can be determined from the current rest position of the cab in the present case. Furthermore, the control device for damping the determined cab movement can be designed to adjust the damping force of the damper arrangement. For example, the control device can be designed to open and/or close a switching valve and/or a proportional valve in the damper device. Additionally or alternatively, especially in the case of damper arrangements with electrorheological fluids and/or magnetorheological fluids, the control device can also be designed to generate and/or reduce an electromagnetic field within the damper arrangement. Preferably, the correspondingly adjusted damping force of the damper device suppresses the determined driver's cab movement as quickly and effectively as possible, wherein for a person skilled in the art, the precise control method of the damper device (some of which will be described below A number of possibilities are apparent. Advantageously, this aspect of the invention enables rapid damping of undesired cab movements and thus eliminates space-consuming components, including stabilizers.
根据该方面的改进示例,传感器装置可以被布置在驾驶室的顶壁区域中,例如,驾驶室的顶壁下侧。换句话说,传感器装置可以被布置在尽可能远离阻尼器装置和/或驾驶室在车架上的支撑位置的位置处。由于驾驶室运动(即,更确切地说是驾驶室相对于静止位置的偏移)随着与驾驶室在车架上的支撑位置的距离的增大而增大,因此能够有利地实现对驾驶室的微小和/或仍在产生中的运动的精确检测。优选地,传感器装置可以被布置在顶壁区域中的尽可能中心和/或中央处且/或与所有阻尼器装置尽可能等距地间隔开。According to a modified example of this aspect, the sensor device may be arranged in the region of the top wall of the cab, for example, on the underside of the top wall of the cab. In other words, the sensor device may be arranged as far as possible from the support position of the damper device and/or the cab on the vehicle frame. Since the movement of the cab, that is to say, the displacement of the cab relative to the rest position, increases with distance from the position of the cab on the frame, it is advantageously possible to achieve Accurate detection of small and/or ongoing motion of the chamber. Preferably, the sensor device can be arranged as centrally and/or centrally as possible in the region of the top wall and/or spaced as equidistantly as possible from all damper devices.
根据本发明的另一方面,为了尽可能快速地检测到驾驶室运动的发生,传感器装置和/或控制装置还可以确定加速度的时间变化,优选地确定在三个相互垂直的空间方向上具有加速度的时间变化分量的加速度变化矢量。换句话说,可以因此确定颠簸,即加速度的时间导数。与检测加速度的情况相比,这有利地使得能够更快且更可靠地识别突然发生的驾驶室运动。此外或替代地,传感器装置和/或控制装置还可以确定加速度,优选地确定在三个相互垂直的空间方向上具有加速度的时间变化分量的加速度变化矢量。According to another aspect of the invention, in order to detect the occurrence of movement of the cab as quickly as possible, the sensor device and/or the control device can also determine the temporal variation of the acceleration, preferably in three mutually perpendicular spatial directions with acceleration The time-varying component of the acceleration change vector. In other words, jerk, ie the time derivative of the acceleration, can thus be determined. This advantageously enables a quicker and more reliable recognition of sudden cab movements than would be the case with detection of acceleration. Additionally or alternatively, the sensor device and/or the control device can also determine the acceleration, preferably an acceleration vector with a time-varying component of the acceleration in three mutually perpendicular spatial directions.
根据本发明的另一方面,控制装置可以被设计为基于所确定的运动来确定承受从驾驶室到车架的拉伸负载的阻尼器装置,并调整它们的阻尼力以阻尼从驾驶室到车架的拉伸负载。此外或替代地,控制装置也可以被设计为基于所确定的运动来确定承受从驾驶室到车架的压缩负载的阻尼器装置,并调整它们的阻尼力以阻尼从驾驶室到车架的压缩负载。在此,通常可以将“调整”阻尼力理解为在相应的负载方向上增大阻尼力(即,调整紧张的阻尼)。然而,在其中每个阻尼器装置具有两个相反作用的阻尼器的上述示例性实施例中,“调整”阻尼力还可以包括阻尼器的阻尼力的减小(将在下面更详细地说明)。例如,在将第一阻尼器调节为对于拉伸是“硬的”时,可以将第二(旋转180°安装的)阻尼器调节为对于拉伸是“软的”,以便尽可能少地抵消第一阻尼器的主阻尼。有针对性地确定各个阻尼器装置上的压缩负载或拉伸负载的优点在于,由此可以对所确定的驾驶室运动尽可能最佳地做出响应,并从而可以快速且可靠地抑制驾驶室运动。According to another aspect of the invention, the control device may be designed to determine, based on the determined motion, which damper devices are bearing the tensile load from the cab to the frame, and to adjust their damping force to damp the load from the cab to the frame. rack tensile load. Additionally or alternatively, the control means may also be designed to determine, based on the determined motion, which damper means are bearing the compressive load from the cab to the frame, and to adjust their damping force to damp the compression from the cab to the frame load. Here, "adjustment" of the damping force can generally be understood as an increase of the damping force in the corresponding load direction (ie adjustment of tight damping). However, in the above exemplary embodiment where each damper arrangement has two oppositely acting dampers, "adjusting" the damping force may also include a reduction of the damping force of the dampers (described in more detail below) . For example, while tuning the first damper to be "hard" for stretching, the second (rotated 180° mounted) damper can be tuned to be "soft" for stretching, so as to counteract as little as possible Primary damping for the first damper. The specific determination of the compressive or tensile load on the individual damper arrangements has the advantage that the best possible response to the determined driver's cab movement is thus possible and thus a fast and reliable damping of the driver's cab is possible. sports.
根据本发明的另一方面,驾驶室悬架可以包括四个阻尼器装置,它们被布置成四边形的形式,其中,可以将其中两个阻尼器装置布置在车辆纵轴的左侧并将其中两个阻尼器装置布置在车辆纵轴的右侧。优选地,四个阻尼器装置被布置呈凸起的四边形的形式,例如矩形、正方形、梯形和/或菱形的形式。此外,控制装置可以被设计成在第一操作模式中调整一对阻尼器装置以用于阻尼压缩负载并且调整一对阻尼器装置以用于阻尼拉伸负载。换句话说,控制装置可以被设计为成对地、不同地调整阻尼器装置的阻尼力。因此优选地,不同阻尼器装置的阻尼力可以基本上同时地进行调整。此外,一对阻尼器装置可包括两个相邻的或两个对角线相对的阻尼器装置。由此,有利地实现了对不期望的驾驶室运动的简单且可靠地阻尼。According to another aspect of the invention, the cab suspension may comprise four damper arrangements arranged in the form of a quadrilateral, wherein two of the damper arrangements may be arranged to the left of the longitudinal axis of the vehicle and two of them The first damper unit is arranged on the right side of the longitudinal axis of the vehicle. Preferably, the four damper means are arranged in the form of a raised quadrilateral, for example in the form of a rectangle, a square, a trapezoid and/or a rhombus. Furthermore, the control means may be designed to adjust a pair of damper means for damping compressive loads and adjust a pair of damper means for damping tensile loads in the first mode of operation. In other words, the control device can be designed to adjust the damping force of the damper device differently in pairs. Preferably, therefore, the damping forces of the different damper arrangements can be adjusted substantially simultaneously. Furthermore, a pair of damper means may comprise two adjacent or two diagonally opposite damper means. This advantageously achieves simple and reliable damping of undesired cab movements.
根据本发明该方面的改进示例,可以根据由控制装置确定的驾驶室运动来选择阻尼器装置对。因此,可以选择位于车辆纵轴左侧或右侧的两个阻尼器装置来阻尼驾驶室的滚转运动,而可以选择在行进方向上位于前侧或后侧的两个阻尼器装置来阻尼驾驶室的俯仰运动。由此,可以有利地尽可能快速地抑制驾驶室的特别是俯仰和滚转运动。另外,特别是在俯仰和滚转的组合运动的情况下,通过将在对角线上相对的阻尼器装置配对而无需经由稳定器额外地耦接阻尼器装置,可以实现特别有利的驾驶室阻尼。According to a modified example of this aspect of the invention, the pair of damper arrangements may be selected depending on the cab movement determined by the control device. Thus, two damper arrangements located to the left or right of the vehicle's longitudinal axis can be selected to damp the rolling motion of the cab, while two damper arrangements to the front or rear in the direction of travel can be selected to damp the steering pitching motion of the chamber. As a result, in particular pitch and roll movements of the driver's cab can advantageously be damped as quickly as possible. Furthermore, especially in the case of combined pitch and roll movements, a particularly favorable cab damping can be achieved by pairing diagonally opposite damper arrangements without additional coupling of the damper arrangements via stabilizers .
根据本发明的另一方面,通过各个阻尼器装置能够施加和/或调节的最大阻尼力在拉伸负载和压缩负载下可以基本上相同。换句话说,在压缩阶段中的各个阻尼器装置的阻尼可以基本上被调节为回弹阶段中的阻尼,其中,在拉伸和压缩方向上的阻尼力走向可以完全不同。有利地,这能够确保可能同样好地阻尼从驾驶室到车架的拉伸负载和压缩负载,并由此能够尽可能最佳且快速地抑制不期望的驾驶室运动。According to another aspect of the invention, the maximum damping force that can be applied and/or adjusted by the respective damper arrangement may be substantially the same under tensile and compressive loads. In other words, the damping of the individual damper arrangements in the compression phase can essentially be adjusted to the damping in the rebound phase, wherein the course of the damping force in the tensile and compressive directions can be completely different. Advantageously, this ensures that tensile loads and compressive loads from the cab to the frame are damped equally well, and thus undesired cab movements can be damped as optimally and quickly as possible.
根据本发明的另一方面,可以预先调节阻尼器装置的阻尼力。换句话说,阻尼力可以在实际发生驾驶室运动之前就已经被调节,以优选地避免了预期的驾驶室运动。为此,该控制装置可以通过车辆内部(例如,通过相机系统)和/或车辆外部(例如,GPS数据)提供的有关道路、路面状态和/或商用车辆即将进行的驾驶操纵的信息且/或使用相应模型和/或模拟来确定预期的驾驶室运动。然后,基于所确定的预期的驾驶室运动,可以预先调节阻尼器装置的阻尼力。由于可以避免驾驶室相对于静止位置的强烈偏转,因此能够有利地减少调整需求。According to another aspect of the present invention, the damping force of the damper device can be adjusted in advance. In other words, the damping force may already be adjusted before cab motion actually occurs to preferably avoid anticipated cab motion. To this end, the control device may provide information about the road, the state of the road surface and/or the upcoming driving maneuver of the commercial vehicle and/or The expected cab motion is determined using appropriate models and/or simulations. Then, based on the determined expected cab movement, the damping force of the damper arrangement can be pre-adjusted. Since strong deflections of the driver's cab relative to the rest position can be avoided, the need for adjustment can advantageously be reduced.
此外,根据本发明,提供了一种用于调节商用车辆的驾驶室悬架的阻尼的方法。在此,驾驶室悬架包括至少四个被布置在商用车辆的驾驶室和车架之间的阻尼器装置,每个阻尼器装置可以在其阻尼力方面单独进行调节。此外,每个阻尼器装置被设计为阻尼从驾驶室到车架的拉伸负载和压缩负载二者。此外,在该方法的上下文中使用的驾驶室悬架也可以具有本文所述的驾驶室悬架的所有特征。也就是说,因此还应结合该方法公开并要求保护根据该装置所公开的驾驶室悬架的特征。Furthermore, according to the invention, a method for adjusting the damping of a cab suspension of a commercial vehicle is provided. In this case, the cab suspension comprises at least four damper arrangements arranged between the cab and the frame of the commercial vehicle, each damper arrangement being individually adjustable with regard to its damping force. Furthermore, each damper arrangement is designed to damp both tensile and compressive loads from the cab to the frame. Furthermore, the cab suspension used in the context of the method may also have all the features of the cab suspension described herein. That is to say that the features of the cab suspension disclosed according to the device are therefore also to be disclosed and claimed in connection with the method.
根据本发明,该方法包括以下步骤。确定哪些阻尼器装置承受从驾驶室到车架的拉伸负载以及哪些阻尼器装置承受从驾驶室到车架的压缩负载。例如,这可以基于优选为加速度传感器的传感器装置的数据来进行。该方法还包括调整承受从驾驶室到车架的拉伸负载的阻尼器装置的阻尼力,以阻尼从驾驶室到车架的拉伸负载,且/或调整承受从驾驶室到车架的压缩负载的阻尼器装置的阻尼力,以阻尼从驾驶室到车架的压缩负载。在这种情况下,术语“调整”可以包括阻尼器特性的变化,例如,对于拉伸负载,阻尼力的增大或减小,且/或对于压缩负载,阻尼力的增大或减小。调整也可以连续地或多级地进行。According to the invention, the method comprises the following steps. Determine which damper units bear the tensile load from the cab to the frame and which damper units bear the compressive load from the cab to the frame. For example, this can be done on the basis of data from a sensor device, preferably an acceleration sensor. The method also includes adjusting the damping force of the damper arrangement to withstand a tensile load from the cab to the frame to dampen a tensile load from the cab to the frame and/or adjust to withstand a compressive load from the cab to the frame The damping force of the load's damper device to damp compressive loads from the cab to the frame. In this case, the term "adjustment" may include a change in the characteristics of the damper, eg, an increase or decrease in damping force for tensile loads and/or an increase or decrease in damping force for compressive loads. The adjustment can also take place continuously or in multiple stages.
此外,根据本发明,还提供了具有如本文所述的驾驶室悬架的商用车辆。Furthermore, according to the invention there is also provided a commercial vehicle having a cab suspension as described herein.
附图说明Description of drawings
在此,本发明的上述方面和特征可以任意相互组合。下面将参考附图说明本发明的更多细节和优点。Here, the above-mentioned aspects and features of the invention can be combined with one another as desired. Further details and advantages of the invention will be explained below with reference to the accompanying drawings.
图1示出了根据本发明实施例的用于商用车辆的驾驶室悬架的高度示意性3D图。Figure 1 shows a highly schematic 3D view of a cab suspension for a commercial vehicle according to an embodiment of the invention.
图2示出了根据本发明的另一实施例的用于商用车辆的驾驶室悬架的侧视图。Fig. 2 shows a side view of a cab suspension for a commercial vehicle according to another embodiment of the present invention.
图3示出了用于商用车辆的驾驶室悬架的一部分的高度示意性3D图,其包括作用在驾驶室上的各种加速度。Figure 3 shows a highly schematic 3D diagram of a part of a cab suspension for a commercial vehicle including various accelerations acting on the cab.
图4示出了用于调节商用车辆的驾驶室悬架的阻尼的方法的流程图。FIG. 4 shows a flowchart of a method for adjusting the damping of a cab suspension of a commercial vehicle.
图5示出了根据本发明的实施例的商用车辆的示意图。Fig. 5 shows a schematic diagram of a commercial vehicle according to an embodiment of the invention.
具体实施方式Detailed ways
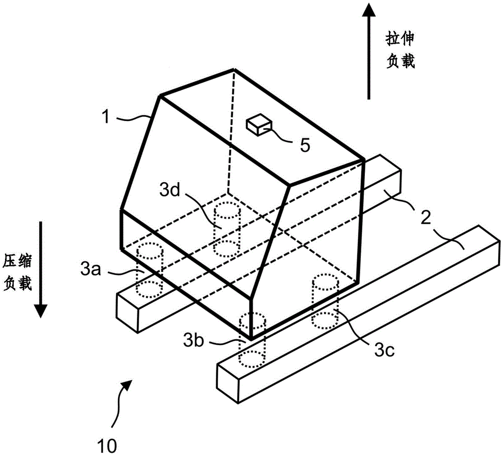
图1示出了根据本发明实施例的用于商用车辆20的驾驶室悬架10的高度示意性3D图。在此,驾驶室悬架10包括四个阻尼器装置3a、3b、3c、3d,它们在商用车辆20的驾驶室1与车架2之间被布置在靠近地面的驾驶室角部的区域中。阻尼器装置3a、3b、3c、3d是驾驶室1的四点支承(未详细示出)的一部分,在这种情况下,每个阻尼器装置可以单独地在其阻尼力方面离散地或连续地调节。优选地,包括液压阻尼器、液压气动阻尼器和/或气动阻尼器的阻尼器装置3a、3b、3c、3d还与弹性元件相互作用和/或被设计为具有弹性功能和阻尼功能的组合部件。在此特别有利地,四个阻尼器装置3a、3b、3c、3d分别是空气弹簧阻尼器模块的一部分,使得额外还能实现驾驶室1的水平调整,以便例如在商用车辆20的停车时处于驾驶室1的水平睡眠位置(Schlafposition)。Fig. 1 shows a highly schematic 3D view of a
根据本发明,每个阻尼器装置3a、3b、3c、3d被设计成阻尼从驾驶室1到车架2的拉伸负载和压缩负载二者。在此,相应的负载在阻尼器装置3a、3b、3c、3d上的基本作用方向分别在图1中由箭头示出。由于阻尼器装置3a、3b、3c、3d可以因此阻尼两种类型的负载,所以能够有利地实现对驾驶室1的不期望运动的尽可能快的阻尼。According to the invention, each
图2示出了根据本发明的另一实施例的用于商用车辆20的驾驶室悬架10的侧视图。在这种情况下,四个阻尼器装置3a、3b、3c、3d(其中仅阻尼器装置3b和3c在侧视图中可见)分别包括两个结构相同的阻尼器3a1、3a2、3b1、3b2、3c1、3c2、3d1、3d2,下文为了更好地区分将它们表示为第一阻尼器3a1、3b1、3c1、3d1和第二阻尼器3a2、3b2、3c2、3d2。在当前情况下,每个阻尼器装置3a、3b、3c、3d的两个阻尼器3a1、3a2、3b1、3b2、3c1、3c2、3d1、3d2彼此相反地(即,相对彼此旋转180°)安装在驾驶室1和车架2之间,这在图2中由两个箭头方向示出。此外,对每个阻尼器3a1、3a2、3b1、3b2、3c1、3c2、3d1、3d2进行优化,以阻尼局部作用在相应阻尼器3a1、3a2、3b1、3b2、3c1、3c2、3d1、3d2上的拉伸负载。在此,应将局部作用在相应阻尼器3a1、3a2、3b1、3b2、3c1、3c2、3d1、3d2上的负载与整体作用在整个阻尼器装置3a、3b、3c、3d上的负载区分开。因此,根据第一阻尼器3a1、3b1、3c1、3d1的安装位置,从驾驶室1到车架2的压缩负载可导致局部的压缩负载或拉伸负载。在本实施例中(在不与任何限制相关联的情况下),对于阻尼器装置3a、3b、3c、3d的相应第一阻尼器3a1、3b1、3c1、3d1,从驾驶室1到车架2的压缩负载应同样导致局部的压缩负载,而在从驾驶室1到车架2的压缩负载的情况下,相应的第二阻尼器装置3a2、3b2、3c2、3d2由于它们的相反安装而局部承受拉伸负载,即,在它们优选的操作方向上承受拉伸负载。尽管各个阻尼器在压缩方向和拉伸方向上或实质上仅在一个优选方向(在这种情况下为拉伸方向)上可能具有高度不对称的阻尼器特性,但通过相应地改变第一或第二阻尼器3a1、3a2、3b1、3b2、3c1、3c2、3d1、3d2的相应阻尼力,可因此在阻尼器3a1、3a2、3b1、3b2、3c1、3c2、3d1、3d2的相互作用中有效地阻尼阻尼器装置上的拉伸负载和压缩负载。FIG. 2 shows a side view of a
此外,驾驶室悬架10还包括控制装置4,该控制装置4被设计为基于传感器装置5的数据来确定驾驶室运动(例如,驾驶室1的滚转、俯仰、升高和/或下降运动),并调整阻尼器3a1、3a2、3b1、3b2、3c1、3c2、3d1、3d2的阻尼力以阻尼所确定的驾驶室运动。在当前情况下,传感器装置5是被布置在驾驶室1的顶壁区域中的加速度传感器,并且还可以确定在三个相互垂直的空间方向上具有加速度分量的加速度矢量。在此优选地,该三个空间方向沿着商用车辆的纵向轴线、横向轴线和垂直轴线定向。基于由传感器装置5确定的加速度矢量,控制装置4调整各个阻尼器3a1、3a2、3b1、3b2、3c1、3c2、3d1、3d2的阻尼力,其中,在第一步骤中首先确定阻尼器装置3a、3b、3c、3d中的哪些阻尼器装置受到从驾驶室1到车架2的拉伸负载以及哪些阻尼器装置受到从驾驶室1到车架2的压缩负载。如果在此确定例如阻尼器装置3b受到从驾驶室1到车架2的压缩负载(例如,在驾驶室1的俯仰运动过程中),则在本示例中,阻尼器装置3b的第一(被压缩地加载的)阻尼器3b1的阻尼力被调整为对于拉伸负载是软的,而阻尼器装置3b的第二(反相地安装并且被拉伸地加载的)阻尼器3b2的阻尼力被调节为对于拉伸负载是硬的。换句话说,在从驾驶室1到车架2的压缩负载的情况下,主要是第二阻尼器起阻尼作用,并且在从驾驶室1到车架2的拉伸负载的情况下,主要是第一阻尼器起阻尼作用。总的来说,两个阻尼器的这种相互作用实现了对作用在阻尼器装置3b上的例如压缩负载的最佳阻尼。Furthermore, the
虽然至此已经更详细地说明了相应的阻尼器装置3a、3b、3c、3d上的各个阻尼器3a1、3a2、3b1、3b2、3c1、3c2、3d1、3d2的阻尼力的调节,但在下文中参考图3还将更详细地考虑确定阻尼器装置3a、3b、3c、3d中的哪些受到从驾驶室1到车架2的拉伸负载以及哪些受到从驾驶室1到车架2的压缩负载。为此,图3以高度示意性的3D图示出了驾驶室悬架10的一部分,该驾驶室悬架具有在商用车辆20的驾驶室1和车架2之间被布置在靠近地面的驾驶室角部区域中的四个阻尼器装置3a、3b、3c、3d,每个阻尼器装置包括两个相反地(即,相对彼此旋转180°)安装在驾驶室1和车架2之间的结构相同的阻尼器3a1、3a2、3b1、3b2、3c1、3c2、3d1、3d2。此外,驾驶室悬架10包括控制装置4(未更详细地示出),该控制装置被设计为基于来自被布置在驾驶室1的顶壁区域中的加速度传感器5的数据来确定驾驶室1的滚转、俯仰、升高和/或下降运动,并相应地调整阻尼器装置3a、3b、3c、3d的阻尼力。Although the damping of the
为此,在当前情况下,图3以三个加速度矢量a1、a2、a3的形式示出了作用在驾驶室上的三个不同的加速度。在此,第一加速度矢量a1对应于驾驶室1相对于行进方向的横向加速度。由此引起的驾驶室1的运动将是滚转运动,其中,阻尼器装置3b和3c将承受压力,且两个阻尼器装置3a和3d将承受拉力。在当前情况下,这由控制装置4基于传感器装置5检测的加速度矢量以及阻尼器装置3a、3b、3c、3d相对于驾驶室重心的位置来确定。相应地,在第一加速度的情况下,控制装置4将控制在关于行进方向的左侧的一对阻尼器装置3b和3c而使它们“对于压缩是硬的”,并且控制在右侧的一对阻尼器3a和3d而使它们“对于拉伸是硬的”。也就是说,在压缩阶段,阻尼器装置3b和3c的阻尼力将增大,并且在回弹阶段,阻尼器装置3b和3c的阻尼力将增大。然而,如先前针对图2所述,各个阻尼器装置3a、3b、3c、3d的相应阻尼的调节可以内在地与第一和第二阻尼器3a2、3b1、3b2、3c1、3c2、3d1、3d2的压缩阶段和回弹阶段的改变有关。To this end, in the present case, FIG. 3 shows three different accelerations acting on the driver's cab in the form of three acceleration vectors a 1 , a 2 , a 3 . Here, the first acceleration vector a 1 corresponds to the lateral acceleration of the driver's
第二加速度矢量a2对应于关于行进方向向右前方定向的加速度,该加速度将导致驾驶室1的俯仰和滚转组合运动,其中,阻尼器装置3a将受到强烈的压缩,阻尼器装置3b将受到轻微的拉伸,阻尼器装置3c将受到强烈的拉伸,且阻尼器装置3d将受到轻微的压缩。为了相应地调节各个阻尼器装置3a、3b、3c、3d的阻尼力,控制装置4可以将由传感器装置5检测的加速度矢量a2沿商用车辆20的纵向、横向和竖直轴线分解成其各个分量,并与这些分量成比例地进行控制。因此,在当前情况下,将阻尼器装置3a控制成“对于压缩是硬的”,且将阻尼器装置3c可控制成“对于拉伸是硬的”,而阻尼器装置3b和3d被不太强烈地控制。因此,对于阻尼器装置3b,将在拉伸方向上产生平均阻尼力,并对于阻尼器装置3d,将在压缩方向上产生平均阻尼力。The second acceleration vector a2 corresponds to an acceleration oriented forward to the right with respect to the direction of travel, which acceleration will result in a combined pitch and roll motion of the
第三加速度矢量a3对应于向上定向的加速度,该加速度例如在驶过颠簸的过程中产生,并导致驾驶室1的升高运动。在该情况下,所有四个阻尼器装置3a、3b、3c、3d都均匀地承受拉伸,因此控制装置4在回弹阶段增大所有四个阻尼器装置3a、3b、3c、3d的阻尼力。总体上,通过针对性地确定各个阻尼器装置3a、3b、3c、3d的压缩或拉伸负载,可以因此对不期望的驾驶室运动尽可能最佳地做出反应,并从而快速且可靠地抑制驾驶室运动。The third acceleration vector a 3 corresponds to an upwardly directed acceleration which occurs, for example, while driving over a bump and leads to a raising movement of the driver's
图4示出了用于调节商用车辆20的驾驶室悬架10的阻尼的方法的流程图。在此,驾驶室悬架10包括至少四个被布置在商用车辆20的驾驶室1与车架2之间的阻尼器装置3a、3b、3c、3d,每个阻尼器装置在其阻尼力方面可以单独地调节。另外,每个阻尼器装置3a、3b、3c、3d被设计为阻尼从驾驶室1到车架2的拉伸负载和压缩负载二者。在这种情况下,可以将拉伸负载理解为是指驾驶室作用在车架上的实质上逆着重力方向的力,而可以将压缩负载理解为指驾驶室作用在车架上的实质上沿着重力方向的力。FIG. 4 shows a flowchart of a method for adjusting the damping of a
在步骤S1中,首先确定阻尼器装置3a、3b、3c、3d中的哪些阻尼器装置承受从驾驶室1到车架2的拉伸负载以及哪些阻尼器装置承受从驾驶室1到车架2的压缩负载。如上面针对图3所述,这可以例如基于传感器装置5(优选,加速度传感器)的数据来进行。在步骤S2中,调整承受从驾驶室1到车架2的拉伸负载的阻尼器装置3a、3b、3c、3d的阻尼力,以阻尼从驾驶室1到车架2的拉伸负载。为此例如可以打开和/或关闭阻尼器装置3a、3b、3c、3d内的开关阀和/或比例阀。或者,在具有电流变和/或磁流变流体的阻尼器装置3a、3b、3c、3d的情况下,在阻尼器装置3a、3b、3c、3d内产生和/或减小电磁场。在此,调整可以连续地或多级地进行。然后,在步骤S3中,调整承受从驾驶室1到车架2的压缩负载的阻尼器装置3a、3b、3c、3d的阻尼力,以阻尼从驾驶室1到车架2的压缩负载。在此,可以如步骤S2所述,再次通过打开和/或关闭阀或通过在阻尼器装置3a、3b、3c、3d内产生和/或减小电场来进行调节。此外,调节阻尼力可以包括增大或减小安装在阻尼器装置3a、3b、3c、3d中的阻尼器的阻尼力。In step S1, it is first determined which of the
图5示出了根据本发明实施例的商用车辆20的示意图。在当前情况下,商用车辆20是具有如上所述的驾驶室悬架10的载重汽车。FIG. 5 shows a schematic diagram of a
尽管已经参考特定的示例性实施例说明了本发明,但对于本领域技术人员而言显而易见的是,在不脱离本发明范围的情况下,可以进行各种改变并可以将等价物用作替代。因此,本发明应不旨在限于所公开的示例性实施例,而是应包括落入所附权利要求的范围内的所有示例性实施例。特别地,本发明还要求保护与所引用的权利要求无关的从属权利要求的主题和特征。While the invention has been described with reference to specific exemplary embodiments, it will be apparent to those skilled in the art that various changes may be made and equivalents may be substituted without departing from the scope of the invention. Therefore, it is intended that the invention not be limited to the disclosed exemplary embodiments, but that it will include all exemplary embodiments falling within the scope of the appended claims. In particular, the invention also claims subject-matter and features of the dependent claims which are not relevant to the cited claim.
附图标记列表List of reference signs
1驾驶室1 cab
2车架2 frame
3a~3d阻尼器装置3a~3d damper device
3a1~3d1第一阻尼器3a 1 ~ 3d 1 first damper
3a2~3d2第二阻尼器3a 2 ~3d 2 second damper
4控制装置4 control device
5传感器装置5 sensor device
10驾驶室悬架10 cab suspension
20商用车辆20 commercial vehicles
a1第一加速度矢量a 1 first acceleration vector
a2第二加速度矢量a 2 second acceleration vector
a3第三加速度矢量a 3 The third acceleration vector
Claims (17)
Applications Claiming Priority (3)
| Application Number | Priority Date | Filing Date | Title |
|---|---|---|---|
| DE102018119913.9 | 2018-08-16 | ||
| DE102018119913.9A DE102018119913A1 (en) | 2018-08-16 | 2018-08-16 | Cab mounting for a commercial vehicle, commercial vehicle and method for adjusting a damping of a cab mounting |
| PCT/EP2019/071642 WO2020035469A1 (en) | 2018-08-16 | 2019-08-13 | Driver's cab mounting for a commercial vehicle, commercial vehicle and method for adjusting the damping of a driver's cab mounting |
Publications (2)
| Publication Number | Publication Date |
|---|---|
| CN112566838A CN112566838A (en) | 2021-03-26 |
| CN112566838B true CN112566838B (en) | 2023-07-14 |
Family
ID=67659869
Family Applications (1)
| Application Number | Title | Priority Date | Filing Date |
|---|---|---|---|
| CN201980052769.9A Active CN112566838B (en) | 2018-08-16 | 2019-08-13 | Cab suspension of a commercial vehicle, commercial vehicle and method of adjusting damping of a cab suspension |
Country Status (4)
| Country | Link |
|---|---|
| EP (1) | EP3837154B1 (en) |
| CN (1) | CN112566838B (en) |
| DE (1) | DE102018119913A1 (en) |
| WO (1) | WO2020035469A1 (en) |
Families Citing this family (4)
| Publication number | Priority date | Publication date | Assignee | Title |
|---|---|---|---|---|
| GB2597457B (en) * | 2020-07-21 | 2023-02-01 | Jaguar Land Rover Ltd | Vehicle active suspension control system and method |
| CN113525535B (en) * | 2021-08-10 | 2023-01-06 | 东风柳州汽车有限公司 | Cab semi-active suspension control method and device based on fuzzy control |
| CN115476939A (en) * | 2022-10-18 | 2022-12-16 | 潍柴雷沃智慧农业科技股份有限公司 | Cab horizontal control method and device |
| DE102024119849A1 (en) * | 2024-07-12 | 2026-01-15 | Daimler Truck AG | Commercial vehicle with a damping arrangement |
Family Cites Families (20)
| Publication number | Priority date | Publication date | Assignee | Title |
|---|---|---|---|---|
| DE2445941A1 (en) * | 1974-09-26 | 1976-04-22 | Daimler Benz Ag | Connecting linkage for motor vehicles - has circular components with elastic insert for cars with independent body shell mounting |
| DE2806247C2 (en) * | 1978-02-15 | 1983-03-17 | Daimler-Benz Ag, 7000 Stuttgart | Air suspension system for cabs of commercial vehicles |
| US5641153A (en) * | 1995-12-06 | 1997-06-24 | Lord Corporation | Auxiliary damper for rubber suspension mountings |
| JPH09202271A (en) * | 1996-01-29 | 1997-08-05 | Unisia Jecs Corp | Cab suspension control device |
| JPH1191622A (en) * | 1997-09-18 | 1999-04-06 | Unisia Jecs Corp | Cab suspension control device |
| WO2005063514A1 (en) * | 2003-12-20 | 2005-07-14 | Daimlerchrysler Ag | System and method for the anti-roll stabilisation of a motor vehicle, in particular of buses, transporters, off-road vehicles or similar |
| DE102004016910B4 (en) * | 2004-04-06 | 2019-05-23 | Man Truck & Bus Ag | Suspension for a cab of a commercial vehicle and method for its control |
| US7240754B2 (en) * | 2004-06-14 | 2007-07-10 | Delphi Technologies, Inc. | Truck cab suspension control |
| DE102004057679A1 (en) * | 2004-11-29 | 2006-06-08 | Renault Agriculture | Cabin storage |
| DE102005012673B4 (en) | 2005-03-18 | 2015-11-05 | Man Truck & Bus Ag | Arrangement and method for level control of a vehicle body |
| US9528567B2 (en) * | 2005-04-06 | 2016-12-27 | Zero Shock Seating, Llc | Method and apparatus for an adaptive suspension support system |
| WO2008133720A1 (en) * | 2007-05-01 | 2008-11-06 | Lord Corporation | Controllable vehicle suspension system with magneto-rheological fluid device |
| DE102007048194B4 (en) * | 2007-10-08 | 2014-05-15 | Grammer Aktiengesellschaft | Vehicle with sprung vehicle seat and suspension vehicle cab and suspension method |
| DE102011076043A1 (en) * | 2011-05-18 | 2012-11-22 | Ford Global Technologies, Llc | Control system for a motor vehicle with a box body and motor vehicle |
| CN103587445A (en) * | 2013-11-01 | 2014-02-19 | 安徽工贸职业技术学院 | Damping device of automobile seat |
| DE102014010577A1 (en) * | 2014-07-16 | 2014-12-18 | Daimler Ag | Storage arrangement of a structure on a frame of a commercial vehicle |
| CN105351435A (en) * | 2015-12-14 | 2016-02-24 | 无锡亨宇减震器科技有限公司 | Multi-spring motorcycle vibration reducer |
| DE102016009081A1 (en) * | 2016-07-26 | 2018-02-01 | Man Truck & Bus Ag | Method and device for controlling or regulating a cab storage |
| DE102016013703A1 (en) * | 2016-11-17 | 2018-05-17 | Man Truck & Bus Ag | Method and device for controlling or regulating a cab mounting of a motor vehicle |
| EP3339067B1 (en) * | 2016-12-23 | 2022-01-26 | Link MFG., Ltd. | Commercial vehicle with a cab and a cab suspension |
-
2018
- 2018-08-16 DE DE102018119913.9A patent/DE102018119913A1/en not_active Withdrawn
-
2019
- 2019-08-13 CN CN201980052769.9A patent/CN112566838B/en active Active
- 2019-08-13 WO PCT/EP2019/071642 patent/WO2020035469A1/en not_active Ceased
- 2019-08-13 EP EP19753346.6A patent/EP3837154B1/en active Active
Also Published As
| Publication number | Publication date |
|---|---|
| EP3837154A1 (en) | 2021-06-23 |
| CN112566838A (en) | 2021-03-26 |
| BR112020025419A2 (en) | 2021-03-16 |
| EP3837154B1 (en) | 2022-11-09 |
| DE102018119913A1 (en) | 2020-02-20 |
| WO2020035469A1 (en) | 2020-02-20 |
Similar Documents
| Publication | Publication Date | Title |
|---|---|---|
| CN112566838B (en) | Cab suspension of a commercial vehicle, commercial vehicle and method of adjusting damping of a cab suspension | |
| US9370982B2 (en) | Method and apparatus for suspension damping including negative stiffness | |
| US7751959B2 (en) | Semi-active suspension system with anti-roll for a vehicle | |
| EP2285646B1 (en) | Cab suspensions | |
| US7360776B2 (en) | Method and apparatus for rebound control | |
| KR101640622B1 (en) | Suspension device having anti-roll compensation | |
| US9365089B2 (en) | Method and apparatus for active suspension damping including negative stiffness | |
| JP2007508185A (en) | Vehicle suspension control device | |
| BR102017015965A2 (en) | METHOD AND DEVICE FOR ADJUSTABLE DAMPING FORCE ADJUSTABLE OF A DRIVER CAB ASSEMBLY | |
| US20050017462A1 (en) | Suspension system | |
| KR101001267B1 (en) | Air suspension and electronically controlled suspension device | |
| JP3379024B2 (en) | Suspension control device | |
| CN210554842U (en) | Maglev Vehicle Control System | |
| EP2247491B1 (en) | Cab suspension arrangement and cab suspension | |
| KR101640680B1 (en) | Damper device of suspension system assistance apparatus for vehicle and suspension system apparatus for vehicle including the same | |
| Hubert et al. | Anti-roll stability suspension technology | |
| CN114801631A (en) | Comfort control method for active stabilizer bar system | |
| US20250360970A1 (en) | Cab Mounting System And Method For Controlling The Cab Mounting System | |
| BR112020025419B1 (en) | Driver's cab suspension, method for its damping and utility vehicle. | |
| Gaikwad et al. | Overview of active suspension system | |
| JPH07215034A (en) | Vehicle suspension device | |
| JPH07117711A (en) | Elastic supporter of cab | |
| Xu et al. | Tyre load analysis of hydro-pneumatic interconnected suspension with zero warp suspension stiffness | |
| KR20100056705A (en) | Shock absorber for suspension system | |
| KR20060016411A (en) | Suspension of vehicle |
Legal Events
| Date | Code | Title | Description |
|---|---|---|---|
| PB01 | Publication | ||
| PB01 | Publication | ||
| SE01 | Entry into force of request for substantive examination | ||
| SE01 | Entry into force of request for substantive examination | ||
| GR01 | Patent grant | ||
| GR01 | Patent grant |
