CN112538635A - Automatic surface rust removal device for electronic components capable of removing dust quickly - Google Patents
Automatic surface rust removal device for electronic components capable of removing dust quickly Download PDFInfo
- Publication number
- CN112538635A CN112538635A CN202011337926.1A CN202011337926A CN112538635A CN 112538635 A CN112538635 A CN 112538635A CN 202011337926 A CN202011337926 A CN 202011337926A CN 112538635 A CN112538635 A CN 112538635A
- Authority
- CN
- China
- Prior art keywords
- box
- water tank
- box body
- center
- branch pipe
- Prior art date
- Legal status (The legal status is an assumption and is not a legal conclusion. Google has not performed a legal analysis and makes no representation as to the accuracy of the status listed.)
- Pending
Links
- JEIPFZHSYJVQDO-UHFFFAOYSA-N iron(III) oxide Inorganic materials O=[Fe]O[Fe]=O JEIPFZHSYJVQDO-UHFFFAOYSA-N 0.000 title claims abstract description 40
- 239000000428 dust Substances 0.000 title claims abstract description 24
- XLYOFNOQVPJJNP-UHFFFAOYSA-N water Substances O XLYOFNOQVPJJNP-UHFFFAOYSA-N 0.000 claims abstract description 64
- 239000000463 material Substances 0.000 claims abstract description 36
- 238000003466 welding Methods 0.000 claims abstract description 13
- 238000007789 sealing Methods 0.000 claims abstract description 6
- 238000004140 cleaning Methods 0.000 claims description 13
- 238000012546 transfer Methods 0.000 claims description 8
- 238000009434 installation Methods 0.000 claims description 5
- 229920000572 Nylon 6/12 Polymers 0.000 claims description 4
- 238000013016 damping Methods 0.000 claims description 4
- 239000007788 liquid Substances 0.000 claims description 4
- 239000005341 toughened glass Substances 0.000 claims description 3
- 238000012423 maintenance Methods 0.000 abstract description 3
- 239000002994 raw material Substances 0.000 description 11
- 239000007921 spray Substances 0.000 description 9
- 230000005540 biological transmission Effects 0.000 description 7
- 238000000034 method Methods 0.000 description 4
- 230000035939 shock Effects 0.000 description 4
- 239000003990 capacitor Substances 0.000 description 2
- 239000012535 impurity Substances 0.000 description 2
- 239000000853 adhesive Substances 0.000 description 1
- 230000001070 adhesive effect Effects 0.000 description 1
- 230000009286 beneficial effect Effects 0.000 description 1
- 239000000919 ceramic Substances 0.000 description 1
- 239000013078 crystal Substances 0.000 description 1
- 238000005485 electric heating Methods 0.000 description 1
- 238000007689 inspection Methods 0.000 description 1
- 239000000696 magnetic material Substances 0.000 description 1
- 238000012545 processing Methods 0.000 description 1
- 238000012797 qualification Methods 0.000 description 1
- 239000010453 quartz Substances 0.000 description 1
- 239000004065 semiconductor Substances 0.000 description 1
- 239000010865 sewage Substances 0.000 description 1
- VYPSYNLAJGMNEJ-UHFFFAOYSA-N silicon dioxide Inorganic materials O=[Si]=O VYPSYNLAJGMNEJ-UHFFFAOYSA-N 0.000 description 1
- 239000000126 substance Substances 0.000 description 1
- 239000000758 substrate Substances 0.000 description 1
- 239000002351 wastewater Substances 0.000 description 1
Images
Classifications
-
- C—CHEMISTRY; METALLURGY
- C23—COATING METALLIC MATERIAL; COATING MATERIAL WITH METALLIC MATERIAL; CHEMICAL SURFACE TREATMENT; DIFFUSION TREATMENT OF METALLIC MATERIAL; COATING BY VACUUM EVAPORATION, BY SPUTTERING, BY ION IMPLANTATION OR BY CHEMICAL VAPOUR DEPOSITION, IN GENERAL; INHIBITING CORROSION OF METALLIC MATERIAL OR INCRUSTATION IN GENERAL
- C23G—CLEANING OR DE-GREASING OF METALLIC MATERIAL BY CHEMICAL METHODS OTHER THAN ELECTROLYSIS
- C23G3/00—Apparatus for cleaning or pickling metallic material
-
- B—PERFORMING OPERATIONS; TRANSPORTING
- B01—PHYSICAL OR CHEMICAL PROCESSES OR APPARATUS IN GENERAL
- B01D—SEPARATION
- B01D29/00—Filters with filtering elements stationary during filtration, e.g. pressure or suction filters, not covered by groups B01D24/00 - B01D27/00; Filtering elements therefor
- B01D29/01—Filters with filtering elements stationary during filtration, e.g. pressure or suction filters, not covered by groups B01D24/00 - B01D27/00; Filtering elements therefor with flat filtering elements
- B01D29/03—Filters with filtering elements stationary during filtration, e.g. pressure or suction filters, not covered by groups B01D24/00 - B01D27/00; Filtering elements therefor with flat filtering elements self-supporting
-
- B—PERFORMING OPERATIONS; TRANSPORTING
- B08—CLEANING
- B08B—CLEANING IN GENERAL; PREVENTION OF FOULING IN GENERAL
- B08B1/00—Cleaning by methods involving the use of tools
- B08B1/10—Cleaning by methods involving the use of tools characterised by the type of cleaning tool
- B08B1/12—Brushes
-
- B—PERFORMING OPERATIONS; TRANSPORTING
- B08—CLEANING
- B08B—CLEANING IN GENERAL; PREVENTION OF FOULING IN GENERAL
- B08B1/00—Cleaning by methods involving the use of tools
- B08B1/30—Cleaning by methods involving the use of tools by movement of cleaning members over a surface
- B08B1/32—Cleaning by methods involving the use of tools by movement of cleaning members over a surface using rotary cleaning members
Landscapes
- Chemical & Material Sciences (AREA)
- Chemical Kinetics & Catalysis (AREA)
- General Chemical & Material Sciences (AREA)
- Engineering & Computer Science (AREA)
- Materials Engineering (AREA)
- Mechanical Engineering (AREA)
- Metallurgy (AREA)
- Organic Chemistry (AREA)
- Cleaning By Liquid Or Steam (AREA)
Abstract
The invention discloses a quick dust removal automatic surface rust removing device for electronic components, which comprises a box body, wherein a water tank is arranged below the left side of the back of the box body through screws, a material box is arranged on the right side of the water tank, the material box is fixed on the box body through screws, the right side of the top center of the water tank and the left side of the top center of the material box are respectively communicated with a feeding pipe through welding, the top of each feeding pipe is provided with a sealing cover through threads, the center of the top of the material box is provided with a branch pipe a, the center of the top of the water tank is provided with a branch pipe b, one end of each branch pipe a and one end of each branch pipe b are respectively communicated with the material box and the water tank through welding, a main pipe is arranged behind; the automatic surface derusting device for the electronic components and parts capable of rapidly removing dust has the advantages of automatic derusting, high derusting efficiency, timing derusting, convenience in moving and convenience in maintenance.
Description
Technical Field
The invention relates to the technical field of electronic component rust removal, in particular to a rapid dust removal automatic surface rust removal device for electronic components.
Background
The electronic components are components of electronic elements and small machines and instruments, are usually composed of a plurality of parts and can be commonly used in similar products; the electronic component is a general name of electronic devices such as capacitors, transistors, hairsprings, spiral springs and the like; commonly, there are diodes, etc.;
the electronic component includes: the quality of electronic components such as resistors, capacitors, inductors, potentiometers, electron tubes, radiators, electromechanical elements, connectors, semiconductor discrete devices, electroacoustic devices, laser devices, electronic display devices, photoelectric devices, sensors, power supplies, switches, micro-special motors, electronic transformers, relays, printed circuit boards, integrated circuits, various circuits, piezoelectricity, crystals, quartz, ceramic magnetic materials, base material substrates for printed circuits, electronic functional process special materials, electronic adhesive (tape) products, electronic chemical materials and parts and the like is internationally certified by CE certification of European Union, UL certification of America, VDE and TUV of Germany, CQC certification of China and the like to ensure the qualification of the components, but the existing electronic component rust removal device has no advantages of automatic rust removal, high rust removal efficiency, timed rust removal, convenience in movement and convenience in maintenance.
Disclosure of Invention
The invention aims to provide a rapid dust removal automatic surface rust removal device for electronic components, which has the advantages of automatic rust removal, high rust removal efficiency, timed rust removal, convenience in movement and maintenance and solves the problems in the prior art.
In order to achieve the purpose, the invention provides the following technical scheme: a quick dust removal automatic surface rust removal device for electronic components comprises a box body, wherein a water tank is mounted below the rear left side of the box body through screws, a material box is arranged on the right side of the water tank and fixed on the box body through screws, a feeding pipe is communicated with the right side of the top center of the water tank and the left side of the top center of the material box through welding, a sealing cover is mounted at the top of the feeding pipe through threads, a branch pipe a is arranged at the center of the top of the material box, a branch pipe b is arranged at the center of the top of the water tank, one end of each of the branch pipe a and the branch pipe b is respectively communicated with the material box and the water tank through welding, a main pipe is arranged behind the rear center of the box body, the other end of each of the branch pipe a and the branch pipe b is communicated with one end of the main pipe, electromagnetic valves are arranged above the centers of the top of the water tank and the top of the material box, the electromagnetic valves are respectively communicated with the branch pipe a and the branch pipe b through sleeving, damping universal wheels are mounted on four sides of the bottom of the box body through screws, and the center of the bottom of the box body is communicated with a drain pipe through welding; the improved multifunctional electric heating box is characterized in that a protection box is mounted above the left surface of the box body through screws, a controller is mounted at the rear of the inner wall of the protection box through screws, a button is arranged in the front of the controller, the button is mounted in the protection box through screws, a motor is mounted at the center of the right surface of the box body through screws, a box door is mounted at the right side of the upper front surface of the box body through a hinge, the left side of the box door is connected with the box body through a bolt, a handle is mounted at the left side of the front surface of the box door through screws, an observation window is mounted at the center of the front surface of the box door through embedding, a spray head is arranged above the center inside of the box body, the spray head is communicated with a main pipe through threads, a transmission rod is, the clean components and parts below is equipped with the filter, the filter passes through the mounting screw inside the box.
Preferably, the other ends of the branch pipe a and the branch pipe b respectively penetrate through the tops of the material box and the water box and extend to the positions above the bottoms of the inner walls of the material box and the water box.
Preferably, the filling material in the water tank is clear water, and the filling material in the work bin is rust removing liquid.
Preferably, the motor rotating shaft penetrates through the box body and is embedded in the box body.
Preferably, the material used for the observation window is toughened glass.
Preferably, the material used for the brush is nylon 612.
Preferably, the types of the electromagnetic valves are as follows: Z41W-169304, the water pump model is as follows: ISG50-160, the motor model is: 192ZDC, the controller model is: ESX-3 CM.
Preferably, the button is connected with a power supply through a cable, the button is connected with a controller through a cable, and the controller is connected with an electromagnetic valve, a water pump and a motor through a cable.
Compared with the prior art, the invention has the following beneficial effects:
1. this automatic rust cleaning device in surface for electronic components that removes dust fast adopts the box to fix, make things convenient for fixed mounting workbin and water tank, adopt workbin and water tank to store, conveniently store the raw materials, adopt the filling tube to feed in raw material, conveniently add the raw materials to water tank and workbin inside, adopt sealed lid to seal, conveniently seal water tank and workbin, adopt branch pipe an and branch pipe b and be responsible for to carry, conveniently carry the box with the inside raw materials of workbin and water tank in, adopt the water pump to provide power, conveniently pump the raw materials to the box inside, adopt the solenoid valve to control, conveniently control branch pipe an and branch pipe b and open and shut, adopt the shock attenuation universal wheel to remove, make things convenient for the box to remove and add man-hour and carry out the shock attenuation, adopt the drain pipe to carry out the drainage.
2. This automatic rust cleaning device in surface for electronic components that removes dust fast adopts the protection box to protect, prevent that the controller from damaging, adopt the controller to control, make things convenient for the control device part work, adopt the button to control, make things convenient for the control device switch, adopt the motor to provide power, conveniently drive the transfer line and rotate, adopt chamber door and handle to control, conveniently control the box and open and shut and conveniently overhaul the box inside, adopt the observation window to observe, conveniently observe the rust cleaning process, adopt the shower nozzle to spray, conveniently rust cleaning to clean components and parts, adopt transfer line and brush to transmit, conveniently clean components and parts, the brush adopts nylon 612 to clean, prevent to damage components and parts, adopt the filter to filter, conveniently filter clean impurity.
Drawings
FIG. 1 is a schematic view of the overall structure of an automatic surface rust removal device for electronic components with rapid dust removal of the present invention;
FIG. 2 is a rear view of an automatic surface rust removal device for electronic components for rapid dust removal according to the present invention;
FIG. 3 is a cross-sectional view of an automatic surface rust removal device for electronic components for rapid dust removal according to the present invention;
fig. 4 is a partial sectional view of a branch pipe of an automatic surface rust removing apparatus for electronic components for rapid dust removal according to the present invention.
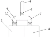
The figures are labeled as follows: 1. a box body; 2. a water tank; 3. a material box; 4. a feed tube; 5. a sealing cover; 6. a branch pipe a; 7. a branch pipe b; 8. a main pipe; 9. a water pump; 10. an electromagnetic valve; 11. a shock-absorbing universal wheel; 12. a drain pipe; 13. a protection box; 14. a controller; 15. a button; 16. a motor; 17. a box door; 18. a handle; 19. an observation window; 20. a spray head; 21. a transmission rod; 22. a brush; 23. cleaning the components; 24. a filter plate.
Detailed Description
The technical solutions in the embodiments of the present invention will be clearly and completely described below with reference to the drawings in the embodiments of the present invention, and it is obvious that the described embodiments are only a part of the embodiments of the present invention, and not all embodiments, and all other embodiments obtained by a person of ordinary skill in the art without creative efforts based on the embodiments of the present invention belong to the protection scope of the present invention.
In the description of the present invention, it is to be understood that the terms "upper", "lower", "front", "rear", "left", "right", "top", "bottom", "inner", "outer", and the like, indicate orientations or positional relationships based on the orientations or positional relationships shown in the drawings, are merely for convenience in describing the present invention and simplifying the description, and do not indicate or imply that the device or element being referred to must have a particular orientation, be constructed and operated in a particular orientation, and thus, should not be construed as limiting the present invention.
Example 1:
referring to fig. 1, 2, 3 and 4, a surface automatic rust removing device for electronic components with rapid dust removal comprises a box body 1, a water tank 2 is mounted below the left side of the back of the box body 1 through screws, a material tank 3 is arranged on the right side of the water tank 2, the filling material in the water tank 2 is clear water, the filling material in the material tank 3 is rust removing liquid, the material tank 3 is fixed on the box body 1 through screws, the right side of the top center of the water tank 2 and the left side of the top center of the material tank 3 are both communicated with a feed pipe 4 through welding, a sealing cover 5 is mounted on the top of the feed pipe 4 through screws, a branch pipe a6 is arranged at the top center of the top of the material tank 3, a branch pipe b 2 is arranged at the top center of the water tank 2, one ends of a branch pipe 6 and a branch pipe b7 are both communicated with the material tank 3 and the water tank 2 through welding, the central rear in box 1 back is equipped with and is responsible for 8, and branch pipe a6 and the branch pipe b7 other end all communicate with 8 one end in being responsible for through the screw thread, and box 1 back central rear is equipped with water pump 9, and the water pump 9 model is: ISG50-160, water pump 9 is through the screw thread with be responsible for 8 intercommunications, is responsible for 8 other ends and all is equipped with solenoid valve 10 through welding and the inside intercommunication of box 1 above water tank 2 and workbin 3 top center, and the 10 models of solenoid valve are: Z41W-169304, the electromagnetic valves 10 are respectively communicated with a branch pipe a6 and a branch pipe b7 through sleeving, four sides of the bottom of the box body 1 are respectively provided with a damping universal wheel 11 through screws, and the center of the bottom of the box body 1 is communicated with a drain pipe 12 through welding;
it is specific, adopt box 1 to fix, make things convenient for fixed mounting workbin 3 and water tank 2, adopt workbin 3 and water tank 2 to store, conveniently store the raw materials, adopt filling tube 4 to feed in raw materials, conveniently add the raw materials to water tank 2 and workbin 3 inside, adopt sealed lid 5 to seal, conveniently seal water tank 2 and workbin 3, adopt branch pipe a6 and branch pipe b7 and be responsible for 8 and carry, conveniently carry the box 1 with workbin 3 and 2 inside raw materials of water tank, adopt water pump 9 to provide power, conveniently pump the raw materials to box 1 inside, adopt solenoid valve 10 to control, conveniently control branch pipe a6 and branch pipe b7 and open and shut, adopt shock attenuation universal wheel 11 to remove, make things convenient for box 1 to remove and add the shock attenuation man-hour, adopt drain pipe 12 to drain, conveniently discharge box 1 sewage. Example 2:
referring to fig. 1, 2, 3 and 4, the automatic surface rust removing device for the electronic component capable of removing dust rapidly comprises a box body 1, a protection box 13 is installed above the left surface of the box body 1 through screws, a controller 14 is installed behind the inner wall of the protection box 13 through screws, and the type of the controller 14 is as follows: ESX-3CM, 14 the place ahead of controller are equipped with button 15, and button 15 passes through the screw installation in protection box 13, and there is motor 16 at the center of 1 right sides of box through the screw installation, and the 16 models of motor are: 192ZDC, a rotating shaft of a motor 16 penetrates through a box body 1 and is embedded in the box body 1, a box door 17 is installed on the right side above the front of the box body 1 through a hinge, the left side of the box door 17 is connected with the box body 1 through a bolt, a handle 18 is installed on the left side of the front of the box door 17 through a bolt, an observation window 19 is installed in the front center of the box door 17 through an embedding way, the observation window 19 is made of toughened glass, a spray head 20 is arranged above the center of the interior of the box body 1, the spray head 20 is communicated with a main pipe 8 through a thread, a transmission rod 21 is arranged below the spray head 20, the transmission rod 21 is installed on the rotating shaft of the motor 16 through a sleeving way, brushes 22 are installed on the surface of the transmission rod 21 through an embedding way, the brushes 22 are made, the button 15 is connected with a power supply through a cable, the button 15 is connected with the controller 14 through a cable, and the controller 14 is connected with the electromagnetic valve 10, the water pump 9 and the motor 16 through cables;
it is specific, adopt protection box 13 to protect, prevent that controller 14 from damaging, adopt controller 14 to control, make things convenient for controlling means part work, adopt button 15 to control, make things convenient for controlling means switch, adopt motor 16 to provide power, conveniently drive transfer line 21 and rotate, adopt chamber door 17 and handle 18 to control, conveniently control box 1 and open and shut and conveniently overhaul 1 inside box, adopt observation window 19 to observe, conveniently observe the rust cleaning process, adopt shower nozzle 20 to spray, conveniently rust cleaning 23 to clean components and parts, adopt transfer line 21 and brush 22 to transmit, conveniently clean components and parts 23, brush 22 adopts nylon 612 to clean, prevent to damage components and parts, adopt filter 24 to filter, conveniently filter clean impurity.
The working principle is as follows: the invention relates to a quick dust removal automatic surface rust removing device for electronic components, a box body 1 is moved to a working area through a damping universal wheel 11, at the moment, the fixation is finished, time data and the rotating speed of a motor 16 are set in a controller 14, a sealing cover 5 is opened, raw materials are conveniently added into a water tank 2 and a material box 3 through a feeding pipe 4, the box body 1 is opened by pulling a box door 17 through a handle 18, a cleaning component 23 is fixed below a transmission rod 21, the box door 17 is closed, a button 15 is opened, the button 15 is connected with a power supply through a cable, the button 15 is connected with the controller 14 through the cable, the controller 14 is connected with an electromagnetic valve 10, a water pump 9 and the motor 16 through cables, the interior of the device is electrified, the motor 16 works to drive a brush 22 through the transmission rod 21 to clean the surface of the cleaning component 23, the controller 14 controls the electromagnetic valve 10 in a branch pipe a6 to be opened, the controller 14 controls the water pump 9 20, the brush 22 adds a rust removing liquid to remove rust on the cleaning component 23, when the time set by the controller 14 is reached, the controller 14 controls the electromagnetic valve 10 in the branch pipe a6 to be closed, the electromagnetic valve 10 in the branch pipe b7 is controlled to be opened, then the water pump 9 pumps clean water in the water tank 2 to the interior of the box body 1 through the branch pipe b7 and the main pipe 8 to be sprayed out from the spray head 20 to clean the cleaning component 23, when the time set by the controller 14 is reached, the controller 14 controls the water pump 9 to be closed and the electromagnetic valve 10 to be closed, at the moment, the cleaning is completed, the wastewater is filtered by the filter plate 24 and then is discharged through the drain pipe 12, then the component is taken out to clean the interior of the box body 1 for inspection, the processing process can be observed through the observation window 19, and the controller 14 can be.
While there have been shown and described the fundamental principles and essential features of the invention and advantages thereof, it will be apparent to those skilled in the art that the invention is not limited to the details of the foregoing exemplary embodiments, but is capable of other specific forms without departing from the spirit or essential characteristics thereof; the present embodiments are therefore to be considered in all respects as illustrative and not restrictive, the scope of the invention being indicated by the appended claims rather than by the foregoing description, and all changes which come within the meaning and range of equivalency of the claims are therefore intended to be embraced therein, and any reference signs in the claims are not intended to be construed as limiting the claim concerned.
Furthermore, it should be understood that although the present description refers to embodiments, not every embodiment may contain only a single embodiment, and such description is for clarity only, and those skilled in the art should integrate the description, and the embodiments may be combined as appropriate to form other embodiments understood by those skilled in the art.
Claims (8)
1. The utility model provides a quick automatic rust cleaning device in surface for electronic components that removes dust which characterized in that: comprises a box body (1), a water tank (2) is arranged below the rear left side of the box body (1) through screws, a feed box (3) is arranged on the right side of the water tank (2), the feed box (3) is fixed on the box body (1) through screws, the right side of the top center of the water tank (2) and the left side of the top center of the feed box (3) are communicated with a feed pipe (4) through welding, a sealing cover (5) is arranged at the top of the feed pipe (4) through threads, a branch pipe a (6) is arranged at the top center of the feed box (3), a branch pipe b (7) is arranged at the top center of the water tank (2), one ends of the branch pipe a (6) and the branch pipe b (7) are respectively communicated with the feed box (3) and the water tank (2) through welding, a main pipe (8) is arranged behind the rear center of the box body (1), and the other ends of the, a water pump (9) is arranged behind the center of the rear face of the box body (1), the water pump (9) is communicated with a main pipe (8) through threads, the other end of the main pipe (8) is communicated with the interior of the box body (1) through welding, electromagnetic valves (10) are arranged above the centers of the tops of the water tank (2) and the material box (3), the electromagnetic valves (10) are respectively communicated with a branch pipe a (6) and a branch pipe b (7) through sleeving, damping universal wheels (11) are mounted on four sides of the bottom of the box body (1) through screws, and the center of the bottom of the box body (1) is communicated with a drain pipe (12) through welding;
the utility model discloses a box, including box (1), protection box (13) has been installed through the screw to box (1) left surface top, controller (14) has been installed through the screw at protection box (13) inner wall rear, controller (14) the place ahead is equipped with button (15), button (15) have through the screw install in protection box (13), motor (16) have through the screw installation at box (1) right surface center, box door (17) have through the hinge installation in the preceding top right side of box (1), box door (17) left side is passed through the bolt and is connected with box (1), there is handle (18) in the preceding left side of box door (17) through the screw installation, observation window (19) are installed through the embedding in the preceding center of box door (17), box (1) inside center top is equipped with shower nozzle (20), shower nozzle (20) communicate through screw and person in charge (8), shower nozzle (20) below is equipped with transfer, the utility model discloses a motor, including transfer line (21), brush (22) are all installed through the embedding to transfer line (21) surface in motor (16) pivot through the suit, transfer line (21) below is equipped with clean components and parts (23), install inside box (1) through the spout clean components and parts (23), clean components and parts (23) below is equipped with filter (24), filter (24) pass through the mounting screw inside box (1).
2. The automatic surface rust removing device for the electronic component with the rapid dust removal function as claimed in claim 1, which is characterized in that: the other ends of the branch pipes a (6) and the branch pipes b (7) respectively penetrate through the tops of the material box (3) and the water tank (2) and extend to the upper portions of the bottoms of the inner walls of the material box (3) and the water tank (2).
3. The automatic surface rust removing device for the electronic component with the rapid dust removal function as claimed in claim 1, which is characterized in that: the filling material in the water tank (2) is clear water, and the filling material in the material tank (3) is rust removing liquid.
4. The automatic surface rust removing device for the electronic component with the rapid dust removal function as claimed in claim 1, which is characterized in that: the rotating shaft of the motor (16) penetrates through the box body (1) and is embedded in the box body (1).
5. The automatic surface rust removing device for the electronic component with the rapid dust removal function as claimed in claim 1, which is characterized in that: the observation window (19) is made of toughened glass.
6. The automatic surface rust removing device for the electronic component with the rapid dust removal function as claimed in claim 1, which is characterized in that: the material used for the brush (22) is nylon 612.
7. The automatic surface rust removing device for the electronic component with the rapid dust removal function as claimed in claim 1, which is characterized in that: the types of the electromagnetic valves (10) are as follows: Z41W-169304, the model of the water pump (9) is as follows: ISG50-160, the motor (16) model is: 192ZDC, the controller (14) model is: ESX-3 CM.
8. The automatic surface rust removing device for the electronic component with the rapid dust removal function as claimed in claim 1, which is characterized in that: the button (15) is connected with a power supply through a cable, the button (15) is connected with the controller (14) through the cable, and the controller (14) is connected with the electromagnetic valve (10), the water pump (9) and the motor (16) through the cable.
Priority Applications (1)
| Application Number | Priority Date | Filing Date | Title |
|---|---|---|---|
| CN202011337926.1A CN112538635A (en) | 2020-11-25 | 2020-11-25 | Automatic surface rust removal device for electronic components capable of removing dust quickly |
Applications Claiming Priority (1)
| Application Number | Priority Date | Filing Date | Title |
|---|---|---|---|
| CN202011337926.1A CN112538635A (en) | 2020-11-25 | 2020-11-25 | Automatic surface rust removal device for electronic components capable of removing dust quickly |
Publications (1)
| Publication Number | Publication Date |
|---|---|
| CN112538635A true CN112538635A (en) | 2021-03-23 |
Family
ID=75015208
Family Applications (1)
| Application Number | Title | Priority Date | Filing Date |
|---|---|---|---|
| CN202011337926.1A Pending CN112538635A (en) | 2020-11-25 | 2020-11-25 | Automatic surface rust removal device for electronic components capable of removing dust quickly |
Country Status (1)
| Country | Link |
|---|---|
| CN (1) | CN112538635A (en) |
Citations (13)
| Publication number | Priority date | Publication date | Assignee | Title |
|---|---|---|---|---|
| CN107470225A (en) * | 2017-08-28 | 2017-12-15 | 广州沃安实业有限公司 | A kind of cleaning machine |
| CN108856086A (en) * | 2018-06-27 | 2018-11-23 | 田彤 | A kind of plastic and aesthetic surgery utensil washer |
| CN208879200U (en) * | 2018-09-30 | 2019-05-21 | 盐城市大丰澳滨铸造有限公司 | Cleaning device is used in a kind of processing of metal casting |
| CN209222708U (en) * | 2018-12-13 | 2019-08-09 | 唐国旗 | Preparation flat guide plate cleaning device before a kind of application inlay |
| CN209292490U (en) * | 2018-12-26 | 2019-08-23 | 九江庆腾五金工业有限公司 | A kind of environment-friendly type stainless steel products acid dip pickle |
| CN209979339U (en) * | 2019-06-01 | 2020-01-21 | 上海琨聚电子科技有限公司 | A fully automatic steel billet low magnification pickling device |
| CN110812512A (en) * | 2019-09-30 | 2020-02-21 | 湖北铭亚科技有限公司 | Medical instrument disinfecting equipment convenient to remove |
| CN210104086U (en) * | 2019-05-15 | 2020-02-21 | 陕西宏祥专用汽车股份有限公司 | Novel machine part rust cleaning device |
| CN210314500U (en) * | 2019-06-01 | 2020-04-14 | 广州京写电路板有限公司 | PCB surface decontamination acid dip pickle |
| CN210899874U (en) * | 2019-12-10 | 2020-06-30 | 深圳生溢快捷电路有限公司 | Acid dip pickle is used in PCB production |
| CN211412955U (en) * | 2019-12-19 | 2020-09-04 | 成都拓维高科光电科技有限公司 | Metal part cleaning device |
| CN211620626U (en) * | 2019-11-04 | 2020-10-02 | 佛山市鸿创恒远金属制品有限公司 | Stainless steel pipe cleaning circulating pickling device |
| CN111761048A (en) * | 2020-07-15 | 2020-10-13 | 徐双伟 | Energy-saving casting system |
-
2020
- 2020-11-25 CN CN202011337926.1A patent/CN112538635A/en active Pending
Patent Citations (13)
| Publication number | Priority date | Publication date | Assignee | Title |
|---|---|---|---|---|
| CN107470225A (en) * | 2017-08-28 | 2017-12-15 | 广州沃安实业有限公司 | A kind of cleaning machine |
| CN108856086A (en) * | 2018-06-27 | 2018-11-23 | 田彤 | A kind of plastic and aesthetic surgery utensil washer |
| CN208879200U (en) * | 2018-09-30 | 2019-05-21 | 盐城市大丰澳滨铸造有限公司 | Cleaning device is used in a kind of processing of metal casting |
| CN209222708U (en) * | 2018-12-13 | 2019-08-09 | 唐国旗 | Preparation flat guide plate cleaning device before a kind of application inlay |
| CN209292490U (en) * | 2018-12-26 | 2019-08-23 | 九江庆腾五金工业有限公司 | A kind of environment-friendly type stainless steel products acid dip pickle |
| CN210104086U (en) * | 2019-05-15 | 2020-02-21 | 陕西宏祥专用汽车股份有限公司 | Novel machine part rust cleaning device |
| CN210314500U (en) * | 2019-06-01 | 2020-04-14 | 广州京写电路板有限公司 | PCB surface decontamination acid dip pickle |
| CN209979339U (en) * | 2019-06-01 | 2020-01-21 | 上海琨聚电子科技有限公司 | A fully automatic steel billet low magnification pickling device |
| CN110812512A (en) * | 2019-09-30 | 2020-02-21 | 湖北铭亚科技有限公司 | Medical instrument disinfecting equipment convenient to remove |
| CN211620626U (en) * | 2019-11-04 | 2020-10-02 | 佛山市鸿创恒远金属制品有限公司 | Stainless steel pipe cleaning circulating pickling device |
| CN210899874U (en) * | 2019-12-10 | 2020-06-30 | 深圳生溢快捷电路有限公司 | Acid dip pickle is used in PCB production |
| CN211412955U (en) * | 2019-12-19 | 2020-09-04 | 成都拓维高科光电科技有限公司 | Metal part cleaning device |
| CN111761048A (en) * | 2020-07-15 | 2020-10-13 | 徐双伟 | Energy-saving casting system |
Similar Documents
| Publication | Publication Date | Title |
|---|---|---|
| CN106914438A (en) | A kind of cleaning device that can automatically clean insulator | |
| CN108314251A (en) | A kind of processing system containing oil-polluted water | |
| CN206937330U (en) | A kind of transmission system living water washing, deicing implement | |
| CN112538635A (en) | Automatic surface rust removal device for electronic components capable of removing dust quickly | |
| CN202718192U (en) | Multifunctional trough for kitchen | |
| CN209848490U (en) | Cleaning device for built-in filter screen of close-fitting air conditioner | |
| CN214841070U (en) | Range hood with filter screen self-cleaning function | |
| CN208615739U (en) | A kind of automatically cleaning charging pile | |
| CN206854166U (en) | A kind of belt assembly belt cleaning device of electronic component processing | |
| CN107497227A (en) | A kind of environment-friendly type aluminium alloy smelting cleaner | |
| CN116475157A (en) | Intelligent electrolytic mold cleaning device based on sensor | |
| CN212703557U (en) | Glass quality testing is with cleaning device in advance | |
| CN206153192U (en) | All -purpose TP cover plate wiping platform | |
| CN107812762A (en) | A kind of bilateral type automates cask washing equipment | |
| CN216910712U (en) | Be used for intelligent robot accessories paint spraying apparatus | |
| CN209126696U (en) | A kind of architectural engineering washing installation for vehicle | |
| CN207433109U (en) | A kind of dust collecting furniture engraving equipment | |
| CN212883041U (en) | High-speed rotating electrostatic spraying device | |
| CN207709489U (en) | A kind of bilateral type automation cask washing equipment | |
| CN211146442U (en) | Inside cleaning device that electric power boiler used | |
| CN215656786U (en) | Multi-groove throwing ultrasonic cleaning machine for cleaning automobile parts | |
| CN206244876U (en) | A kind of electroless copper equipment with cleaning device | |
| CN218610674U (en) | PCBA board cleaning machine | |
| CN221227635U (en) | Maritime intelligent monitoring device | |
| CN114886359B (en) | A dishwasher with indoor positioning and base station positioning |
Legal Events
| Date | Code | Title | Description |
|---|---|---|---|
| PB01 | Publication | ||
| PB01 | Publication | ||
| SE01 | Entry into force of request for substantive examination | ||
| SE01 | Entry into force of request for substantive examination | ||
| WD01 | Invention patent application deemed withdrawn after publication |
Application publication date: 20210323 |
|
| WD01 | Invention patent application deemed withdrawn after publication |