CN112524297A - Water tap with water diversion function - Google Patents

Water tap with water diversion function Download PDF

Info

Publication number
CN112524297A
CN112524297A CN202011508467.9A CN202011508467A CN112524297A CN 112524297 A CN112524297 A CN 112524297A CN 202011508467 A CN202011508467 A CN 202011508467A CN 112524297 A CN112524297 A CN 112524297A
Authority
CN
China
Prior art keywords
water
valve
water inlet
bottom cover
cavity
Prior art date
Legal status (The legal status is an assumption and is not a legal conclusion. Google has not performed a legal analysis and makes no representation as to the accuracy of the status listed.)
Pending
Application number
CN202011508467.9A
Other languages
Chinese (zh)
Inventor
不公告发明人
Current Assignee (The listed assignees may be inaccurate. Google has not performed a legal analysis and makes no representation or warranty as to the accuracy of the list.)
Individual
Original Assignee
Individual
Priority date (The priority date is an assumption and is not a legal conclusion. Google has not performed a legal analysis and makes no representation as to the accuracy of the date listed.)
Filing date
Publication date
Application filed by Individual filed Critical Individual
Priority to CN202011508467.9A priority Critical patent/CN112524297A/en
Publication of CN112524297A publication Critical patent/CN112524297A/en
Pending legal-status Critical Current

Links

Images

Classifications

    • FMECHANICAL ENGINEERING; LIGHTING; HEATING; WEAPONS; BLASTING
    • F16ENGINEERING ELEMENTS AND UNITS; GENERAL MEASURES FOR PRODUCING AND MAINTAINING EFFECTIVE FUNCTIONING OF MACHINES OR INSTALLATIONS; THERMAL INSULATION IN GENERAL
    • F16KVALVES; TAPS; COCKS; ACTUATING-FLOATS; DEVICES FOR VENTING OR AERATING
    • F16K11/00Multiple-way valves, e.g. mixing valves; Pipe fittings incorporating such valves
    • F16K11/10Multiple-way valves, e.g. mixing valves; Pipe fittings incorporating such valves with two or more closure members not moving as a unit
    • F16K11/20Multiple-way valves, e.g. mixing valves; Pipe fittings incorporating such valves with two or more closure members not moving as a unit operated by separate actuating members
    • F16K11/22Multiple-way valves, e.g. mixing valves; Pipe fittings incorporating such valves with two or more closure members not moving as a unit operated by separate actuating members with an actuating member for each valve, e.g. interconnected to form multiple-way valves
    • FMECHANICAL ENGINEERING; LIGHTING; HEATING; WEAPONS; BLASTING
    • F16ENGINEERING ELEMENTS AND UNITS; GENERAL MEASURES FOR PRODUCING AND MAINTAINING EFFECTIVE FUNCTIONING OF MACHINES OR INSTALLATIONS; THERMAL INSULATION IN GENERAL
    • F16KVALVES; TAPS; COCKS; ACTUATING-FLOATS; DEVICES FOR VENTING OR AERATING
    • F16K27/00Construction of housing; Use of materials therefor
    • F16K27/04Construction of housing; Use of materials therefor of sliding valves
    • F16K27/044Construction of housing; Use of materials therefor of sliding valves slide valves with flat obturating members
    • F16K27/045Construction of housing; Use of materials therefor of sliding valves slide valves with flat obturating members with pivotal obturating members
    • FMECHANICAL ENGINEERING; LIGHTING; HEATING; WEAPONS; BLASTING
    • F16ENGINEERING ELEMENTS AND UNITS; GENERAL MEASURES FOR PRODUCING AND MAINTAINING EFFECTIVE FUNCTIONING OF MACHINES OR INSTALLATIONS; THERMAL INSULATION IN GENERAL
    • F16KVALVES; TAPS; COCKS; ACTUATING-FLOATS; DEVICES FOR VENTING OR AERATING
    • F16K31/00Actuating devices; Operating means; Releasing devices
    • F16K31/44Mechanical actuating means
    • F16K31/60Handles

Landscapes

  • Engineering & Computer Science (AREA)
  • General Engineering & Computer Science (AREA)
  • Mechanical Engineering (AREA)
  • Multiple-Way Valves (AREA)

Abstract

本发明适用于龙头技术领域,提供了一种带分水功能的水龙头,包括壳体,其内部设有进水腔、第一出水腔、第二出水腔;分水阀,包括阀套、第一分水片、第二分水片、底盖、转轴;分水阀通过安装在阀套一端的底盖安装在进水腔内;阀套上设有多个进水口和第一密封圈;第二分水片设于阀套内,其两侧分别和底盖、第一分水片贴合;第二分水片上设有两个第二通孔,底盖上设有两个和第二通孔相通的第三通孔;第一分水片上设有一个第一通孔;转轴一端和第一分水片连接,另一端连接有转动件;两个第三通孔通过分水阀安装面上的第一连通孔、第二连通孔分别和第一出水腔、第二出水腔连通;本发明实施例操作简单方便,且不会造成出水异常。

Figure 202011508467

The invention is applicable to the technical field of faucets, and provides a faucet with a water diversion function, comprising a shell with a water inlet cavity, a first water outlet cavity and a second water outlet cavity inside; and a water diversion valve, including a valve sleeve, a second water outlet cavity A water dividing piece, a second water dividing piece, a bottom cover, and a rotating shaft; the water dividing valve is installed in the water inlet cavity through the bottom cover installed at one end of the valve sleeve; the valve sleeve is provided with a plurality of water inlets and a first sealing ring; The second water divider is arranged in the valve sleeve, and its two sides are respectively attached to the bottom cover and the first water divider; the second water divider is provided with two second through holes, and the bottom cover is provided with two A third through hole that communicates with the two through holes; a first through hole is provided on the first water separation piece; one end of the rotating shaft is connected with the first water separation piece, and the other end is connected with a rotating piece; the two third through holes pass through the water separation valve The first communication hole and the second communication hole on the installation surface are respectively communicated with the first water outlet cavity and the second water outlet cavity; the embodiment of the present invention is simple and convenient to operate, and will not cause abnormal water outlet.

Figure 202011508467

Description

Water tap with water diversion function
Technical Field
The invention belongs to the technical field of faucets, and particularly relates to a faucet with a water distribution function.
Background
At present, a water tap usually adopts a pull rod type water separator to realize a water separation function, wherein the pull rod type water separator comprises a pull rod, a pull rod cap and a sealing ring, the pull rod cap is in threaded connection with one end of the pull rod, and the sealing ring is connected with the other end of the pull rod; the pull rod cap is pulled, the seal ring is driven to move through the pull rod, so that water is controlled to flow to the water outlet of the water separator or the water outlet of the water faucet, and water diversion is realized; however, when the pull rod type water separator is used in daily life, a user needs to pull the pull rod cap with more effort, and the pull rod cap is easy to fall off due to thread slipping because the pull rod cap is connected with the pull rod through threads; and the sealing ring in the pull rod type water separator is aged more quickly, and the water outlet abnormality can be caused after the sealing ring is aged.
Disclosure of Invention
An embodiment of the invention aims to provide a faucet with a water diversion function, and aims to solve the problems in the background technology.
To achieve the above object, the embodiment of the present invention is implemented as follows:
a faucet with a water diversion function comprises:
the shell is internally provided with a water inlet cavity, a first water outlet cavity and a second water outlet cavity;
the shunt valve is detachably arranged in the water inlet cavity;
the shunt valve comprises a valve sleeve, a first shunt sheet, a second shunt sheet, a bottom cover and a rotating shaft; the bottom cover is connected to one end of the valve sleeve, and the shunt valve is detachably arranged in the water inlet cavity through the bottom cover; the valve sleeve is provided with a plurality of water inlets and a plurality of first sealing rings attached to the inner wall of the water inlet cavity; the second water diversion sheet is arranged in the valve sleeve, one side of the second water diversion sheet is attached to the bottom cover, and the other side of the second water diversion sheet is attached to the first water diversion sheet; two second through holes are formed in the second water diversion piece, and two third through holes communicated with the second through holes are formed in the bottom cover; the first water diversion sheet is provided with a first through hole; one end of the rotating shaft is connected with the first water diversion sheet, and the other end of the rotating shaft penetrates through the valve sleeve to be detachably connected with a rotating piece; a first communicating hole and a second communicating hole which are respectively communicated with the two third through holes on the bottom cover are arranged on the mounting surface which is used for mounting the shunt valve in the water inlet cavity; the water inlet cavity can be respectively communicated with the first water outlet cavity and the second water outlet cavity through the first communicating hole and the second communicating hole; the first water outlet cavity and the second water outlet cavity are respectively connected with a first water dividing port and a second water dividing port.
In a preferred embodiment of the present invention, the housing is provided with a first water inlet and a second water inlet; a water inlet valve is detachably arranged in the shell, the top of the water inlet valve is connected with a switch, and the bottom of the water inlet valve is provided with a water outlet, a first inlet and a second inlet; a water outlet, a first water inlet and a second water inlet which are respectively communicated with the water outlet, the first inlet and the second inlet are arranged on a mounting surface which is used for mounting the water inlet valve in the shell; the first water inlet can be communicated with the interior of the water inlet valve through the first water inlet hole and the first inlet; the second water inlet can be communicated with the interior of the water inlet valve through the second water inlet hole and the second inlet; the interior of the water inlet valve is communicated with the water inlet cavity through the water outlet and the water outlet.
In a preferred embodiment of the present invention, the first water-dividing sheet and the second water-dividing sheet are made of ceramic materials.
In a preferred embodiment of the invention, the bottom cover is provided with a positioning buckle, and a groove matched with the positioning buckle is arranged on the mounting surface of the water inlet cavity for mounting the water distribution valve.
In a preferred embodiment of the invention, a second sealing ring is arranged on the bottom cover, the two third through holes in the bottom cover are surrounded by the second sealing ring, and the second sealing ring is attached to a mounting surface for mounting the shunt valve in the water inlet cavity.
In a preferred embodiment of the invention, the housing is connected with a gland for pressing the shunt valve at the installation position of the shunt valve.
In a preferred embodiment of the present invention, the rotating member is one of a rotating handle or a rotating handwheel.
The water faucet with the water diversion function provided by the embodiment of the invention has the following beneficial effects: the water in the water inlet cavity enters the valve sleeve through the water inlet on the valve sleeve, the rotating piece is rotated and drives the first water dividing sheet to rotate through the rotating shaft, the first through hole on the first water dividing sheet is communicated with one of the second through holes on the second water dividing sheet, and the other second through hole is blocked by the first water dividing sheet, so that the water in the valve sleeve can be communicated with the first water outlet cavity through the first through hole, one of the second through holes, one of the third through holes and the first connecting hole and flows out of the first water dividing port; the water in the valve sleeve can also communicate with the second water outlet cavity through the first through hole, one of the second through holes, one of the third through holes and the second communication hole and flow out of the second water dividing port, so that water can be divided; compared with the existing faucet adopting the pull rod type water separator, the embodiment of the invention has simple and convenient operation, can not cause abnormal water outlet, and can conveniently replace the water separation valve.
Drawings
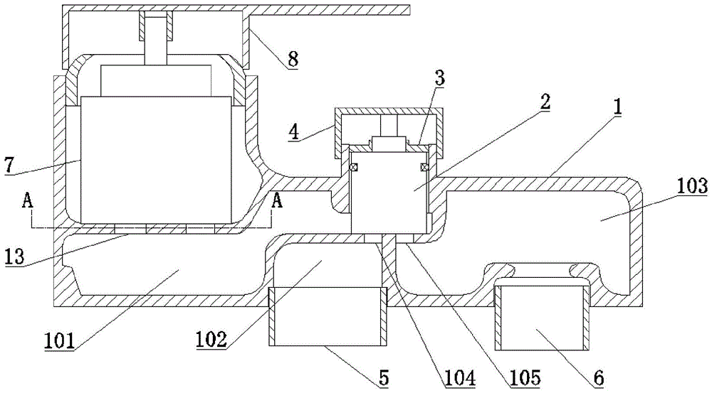
Fig. 1 is a schematic structural diagram of a faucet with a water diversion function according to an embodiment of the present invention;
fig. 2 is a schematic three-dimensional structure diagram of a water dividing valve of a faucet with a water dividing function according to an embodiment of the present invention;
fig. 3 is an exploded schematic view of a water dividing valve of a faucet with a water dividing function according to an embodiment of the present invention;
fig. 4 is a schematic three-dimensional structure diagram of a bottom cover of a faucet with a water diversion function according to an embodiment of the present invention;
FIG. 5 is a schematic three-dimensional structure diagram of a water inlet valve in a faucet with a water diversion function according to an embodiment of the present invention;
fig. 6 is a top view of a faucet with a water diversion function according to an embodiment of the present invention;
fig. 7 is a cross-sectional view taken at a-a in fig. 1.
In the drawings: 1. a housing; 101. a water inlet cavity; 102. a first water outlet cavity; 103. a second water outlet cavity; 104. a first communication hole; 105. a second communication hole; 2. a shunt valve; 201. a valve housing; 202. a water inlet; 203. a first water diversion sheet; 204. a second water diversion sheet; 205. a first through hole; 206. a second through hole; 207. a bottom cover; 208. a third through hole; 209. a rotating shaft; 210. a sealing groove; 211. a first seal ring; 212. a second seal ring; 2123. positioning buckles; 3. a gland; 4. a rotating member; 5. a first water dividing opening; 6. a second water diversion port; 7. a water inlet valve; 701. a water outlet; 702. a first inlet; 703. a second inlet; 8. a switch; 9. a first water inlet; 10. a second water inlet; 11. a first water inlet hole; 12. a second water inlet hole; 13. and (7) water outlet holes.
Detailed Description
In order to make the objects, technical solutions and advantages of the present invention more apparent, the present invention is described in further detail below with reference to the accompanying drawings and embodiments. It should be understood that the specific embodiments described herein are merely illustrative of the invention and are not intended to limit the invention.
Specific implementations of the present invention are described in detail below with reference to specific embodiments.
As shown in fig. 1, a schematic structural diagram of a faucet with a water diversion function according to an embodiment of the present invention includes:
the water inlet cavity 101, the first water outlet cavity 102 and the second water outlet cavity 103 are arranged in the shell 1;
the shunt valve 2 is detachably arranged in the water inlet cavity 101;
as shown in fig. 2 and 3, the shunt valve 2 includes a valve sleeve 201, a first shunt piece 203, a second shunt piece 204, a bottom cover 207, and a rotating shaft 209; the bottom cover 207 is connected to one end of the valve housing 201, and the shunt valve 2 is detachably mounted in the water inlet cavity 101 through the bottom cover 207; the valve sleeve 201 is provided with a plurality of water inlets 202 and a plurality of first sealing rings 211 attached to the inner wall of the water inlet cavity 101; the second water diversion sheet 204 is arranged in the valve sleeve 201, one side of the second water diversion sheet is attached to the bottom cover 207, and the other side of the second water diversion sheet is attached to the first water diversion sheet 203; the second water diversion sheet 204 is provided with two second through holes 206, and the bottom cover 207 is provided with two third through holes 208 communicated with the second through holes 206; a first through hole 205 is formed in the first water diversion sheet 203; one end of the rotating shaft 209 is connected with the first water diversion sheet 203, and the other end of the rotating shaft passes through the valve sleeve 201 and is detachably connected with a rotating part 4; a first communicating hole 104 and a second communicating hole 105 which are respectively communicated with two third communicating holes 208 on the bottom cover 207 are arranged on a mounting surface for mounting the shunt valve 2 in the water inlet cavity 101; the water inlet cavity 101 can be respectively communicated with the first water outlet cavity 102 and the second water outlet cavity 103 through the first communication hole 104 and the second communication hole 105; the first water outlet cavity 102 and the second water outlet cavity 103 are respectively connected with a first water dividing port 5 and a second water dividing port 6.
In the embodiment of the present invention, water in the first cavity enters into the valve housing 201 through the water inlet 202 on the valve housing 201, the rotating member 4 is rotated, and the rotating member 4 drives the first water diversion sheet 203 to rotate through the rotating shaft 209; when the first water dividing plate 203 rotates, the first through hole 205 on the first water dividing plate is communicated with one second through hole 206 on the second water dividing plate 204, and the other second through hole 206 on the second water dividing plate 204 is blocked by the first water dividing plate 203, so that water inside the valve core can flow into the first water outlet cavity 102 through the first through hole 205, the unblocked second through hole 206, the third through hole 208 communicated with the unblocked second through hole 206 and the first communication hole 104 and flow out from the first water dividing port 5; the water in the valve core can also flow into the second water outlet cavity 103 through the first through hole 205, the unblocked second through hole 206, the third through hole 208 communicated with the unblocked second through hole 206 and the second communication hole 105, and flows out from the second water diversion port 6, so that water diversion is realized; a sealing groove 210 is formed in the valve housing 201, and the first sealing ring 211 is arranged in the sealing groove 210; the first sealing ring 211 can seal the shunt valve 2, so as to prevent water in the first cavity from flowing out from the installation position of the shunt valve 2; compared with the existing faucet adopting the pull rod type water separator, the embodiment of the invention has the advantages of simple and convenient operation, long service life and no abnormal water outlet.
In the embodiment of the invention, the first water diversion sheet 203 and the second water diversion sheet 204 are both made of ceramic materials, and the contact surfaces of the first water diversion sheet 203 and the second water diversion sheet 204 need to be polished smoothly and flatly, so that the first water diversion sheet 203 and the second water diversion sheet 204 are ensured to be tightly attached; the rotating part 4 can adopt a rotating handle or a rotating hand wheel, and a user can select the rotating part according to own preference; the rotating part 4 and the rotating shaft 209 can be connected together in a snap connection or a threaded connection manner; as shown in fig. 1, a gland 3 is connected to the housing 1 at the installation position of the shunt valve 2, and the gland 3 is in threaded connection with the housing 1 and is used for compressing the valve sleeve 201 and placing the shunt valve 2 to rock in the first cavity.
As shown in fig. 6, as a preferred embodiment of the present invention, a first water inlet 9 and a second water inlet 10 are provided on the housing 1; a water inlet valve 7 is detachably arranged in the shell 1, and the top of the water inlet valve 7 is connected with a switch 8; as shown in fig. 5, the bottom of the inlet valve 7 is provided with an outlet 701, a first inlet 702 and a second inlet 703; as shown in fig. 7, an outlet 13, a first inlet 11, and a second inlet 12, which are respectively communicated with the outlet 701, the first inlet 702, and the second inlet 703, are provided on the mounting surface of the housing 1 for mounting the inlet valve 7; the first water inlet 9 can be communicated with the inside of the water inlet valve 7 through the first water inlet hole 11 and the first inlet 702; the second water inlet 10 can be communicated with the inside of the water inlet valve 7 through the second water inlet hole 12 and the second inlet 703; the inside of the water inlet valve 7 is communicated with the water inlet cavity 101 through the water outlet 701 and the water outlet hole 13; the water inlet valve 7 can be adjusted by rotating the switch 8, the first water inlet 9 can be communicated with the inside of the water inlet valve 7 through the first water inlet hole 11 and the first inlet 702 by adjusting the water inlet valve 7, so that the water flowing in from the first water inlet 9 sequentially flows into the water inlet cavity 101 through the first water inlet hole 11, the first inlet 702, the water outlet 701 and the water outlet hole 13, and the water flowing into the water inlet cavity 101 flows into the water diversion valve 2 again for water diversion; the second water inlet 10 can also be communicated with the inside of the water inlet valve 7 through the second water inlet hole 12 and the second inlet 703 by adjusting the water inlet valve 7, so that the water flowing in from the second water inlet 10 sequentially passes through the second water inlet hole 12, the second inlet 703, the water outlet 701 and the water outlet hole 13 to flow into the water inlet cavity 101, and the water flowing into the water inlet cavity 101 flows into the water diversion valve 2 again to be diverted; the principle of the water inlet valve 7 is the prior art, and is not described herein again; in the embodiment of the present invention, the first water inlet 9 can be accessed with cold water, and the second water inlet 10 can be accessed with hot water.
As shown in fig. 4, as another preferred embodiment of the present invention, the bottom cover 207 is provided with two positioning fasteners 213, and the mounting surface of the water inlet cavity 101 for mounting the shunt valve 2 is provided with two grooves matching with the positioning fasteners 213; shunt valve 2 is through two 213, two groove connection are detained in the location inside intake antrum 101, it is right when needs shunt valve 2 is changed can be convenient for follow take out in the intake antrum 101 shunt valve 2 is changed.
As shown in fig. 4, as another preferred embodiment of the present invention, a second sealing ring 212 is disposed on the bottom cover 207, two third through holes 208 on the bottom cover 207 are both surrounded by the second sealing ring 212, and the second sealing ring 212 is attached to a mounting surface for mounting the shunt valve 2 in the water inlet cavity 101; the two third through holes 208 can be individually sealed by the second sealing ring 212, thereby improving the sealing performance between the shunt valve 2 and the inlet chamber 101.
In the description of the present invention, it is to be understood that the terms "center", "longitudinal", "lateral", "up", "down", "front", "back", "left", "right", "vertical", "horizontal", "top", "bottom", "inner", "outer", and the like, indicate orientations or positional relationships based on those shown in the drawings, and are used only for convenience in describing the present invention and for simplicity in description, and do not indicate or imply that the referenced devices or elements must have a particular orientation, be constructed and operated in a particular orientation, and thus, are not to be construed as limiting the present invention. Furthermore, the terms "first", "second", etc. are used for descriptive purposes only and are not to be construed as indicating or implying relative importance or implicitly indicating the number of technical features indicated. Thus, a feature defined as "first," "second," etc. may explicitly or implicitly include one or more of that feature. In the description of the present invention, "a plurality" means two or more unless otherwise specified.
In the description of the present invention, it should be noted that, unless otherwise explicitly specified or limited, the terms "mounted," "connected," and "connected" are to be construed broadly, e.g., as meaning either a fixed connection, a removable connection, or an integral connection; can be mechanically or electrically connected; they may be connected directly or indirectly through intervening media, or they may be interconnected between two elements. The specific meaning of the above terms in the present invention can be understood by those of ordinary skill in the art through specific situations.
The above description is only for the purpose of illustrating the preferred embodiments of the present invention and is not to be construed as limiting the invention, and any modifications, equivalents and improvements made within the spirit and principle of the present invention are intended to be included within the scope of the present invention.

Claims (7)

1.一种带分水功能的水龙头,其特征在于,所述带分水功能的水龙头包括:1. a faucet with a water separation function, is characterized in that, the described faucet with a water separation function comprises: 壳体,其内部设有进水腔、第一出水腔、第二出水腔;The shell is provided with a water inlet cavity, a first water outlet cavity and a second water outlet cavity; 分水阀,可拆卸地安装在所述进水腔内;a water diversion valve, which is detachably installed in the water inlet cavity; 其中,所述分水阀包括阀套、第一分水片、第二分水片、底盖、转轴;所述底盖连接在所述阀套一端,所述分水阀通过所述底盖可拆卸地安装在所述进水腔内;所述阀套上设有多个进水口,还设有多个和所述进水腔内壁贴合的第一密封圈;所述第二分水片设于所述阀套内部,其两侧分别和所述底盖、所述第一分水片贴合;所述第二分水片上设有两个第二通孔,所述底盖上设有两个和所述第二通孔相通的第三通孔;所述第一分水片上设有一个第一通孔;所述转轴一端和所述第一分水片连接,另一端穿过所述阀套可拆卸的连接有转动件;所述进水腔内用于安装所述分水阀的安装面上设有分别和所述底盖上的两个第三通孔相通的第一连通孔、第二连通孔;所述进水腔能够通过所述第一连通孔、所述第二连通孔分别与所述第一出水腔、第二出水腔连通;所述第一出水腔、所述第二出水腔分别连接有第一分水口、第二分水口。Wherein, the water dividing valve includes a valve cover, a first water dividing piece, a second water dividing piece, a bottom cover, and a rotating shaft; the bottom cover is connected to one end of the valve cover, and the water dividing valve passes through the bottom cover The valve sleeve is detachably installed in the water inlet cavity; the valve sleeve is provided with a plurality of water inlets, and is also provided with a plurality of first sealing rings attached to the inner wall of the water inlet cavity; the second water separation The sheet is arranged inside the valve sleeve, and its two sides are respectively attached to the bottom cover and the first water dividing sheet; the second water dividing sheet is provided with two second through holes, and the bottom cover is provided with two second through holes. There are two third through holes communicated with the second through holes; a first through hole is arranged on the first water separation piece; one end of the rotating shaft is connected with the first water separation piece, and the other end passes through the A rotating member is detachably connected through the valve sleeve; the installation surface for installing the water diverting valve in the water inlet cavity is provided with a third through hole respectively communicating with the two third through holes on the bottom cover. a communication hole and a second communication hole; the water inlet cavity can be communicated with the first water outlet cavity and the second water outlet cavity respectively through the first communication hole and the second communication hole; the first water outlet cavity and the second water outlet cavity is respectively connected with a first water distribution port and a second water distribution port. 2.根据权利要求1所述的带分水功能的水龙头,其特征在于,所述壳体上设有第一入水口、第二入水口;所述壳体内部可拆卸地安装有进水阀,所述进水阀能够控制所述第一入水口、所述第二入水口和所述进水腔连通,其顶部连接有开关。2 . The faucet with water separation function according to claim 1 , wherein a first water inlet and a second water inlet are arranged on the casing; and a water inlet valve is detachably installed inside the casing. 3 . , the water inlet valve can control the communication between the first water inlet, the second water inlet and the water inlet cavity, and a switch is connected to the top thereof. 3.根据权利要求1所述的带分水功能的水龙头,其特征在于,所述第一分水片、所述第二分水片均采用陶瓷材质制成。3 . The faucet with a water separation function according to claim 1 , wherein the first water separation sheet and the second water separation sheet are made of ceramic materials. 4 . 4.根据权利要求1或3所述的带分水功能的水龙头,其特征在于,所述底盖上设有定位扣,所述进水腔内用于安装所述分水阀的安装面上设有和所述定位扣相配合的凹槽。4. The faucet with water diversion function according to claim 1 or 3, characterized in that, a positioning buckle is provided on the bottom cover, and a mounting surface for installing the water diversion valve in the water inlet cavity A groove matched with the positioning buckle is provided. 5.根据权利要求4所述的带分水功能的水龙头,其特征在于,所述底盖上设有第二密封圈,所述底盖上的两个所述第三通孔均被所述第二密封圈包围,所述第二密封圈和所述进水腔内用于安装所述分水阀的安装面贴合。5 . The faucet with water separation function according to claim 4 , wherein a second sealing ring is provided on the bottom cover, and the two third through holes on the bottom cover are covered by the Surrounded by a second sealing ring, the second sealing ring is fitted with a mounting surface in the water inlet cavity for mounting the water diversion valve. 6.根据权利要求1所述的带分水功能的水龙头,其特征在于,所述壳体在所述分水阀的安装处连接有用于压紧所述分水阀的压盖。6 . The faucet with a water diversion function according to claim 1 , wherein the housing is connected with a gland for pressing the water diversion valve at the installation place of the water diversion valve. 7 . 7.根据权利要求1所述的带分水功能的水龙头,其特征在于,所述转动件采用转动手柄或转动手轮中的一种。7 . The faucet with water separation function according to claim 1 , wherein the rotating member adopts one of a rotating handle or a rotating hand wheel. 8 .
CN202011508467.9A 2020-12-18 2020-12-18 Water tap with water diversion function Pending CN112524297A (en)

Priority Applications (1)

Application Number Priority Date Filing Date Title
CN202011508467.9A CN112524297A (en) 2020-12-18 2020-12-18 Water tap with water diversion function

Applications Claiming Priority (1)

Application Number Priority Date Filing Date Title
CN202011508467.9A CN112524297A (en) 2020-12-18 2020-12-18 Water tap with water diversion function

Publications (1)

Publication Number Publication Date
CN112524297A true CN112524297A (en) 2021-03-19

Family

ID=75001593

Family Applications (1)

Application Number Title Priority Date Filing Date
CN202011508467.9A Pending CN112524297A (en) 2020-12-18 2020-12-18 Water tap with water diversion function

Country Status (1)

Country Link
CN (1) CN112524297A (en)

Cited By (1)

* Cited by examiner, † Cited by third party
Publication number Priority date Publication date Assignee Title
CN114087400A (en) * 2021-12-10 2022-02-25 日丰企业(佛山)有限公司 a water separator

Citations (5)

* Cited by examiner, † Cited by third party
Publication number Priority date Publication date Assignee Title
CN202955282U (en) * 2012-10-25 2013-05-29 熊贤堂 shower
CN208503565U (en) * 2018-08-03 2019-02-15 洪桂阳 Double purpose water tap
CN110529627A (en) * 2019-09-25 2019-12-03 宁波万海阀门科技有限公司 Have both the faucet valve core of mixed moisture water function
US20200132200A1 (en) * 2018-10-28 2020-04-30 Hain Yo Enterprises Co., Ltd. Water valve
CN213776469U (en) * 2020-12-18 2021-07-23 徐成业 Water tap with water diversion function

Patent Citations (5)

* Cited by examiner, † Cited by third party
Publication number Priority date Publication date Assignee Title
CN202955282U (en) * 2012-10-25 2013-05-29 熊贤堂 shower
CN208503565U (en) * 2018-08-03 2019-02-15 洪桂阳 Double purpose water tap
US20200132200A1 (en) * 2018-10-28 2020-04-30 Hain Yo Enterprises Co., Ltd. Water valve
CN110529627A (en) * 2019-09-25 2019-12-03 宁波万海阀门科技有限公司 Have both the faucet valve core of mixed moisture water function
CN213776469U (en) * 2020-12-18 2021-07-23 徐成业 Water tap with water diversion function

Cited By (1)

* Cited by examiner, † Cited by third party
Publication number Priority date Publication date Assignee Title
CN114087400A (en) * 2021-12-10 2022-02-25 日丰企业(佛山)有限公司 a water separator

Similar Documents

Publication Publication Date Title
US9470336B2 (en) Mixing valve assembly including a temperature display
CN105546157B (en) Fluid mixing valve
CN101551027A (en) Constant temperature mixed valve core
CN104110824B (en) Water heater
CN112524297A (en) Water tap with water diversion function
CN208919440U (en) A kind of induction tap
CN213776469U (en) Water tap with water diversion function
CN205298661U (en) Fluid mixing valve
CN221401808U (en) Valve core and water outlet device
CN217683334U (en) Stop valve with built-in switch structure
CN215806425U (en) Novel flow regulating switch valve core
CN214864474U (en) Water outlet device and shower head
CN216715276U (en) Control switch valve and tap main body
CN206175725U (en) Control valve and water heater
CN211875170U (en) A pressure balance valve core with plane rotation and gear switching function
CN216813110U (en) A digital display temperature valve core
CN112082604B (en) Intelligent water meter
CN213929529U (en) A pull-out faucet
CN114607798A (en) Valve core and pull-out faucet
CN103375610B (en) Faucet for controlling cold water and hot water and displacement
CN217081539U (en) Water tap
JP2714892B2 (en) Float valve
CN114623261A (en) A faucet water purifier
CN216430583U (en) Waterway switcher
CN214789179U (en) Cold and hot water induction water valve

Legal Events

Date Code Title Description
PB01 Publication
PB01 Publication
SE01 Entry into force of request for substantive examination
SE01 Entry into force of request for substantive examination