CN112517989A - Multi-station machining device for tower crane connecting piece - Google Patents
Multi-station machining device for tower crane connecting piece Download PDFInfo
- Publication number
- CN112517989A CN112517989A CN202011348072.7A CN202011348072A CN112517989A CN 112517989 A CN112517989 A CN 112517989A CN 202011348072 A CN202011348072 A CN 202011348072A CN 112517989 A CN112517989 A CN 112517989A
- Authority
- CN
- China
- Prior art keywords
- metal connecting
- workpiece placing
- connecting component
- tower crane
- milling cutter
- Prior art date
- Legal status (The legal status is an assumption and is not a legal conclusion. Google has not performed a legal analysis and makes no representation as to the accuracy of the status listed.)
- Pending
Links
- 238000003754 machining Methods 0.000 title claims abstract description 21
- 239000002184 metal Substances 0.000 claims abstract description 58
- 229910052751 metal Inorganic materials 0.000 claims abstract description 58
- 238000003801 milling Methods 0.000 claims abstract description 34
- 230000007246 mechanism Effects 0.000 claims abstract description 5
- 239000010720 hydraulic oil Substances 0.000 claims description 4
- 230000005540 biological transmission Effects 0.000 claims description 3
- 238000007664 blowing Methods 0.000 claims description 3
- 238000007688 edging Methods 0.000 claims description 3
- 238000009966 trimming Methods 0.000 abstract description 5
- 229910000831 Steel Inorganic materials 0.000 description 10
- 239000010959 steel Substances 0.000 description 10
- 238000000034 method Methods 0.000 description 5
- 230000008569 process Effects 0.000 description 5
- 238000010276 construction Methods 0.000 description 4
- XEEYBQQBJWHFJM-UHFFFAOYSA-N Iron Chemical compound [Fe] XEEYBQQBJWHFJM-UHFFFAOYSA-N 0.000 description 2
- 230000009286 beneficial effect Effects 0.000 description 2
- 230000008859 change Effects 0.000 description 2
- 230000008878 coupling Effects 0.000 description 2
- 238000010168 coupling process Methods 0.000 description 2
- 238000005859 coupling reaction Methods 0.000 description 2
- 238000012423 maintenance Methods 0.000 description 2
- 238000003466 welding Methods 0.000 description 2
- 229910001294 Reinforcing steel Inorganic materials 0.000 description 1
- 230000000694 effects Effects 0.000 description 1
- 238000005516 engineering process Methods 0.000 description 1
- 229910052742 iron Inorganic materials 0.000 description 1
- 239000002994 raw material Substances 0.000 description 1
- 239000002023 wood Substances 0.000 description 1
Images
Classifications
-
- B—PERFORMING OPERATIONS; TRANSPORTING
- B23—MACHINE TOOLS; METAL-WORKING NOT OTHERWISE PROVIDED FOR
- B23C—MILLING
- B23C3/00—Milling particular work; Special milling operations; Machines therefor
-
- B—PERFORMING OPERATIONS; TRANSPORTING
- B23—MACHINE TOOLS; METAL-WORKING NOT OTHERWISE PROVIDED FOR
- B23Q—DETAILS, COMPONENTS, OR ACCESSORIES FOR MACHINE TOOLS, e.g. ARRANGEMENTS FOR COPYING OR CONTROLLING; MACHINE TOOLS IN GENERAL CHARACTERISED BY THE CONSTRUCTION OF PARTICULAR DETAILS OR COMPONENTS; COMBINATIONS OR ASSOCIATIONS OF METAL-WORKING MACHINES, NOT DIRECTED TO A PARTICULAR RESULT
- B23Q1/00—Members which are comprised in the general build-up of a form of machine, particularly relatively large fixed members
- B23Q1/25—Movable or adjustable work or tool supports
-
- B—PERFORMING OPERATIONS; TRANSPORTING
- B23—MACHINE TOOLS; METAL-WORKING NOT OTHERWISE PROVIDED FOR
- B23Q—DETAILS, COMPONENTS, OR ACCESSORIES FOR MACHINE TOOLS, e.g. ARRANGEMENTS FOR COPYING OR CONTROLLING; MACHINE TOOLS IN GENERAL CHARACTERISED BY THE CONSTRUCTION OF PARTICULAR DETAILS OR COMPONENTS; COMBINATIONS OR ASSOCIATIONS OF METAL-WORKING MACHINES, NOT DIRECTED TO A PARTICULAR RESULT
- B23Q11/00—Accessories fitted to machine tools for keeping tools or parts of the machine in good working condition or for cooling work; Safety devices specially combined with or arranged in, or specially adapted for use in connection with, machine tools
- B23Q11/0042—Devices for removing chips
- B23Q11/005—Devices for removing chips by blowing
-
- B—PERFORMING OPERATIONS; TRANSPORTING
- B23—MACHINE TOOLS; METAL-WORKING NOT OTHERWISE PROVIDED FOR
- B23Q—DETAILS, COMPONENTS, OR ACCESSORIES FOR MACHINE TOOLS, e.g. ARRANGEMENTS FOR COPYING OR CONTROLLING; MACHINE TOOLS IN GENERAL CHARACTERISED BY THE CONSTRUCTION OF PARTICULAR DETAILS OR COMPONENTS; COMBINATIONS OR ASSOCIATIONS OF METAL-WORKING MACHINES, NOT DIRECTED TO A PARTICULAR RESULT
- B23Q3/00—Devices holding, supporting, or positioning work or tools, of a kind normally removable from the machine
- B23Q3/02—Devices holding, supporting, or positioning work or tools, of a kind normally removable from the machine for mounting on a work-table, tool-slide, or analogous part
- B23Q3/06—Work-clamping means
- B23Q3/08—Work-clamping means other than mechanically-actuated
- B23Q3/082—Work-clamping means other than mechanically-actuated hydraulically actuated
-
- B—PERFORMING OPERATIONS; TRANSPORTING
- B23—MACHINE TOOLS; METAL-WORKING NOT OTHERWISE PROVIDED FOR
- B23Q—DETAILS, COMPONENTS, OR ACCESSORIES FOR MACHINE TOOLS, e.g. ARRANGEMENTS FOR COPYING OR CONTROLLING; MACHINE TOOLS IN GENERAL CHARACTERISED BY THE CONSTRUCTION OF PARTICULAR DETAILS OR COMPONENTS; COMBINATIONS OR ASSOCIATIONS OF METAL-WORKING MACHINES, NOT DIRECTED TO A PARTICULAR RESULT
- B23Q5/00—Driving or feeding mechanisms; Control arrangements therefor
- B23Q5/22—Feeding members carrying tools or work
- B23Q5/34—Feeding other members supporting tools or work, e.g. saddles, tool-slides, through mechanical transmission
- B23Q5/38—Feeding other members supporting tools or work, e.g. saddles, tool-slides, through mechanical transmission feeding continuously
- B23Q5/40—Feeding other members supporting tools or work, e.g. saddles, tool-slides, through mechanical transmission feeding continuously by feed shaft, e.g. lead screw
Landscapes
- Engineering & Computer Science (AREA)
- Mechanical Engineering (AREA)
- Milling Processes (AREA)
Abstract
The invention provides a multi-station machining device for a metal connecting piece of a tower crane, which comprises a metal connecting component and machining equipment for processing the metal connecting component; the processing equipment of the metal connecting component comprises a chamfered edge and a chamfered corner, wherein the chamfered edge is in a plane shape. According to the invention, the sliding base provided with the machined part is driven to move through the driving mechanism, the second milling cutter disc is driven through the two milling cutter discs and the trimming motor, so that the trimming treatment can be carried out on the metal connecting component, the first milling cutter disc is driven through the chamfering motor, the angle of the first milling cutter disc can be adjusted, and the chamfering treatment can be carried out on the metal connecting component.
Description
Technical Field
The invention relates to the field of tower crane connecting pieces, in particular to a multi-station machining device for a tower crane connecting piece.
Background
The tower crane is the most common hoisting equipment on the construction site, also called tower crane, and is used for hoisting construction raw materials such as reinforcing steel bars, wood ridges, concrete, steel pipes and the like for construction by the extension (height) of one section and one section (called standard section for short). The tower crane is an indispensable device on a construction site.
The tower crane is characterized in that a plurality of cylindrical steel pipes are required to be fixedly connected to ensure the stability of the tower crane, however, due to the fact that the steel pipes are of cylindrical structures, external connecting pieces are generally needed when the tower hanging plate and the steel pipes are fixed, as shown in the attached drawing 1, the welding surfaces between the metal connecting component 1a and the tower crane plate are only two ends, and the stability is not high, therefore, the multi-station machining device for the tower crane connecting piece is provided, the metal connecting component 1a can be further machined, the welding surface between the metal connecting component 1a and the tower crane plate is increased, and as shown in the attached drawing 5, the stability of the tower crane is improved.
Disclosure of Invention
The invention aims to provide a multi-station machining device for a tower crane connecting piece, and aims to solve the technical problem.
In order to solve the technical problems, the invention adopts the following technical scheme: a multi-station machining device for a tower crane connecting piece comprises a metal connecting component and machining equipment for processing the metal connecting component; the metal connecting component comprises a chamfered edge and a chamfered corner, wherein the chamfered edge is in a plane shape and is arranged on a vertical surface of the outer wall of the metal connecting component, and the chamfered corner is positioned at the upper side and the lower side of the chamfered edge and is positioned at the upper end and the lower end of the metal connecting component;
the machining equipment comprises a conveying table, a sliding base, workpiece placing plates and a gear box, wherein the top of the conveying table is connected with the sliding base in a sliding mode through a sliding mechanism, two sides of the top of the sliding base are connected with the two workpiece placing plates through positioning bolts in a threaded mode, a plurality of workpiece placing grooves are formed in the workpiece placing plates at equal intervals, and the metal connecting components are placed in the workpiece placing grooves;
carry the platform both sides to be equipped with the gear box, one side that the platform was carried to the gear box orientation is provided with second milling cutter dish, one side of second milling cutter dish is run through the gear box transmission and is connected with the edging motor, one side of carrying the platform can be dismantled and be fixed with a plurality of angle cutting motors, and the angle accessible of angle cutting motor is dismantled and is adjusted, one side that the platform was carried to the angle cutting motor orientation is connected with first milling cutter dish.
Preferably, the sliding assembly on the sliding base moves back and forth, the sliding assembly comprises first sliding blocks arranged on the conveying table, a ball screw arranged between the two first sliding blocks and a driving motor located in the conveying table, and the driving motor drives the ball screw to control the conveying table to move back and forth.
Preferably, the workpiece placing groove is of an arc-shaped structure, and the arc-shaped opening faces two side edges of the conveying table.
Preferably, a plurality of positioning holes are transversely formed in the workpiece placing plate and extend into the workpiece placing groove, a hydraulic oil cylinder is arranged on the workpiece placing plate and located on the positioning holes, and the hydraulic oil cylinder penetrates through the positioning holes through a telescopic rod and extends into the workpiece placing groove.
Preferably, a high-pressure gas chip blowing device is arranged between the limiting blocks.
Preferably, the processing equipment for processing the metal connecting component is automatically controlled by one key through a set control program.
Compared with the prior art, the multi-station machining device for the connecting piece of the tower crane provided by the invention has the following beneficial effects:
firstly, a metal connecting assembly is placed in a workpiece placing groove on a workpiece placing plate, a first milling cutter disc and a second milling cutter disc are arranged at the same time, a sliding base provided with a workpiece is driven to move through a driving mechanism, the second milling cutter disc is driven through two milling cutter discs and a trimming motor, the metal connecting assembly can be trimmed and processed, a first milling cutter disc is driven through a chamfering motor, the angle of the first milling cutter disc can be adjusted, and the metal connecting assembly can be chamfered;
secondly, because the work piece is placed and can be dismantled through positioning bolt between board and the sliding bottom and be connected, consequently when using, the user can be according to the variation in size of original steel pipe assembly, place the board to the work piece and adjust the change, and the maintenance etc. in the later stage of being convenient for, set up first slider and second slider in sliding bottom simultaneously, and first slider is different with second slider shape, and all slide in first spout and second spout, consequently can greatly increased sliding bottom is at the stability of carrying the bench, and then guarantee the stability when metal coupling assembling removes.
Drawings
FIG. 1 is a schematic perspective view of a metal connection assembly according to the present invention;
FIG. 2 is a schematic perspective view of a metal connecting assembly according to the present invention;
FIG. 3 is a schematic perspective view of a multi-station processing device for a tower crane connecting piece according to the present invention;
FIG. 4 is a cross-sectional view of a workpiece holding structure according to the present invention;
FIG. 5 is a schematic view of a driving structure of the sliding base according to the present invention;
fig. 6 is a schematic structural view of a conventional metal connecting component 1a when fixed;
fig. 7 is a schematic structural view of the metal connecting component 1 of the present invention when fixed;
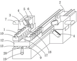
reference numerals: 1. a metal connection assembly; 1a, a traditional metal connecting component, 101, chamfering; 102. trimming; 2. a conveying table; 3. a gear case; 4. a chamfering motor; 5. a first milling cutter disc; 6. a second facing cutter; 7. a trimming motor; 9. a first slider; 10. a workpiece placing plate; 12. a sliding base; 13. a second slider; 15. a workpiece placing groove; 16. positioning the bolt; 17. a hydraulic cylinder; 18. positioning holes; 19. a drive motor; 20. a ball screw.
Detailed Description
In order to make the technical means, the original characteristics, the achieved purposes and the effects of the invention easily understood, the invention is further described below with reference to the specific embodiments and the attached drawings, but the following embodiments are only the preferred embodiments of the invention, and not all embodiments. Based on the embodiments in the implementation, other embodiments obtained by those skilled in the art without any creative efforts belong to the protection scope of the present invention.
Referring to fig. 1, fig. 2, fig. 3, fig. 4, fig. 5, fig. 6, and fig. 7, a schematic structural view of a conventional metal connecting component 1a of fig. 6 is shown when it is fixed; traditional metal connecting assembly 1a is when fixing, because its surface is the arc form, consequently when fixing with tower machine plate, traditional metal connecting assembly 1a is little with tower machine plate's face of weld, must adopt external fastener to assist, is difficult for fixing, and stability when using is not high.
In the specific implementation process, as shown in fig. 1 to 7, the metal connecting component comprises a metal connecting component 1 and processing equipment for processing the metal connecting component 1; the metal connecting component 1 comprises a chamfered edge 102 and a chamfered corner 101, wherein the chamfered edge 102 is in a planar shape and is arranged on a vertical surface of the outer wall of the metal connecting component 1, and the chamfered corner 101 is positioned on the upper side and the lower side of the chamfered edge 102 and is positioned on the upper end and the lower end of the metal connecting component 1;
the machining equipment comprises a conveying table 2, a sliding base 12, workpiece placing plates 10 and a gear box 3, wherein the top of the conveying table 2 is connected with the sliding base 12 in a sliding mode through a sliding mechanism, two sides of the top of the sliding base 12 are connected with the two workpiece placing plates 10 through positioning bolts 16 in a threaded mode, a plurality of workpiece placing grooves 15 are formed in the workpiece placing plates 10 at equal intervals, and the metal connecting assembly 1 is placed in the workpiece placing grooves 15;
carry 2 both sides of platform to be equipped with gear box 3, one side that platform 2 was carried to gear box 3 orientation is provided with second milling cutter dish 6, one side of second milling cutter dish 6 is run through gear box 3 transmission and is connected with edging motor 7, one side of carrying platform 2 can be dismantled and be fixed with a plurality of angle motors 4, and the angle accessible of angle motor 4 is dismantled and is adjusted, one side that platform 2 was carried to angle motor 4 orientation is connected with first milling cutter dish 5.
In the specific implementation process, as shown in fig. 1 to 7, the sliding base 12 moves back and forth through a sliding assembly arranged on the conveying table 2, the sliding assembly includes first sliding blocks 9 arranged on the conveying table 2, a ball screw 20 arranged between the two first sliding blocks 9, and a driving motor 19 located in the conveying table 2, and the driving motor 19 drives the ball screw 20 to control the conveying table 2 to move back and forth.
In the specific implementation, as shown in fig. 1 to 7, the workpiece placement slot 15 has an arc-shaped structure, and the arc-shaped opening faces two sides of the conveying table 2.
In the specific implementation process, as shown in fig. 1 to 7, a plurality of positioning holes 18 are transversely formed in the workpiece placing plate 10, the positioning holes 18 extend into the workpiece placing groove 15, a hydraulic cylinder 17 is arranged on the workpiece placing plate 10 and located on the positioning holes 18, and the hydraulic cylinder 17 penetrates through the positioning holes 18 through an expansion link and extends into the workpiece placing groove 15.
In the specific implementation process, as shown in fig. 1-7, a high-pressure gas chip blowing device is arranged between the limiting blocks 3.
In the specific implementation process, as shown in fig. 1 to 7, the processing equipment for processing the metal connecting component 1 is automatically controlled by one key through a set control program.
The working principle of the invention is as follows: when the milling cutter is used, firstly, the metal connecting component 1 is placed in the workpiece placing groove 15 on the workpiece placing plate 10, then the position of the second milling cutter head 6 is adjusted through the edge-cutting motor 7, meanwhile, the position of the first milling cutter head 5 is correspondingly adjusted through adjusting the angle of the angle-cutting motor 4, the adjustment can be correspondingly adjusted according to the position of the metal connecting component 1, then the driving motor 19 drives the ball screw 20 to rotate, further drives the sliding base 12 to move back and forth on the ball screw 20, further adjusts and drives the metal connecting component 1 to move back and forth, when the milling cutter moves to the position of the first milling cutter head 5, the first milling cutter head 5 can carry out angle-cutting treatment on the metal connecting component 1, when the milling cutter moves to the position of the second milling cutter head 6, the second milling cutter head 6 can carry out edge-cutting treatment on the metal connecting component 1, can accomplish the processing of steel pipe component, then when the use in later stage, when the cylinder steel pipe is connected with tower machine plate, but greatly increased the area of contact between cylinder steel pipe and the tower machine plate, increase stability between the two.
Compared with the prior art, the multi-station machining device for the connecting piece of the tower crane provided by the invention has the following beneficial effects:
firstly, the metal connecting assembly 1 is placed in a workpiece placing groove 11 on a workpiece placing plate 10, a first milling cutter disc 5 and a second milling cutter disc 6 are arranged at the same time, the second milling cutter disc 6 is driven by an edge cutting motor 7, the edge cutting treatment can be carried out on the metal connecting assembly 1, the first milling cutter disc 5 is driven by an angle cutting motor 4, the angle of the first milling cutter disc 5 can be adjusted, the angle cutting treatment can be carried out on the metal connecting assembly 1, the edge cutting and the angle cutting treatment can be carried out on the metal connecting assembly 1 by adopting the integrated arrangement, so that the metal connecting assembly 1 in the technology is obtained, the edge cutting and the angle cutting of the surface of the cylindrical steel pipe can improve the contact surface of molten iron welded between a metal frame and the metal connecting piece of a tower crane, and the stability between the metal connecting assembly and a plate of the tower;
secondly, because the work piece is placed and can be dismantled through positioning bolt 16 and be connected between board 10 and the sliding bottom 12, consequently, when using, the user can be according to the size difference of original works steel pipe component 1, place board 10 to the work piece and adjust the change, and be convenient for the maintenance in later stage etc., set up first slider 9 and second slider 13 in the bottom of sliding bottom 12 simultaneously, and first slider 9 is different with second slider 13 shape, and all slide in first spout 201 and second spout 202, consequently, can greatly increased sliding bottom 12 is at the stability of carrying on the platform 2, and then guarantee the stability when metal coupling assembling 1 removes.
The foregoing shows and describes the general principles, essential features, and advantages of the invention. It will be understood by those skilled in the art that the present invention is not limited to the embodiments described above, and the preferred embodiments of the present invention are described in the above embodiments and the description, and are not intended to limit the present invention. The scope of the invention is defined by the appended claims and equivalents thereof.
Claims (6)
1. The multi-station machining device for the connecting piece of the tower crane is characterized by comprising a metal connecting component (1) and machining equipment for processing the metal connecting component (1); the metal connecting component (1) comprises a chamfered edge (102) and a chamfered corner (101), wherein the chamfered edge (102) is in a planar shape and is arranged on a vertical surface of the outer wall of the metal connecting component (1), and the chamfered corner (101) is positioned on the upper side and the lower side of the chamfered edge (102) and is positioned on the upper end and the lower end of the metal connecting component (1);
the machining equipment comprises a conveying table (2), a sliding base (12), workpiece placing plates (10) and a gear box (3), wherein the top of the conveying table (2) is connected with the sliding base (12) in a sliding mode through a sliding mechanism, two sides of the top of the sliding base (12) are connected with the two workpiece placing plates (10) through positioning bolts (16) in a threaded mode, a plurality of workpiece placing grooves (15) are formed in the workpiece placing plates (10) at equal intervals, and the metal connecting assembly (1) is placed in the workpiece placing grooves (15);
carry platform (2) both sides to be equipped with gear box (3), one side that gear box (3) orientation carried platform (2) is provided with second milling cutter dish (6), one side of second milling cutter dish (6) is run through gear box (3) transmission and is connected with edging motor (7), one side of carrying platform (2) can be dismantled and be fixed with a plurality of angle motors (4), and the angle accessible of angle motor (4) is dismantled and is adjusted, one side that angle motor (4) orientation carried platform (2) is connected with first milling cutter dish (5).
2. The multi-station machining device for the tower crane connecting piece as claimed in claim 1, wherein: the sliding base (12) moves back and forth through a sliding assembly arranged on the conveying table (2), the sliding assembly comprises first sliding blocks (9) arranged on the conveying table (2), ball screws (20) arranged between the two first sliding blocks (9) and a driving motor (19) located in the conveying table (2), and the driving motor (19) drives the ball screws (20) to control the conveying table (2) to move back and forth.
3. The multi-station machining device for the tower crane connecting piece as claimed in claim 1, wherein: the workpiece placing groove (15) is of an arc-shaped structure, and the arc-shaped opening faces to two side edges of the conveying platform (2).
4. The multi-station machining device for the tower crane connecting piece as claimed in claim 1, wherein: the workpiece placing plate (10) is transversely provided with a plurality of positioning holes (18), the positioning holes (18) extend into the workpiece placing groove (15), the workpiece placing plate (10) is provided with a hydraulic oil cylinder (17) which is positioned on the positioning holes (18), and the hydraulic oil cylinder (17) penetrates through the positioning holes (18) through a telescopic rod and extends into the workpiece placing groove (15).
5. The multi-station machining device for the tower crane connecting piece as claimed in claim 1, wherein: and a high-pressure gas chip blowing device is arranged between the limiting blocks (3).
6. The multi-station machining device for the tower crane connecting piece as claimed in claim 1, wherein: and the processing equipment for processing the metal connecting component (1) is automatically controlled by one key through a set control program.
Priority Applications (1)
| Application Number | Priority Date | Filing Date | Title |
|---|---|---|---|
| CN202011348072.7A CN112517989A (en) | 2020-11-26 | 2020-11-26 | Multi-station machining device for tower crane connecting piece |
Applications Claiming Priority (1)
| Application Number | Priority Date | Filing Date | Title |
|---|---|---|---|
| CN202011348072.7A CN112517989A (en) | 2020-11-26 | 2020-11-26 | Multi-station machining device for tower crane connecting piece |
Publications (1)
| Publication Number | Publication Date |
|---|---|
| CN112517989A true CN112517989A (en) | 2021-03-19 |
Family
ID=74993695
Family Applications (1)
| Application Number | Title | Priority Date | Filing Date |
|---|---|---|---|
| CN202011348072.7A Pending CN112517989A (en) | 2020-11-26 | 2020-11-26 | Multi-station machining device for tower crane connecting piece |
Country Status (1)
| Country | Link |
|---|---|
| CN (1) | CN112517989A (en) |
Cited By (2)
| Publication number | Priority date | Publication date | Assignee | Title |
|---|---|---|---|---|
| CN114406322A (en) * | 2022-03-08 | 2022-04-29 | 滨海县广源纺织机械有限公司 | Numerical control double-shaft multi-station milling machine |
| CN119703807A (en) * | 2025-03-03 | 2025-03-28 | 中国建筑第六工程局有限公司 | A kind of auxiliary processing device for buckle tower connection |
-
2020
- 2020-11-26 CN CN202011348072.7A patent/CN112517989A/en active Pending
Cited By (2)
| Publication number | Priority date | Publication date | Assignee | Title |
|---|---|---|---|---|
| CN114406322A (en) * | 2022-03-08 | 2022-04-29 | 滨海县广源纺织机械有限公司 | Numerical control double-shaft multi-station milling machine |
| CN119703807A (en) * | 2025-03-03 | 2025-03-28 | 中国建筑第六工程局有限公司 | A kind of auxiliary processing device for buckle tower connection |
Similar Documents
| Publication | Publication Date | Title |
|---|---|---|
| CN112517989A (en) | Multi-station machining device for tower crane connecting piece | |
| CN214417738U (en) | Multi-station machining device for tower crane connecting piece | |
| KR101079283B1 (en) | Medium and large size machine minimizes deformation | |
| CN213615353U (en) | Multifunctional overturning platform | |
| CN211539632U (en) | Automatic gantry milling machine | |
| CN114603186A (en) | Numerical control double-end gantry milling device | |
| CN209647641U (en) | A kind of novel drilling-machine | |
| CN218109460U (en) | Steel ladle wood grooving machine | |
| TWI804395B (en) | Processing equipment | |
| TWI804205B (en) | Drilling device | |
| CN206241358U (en) | A kind of steel construction cutting machine | |
| TW202304617A (en) | Milling edge device and milling edge component thereof | |
| CN210677874U (en) | Clamping mechanism of machining center | |
| TWM630970U (en) | Processing equipment | |
| CN221088130U (en) | Aluminum mould board production is with centre gripping frock | |
| CN220095055U (en) | Dalle cutting platform and cutting equipment | |
| TW202304616A (en) | Milling height device and milling height component thereof | |
| CN220880645U (en) | Large plate material length direction threaded hole machining device | |
| CN219786672U (en) | Movable right-angle milling special machine device | |
| CN212823857U (en) | Plate drilling, groove-drawing and milling all-in-one machine | |
| CN214490026U (en) | Automatic system for realizing automatic workpiece polishing by using robot | |
| CN115476000B (en) | Efficient chamfering machine | |
| CN220533266U (en) | Multi-purpose double-station three-dimensional five-axis laser cutting machine | |
| CN222972367U (en) | Timber cutting equipment | |
| CN222078129U (en) | 45-Degree beveling machine for aluminum pipe |
Legal Events
| Date | Code | Title | Description |
|---|---|---|---|
| PB01 | Publication | ||
| PB01 | Publication | ||
| WD01 | Invention patent application deemed withdrawn after publication |
Application publication date: 20210319 |