CN112495659B - Municipal administration is with quick spray cooling system - Google Patents
Municipal administration is with quick spray cooling system Download PDFInfo
- Publication number
- CN112495659B CN112495659B CN202011372234.0A CN202011372234A CN112495659B CN 112495659 B CN112495659 B CN 112495659B CN 202011372234 A CN202011372234 A CN 202011372234A CN 112495659 B CN112495659 B CN 112495659B
- Authority
- CN
- China
- Prior art keywords
- rod
- water
- water pipe
- cooling system
- spray cooling
- Prior art date
- Legal status (The legal status is an assumption and is not a legal conclusion. Google has not performed a legal analysis and makes no representation as to the accuracy of the status listed.)
- Active
Links
- 238000001816 cooling Methods 0.000 title claims abstract description 24
- 239000007921 spray Substances 0.000 title claims abstract description 18
- XLYOFNOQVPJJNP-UHFFFAOYSA-N water Substances O XLYOFNOQVPJJNP-UHFFFAOYSA-N 0.000 claims abstract description 85
- 238000002347 injection Methods 0.000 claims abstract description 23
- 239000007924 injection Substances 0.000 claims abstract description 23
- 238000003466 welding Methods 0.000 claims description 5
- 210000000476 body water Anatomy 0.000 abstract description 3
- 230000000694 effects Effects 0.000 abstract description 3
- 238000012423 maintenance Methods 0.000 abstract description 2
- 238000005507 spraying Methods 0.000 description 10
- 238000009434 installation Methods 0.000 description 4
- 238000000034 method Methods 0.000 description 2
- 239000000243 solution Substances 0.000 description 2
- 230000009286 beneficial effect Effects 0.000 description 1
- 238000010276 construction Methods 0.000 description 1
- 238000010586 diagram Methods 0.000 description 1
- 238000011900 installation process Methods 0.000 description 1
- 230000004048 modification Effects 0.000 description 1
- 238000012986 modification Methods 0.000 description 1
- 238000003825 pressing Methods 0.000 description 1
Images
Classifications
-
- B—PERFORMING OPERATIONS; TRANSPORTING
- B05—SPRAYING OR ATOMISING IN GENERAL; APPLYING FLUENT MATERIALS TO SURFACES, IN GENERAL
- B05B—SPRAYING APPARATUS; ATOMISING APPARATUS; NOZZLES
- B05B15/00—Details of spraying plant or spraying apparatus not otherwise provided for; Accessories
- B05B15/60—Arrangements for mounting, supporting or holding spraying apparatus
-
- B—PERFORMING OPERATIONS; TRANSPORTING
- B05—SPRAYING OR ATOMISING IN GENERAL; APPLYING FLUENT MATERIALS TO SURFACES, IN GENERAL
- B05B—SPRAYING APPARATUS; ATOMISING APPARATUS; NOZZLES
- B05B15/00—Details of spraying plant or spraying apparatus not otherwise provided for; Accessories
- B05B15/40—Filters located upstream of the spraying outlets
-
- B—PERFORMING OPERATIONS; TRANSPORTING
- B05—SPRAYING OR ATOMISING IN GENERAL; APPLYING FLUENT MATERIALS TO SURFACES, IN GENERAL
- B05B—SPRAYING APPARATUS; ATOMISING APPARATUS; NOZZLES
- B05B15/00—Details of spraying plant or spraying apparatus not otherwise provided for; Accessories
- B05B15/60—Arrangements for mounting, supporting or holding spraying apparatus
- B05B15/68—Arrangements for adjusting the position of spray heads
-
- B—PERFORMING OPERATIONS; TRANSPORTING
- B05—SPRAYING OR ATOMISING IN GENERAL; APPLYING FLUENT MATERIALS TO SURFACES, IN GENERAL
- B05B—SPRAYING APPARATUS; ATOMISING APPARATUS; NOZZLES
- B05B9/00—Spraying apparatus for discharge of liquids or other fluent material, without essentially mixing with gas or vapour
Landscapes
- Details Or Accessories Of Spraying Plant Or Apparatus (AREA)
- Nozzles (AREA)
Abstract
The invention belongs to the technical field of spray cooling systems, and particularly relates to a rapid spray cooling system for municipal management, which comprises a main body water pipe and a water pump, wherein one end of the water pump is sleeved with an external water pipe, one end of the external water pipe is connected with a water inlet in a buckling manner, one side of the water inlet is integrally connected with a connecting seat, the interior of one side of the connecting seat is fixedly connected with a filter screen through screws, one side of the connecting seat is welded with a fixing plate, one side of the fixing plate is fixedly connected with screws through screws, the outer surface of the connecting seat is sleeved with a connecting sleeve, one side of the connecting sleeve is integrally connected with a first thread, one end of the connecting sleeve is provided with a connecting port, so that vaporific water vapor in the air is distributed more uniformly, the cooling effect is better, the practicability is higher, and a water injection rod is rotatably connected with a connecting switch thread, so that the disassembly and maintenance are convenient, and does not affect the work of other atomizing nozzles.
Description
Technical Field
The invention belongs to the technical field of spray cooling systems, and particularly relates to a rapid spray cooling system for municipal management.
Background
Municipal construction is through carrying out atomizing treatment with water in order to reach the purpose that the within range ambient temperature reduces, is used for the intensive outdoor place of personnel more, and the installation and the dismantlement of current spray cooling device are all more troublesome to the shower nozzle is in fixed state, and the scope of spraying has the limitation.
Disclosure of Invention
In order to solve the problems in the prior art, the invention provides a rapid spraying and cooling system for municipal management, which has the characteristics that a connecting sleeve and a connecting cap are rapidly installed and an atomizing nozzle on a water injection rod swings for spraying.
In order to achieve the purpose, the invention provides the following technical scheme: a rapid spraying and cooling system for municipal administration comprises a main body water pipe and a water pump, wherein one end of the water pump is sleeved with an external water pipe, one end of the external water pipe is connected with a water inlet in a buckling manner, one side of the water inlet is integrally connected with a connecting seat, one side of the connecting seat is internally and fixedly connected with a filter screen through screws, one side of the connecting seat is welded with a fixing plate, one side of the fixing plate is fixedly connected with screws through screws, the outer surface of the connecting seat is sleeved with a connecting sleeve, one side of the connecting sleeve is integrally connected with first threads, one end of the connecting sleeve is provided with a connecting port, one side of the water pipe is welded with a connecting switch, one side of the water pipe is provided with a convex ring, the outer surface of the water pipe is sleeved with a connecting cap, the surface of the connecting switch is provided with second threads, one side of the second threads is integrally connected with a water injection rod, the water injection hose has been cup jointed to one side of water injection pole, the welding of one side of water injection pole has the second connecting plate, the motor has been cup jointed to the inside of second connecting plate, the one end integral type of motor is connected with the second gear, the surface buckle of second gear is connected with first gear, one side integral type of first gear is connected with the lead screw, the surface of lead screw rotates and is connected with the nut, the lead screw passes through nut sliding connection has the slide, one side of lead screw rotates through the pivot and is connected with first connecting plate, one side of slide is rotated through the screw and is connected with the head rod, the one end of head rod is rotated through the screw and is connected with the second connecting rod, the one end welding of second connecting rod has atomizer.
As a preferred technical scheme of the rapid spraying and cooling system for municipal management, the diameter of the water pipe is one millimeter smaller than that of the connecting port.
As a preferred technical scheme of the rapid spraying and cooling system for municipal management, the inner surface of the connecting cap is provided with threads.
As the preferable technical scheme of the rapid spraying and cooling system for municipal management, the number of the second connecting rods is two, and the second connecting rods are symmetrically distributed at the midpoint of the water injection rod.
As the preferable technical scheme of the rapid spraying and cooling system for municipal management, one side of the first connecting rod is rotatably connected with the second connecting plate through a screw.
As the preferable technical scheme of the rapid spraying and cooling system for municipal management, two first connecting plates are arranged and are symmetrically distributed by the middle point of the screw rod.
Compared with the prior art, the invention has the beneficial effects that: fix the connecting seat on the wall at first through screw and fixed plate, through adapter sleeve and connecting cap with water pipe and connecting seat fixed connection together, make the work of installation and demolition all bring very big facility, less work load, make the second gear drive first gear revolve under the effect of motor, make lead screw normal running fit nut rotate and make the slide move at the lead screw surface, the slide removes just to drive the head rod and removes, and then make the second connecting rod drive atomizer swing back and forth spray cooling, make the spray regime of shower nozzle more extensive, make the vaporific steam distribution in the air more even, the effect of cooling is better, the practicality is higher, and the water injection pole all is connected with the rotation of connecting switch screw thread, convenient to detach maintenance, and do not influence all the other atomizer works.
Drawings
The accompanying drawings, which are included to provide a further understanding of the invention and are incorporated in and constitute a part of this specification, illustrate embodiments of the invention and together with the description serve to explain the principles of the invention and not to limit the invention. In the drawings:
FIG. 1 is a schematic structural view of the present invention;
FIG. 2 is a schematic view of the structure of A in FIG. 1 according to the present invention;
FIG. 3 is a schematic structural view of a water pipe, a connecting cap, a convex ring and a connecting switch according to the present invention;
FIG. 4 is a schematic structural diagram of B in FIG. 1 according to the present invention;
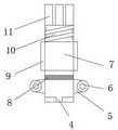
in the figure: 1. a water pipe; 2. is externally connected with a water pipe; 3. a water pump; 4. a water inlet; 5. a fixing plate; 6. a screw; 7. a connecting seat; 8. a filter screen; 9. connecting sleeves; 10. a first thread; 11. a connecting port; 12. a connecting switch; 13. a connecting cap; 14. a convex ring; 15. a water injection rod; 16. a water injection hose; 17. a first connecting plate; 18. a first connecting rod; 19. an atomizing spray head; 20. a screw rod; 21. a nut; 22. a first gear; 23. a second gear; 24. a motor; 25. a second connecting plate; 26. a second thread; 27. a second connecting rod; 28. a slide board.
Detailed Description
The technical solutions in the embodiments of the present invention will be clearly and completely described below with reference to the drawings in the embodiments of the present invention, and it is obvious that the described embodiments are only a part of the embodiments of the present invention, and not all of the embodiments. All other embodiments, which can be derived by a person skilled in the art from the embodiments given herein without making any creative effort, shall fall within the protection scope of the present invention.
Examples
Referring to fig. 1-4, the present invention provides the following technical solutions: a quick spray cooling system for municipal administration comprises a main body water pipe 1 and a water pump 3, wherein one end of the water pump 3 is sleeved with an external water pipe 2, one end of the external water pipe 2 is connected with a water inlet 4 in a buckling manner, one side of the water inlet 4 is integrally connected with a connecting seat 7, one side of the connecting seat 7 is internally and fixedly connected with a filter screen 8 through screws, one side of the connecting seat 7 is welded with a fixing plate 5, one side of the fixing plate 5 is fixedly connected with a screw 6 through threads, the outer surface of the connecting seat 7 is sleeved with a connecting sleeve 9, one side of the connecting sleeve 9 is integrally connected with a first thread 10, one end of the connecting sleeve 9 is provided with a connecting port 11, one side of the water pipe 1 is welded with a connecting switch 12, one side of the water pipe 1 is provided with a convex ring 14, the outer surface of the water pipe 1 is sleeved with a connecting cap 13, the surface of the connecting switch 12 is provided with a second thread 26, one side of the second thread 26 is integrally connected with a water injection rod 15, one side of water injection pole 15 has cup jointed water injection hose 16, one side welding of water injection pole 15 has second connecting plate 25, motor 24 has been cup jointed to the inside of second connecting plate 25, the one end integral type of motor 24 is connected with second gear 23, the surface buckle of second gear 23 is connected with first gear 22, one side integral type of first gear 22 is connected with lead screw 20, the surface of lead screw 20 rotates and is connected with nut 21, lead screw 20 has slide 28 through nut 21 sliding connection, one side of lead screw 20 rotates through the pivot and is connected with first connecting plate 17, one side of slide 28 is connected with first connecting rod 18 through screw rotation, the one end of first connecting rod 18 rotates through the screw and is connected with second connecting rod 27, the one end welding of second connecting rod 27 has atomizer 19, in this embodiment, protruding ring 14 can adjust the degree of depth that water pipe 1 inserted in adapter sleeve 9.
Specifically, the diameter of the water pipe 1 is one millimeter smaller than the diameter of the connection port 11, and in this embodiment, the water pipe 1 can be normally inserted into the connection port 11 during installation.
Specifically, the inner surface of the connecting cap 13 is provided with a thread, and in the present embodiment, the inner surface is fixedly connected with the first thread 10 by the rotation of the thread inside the connecting cap 13.
Specifically, the second connecting rods 27 are provided with two, and are symmetrically distributed at the midpoint of the water injection rod 15, in this embodiment, the two second connecting rods 27 work together, so that the practicability of the water injection rod 15 is higher.
Specifically, one side of the first connecting rod 18 is rotatably connected to the second connecting plate 25 through a screw, and in this embodiment, when the first connecting rod 18 swings, the first connecting rod rotates with the second connecting plate 25 to adjust the angle.
Specifically, the first connecting plates 17 are provided in two, and are symmetrically distributed at the midpoint of the screw rod 20.
The working principle and the using process of the invention are as follows: in the use process, in the installation process, firstly, the fixing plate 5 is fixed on the wall surface by using the screw 6, the outer surface of the connecting seat 7 is sleeved with the connecting sleeve 9 to fix the connecting seat 7, one end of the water pipe 1 is inserted into the connecting port 11 until the convex ring 14 is contacted with the connecting port 11, then the connecting cap 13 sleeved on the outer surface of the water pipe 1 is rotatably connected and fixed with the first thread 10, and the connecting port 11 and the outer wall of the water pipe 1 are fixedly connected in a pressing mode at a narrow position due to the fact that one side of the connecting cap 13 is wider and the other side is narrower. The installation and the removal are greatly facilitated, the second thread 26 is continuously and fixedly connected with the connecting switch 12 in a rotating mode, when the water-saving water dispenser is used, an external power supply is started, the water pump 3 injects a water source into the external water pipe 2, the water source enters the connecting seat 7 through the water inlet 4, filter residues in water are filtered through the filter screen 8, the atomizing nozzle 19 is prevented from being blocked by the filter residues and cannot be used, the water source enters the water injection rod 15 through the connecting switch 12 and then enters the second connecting rod 27 through the water injection hose 16, the water source is sprayed out through the atomizing nozzle 19, the motor 24 sleeved inside the second connecting plate 25 drives the second gear 23 to rotate, the second gear 23 further drives the first gear 22 to rotate, the screw rod 20 is rotationally matched with the nut 21 to rotate to enable the sliding plate 28 to move on the outer surface of the screw rod 20, the sliding plate 28 moves to drive the first connecting rod 18 to move, and the second connecting rod 27 rotationally connected with the first connecting rod 18 swings in a large range, the atomizing nozzle 19 is made to spray water in a swinging way, so that the water spraying range is wider.
Finally, it should be noted that: although the present invention has been described in detail with reference to the foregoing embodiments, it will be apparent to those skilled in the art that changes may be made in the embodiments and/or equivalents thereof without departing from the spirit and scope of the invention. Any modification, equivalent replacement, or improvement made within the spirit and principle of the present invention should be included in the protection scope of the present invention.
Claims (6)
1. The utility model provides a municipal administration is with quick spray cooling system, includes water pipe (1) and water pump (3), its characterized in that: the water pump is characterized in that an external water pipe (2) is sleeved at one end of the water pump (3), a water inlet (4) is connected to one end of the external water pipe (2) in a buckling mode, a connecting seat (7) is integrally connected to one side of the water inlet (4), a filter screen (8) is fixedly connected to the inside of one side of the connecting seat (7) through screws, a fixing plate (5) is welded to one side of the connecting seat (7), a screw (6) is fixedly connected to one side of the fixing plate (5) through threads, a connecting sleeve (9) is sleeved on the outer surface of the connecting seat (7), a first thread (10) is integrally connected to one side of the connecting sleeve (9), a connecting port (11) is formed in one end of the connecting sleeve (9), a connecting switch (12) is welded to one side of the water pipe (1), a convex ring (14) is formed in one side of the water pipe (1), and a connecting cap (13) is sleeved on the outer surface of the water pipe (1), the surface of the connecting switch (12) is provided with a second thread (26), one side of the second thread (26) is integrally connected with a water injection rod (15), one side of the water injection rod (15) is sleeved with a water injection hose (16), one side of the water injection rod (15) is welded with a second connecting plate (25), a motor (24) is sleeved inside the second connecting plate (25), one end of the motor (24) is integrally connected with a second gear (23), the outer surface of the second gear (23) is connected with a first gear (22) in a buckling manner, one side of the first gear (22) is integrally connected with a screw rod (20), the outer surface of the screw rod (20) is rotatably connected with a nut (21), the screw rod (20) is slidably connected with a sliding plate (28) through the nut (21), one side of the screw rod (20) is rotatably connected with a first connecting plate (17) through a rotating shaft, one side of slide (28) is connected with head rod (18) through the screw rotation, the one end of head rod (18) is connected with second connecting rod (27) through the screw rotation, the one end welding of second connecting rod (27) has atomizer (19).
2. The rapid spray cooling system for municipal management according to claim 1, wherein: the diameter of the water pipe (1) is one millimeter smaller than that of the connecting port (11).
3. The rapid spray cooling system for municipal management according to claim 1, wherein: the inner surface of the connecting cap (13) is provided with threads.
4. The rapid spray cooling system for municipal management according to claim 1, wherein: the number of the second connecting rods (27) is two, and the second connecting rods are symmetrically distributed at the midpoint of the water injection rod (15).
5. The rapid spray cooling system for municipal management according to claim 1, wherein: one side of the first connecting rod (18) is rotatably connected with the second connecting plate (25) through a screw.
6. The rapid spray cooling system for municipal management according to claim 1, wherein: the number of the first connecting plates (17) is two, and the first connecting plates are symmetrically distributed at the midpoint of the screw rod (20).
Priority Applications (1)
| Application Number | Priority Date | Filing Date | Title |
|---|---|---|---|
| CN202011372234.0A CN112495659B (en) | 2020-11-30 | 2020-11-30 | Municipal administration is with quick spray cooling system |
Applications Claiming Priority (1)
| Application Number | Priority Date | Filing Date | Title |
|---|---|---|---|
| CN202011372234.0A CN112495659B (en) | 2020-11-30 | 2020-11-30 | Municipal administration is with quick spray cooling system |
Publications (2)
| Publication Number | Publication Date |
|---|---|
| CN112495659A CN112495659A (en) | 2021-03-16 |
| CN112495659B true CN112495659B (en) | 2021-11-19 |
Family
ID=74967767
Family Applications (1)
| Application Number | Title | Priority Date | Filing Date |
|---|---|---|---|
| CN202011372234.0A Active CN112495659B (en) | 2020-11-30 | 2020-11-30 | Municipal administration is with quick spray cooling system |
Country Status (1)
| Country | Link |
|---|---|
| CN (1) | CN112495659B (en) |
Family Cites Families (7)
| Publication number | Priority date | Publication date | Assignee | Title |
|---|---|---|---|---|
| US4801051A (en) * | 1984-03-26 | 1989-01-31 | Nordson Corporation | Flow control device for a fluid dispensing apparatus |
| DE4109567C3 (en) * | 1991-03-22 | 1997-03-13 | Precitec Gmbh | Device for processing a workpiece using a laser beam |
| DE20201091U1 (en) * | 2002-01-24 | 2002-08-01 | Systemtechnik Herzog GmbH, 39387 Oschersleben | Stimulator spray head |
| US8104697B2 (en) * | 2008-03-19 | 2012-01-31 | Petrovic John E | Fluid spray control device |
| CN106048957B (en) * | 2016-07-29 | 2018-08-28 | 无锡小天鹅股份有限公司 | Spray equipment for washing machine and the washing machine with it |
| CN109909103A (en) * | 2017-12-13 | 2019-06-21 | 宁波人弘电器有限公司 | A kind of injection spray pipe structure of spraying machine |
| CN210304173U (en) * | 2019-07-09 | 2020-04-14 | 宿州高盛精细化工有限公司 | Slurry atomization spray gun device for production of washing powder |
-
2020
- 2020-11-30 CN CN202011372234.0A patent/CN112495659B/en active Active
Also Published As
| Publication number | Publication date |
|---|---|
| CN112495659A (en) | 2021-03-16 |
Similar Documents
| Publication | Publication Date | Title |
|---|---|---|
| CN110367094A (en) | New energy intelligent irrigation device | |
| CN107926618A (en) | A kind of municipal administration gard watering atomization injection water sprinkler | |
| CN114472302B (en) | Automatic water pressure adjusting cleaning equipment with high-pressure spray head and cleaning method thereof | |
| CN112495659B (en) | Municipal administration is with quick spray cooling system | |
| CN103240205B (en) | A kind of mesolow evenly sprays twin-jet nozzle fluid jet nozzle | |
| CN220143835U (en) | Inner wall spraying equipment for electrical cabinet processing | |
| CN109259694A (en) | A kind of spray system and cleaning machine | |
| CN212184533U (en) | Modern gardens irrigation equipment of efficient | |
| CN106694264B (en) | Fog gun type ultra-low capacity sprayer | |
| CN207950983U (en) | A kind of construction dust guard | |
| CN215648603U (en) | Landscape sprinkling irrigation equipment | |
| CN217377353U (en) | Sewage evaporation equipment | |
| CN105882614A (en) | Automatic car washing machine | |
| CN218486285U (en) | Water-driven self-rotating spray head with adjustable direction | |
| CN103994690B (en) | Rotary spraying and splashing facility | |
| CN108246731A (en) | Lance head and tube cleaning arrangement | |
| CN211595855U (en) | Nozzle of reticular double-cylinder cylindrical electrostatic spinning device | |
| CN109011934A (en) | A kind of dedusting environment friendly equipment | |
| CN208033219U (en) | Lance head and tube cleaning arrangement | |
| CN209391875U (en) | A kind of spray system and cleaning machine | |
| CN220197351U (en) | Dust fall device for polishing equipment | |
| CN222740945U (en) | Cleaning device for numerical control lathe | |
| CN215916930U (en) | Alkali liquor atomizing and spraying device | |
| CN223475279U (en) | Rotary spray head capable of being quickly installed | |
| CN218925019U (en) | Spray gun for spray irrigation |
Legal Events
| Date | Code | Title | Description |
|---|---|---|---|
| PB01 | Publication | ||
| PB01 | Publication | ||
| SE01 | Entry into force of request for substantive examination | ||
| SE01 | Entry into force of request for substantive examination | ||
| GR01 | Patent grant | ||
| GR01 | Patent grant |