CN112451278A - Nursing tool storage bag convenient to carry - Google Patents

Nursing tool storage bag convenient to carry Download PDF

Info

Publication number
CN112451278A
CN112451278A CN202011368502.1A CN202011368502A CN112451278A CN 112451278 A CN112451278 A CN 112451278A CN 202011368502 A CN202011368502 A CN 202011368502A CN 112451278 A CN112451278 A CN 112451278A
Authority
CN
China
Prior art keywords
face
box
storage
annular
storage box
Prior art date
Legal status (The legal status is an assumption and is not a legal conclusion. Google has not performed a legal analysis and makes no representation as to the accuracy of the status listed.)
Pending
Application number
CN202011368502.1A
Other languages
Chinese (zh)
Inventor
陈莹
徐菲
晁春艳
Current Assignee (The listed assignees may be inaccurate. Google has not performed a legal analysis and makes no representation or warranty as to the accuracy of the list.)
Huanghuai University
Original Assignee
Huanghuai University
Priority date (The priority date is an assumption and is not a legal conclusion. Google has not performed a legal analysis and makes no representation as to the accuracy of the date listed.)
Filing date
Publication date
Application filed by Huanghuai University filed Critical Huanghuai University
Priority to CN202011368502.1A priority Critical patent/CN112451278A/en
Publication of CN112451278A publication Critical patent/CN112451278A/en
Pending legal-status Critical Current

Links

Images

Classifications

    • AHUMAN NECESSITIES
    • A61MEDICAL OR VETERINARY SCIENCE; HYGIENE
    • A61GTRANSPORT, PERSONAL CONVEYANCES, OR ACCOMMODATION SPECIALLY ADAPTED FOR PATIENTS OR DISABLED PERSONS; OPERATING TABLES OR CHAIRS; CHAIRS FOR DENTISTRY; FUNERAL DEVICES
    • A61G12/00Accommodation for nursing, e.g. in hospitals, not covered by groups A61G1/00 - A61G11/00, e.g. trolleys for transport of medicaments or food; Prescription lists

Landscapes

  • Health & Medical Sciences (AREA)
  • Nursing (AREA)
  • Life Sciences & Earth Sciences (AREA)
  • Animal Behavior & Ethology (AREA)
  • General Health & Medical Sciences (AREA)
  • Public Health (AREA)
  • Veterinary Medicine (AREA)
  • Purses, Travelling Bags, Baskets, Or Suitcases (AREA)

Abstract

本发明公开了一种便于携带的护理工具存储袋,包括贴合组件、粘结板、第二魔术贴、存储盒、挂笔组件、第一储物组件、第二储物组件和刀片收纳组件,所述粘结板的一侧端面贴合安装有第二魔术贴,且第二魔术贴的外部设置有贴合组件,所述粘结板的另一侧端面固定安装有存储盒,所述存储盒的端面两侧均设置有两个挂笔组件,所述存储盒的端面内侧顶部设置有若干个第一储物组件,所述存储盒的端面内侧中央两侧均设置有第二储物组件,所述存储盒的端面内侧底部设置有刀片收纳组件;该便于携带的护理工具存储袋,结构简单,体积小巧,易于携带,在使用时,方便拿取,能够便于储放不同的护理工具,提高了使用的便捷性。

Figure 202011368502

The invention discloses a storage bag for nursing tools which is easy to carry. , a second magic sticker is installed on one end face of the bonding plate, and a fitting assembly is arranged on the outside of the second magic sticker, and a storage box is fixedly installed on the other end face of the bonding board, and the Both sides of the end surface of the storage box are provided with two pen-hanging components, the inner top of the end surface of the storage box is provided with several first storage components, and both sides of the inner center of the end surface of the storage box are provided with second storage components The inner bottom of the end face of the storage box is provided with a blade storage assembly; the portable nursing tool storage bag has a simple structure, a small volume, is easy to carry, is easy to take when in use, and can easily store different nursing tools , which improves the convenience of use.

Figure 202011368502

Description

Nursing tool storage bag convenient to carry
Technical Field
The invention relates to the field of medical equipment, in particular to a portable nursing tool storage bag.
Background
When a nurse works, the nurse needs to carry a writing pen, a blade and some tools needed for writing files, such as a rubber block and the like; the fragmentary tools are carried in clothes, so that the storage is inconvenient, the blade structure is dangerous, and a nurse is easy to cut fingers when picking the tool; moreover, the storage bag in the prior art is large in size and inconvenient to carry, so that a nursing tool storage bag which is convenient to carry is needed to be designed.
Disclosure of Invention
The invention aims to provide a portable nursing tool storage bag which is simple in structure, small in size, easy to carry, convenient to take when in use, capable of storing different nursing tools conveniently and capable of improving use convenience.
The purpose of the invention can be realized by the following technical scheme:
a portable nursing tool storage bag comprises a laminating assembly, a bonding plate, a second magic tape, a storage box, a pen hanging assembly, a first storage assembly, a second storage assembly and a blade storage assembly, wherein the second magic tape is mounted on one side end face of the bonding plate in a laminating mode, the laminating assembly is arranged outside the second magic tape, the storage box is fixedly mounted on the other side end face of the bonding plate, two pen hanging assemblies are arranged on two sides of the end face of the storage box, a plurality of first storage assemblies are arranged on the top of the inner side of the end face of the storage box, the second storage assembly is arranged on two sides of the center of the inner side of the end face of the storage box, and the blade storage assembly is arranged at the bottom of the inner side of the end face of the;
the blade storage assembly comprises a turnover cover plate, a blade box, a turnover frame, a fixed pin, a rotary bottom rod, a blade rest and a blade sleeve, wherein the turnover cover plate is movably arranged at the inner bottom of the end face of a storage box through a hinge, a handle is arranged at the center of the end face of the turnover cover plate, the fixed pin is arranged on the two sides of the top of the end face of the turnover cover plate in an inserted mode, the fixed pin is fixedly connected with the end face of the fixed pin and the storage box, the blade box is fixedly arranged at the center of the end face of the turnover cover plate in an inserted mode, the turnover frame is fixedly arranged at the two ends of the bottom of the blade box in an inserted mode, the blade rest is arranged between the turnover frames through a screw, the rotary bottom rod is fixedly arranged at the two ends of the bottom of the blade rest.
As a further scheme of the invention: laminating subassembly is including laminating backplate, joint seat, paper clip and first magic subsides, laminating backplate sets up in the outside one side of bonding plate, terminal surface one side fixed mounting of laminating backplate has two joint seats, and one side of joint seat installs the paper clip, the laminating of the terminal surface opposite side of laminating backplate is installed first magic and is pasted, and just first magic subsides and second magic subsides joint.
As a further scheme of the invention: hang a subassembly including hanging base, joint pen socket and arc joint groove, hang base bonding and install in the terminal surface one side of storage box, the terminal surface central authorities fixed mounting who hangs the base has the joint pen socket, and the terminal surface central authorities of joint pen socket have seted up arc joint groove.
As a further scheme of the invention: first storing subassembly includes square lid, square material box and laminating groove, square material box is pegged graft and is installed in the inside one side of terminal surface of storage box, the terminal surface outside fixed mounting of square material box has square lid, and the terminal surface central authorities of square lid install the handle, the laminating groove has all been seted up to the terminal surface both sides of square lid.
As a further scheme of the invention: the square material storage box is characterized in that a first bar-shaped magnetic block is arranged inside the fitting groove, second bar-shaped magnetic blocks are mounted on two sides, located on the square material storage box, of the end face of the storage box in a fitting mode, and the first bar-shaped magnetic block is connected with the second bar-shaped magnetic blocks in a magnetic adsorption mode.
As a further scheme of the invention: the second storage assembly comprises an annular box cover and an annular material box, the annular material box is inserted and installed on one side of the central portion of the end face of the storage box, the annular box cover is fixedly installed on the outer side of the end face of the annular material box, and the handle is installed in the central portion of the end face of the annular box cover.
As a further scheme of the invention: first annular magnetic path is all installed all around in the inboard laminating of terminal surface of annular lid, the terminal surface of storage box inside is located the all laminating of the week side of annular thing magazine and installs second annular magnetic path, and first annular magnetic path is connected with second annular magnetic path magnetic adsorption.
As a further scheme of the invention: a rotating bearing is fixedly installed on one side of the end face of the roll-over stand, and the outer wall of one end of the rotating bottom rod is installed inside the rotating bearing in an inserting mode through a connecting key.
The invention has the beneficial effects that: the portable nursing tool storage bag is simple in structure, small in size, easy to carry, convenient to take and convenient to use, has different storage spaces when being used, can store different tools conveniently, is connected firmly and is not easy to fall off; simultaneously, can accomodate the blade and store, not only have good protection effect to the blade, also can avoid blade fish tail medical personnel's the condition moreover, it is more convenient to use.
Drawings
In order to facilitate understanding for those skilled in the art, the present invention will be further described with reference to the accompanying drawings.
FIG. 1 is a schematic view of the overall structure of the present invention;
FIG. 2 is an isometric view of the present invention;
FIG. 3 is an overall front view of the present invention;
FIG. 4 is an overall side view of the present invention;
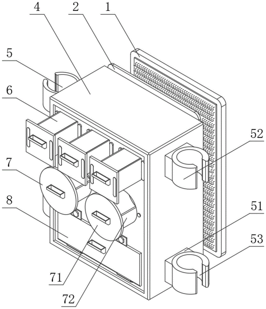
in the figure: 1. fitting the assembly; 2. a bonding plate; 3. a second magic tape; 4. a storage box; 5. a pen hanging component; 6. a first storage assembly; 7. a second storage assembly; 8. a blade receiving assembly; 11. attaching the back plate; 12. a clamping seat; 13. a paper clip; 14. a first magic tape; 51. suspending a base; 52. clamping a pen cap; 53. an arc-shaped clamping groove; 61. a square box cover; 62. a square material box; 63. a fitting groove; 71. an annular box cover; 72. an annular material box; 81. turning over the cover plate; 82. a blade cartridge; 83. a roll-over stand; 84. a fixing pin; 85. rotating the bottom rod; 86. a tool holder; 87. a knife sleeve.
Detailed Description
The technical solutions of the present invention will be described clearly and completely with reference to the following embodiments, and it should be understood that the described embodiments are only a part of the embodiments of the present invention, and not all of the embodiments. All other embodiments, which can be derived by a person skilled in the art from the embodiments given herein without making any creative effort, shall fall within the protection scope of the present invention.
As shown in fig. 1-4, a portable storage bag for nursing tools comprises a sticking component 1, an adhesive plate 2, a second magic tape 3, a storage box 4, a pen hanging component 5, a first storage component 6, a second storage component 7 and a blade storage component 8, wherein the second magic tape 3 is stuck and installed on one side end surface of the adhesive plate 2, and the external part of the second magic tape 3 is provided with a sticking assembly 1, the sticking assembly 1 comprises a sticking back plate 11, a clamping seat 12, a paper clip 13 and a first magic tape 14, the sticking back plate 11 is arranged at one side of the external part of the bonding plate 2, one side of the end surface of the sticking back plate 11 is fixedly provided with two clamping seats 12, and one side of the clamping seat 12 is provided with a paper clip 13, the other side of the end surface of the attaching back plate 11 is attached with a first magic tape 14, the first magic tape 14 is clamped with the second magic tape 3, so that the sticking back plate 11 is conveniently clamped with the second magic tape 3 through the first magic tape 14 so as to be fixed on the bonding plate 2; the storage box 4 is fixedly mounted on the end face of the other side of the bonding plate 2, two pen hanging assemblies 5 are arranged on two sides of the end face of the storage box 4, each pen hanging assembly 5 comprises a hanging base 51, a clamping pen sleeve 52 and an arc-shaped clamping groove 53, the hanging base 51 is mounted on one side of the end face of the storage box 4 in a bonding mode, the clamping pen sleeve 52 is fixedly mounted in the center of the end face of the hanging base 51, and the arc-shaped clamping groove 53 is formed in the center of the end face of the clamping pen sleeve 52 to facilitate storage of writing pens; the top of the inner side of the end face of the storage box 4 is provided with a plurality of first storage assemblies 6, each first storage assembly 6 comprises a square box cover 61, a square material box 62 and a fitting groove 63, the square material box 62 is installed on one side inside the end face of the storage box 4 in an inserted mode, the outer side of the end face of the square material box 62 is fixedly provided with the square box cover 61, a handle is installed in the center of the end face of the square box cover 61, the fitting grooves 63 are formed in two sides of the end face of the square box cover 61, a first strip-shaped magnetic block is arranged inside the fitting grooves 63, second strip-shaped magnetic blocks are installed on two sides, located in the square material box 62, inside the end face of the storage box 4 in a fitted mode, the first strip; the two sides of the center of the inner side of the end face of the storage box 4 are respectively provided with a second storage component 7, each second storage component 7 comprises an annular box cover 71 and an annular material box 72, each annular material box 72 is installed on one side of the center of the end face of the storage box 4 in an inserted mode, the outer side of the end face of each annular material box 72 is fixedly provided with the annular box cover 71, a handle is installed in the center of the end face of each annular box cover 71, the periphery of the inner side of the end face of each annular box cover 71 is provided with a first annular magnetic block in a fit mode, a second annular magnetic block is installed in the end face of the storage box 4 in a fit mode on the four sides of; the bottom of the inner side of the end surface of the storage box 4 is provided with a blade storage component 8; the blade storage assembly 8 comprises a turnover cover plate 81, a blade box 82, a turnover frame 83, a fixing pin 84, a rotating bottom rod 85, a blade carrier 86 and a blade sleeve 87, the turnover cover plate 81 is movably arranged at the bottom of the inner side of the end surface of the storage box 4 through a hinge, and the center of the end surface of the flip cover plate 81 is provided with a handle, the two sides of the top of the end surface of the flip cover plate 81 are inserted with fixing pins 84, the fixing pin 84 is fixedly connected with the end face of the storage box 4, the blade box 82 is fixedly arranged at the center of the end face of the turnover cover plate 81, the blade box 82 is inserted and installed in the storage box 4, the two ends of the bottom of the inner side of the blade box 82 are fixedly provided with the roll-over frames 83 through screws, a plurality of blade holders 86 are arranged between the roll-over frames 83, the two ends of the bottom of the blade holders 86 are fixedly provided with the rotating bottom rods 85, and the rotating bottom rod 85 is movably connected with the roll-over stand 83, and both sides of the end surface of the knife rest 86 are fixedly attached with knife sleeves 87.
The working principle of the invention is as follows: when the multifunctional hanging pen is used, the multifunctional hanging pen is installed on one side of nurse uniform in a clamping mode through the attaching assembly 1, the paper clip 13 on one side of the clamping seat 12 can be conveniently and fixedly clamped on the outer side of the nurse uniform, and then the first magic tape 14 on the outer side of the attaching back plate 11 is connected with the second magic tape 3 on one side of the bonding plate 2, so that the storage box 4 can be conveniently carried, writing pens can be conveniently stored and stored through the pen hanging assembly 5, the writing pens can be installed inside the arc-shaped clamping groove 53 in a clamping mode through the clamping pen sleeve 52 on one side of the hanging base 51, and the taking is convenient; when in use, the bonding plate 2 can be pulled off, so that the second magic tape 3 at one side of the bonding plate 2 is separated from the first magic tape 14, so that the storage box 4 can be taken down, tools in the first storage component 6, the second storage component 7 and the blade storage component 8 can be taken out, the handle at the outer side of the square box cover 61 is pulled, so that the first bar-shaped magnetic block in the fitting groove 63 is separated from the second bar-shaped magnetic block on the end surface of the storage box 4, the square material box 62 is pulled out from the storage box 4, thereby facilitating the taking out of small-volume tools such as rubber and the like stored in the square material box 62, and pulling the grip at the outer side of the annular box cover 71, the first annular magnetic block on the inner side of the annular box cover 71 is separated from the second annular magnetic block on the end face of the storage box 4, and the annular material box 72 is pulled out from the storage box 4, so that the tool for storing the annular material box 72 is taken out conveniently; when the blade needs to be taken out, the fixing pin 84 on the end face of the flip cover plate 81 is separated from the storage box 4, the handle on the outer side of the flip cover plate 81 is pulled, so that the blade box 82 is pulled out from the storage box 4, the flip knife rest 86 rotates in the rotating bearing of the flip frame 83 through the rotating bottom rod 85, so that the knife rest 86 can adjust the angle, thereby the blade inserted in the knife sleeve 87 can be conveniently taken out, the use is convenient, after the use is finished, the square box cover 61 is fixedly adsorbed with the second bar-shaped magnetic block on the end face of the storage box 4 through the first bar-shaped magnetic block, the annular box cover 71 is fixedly adsorbed with the second annular magnetic block on the end face of the storage box 4 through the first annular magnetic block, the tool and the blade are stored in the storage box 4, the second magic tape 3 on one side of the bonding plate 2 is fixedly connected with the first magic tape 14 on the end face, is convenient to carry about.
The preferred embodiments of the invention disclosed above are intended to be illustrative only. The preferred embodiments are not intended to be exhaustive or to limit the invention to the precise embodiments disclosed. Obviously, many modifications and variations are possible in light of the above teaching. The embodiments were chosen and described in order to best explain the principles of the invention and the practical application, to thereby enable others skilled in the art to best utilize the invention. The invention is limited only by the claims and their full scope and equivalents.

Claims (8)

1.一种便于携带的护理工具存储袋,其特征在于,包括贴合组件(1)、粘结板(2)、第二魔术贴(3)、存储盒(4)、挂笔组件(5)、第一储物组件(6)、第二储物组件(7)和刀片收纳组件(8),所述粘结板(2)的一侧端面贴合安装有第二魔术贴(3),且第二魔术贴(3)的外部设置有贴合组件(1),所述粘结板(2)的另一侧端面固定安装有存储盒(4),所述存储盒(4)的端面两侧均设置有两个挂笔组件(5),所述存储盒(4)的端面内侧顶部设置有若干个第一储物组件(6),所述存储盒(4)的端面内侧中央两侧均设置有第二储物组件(7),所述存储盒(4)的端面内侧底部设置有刀片收纳组件(8);1. An easy-to-carry care tool storage bag, characterized in that it comprises a fitting assembly (1), an adhesive board (2), a second Velcro (3), a storage box (4), and a pen-hanging assembly (5). ), a first storage assembly (6), a second storage assembly (7) and a blade storage assembly (8), a second Velcro (3) is attached to one end face of the adhesive plate (2) , and the outside of the second Velcro (3) is provided with a fitting assembly (1), and a storage box (4) is fixedly installed on the other end face of the adhesive plate (2), and the storage box (4) is Two pen-hanging assemblies (5) are arranged on both sides of the end surface, a plurality of first storage assemblies (6) are arranged on the inner top of the end surface of the storage box (4), and the inner center of the end surface of the storage box (4) A second storage assembly (7) is arranged on both sides, and a blade storage assembly (8) is arranged at the inner bottom of the end face of the storage box (4); 所述刀片收纳组件(8)包括翻转盖板(81)、刀片盒(82)、翻转架(83)、固定销(84)、转动底杆(85)、刀架(86)和刀套(87),所述翻转盖板(81)通过合页活动安装在存储盒(4)的端面内侧底部,且翻转盖板(81)的端面中央安装有握把,所述翻转盖板(81)的端面顶部两侧均插接安装有固定销(84),且固定销(84)与存储盒(4)的端面固定连接,所述翻转盖板(81)的端面中央固定安装有刀片盒(82),且刀片盒(82)插接安装在存储盒(4)的内部,所述刀片盒(82)的内侧底部两端均通过螺钉固定安装有翻转架(83),所述翻转架(83)之间设置有若干个刀架(86),所述刀架(86)的底部两端均固定安装有转动底杆(85),且转动底杆(85)与翻转架(83)活动连接,所述刀架(86)的端面两侧均贴合固定安装有刀套(87)。The blade storage assembly (8) includes a flip cover (81), a blade box (82), a flip frame (83), a fixing pin (84), a rotating bottom rod (85), a knife holder (86) and a knife sleeve ( 87), the flip cover (81) is movably installed on the inner bottom of the end face of the storage box (4) through hinges, and a handle is installed in the center of the end face of the flip cover (81), and the flip cover (81) A fixing pin (84) is inserted and installed on both sides of the top of the end face, and the fixing pin (84) is fixedly connected with the end face of the storage box (4), and a blade box ( 82), and the blade box (82) is inserted and installed inside the storage box (4), and both ends of the inner bottom of the blade box (82) are fixedly installed with a turning frame (83) by screws, and the turning frame ( 83) a plurality of tool rests (86) are arranged between, and the bottom ends of the tool rests (86) are fixedly installed with rotating bottom rods (85), and the rotating bottom rods (85) are movable with the turning frame (83). connected, and both sides of the end face of the knife holder (86) are fitted and fixedly installed with a knife cover (87). 2.根据权利要求1所述的便于携带的护理工具存储袋,其特征在于,所述贴合组件(1)包括贴合背板(11)、卡接座(12)、曲别针(13)和第一魔术贴(14),所述贴合背板(11)设置在粘结板(2)的外部一侧,所述贴合背板(11)的端面一侧固定安装有两个卡接座(12),且卡接座(12)的一侧安装有曲别针(13),所述贴合背板(11)的端面另一侧贴合安装有第一魔术贴(14),且第一魔术贴(14)与第二魔术贴(3)卡接。2. The portable nursing tool storage bag according to claim 1, characterized in that the fitting assembly (1) comprises a fitting backboard (11), a snap seat (12), a paper clip (13) and A first Velcro (14), the adhesive back plate (11) is arranged on the outer side of the adhesive plate (2), and two snap joints are fixedly installed on the end face side of the adhesive back plate (11). A paper clip (13) is installed on one side of the snap seat (12), and a first Velcro (14) is installed on the other side of the end face of the backboard (11), and the first Velcro (14) is installed. A Velcro (14) is snapped with the second Velcro (3). 3.根据权利要求1所述的便于携带的护理工具存储袋,其特征在于,所述挂笔组件(5)包括悬挂底座(51)、卡接笔套(52)和弧形卡接槽(53),所述悬挂底座(51)粘结安装在存储盒(4)的端面一侧,所述悬挂底座(51)的端面中央固定安装有卡接笔套(52),且卡接笔套(52)的端面中央开设有弧形卡接槽(53)。3. The portable nursing tool storage bag according to claim 1, wherein the pen hanging assembly (5) comprises a hanging base (51), a clip-on pen sleeve (52) and an arc-shaped clip-on slot (53) ), the suspension base (51) is adhesively installed on one side of the end face of the storage box (4), the center of the end face of the suspension base (51) is fixedly installed with a clip-on pen sleeve (52), and the clip-on pen sleeve (52) An arc-shaped clamping slot (53) is opened in the center of the end face of the . 4.根据权利要求1所述的便于携带的护理工具存储袋,其特征在于,所述第一储物组件(6)包括方形盒盖(61)、方形物料盒(62)和贴合槽(63),所述方形物料盒(62)插接安装在存储盒(4)的端面内部一侧,所述方形物料盒(62)的端面外侧固定安装有方形盒盖(61),且方形盒盖(61)的端面中央安装有握把,所述方形盒盖(61)的端面两侧均开设有贴合槽(63)。The portable nursing tool storage bag according to claim 1, characterized in that, the first storage component (6) comprises a square box cover (61), a square material box (62) and a fitting groove ( 63), the square material box (62) is inserted and installed on the inner side of the end face of the storage box (4), the square cover (61) is fixedly installed on the outer side of the end face of the square material box (62), and the square box A handle is installed in the center of the end surface of the cover (61), and fitting grooves (63) are provided on both sides of the end surface of the square box cover (61). 5.根据权利要求4所述的便于携带的护理工具存储袋,其特征在于,所述贴合槽(63)的内部设置有第一条形磁块,所述存储盒(4)的端面内部位于方形物料盒(62)的两侧均贴合安装有第二条形磁块,且第一条形磁块与第二条形磁块磁性吸附连接。5. The portable nursing tool storage bag according to claim 4, characterized in that, a first bar-shaped magnetic block is arranged inside the fitting groove (63), and the end face of the storage box (4) is inside A second bar-shaped magnetic block is attached and installed on both sides of the square material box (62), and the first bar-shaped magnetic block is magnetically connected with the second bar-shaped magnetic block. 6.根据权利要求1所述的便于携带的护理工具存储袋,其特征在于,所述第二储物组件(7)包括环形盒盖(71)和环形物料盒(72),所述环形物料盒(72)插接安装在存储盒(4)的端面中央一侧,所述环形物料盒(72)的端面外侧固定安装有环形盒盖(71),且环形盒盖(71)的端面中央安装有握把。6. The portable nursing tool storage bag according to claim 1, wherein the second storage component (7) comprises an annular box cover (71) and an annular material box (72), the annular material The box (72) is inserted and installed on the central side of the end face of the storage box (4), the annular box cover (71) is fixedly installed on the outer side of the end face of the annular material box (72), and the central end face of the annular box cover (71) Grips are installed. 7.根据权利要求6所述的便于携带的护理工具存储袋,其特征在于,所述环形盒盖(71)的端面内侧四周均贴合安装有第一环形磁块,所述存储盒(4)的端面内部位于环形物料盒(72)的四周侧均贴合安装有第二环形磁块,且第一环形磁块与第二环形磁块磁性吸附连接。7. The portable nursing tool storage bag according to claim 6, characterized in that, first annular magnetic blocks are fitted around the inner side of the end face of the annular box cover (71), and the storage box (41) is fitted with a first annular magnetic block. ) inside the end face of the annular material box (72) are fitted with second annular magnetic blocks on the surrounding sides, and the first annular magnetic block is magnetically connected to the second annular magnetic block. 8.根据权利要求1所述的便于携带的护理工具存储袋,其特征在于,所述翻转架(83)的端面一侧固定安装有转动轴承,且转动底杆(85)的一端外壁通过连接键插接安装在转动轴承的内部。8. The portable nursing tool storage bag according to claim 1, characterized in that a rotating bearing is fixedly installed on one end face of the turning frame (83), and an outer wall of one end of the rotating bottom rod (85) is connected by The key insert is installed inside the rotary bearing.
CN202011368502.1A 2020-11-30 2020-11-30 Nursing tool storage bag convenient to carry Pending CN112451278A (en)

Priority Applications (1)

Application Number Priority Date Filing Date Title
CN202011368502.1A CN112451278A (en) 2020-11-30 2020-11-30 Nursing tool storage bag convenient to carry

Applications Claiming Priority (1)

Application Number Priority Date Filing Date Title
CN202011368502.1A CN112451278A (en) 2020-11-30 2020-11-30 Nursing tool storage bag convenient to carry

Publications (1)

Publication Number Publication Date
CN112451278A true CN112451278A (en) 2021-03-09

Family

ID=74809397

Family Applications (1)

Application Number Title Priority Date Filing Date
CN202011368502.1A Pending CN112451278A (en) 2020-11-30 2020-11-30 Nursing tool storage bag convenient to carry

Country Status (1)

Country Link
CN (1) CN112451278A (en)

Citations (9)

* Cited by examiner, † Cited by third party
Publication number Priority date Publication date Assignee Title
JPH10243976A (en) * 1997-03-04 1998-09-14 Atsushi Kawano Combustible medical waste processing container
CN203790312U (en) * 2014-03-06 2014-08-27 苏州大学 Multifunctional oral medicine temporary storage bag
CN207950080U (en) * 2017-06-02 2018-10-12 苏州科技城医院 Medical staff's portable accepting box
CN209019296U (en) * 2018-05-09 2019-06-25 泉州市信长机械科技有限公司 A kind of surgical nursing medical kit
CN209316364U (en) * 2019-01-03 2019-08-30 林文勋 A kind of multifunctional medicine storage bag that is easy to store for medical care
CN210472503U (en) * 2019-06-22 2020-05-08 烟台毓璜顶医院 An ICU nursing tool box
CN210844002U (en) * 2019-08-23 2020-06-26 时莉莉 Multifunctional nursing clamp
CN211658615U (en) * 2019-12-16 2020-10-13 张欢 Nurse wearing equipment convenient to storing
CN211833222U (en) * 2020-01-10 2020-11-03 华中科技大学同济医学院附属协和医院 Multifunctional pen bag

Patent Citations (9)

* Cited by examiner, † Cited by third party
Publication number Priority date Publication date Assignee Title
JPH10243976A (en) * 1997-03-04 1998-09-14 Atsushi Kawano Combustible medical waste processing container
CN203790312U (en) * 2014-03-06 2014-08-27 苏州大学 Multifunctional oral medicine temporary storage bag
CN207950080U (en) * 2017-06-02 2018-10-12 苏州科技城医院 Medical staff's portable accepting box
CN209019296U (en) * 2018-05-09 2019-06-25 泉州市信长机械科技有限公司 A kind of surgical nursing medical kit
CN209316364U (en) * 2019-01-03 2019-08-30 林文勋 A kind of multifunctional medicine storage bag that is easy to store for medical care
CN210472503U (en) * 2019-06-22 2020-05-08 烟台毓璜顶医院 An ICU nursing tool box
CN210844002U (en) * 2019-08-23 2020-06-26 时莉莉 Multifunctional nursing clamp
CN211658615U (en) * 2019-12-16 2020-10-13 张欢 Nurse wearing equipment convenient to storing
CN211833222U (en) * 2020-01-10 2020-11-03 华中科技大学同济医学院附属协和医院 Multifunctional pen bag

Similar Documents

Publication Publication Date Title
CN212298409U (en) Magnetic Ring Holder
CN112451278A (en) Nursing tool storage bag convenient to carry
US20090084689A1 (en) Container system
CN212242776U (en) A multifunctional brush case
CN219564593U (en) A portable writing device
CN211138750U (en) Convenient to use's multi-functional file
CN219289186U (en) Disposable glove hanger
CN214101465U (en) Phone case with mask storage function
CN214238328U (en) Shaving apparatus
CN222584210U (en) Foldable hook structure and hook
CN222736271U (en) A foldable earphone charging compartment
CN222137380U (en) Eyelash storage box
CN223451995U (en) Folding magnetic support
CN220333067U (en) Magnetic film sticking box and film sticking set device
CN218858249U (en) Table board, seat and vehicle
CN223161552U (en) Anti-drop slipcase without hurting writing
CN214751603U (en) Novel portable notebook
CN213720882U (en) Portable indoor decoration is with picture paper rack
CN219544359U (en) Hand-type clip with assembling function
CN213046458U (en) Umbrella hanging rack
CN219673865U (en) Translation machine
CN213768027U (en) Teaching management folder
CN211994947U (en) A portable hand-painted board for visual communication design
CN223111225U (en) Tool bag for English teaching
CN212170241U (en) Explosion-proof outer retainer ring pincers that stability is good

Legal Events

Date Code Title Description
PB01 Publication
PB01 Publication
SE01 Entry into force of request for substantive examination
SE01 Entry into force of request for substantive examination
RJ01 Rejection of invention patent application after publication

Application publication date: 20210309

RJ01 Rejection of invention patent application after publication