CN112412069A - Armored seam positioning device and construction method thereof - Google Patents
Armored seam positioning device and construction method thereof Download PDFInfo
- Publication number
- CN112412069A CN112412069A CN202011319311.6A CN202011319311A CN112412069A CN 112412069 A CN112412069 A CN 112412069A CN 202011319311 A CN202011319311 A CN 202011319311A CN 112412069 A CN112412069 A CN 112412069A
- Authority
- CN
- China
- Prior art keywords
- rod
- armor
- seam
- bolt hole
- armor seam
- Prior art date
- Legal status (The legal status is an assumption and is not a legal conclusion. Google has not performed a legal analysis and makes no representation as to the accuracy of the status listed.)
- Pending
Links
- 238000010276 construction Methods 0.000 title claims abstract description 23
- 229910000831 Steel Inorganic materials 0.000 claims abstract description 38
- 239000010959 steel Substances 0.000 claims abstract description 38
- 238000007789 sealing Methods 0.000 claims abstract description 10
- 230000000149 penetrating effect Effects 0.000 claims abstract description 4
- 238000000034 method Methods 0.000 claims description 8
- 238000009434 installation Methods 0.000 claims description 6
- 230000003014 reinforcing effect Effects 0.000 claims description 4
- 238000005266 casting Methods 0.000 claims description 3
- 238000004064 recycling Methods 0.000 claims description 3
- 230000002265 prevention Effects 0.000 claims 1
- 239000010410 layer Substances 0.000 description 11
- 230000004048 modification Effects 0.000 description 3
- 238000012986 modification Methods 0.000 description 3
- 230000008569 process Effects 0.000 description 3
- 230000007306 turnover Effects 0.000 description 3
- 239000000463 material Substances 0.000 description 2
- XBWAZCLHZCFCGK-UHFFFAOYSA-N 7-chloro-1-methyl-5-phenyl-3,4-dihydro-2h-1,4-benzodiazepin-1-ium;chloride Chemical compound [Cl-].C12=CC(Cl)=CC=C2[NH+](C)CCN=C1C1=CC=CC=C1 XBWAZCLHZCFCGK-UHFFFAOYSA-N 0.000 description 1
- 229910001294 Reinforcing steel Inorganic materials 0.000 description 1
- 230000009286 beneficial effect Effects 0.000 description 1
- 230000000694 effects Effects 0.000 description 1
- 238000005516 engineering process Methods 0.000 description 1
- 230000000087 stabilizing effect Effects 0.000 description 1
- 239000002344 surface layer Substances 0.000 description 1
- 239000002699 waste material Substances 0.000 description 1
Images
Classifications
-
- E—FIXED CONSTRUCTIONS
- E04—BUILDING
- E04G—SCAFFOLDING; FORMS; SHUTTERING; BUILDING IMPLEMENTS OR AIDS, OR THEIR USE; HANDLING BUILDING MATERIALS ON THE SITE; REPAIRING, BREAKING-UP OR OTHER WORK ON EXISTING BUILDINGS
- E04G21/00—Preparing, conveying, or working-up building materials or building elements in situ; Other devices or measures for constructional work
- E04G21/14—Conveying or assembling building elements
- E04G21/16—Tools or apparatus
- E04G21/18—Adjusting tools; Templates
-
- E—FIXED CONSTRUCTIONS
- E04—BUILDING
- E04F—FINISHING WORK ON BUILDINGS, e.g. STAIRS, FLOORS
- E04F15/00—Flooring
- E04F15/12—Flooring or floor layers made of masses in situ, e.g. seamless magnesite floors, terrazzo gypsum floors
- E04F15/14—Construction of joints, e.g. dividing strips
-
- E—FIXED CONSTRUCTIONS
- E04—BUILDING
- E04G—SCAFFOLDING; FORMS; SHUTTERING; BUILDING IMPLEMENTS OR AIDS, OR THEIR USE; HANDLING BUILDING MATERIALS ON THE SITE; REPAIRING, BREAKING-UP OR OTHER WORK ON EXISTING BUILDINGS
- E04G21/00—Preparing, conveying, or working-up building materials or building elements in situ; Other devices or measures for constructional work
Landscapes
- Engineering & Computer Science (AREA)
- Architecture (AREA)
- Civil Engineering (AREA)
- Structural Engineering (AREA)
- Mechanical Engineering (AREA)
- Buildings Adapted To Withstand Abnormal External Influences (AREA)
Abstract
The invention discloses an armor seam positioning device and a construction method thereof, and the armor seam positioning device comprises a supporting base, wherein an adjusting rod piece is fixedly arranged on the top surface of the supporting base, the adjusting rod piece comprises a fixed rod and a sliding rod, the fixed rod is vertically arranged, a sliding groove is formed in one side, away from an armor seam, of the fixed rod, a sealing gasket is arranged at the top end of the fixed rod, the sliding rod is sleeved at the top of the fixed rod in a sliding mode, a ball screw is arranged in a rod body in a penetrating mode, a screw shaft of the ball screw is rotatably connected with the sealing gasket, the sliding rod and a ball nut of the ball screw are connected into a whole through a connecting bolt, the middle of the connecting bolt is arranged in the sliding groove in a penetrating mode, a bearing rod is. The invention has simple structure and ingenious design, can conveniently realize real-time continuous and rapid adjustment of the horizontal position and the vertical position of the armor seam, can be used repeatedly, greatly reduces the using quantity of positioning steel bars, improves the construction efficiency and the construction quality and protects the foundation cushion.
Description
Technical Field
The invention relates to the technical field of armored seam installation construction, in particular to an armored seam positioning device and a construction method thereof.
Background
When a terrace armor seam is installed on a construction site, a positioning steel bar fixing mode is usually adopted for ensuring the levelness and the straightness of installation, the construction mode needs to embed the positioning steel bar in advance during the construction of a terrace base layer or drill and embed the positioning steel bar after the construction of the terrace base layer is finished, two positioning steel bars are needed to be matched for use, one positioning steel bar is used for vertical fixing, the other positioning steel bar is used for height adjustment, the positioning process needs to ensure the accuracy of one-time positioning, once the positioning steel bar survives, the modification cannot be carried out, and the fault tolerance rate is low; if the base layer is not effectively treated, the vertically arranged positioning reinforcing steel bars can damage the base cushion layer; and a positioning steel bar for fixing the armor seam is buried in the floor surface layer and can not be taken out, so that the positioning effect is ensured, the spacing between the positioning steel bars is small, the steel bar using amount is large, and the material waste is serious.
Disclosure of Invention
The invention aims to provide an armor seam positioning device and a construction method thereof, which aim to solve the technical problems in the background technology.
In order to achieve the technical purpose, the invention adopts the following technical scheme:
an armor seam positioning device is arranged on the outer side of a terrace pouring grid at intervals along the arrangement direction of armor seams and comprises a supporting base, wherein the supporting base is horizontally placed on a terrace foundation cushion layer, one end close to the armor seams is provided with a rollover-prevention supporting plate, the phenomenon that the positioning device topples towards one side of the armor seams or turns over is effectively avoided, an adjusting rod piece is fixedly arranged on the top surface of the supporting base and comprises a fixed rod and a sliding rod, the fixed rod is vertically arranged, the bottom end of the fixing rod is fixedly connected with the supporting base, one side far away from the armor seams is provided with a long strip-shaped chute, the top end of the fixing rod is provided with a sealing gasket, the center of the top surface of the sealing gasket is provided with a mounting round hole, the sliding rod is sleeved on the top of the fixed rod in a sliding mode, one side, the bottom end of a screw shaft is rotatably arranged in an installation circular hole, the top end of the screw shaft is fixedly provided with an end nut matched with an L-shaped sleeve spanner, when the screw shaft is screwed, the L-shaped sleeve spanner is only required to be connected to the end nut in a sleeved mode, the L-shaped sleeve spanner is rotated, a third bolt hole is formed in a ball nut of a ball screw, the third bolt hole is horizontally aligned with the first bolt hole, a connecting bolt is arranged in the third bolt hole and the first bolt hole, and the connecting bolt penetrates through the first bolt hole, a sliding groove and the third bolt hole from outside to inside in sequence to connect a sliding rod and the ball nut into a whole;
the bearing rod is installed on one side, close to the armor seam, of the sliding rod, the bearing rod is horizontally arranged, one end of the bearing rod is fixedly connected with the sliding rod, the other end of the bearing rod penetrates through a socket hole in the armor seam, and the armor seam is supported to a designed elevation.
Preferably, the support base comprises a rectangular steel plate, and the anti-rollover support plate is two triangular steel plates welded and fixed on two sides of the rectangular steel plate respectively.
Preferably, in order to make the slide bar more steady at the lift in-process, prevent that the slide bar lift in-process from appearing rocking, the second bolt hole has been seted up on the slide bar, the second bolt hole vertically corresponds with first bolt hole, and its inside is worn to be equipped with spacing bolt, spacing bolt's afterbody passes the spout and extends to in the dead lever cavity.
Preferably, in order to improve the bearing capacity of the support rod, the support rod comprises a root connecting rod and a top support rod which are coaxially and fixedly connected, and the diameter of the root connecting rod is larger than that of the top support rod.
Preferably, the top die-pin is a screw rod with external threads, the top end of the screw rod is in threaded connection with a limit nut, the outer diameter of the limit nut is larger than the aperture of the bearing hole of the armor seam, and the limit nut can effectively prevent the armor seam from slipping off the bearing rod.
Preferably, the fixed rod and the sliding rod are made of square steel with matched sizes, and the root connecting rod is made of twisted steel.
In addition, the invention also provides a construction method of the armor seam positioning device, which comprises the following steps,
the method comprises the following steps: positioning and paying off, namely dividing a jumping-casting grid according to a construction drawing, and surveying and paying off on a terrace foundation cushion layer;
step two: placing the armor seams in place, and placing the armor seams on the terrace foundation cushion layer at the grid lines;
step two: positioning the positioning devices in place, and placing the positioning devices at intervals to one side of the armored seam far away from the square grid to be poured;
step three: initially adjusting elevation, namely rotating a screw shaft through an L-shaped socket wrench, and adjusting the bearing rods of the positioning devices to the designed elevation;
step four: fixing the armor seams, inserting the bearing rods of the positioning devices into socket holes corresponding to the armor seams, and installing limit nuts;
step five: elevation rechecking, namely performing elevation rechecking on the fixed armored seam, and performing local fine adjustment on a part inconsistent with the designed elevation by rotating a screw shaft through an L-shaped sleeve wrench;
step six: reinforcing the armor seam, namely mounting a small amount of positioning steel bars at intervals on one side of the armor seam close to the grid to be poured, and further reinforcing the armor seam;
step seven: and (4) recycling and transferring, pouring concrete, after the concrete reaches the design strength, dismantling the limiting nut and taking out the bearing rod of each positioning device from the socket hole of the armor seam, and transferring to the next square to be poured for use.
Compared with the prior art, the invention has the beneficial effects that:
1. the invention has simple structure and ingenious design, the horizontal position of the armor seam can be conveniently adjusted by placing the armor seam on the floor foundation cushion layer through the supporting base, and the vertical position of the armor seam can be conveniently and continuously and rapidly adjusted in real time through the matching of the bearing rod, the adjusting rod piece and the ball screw, thereby greatly improving the installation precision and the construction efficiency of the armor seam and improving the construction quality;
2. the invention can be disassembled and moved to the next construction position for continuous use after the construction is finished, the turnover rate is high, the use amount of the positioning steel bars is greatly reduced, the material consumption is reduced, and the foundation cushion is protected.
Drawings
The above and/or other aspects and advantages of the present invention will become more apparent and more readily appreciated from the detailed description taken in conjunction with the following drawings, which are meant to be illustrative, not limiting of the invention, and in which:
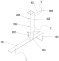
FIG. 1 is a schematic structural view of an armor seam positioning device near one side of an armor seam according to the present invention;
FIG. 2 is a schematic structural view of an armor seam positioning device far away from one side of an armor seam according to the present invention;
FIG. 3 is an exploded view of a positioning device for an armor seam according to the present invention;
FIG. 4 is a schematic view of an installation structure of a positioning device for an armor seam according to the present invention;
fig. 5 is an enlarged schematic view of a portion a in fig. 4.
Reference numerals: 1-supporting base, 101-rectangular steel plate, 102-triangular steel plate, 2-adjusting rod piece, 201-fixing rod, 202-sliding groove, 203-sealing gasket, 204-mounting round hole, 205-sliding rod, 206-first bolt hole, 207-second bolt hole, 208-connecting bolt, 209-limiting bolt, 3-ball screw, 301-screw shaft, 302-ball nut, 303-third bolt hole, 304-end nut, 4-bearing rod, 401-root connecting rod, 402-top supporting rod, 5-L-shaped sleeve wrench and 6-armored seam.
Detailed Description
Hereinafter, an embodiment of an armoring seam positioning device and a construction method thereof of the present invention will be described with reference to the accompanying drawings. The examples described herein are specific embodiments of the present invention, are intended to be illustrative and exemplary in nature, and are not to be construed as limiting the scope of the invention. In addition to the embodiments described herein, those skilled in the art will be able to employ other technical solutions which are obvious based on the disclosure of the claims and the specification of the present application, and these technical solutions include technical solutions which make any obvious replacement or modification for the embodiments described herein.
In the description of the present invention, it should be noted that the terms "top", "bottom", "inside", "outside", and the like indicate orientations or positional relationships based on the orientations or positional relationships shown in the drawings, and are only for convenience in describing the present invention and simplifying the description, but do not indicate or imply that the referred device or element must have a specific orientation, be constructed in a specific orientation, and be operated, and thus, should not be construed as limiting the present invention. Furthermore, the terms "first," "second," and "third" are used for descriptive purposes only and are not to be construed as indicating or implying relative importance.
The drawings in the present specification are schematic views to assist in explaining the concept of the present invention, and schematically show the shapes of respective portions and their mutual relationships. It is noted that the drawings are not necessarily to the same scale so as to clearly illustrate the structures of the various elements of the embodiments of the invention. Like reference numerals are used to denote like parts.
The principles and features of this invention are described below in conjunction with the following drawings, which are set forth to illustrate, but are not to be construed to limit the scope of the invention. Preferred embodiments of the present invention are described in further detail below with reference to FIGS. 1-5:
as shown in fig. 1-5, the preferred armored seam positioning device of the present invention is arranged outside a floor pouring grid at intervals along the arrangement direction of armored seams 6, and comprises a supporting base 1, wherein the supporting base 1 is horizontally placed on a floor foundation cushion layer, and comprises a rectangular steel plate 101, in order to prevent the rectangular steel plate 101 from toppling over or turning over to one side of the armored seam 6, two sides of one end of the rectangular steel plate 101 close to the armored seam 6 are respectively welded and fixed with a triangular steel plate 102, the top surface thereof is fixedly provided with an adjusting rod member 2, the adjusting rod member 2 comprises a fixed rod 201 and a sliding rod 205, the fixed rod 201 is vertically arranged, the bottom end thereof is fixedly connected with the supporting base 1, one side far away from the armored seam 6 is provided with a long strip chute 202, the top end thereof is provided with a sealing gasket 203, the center of the top surface of the sealing gasket 203 is provided, a first bolt hole 206 and a second bolt hole 207 are arranged on one side far away from the armor seam 6, a ball screw 3 penetrates through the rod body, the ball screw 3 is vertically arranged on the axis of the sliding rod 205, the bottom end of a screw shaft 301 is rotatably arranged in the mounting round hole 204, the top end of the screw shaft is fixedly provided with an end nut 304 matched with the L-shaped socket wrench 5, a third bolt hole 303 is arranged on the ball nut 302, the third bolt hole 303 is horizontally aligned with the first bolt hole 206, a connecting bolt 208 is arranged in the third bolt hole and the first bolt hole, the connecting bolt 208 sequentially penetrates through the first bolt hole 206, the sliding groove 202 and the third bolt hole 303 from outside to inside to connect the sliding rod 205 and the ball nut 302 into a whole, the second bolt hole 207 vertically corresponds to the first bolt hole 206, a limiting bolt 209 penetrates through the inside of the second bolt hole 207, and the tail of the limiting bolt 209 extends into the, the limit bolt 209 is used as a stabilizing member and is arranged in the sliding groove 202 in a penetrating way, so that the sliding rod 205 is more stable in the lifting process, and the sliding rod 205 is prevented from shaking in the lifting process;
the supporting rod 4 is installed on one side, close to the armor seam 6, of the sliding rod 205, the supporting rod 4 is horizontally arranged and comprises a root connecting rod 401 and a top supporting rod 402 which are coaxially and fixedly connected, the diameter of the root connecting rod 401 is larger than that of the top supporting rod 402, the root connecting rod 401 is fixedly connected with the sliding rod 205, the top supporting rod 402 is a screw rod with external threads and penetrates through a socket hole of the armor seam 6, a limiting nut is connected to the top end of the screw rod through threads, the outer diameter of the limiting nut is larger than the aperture of a bearing hole of the armor seam 6, the armor seam 6 is supported to a designed elevation by the top supporting rod 402, and the limiting nut prevents the armor seam 6 from sliding off from the top supporting rod 402;
the rectangular steel plate 101 is made of a 50 x 400 x 5mm steel plate, the fixed rod 201 is made of a 40 x 40mm square steel, the side wall of the square steel is cut into an opening with the width of 20mm and the length of 200mm by a cutting machine to serve as the sliding groove 202, the sliding rod 205 is made of a 50 x 50mm square steel, the sealing gasket 203 is made of a 2mm thick steel plate, and the root connecting rod 401 and the top supporting rod 402 are made of a phi 16 steel bar and a phi 8 screw rod respectively.
The specific construction method comprises the following steps:
the method comprises the following steps: positioning and paying off, namely dividing a jumping-casting grid according to a construction drawing, and surveying and paying off on a terrace foundation cushion layer;
step two: placing the armor seams 6 in place, and placing the armor seams 6 on the terrace foundation cushion layer at the grid lines;
step two: the positioning devices are in place, and the positioning devices are arranged at intervals to one side of the armored seam 6 far away from the square to be poured;
step three: initially adjusting elevation, namely rotating the screw shaft 301 through an L-shaped socket wrench 5 to adjust the bearing rods 4 of the positioning devices to the designed elevation;
step four: fixing the armor seams 6, inserting the bearing rods 4 of all the positioning devices into socket holes corresponding to the armor seams 6, and installing limit nuts;
step five: elevation rechecking, namely performing elevation rechecking on the fixed armored seam 6, and performing local fine adjustment on the part inconsistent with the designed elevation by rotating the screw shaft 301 through the L-shaped socket wrench 5;
step six: reinforcing the armored joint 6, and mounting a small number of positioning steel bars at intervals on one side of the armored joint 6 close to the grid to be poured to further reinforce the armored joint 6;
step seven: and (4) recycling the turnover, pouring concrete, dismantling a limit nut and taking out the bearing rod 4 of each positioning device from the socket hole of the armor seam 6 after the concrete reaches the design strength, and using the turnover to the next square to be poured.
The above description is only for the purpose of illustrating the preferred embodiments of the present invention and is not to be construed as limiting the invention, and any modifications, equivalents, improvements and the like that fall within the spirit and principle of the present invention are intended to be included therein.
Claims (8)
1. The utility model provides an armor seam positioner, lays the direction interval along armor seam (6) and locates the terrace and pour the square outside, its characterized in that: comprises a supporting base (1), the supporting base (1) is horizontally placed on a floor foundation cushion layer, one end close to an armor seam (6) is provided with a side-turning prevention supporting plate, an adjusting rod piece (2) is fixedly installed on the top surface, the adjusting rod piece (2) comprises a fixed rod (201) and a sliding rod (205), the fixed rod (201) is vertically arranged, the bottom end of the fixed rod is fixedly connected with the supporting base (1), one side far away from the armor seam (6) is provided with a long strip-shaped chute (202), the top end of the fixed rod is provided with a sealing gasket (203), the center of the top surface of the sealing gasket (203) is provided with an installation round hole (204), the sliding rod (205) is slidably sleeved on the top of the fixed rod (201), one side far away from the armor seam (6) is provided with a first bolt hole (206), a ball screw (3) is penetrated in, the bottom end of a screw shaft (301) is rotatably arranged in a mounting circular hole (204), the top end of the screw shaft is fixedly provided with an end nut (304), a ball nut (302) of the screw shaft is provided with a third bolt hole (303), the third bolt hole (303) is horizontally aligned with the first bolt hole (206), a connecting bolt (208) is arranged in the third bolt hole and the first bolt hole, the connecting bolt (208) sequentially penetrates through the first bolt hole (206), the sliding groove (202) and the third bolt hole (303) from outside to inside to connect the sliding rod (205) and the ball nut (302) into a whole;
the bearing rod (4) is installed on one side, close to the armor seam (6), of the sliding rod (205), the bearing rod (4) is horizontally arranged, one end of the bearing rod is fixedly connected with the sliding rod (205), the other end of the bearing rod is arranged in a socket hole of the armor seam (6) in a penetrating mode, and the armor seam (6) is supported to the designed elevation.
2. An armor seam locating device according to claim 1, wherein: the supporting base (1) comprises a rectangular steel plate (101), and the side-turning preventing supporting plate is two triangular steel plates (102) which are respectively welded and fixed on two sides of the rectangular steel plate (101).
3. An armor seam locating device according to claim 1, wherein: a second bolt hole (207) is formed in the sliding rod (205), the second bolt hole (207) vertically corresponds to the first bolt hole (206), a limiting bolt (209) penetrates through the second bolt hole, and the tail portion of the limiting bolt (209) penetrates through the sliding groove (202) and extends into the cavity of the fixing rod (201).
4. An armor seam locating device according to claim 1, wherein: the screw shaft (301).
5. An armor seam locating device according to claim 1, wherein: the supporting rod (4) comprises a root connecting rod (401) and a top supporting rod (402) which are coaxially and fixedly connected, and the diameter of the root connecting rod (401) is larger than that of the top supporting rod (402).
6. An armor seam locating device according to claim 5, wherein: the top supporting rod (402) is a screw rod with external threads, the top end of the screw rod is in threaded connection with a limiting nut, and the outer diameter of the limiting nut is larger than the aperture of a bearing hole of the armor seam (6).
7. An armor seam locating device according to claim 5, wherein: the fixed rod (201) and the sliding rod (205) are made of square steel with matched sizes, and the root connecting rod (401) is made of twisted steel.
8. A construction method using the armoring seam positioning device as claimed in claim 1, comprising the steps of,
the method comprises the following steps: positioning and paying off, namely dividing a jumping-casting grid according to a construction drawing, and surveying and paying off on a terrace foundation cushion layer;
step two: placing the armor seams (6) in place, and placing the armor seams (6) on the floor foundation cushion layer at the grid lines;
step two: the positioning devices are in place, and the positioning devices are arranged at intervals to one side of the armored seam (6) far away from the square to be poured;
step three: initially adjusting the elevation, rotating a screw shaft (301), and adjusting the support rods (4) of the positioning devices to the designed elevation;
step four: fixing the armor seams (6), and inserting the bearing rods (4) of the positioning devices into socket holes corresponding to the armor seams (6);
step five: elevation rechecking, namely performing elevation rechecking on the fixed armor seam (6), and performing local fine adjustment on the place inconsistent with the designed elevation by rotating a lead screw shaft (301);
step six: reinforcing the armor seam (6), and mounting a plurality of positioning steel bars at intervals on one side of the armor seam (6) close to the grid to be poured;
step seven: and (4) recycling and transferring, pouring concrete, taking out the bearing rods (4) of all the positioning devices from the socket holes of the armored seams (6) after the concrete reaches the design strength, and transferring to the next square to be poured for use.
Priority Applications (1)
| Application Number | Priority Date | Filing Date | Title |
|---|---|---|---|
| CN202011319311.6A CN112412069A (en) | 2020-11-23 | 2020-11-23 | Armored seam positioning device and construction method thereof |
Applications Claiming Priority (1)
| Application Number | Priority Date | Filing Date | Title |
|---|---|---|---|
| CN202011319311.6A CN112412069A (en) | 2020-11-23 | 2020-11-23 | Armored seam positioning device and construction method thereof |
Publications (1)
| Publication Number | Publication Date |
|---|---|
| CN112412069A true CN112412069A (en) | 2021-02-26 |
Family
ID=74778369
Family Applications (1)
| Application Number | Title | Priority Date | Filing Date |
|---|---|---|---|
| CN202011319311.6A Pending CN112412069A (en) | 2020-11-23 | 2020-11-23 | Armored seam positioning device and construction method thereof |
Country Status (1)
| Country | Link |
|---|---|
| CN (1) | CN112412069A (en) |
Cited By (5)
| Publication number | Priority date | Publication date | Assignee | Title |
|---|---|---|---|---|
| CN115627900A (en) * | 2022-12-09 | 2023-01-20 | 杭州滨江建筑集团有限公司 | Construction method of high-precision concrete terrace expansion joint recyclable positioning system |
| CN117780100A (en) * | 2024-01-24 | 2024-03-29 | 中建-大成建筑有限责任公司 | A construction method of finely leveled concrete floor based on armored joints |
| CN118208052A (en) * | 2024-05-22 | 2024-06-18 | 临汾世豪钢结构有限公司 | Auxiliary device for steel structure installation and use method thereof |
| CN118461851A (en) * | 2024-07-09 | 2024-08-09 | 玉田县致泰钢纤维制造有限公司 | Non-cracking terrace construction method with three-dimensional steel fiber skeleton |
| CN119711720A (en) * | 2025-03-03 | 2025-03-28 | 河南省第二建设集团有限公司 | Turnover type leveling and reinforcing device and method for armor joint |
Citations (8)
| Publication number | Priority date | Publication date | Assignee | Title |
|---|---|---|---|---|
| CN101265749A (en) * | 2008-04-29 | 2008-09-17 | 上海交通大学 | Elevation-adjustable super-flat floor partition seam protection formwork system |
| CN203066838U (en) * | 2012-12-18 | 2013-07-17 | 登封市电业(集团)有限公司 | Dumping prevention type combined ladder |
| CN209163492U (en) * | 2018-11-30 | 2019-07-26 | 青岛一建集团有限公司 | The adjustable vertical bar structure that stretches is positioned for concrete floor reserving hole |
| CN110206271A (en) * | 2019-05-18 | 2019-09-06 | 陕西建工第五建设集团有限公司 | A kind of concrete ultra-flat terrace cutting-free construction method |
| CN210421809U (en) * | 2019-07-16 | 2020-04-28 | 浩锋(天津)智能制造有限公司 | Armor seam adjusting device |
| CN210767955U (en) * | 2020-04-03 | 2020-06-16 | 山东省建设建工(集团)有限责任公司 | A consolidate bearing structure for building engineering |
| CN111287464A (en) * | 2020-03-30 | 2020-06-16 | 中亿丰建设集团股份有限公司 | Terrace steel template formwork supporting regulator and manufacturing method thereof |
| US20200318347A1 (en) * | 2017-10-13 | 2020-10-08 | Illinois Tool Works Inc. | Edge protection system having dowel plate |
-
2020
- 2020-11-23 CN CN202011319311.6A patent/CN112412069A/en active Pending
Patent Citations (8)
| Publication number | Priority date | Publication date | Assignee | Title |
|---|---|---|---|---|
| CN101265749A (en) * | 2008-04-29 | 2008-09-17 | 上海交通大学 | Elevation-adjustable super-flat floor partition seam protection formwork system |
| CN203066838U (en) * | 2012-12-18 | 2013-07-17 | 登封市电业(集团)有限公司 | Dumping prevention type combined ladder |
| US20200318347A1 (en) * | 2017-10-13 | 2020-10-08 | Illinois Tool Works Inc. | Edge protection system having dowel plate |
| CN209163492U (en) * | 2018-11-30 | 2019-07-26 | 青岛一建集团有限公司 | The adjustable vertical bar structure that stretches is positioned for concrete floor reserving hole |
| CN110206271A (en) * | 2019-05-18 | 2019-09-06 | 陕西建工第五建设集团有限公司 | A kind of concrete ultra-flat terrace cutting-free construction method |
| CN210421809U (en) * | 2019-07-16 | 2020-04-28 | 浩锋(天津)智能制造有限公司 | Armor seam adjusting device |
| CN111287464A (en) * | 2020-03-30 | 2020-06-16 | 中亿丰建设集团股份有限公司 | Terrace steel template formwork supporting regulator and manufacturing method thereof |
| CN210767955U (en) * | 2020-04-03 | 2020-06-16 | 山东省建设建工(集团)有限责任公司 | A consolidate bearing structure for building engineering |
Cited By (6)
| Publication number | Priority date | Publication date | Assignee | Title |
|---|---|---|---|---|
| CN115627900A (en) * | 2022-12-09 | 2023-01-20 | 杭州滨江建筑集团有限公司 | Construction method of high-precision concrete terrace expansion joint recyclable positioning system |
| CN115627900B (en) * | 2022-12-09 | 2025-08-15 | 杭州滨江建筑集团有限公司 | Construction method of high-precision concrete terrace expansion joint recyclable positioning system |
| CN117780100A (en) * | 2024-01-24 | 2024-03-29 | 中建-大成建筑有限责任公司 | A construction method of finely leveled concrete floor based on armored joints |
| CN118208052A (en) * | 2024-05-22 | 2024-06-18 | 临汾世豪钢结构有限公司 | Auxiliary device for steel structure installation and use method thereof |
| CN118461851A (en) * | 2024-07-09 | 2024-08-09 | 玉田县致泰钢纤维制造有限公司 | Non-cracking terrace construction method with three-dimensional steel fiber skeleton |
| CN119711720A (en) * | 2025-03-03 | 2025-03-28 | 河南省第二建设集团有限公司 | Turnover type leveling and reinforcing device and method for armor joint |
Similar Documents
| Publication | Publication Date | Title |
|---|---|---|
| CN112412069A (en) | Armored seam positioning device and construction method thereof | |
| CN210766774U (en) | Positioning device for steel reinforcement cage and lattice column | |
| CN101892812B (en) | Reciprocating drill or electric drill support | |
| CN212317427U (en) | Turnover scaffold yard for slope-setting position at top of foundation pit | |
| CN214117571U (en) | An armored seam positioning device | |
| CN206888204U (en) | A kind of length adjustable embedded part structure | |
| CN212866363U (en) | Portable inclined strut embedded part for prefabricated part with assembled structure | |
| CN111636696A (en) | Accurate adjustment support of concrete built-in fitting | |
| CN206737445U (en) | The vertical dual-purpose adjuster of Simple horizontal | |
| CN212896960U (en) | Combined shear wall structure | |
| CN216042743U (en) | Pre-buried installation device of compression shear machine rag bolt | |
| CN212984674U (en) | Accurate adjustment support of concrete built-in fitting | |
| CN219826218U (en) | Turnover post-pouring steel bar protection device | |
| CN220184073U (en) | A device for controlling the elevation, level and fixed position of the top of the pier column under the isolation bearing | |
| CN215671218U (en) | Embedded structure of embedded part for building platform | |
| CN219507513U (en) | Tower crane attached embedded sleeve positioning device | |
| CN210529886U (en) | Water supply and drainage engineering pipeline laying fixing device | |
| CN206233259U (en) | A kind of supporting construction for carrying elevation regulator | |
| CN219241067U (en) | Adjustable reusable circular reinforcement cage inner supporting device | |
| CN221957222U (en) | Positioning and mounting auxiliary device for steel column and foundation bolt | |
| CN215212246U (en) | Overhanging type bearing frame | |
| CN223424803U (en) | A rotating and adjustable spacing bracket support arm device for a comprehensive pipe gallery | |
| CN217352157U (en) | Support equipment for municipal bridge construction | |
| CN218090851U (en) | Pile foundation reinforcing steel bar positioning mould | |
| CN112649626B (en) | Mounting rack of power grid line loss analysis equipment |
Legal Events
| Date | Code | Title | Description |
|---|---|---|---|
| PB01 | Publication | ||
| PB01 | Publication | ||
| SE01 | Entry into force of request for substantive examination | ||
| SE01 | Entry into force of request for substantive examination | ||
| RJ01 | Rejection of invention patent application after publication | ||
| RJ01 | Rejection of invention patent application after publication |
Application publication date: 20210226 |