CN112371377A - 一种植保无人机的喷液头 - Google Patents

一种植保无人机的喷液头 Download PDF

Info

Publication number
CN112371377A
CN112371377A CN202011162094.4A CN202011162094A CN112371377A CN 112371377 A CN112371377 A CN 112371377A CN 202011162094 A CN202011162094 A CN 202011162094A CN 112371377 A CN112371377 A CN 112371377A
Authority
CN
China
Prior art keywords
liquid
cap
shell
unmanned aerial
aerial vehicle
Prior art date
Legal status (The legal status is an assumption and is not a legal conclusion. Google has not performed a legal analysis and makes no representation as to the accuracy of the status listed.)
Pending
Application number
CN202011162094.4A
Other languages
English (en)
Inventor
陶蕾芳
杨顺恒
Current Assignee (The listed assignees may be inaccurate. Google has not performed a legal analysis and makes no representation or warranty as to the accuracy of the list.)
Hubei Shanshi Intelligent Technology Co ltd
Original Assignee
Hubei Shanshi Intelligent Technology Co ltd
Priority date (The priority date is an assumption and is not a legal conclusion. Google has not performed a legal analysis and makes no representation as to the accuracy of the date listed.)
Filing date
Publication date
Application filed by Hubei Shanshi Intelligent Technology Co ltd filed Critical Hubei Shanshi Intelligent Technology Co ltd
Priority to CN202011162094.4A priority Critical patent/CN112371377A/zh
Publication of CN112371377A publication Critical patent/CN112371377A/zh
Pending legal-status Critical Current

Links

Images

Classifications

    • BPERFORMING OPERATIONS; TRANSPORTING
    • B05SPRAYING OR ATOMISING IN GENERAL; APPLYING FLUENT MATERIALS TO SURFACES, IN GENERAL
    • B05BSPRAYING APPARATUS; ATOMISING APPARATUS; NOZZLES
    • B05B7/00Spraying apparatus for discharge of liquids or other fluent materials from two or more sources, e.g. of liquid and air, of powder and gas
    • B05B7/02Spray pistols; Apparatus for discharge
    • B05B7/04Spray pistols; Apparatus for discharge with arrangements for mixing liquids or other fluent materials before discharge
    • B05B7/0416Spray pistols; Apparatus for discharge with arrangements for mixing liquids or other fluent materials before discharge with arrangements for mixing one gas and one liquid
    • BPERFORMING OPERATIONS; TRANSPORTING
    • B05SPRAYING OR ATOMISING IN GENERAL; APPLYING FLUENT MATERIALS TO SURFACES, IN GENERAL
    • B05BSPRAYING APPARATUS; ATOMISING APPARATUS; NOZZLES
    • B05B7/00Spraying apparatus for discharge of liquids or other fluent materials from two or more sources, e.g. of liquid and air, of powder and gas
    • B05B7/02Spray pistols; Apparatus for discharge
    • B05B7/04Spray pistols; Apparatus for discharge with arrangements for mixing liquids or other fluent materials before discharge
    • B05B7/0416Spray pistols; Apparatus for discharge with arrangements for mixing liquids or other fluent materials before discharge with arrangements for mixing one gas and one liquid
    • B05B7/0441Spray pistols; Apparatus for discharge with arrangements for mixing liquids or other fluent materials before discharge with arrangements for mixing one gas and one liquid with one inner conduit of liquid surrounded by an external conduit of gas upstream the mixing chamber
    • BPERFORMING OPERATIONS; TRANSPORTING
    • B64AIRCRAFT; AVIATION; COSMONAUTICS
    • B64DEQUIPMENT FOR FITTING IN OR TO AIRCRAFT; FLIGHT SUITS; PARACHUTES; ARRANGEMENT OR MOUNTING OF POWER PLANTS OR PROPULSION TRANSMISSIONS IN AIRCRAFT
    • B64D1/00Dropping, ejecting, releasing or receiving articles, liquids, or the like, in flight
    • B64D1/16Dropping or releasing powdered, liquid, or gaseous matter, e.g. for fire-fighting
    • B64D1/18Dropping or releasing powdered, liquid, or gaseous matter, e.g. for fire-fighting by spraying, e.g. insecticides

Landscapes

  • Life Sciences & Earth Sciences (AREA)
  • Pest Control & Pesticides (AREA)
  • Engineering & Computer Science (AREA)
  • Aviation & Aerospace Engineering (AREA)
  • Catching Or Destruction (AREA)

Abstract

本发明涉及一种植保无人机的喷液头,包括喷液壳体,所述喷液壳体前侧表面设有安装座,所述喷液壳体一端螺纹连接有喷头尾壳,所述喷液壳体另一端连通设有喷头连接头,所述喷头连接头一侧螺纹设有出液口,所述喷液壳体内部设有液体帽,所述液体帽顶部和底部均设有加强块,所述加强块固定设置于喷液壳体内壁顶部和内壁底部。本发明通过设有喷头尾壳、出液口和输液管,药液由喷头尾壳外侧进入通过过滤网进行过滤后进入输液管,再将药液通向液体帽内部进行与气体的混合和输送,混合后的气液由出液口喷出,液体通过活动扇叶表面的通液口和活动扇叶之间的空隙喷出,同时活动扇叶也会在出液口内壁上转动,使药液均匀喷洒增加喷洒面积。

Description

一种植保无人机的喷液头
技术领域
本发明涉及植保无人机技术领域,特别涉及一种植保无人机的喷液头。
背景技术
植保无人机机体型娇小而功能强大,可负载8-10公斤农药,在低空喷洒农药,每分钟可完成一亩地的作业。其喷洒效率是传统人工的30倍。该飞机采用智能操控,操作手通过地面遥控器及GPS定位对其实施控制,其旋翼产生的向下气流有助于增加雾流对作物的穿透性,防治效果好,同时远距离操控施药大大提高了农药喷洒的安全性。还能通过搭载视频器件,对农业病虫害等进行实时监控。
植保无人机上安装的喷液头需要稳定的工作效率和均匀的喷洒工作才能保证高效的喷洒工作,现有的喷洒头与市场上普通的喷头没有明显区别,在高强度的工作要求下使用寿命较低,从高向下喷洒时喷洒面积不均匀,因此,发明一种植保无人机的喷液头很有必要。
发明内容
本发明针对现有技术中存在的技术问题,提供一种植保无人机的喷液头。
本发明解决上述技术问题的技术方案如下:一种植保无人机的喷液头,包括喷液壳体,所述喷液壳体前侧表面设有安装座,所述喷液壳体一端螺纹连接有喷头尾壳,所述喷液壳体另一端连通设有喷头连接头,所述喷头连接头一侧螺纹设有出液口,所述喷液壳体内部设有液体帽,所述液体帽顶部和底部均设有加强块,所述加强块固定设置于喷液壳体内壁顶部和内壁底部,所述液体帽内部设有混合腔,所述液体帽一侧设有密封垫片,所述喷头尾壳内侧固定设有输液管。
进一步,所述喷液壳体内部设有空气帽,所述空气帽一侧设有喷头螺母,所述空气帽和喷头螺母均设置于喷头连接头和液体帽之间。
进一步,所述喷头尾壳内部设有过滤网,所述输液管设置于过滤网内侧且延伸至液体帽内部与混合腔螺纹连接。
进一步,所述出液口内部均匀设有活动扇叶,所述活动扇叶与出液口内壁滑动连接,所述活动扇叶内部贯穿设有多个通液口。
本发明的有益效果是:通过设有喷头尾壳、出液口和输液管,药液由喷头尾壳外侧进入通过过滤网进行过滤后进入输液管,再将药液通向液体帽内部进行与气体的混合和输送,混合后的气液由出液口喷出,液体通过活动扇叶表面的通液口和活动扇叶之间的空隙喷出,同时活动扇叶也会在出液口内壁上转动,使药液均匀喷洒增加喷洒面积。
在上述技术方案的基础上,本发明还可以做如下改进:
进一步,所述液体帽内壁一侧设有气阀,所述气阀设置于输液管顶部和底部且气阀内侧设有通气管,所述通气管与混合腔连通。
进一步,所述液体帽一端设有插槽,所述输液管与插槽插件,所述密封垫片环绕设置于插槽外侧。
采用上述进一步方案的有益效果是:通过设有液帽体和密封垫片,药液通过输液管进入插槽,密封垫片保证内部药液不外漏,同时气阀连接外侧的气泵并向混合腔内传输空气与药液混合后,高压气体带动药液向外侧喷出,药液和气体均匀稳定传输,药液不会在液体帽内流动保证内部整洁,同时加强块提高内部整体承压强度,保证整体的使用寿命。
附图说明
图1为本发明整体结构示意图;
图2为本发明喷液壳体爆炸图;
图3为本发明喷头尾壳结构示意图;
图4为本发明出液口结构示意图。
附图中,各标号所代表的部件列表如下:
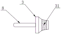
1喷液壳体、11空气帽、12喷头螺母、2安装座、3喷头尾壳、31过滤网、4喷头连接头、5出液口、51活动扇叶、52通液口、6液体帽、61加强块、62混合腔、63气阀、64通气管、65插槽、7密封垫片、8输液管。
具体实施方式
以下结合附图对本发明的原理和特征进行描述,所举实例只用于解释本发明,并非用于限定本发明的范围。
实施例1
如图1-4所示的一种植保无人机的喷液头,包括喷液壳体1,喷液壳体1前侧表面设有安装座2,喷液壳体1一端螺纹连接有喷头尾壳3,喷液壳体1另一端连通设有喷头连接头4,喷头连接头4一侧螺纹设有出液口5,喷液壳体1内部设有液体帽6,液体帽6顶部和底部均设有加强块61,加强块61固定设置于喷液壳体1内壁顶部和内壁底部,液体帽6内部设有混合腔62,液体帽6一侧设有密封垫片7,喷头尾壳3内侧固定设有输液管8。
喷液壳体1内部设有空气帽11,空气帽11一侧设有喷头螺母12,空气帽11和喷头螺母12均设置于喷头连接头4和液体帽6之间,空气帽11和喷头螺母分别与喷头连接头4和液体帽6连接安装。
喷头尾壳3内部设有过滤网31,输液管8设置于过滤网31内侧且延伸至液体帽6内部与混合腔62螺纹连接,药液由喷头尾壳3外侧进入通过过滤网31进行过滤后进入输液管8,再将药液通向液体帽6内部进行与气体的混合和输送。
出液口5内部均匀设有活动扇叶51,活动扇叶51与出液口5内壁滑动连接,活动扇叶51内部贯穿设有多个通液口52,液体通过活动扇叶51表面的通液口52和活动扇叶51之间的空隙喷出。
本实施例具体实时方式:药液由喷头尾壳3外侧进入通过过滤网31进行过滤后进入输液管8,再将药液通向液体帽6内部进行与气体的混合和输送,混合后的气液由出液口5喷出,液体通过活动扇叶51表面的通液口52和活动扇叶51之间的空隙喷出,同时活动扇叶51也会在出液口5内壁上转动,使药液均匀喷洒增加喷洒面积。
实施例2
液体帽6内壁一侧设有气阀63,气阀63设置于输液管8顶部和底部且气阀63内侧设有通气管64,通气管64与混合腔62连通,气阀63连接外侧的气泵并向混合腔62内传输空气与药液混合后,高压气体带动药液向外侧喷出,药液和气体均匀稳定传输。
液体帽6一端设有插槽65,输液管8与插槽65插件,密封垫片7环绕设置于插槽65外侧,密封垫片7保证内部药液不外漏。
本实施例具体实时方式:药液通过输液管8进入插槽65,密封垫片7保证内部药液不外漏,同时气阀63连接外侧的气泵并向混合腔62内传输空气与药液混合后,高压气体带动药液向外侧喷出,药液和气体均匀稳定传输,药液不会在液体帽6内流动保证内部整洁,同时加强块61提高内部整体承压强度,保证整体的使用寿命。
以上所述仅为本发明的较佳实施例,并不用以限制本发明,凡在本发明的精神和原则之内,所作的任何修改、等同替换、改进等,均应包含在本发明的保护范围之内。

Claims (6)

1.一种植保无人机的喷液头,包括喷液壳体(1),其特征在于,所述喷液壳体(1)前侧表面设有安装座(2),所述喷液壳体(1)一端螺纹连接有喷头尾壳(3),所述喷液壳体(1)另一端连通设有喷头连接头(4),所述喷头连接头(4)一侧螺纹设有出液口(5),所述喷液壳体(1)内部设有液体帽(6),所述液体帽(6)顶部和底部均设有加强块(61),所述加强块(61)固定设置于喷液壳体(1)内壁顶部和内壁底部,所述液体帽(6)内部设有混合腔(62),所述液体帽(6)一侧设有密封垫片(7),所述喷头尾壳(3)内侧固定设有输液管(8)。
2.根据权利要求1所述一种植保无人机的喷液头,其特征在于,所述喷液壳体(1)内部设有空气帽(11),所述空气帽(11)一侧设有喷头螺母(12),所述空气帽(11)和喷头螺母(12)均设置于喷头连接头(4)和液体帽(6)之间。
3.根据权利要求1所述一种植保无人机的喷液头,其特征在于,所述喷头尾壳(3)内部设有过滤网(31),所述输液管(8)设置于过滤网(31)内侧且延伸至液体帽(6)内部与混合腔(62)螺纹连接。
4.根据权利要求1所述一种植保无人机的喷液头,其特征在于,所述出液口(5)内部均匀设有活动扇叶(51),所述活动扇叶(51)与出液口(5)内壁滑动连接,所述活动扇叶(51)内部贯穿设有多个通液口(52)。
5.根据权利要求1所述一种植保无人机的喷液头,其特征在于,所述液体帽(6)内壁一侧设有气阀(63),所述气阀(63)设置于输液管(8)顶部和底部且气阀(63)内侧设有通气管(64),所述通气管(64)与混合腔(62)连通。
6.根据权利要求1所述一种植保无人机的喷液头,其特征在于,所述液体帽(6)一端设有插槽(65),所述输液管(8)与插槽(65)插件,所述密封垫片(7)环绕设置于插槽(65)外侧。
CN202011162094.4A 2020-10-27 2020-10-27 一种植保无人机的喷液头 Pending CN112371377A (zh)

Priority Applications (1)

Application Number Priority Date Filing Date Title
CN202011162094.4A CN112371377A (zh) 2020-10-27 2020-10-27 一种植保无人机的喷液头

Applications Claiming Priority (1)

Application Number Priority Date Filing Date Title
CN202011162094.4A CN112371377A (zh) 2020-10-27 2020-10-27 一种植保无人机的喷液头

Publications (1)

Publication Number Publication Date
CN112371377A true CN112371377A (zh) 2021-02-19

Family

ID=74577013

Family Applications (1)

Application Number Title Priority Date Filing Date
CN202011162094.4A Pending CN112371377A (zh) 2020-10-27 2020-10-27 一种植保无人机的喷液头

Country Status (1)

Country Link
CN (1) CN112371377A (zh)

Cited By (1)

* Cited by examiner, † Cited by third party
Publication number Priority date Publication date Assignee Title
CN114572401A (zh) * 2022-03-22 2022-06-03 淮滨县雨顺农业科技有限公司 一种植保无人机喷洒组件

Citations (13)

* Cited by examiner, † Cited by third party
Publication number Priority date Publication date Assignee Title
US4682730A (en) * 1983-02-22 1987-07-28 Raymond J. Nakachian Distributor or dripper for the micro-irrigation of soils
CN2724849Y (zh) * 2004-07-16 2005-09-14 农业部南京农业机械化研究所 射流式空气混合喷嘴
CN1757892A (zh) * 2004-10-05 2006-04-12 通用电气公司 用于调整燃气轮机燃料喷嘴的燃料喷射组件的方法
EP2024100A2 (en) * 2006-06-05 2009-02-18 Spraying Systems Co. Full cone air assisted spray nozzle for continuous metal casting cooling
CN201692903U (zh) * 2010-07-06 2011-01-05 王颖 一种节水喷头
WO2012078425A1 (en) * 2010-12-07 2012-06-14 University Of Florida Research Foundation, Inc. Spraying system and methods of use thereof
CN203990986U (zh) * 2014-07-21 2014-12-10 斯普瑞喷雾系统(上海)有限公司 优化中央液体分布的实心锥型喷嘴装置
CN104815773A (zh) * 2015-04-14 2015-08-05 江苏大学 一种两相流雾化掺气喷嘴
CN207188047U (zh) * 2017-08-18 2018-04-06 刘娜 一种螺栓孔润滑喷射装置
CN208554675U (zh) * 2018-07-05 2019-03-01 迈德乐喷雾系统广州有限公司 一种低压内混式双流体喷嘴
CN110521700A (zh) * 2019-08-26 2019-12-03 贵州大学 一种基于农业机械防灰尘堵塞结构的药液喷洒设备
CN210545796U (zh) * 2019-07-26 2020-05-19 安徽坚实农业发展有限公司 一种适用于植保无人机的微型混合喷嘴
CN111263666A (zh) * 2017-09-08 2020-06-09 埃尔因斯佩斯 通过空气进行表面消毒的设备的雾化喷嘴

Patent Citations (14)

* Cited by examiner, † Cited by third party
Publication number Priority date Publication date Assignee Title
US4682730A (en) * 1983-02-22 1987-07-28 Raymond J. Nakachian Distributor or dripper for the micro-irrigation of soils
CN2724849Y (zh) * 2004-07-16 2005-09-14 农业部南京农业机械化研究所 射流式空气混合喷嘴
CN1757892A (zh) * 2004-10-05 2006-04-12 通用电气公司 用于调整燃气轮机燃料喷嘴的燃料喷射组件的方法
EP2024100A2 (en) * 2006-06-05 2009-02-18 Spraying Systems Co. Full cone air assisted spray nozzle for continuous metal casting cooling
CN201692903U (zh) * 2010-07-06 2011-01-05 王颖 一种节水喷头
US20170087572A1 (en) * 2010-12-07 2017-03-30 University Of Florida Research Foundation, Inc. Spraying system and methods of use thereof
WO2012078425A1 (en) * 2010-12-07 2012-06-14 University Of Florida Research Foundation, Inc. Spraying system and methods of use thereof
CN203990986U (zh) * 2014-07-21 2014-12-10 斯普瑞喷雾系统(上海)有限公司 优化中央液体分布的实心锥型喷嘴装置
CN104815773A (zh) * 2015-04-14 2015-08-05 江苏大学 一种两相流雾化掺气喷嘴
CN207188047U (zh) * 2017-08-18 2018-04-06 刘娜 一种螺栓孔润滑喷射装置
CN111263666A (zh) * 2017-09-08 2020-06-09 埃尔因斯佩斯 通过空气进行表面消毒的设备的雾化喷嘴
CN208554675U (zh) * 2018-07-05 2019-03-01 迈德乐喷雾系统广州有限公司 一种低压内混式双流体喷嘴
CN210545796U (zh) * 2019-07-26 2020-05-19 安徽坚实农业发展有限公司 一种适用于植保无人机的微型混合喷嘴
CN110521700A (zh) * 2019-08-26 2019-12-03 贵州大学 一种基于农业机械防灰尘堵塞结构的药液喷洒设备

Non-Patent Citations (3)

* Cited by examiner, † Cited by third party
Title
南京农业机械化学校主编: "《农业机械:南方本》", 31 October 1992, 中国农业出版社 *
周渭镐等编: "《舰船汽轮机结构和强度》", 31 December 1985, 国防工业出版社 *
曹建明著: "《液体喷雾学》", 31 July 2013, 北京大学出版社 *

Cited By (2)

* Cited by examiner, † Cited by third party
Publication number Priority date Publication date Assignee Title
CN114572401A (zh) * 2022-03-22 2022-06-03 淮滨县雨顺农业科技有限公司 一种植保无人机喷洒组件
CN114572401B (zh) * 2022-03-22 2024-06-07 陕西绿源优品农业科技有限公司 一种植保无人机喷洒组件

Similar Documents

Publication Publication Date Title
CN113439728A (zh) 一种自适应无人机喷烟喷雾施药系统及其使用方法
CN112371377A (zh) 一种植保无人机的喷液头
CN210258847U (zh) 无人机式弥雾机和无人机弥雾喷洒系统
CN213784997U (zh) 遥控履带自走式风送喷雾机
CN205323066U (zh) 一种带有自动速射雾炮的除烟消防车
CN212273642U (zh) 一种微量可调的油雾器
CN210592444U (zh) 一种结合烟雾机的植保无人机
CN208407381U (zh) 一种烟气脱硫雾化器
CN2073311U (zh) 水力空气泡沫灭火装置
CN210675588U (zh) 一种多功能喷液枪
CN207985198U (zh) 一种植保无人机用撒药箱
CN216150096U (zh) 一种雾化喷头及应用的消毒系统
CN217694393U (zh) 草坪养护机
CN212141919U (zh) 一种智能风送式多流抑尘装置
CN215851892U (zh) 飞行器的喷洒装置
CN211153466U (zh) 一种第三代无人机烟雾器装置
CN212243842U (zh) 无人机喷洒装置
CN209934998U (zh) 一种用于无人机的离心喷头
CN212697355U (zh) 一种农业种植用混合喷洒设备箱体
CN209892335U (zh) 雾化装置
CN211581339U (zh) 一种农业种植中的农药喷洒混合装置
CN211048095U (zh) 一种果树用授粉装置
CN221815790U (zh) 一种用于无人机的流体自混合装置、无人机
CN209423878U (zh) 一种调节式植保无人机农药喷洒喷头
CN112868632A (zh) 一种植保无人机喷粉装置

Legal Events

Date Code Title Description
PB01 Publication
PB01 Publication
SE01 Entry into force of request for substantive examination
SE01 Entry into force of request for substantive examination
RJ01 Rejection of invention patent application after publication

Application publication date: 20210219

RJ01 Rejection of invention patent application after publication