CN112324774B - 建筑墙体用膨胀螺栓 - Google Patents
建筑墙体用膨胀螺栓 Download PDFInfo
- Publication number
- CN112324774B CN112324774B CN202011165810.4A CN202011165810A CN112324774B CN 112324774 B CN112324774 B CN 112324774B CN 202011165810 A CN202011165810 A CN 202011165810A CN 112324774 B CN112324774 B CN 112324774B
- Authority
- CN
- China
- Prior art keywords
- bolt
- expansion
- nut
- tail part
- expansion sleeve
- Prior art date
- Legal status (The legal status is an assumption and is not a legal conclusion. Google has not performed a legal analysis and makes no representation as to the accuracy of the status listed.)
- Expired - Fee Related
Links
- 238000010276 construction Methods 0.000 claims 8
- 238000000034 method Methods 0.000 abstract description 5
- 238000009434 installation Methods 0.000 description 10
- 238000010586 diagram Methods 0.000 description 5
- 238000012986 modification Methods 0.000 description 4
- 230000004048 modification Effects 0.000 description 4
- 238000011900 installation process Methods 0.000 description 3
- 230000000694 effects Effects 0.000 description 2
- 238000004064 recycling Methods 0.000 description 2
- 230000009286 beneficial effect Effects 0.000 description 1
- 238000004891 communication Methods 0.000 description 1
- 230000006378 damage Effects 0.000 description 1
- 238000006073 displacement reaction Methods 0.000 description 1
- 230000002349 favourable effect Effects 0.000 description 1
Images
Classifications
-
- F—MECHANICAL ENGINEERING; LIGHTING; HEATING; WEAPONS; BLASTING
- F16—ENGINEERING ELEMENTS AND UNITS; GENERAL MEASURES FOR PRODUCING AND MAINTAINING EFFECTIVE FUNCTIONING OF MACHINES OR INSTALLATIONS; THERMAL INSULATION IN GENERAL
- F16B—DEVICES FOR FASTENING OR SECURING CONSTRUCTIONAL ELEMENTS OR MACHINE PARTS TOGETHER, e.g. NAILS, BOLTS, CIRCLIPS, CLAMPS, CLIPS OR WEDGES; JOINTS OR JOINTING
- F16B13/00—Dowels or other devices fastened in walls or the like by inserting them in holes made therein for that purpose
- F16B13/04—Dowels or other devices fastened in walls or the like by inserting them in holes made therein for that purpose with parts gripping in the hole or behind the reverse side of the wall after inserting from the front
- F16B13/06—Dowels or other devices fastened in walls or the like by inserting them in holes made therein for that purpose with parts gripping in the hole or behind the reverse side of the wall after inserting from the front combined with expanding sleeve
- F16B13/063—Dowels or other devices fastened in walls or the like by inserting them in holes made therein for that purpose with parts gripping in the hole or behind the reverse side of the wall after inserting from the front combined with expanding sleeve by the use of an expander
- F16B13/066—Dowels or other devices fastened in walls or the like by inserting them in holes made therein for that purpose with parts gripping in the hole or behind the reverse side of the wall after inserting from the front combined with expanding sleeve by the use of an expander fastened by extracting a separate expander-part, actuated by the screw, nail or the like
-
- F—MECHANICAL ENGINEERING; LIGHTING; HEATING; WEAPONS; BLASTING
- F16—ENGINEERING ELEMENTS AND UNITS; GENERAL MEASURES FOR PRODUCING AND MAINTAINING EFFECTIVE FUNCTIONING OF MACHINES OR INSTALLATIONS; THERMAL INSULATION IN GENERAL
- F16B—DEVICES FOR FASTENING OR SECURING CONSTRUCTIONAL ELEMENTS OR MACHINE PARTS TOGETHER, e.g. NAILS, BOLTS, CIRCLIPS, CLAMPS, CLIPS OR WEDGES; JOINTS OR JOINTING
- F16B23/00—Specially shaped nuts or heads of bolts or screws for rotations by a tool
- F16B23/0007—Specially shaped nuts or heads of bolts or screws for rotations by a tool characterised by the shape of the recess or the protrusion engaging the tool
- F16B23/0023—Specially shaped nuts or heads of bolts or screws for rotations by a tool characterised by the shape of the recess or the protrusion engaging the tool substantially cross-shaped
-
- Y—GENERAL TAGGING OF NEW TECHNOLOGICAL DEVELOPMENTS; GENERAL TAGGING OF CROSS-SECTIONAL TECHNOLOGIES SPANNING OVER SEVERAL SECTIONS OF THE IPC; TECHNICAL SUBJECTS COVERED BY FORMER USPC CROSS-REFERENCE ART COLLECTIONS [XRACs] AND DIGESTS
- Y02—TECHNOLOGIES OR APPLICATIONS FOR MITIGATION OR ADAPTATION AGAINST CLIMATE CHANGE
- Y02E—REDUCTION OF GREENHOUSE GAS [GHG] EMISSIONS, RELATED TO ENERGY GENERATION, TRANSMISSION OR DISTRIBUTION
- Y02E10/00—Energy generation through renewable energy sources
- Y02E10/50—Photovoltaic [PV] energy
Landscapes
- Engineering & Computer Science (AREA)
- General Engineering & Computer Science (AREA)
- Mechanical Engineering (AREA)
- Dowels (AREA)
Abstract
本发明提供一种建筑墙体用膨胀螺栓,该膨胀螺栓包括:螺栓,第一螺母,膨胀套管,螺栓包括尾部和螺栓主体,尾部与螺栓主体的一端连接,螺栓主体的另一端设有外螺纹;第一螺母与螺栓主体的另一端螺纹连接;膨胀套管套设于螺栓主体上,在膨胀套管上靠近螺栓尾部的端部设置有若干开口,开口沿螺栓的轴线方向设置;旋转第一螺母能够将螺栓尾部拉入膨胀套管内并将膨胀套管的开口撑开。采用本发明提供的建筑墙体用膨胀螺栓,能够在安装过程中不受墙体孔壁与膨胀螺栓间摩擦力的影响,可以实现快速,可靠与高效安装,在膨胀螺栓拆卸过程中实现方便拆卸,使拆卸后的膨胀螺栓保持完好,可以重复使用。
Description
技术领域
本发明涉及建筑墙体安装用紧固件,特别涉及一种建筑墙体用膨胀螺栓。
背景技术
膨胀螺栓是用于将构件或者设备固定在建筑墙体上的连接件。现有技术中膨胀螺栓包括套管,螺栓、螺母、垫片。螺栓一端是螺纹,一端有椎度。螺栓外面包置套管,套管靠螺栓尾部端有若干切口。安装时把膨胀螺栓置于墙体上开好的孔内,锁紧螺母,螺母拉动螺栓使螺栓的楔形尾部进入套管,利用螺栓尾部楔形斜度来促使套管尾部膨胀产生摩擦胀紧力,达到固定效果。但是,在开始固定膨胀螺栓时,螺栓与螺母的摩擦力大于螺栓与套管及螺栓与固定孔壁之间的摩擦力,螺栓会随螺母转动,无法实现快速锁紧螺母、固定螺栓的目的;当套管与建筑墙壁间的摩擦力大于螺栓与套管之间滑动摩擦力时,而且螺栓的楔形尾部已经拉入套管,螺母与螺栓之间在摩擦力大于螺栓楔形尾部与套管之间的滑动摩擦力时,螺栓容易在套管内转动,无法实现套管与螺栓只做轴向运动直至膨胀紧固;现有技术中,拆除膨胀螺栓的方案有两种:(1)破坏建筑墙体;(2)机械切断螺栓端部,将大部分螺栓与套管留在建筑墙体,留下永久隐患。
发明内容
为了解决现有技术中存在的问题,本发明提供了一种建筑墙体用膨胀螺栓,所述膨胀螺栓包括:螺栓,所述螺栓包括尾部和螺栓主体,所述尾部与所述螺栓主体的一端连接,所述螺栓主体的另一端设有外螺纹;第一螺母,所述第一螺母与所述螺栓主体的另一端螺纹连接;膨胀套管,所述膨胀套管套设于所述螺栓主体上,在所述膨胀套管上靠近所述尾部的端部设置有若干开口,所述开口沿所述螺栓的轴线方向设置;旋转所述第一螺母能够将所述尾部拉入所述膨胀套管内并将所述膨胀套管的所述开口撑开。
进一步地,在上述的建筑墙体用膨胀螺栓中,上述膨胀螺栓的尾部设为圆台状,所述尾部的小端与所述螺栓主体的一端连接,所述尾部的侧面设有凸起,所述凸起沿所述螺栓的轴线方向由所述尾部的小端延伸至所述尾部的大端;所述凸起能够由所述开口伸出所述膨胀套管。
进一步地,在上述的建筑墙体用膨胀螺栓中,所述凸起设置有多个,多个所述凸起在所述尾部的侧表面均匀分布。
进一步地,在上述的建筑墙体用膨胀螺栓中,所述凸起是由四个表面组成的立体结构、四个表面分别为第一直侧面、斜侧面、底面和第二直侧面,所述底面为弧面并与所述尾部的侧表面连接,所述第一直侧面的一端与所述底面相交、所述斜侧面的一端与所述底面相交、所述第一直侧面的另一端与所述斜侧面的另一端在所述凸起的顶部相交,所述第一直侧面平行于所述螺栓主体的轴线,所述第二直侧面位于所述尾部的小端,所述第二直侧面垂直于所述螺栓主体的轴线,所述第二直侧面分别与所述底面、所述第一直侧面、所述斜侧面相交,所述第一直侧面垂直于所述尾部的侧表面、所述斜侧面位于所述第一直侧面的顺时针一侧。
进一步地,在上述的建筑墙体用膨胀螺栓中,所述凸起底面宽度不大于所述开口的宽度,所述第二直侧面垂直于所述螺栓主体的轴线。
进一步地,在上述的建筑墙体用膨胀螺栓中,所述尾部的任意位置处的圆形截面的半径与该位置处的所述凸起的高度之和不大于所述尾部的大端半径;所述凸起位于所述尾部小端的高度大于所述凸起位于所述尾部大端的高度。
进一步地,在上述的建筑墙体用膨胀螺栓中,本发明提供的膨胀螺栓还包括第二螺母,在所述膨胀套管上并靠近所述第一螺母的一端设有外螺纹,所述第二螺母与所述膨胀套管的设有外螺纹的一端螺纹连接,转动所述第二螺母能使所述膨胀套管沿所述螺栓主体的轴线方向移动;优选地,所述第二螺母为扁螺母,所述第二螺母为圆形;优选地,所述第二螺母至少设有1对旋拧孔。
进一步地,在上述的建筑墙体用膨胀螺栓中,所述螺栓主体的另一端的端面设有十字槽,利用十字螺丝刀抵住所述十字槽能够阻止所述螺栓转动;进一步地,所述第一螺母至所述膨胀套管之间依次套设有弹簧垫圈和平垫圈。
进一步地,在上述的建筑墙体用膨胀螺栓中,所述开口的长度大于等于所述螺栓的直径的4倍。
进一步地,所在上述的建筑墙体用膨胀螺栓中,述第二螺母的外径是所述膨胀套管的外径的2.5-3.5倍。
安装所述膨胀螺栓时,先将膨胀螺栓放入预先开好的安装孔内,用十字螺丝刀经所述螺栓主体的端面的十字槽固定所述螺栓,阻止了螺栓的转动,用扳手锁紧所述第一螺母,将所述螺栓尾部拉进所述膨胀螺栓的膨胀套管内,使所述膨胀套管的开口被撑开,所述螺栓尾部设置的凸起与所述膨胀套管开口共同作用,阻止了膨胀套管随螺栓的转动,同时凸起增大了所述膨胀套管的开口撑开的幅度,保证了所述膨胀螺栓安装可靠。
拆卸所述膨胀螺栓时,拆下所述第一螺母、所述弹簧垫圈、所述平垫圈。用十字螺丝刀经所述螺栓主体的端面的十字槽固定所述螺栓,利用专业扳手锁紧所述第二螺母,所述凸起完全阻止了所述膨胀套管随所述第二螺母的转动,在锁紧所述第二螺母时,由于所述第二螺母受建筑墙体阻挡不能沿所述第二螺母的轴线方向移动,使所述膨胀套管由墙体向外移动,所述膨胀套管开口端在建筑开孔压力下恢复原形,取出即可。解决了膨胀螺栓回收再利用的问题,节约成本。
本发明提供的技术方案带来的有益效果是:能够在安装过程中不受墙体孔壁与膨胀螺栓间摩擦力的影响,可以实现快速,可靠与高效安装。在膨胀螺栓拆卸过程中实现方便拆卸,使拆卸后膨胀螺栓保持完好,可以重复使用。
附图说明
构成本申请的一部分的说明书附图用来提供对本发明的进一步理解,本发明的示意性实施例及其说明用于解释本发明,并不构成对本发明的不当限定。其中:
图1为本发明的建筑墙体用膨胀螺栓一实施例的结构示意图。
图2为图1加上膨胀套管后的截面结构示意图。
图3为图1中螺栓螺纹端十字槽结构示意图。
图4为图1中螺栓由螺纹端视向尾部的结构示意图。
图5为图1中螺栓尾部的凸起示意图。
图6为图1中扁螺母的结构示意图。
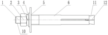
附图标记说明:1螺栓,2第一螺母,3弹簧垫圈,4平垫圈,5第二螺母,6膨胀套管,10螺纹,11尾部,12凸起,13螺栓主体,14十字槽,120底面,121第一直侧面,122斜侧面,123第二直侧面,41旋拧孔。
具体实施方式
下面将参考附图并结合实施例来详细说明本发明。各个示例通过本发明的解释的方式提供而非限制本发明。实际上,本领域的技术人员将清楚,在不脱离本发明的范围或精神的情况下,可在本发明中进行修改和变型。例如,示例为或描述为一个实施例的一部分的特征可用于另一个实施例,以产生又一个实施例。因此,所期望的是,本发明包含归入所附权利要求及其等同物的范围内的此类修改和变型。
在本发明的描述中,术语“纵向”、“横向”、“上”、“下”、“前”、“后”、“左”、“右”、“竖直”、“水平”、“顶”、“底”等指示的方位或位置关系为基于附图所示的方位或位置关系,仅是为了便于描述本发明而不是要求本发明必须以特定的方位构造和操作,因此不能理解为对本发明的限制。本发明中使用的术语“相连”、“连接”、“设置”应做广义理解,例如,可以是固定连接,也可以是可拆卸连接;可以是直接相连,也可以通过中间部件间接相连;可以是有线电连接、无线电连接,也可以是无线通信信号连接,对于本领域的普通技术人员而言,可以根据具体情况理解上述术语的具体含义。
所附附图中示出了本发明的一个或多个示例。详细描述使用了数字和字母标记来指代附图中的特征。附图和描述中的相似或类似标记的已经用于指代本发明的相似或类似的部分。如本文所用的那样,用语“第一”、“第二”可互换地使用,以将一个构件与另一个区分开,且不旨在表示单独构件的位置或重要性。
如图1所示,根据本发明的实施例,提供了一种建筑墙体用膨胀螺栓,包括螺栓1,第一螺母2,弹簧垫圈3,平垫圈4,第二螺母5,膨胀套管6。其中螺栓1包括端部,螺栓主体13和尾部11,螺栓主体13上设置有外螺纹10,尾部11上设置有凸起12。
如图2所示,尾部11为圆台状,尾部11的小端与螺栓主体13的一端连接,尾部11的侧面设有凸起12,凸起12沿螺栓1的轴线方向由尾部11的小端延伸至尾部11的大端。
如图2所示,在靠近螺栓1有螺纹一端的膨胀套管6的外壁设有螺纹,在膨胀套管6的另一端设置有开口。
具体而言,在螺栓1的一端设有螺纹10,另一端为圆台状尾部11,尾部11上设有凸起12,凸起12能够阻止膨胀套管6跟随螺栓1旋转,实现可靠快速固定。在螺栓1具有螺纹10的一端端面设有十字槽14,如图6所示。膨胀套管6自螺栓1具有螺纹端套进螺栓1,第二螺母5旋拧在膨胀套管6的外螺纹上,平垫圈4、弹簧垫圈3自螺栓1有螺纹10的端部套在螺栓主体13上,螺母2旋拧在螺栓1上。
如图3所示,在螺栓1具有螺纹10的一端的端面上,开有十字槽14。在固定膨胀螺栓过程中,用十字螺丝刀通过十字槽14固定螺栓1,拧动第一螺母2,使得膨胀套管6与螺栓1只做轴向相对运动,达到快速拧紧该膨胀螺栓的目的。
如图5所示,凸起12是由四个表面组成的立体结构、四个表面分别为第一直侧面121、斜侧面122、底面120和第二直侧面123,底面120为弧面并与尾部11的侧表面连接,第一直侧面121的一端与底面120相交、斜侧面122的一端与底面120相交、第一直侧面121的另一端与斜侧面122的另一端在凸起12的顶部相交,第一直侧面121平行于螺栓主体13的轴线,第二直侧面123位于尾部11的小端,第二直侧面123分别与底面120、第一直侧面121、斜侧面122相交,第一直侧面121垂直于尾部11的侧表面、斜侧面位于第一直侧面121的顺时针一侧。安装时,有利于凸起12将开口部分撑起,拆卸时,直侧面121能够阻止膨胀套管6随第二螺母5转动。
如图2所示,凸起12的底面120的最大尺寸不大于膨胀套管6的开口宽度,保证凸起12能够被顺利拉进膨胀套管6的开口。凸起12的第二直侧面123设于尾部11的小端,并垂直尾部11的轴线,如果第二直侧面向尾部11的大端方向倾斜,会使凸起12从尾部11的小端到大端方向上长度不足,在拆卸膨胀螺栓时不能阻止膨胀套管6的转动。尾部11的任意位置处的圆形截面的半径与该位置处的凸起12的高度之和不大于尾部11的大端半径,可以不增大膨胀螺栓整体尺寸,从而适应标准的膨胀螺栓安装孔尺寸。
如图1所示,膨胀套管6的开口长度大于等于螺栓主体13的直径的4倍,比如4倍、5倍,保证膨胀套管6不被胀裂,拆卸后膨胀螺栓保持完好,能够反复使用。
如图6所示,第二螺母5为圆形,第二螺母为扁螺母,既不影响安装后的美观,又节省安装空间,第二螺母5上设有2对旋拧孔41,在本实施例中,第二螺母5的外径是膨胀套管6外径的2.5-3.5倍,保证第二螺母5具有足够的强度,在拆卸时能够将膨胀套管6从墙体内拉出。
本发明的建筑墙体用膨胀螺栓实施例的安装过程为:
将膨胀螺栓置于预先开好的孔内,用十字螺丝刀抵住螺栓主体13的端面上的十字槽14,旋紧第一螺母2,此时,由于螺丝刀抵住了螺栓1,使螺栓1不能转动,只能与膨胀套管6做轴向平移运动,能够达到快速、方便安装的目的。
在螺栓1与膨胀套管6相对运动过程中,螺栓尾部11使膨胀套管6具有开口的一端胀开,同时凸起12使膨胀套管6具有开口的一端胀开度增大,而且凸起12与膨胀套管6的开口相互作用时,凸起12完全阻止了膨胀套管6跟随螺栓主体13的转动,实现快速、可靠固定。
本发明的建筑墙体用膨胀螺栓实施例的拆卸过程为:
拆下第一螺母2,弹簧垫圈3,平垫圈4,将螺栓主体13向内推,使其脱离膨胀套管6,用十字螺丝刀抵住螺栓主体13的端面上的十字槽,使螺栓1不能转动,再锁紧第二螺母5,第二螺母5与膨胀套管6产生相对位移,由于第二螺母5受建筑墙体阻挡不能沿第二螺母5的轴线方向移动,使膨胀套管6由墙体向外移动,膨胀套管6的开口端在建筑开孔的压力下恢复原形,取出即可。由于螺栓1不能转动,凸起12完全阻止了膨胀套管6的转动,实现了快速、方便拆卸,也解决了膨胀螺栓回收再利用问题,节约成本。
从以上的描述中,可以看出,本发明上述的实施例实现了如下技术效果:
与现有技术相比,本发明的建筑墙体用膨胀螺栓在安装过程中不受墙体孔壁与膨胀螺栓间摩擦力的影响,能够实现快速、可靠安装,拆卸方便,膨胀螺栓能够回收再利用进而节约成本。
以上所述仅为本发明的优选实施例,并不用于限制本发明,对于本领域的技术人员来说,本发明可以有各种更改和变化。凡在本发明的精神和原则之内,所作的任何修改、等同替换、改进等,均应包含在本发明的保护范围之内。
Claims (8)
1.一种建筑墙体用膨胀螺栓,其特征在于,所述膨胀螺栓包括:
螺栓,所述螺栓包括尾部和螺栓主体,所述尾部与所述螺栓主体的一端连接,所述螺栓主体的另一端设有外螺纹;
第一螺母,所述第一螺母与所述螺栓主体的另一端螺纹连接;
膨胀套管,所述膨胀套管套设于所述螺栓主体上,在所述膨胀套管上靠近所述尾部的端部设置有若干开口,所述开口沿所述螺栓的轴线方向设置;
旋转所述第一螺母能够将所述尾部拉入所述膨胀套管内并将所述膨胀套管的所述开口撑开;
所述尾部为圆台状,所述尾部的小端与所述螺栓主体的一端连接,所述尾部的侧面设有凸起,所述凸起沿所述螺栓的轴线方向由所述尾部的小端延伸至所述尾部的大端;
所述凸起是由四个表面组成的立体结构、四个表面分别为第一直侧面、斜侧面、底面和第二直侧面,所述底面为弧面并与所述尾部的侧表面连接,所述第一直侧面的一端与所述底面相交、所述斜侧面的一端与所述底面相交、所述第一直侧面的另一端与所述斜侧面的另一端在所述凸起的顶部相交,所述第一直侧面平行于所述螺栓主体的轴线,所述第二直侧面位于所述尾部的小端,所述第二直侧面分别与所述底面、所述第一直侧面、所述斜侧面相交,
所述第一直侧面垂直于所述尾部的侧表面、所述斜侧面位于所述第一直侧面的顺时针一侧;
所述尾部的任意位置处的圆形截面的半径与该位置处的所述凸起的高度之和不大于所述尾部的大端半径;
所述开口的长度大于等于所述螺栓主体的直径的4倍;
还包括第二螺母,在所述膨胀套管上并靠近所述第一螺母的一端设有外螺纹,所述第二螺母与所述膨胀套管的设有外螺纹的一端螺纹连接,转动所述第二螺母能使所述膨胀套管沿所述螺栓主体的轴线方向移动;所述第二螺母的外径是所述膨胀套管的外径的2.5-3.5倍。
2.根据权利要求1所述的建筑墙体用膨胀螺栓,其特征在于,
所述凸起能够由所述开口伸出所述膨胀套管。
3.根据权利要求2所述的建筑墙体用膨胀螺栓,其特征在于,所述凸起设置有多个,多个所述凸起在所述尾部的侧表面均匀分布。
4.根据权利要求1所述的建筑墙体用膨胀螺栓,其特征在于,所述凸起底面宽度不大于所述开口的宽度,所述第二直侧面垂直于所述螺栓主体的轴线。
5.根据权利要求2所述的建筑墙体用膨胀螺栓,其特征在于,
所述凸起位于所述尾部小端的高度大于所述凸起位于所述尾部大端的高度。
6.根据权利要求1所述的建筑墙体用膨胀螺栓,其特征在于,
所述第二螺母为扁螺母,所述第二螺母为圆形。
7.根据权利要求1所述的建筑墙体用膨胀螺栓,其特征在于,
所述第二螺母至少设有1对旋拧孔。
8.根据权利要求1所述的建筑墙体用膨胀螺栓,其特征在于,
所述螺栓主体的另一端的端面设有十字槽,利用十字螺丝刀抵住所述十字槽能够阻止所述螺栓转动;
所述第一螺母至所述膨胀套管之间依次套设有弹簧垫圈和平垫圈。
Priority Applications (1)
| Application Number | Priority Date | Filing Date | Title |
|---|---|---|---|
| CN202011165810.4A CN112324774B (zh) | 2020-10-27 | 2020-10-27 | 建筑墙体用膨胀螺栓 |
Applications Claiming Priority (1)
| Application Number | Priority Date | Filing Date | Title |
|---|---|---|---|
| CN202011165810.4A CN112324774B (zh) | 2020-10-27 | 2020-10-27 | 建筑墙体用膨胀螺栓 |
Publications (2)
| Publication Number | Publication Date |
|---|---|
| CN112324774A CN112324774A (zh) | 2021-02-05 |
| CN112324774B true CN112324774B (zh) | 2022-09-09 |
Family
ID=74296415
Family Applications (1)
| Application Number | Title | Priority Date | Filing Date |
|---|---|---|---|
| CN202011165810.4A Expired - Fee Related CN112324774B (zh) | 2020-10-27 | 2020-10-27 | 建筑墙体用膨胀螺栓 |
Country Status (1)
| Country | Link |
|---|---|
| CN (1) | CN112324774B (zh) |
Families Citing this family (1)
| Publication number | Priority date | Publication date | Assignee | Title |
|---|---|---|---|---|
| CN115574991A (zh) * | 2022-10-27 | 2023-01-06 | 哈尔滨工业大学(深圳) | 基于压阻效应的螺栓套管压力检测方法及应用 |
Family Cites Families (4)
| Publication number | Priority date | Publication date | Assignee | Title |
|---|---|---|---|---|
| CN104595315A (zh) * | 2015-01-30 | 2015-05-06 | 王利烨 | 易拆卸膨胀螺栓 |
| CN108278258A (zh) * | 2018-02-09 | 2018-07-13 | 李晨辉 | 一种可拆卸膨胀螺栓 |
| CN111594519A (zh) * | 2019-09-10 | 2020-08-28 | 李宝彦 | 一种拆卸方便的新型膨胀螺栓 |
| CN110873105A (zh) * | 2019-11-20 | 2020-03-10 | 上海令恩工程科技有限公司 | 一种标准化套筒自锁式单向螺栓的安装方法 |
-
2020
- 2020-10-27 CN CN202011165810.4A patent/CN112324774B/zh not_active Expired - Fee Related
Also Published As
| Publication number | Publication date |
|---|---|
| CN112324774A (zh) | 2021-02-05 |
Similar Documents
| Publication | Publication Date | Title |
|---|---|---|
| EP3406917B1 (en) | Expansion bolt kit and method for using the same | |
| CN112324774B (zh) | 建筑墙体用膨胀螺栓 | |
| CN116084560B (zh) | 一种自锁式节点装置及模块化钢结构 | |
| CN216343256U (zh) | 一种膨胀螺栓 | |
| CN218207382U (zh) | 一种可拆卸膨胀螺栓 | |
| CN208565183U (zh) | 可拆卸膨胀螺栓 | |
| CN216343295U (zh) | 一种高强度汽车座椅锁紧固螺栓 | |
| CN216044863U (zh) | 一种防转动膨胀螺栓 | |
| CN211648755U (zh) | 一种新型防盗螺栓 | |
| CN209095457U (zh) | 膨胀式拆卸工具 | |
| CN205858899U (zh) | 一种地脚膨胀螺母组件 | |
| CN204436987U (zh) | 一种可拆卸膨胀螺栓 | |
| CN211202583U (zh) | 一种膨胀式防松螺栓 | |
| CN209483771U (zh) | 可拆卸式自攻膨胀螺栓 | |
| CN222502332U (zh) | 一种双外六角头膨胀螺丝 | |
| CN213498856U (zh) | 一种便于拆卸的紧固件及用于拆装该紧固件的扳手 | |
| CN116928192A (zh) | 一种可拆卸式膨胀螺栓 | |
| CN220439552U (zh) | 一种辅助装配装置及离子注入设备 | |
| CN221857232U (zh) | 一种地下用膨胀螺筒 | |
| CN219994108U (zh) | 一种高压单头螺栓 | |
| CN221665051U (zh) | 一种可拆卸膨胀螺栓 | |
| CN207724234U (zh) | 用于建筑工程施工的螺帽拧动工具 | |
| CN218947530U (zh) | 一种双头螺栓拆装工具 | |
| CN201269239Y (zh) | 一种可拆卸的膨胀式固定器 | |
| CN218030971U (zh) | 一种三通方管连接件 |
Legal Events
| Date | Code | Title | Description |
|---|---|---|---|
| PB01 | Publication | ||
| PB01 | Publication | ||
| SE01 | Entry into force of request for substantive examination | ||
| SE01 | Entry into force of request for substantive examination | ||
| GR01 | Patent grant | ||
| GR01 | Patent grant | ||
| CF01 | Termination of patent right due to non-payment of annual fee |
Granted publication date: 20220909 |
|
| CF01 | Termination of patent right due to non-payment of annual fee |