CN112314087A - Dig ground seeding integration machinery - Google Patents

Dig ground seeding integration machinery Download PDF

Info

Publication number
CN112314087A
CN112314087A CN202011264620.8A CN202011264620A CN112314087A CN 112314087 A CN112314087 A CN 112314087A CN 202011264620 A CN202011264620 A CN 202011264620A CN 112314087 A CN112314087 A CN 112314087A
Authority
CN
China
Prior art keywords
box
hole
fertilizer
seed
transmission shaft
Prior art date
Legal status (The legal status is an assumption and is not a legal conclusion. Google has not performed a legal analysis and makes no representation as to the accuracy of the status listed.)
Pending
Application number
CN202011264620.8A
Other languages
Chinese (zh)
Inventor
王汉羊
刘丹
马永财
张伟
赵胜雪
付晓明
李文涛
Current Assignee (The listed assignees may be inaccurate. Google has not performed a legal analysis and makes no representation or warranty as to the accuracy of the list.)
Heilongjiang Bayi Agricultural University
Original Assignee
Heilongjiang Bayi Agricultural University
Priority date (The priority date is an assumption and is not a legal conclusion. Google has not performed a legal analysis and makes no representation as to the accuracy of the date listed.)
Filing date
Publication date
Application filed by Heilongjiang Bayi Agricultural University filed Critical Heilongjiang Bayi Agricultural University
Priority to CN202011264620.8A priority Critical patent/CN112314087A/en
Publication of CN112314087A publication Critical patent/CN112314087A/en
Pending legal-status Critical Current

Links

Images

Classifications

    • AHUMAN NECESSITIES
    • A01AGRICULTURE; FORESTRY; ANIMAL HUSBANDRY; HUNTING; TRAPPING; FISHING
    • A01BSOIL WORKING IN AGRICULTURE OR FORESTRY; PARTS, DETAILS, OR ACCESSORIES OF AGRICULTURAL MACHINES OR IMPLEMENTS, IN GENERAL
    • A01B49/00Combined machines
    • A01B49/04Combinations of soil-working tools with non-soil-working tools, e.g. planting tools
    • A01B49/06Combinations of soil-working tools with non-soil-working tools, e.g. planting tools for sowing or fertilising
    • AHUMAN NECESSITIES
    • A01AGRICULTURE; FORESTRY; ANIMAL HUSBANDRY; HUNTING; TRAPPING; FISHING
    • A01CPLANTING; SOWING; FERTILISING
    • A01C5/00Making or covering furrows or holes for sowing, planting or manuring
    • A01C5/06Machines for making or covering drills or furrows for sowing or planting
    • A01C5/062Devices for making drills or furrows
    • AHUMAN NECESSITIES
    • A01AGRICULTURE; FORESTRY; ANIMAL HUSBANDRY; HUNTING; TRAPPING; FISHING
    • A01CPLANTING; SOWING; FERTILISING
    • A01C5/00Making or covering furrows or holes for sowing, planting or manuring
    • A01C5/06Machines for making or covering drills or furrows for sowing or planting
    • A01C5/066Devices for covering drills or furrows
    • AHUMAN NECESSITIES
    • A01AGRICULTURE; FORESTRY; ANIMAL HUSBANDRY; HUNTING; TRAPPING; FISHING
    • A01CPLANTING; SOWING; FERTILISING
    • A01C7/00Sowing
    • A01C7/06Seeders combined with fertilising apparatus

Landscapes

  • Life Sciences & Earth Sciences (AREA)
  • Soil Sciences (AREA)
  • Environmental Sciences (AREA)
  • Engineering & Computer Science (AREA)
  • Mechanical Engineering (AREA)
  • Sowing (AREA)

Abstract

本发明公开了一种刨地播种一体化机械,属于农用机械技术领域。该刨地播种一体化机械包括:箱体外壳,与农用车连接,所述箱体外壳内设有肥料箱和种子箱,箱体外壳底部和侧壁设有通孔,肥料箱和种子箱底部均设有漏斗形放料口,所述箱体外壳底部设有连接柱,所述连接柱一端与箱体外壳底部固连,连接柱另一端设有犁头;物料投放切换机构,设于所述箱体外壳内,分别与肥料箱的和种子箱底部的放料口连接,用于在投放肥料和投放种子之间进行切换,并间歇性的控制肥料或种子的投放。本发明的刨地播种一体化机械通过物料投放切换机构间歇性投放种子或肥料,防止种子与肥料同时投放播种和种子与肥料混合投放播种时,由于种子离肥料过近,导致的烧苗现象。

Figure 202011264620

The invention discloses an integrated machine for planing and sowing, which belongs to the technical field of agricultural machinery. The integrated machine for planing and sowing includes: a box shell, which is connected to an agricultural vehicle, a fertilizer box and a seed box are arranged in the box shell, through holes are arranged at the bottom and side walls of the box shell, and the bottom of the fertilizer box and the seed box are provided. All are provided with a funnel-shaped discharge port, a connecting column is arranged at the bottom of the box shell, one end of the connecting column is fixedly connected with the bottom of the box shell, and the other end of the connecting column is provided with a plough; In the casing of the box, it is respectively connected with the discharge openings at the bottom of the fertilizer box and the bottom of the seed box, which are used to switch between putting fertilizer and seeds, and intermittently control the putting of fertilizer or seeds. The integrated machine for planing and sowing of the present invention intermittently releases seeds or fertilizers through a material release switching mechanism to prevent seedling burning due to seeds being too close to fertilizers when seeds and fertilizers are simultaneously released for sowing or mixed with fertilizers.

Figure 202011264620

Description

Dig ground seeding integration machinery
Technical Field
The invention relates to the technical field of agricultural machinery, in particular to a land digging and sowing integrated machine.
Background
China is a large population country and also a large food import country. With the increase of population in China, the grain safety problem is increasingly prominent, the improvement of the grain self-production capacity is particularly important for solving the grain safety problem, and the agricultural mechanization is an important way for improving the grain production rate and further improving the grain self-production capacity.
Seeding machine can promote the seeding efficiency of seed, but traditional seeding machine puts in the seeding simultaneously with seed and fertilizer, because the seed is too near from fertilizer, the seedling phenomenon of burning that leads to very easily, and then influences the germination percentage of seed.
Disclosure of Invention
The invention aims to overcome the problems in the prior art and provide a land digging and sowing integrated machine.
The invention provides a land digging and sowing integrated machine, which comprises:
the agricultural vehicle fertilizer box comprises a box body shell, a fertilizer box and a seed box are arranged in the box body shell, through holes are formed in the bottom and the side wall of the box body shell, the fertilizer box is provided with a fertilizer discharging hole, the seed box is provided with a seed discharging hole and used for storing and putting in fertilizer, the seed box is used for storing and putting in seeds, a connecting column is arranged at the bottom of the box body shell, one end of the connecting column is fixedly connected with the bottom of the box body shell, and a plough is arranged at the other end of the connecting column;
switching mechanism is put in to material locates in the box shell, be connected with the fertilizer drain hole of can for manuring and the seed drain hole of seed case bottom respectively for switch over between putting in fertilizer and putting in the seed, and the input of the control seed of intermittent type nature and intermittent type nature of control fertilizer.
Preferably, the material feeding switching mechanism comprises a throttle disc, a feeding disc, an installation box and a feeding funnel, the throttle disc is connected with a fertilizer feeding hole of the fertilizer box and a seed feeding hole of the seed box in a sliding manner, the throttle disc can rotate around the rotation center of the throttle disc, a power device is connected at the rotation center of the throttle disc, the throttle disc is provided with a first through hole and a second through hole, the first through hole can be communicated with the seed feeding hole at the bottom of the seed box, the second through hole is communicated with the fertilizer feeding hole at the bottom of the fertilizer box, the lower surface of the throttle disc is connected with the upper surface of the feeding disc in a sliding manner, the feeding disc is provided with a third through hole, the third through hole can be communicated with the first through hole or the second through hole, but cannot be communicated with the first through hole and the second through hole at the same time, the third through hole is positioned under the fertilizer feeding hole at the bottom of the fertilizer box, the lower surface of, the install bin is located in the box shell, the blowing funnel links firmly with the install bin, the macrostoma of blowing funnel with third through-hole intercommunication, the osculum of blowing funnel passes the through-hole of box shell bottom just is located ploughshare back of the plow one side.
Preferably, box shell bottom is equipped with two sets of spliced poles and ploughshare, and two sets of spliced poles and ploughshare distribute in box shell bottom left and right sides, and a set of spliced pole and ploughshare sets up in box shell bottom and leans on preceding position, and a set of spliced pole and ploughshare sets up in box shell bottom and leans on the back position, the osculum of blowing funnel passes the through-hole of box shell bottom just is located the ploughshare back one side of arranging at box shell bottom and leaning on.
Preferably, the power device comprises a geneva mechanism, a first transmission shaft and a driving device, the geneva mechanism is arranged inside the installation box, the discharging disc is provided with a central through hole, one end edge of an output shaft of the geneva mechanism penetrates through the central through hole of the discharging disc and is fixedly connected to the rotation center of the throttling disc, the other end of the output shaft of the geneva mechanism is connected with an installation box bearing, one end of an input shaft of the geneva mechanism is connected with one end of the first transmission shaft through a gear, the other end of the input shaft of the geneva mechanism is connected with the installation box bearing, and the other end of the first transmission shaft is connected with the driving device.
Preferably, drive arrangement includes link, wheel and second transmission shaft, the one end fixed mounting of link is in box shell bottom, the other end of link with the one end bearing of second transmission shaft is connected, and the second transmission shaft passes wheel centre of revolution and links firmly with the wheel, and the other end of second transmission shaft is equipped with first belt pulley, first transmission shaft is equipped with the second belt pulley, first belt pulley is connected with the second belt pulley belt.
Preferably, still include spiral pusher arm, third transmission shaft and third belt pulley, the one end of spiral pusher arm is equipped with helical blade, and helical blade is used for promoting fertilizer or seed to put in, and spiral pusher arm is connected with the head rod bearing that is equipped with in the fertilizer box or the seed case, the other end of spiral pusher arm with the one end gear connection of third transmission shaft, the other end of third transmission shaft pass the through-hole of box shell lateral wall with the third belt pulley links firmly, the third belt pulley with second belt pulley or first belt pulley belt are connected.
Preferably, the connecting column is a telescopic piston column.
Compared with the prior art, the invention has the beneficial effects that: according to the land digging and sowing integrated machine, the seeds or the fertilizer are intermittently put in through the material putting and switching mechanism, and the device can prevent the seedling burning phenomenon caused by too close distance between the seeds and the fertilizer when the seeds and the fertilizer are put in and sown simultaneously and the seeds and the fertilizer are mixed and put in and sown. The device can also realize the functions of simultaneously digging the ground and sowing and preventing the seeds and fertilizer materials from blocking the discharge hole.
Drawings
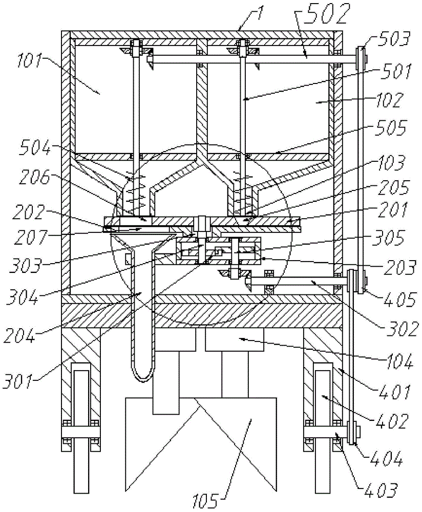
FIG. 1 is a schematic structural view of the present invention;
FIG. 2 is a partial enlarged view of the material placement switching mechanism of the present invention;
FIG. 3 is a schematic view of the construction of the connection column and plowshare assembly of the present invention
FIG. 4 is a schematic structural view of a throttle disk of the present invention
Fig. 5 is a schematic structural diagram of the placing tray of the invention.
Description of reference numerals:
1. the fertilizer box comprises a box body shell, 101, a fertilizer box, 102, a seed box, 103, a seed discharge hole, 104, a connecting column, 105, a plough head, 106, a fertilizer discharge hole, 201, a throttle disc, 202, a discharge disc, 203, an installation box, 204, a discharge hopper, 205, a first through hole, 206, a second through hole, 207, a third through hole, 301, a sheave mechanism, 302, a first transmission shaft, 303, a central through hole, 304, an output shaft, 305, an input shaft, 401, a connecting frame, 402, wheels, 403, a second transmission shaft, 404, a first belt pulley, 405, a second belt pulley, 501, a spiral pushing rod, 502, a third transmission shaft, 503, a third belt pulley, 504, spiral blades and 505 connecting rods.
Detailed Description
Detailed description of the preferred embodimentsthe following detailed description of the present invention will be made with reference to the accompanying drawings 1-5, although it should be understood that the scope of the present invention is not limited to the specific embodiments. All other embodiments, which can be obtained by a person skilled in the art without any inventive step based on the embodiments of the present invention, are within the scope of the present invention.
Example 1:
as shown in fig. 1, the embodiment provides a land digging and seeding integrated machine, which includes a box body shell 1 and a material throwing and switching mechanism, wherein the box body shell 1 is connected with an agricultural vehicle, a fertilizer box 101 and a seed box 102 are arranged in the box body shell 1, through holes are arranged at the bottom and the side wall of the box body shell 1, the fertilizer box 101 is provided with a fertilizer discharging hole 106, the seed box 102 is provided with a seed discharging hole 103, the fertilizer box 101 is used for storing and throwing fertilizer, the seed box 102 is used for storing and throwing seeds, the bottom of the box body shell 1 is provided with a connecting column 104, one end of the connecting column 104 is fixedly connected with the bottom of the box body shell 1, and the other end of; the switching mechanism is put in to the material is located in box shell 1, be connected with fertilizer discharge hole 106 of fertilizer can 101 and the seed discharge hole 103 of seed box 102 bottom respectively for switch between putting in fertilizer and putting in the seed, and the input of the control fertilizer of intermittent type nature and the input of the control seed of intermittent type nature.
As shown in fig. 2, 4 and 5, the material feeding switching mechanism includes a throttle plate 201, a feeding plate 202, an installation box 203 and a feeding funnel 204, the throttle plate 201 is slidably connected to the fertilizer feeding hole 106 of the fertilizer box 101 and the seed feeding hole 103 of the seed box 102, the throttle plate 201 can rotate around its rotation center, a power device is connected to the rotation center of the throttle plate 201, the throttle plate 201 is provided with a first through hole 205 and a second through hole 206, the first through hole 205 can be communicated with the seed feeding hole 103 at the bottom of the seed box 102, the second through hole 206 is communicated with the fertilizer feeding hole 106 at the bottom of the fertilizer box 101, the lower surface of the throttle plate 201 is slidably connected to the upper surface of the feeding plate 202, the feeding plate 202 is provided with a third through hole 207, the third through hole 207 can be communicated with the first through hole 205 or the second through hole 206, but the third through hole 207 cannot be communicated with the first through hole 205 and the second through hole 206 at the same time, third through-hole 207 is located under the fertilizer drain hole 106 of fertilizer can 101 bottom, the blowing dish 202 lower surface with install bin 203 links firmly, and install bin 203 locates in the box casing 1, blowing funnel 204 links firmly with install bin 203, the macrostoma of blowing funnel 204 with third through-hole 207 intercommunication, the osculum of blowing funnel 204 passes the through-hole of box casing 1 bottom just is located ploughshare 105 back of the plow one side.
The working principle of example 1 is now briefly described:
the agricultural vehicle pulls the device to advance in the field, the plowshare 105 plows a deep groove on the land under the drive of the connecting column 104, the throttle disc 201 of the material throwing switching mechanism rotates around the rotation center of the throttle disc under the drive of the power device, when the first through hole 205 of the throttle disc 201 is communicated with the seed discharging hole 103 at the bottom of the seed box 102, seeds fall from the seed discharging hole 103 at the bottom of the seed box 102 to enter the first through hole 205, the seeds are driven by the throttle disc 201 to rotate along the upper surface of the discharging disc 202, when the throttle disc 201 rotates to the third through hole 207 to be communicated with the first through hole 205, the seeds in the first through hole 205 fall into the discharging funnel 204 from the third through hole 207, and as the small opening of the discharging funnel 204 is positioned on one side of the back of the plowshare 105, the seeds are thrown into the deep groove opened by the small opening of the plowshare 105 through the small opening of the discharging funnel 204, and the seed. When the throttle plate 201 rotates to the third through hole 207 and the second through hole 206 are communicated, the third through hole 207 is located under the fertilizer discharging hole 106 at the bottom of the fertilizer box 101, so that the fertilizer discharging hole 106 at the bottom of the fertilizer box 101 is communicated with the second through hole 206 and the third through hole 207 at the same time, and fertilizer is discharged into the deep groove ploughed by the ploughshare 105 through the small opening of the discharging funnel 204 to complete fertilizer discharging. Since the third through-hole 207 cannot communicate with the first through-hole 205 and the second through-hole 206 at the same time, the seeds and the fertilizer cannot be simultaneously dispensed. This device can prevent that the seed from putting in the seeding simultaneously with fertilizer and the seed mixes when putting in the seeding with fertilizer, because the seed is too near from fertilizer, the seedling phenomenon of burning that leads to.
Example 2:
in addition to example 1, the soil is planed and sowed simultaneously.
As shown in fig. 3, two sets of connecting columns 104 and plowshares 105 are arranged at the bottom of the box-shaped casing 1, the two sets of connecting columns 104 and plowshares 105 are distributed at the left and right sides of the bottom of the box-shaped casing 1, the one set of connecting columns 104 and plowshares 105 are arranged at the front position of the bottom of the box-shaped casing 1, the one set of connecting columns 104 and plowshares 105 are arranged at the rear position of the bottom of the box-shaped casing 1, and the small opening of the discharging funnel 204 penetrates through the through hole at the bottom of the box-shaped casing 1 and is located at one side of the plow share 105 arranged.
The working principle of example 2 will now be briefly described:
after one group of the connecting columns 104 and the plowshare 105 completes ditching and the material feeding funnel 204 completes material feeding, the other group of the connecting columns 104 and the plowshare 105 ditches beside the sowing trench, and the soil covering work is completed by utilizing the turned soil.
Example 3:
on the basis of the embodiment 1, in order to prevent the phenomenon that the first through hole 205 of the throttle plate 201 is communicated with the seed discharge hole 103 at the bottom of the seed box 102 for too short time, so that the material shortage or the seeds are sheared by the throttle plate 201.
As shown in fig. 1 and 2, the power device includes a geneva mechanism 301, a first transmission shaft 302 and a driving device, the geneva mechanism 301 is disposed inside the installation box 203, the discharge tray 202 is provided with a central through hole 303, one end edge of an output shaft 304 of the geneva mechanism 301 passes through the central through hole 303 of the discharge tray 202 and is fixedly connected to the rotation center of the throttle plate 201, the other end of the output shaft 304 of the geneva mechanism 301 is connected to the installation box 203 through a bearing, one end of an input shaft 305 of the geneva mechanism 301 is connected to one end of the first transmission shaft 302 through a gear, the other end of the input shaft 305 of the geneva mechanism 301 is connected to the installation box 203 through a bearing, and the other end of the first transmission shaft 302 is connected to.
The working principle of example 3 will now be briefly described:
the driving device drives the input shaft 305 of the geneva mechanism 301 to continuously rotate through the first transmission shaft 302, and the output shaft 304 of the geneva mechanism 301 intermittently rotates after the geneva mechanism 301 is transmitted, so as to drive the throttle plate 201 fixedly connected thereon to intermittently rotate. When the throttle plate 201 rotates to the first through hole 205 and the seed drain hole 103 at the bottom of the seed box 102 is communicated, the throttle plate 201 stops rotating, the seeds fall into the first through hole 205 for a sufficient time, and then the throttle plate 201 recovers to rotate, so that the phenomenon that the seeds are lack of materials or the seeds are cut into pieces by the throttle plate 201 can be effectively prevented.
Example 4:
on the basis of the embodiment 3, in order to prevent the putting distance of the fertilizer and the seeds from being influenced by the speed of the agricultural vehicle driving the fertilizer and the seeds to move.
As shown in fig. 1, the driving device includes a connecting frame 401, a wheel 402 and a second transmission shaft 403, one end of the connecting frame 401 is fixedly installed at the bottom of the box casing 1, the other end of the connecting frame 401 and one end of the second transmission shaft 403 are connected by a bearing, the second transmission shaft 403 passes through the rotation center of the wheel 402 and is fixedly connected with the wheel 402, the other end of the second transmission shaft 403 is provided with a first belt pulley 404, the first transmission shaft 302 is provided with a second belt pulley 405, and the first belt pulley 404 is in belt connection with the second belt pulley 405.
The working principle of example 4 is now briefly described:
the second transmission shaft 403 is fixedly connected to the wheel 402, so that the second transmission shaft 403 is driven by the wheel 402, and the first transmission shaft 302 is driven by the first pulley 404 fixedly connected to the second transmission shaft 403 via the second pulley 405. In summary, the wheel 402 drives the first transmission shaft 302 to rotate. Since the first transmission shaft 302 indirectly drives the throttle plate 201 to rotate, the wheel 402 indirectly drives the throttle plate 201 to rotate. The rotation angle of the wheel 402 corresponds to the displacement of the wheel 402 in the field, so the distance of the throttle plate 201 for controlling the material throwing corresponds to the displacement of the wheel 402 in the field and is not related to the speed of the agricultural vehicle. The influence of the speed of the agricultural vehicle on the distance between the thrown materials can be effectively prevented by the means.
Example 5
On the basis of example 4, in order to prevent the seed from clogging the seed discharge opening 103 or the fertilizer from clogging the fertilizer discharge opening 106.
As shown in fig. 1, the fertilizer feeding device further comprises a spiral pushing rod 501, a third transmission shaft 502 and a third belt pulley 503, wherein one end of the spiral pushing rod 501 is provided with a spiral blade 504, the spiral blade 504 is used for pushing fertilizer or seeds to be thrown in, the spiral pushing rod 501 is in bearing connection with a connecting rod 505 arranged in the fertilizer box 101 or the seed box 102, the other end of the spiral pushing rod 501 is in gear connection with one end of the third transmission shaft 502, the other end of the third transmission shaft 502 penetrates through a through hole in the side wall of the box body shell 1 to be fixedly connected with the third belt pulley 503, and the third belt pulley 503 is in belt connection with the second belt pulley 405 or the first belt pulley 404.
The working principle of example 5 will now be briefly described:
the spiral material pushing rod 501 indirectly rotates under the belt of the second belt pulley 405 or the first belt pulley 404, and the spiral blade 504 fixedly connected to the spiral material pushing rod also rotates along with the spiral material pushing rod, so that seeds and fertilizer are pushed to smoothly fall down, and the problem of material blockage is effectively prevented.
As a preferred option, as shown in fig. 1 and 3, the connecting column 104 is a telescopic piston column. When not in use, the plowshare can be retracted by compressing the connecting column 104, so that the device is convenient to transport.
Although embodiments of the present invention have been shown and described, it will be appreciated by those skilled in the art that changes, modifications, substitutions and alterations can be made in these embodiments without departing from the principles and spirit of the invention, the scope of which is defined in the appended claims and their equivalents.

Claims (7)

1. A digging and sowing integrated machine is characterized by comprising:
the fertilizer box comprises a box body shell (1) and is connected with an agricultural vehicle, wherein a fertilizer box (101) and a seed box (102) are arranged in the box body shell (1), through holes are formed in the bottom and the side wall of the box body shell (1), the fertilizer box (101) is provided with a fertilizer discharging hole (106), the seed box (102) is provided with a seed discharging hole (103), the fertilizer box (101) is used for storing and throwing fertilizer, the seed box (102) is used for storing and throwing seeds, a connecting column (104) is arranged at the bottom of the box body shell (1), one end of the connecting column (104) is fixedly connected with the bottom of the box body shell (1), and a plowshare (105) is arranged at the other;
switching mechanism is put in to material locates in box shell (1), be connected with fertilizer drain hole (106) of fertilizer can (101) and seed drain hole (103) of seed case (102) bottom respectively for switch between putting in fertilizer and putting in the seed, and the input of the control fertilizer of intermittent type nature and the input of the control seed of intermittent type nature.
2. The integrated land digging and sowing machine according to claim 1, wherein the material throwing switching mechanism comprises a throttle disc (201), a material discharging disc (202), an installation box (203) and a material discharging hopper (204), the throttle disc (201) is slidably connected with a fertilizer discharging port (106) of the fertilizer box (101) and a seed discharging port (103) of the seed box (102), the throttle disc (201) can rotate around the rotation center of the throttle disc, a power device is connected at the rotation center of the throttle disc (201), the throttle disc (201) is provided with a first through hole (205) and a second through hole (206), the first through hole (205) can be communicated with the seed discharging port (103) at the bottom of the seed box (102), the second through hole (206) is communicated with the fertilizer discharging port (106) at the bottom of the fertilizer box (101), and the lower surface of the throttle disc (201) is slidably connected with the upper surface of the material discharging disc (202), blowing dish (202) is equipped with third through-hole (207), third through-hole (207) can communicate with first through-hole (205) or second through-hole (206), but third through-hole (207) can not communicate with first through-hole (205) and second through-hole (206) simultaneously, and third through-hole (207) are located under fertilizer discharge opening (106) of can (101) bottom, blowing dish (202) lower surface with install bin (203) link firmly, install bin (203) are located in box shell (1), blowing funnel (204) link firmly with install bin (203), the macrostoma of blowing funnel (204) with third through-hole (207) intercommunication, the osculum of blowing funnel (204) passes the through-hole of box shell (1) bottom and is located ploughshare (105) plough back one side.
3. The integrated machine for digging and sowing according to claim 2, wherein the bottom of the box casing (1) is provided with two sets of connecting columns (104) and plowshare (105), the two sets of connecting columns (104) and plowshare (105) are distributed on the left side and the right side of the bottom of the box casing (1), one set of connecting columns (104) and plowshare (105) is arranged at the front position of the bottom of the box casing (1), one set of connecting columns (104) and plowshare (105) is arranged at the rear position of the bottom of the box casing (1), and the small opening of the discharging funnel (204) penetrates through the through hole at the bottom of the box casing (1) and is positioned on the plow back side of the plowshare (105) arranged at the front of the bottom of the box casing (1).
4. The integrated machine for plowing and sowing according to claim 2, wherein the power device comprises a geneva gear (301), a first transmission shaft (302) and a driving device, the geneva mechanism (301) is arranged in the installation box (203), the material placing disc (202) is provided with a central through hole (303), one end edge of an output shaft (304) of the geneva mechanism (301) penetrates through a central through hole (303) of the discharging disc (202) and is fixedly connected with the rotation center of the throttle disc (201), the other end of the output shaft (304) of the geneva mechanism (301) is connected with a bearing of the installation box (203), one end of an input shaft (305) of the geneva mechanism (301) is in gear connection with one end of the first transmission shaft (302), the other end of the input shaft (305) of the geneva mechanism (301) is in bearing connection with the installation box (203), and the other end of the first transmission shaft (302) is connected with the driving device.
5. The integrated machine for digging and sowing the soil according to claim 4, wherein the driving device comprises a connecting frame (401), wheels (402) and a second transmission shaft (403), one end of the connecting frame (401) is fixedly installed at the bottom of the box body shell (1), the other end of the connecting frame (401) is in bearing connection with one end of the second transmission shaft (403), the second transmission shaft (403) penetrates through the rotation center of the wheels (402) and is fixedly connected with the wheels (402), the other end of the second transmission shaft (403) is provided with a first belt pulley (404), the first transmission shaft (302) is provided with a second belt pulley (405), and the first belt pulley (404) is in belt connection with the second belt pulley (405).
6. The integrated land digging and sowing machine as claimed in claim 5, further comprising a spiral pushing rod (501), a third transmission shaft (502) and a third belt pulley (503), wherein one end of the spiral pushing rod (501) is provided with a spiral blade (504), the spiral blade (504) is used for pushing fertilizers or seeds to be thrown in, the spiral pushing rod (501) is in bearing connection with a connection rod (505) arranged in the fertilizer box (101) or the seed box (102), the other end of the spiral pushing rod (501) is in gear connection with one end of the third transmission shaft (502), the other end of the third transmission shaft (502) penetrates through a through hole in the side wall of the box body shell (1) and is fixedly connected with the third belt pulley (503), and the third belt pulley (503) is in belt connection with the second belt pulley (405) or the first belt pulley (404).
7. The integrated machine for plowing and sowing as claimed in claim 1, wherein the connecting column (104) is a telescopic piston column.
CN202011264620.8A 2020-11-11 2020-11-11 Dig ground seeding integration machinery Pending CN112314087A (en)

Priority Applications (1)

Application Number Priority Date Filing Date Title
CN202011264620.8A CN112314087A (en) 2020-11-11 2020-11-11 Dig ground seeding integration machinery

Applications Claiming Priority (1)

Application Number Priority Date Filing Date Title
CN202011264620.8A CN112314087A (en) 2020-11-11 2020-11-11 Dig ground seeding integration machinery

Publications (1)

Publication Number Publication Date
CN112314087A true CN112314087A (en) 2021-02-05

Family

ID=74318518

Family Applications (1)

Application Number Title Priority Date Filing Date
CN202011264620.8A Pending CN112314087A (en) 2020-11-11 2020-11-11 Dig ground seeding integration machinery

Country Status (1)

Country Link
CN (1) CN112314087A (en)

Cited By (2)

* Cited by examiner, † Cited by third party
Publication number Priority date Publication date Assignee Title
CN114521366A (en) * 2022-03-28 2022-05-24 山东省林业科学研究院 Automatic seeding equipment of crops
CN119234525A (en) * 2024-12-06 2025-01-03 内蒙古自治区农牧业科学院 A hairy vetch and rapeseed interplanting seeder

Citations (9)

* Cited by examiner, † Cited by third party
Publication number Priority date Publication date Assignee Title
GB727537A (en) * 1952-07-21 1955-04-06 Nat Die Casting Company Propri Improvements in or relating to seed-planting implements
CN2267619Y (en) * 1996-09-28 1997-11-19 刘建春 Combine for sowing maize-seeds in multiple rows
CN2802927Y (en) * 2005-07-21 2006-08-09 冷万年 Hand pushing double-outlet fertilizer applicating and seeding device
CN202652847U (en) * 2012-06-24 2013-01-09 王临荣 Corn planter
CN104604406A (en) * 2015-02-13 2015-05-13 青海林丰农牧机械制造有限公司 Orchard variable particle fertilizer discharger supporting fault monitoring
CN206118372U (en) * 2016-10-13 2017-04-26 聂文亮 Full -automatic seeder of hand propelled
CN206658437U (en) * 2017-03-24 2017-11-24 黄振军 A kind of multi-purpose seed planter
CN110463389A (en) * 2019-09-10 2019-11-19 阜阳金亮园林绿化工程有限公司 Mechanical device is used in a kind of sowing of gardens
CN211557960U (en) * 2019-12-29 2020-09-25 辛集市马兰农场 An agricultural fertilizing and seeding device

Patent Citations (9)

* Cited by examiner, † Cited by third party
Publication number Priority date Publication date Assignee Title
GB727537A (en) * 1952-07-21 1955-04-06 Nat Die Casting Company Propri Improvements in or relating to seed-planting implements
CN2267619Y (en) * 1996-09-28 1997-11-19 刘建春 Combine for sowing maize-seeds in multiple rows
CN2802927Y (en) * 2005-07-21 2006-08-09 冷万年 Hand pushing double-outlet fertilizer applicating and seeding device
CN202652847U (en) * 2012-06-24 2013-01-09 王临荣 Corn planter
CN104604406A (en) * 2015-02-13 2015-05-13 青海林丰农牧机械制造有限公司 Orchard variable particle fertilizer discharger supporting fault monitoring
CN206118372U (en) * 2016-10-13 2017-04-26 聂文亮 Full -automatic seeder of hand propelled
CN206658437U (en) * 2017-03-24 2017-11-24 黄振军 A kind of multi-purpose seed planter
CN110463389A (en) * 2019-09-10 2019-11-19 阜阳金亮园林绿化工程有限公司 Mechanical device is used in a kind of sowing of gardens
CN211557960U (en) * 2019-12-29 2020-09-25 辛集市马兰农场 An agricultural fertilizing and seeding device

Cited By (2)

* Cited by examiner, † Cited by third party
Publication number Priority date Publication date Assignee Title
CN114521366A (en) * 2022-03-28 2022-05-24 山东省林业科学研究院 Automatic seeding equipment of crops
CN119234525A (en) * 2024-12-06 2025-01-03 内蒙古自治区农牧业科学院 A hairy vetch and rapeseed interplanting seeder

Similar Documents

Publication Publication Date Title
CN102687611A (en) Wheat rotary tillage combined seed and fertilizer drill
CN207665436U (en) Combine is broadcasted sowing in a kind of site preparation subsoiling layer by layer manuring
CN104838746A (en) Rotary tillage sowing and fertilization ditching multiple operation machine
CN106416483A (en) Furrowing no-tillage seeding-fertilizing-integrated machine for soybean-corn intercropping
CN110393049A (en) It is a kind of can rotary tillage broken bar suppression derotation ditching-fertilizing seeder and its working method
CN205017828U (en) Small -size corn drill with mechanism is cleaned to maize seed grain
CN103891442B (en) One covers the adjustable full straw covering plot no-tillage wheat seeder of straw amount
CN201426248Y (en) Mini Ditch Seeder
CN112314087A (en) Dig ground seeding integration machinery
CN219741175U (en) A corn precision seeder
CN111919531A (en) Intelligent compound seeder capable of realizing clean area operation of rice stubble field
CN109983868A (en) A kind of blowing-type anti-clogging soybean no-tillage seeding machine
CN202663752U (en) Wheat rotary tillage combined seed and fertilizer drill
CN212211877U (en) An anti-rotation homogenizer
CN209949810U (en) Blowing type anti-blocking soybean no-tillage seeder
CN104081915A (en) Dual-purpose fertilizing-sowing machine for wheat and corns
CN210491600U (en) Seeder capable of rotary tillage, crushing rod pressing, reverse rotation, ditching and fertilizing
CN208490157U (en) A kind of rotary tillage ferti-seeding combined working machine
CN207543526U (en) A kind of rotary tillage ferti-seeding all-in-one machine
CN102415234A (en) Seeder with seedling strip cleaner
CN111869351A (en) Ginger no-tillage fertilizing, seeding and film-mulching device
CN105075467A (en) Small-size corn planter with corn grain cleaning mechanism
CN209861509U (en) Single-bud-section sugarcane planter
CN212992947U (en) An intelligent compound planter that can realize the operation of rice stubble cleaning area
CN105519286A (en) Wheat dense-row uniform seeder

Legal Events

Date Code Title Description
PB01 Publication
PB01 Publication
SE01 Entry into force of request for substantive examination
SE01 Entry into force of request for substantive examination
RJ01 Rejection of invention patent application after publication
RJ01 Rejection of invention patent application after publication

Application publication date: 20210205