CN112295906B - A multifunctional sieve dryer - Google Patents
A multifunctional sieve dryer Download PDFInfo
- Publication number
- CN112295906B CN112295906B CN202011188354.5A CN202011188354A CN112295906B CN 112295906 B CN112295906 B CN 112295906B CN 202011188354 A CN202011188354 A CN 202011188354A CN 112295906 B CN112295906 B CN 112295906B
- Authority
- CN
- China
- Prior art keywords
- casing
- sieving
- plate
- sieve
- base
- Prior art date
- Legal status (The legal status is an assumption and is not a legal conclusion. Google has not performed a legal analysis and makes no representation as to the accuracy of the status listed.)
- Active
Links
- 238000007873 sieving Methods 0.000 claims abstract description 50
- 238000001035 drying Methods 0.000 claims abstract description 45
- 238000012216 screening Methods 0.000 claims abstract description 25
- 230000000712 assembly Effects 0.000 claims abstract description 12
- 238000000429 assembly Methods 0.000 claims abstract description 12
- 238000009423 ventilation Methods 0.000 claims description 12
- 238000003860 storage Methods 0.000 claims description 7
- 230000017525 heat dissipation Effects 0.000 claims description 3
- 238000009434 installation Methods 0.000 abstract description 5
- 230000007613 environmental effect Effects 0.000 abstract description 4
- 239000000523 sample Substances 0.000 description 42
- 238000010586 diagram Methods 0.000 description 11
- 230000009286 beneficial effect Effects 0.000 description 10
- 238000000034 method Methods 0.000 description 6
- 238000004140 cleaning Methods 0.000 description 3
- 238000012986 modification Methods 0.000 description 3
- 230000004048 modification Effects 0.000 description 3
- 230000001174 ascending effect Effects 0.000 description 2
- 230000003139 buffering effect Effects 0.000 description 2
- 230000007423 decrease Effects 0.000 description 2
- 230000007547 defect Effects 0.000 description 2
- 239000000428 dust Substances 0.000 description 2
- 239000000463 material Substances 0.000 description 2
- 239000002689 soil Substances 0.000 description 2
- 239000000126 substance Substances 0.000 description 2
- 239000002699 waste material Substances 0.000 description 2
- 238000013461 design Methods 0.000 description 1
- 238000011161 development Methods 0.000 description 1
- 238000009826 distribution Methods 0.000 description 1
- 239000003814 drug Substances 0.000 description 1
- 238000004134 energy conservation Methods 0.000 description 1
- 230000007717 exclusion Effects 0.000 description 1
- 229910052500 inorganic mineral Inorganic materials 0.000 description 1
- 238000011835 investigation Methods 0.000 description 1
- 239000006101 laboratory sample Substances 0.000 description 1
- 238000005272 metallurgy Methods 0.000 description 1
- 239000011707 mineral Substances 0.000 description 1
- 230000002265 prevention Effects 0.000 description 1
- 238000011160 research Methods 0.000 description 1
- 239000011435 rock Substances 0.000 description 1
- 239000013049 sediment Substances 0.000 description 1
- 239000007787 solid Substances 0.000 description 1
- 230000000087 stabilizing effect Effects 0.000 description 1
- XLYOFNOQVPJJNP-UHFFFAOYSA-N water Substances O XLYOFNOQVPJJNP-UHFFFAOYSA-N 0.000 description 1
Images
Classifications
-
- B—PERFORMING OPERATIONS; TRANSPORTING
- B07—SEPARATING SOLIDS FROM SOLIDS; SORTING
- B07B—SEPARATING SOLIDS FROM SOLIDS BY SIEVING, SCREENING, SIFTING OR BY USING GAS CURRENTS; SEPARATING BY OTHER DRY METHODS APPLICABLE TO BULK MATERIAL, e.g. LOOSE ARTICLES FIT TO BE HANDLED LIKE BULK MATERIAL
- B07B1/00—Sieving, screening, sifting, or sorting solid materials using networks, gratings, grids, or the like
- B07B1/28—Moving screens not otherwise provided for, e.g. swinging, reciprocating, rocking, tilting or wobbling screens
- B07B1/30—Moving screens not otherwise provided for, e.g. swinging, reciprocating, rocking, tilting or wobbling screens jigging or moving to-and-fro within their own plane in or approximately in or transverse to the direction of conveyance
-
- B—PERFORMING OPERATIONS; TRANSPORTING
- B07—SEPARATING SOLIDS FROM SOLIDS; SORTING
- B07B—SEPARATING SOLIDS FROM SOLIDS BY SIEVING, SCREENING, SIFTING OR BY USING GAS CURRENTS; SEPARATING BY OTHER DRY METHODS APPLICABLE TO BULK MATERIAL, e.g. LOOSE ARTICLES FIT TO BE HANDLED LIKE BULK MATERIAL
- B07B1/00—Sieving, screening, sifting, or sorting solid materials using networks, gratings, grids, or the like
- B07B1/42—Drive mechanisms, regulating or controlling devices, or balancing devices, specially adapted for screens
-
- B—PERFORMING OPERATIONS; TRANSPORTING
- B07—SEPARATING SOLIDS FROM SOLIDS; SORTING
- B07B—SEPARATING SOLIDS FROM SOLIDS BY SIEVING, SCREENING, SIFTING OR BY USING GAS CURRENTS; SEPARATING BY OTHER DRY METHODS APPLICABLE TO BULK MATERIAL, e.g. LOOSE ARTICLES FIT TO BE HANDLED LIKE BULK MATERIAL
- B07B1/00—Sieving, screening, sifting, or sorting solid materials using networks, gratings, grids, or the like
- B07B1/46—Constructional details of screens in general; Cleaning or heating of screens
-
- F—MECHANICAL ENGINEERING; LIGHTING; HEATING; WEAPONS; BLASTING
- F26—DRYING
- F26B—DRYING SOLID MATERIALS OR OBJECTS BY REMOVING LIQUID THEREFROM
- F26B21/00—Arrangements or duct systems, e.g. in combination with pallet boxes, for supplying and controlling air or gases for drying solid materials or objects
- F26B21/001—Drying-air generating units, e.g. movable, independent of drying enclosure
-
- F—MECHANICAL ENGINEERING; LIGHTING; HEATING; WEAPONS; BLASTING
- F26—DRYING
- F26B—DRYING SOLID MATERIALS OR OBJECTS BY REMOVING LIQUID THEREFROM
- F26B21/00—Arrangements or duct systems, e.g. in combination with pallet boxes, for supplying and controlling air or gases for drying solid materials or objects
- F26B21/004—Nozzle assemblies; Air knives; Air distributors; Blow boxes
-
- F—MECHANICAL ENGINEERING; LIGHTING; HEATING; WEAPONS; BLASTING
- F26—DRYING
- F26B—DRYING SOLID MATERIALS OR OBJECTS BY REMOVING LIQUID THEREFROM
- F26B9/00—Machines or apparatus for drying solid materials or objects at rest or with only local agitation; Domestic airing cupboards
-
- B—PERFORMING OPERATIONS; TRANSPORTING
- B07—SEPARATING SOLIDS FROM SOLIDS; SORTING
- B07B—SEPARATING SOLIDS FROM SOLIDS BY SIEVING, SCREENING, SIFTING OR BY USING GAS CURRENTS; SEPARATING BY OTHER DRY METHODS APPLICABLE TO BULK MATERIAL, e.g. LOOSE ARTICLES FIT TO BE HANDLED LIKE BULK MATERIAL
- B07B2201/00—Details applicable to machines for screening using sieves or gratings
- B07B2201/04—Multiple deck screening devices comprising one or more superimposed screens
Landscapes
- Engineering & Computer Science (AREA)
- Mechanical Engineering (AREA)
- General Engineering & Computer Science (AREA)
- Drying Of Solid Materials (AREA)
- Sampling And Sample Adjustment (AREA)
Abstract
本发明公开了一种多功能筛样烘干机,包括机壳、顶盖、底座、若干个筛样组件、水平震动组件和烘干组件,所述机壳的底端安装在所述底座上,所述顶盖安装在所述机壳的顶端,所述机壳的内壁上设有安装板和支撑板,所述安装板上均匀开设有多个筛样入口;若干个所述筛样组件安装于所述安装板和支撑板之间且沿所述安装板的中心均匀对称设置,若干个所述筛样组件均包括多个滤网盘,多个所述滤网盘沿所述机壳的高度方向依次设置,所述滤网盘沿所述机壳的径向平行设置且与所述机壳可拆卸连接。该多功能筛样烘干机将烘干组件与筛样组件相互结合,可随时根据需求将样品烘干后再进行筛选,可筛选多个样品且可重复筛选不同的样品,克服了环境因素的影响。
The invention discloses a multifunctional sieving dryer, comprising a casing, a top cover, a base, several sieving components, a horizontal vibration component and a drying component, and the bottom end of the casing is mounted on the base , the top cover is installed on the top of the casing, the inner wall of the casing is provided with a mounting plate and a supporting plate, and a plurality of sieve sample inlets are evenly opened on the installation plate; a number of the sieve sample components Installed between the mounting plate and the support plate and uniformly and symmetrically arranged along the center of the mounting plate, several of the sieve assemblies each include a plurality of filter discs, and a plurality of the filter discs are arranged along the casing. They are arranged in sequence in the height direction of the casing, and the filter discs are arranged in parallel along the radial direction of the casing and are detachably connected to the casing. The multi-functional sample sieving dryer combines the drying component and the sieving component, and can dry the samples at any time before screening according to the needs. It can screen multiple samples and repeatedly screen different samples, which overcomes the environmental factors. influences.
Description
技术领域technical field
本发明涉及土样筛选技术领域,具体涉及一种多功能筛样烘干机。The invention relates to the technical field of soil sample screening, in particular to a multifunctional sample screening dryer.
背景技术Background technique
对于化探工作而言,水系沉积物、土壤以及岩石样品的采集是必不可少的,其中样品的筛选一直是化探后期的一个比较繁琐的工作,根据以往1:50000图幅的化探地质调查,总共采集了1000多个样品,一次样品的筛选工作量浩大,通常情况下需要9位以上的工作者,筛样工作在天气良好的情况下,需要筛选4~5天,西藏雨季雨水多,样品潮湿,人力贵,这也仅仅是小比例图幅的化探筛样工作,如果是1:200000万、1:500000万图幅其耗费的人力物力巨大,不符合当前科技自动化的时代。然而,当前科技自动化的时代,能源节约已经成为社会发展的必然和全民的共识,对于地质、冶金、化工、农业、科研、医学等等行业,样品的筛选一直是一个比较繁琐的工作,筛样机自然而然地成为了各行业前期工作的必需品。For the geochemical exploration work, the collection of water system sediments, soil and rock samples is essential, and the selection of samples has always been a tedious task in the later stage of geochemical exploration. In the investigation, a total of more than 1,000 samples were collected. The screening of samples is a huge workload. Usually, more than 9 workers are required. When the weather is good, the screening work takes 4 to 5 days. Tibet has a lot of rain in the rainy season. , the sample is wet, and labor is expensive. This is only a small-scale work of chemical exploration and screening. If it is 1:200,000, 1:500,000, it consumes huge manpower and material resources, which is not in line with the current era of technological automation. However, in the current era of technological automation, energy conservation has become a necessity of social development and the consensus of the whole people. For industries such as geology, metallurgy, chemical industry, agriculture, scientific research, medicine, etc., the screening of samples has always been a tedious task. It has naturally become a necessity for the preliminary work of various industries.
传统的筛样机具有样品筛选工作量大和筛样率低等缺陷,为了适应节约能源需求,增大样品量的筛样率,市面上虽然逐渐出现了旋转筛样结构的旋震筛,该结构增加了筛样面积,在侧壁外侧设有多个出料口,可以自动出料,提高了筛样率;但是这种筛样机的外壳过大,不适合实验室样品的筛选;单次筛选样品数少,不能多个样品同时筛选;重复筛选不同样品时,废样的清理难度大,拆卸较为困难;在雨水天气,样品潮湿情况下,无法进行室内筛样,没有烘干功能。这些缺陷也大大限制了该筛样机在不同行业中的使用。基于以上背景,设计一种多功能筛样烘干机是对于当前工作的迫切需求。The traditional sieving machine has the defects of large sample screening workload and low sieving rate. In order to meet the demand for energy saving and increase the sieving rate of the sample size, although the rotary vibration sieve with the rotary sieving structure has gradually appeared on the market, this structure increases. The sieving area is increased, and there are multiple discharge openings on the outside of the side wall, which can automatically discharge materials and improve the sieving rate; however, the shell of this sieving machine is too large, which is not suitable for the screening of laboratory samples; single screening of samples When the number of samples is small, multiple samples cannot be screened at the same time; when different samples are repeatedly screened, the cleaning of waste samples is difficult and disassembly is more difficult; in rainy weather and the samples are wet, indoor screening cannot be performed, and there is no drying function. These defects also greatly limit the use of the sieve prototype in different industries. Based on the above background, it is an urgent need for the current work to design a multifunctional sieving dryer.
发明内容SUMMARY OF THE INVENTION
本发明的目的在于提供一种多功能筛样烘干机,将烘干组件与筛样组件相互结合,可随时根据需求将样品烘干后再进行筛选,可筛选多个样品且可重复筛选不同的样品,克服了环境因素的影响,以解决背景技术中提到的技术问题。The purpose of the present invention is to provide a multifunctional sample sieving dryer, which combines the drying component and the sieving component with each other, and can dry the samples at any time before screening according to the requirements, and can screen multiple samples and repeatedly screen different samples. The samples overcome the influence of environmental factors to solve the technical problems mentioned in the background art.
本发明的目的是通过以下技术方案来实现的:The purpose of this invention is to realize through the following technical solutions:
一种多功能筛样烘干机,包括机壳、顶盖、底座、若干个筛样组件、水平震动组件和烘干组件,所述机壳的底端安装在所述底座上,所述顶盖安装在所述机壳的顶端,所述机壳的内壁上设有安装板和支撑板,所述安装板上均匀开设有多个筛样入口;A multifunctional sieving dryer, comprising a casing, a top cover, a base, several sieving components, a horizontal vibration component and a drying component, the bottom end of the casing is mounted on the base, the top The cover is installed on the top of the casing, the inner wall of the casing is provided with a mounting plate and a support plate, and a plurality of screen sample inlets are evenly opened on the mounting plate;
若干个所述筛样组件安装于所述安装板和支撑板之间且沿所述安装板的中心均匀对称设置,若干个所述筛样组件均包括多个滤网盘,多个所述滤网盘沿所述机壳的高度方向依次设置,所述滤网盘沿所述机壳的径向平行设置且与所述机壳可拆卸连接;任一所述筛样组件的滤网盘的中心在同一条直线上,若干个所述筛样组件的滤网盘与多个所述筛样入口一一对应;Several of the sieve assemblies are installed between the mounting plate and the support plate and are evenly and symmetrically arranged along the center of the mounting plate. The mesh discs are arranged in sequence along the height direction of the casing, and the filter mesh discs are arranged in parallel along the radial direction of the casing and are detachably connected to the casing; The center is on the same straight line, and the filter discs of several sieve sample assemblies correspond to the plurality of sieve sample inlets one-to-one;
所述水平震动组件设于所述支撑板与所述机壳之间,所述烘干组件与所述机壳底部的侧壁连接。The horizontal vibration assembly is arranged between the support plate and the casing, and the drying assembly is connected to the side wall of the bottom of the casing.
本发明的筛样入口的数量与筛样组件的数量匹配,不同的筛样组件可以筛选不同的样品,亦可同时筛选多种样品,单次筛选的样品数量多,在雨水天气,样品潮湿情况下,烘干组件的设置使得本发明具有样品烘干功能,为样品筛选的顺利进行提供了技术支撑。The number of sieve sample inlets of the present invention matches the number of sieve sample components, different sieve sample components can screen different samples, and can also screen multiple samples at the same time, the number of samples for single screening is large, in rainy weather, the sample is wet Therefore, the setting of the drying component enables the present invention to have a sample drying function, which provides technical support for the smooth progress of sample screening.
进一步地,任一所述筛样组件的多个所述的滤网盘的目数自所述机壳的顶端至所述机壳的底端方向逐渐变大,多个所述的滤网盘的孔径自所述机壳的顶端至所述机壳的底端方向逐渐变小。Further, the mesh numbers of a plurality of the filter discs of any one of the sieve assemblies gradually increase from the top end of the casing to the bottom end of the casing, and a plurality of the filter discs. The aperture of the casing gradually decreases from the top end of the casing to the bottom end of the casing.
上述优选实施例的有益效果是:任一筛样组件的多个的滤网盘按照自上往下的方向依次分布,且其目数按照自上往下的方向升序排列,其孔径按照自上往下的方向降序排列,每一个筛样组件中的各个滤网盘的目数的选择可以按照需求匹配,实现了同时筛选多种样品的目的,极大地提高了工作效率。The beneficial effect of the above-mentioned preferred embodiment is: the multiple screen discs of any sieve component are distributed in sequence from top to bottom, and their mesh numbers are arranged in ascending order from top to bottom, and their apertures are arranged in accordance with the top-to-bottom direction. Arranged in descending order in the downward direction, the selection of the mesh number of each filter disc in each sieving component can be matched according to the requirements, realizing the purpose of screening multiple samples at the same time, and greatly improving the work efficiency.
进一步地,所述安装板上可拆卸连接有与所述筛样入口配合的卡扣盖。Further, a snap cover matched with the sieve sample inlet is detachably connected to the mounting plate.
上述优选实施例的有益效果是:安装板上设有与筛样入口配合的可拆卸的卡扣盖,可防止震动过程中各个筛样入口处的样品错乱混淆,顶盖起到第一重防尘的作用,卡扣盖还起到第二重防尘的作用。The beneficial effect of the above-mentioned preferred embodiment is that: the mounting plate is provided with a detachable snap cover that cooperates with the sieve sample inlet, which can prevent the samples at each sieve sample inlet from being confused and confused during the vibration process, and the top cover plays the first layer of prevention. The role of dust, the snap cover also plays a second role of dust.
进一步地,所述机壳上设有机座,所述水平震动组件设于所述支撑板与所述机座之间。Further, a base is arranged on the casing, and the horizontal vibration component is arranged between the support plate and the base.
上述优选实施例的有益效果是:支撑板用于支撑筛样组件的多个滤网盘,水平震动组件安装在所述机座上且与所述支撑板连接。The beneficial effect of the above preferred embodiment is that the support plate is used to support a plurality of filter discs of the sieve assembly, and the horizontal vibration assembly is installed on the machine base and connected with the support plate.
进一步地,所述支撑板的底壁固定连接有底板,所述水平震动组件连接于所述机座与所述底板之间;Further, the bottom wall of the support plate is fixedly connected with a bottom plate, and the horizontal vibration assembly is connected between the base and the bottom plate;
所述水平震动组件包括驱动电机、第一连杆、第二连杆、固定座、支架、螺旋杆、滑轨和水平滑动板,所述第一连杆的第一端通过主旋转轴与所述驱动电机的输出轴连接,所述第一连杆的第二端通过副旋转轴与所述第二连杆的第一端连接;The horizontal vibration assembly includes a drive motor, a first connecting rod, a second connecting rod, a fixed seat, a bracket, a screw rod, a sliding rail and a horizontal sliding plate, and the first end of the first connecting rod is connected to the other through the main rotating shaft. the output shaft of the driving motor is connected, and the second end of the first connecting rod is connected with the first end of the second connecting rod through the auxiliary rotating shaft;
所述支架上安装有连接转轴,所述固定座上设有支座,所述第二连杆的第二端与所述连接转轴铰接,所述螺旋杆的一端转动安装在所述连接转轴上,所述螺旋杆的另一端穿设于所述支座,所述支座的侧壁上设有与所述螺旋杆配合的旋转螺丝,所述旋转螺丝上套设有齿轮,所述滑轨固定安装在所述支座上,所述水平滑动板与所述滑轨滑动连接,所述水平滑动板的底壁上设有与所述齿轮啮合的齿条。A connecting shaft is installed on the bracket, a support is arranged on the fixing seat, the second end of the second connecting rod is hinged with the connecting shaft, and one end of the screw rod is rotatably mounted on the connecting shaft , the other end of the screw rod passes through the support, the side wall of the support is provided with a rotating screw that cooperates with the screw rod, the rotating screw is sleeved with a gear, and the sliding rail It is fixedly installed on the support, the horizontal sliding plate is slidably connected with the sliding rail, and the bottom wall of the horizontal sliding plate is provided with a rack that engages with the gear.
上述优选实施例的有益效果是:驱动电机启动时,带动第一连杆和第二连杆转动,第二连杆与连接转轴铰接,第一连杆和第二连杆联动的过程中会推动支架沿固定座的滑槽前后移动,此时,螺旋杆穿设于支座并在支座中做伸缩运动,与螺旋杆配合的旋转螺丝会同步转动带动齿轮转动,水平滑动板的底壁的齿条与齿轮啮合运动,从而水平滑动板能沿滑轨做水平移动。The beneficial effects of the above preferred embodiment are: when the driving motor is started, the first connecting rod and the second connecting rod are driven to rotate, the second connecting rod is hinged with the connecting shaft, and the first connecting rod and the second connecting rod are driven in the process of linkage. The bracket moves back and forth along the chute of the fixed seat. At this time, the screw rod is passed through the support and performs telescopic movement in the support. The rotating screw matched with the screw rod will rotate synchronously to drive the gear to rotate, and the bottom wall of the horizontal sliding plate The racks and gears mesh and move, so that the horizontal sliding plate can move horizontally along the sliding rail.
进一步地,所述水平滑动板上设有螺纹孔,所述底板与所述水平滑动板之间通过锁紧组件连接,所述锁紧组件为螺钉,所述螺钉与所述螺纹孔配合安装。Further, the horizontal sliding plate is provided with a threaded hole, the bottom plate and the horizontal sliding plate are connected by a locking assembly, the locking assembly is a screw, and the screw is installed in cooperation with the threaded hole.
上述优选实施例的有益效果是:水平滑动板与底板之间通过螺钉与螺纹孔的配合实现固定连接。The beneficial effect of the above preferred embodiment is that the horizontal sliding plate and the bottom plate are fixedly connected through the cooperation of screws and threaded holes.
进一步地,所述固定座通过承重柱承托于所述机座上。Further, the fixed seat is supported on the machine seat through a load-bearing column.
上述优选实施例的有益效果是:承重柱不仅起到固定所述固定座的作用,还可承受其上部多层滤网盘带来的压力。The beneficial effect of the above-mentioned preferred embodiment is that the load-bearing column not only plays the role of fixing the fixing seat, but also can bear the pressure brought by the upper multi-layer filter screen disc.
进一步地,所述机壳的四周均匀设置有多个缓冲弹簧,所述缓冲弹簧的一端连接于所述支撑板,所述缓冲弹簧的一端连接于所述机壳的本体上。Further, a plurality of buffer springs are evenly arranged around the casing, one end of the buffer spring is connected to the support plate, and one end of the buffer spring is connected to the body of the casing.
上述优选实施例的有益效果是:缓冲弹簧环绕在滤网盘的四周,与下部机壳的本体相连接,主要起到缓震和降低噪音的功能。The beneficial effect of the above preferred embodiment is that the buffer spring surrounds the filter disc and is connected to the main body of the lower casing, mainly for the functions of buffering and reducing noise.
进一步地,所述烘干组件包括设于所述底座上的热风机、放置于所述机壳外部的烘干袋和通风管,所述烘干袋上设有进风口和散热口,所述通风管的一端与所述热风机连通,所述通风管的另一端与所述进风口连通。Further, the drying assembly includes a hot air blower arranged on the base, a drying bag and a ventilation pipe placed outside the casing, the drying bag is provided with an air inlet and a heat dissipation port, the One end of the ventilation pipe is communicated with the hot air blower, and the other end of the ventilation pipe is communicated with the air inlet.
上述优选实施例的有益效果是:热风机启动时,经热风机加热后的热空气经通风管输送到烘干袋,烘干袋可采用双层防水式的袋体,当热空气进入袋体之后,能对烘干袋里的潮湿样品进行风干。The beneficial effect of the above preferred embodiment is: when the hot air blower is started, the hot air heated by the hot air blower is transported to the drying bag through the ventilation pipe, and the drying bag can adopt a double-layer waterproof bag body. When the hot air enters the bag body Afterwards, the moist sample in the drying bag can be air-dried.
进一步地,所述底座上还设有贮存所述烘干袋的储藏间。Further, the base is also provided with a storage room for storing the drying bags.
上述优选实施例的有益效果是:储藏间贮存烘干袋,便于移动和规范整个装置。The beneficial effect of the above preferred embodiment is that drying bags are stored in the storage room, which is convenient to move and regulate the whole device.
本发明的有益效果是:The beneficial effects of the present invention are:
本发明的多功能筛样烘干机,其筛样组件的数量可以是多个,可根据具体需要设置其个数,筛样入口的数量与筛样组件的数量匹配,不同的筛样组件可以筛选不同的样品,亦可同时筛选多种样品,单次筛选的样品数量多;任一筛样组件均由多个滤网盘组成,相比现有的筛样机的单一的大盘,同一组筛样组件可重复筛选同一样品,多个筛样组件组合之后可重复筛选不同的样品,滤网盘与所述机壳是可拆卸连接,从而使得废样的清理难度大大减小;在雨水天气,样品潮湿情况下,烘干组件的设置使得本发明具有样品烘干功能,为样品筛选的顺利进行提供了技术支撑,烘干组件与筛样组件的相互结合,克服了环境因素的影响。In the multifunctional sample sieving dryer of the present invention, the number of sieving components can be multiple, and the number can be set according to specific needs. The number of sieving inlets matches the number of sieving components, and different sieving components can be Different samples can be screened, and multiple samples can be screened at the same time, and the number of samples to be screened at a time is large; any screening component is composed of multiple filter discs. The sample assembly can repeatedly screen the same sample, and multiple screening assemblies can be combined to screen different samples repeatedly. The filter disc and the casing are detachably connected, so that the cleaning difficulty of waste samples is greatly reduced; in rainy weather, When the sample is wet, the setting of the drying component enables the present invention to have the sample drying function, which provides technical support for the smooth sample screening. The combination of the drying component and the sieving component overcomes the influence of environmental factors.
附图说明Description of drawings
图1为本发明多功能筛样烘干机的整体结构示意图;Fig. 1 is the overall structure schematic diagram of the multifunctional sieving dryer of the present invention;
图2为本发明顶盖的俯视结构图;Fig. 2 is the top view structure diagram of the top cover of the present invention;
图3为本发明筛样组件的滤网盘的排列结构示意图;Fig. 3 is the arrangement structure schematic diagram of the screen tray of the sieve sample assembly of the present invention;
图4为本发明筛样组件的滤网盘的安装结构示意图;4 is a schematic diagram of the installation structure of the screen tray of the sieve assembly of the present invention;
图5为本发明筛样入口在安装板上的分布结构示意图;5 is a schematic diagram of the distribution structure of the sieve inlet of the present invention on the mounting plate;
图6为本发明水平滑动板的运动状态之一的示意图;6 is a schematic diagram of one of the motion states of the horizontal sliding plate of the present invention;
图7为本发明水平滑动板的运动状态之二的示意图;7 is a schematic diagram of the second motion state of the horizontal sliding plate of the present invention;
图8为本发明水平滑动板的运动状态之三的示意图;8 is a schematic diagram of the third movement state of the horizontal sliding plate of the present invention;
图9为本发明第一连杆和第二连杆之间联动状态之一的示意图;9 is a schematic diagram of one of the linkage states between the first connecting rod and the second connecting rod of the present invention;
图10为本发明第一连杆和第二连杆之间联动状态之二的示意图;10 is a schematic diagram of the second linkage state between the first connecting rod and the second connecting rod of the present invention;
图11为本发明第一连杆和第二连杆之间联动状态之三的示意图;11 is a schematic diagram of the third linkage state between the first connecting rod and the second connecting rod of the present invention;
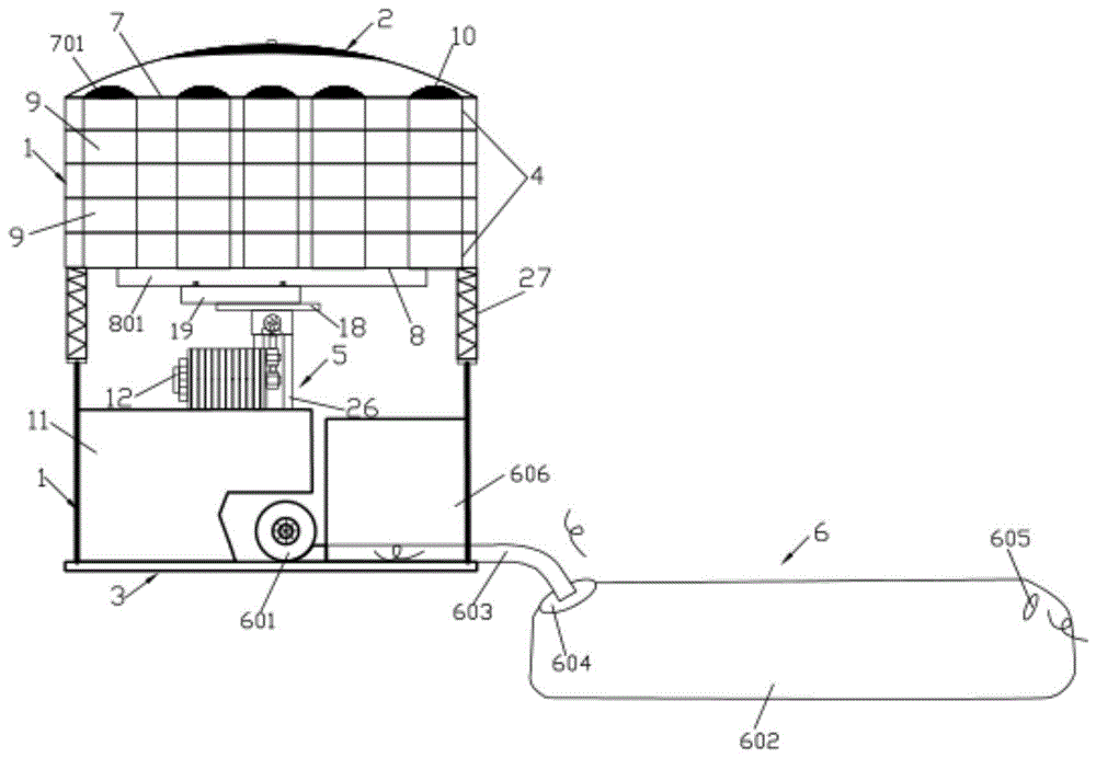
图中,1-机壳,2-顶盖,3-底座,4-筛样组件,5-水平震动组件,6-烘干组件,601-热风机,602-烘干袋,603-通风管,604-进风口,605-散热口,606-储藏间,7-安装板,701-筛样入口,8-支撑板,801-底板,9-滤网盘,10-卡扣盖,11-机座,12-驱动电机,13-第一连杆,14-第二连杆,15-固定座,1501-支座,16-支架,17-螺旋杆,18-滑轨,19-水平滑动板,1901-螺纹孔,20-主旋转轴,21-副旋转轴,22-连接转轴,23-旋转螺丝,24-齿轮,25-齿条,26-承重柱,27-缓冲弹簧。In the figure, 1-chassis, 2-top cover, 3-base, 4-sieve component, 5-horizontal vibration component, 6-drying component, 601-hot air blower, 602-drying bag, 603-ventilation pipe , 604-air inlet, 605-vent, 606-storage room, 7-installation plate, 701-sieve inlet, 8-support plate, 801-bottom plate, 9-filter plate, 10-snap cover, 11- Machine base, 12-drive motor, 13-first link, 14-second link, 15-fixed seat, 1501-support, 16-support, 17-screw rod, 18-slide rail, 19-horizontal sliding Plate, 1901-threaded hole, 20-main rotating shaft, 21-auxiliary rotating shaft, 22-connecting shaft, 23-rotating screw, 24-gear, 25-rack, 26-bearing column, 27-buffer spring.
具体实施方式Detailed ways
下面将结合实施例,对本发明的技术方案进行清楚、完整地描述,显然,所描述的实施例仅仅是本发明一部分实施例,而不是全部的实施例。基于本发明中的实施例,本领域技术人员在没有付出创造性劳动的前提下所获得的所有其他实施例,都属于本发明保护的范围。The technical solutions of the present invention will be clearly and completely described below with reference to the embodiments. Obviously, the described embodiments are only a part of the embodiments of the present invention, rather than all the embodiments. Based on the embodiments of the present invention, all other embodiments obtained by those skilled in the art without creative efforts shall fall within the protection scope of the present invention.
实施例1Example 1
参阅图1-11,本发明提供一种技术方案:1-11, the present invention provides a technical solution:
请参照图1-5,一种多功能筛样烘干机,包括机壳1、顶盖2、底座3、若干个筛样组件4、水平震动组件5和烘干组件6,所述机壳1的底端安装在所述底座3上,所述顶盖2安装在所述机壳1的顶端,所述机壳1的内壁上设有安装板7和支撑板8,所述安装板7上均匀开设有多个筛样入口701;Please refer to FIGS. 1-5 , a multifunctional sample sieving dryer includes a
若干个所述筛样组件4安装于所述安装板7和支撑板8之间且沿所述安装板7的中心均匀对称设置,若干个所述筛样组件4均包括多个滤网盘9,多个所述滤网盘9沿所述机壳1的高度方向依次设置,所述滤网盘9沿所述机壳1的径向平行设置且与所述机壳1可拆卸连接;任一所述筛样组件4的滤网盘9的中心在同一条直线上,若干个所述筛样组件4的滤网盘9与多个所述筛样入口701一一对应;Several of the
所述水平震动组件5设于所述支撑板8与所述机壳1之间,所述烘干组件6与所述机壳1底部的侧壁连接。The
本发明的多功能筛样烘干机,其筛样组件4的数量可以是多个,可根据具体需要设置其个数,筛样入口701的数量与筛样组件4的数量匹配,不同的筛样组件4可以筛选不同的样品,亦可同时筛选多种样品,单次筛选的样品数量多;任一筛样组件4均由多个滤网盘9组成,相比现有的筛样机的单一的大盘,同一组筛样组件4可重复筛选同一样品,多个筛样组件4组合之后可重复筛选不同的样品,滤网盘9与所述机壳1是可拆卸连接,从而使得废样的清理难度大大减小;在雨水天气,样品潮湿情况下,烘干组件6的设置使得本发明具有样品烘干功能,为样品筛选的顺利进行提供了技术支撑,烘干组件6与筛样组件4的相互结合,克服了环境因素的影响。In the multifunctional sieving dryer of the present invention, the number of
请参照图5,任一所述筛样组件4的多个所述的滤网盘9的目数自所述机壳1的顶端至所述机壳1的底端方向逐渐变大,多个所述的滤网盘9的孔径自所述机壳1的顶端至所述机壳1的底端方向逐渐变小。Referring to FIG. 5 , the mesh numbers of the plurality of
本发明的任一筛样组件4的多个的滤网盘9按照自上往下的方向依次分布,且其目数按照自上往下的方向升序排列,其孔径按照自上往下的方向降序排列,每一个筛样组件4中的各个滤网盘9的目数的选择可以按照需求匹配,实现了同时筛选多种样品的目的,极大地提高了工作效率。The plurality of
优选地,所述滤网盘9的层数可为5层或5层以上。Preferably, the number of layers of the
请参照图1,所述安装板7上可拆卸连接有与所述筛样入口701配合的卡扣盖10。Referring to FIG. 1 , the mounting
本发明的筛样入口701用于供样品通过,筛样入口701开设于所述安装板7上,安装板7上设有与筛样入口701配合的可拆卸的卡扣盖10,可防止震动过程中各个筛样入口701处的样品错乱混淆,顶盖2起到第一重防尘的作用,卡扣盖10还起到第二重防尘的作用。The
请参照图1,所述机壳1上设有机座11,所述水平震动组件5设于所述支撑板8与所述机座11之间。Referring to FIG. 1 , the
本发明的支撑板8用于支撑筛样组件4的多个滤网盘9,水平震动组件5安装在所述机座11上且与所述支撑板8连接,水平震动组件5驱动时,可带动筛样组件4水平运动,从而进入筛样程序。The
请参照图1和图6-8,所述支撑板8的底壁固定连接有底板801,所述水平震动组件5连接于所述机座11与所述底板801之间;1 and 6-8, the bottom wall of the
所述水平震动组件5包括驱动电机12、第一连杆13、第二连杆14、固定座15、支架16、螺旋杆17、滑轨18和水平滑动板19,所述第一连杆13的第一端通过主旋转轴20与所述驱动电机12的输出轴连接,所述第一连杆13的第二端通过副旋转轴21与所述第二连杆14的第一端连接;The
所述支架16上安装有连接转轴22,所述固定座15上设有支座1501,所述第二连杆14的第二端与所述连接转轴22铰接,所述螺旋杆17的一端转动安装在所述连接转轴22上,所述螺旋杆17的另一端穿设于所述支座1501,所述支座1501的侧壁上设有与所述螺旋杆17配合的旋转螺丝23,所述旋转螺丝23上套设有齿轮24,所述滑轨18固定安装在所述支座1501上,所述水平滑动板19与所述滑轨18滑动连接,所述水平滑动板19的底壁上设有与所述齿轮24啮合的齿条25。A connecting
本发明的固定座15是固定不动的,驱动电机12启动时,带动第一连杆13和第二连杆14转动,第二连杆14与连接转轴22铰接,第一连杆13和第二连杆14联动的过程中会推动支架16沿固定座15的滑槽前后移动,此时,螺旋杆17穿设于支座1501并在支座1501中做伸缩运动,与螺旋杆17配合的旋转螺丝23会同步转动带动齿轮24转动,水平滑动板19的底壁的齿条25与齿轮24啮合运动,从而水平滑动板19能沿滑轨18做水平移动。The fixed
本发明的驱动电机12启动时,其输出轴若逆时针转动时,如图9所示,第一连杆13以主旋转轴20为中心亦做逆时针转动,在第一连杆13的带动下驱使第二连杆14沿固定座15的方向以图9中的右方移动;当第一连杆13逆时针转动到图10中的位置时,第二连杆14右移至极限位,开始反转至左方,第一连杆13继续逆时针转动到图11中的位置时,第二连杆14向左移动。第一连杆13和第二连杆14的联动最终驱使螺旋杆17在支座1501中做伸缩运动。When the
请参照图1和图6,所述水平滑动板19上设有螺纹孔1901,所述底板801与所述水平滑动板19之间通过锁紧组件连接,所述锁紧组件为螺钉,所述螺钉与所述螺纹孔1901配合安装。1 and 6, the horizontal sliding
本发明的水平滑动板19与底板801之间通过螺钉与螺纹孔1901的配合实现固定连接,水平滑动板19在水平方向移动时,同步带动底板801及与底板801连接的支撑板8水平移动,而筛样组件4置于支撑板8上,最终实现了筛样组件4水平反复移动,达到筛样的目的。The horizontal sliding
请参照图1,所述固定座15通过承重柱26承托于所述机座11上。Referring to FIG. 1 , the fixing
本发明的承重柱26不仅起到固定所述固定座15的作用,还可承受其上部多层滤网盘9带来的压力。所述机座11为整个装置提供一定重量,使机器可以平稳运行。The load-
请参照图1,所述机壳1的四周均匀设置有多个缓冲弹簧27,所述缓冲弹簧27的一端连接于所述支撑板8,所述缓冲弹簧27的一端连接于所述机壳1的本体上。Referring to FIG. 1 , a plurality of buffer springs 27 are evenly arranged around the
本发明的缓冲弹簧27环绕在滤网盘9的四周,与下部机壳1的本体相连接,主要起到缓震和降低噪音的功能。The
请参照图1,所述烘干组件6包括设于所述底座3上的热风机601、放置于所述机壳1外部的烘干袋602和通风管603,所述烘干袋602上设有进风口604和散热口605,所述通风管603的一端与所述热风机601连通,所述通风管603的另一端与所述进风口604连通。Please refer to FIG. 1 , the drying
本发明的热风机601启动时,经热风机601加热后的热空气经通风管603输送到烘干袋602,烘干袋602可采用双层防水式的袋体,当热空气进入袋体之后,能对烘干袋602里的潮湿样品进行风干。When the
请参照图1,所述底座3上还设有贮存所述烘干袋602的储藏间606。Referring to FIG. 1 , the base 3 is further provided with a
本发明的底座3具有增加摩擦的作用,起到稳定筛样烘干机的作用,储藏间606贮存烘干袋602,便于移动和规范整个装置。The base 3 of the present invention has the function of increasing friction and plays the role of stabilizing the sieving dryer, and the
本发明的多功能筛样烘干机的使用方法如下:The using method of the multifunctional sieving dryer of the present invention is as follows:
样品筛选前,首先取出储藏间606中的双层烘干袋602,所述双层烘干袋602的面积可优选为2.0m×1.5m,随后可以将潮湿样品放置在烘干袋602中,封住烘干袋602,启动热风机601的开关,对样品进行烘干处理,根据固体矿产勘查规范,烘干样品在烘干过程中温度不超过55℃。Before sample screening, first take out the double-
将烘干之后的样品从烘干袋602中按照样品编号顺序取出,放入筛样入口701进行筛样工作。首先将顶盖2打开,随后将5件样品分别放置在5个筛样孔中,样品的种类不局限于5件,此处是举例说明,盖上5个卡扣盖10。通上电源,启动驱动电机12,水平震动组件5开始工作带动筛样组件4水平方向运动,带动各个滤网盘9水平震动,通过调节驱动电机12的功率来实现滤网盘9水平震动的频率,从而实现了样品筛选。The dried samples are taken out from the drying
以上所述仅是本发明的优选实施方式,应当理解本发明并非局限于本文所披露的形式,不应看作是对其他实施例的排除,而可用于各种其他组合、修改和环境,并能够在本文所述构想范围内,通过上述教导或相关领域的技术或知识进行改动。而本领域人员所进行的改动和变化不脱离本发明的精神和范围,则都应在本发明所附权利要求的保护范围内。The above are only preferred embodiments of the present invention, and it should be understood that the present invention is not limited to the form disclosed herein, should not be construed as an exclusion of other embodiments, but may be used in various other combinations, modifications and environments, and Modifications can be made within the scope of the concepts described herein, from the above teachings or from skill or knowledge in the relevant field. However, modifications and changes made by those skilled in the art do not depart from the spirit and scope of the present invention, and should all fall within the protection scope of the appended claims of the present invention.
Claims (6)
Priority Applications (1)
| Application Number | Priority Date | Filing Date | Title |
|---|---|---|---|
| CN202011188354.5A CN112295906B (en) | 2020-10-30 | 2020-10-30 | A multifunctional sieve dryer |
Applications Claiming Priority (1)
| Application Number | Priority Date | Filing Date | Title |
|---|---|---|---|
| CN202011188354.5A CN112295906B (en) | 2020-10-30 | 2020-10-30 | A multifunctional sieve dryer |
Publications (2)
| Publication Number | Publication Date |
|---|---|
| CN112295906A CN112295906A (en) | 2021-02-02 |
| CN112295906B true CN112295906B (en) | 2022-10-14 |
Family
ID=74332476
Family Applications (1)
| Application Number | Title | Priority Date | Filing Date |
|---|---|---|---|
| CN202011188354.5A Active CN112295906B (en) | 2020-10-30 | 2020-10-30 | A multifunctional sieve dryer |
Country Status (1)
| Country | Link |
|---|---|
| CN (1) | CN112295906B (en) |
Families Citing this family (1)
| Publication number | Priority date | Publication date | Assignee | Title |
|---|---|---|---|---|
| CN114111268A (en) * | 2021-11-11 | 2022-03-01 | 安徽巢湖旺农业科技有限公司 | Novel energy-saving environment-friendly rice drying equipment and processing technology thereof |
Family Cites Families (12)
| Publication number | Priority date | Publication date | Assignee | Title |
|---|---|---|---|---|
| CN207653996U (en) * | 2017-06-07 | 2018-07-27 | 吉木萨尔县二工乡天元粮油制品农民专业合作社 | A kind of automation garlic mashing machine |
| CN207138258U (en) * | 2017-07-25 | 2018-03-27 | 东莞市誉品电子有限公司 | A metal mesh screen screening machine inside an earphone |
| CN108398004B (en) * | 2018-04-26 | 2023-10-27 | 湖南理工学院 | Grain air dryer capable of filtering different grain sizes |
| CN109013312A (en) * | 2018-08-27 | 2018-12-18 | 张家界航空工业职业技术学院 | One kind is done more physical exercises the adjustable screening plant of coupled mode beat |
| CN209006160U (en) * | 2018-11-07 | 2019-06-21 | 范春峰 | A kind of agricultural machinery screening plant |
| CN109332174A (en) * | 2018-12-12 | 2019-02-15 | 重庆市江津区鼎涛汇丰矿山机械有限公司 | Facilitate the mechanism of horizontal and vertical vibration |
| CN209588643U (en) * | 2018-12-28 | 2019-11-05 | 江苏瑞牧生物科技有限公司 | A kind of grain drying device |
| CN211027092U (en) * | 2019-07-29 | 2020-07-17 | 王宇 | Raw materials sieving mechanism for agricultural production |
| CN211160591U (en) * | 2019-08-29 | 2020-08-04 | 南京生命能科技开发有限公司 | Bulk drug production filter equipment |
| CN211051896U (en) * | 2019-09-12 | 2020-07-21 | 湖北平林雷山天然食品有限责任公司 | Multifunctional edible fungus drying and oscillating device |
| CN211051852U (en) * | 2019-10-30 | 2020-07-21 | 江苏齐力涂装环境工程有限公司 | Painting and paint spraying drying chamber |
| CN213494880U (en) * | 2020-10-30 | 2021-06-22 | 成都理工大学 | Multifunctional sample screening dryer |
-
2020
- 2020-10-30 CN CN202011188354.5A patent/CN112295906B/en active Active
Also Published As
| Publication number | Publication date |
|---|---|
| CN112295906A (en) | 2021-02-02 |
Similar Documents
| Publication | Publication Date | Title |
|---|---|---|
| CN112295906B (en) | A multifunctional sieve dryer | |
| CN206310884U (en) | Heat-accumulation type hot air dryer | |
| CN204134891U (en) | A kind of Supplying Sieving Mechanism | |
| CN205861426U (en) | A kind of multifunction soil sample lapping device | |
| CN213494880U (en) | Multifunctional sample screening dryer | |
| CN2485613Y (en) | Shutter style multi-layer turning plate drier | |
| CN104814122B (en) | A grain drying device | |
| CN208712150U (en) | A cylindrical wet screening device | |
| CN114778910A (en) | Energy consumption monitoring and collecting device | |
| CN110397557A (en) | A kind of wind power generation plant with radiating and cooling function for coastal region | |
| CN220624722U (en) | A multi-cycle high-efficiency hot air drying box | |
| CN205048931U (en) | Screening desiccator | |
| CN219531432U (en) | Drying device with uniform heating | |
| CN216837863U (en) | Sesame air cooling device | |
| CN215784837U (en) | A screening device for agricultural products | |
| CN114543491A (en) | Screening and drying device for processing Chinese herbal medicine decoction pieces | |
| CN212253446U (en) | Indoor cucumber seed drying device that uses of laboratory | |
| CN213148916U (en) | Detection equipment for detecting environmental soil | |
| CN222211183U (en) | Bio-based material laminar flow drying device | |
| CN216432339U (en) | A drying and dehumidifying device for production of methyl p-cyanobenzoate | |
| CN219701387U (en) | Concentrated dust collector of drying-machine | |
| CN222519102U (en) | A filtration for air can equipment | |
| CN215676211U (en) | Heating device of desulfurized gypsum dryer | |
| CN111879656A (en) | Water screen type dryer integrated device and method for particle analysis | |
| CN211060519U (en) | A storage and drying device for experimental equipment for molecular cell biology |
Legal Events
| Date | Code | Title | Description |
|---|---|---|---|
| PB01 | Publication | ||
| PB01 | Publication | ||
| SE01 | Entry into force of request for substantive examination | ||
| SE01 | Entry into force of request for substantive examination | ||
| GR01 | Patent grant | ||
| GR01 | Patent grant |
