CN112276636B - Machine tool cutter changing mechanism capable of freely switching arrangement angles and switching method thereof - Google Patents

Machine tool cutter changing mechanism capable of freely switching arrangement angles and switching method thereof Download PDF

Info

Publication number
CN112276636B
CN112276636B CN202011250526.7A CN202011250526A CN112276636B CN 112276636 B CN112276636 B CN 112276636B CN 202011250526 A CN202011250526 A CN 202011250526A CN 112276636 B CN112276636 B CN 112276636B
Authority
CN
China
Prior art keywords
rod
fixedly arranged
block
clamping
servo motor
Prior art date
Legal status (The legal status is an assumption and is not a legal conclusion. Google has not performed a legal analysis and makes no representation as to the accuracy of the status listed.)
Expired - Fee Related
Application number
CN202011250526.7A
Other languages
Chinese (zh)
Other versions
CN112276636A (en
Inventor
石德松
Current Assignee (The listed assignees may be inaccurate. Google has not performed a legal analysis and makes no representation or warranty as to the accuracy of the list.)
Nantong Shengyi Precision Machinery Co ltd
Original Assignee
Nantong Shengyi Precision Machinery Co ltd
Priority date (The priority date is an assumption and is not a legal conclusion. Google has not performed a legal analysis and makes no representation as to the accuracy of the date listed.)
Filing date
Publication date
Application filed by Nantong Shengyi Precision Machinery Co ltd filed Critical Nantong Shengyi Precision Machinery Co ltd
Priority to CN202011250526.7A priority Critical patent/CN112276636B/en
Publication of CN112276636A publication Critical patent/CN112276636A/en
Application granted granted Critical
Publication of CN112276636B publication Critical patent/CN112276636B/en
Expired - Fee Related legal-status Critical Current
Anticipated expiration legal-status Critical

Links

Images

Classifications

    • BPERFORMING OPERATIONS; TRANSPORTING
    • B23MACHINE TOOLS; METAL-WORKING NOT OTHERWISE PROVIDED FOR
    • B23QDETAILS, COMPONENTS, OR ACCESSORIES FOR MACHINE TOOLS, e.g. ARRANGEMENTS FOR COPYING OR CONTROLLING; MACHINE TOOLS IN GENERAL CHARACTERISED BY THE CONSTRUCTION OF PARTICULAR DETAILS OR COMPONENTS; COMBINATIONS OR ASSOCIATIONS OF METAL-WORKING MACHINES, NOT DIRECTED TO A PARTICULAR RESULT
    • B23Q3/00Devices holding, supporting, or positioning work or tools, of a kind normally removable from the machine
    • B23Q3/155Arrangements for automatic insertion or removal of tools, e.g. combined with manual handling
    • B23Q3/1552Arrangements for automatic insertion or removal of tools, e.g. combined with manual handling parts of devices for automatically inserting or removing tools
    • B23Q3/15526Storage devices; Drive mechanisms therefor
    • BPERFORMING OPERATIONS; TRANSPORTING
    • B23MACHINE TOOLS; METAL-WORKING NOT OTHERWISE PROVIDED FOR
    • B23QDETAILS, COMPONENTS, OR ACCESSORIES FOR MACHINE TOOLS, e.g. ARRANGEMENTS FOR COPYING OR CONTROLLING; MACHINE TOOLS IN GENERAL CHARACTERISED BY THE CONSTRUCTION OF PARTICULAR DETAILS OR COMPONENTS; COMBINATIONS OR ASSOCIATIONS OF METAL-WORKING MACHINES, NOT DIRECTED TO A PARTICULAR RESULT
    • B23Q3/00Devices holding, supporting, or positioning work or tools, of a kind normally removable from the machine
    • B23Q3/155Arrangements for automatic insertion or removal of tools, e.g. combined with manual handling
    • B23Q3/1552Arrangements for automatic insertion or removal of tools, e.g. combined with manual handling parts of devices for automatically inserting or removing tools
    • B23Q3/1554Transfer mechanisms, e.g. tool gripping arms; Drive mechanisms therefore

Landscapes

  • Engineering & Computer Science (AREA)
  • Mechanical Engineering (AREA)
  • Automatic Tool Replacement In Machine Tools (AREA)

Abstract

The invention discloses a machine tool cutter changing mechanism capable of freely switching arrangement angles and a switching method thereof. The cutter storage device has a good use effect, cutters can be stored conveniently, the space utilization rate is high when the cutters are stored, a plurality of cutters can be stored in a small space, and meanwhile, the storage tank and the cutters can be adjusted at multiple angles, so that the cutter changing work of the mechanical arm can be facilitated.

Description

Machine tool cutter changing mechanism capable of freely switching arrangement angles and switching method thereof
Technical Field
The invention relates to the technical field of machine tool machining, in particular to a machine tool cutter changing mechanism capable of freely switching an arrangement angle and a switching method thereof.
Background
Machine tools are machines for manufacturing machines, also called machine tools or machine tools, which are conventionally referred to as machine tools for short. Generally, the machining method is divided into a metal cutting machine, a forging machine, a woodworking machine and the like. The methods for machining machine parts in modern machine manufacturing are numerous: in addition to cutting, casting, forging, welding, pressing, extruding, etc., however, in general, a part requiring high precision and fine surface roughness is finished by cutting on a machine tool. The machine tool plays an important role in the construction of national economy modernization.
A lathe is a machine tool for turning a rotating workpiece mainly with a lathe tool. The lathe can also be used for corresponding processing by using a drill bit, a reamer, a screw tap, a die, a knurling tool and the like. Lathes are used primarily for machining shafts, discs, sleeves and other workpieces having a surface of revolution, and are the most widely used type of machine tool in machine manufacturing and repair plants.
The existing machine tool has the following defects when the tool is replaced:
1. at present, cutters are stored through a rotatable disc, the more cutters are stored, the larger the diameter of the disc is required, the larger the occupied space is, and the inconvenience is brought to use;
2. when the cutter head is replaced and stored, the cutter head is often exposed outside, and a protection mechanism is lacked, so that the cutter head with a high price is extremely easy to damage.
Disclosure of Invention
The invention aims to provide a machine tool changing mechanism capable of freely switching an arrangement angle and a switching method thereof, so as to solve the problems in the background technology.
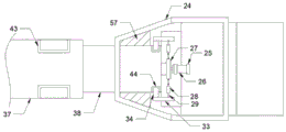
In order to achieve the purpose, the invention provides the following technical scheme: a tool changing mechanism of a machine tool capable of freely switching an arrangement angle and a switching method thereof comprise a fixed frame and a bottom plate, wherein fixed rings are fixedly arranged at the upper end and the middle part inside the fixed frame, storage balls are movably clamped between the fixed rings, a plurality of storage grooves are uniformly formed in the outer side surfaces of the storage balls, a transmission mechanism is arranged on the surface of the fixed frame and comprises a first rotating shaft, a second rotating shaft, a first transmission roller, a second transmission roller, a first mounting seat, a second mounting seat, a first servo motor and a second servo motor, the first rotating shaft is movably arranged on one side of the surface of the fixed frame through a bearing, the second rotating shaft is movably arranged on one side of the first rotating shaft through a bearing, the first transmission roller is fixedly arranged on the outer side surface of the first rotating shaft, and the second transmission roller is fixedly arranged on the outer side surface of the second rotating shaft, the outer side surface of the fixed frame is fixedly provided with a first mounting seat on one side of a first transmission roller, the outer side surface of the fixed frame is fixedly provided with a second mounting seat on one side of a second transmission roller, a first servo motor is fixedly arranged in the first mounting seat, the output shaft end of the first servo motor is in transmission connection with a first rotating shaft through a shaft coupling, a second servo motor is fixedly arranged in the second mounting seat, the output shaft end of the second servo motor is in transmission connection with a second rotating shaft through the shaft coupling, the upper end of the bottom plate is movably provided with a workbench through a rotating shaft, the upper end of the workbench is fixedly provided with a first connecting flange, the upper end of the first connecting flange is fixedly provided with a second connecting flange, and the four corners of the outer side surface of the first connecting flange and the second connecting flange are respectively provided with locking screws through screw thread movable screwing, the upper end of the second connecting flange is fixedly provided with a fixed block, the middle part of the inner side of the fixed block is provided with a third rotating shaft through the bearing activity, the surface of the outer side of the third rotating shaft is fixedly provided with a first mechanical arm, the upper end of the first mechanical arm is provided with a fourth rotating shaft through the bearing activity, the surface of the outer side of the fourth rotating shaft is fixedly provided with a second mechanical arm, one end of the second mechanical arm far away from the first mechanical arm is movably provided with an adjusting head, the surface of the outer side of the adjusting head is fixedly provided with a knife holding mechanism, the knife holding mechanism comprises a shell, a third mounting seat, a third servo motor, a rotating disc, a connecting block, a movable rod, a first transmission block, a second transmission block, a transmission rod, a connecting rod and a clamping rod, the surface of the outer side of the adjusting head is fixedly provided with a shell, the middle part of the, the output shaft end of the third servo motor is fixedly provided with a rotating disc through a shaft coupling, connecting blocks are fixedly arranged on two sides of the rotating disc inside the shell, movable rods are arranged on the connecting blocks in an inner movable penetrating mode, first transmission blocks are fixedly arranged on two sides of the outer surface of the rotating disc, one ends of the movable rods, close to the rotating disc, are fixedly provided with second transmission blocks, one ends of the movable rods, far away from the rotating disc, are fixedly provided with connecting rods, one ends of the connecting rods, far away from the movable rods, are fixedly provided with clamping rods, and a storage mechanism is arranged inside the storage tank.
Preferably, the storage mechanism comprises a slot, a tool bit, a first mounting rod, a second mounting rod, a first telescopic rod, an extrusion block, a vertical rod, a clamping block, a first clamping groove and a second clamping groove, the slot is fixedly arranged in the middle of the lower end of the inner side of the storage tank, the tool bit is movably clamped in the slot, the first mounting rod is fixedly arranged at the upper end of the tool bit, the second mounting rod is fixedly arranged at the upper end of the first mounting rod, the first telescopic rods are fixedly arranged at the two sides of the first mounting rod in the storage tank, the extrusion block is fixedly arranged at one end of the first telescopic rod close to the first mounting rod, the vertical rod is fixedly arranged at the lower end of the extrusion block, the clamping block is fixedly arranged at the lower end of the vertical rod, the first clamping groove is respectively arranged at the two sides of the surface of the first mounting rod, the clamping block is movably clamped in the first clamping groove, can conveniently store and accomodate the tool bit through storing the mechanism, can make things convenient for the arm to carry out tool changing work simultaneously.
Preferably, the first telescopic link is internally provided with a first spring, the upper end of the slot is fixedly provided with a guide block, the extrusion block and the fixture block can be conveniently pushed to reset through the first spring, and the tool bit can be conveniently guided and inserted into the slot through the guide block.
Preferably, the inside lower extreme both sides of fixed frame are all fixed and are provided with the second telescopic link, the fixed stripper plate that is provided with in second telescopic link upper end, the stripper plate outside surface with store laminating each other between the spheroid, can extrude through the stripper plate and store the spheroid to can guarantee to store the spheroid and can not take place the rotation under the drive effect that does not have first transmission gyro wheel and second transmission gyro wheel.
Preferably, the inside second spring that is provided with of second telescopic link, fixed frame is inside all to be fixed in second telescopic link both sides and is provided with the electro-magnet, stripper plate outside fixed surface is provided with the iron sheet, electric connection between electro-magnet and first servo motor and the second servo motor can promote the stripper plate and store closely laminating between the spheroid surface through the second spring, can make the electro-magnet also circular telegram work when first servo motor and second servo motor circular telegram power supply to can adsorb the stripper plate and no longer extrude and store the spheroid, thereby can conveniently store spheroid angle of adjustment.
Preferably, the supporting rods are fixedly arranged on two sides of the lower end of the fixed frame, the supporting plates are fixedly arranged at the lower ends of the supporting rods, mounting holes are formed in four corners of the upper end surface of each supporting plate, and the device can be conveniently and fixedly mounted at a target position through the mounting holes and the supporting plates.
Preferably, the surface fixing outside the movable rod is provided with a limiting block, a third spring is sleeved on the surface outside the limiting block between the connecting block and the limiting block, and the clamping rod can be driven to reset through the third spring.
Preferably, the rubber pads are fixedly arranged on the outer side surfaces of the first transmission roller and the second transmission roller, so that the friction force between the outer side surfaces of the first transmission roller and the second transmission roller can be increased through the rubber pads, and the storage ball body can be conveniently driven to roll.
Preferably, the inside both sides of casing are all fixed and are provided with the filling block, the backup pad upper end is all fixed in bracing piece both sides and is provided with the stabilizing block, the second mounting hole has all been seted up to bottom plate upper end surface four corners department, can improve the stability that the second installation pole inserted the casing inside through the filling block, can improve the stability of bracing piece through the stabilizing block, can conveniently be with bottom plate fixed mounting at the target location through the second mounting hole.
A method for using a machine tool cutter changing mechanism capable of freely switching an arrangement angle comprises the following specific steps:
the first step is as follows: the tool bits are stored in the storage grooves respectively, the tool bits are inserted into the slots during storage, and then the first clamping groove can be clamped through the clamping block, so that the tool bits can be stably fixed in the storage grooves;
the second step is that: when a proper tool bit needs to be selected, the first servo motor and the second servo motor can drive the first transmission roller and the second transmission roller to rotate, so that the storage ball clamped in the fixed ring can be driven by the first transmission roller and the second transmission roller to be adjusted at multiple angles, a storage groove where the tool bit needs to be positioned can be rotated upwards, the electromagnet can be powered to work when the first servo motor and the second servo motor are powered to drive the first transmission roller and the second transmission roller to rotate, the iron sheet can be adsorbed by the electromagnet, so that the second telescopic rod can be contracted, the surface of the storage ball is not extruded by the extrusion plate, the first transmission roller and the second transmission roller can drive the rotating shaft of the storage ball conveniently, the service life of the device is prevented from being reduced due to excessive friction, and after the angle of the storage ball is adjusted, the extrusion rod can reset and extrude the storage ball under the action of the second telescopic rod and the internal second spring, so that the storage ball can be prevented from rotating under the driving action of the first transmission roller and the second transmission roller;
the third step: the tool bit is clamped, when the tool bit is clamped, the first mechanical arm, the second mechanical arm and the adjusting head can rotate, the adjusting shell can be vertically opposite to the storage tank needing to be used, then the shell is inserted into the storage tank, the shell can extrude the extruding block through the inclined surface during insertion, so that the first telescopic rod can be contracted, then the clamping block can be moved out of the first clamping groove and is not fixed with the first clamping groove, when the shell is inserted into the storage tank, the second mounting clamping rod can be correspondingly clamped into the shell, at the moment, the rotating disc can be driven by the third servo motor to rotate clockwise, so that the movable rod can be pushed by the transmission rod to open towards two sides, so that the clamping rod can open towards two sides, after the second mounting rod is completely inserted into the bottom of the shell, the third servo motor is controlled to reset, so that the clamping rod can be clamped into the second clamping groove, then the clamping of the cutter head can be finished, and then the shell is controlled to be pulled out from the storage groove;
the fourth step: put back the tool bit, lead to the third step when putting back the tool bit and only need aim at the hold up tank with the tool bit and insert, can make the fixture block receive the casing extrusion to open with the reason, accomplish at the tool bit and insert the inside back of slot for the kelly opens and no longer blocks the second draw-in groove and can extract the casing, so the fixture block can be automatic after the casing is extracted and block into the inside tool bit that accomplishes of first draw-in groove and fix, whole use convenient and fast.
Compared with the prior art, the invention has the beneficial effects that:
1. the cutter head storage device can be used for conveniently storing cutters, when the cutters are stored, the cutter heads are stored through the storage grooves formed in the surface of the storage sphere, the space utilization rate is high, the cutters can be stored in a small space, the storage sphere can be adjusted at multiple angles, tool changing work of the mechanical arm can be facilitated, the cutters are stored in the storage grooves and are not exposed to the outside, the storage effect of the device can be effectively improved, and the cutter heads are protected.
2. According to the invention, when the first servo motor and the second servo motor are electrified and powered to drive the first transmission roller and the second transmission roller to rotate, the electromagnet can be electrified to work, so that the iron sheet can be adsorbed by the electromagnet, the second telescopic rod can be contracted, and the extruding plate can not extrude the surface of the storage ball any more, so that the first transmission roller and the second transmission roller can drive the rotating shaft of the storage ball conveniently, the service life of the device is prevented from being reduced due to excessive friction, and after the angle of the storage ball is adjusted, the extruding rod can reset and extrude the storage ball under the action of the second telescopic rod and the internal second spring, so that the storage ball can not rotate under the driving action of the first transmission roller and the second transmission roller.
3. According to the invention, the shell is inserted into the storage tank, the shell extrudes the extrusion block through the inclined surface during insertion, so that the first telescopic rod can be contracted, then the fixture block can be moved out of the first clamping groove to fix the first clamping groove, when the shell is inserted into the storage tank, the second mounting clamping rod can be correspondingly clamped into the shell, at the moment, the rotating disc can be driven by the third servo motor to rotate clockwise, so that the movable rod can be pushed by the transmission rod to open towards two sides, so that the clamping rod can open towards two sides, after the second mounting rod is completely inserted into the bottom of the shell, the third servo motor is controlled to reset, so that the clamping rod can be clamped into the second clamping groove, the clamping of the tool bit can be completed immediately, then the shell is controlled to be pulled out of the storage tank, and the whole replacing process is convenient and rapid.
Drawings
FIG. 1 is a schematic diagram of the overall structure of a machine tool changing mechanism capable of freely switching an installation angle and a switching method thereof according to the present invention;
FIG. 2 is a top view of the installation of a fixed frame and a storage sphere of the tool changing mechanism for a machine tool capable of freely switching an installation angle and a switching method thereof;
fig. 3 is an installation view of a first mechanical arm and a second mechanical arm of a machine tool changing mechanism capable of freely switching an installation angle and a switching method thereof.
Fig. 4 is a clamping view of a tool head of a machine tool changing mechanism capable of freely switching an installation angle and a switching method thereof.
Fig. 5 is an internal structural view of a housing of a machine tool changing mechanism for freely switching an installation angle and a switching method thereof according to the present invention.
FIG. 6 is a view showing the internal structure of a storage tank for a tool changing mechanism of a machine tool and a switching method thereof, which can freely switch an installation angle according to the present invention;
fig. 7 is an enlarged view of a machine tool changing mechanism for freely switching an installation angle and a switching method thereof at a point a in fig. 1 according to the present invention.
In the figure: 1. a fixed frame; 2. a base plate; 3. a fixing ring; 4. storing the spheres; 5. a storage tank; 6. a first rotating shaft; 7. a second rotating shaft; 8. a first transfer roller; 9. a second conveying roller; 10. a first mounting seat; 11. a second mounting seat; 12. a first servo motor; 13. a second servo motor; 14. a work table; 15. a first connecting flange; 16. a second connecting flange; 17. locking screws; 18. a fixed block; 19. a third rotating shaft; 20. a first robot arm; 21. a fourth rotating shaft; 22. a second mechanical arm; 23. an adjustment head; 24. a housing; 25. a third mounting seat; 26. a third servo motor; 27. rotating the disc; 28. connecting blocks; 29. a movable rod; 30. a first transmission block; 31. a second transmission block; 32. a transmission rod; 33. a connecting rod; 34. a clamping rod; 35. a slot; 36. a cutter head; 37. a first mounting bar; 38. a second mounting bar; 39. a first telescopic rod; 40. extruding the block; 41. a vertical rod; 42. a clamping block; 43. a first card slot; 44. a second card slot; 45. a first spring; 46. a second telescopic rod; 47. a pressing plate; 48. a second spring; 49. an electromagnet; 50. iron sheet; 51. a support bar; 52. a support plate; 53. a first mounting hole; 54. a limiting block; 55. a third spring; 56. a rubber pad; 57. filling blocks; 58. a guide block; 59. a stabilizing block; 60. and a second mounting hole.
Detailed Description
The technical solutions in the embodiments of the present invention will be clearly and completely described below with reference to the drawings in the embodiments of the present invention, and it is obvious that the described embodiments are only a part of the embodiments of the present invention, and not all of the embodiments. All other embodiments, which can be derived by a person skilled in the art from the embodiments given herein without making any creative effort, shall fall within the protection scope of the present invention.
Referring to fig. 1-7, the present invention provides a technical solution: a machine tool changing mechanism capable of freely switching arrangement angles and a switching method thereof comprise a fixed frame 1 and a bottom plate 2, wherein fixed rings 3 are fixedly arranged at the upper end and the middle part inside the fixed frame 1, storage balls 4 are movably clamped between the fixed rings 3, a plurality of storage grooves 5 are uniformly formed in the outer side surface of each storage ball 4, a transmission mechanism is arranged on the surface of the fixed frame 1 and comprises a first rotating shaft 6, a second rotating shaft 7, a first transmission roller 8, a second transmission roller 9, a first mounting seat 10, a second mounting seat 11, a first servo motor 12 and a second servo motor 13, the first rotating shaft 6 is movably arranged on one side of the surface of the fixed frame 1 through a bearing, the second rotating shaft 7 is movably arranged on one side of the first rotating shaft 6 on the surface of the fixed frame 1 through a bearing, the first transmission roller 8 is fixedly arranged on the outer side surface of the first rotating shaft 6, the outer side surface of the second rotating shaft 7 is fixedly provided with a second transmission roller 9, the outer side surface of the fixed frame 1 is fixedly provided with a first mounting seat 10 on one side of the first transmission roller 8, the outer side surface of the fixed frame 1 is fixedly provided with a second mounting seat 11 on one side of the second transmission roller 9, a first servo motor 12 is fixedly arranged in the first mounting seat 10, the output shaft end of the first servo motor 12 is in transmission connection with the first rotating shaft 6 through a coupler, a second servo motor 13 is fixedly arranged in the second mounting seat 11, the output shaft end of the second servo motor 13 is in transmission connection with the second rotating shaft 7 through a coupler, the upper end of the bottom plate 2 is movably provided with a workbench 14 through a rotating shaft, the upper end of the workbench 14 is fixedly provided with a first connecting flange 15, the upper end of the first connecting flange 15 is fixedly provided with a second connecting flange 16, first flange 15 and 16 outside surface four corners departments of second flange are all closed through the screw activity soon and are provided with locking screw 17, the fixed block 18 that is provided with in second flange 16 upper end, the inboard middle part of fixed block 18 is provided with third pivot 19 through the bearing activity, 19 outside fixed surfaces in third pivot are provided with first arm 20, 20 upper ends in first arm are provided with fourth pivot 21 through the bearing activity, 21 outside fixed surfaces in fourth pivot are provided with second arm 22, the one end activity that first arm 20 was kept away from to second arm 22 is provided with regulation head 23, the fixed surface in regulation head 23 outside is provided with the sword-holding mechanism, the sword-holding mechanism includes casing 24, third mount pad 25, third servo motor 26, rolling disc 27, connecting block 28, movable rod 29, first drive block 30, Second transmission block 31, transmission rod 32, connecting rod 33, clamping rod 34, adjusting head 23 outside fixed surface is provided with casing 24, casing 24 inboard middle part is fixed and is provided with third mount pad 25, the inside fixed third servo motor 26 that is provided with of third mount pad 25, the output shaft end of third servo motor is provided with rolling disc 27 through the shaft coupling is fixed, inside casing 24 is fixed and is provided with connecting block 28 in rolling disc 27 both sides, the inside activity of connecting block 28 alternates and is provided with movable rod 29, rolling disc 27 outside fixed surface both sides are fixed and are provided with first transmission block 30, the one end that movable rod 29 is close to rolling disc 27 is fixed and is provided with second transmission block 31, the one end that rotating disc 27 was kept away from to movable rod 29 is fixed and is provided with connecting rod 33, the one end that movable rod 29 was kept away from to connecting rod 33 is fixed and is provided with clamping rod 34, the storage tank 5 is internally provided with a storage mechanism.
The storage mechanism comprises a slot 35, a tool bit 36, a first mounting rod 37, a second mounting rod 38, a first telescopic rod 39, an extrusion block 40, a vertical rod 41, a clamping block 42, a first clamping groove 43 and a second clamping groove 44, wherein the slot 35 is fixedly arranged in the middle of the lower end of the inner side of the storage tank 5, the tool bit 36 is movably clamped in the slot 35, the first mounting rod 37 is fixedly arranged at the upper end of the tool bit 36, the second mounting rod 38 is fixedly arranged at the upper end of the first mounting rod 37, the first telescopic rods 39 are fixedly arranged at two sides of the first mounting rod 37 in the storage tank 5, the extrusion block 40 is fixedly arranged at one end of each first telescopic rod 39 close to the first mounting rod 37, the vertical rod 41 is fixedly arranged at the lower end of the extrusion block 40, the clamping block 42 is fixedly arranged at the lower end of the vertical rod 41, the first clamping grooves 43 are respectively arranged at two sides of the surface of the first mounting rod 37, and the, second draw-in groove 44 has all been seted up to second installation pole 38 surperficial both sides, can conveniently store through storing the mechanism and accomodate tool bit 36, can make things convenient for the arm to carry out tool changing work simultaneously.
The first spring 45 is arranged in the first telescopic rod 39, the guide block 58 is fixedly arranged at the upper end of the slot 35, the extrusion block 40 and the fixture block 42 can be conveniently pushed to reset through the first spring 45, and the cutter head 36 can be conveniently guided and inserted into the slot 35 through the guide block 58.
The inside lower extreme both sides of fixed frame 1 are all fixed and are provided with second telescopic link 46, the fixed stripper plate 47 that is provided with in second telescopic link 46 upper end, the stripper plate 47 outside surface with store laminating each other between the spheroid 4, can extrude through stripper plate 47 and store spheroid 4 to can guarantee to store spheroid 4 and do not have the rotation can not take place under the drive effect of first transmission gyro wheel 8 and second transmission gyro wheel 9.
Inside second spring 48 that is provided with of second telescopic link 46, fixed frame 1 is inside all to be fixed in second telescopic link 46 both sides and is provided with electro-magnet 49, stripper plate 47 outside fixed surface is provided with iron sheet 50, electric connection between electro-magnet 49 and first servo motor 12 and the second servo motor 13 can promote stripper plate 47 and store closely laminating between the spheroid 4 surface through second spring 48, can make electro-magnet 49 also circular telegram work when first servo motor 12 and the circular telegram power supply of second servo motor 13 to can adsorb stripper plate 47 and no longer extrude and store spheroid 4, thereby can conveniently store 4 angle of adjustment of spheroid.
The support rods 51 are fixedly arranged on two sides of the lower end of the fixed frame 1, the support plates 52 are fixedly arranged at the lower ends of the support rods 51, the first mounting holes 53 are formed in the four corners of the upper end surface of each support plate 52, and the device can be conveniently and fixedly mounted at a target position through the first mounting holes 53 and the support plates 52.
The outer side surface of the movable rod 29 is fixedly provided with a limiting block 54, a third spring 55 is sleeved on the outer side surface of the limiting block 54 between the connecting block 28 and the limiting block 54, and the clamping rod 34 can be driven to reset through the third spring 55.
First transmission gyro wheel 8 and the fixed rubber pad 56 that is provided with of second transmission gyro wheel 9 outside surface can increase the frictional force of first transmission gyro wheel 8 and the surface of second transmission gyro wheel 9 outside through rubber pad 56 to can conveniently drive and store spheroid 4 and roll.
Inside both sides of casing 24 are all fixed and are provided with filling block 57, backup pad 52 upper end is all fixed and is provided with stabilizing block 59 in bracing piece 51 both sides, second mounting hole 60 has all been seted up in bottom plate 2 upper end surface four corners department, can improve the inside stability of second installation pole 38 insertion casing 24 through filling block 57, can improve the stability of bracing piece 51 through stabilizing block 59, can conveniently be with bottom plate 2 fixed mounting at the target location through second mounting hole 60.
A method for using a machine tool cutter changing mechanism capable of freely switching an arrangement angle comprises the following specific steps:
the first step is as follows: the tool bits 36 are respectively stored in the storage grooves 5, the tool bits 36 are firstly inserted into the slots 35 during storage, and then the first clamping grooves 43 can be clamped through the clamping blocks 42, so that the tool bits 36 can be stably fixed in the storage grooves 5;
the second step is that: when a proper tool bit 36 needs to be selected, the first servo motor 12 and the second servo motor 13 can drive the first transmission roller 8 and the second transmission roller 9 to rotate, so that the storage ball 4 clamped in the fixed ring 3 can be driven by the first transmission roller 8 and the second transmission roller 9 to be adjusted at multiple angles, the storage tank 5 where the tool bit 36 needs to be located can be rotated upwards, the electromagnet 49 can be also electrified to work when the first servo motor 12 and the second servo motor 13 are electrified to supply power to drive the first transmission roller 8 and the second transmission roller 9 to rotate, the electromagnet 49 can adsorb the iron sheet 50, the second telescopic rod 46 is contracted, the surface of the storage ball 4 is not extruded by the extrusion plate 47, and therefore, the first transmission roller 8 and the second transmission roller 9 can conveniently drive the rotating shaft of the storage ball 4, the service life of the device is prevented from being reduced due to excessive friction, and after the angle of the storage ball body 4 is adjusted, the extrusion rod can reset and extrude the storage ball body 4 under the action of the second expansion link 46 and the internal second spring 48, so that the storage ball body 4 can be ensured not to rotate under the driving action of the first transmission roller 8 and the second transmission roller 9;
the third step: when the tool bit 36 is gripped, the first mechanical arm 20, the second mechanical arm 22 and the adjusting head 23 can rotate to adjust the housing 24 to be vertically opposite to the storage tank 5 which needs to take the tool bit 36, then the housing 24 is inserted into the storage tank 5, when the housing 24 is inserted, the pressing block 40 is pressed by the inclined surface, so that the first telescopic rod 39 can be contracted, then the clamping block 42 can be moved out of the first clamping groove 43 to no longer fix the first clamping groove 43, when the housing 24 is inserted into the storage tank 5, the second mounting clamping rod 34 can be correspondingly clamped into the housing 24, at this time, the third servo motor 26 can drive the rotating disc 27 to rotate clockwise, so that the movable rod 29 can be pushed by the transmission rod 32 to open towards two sides, so that the clamping rod 34 can open towards two sides, and after the second mounting rod 38 is completely inserted into the bottom of the housing 24, the third servo motor 26 is controlled to reset, so that the clamping rod 34 is clamped into the second clamping groove 44, the clamping of the tool bit 36 can be completed immediately, then the shell 24 is controlled to be pulled out of the storage groove 5, and the tool can be clamped as shown in the fourth drawing;
the fourth step: put back tool bit 36, lead to the third step when putting back tool bit 36 and only need aim at the hold up tank 5 with tool bit 36 and insert, can make fixture block 42 receive the extrusion of casing 24 to open like this, accomplish at tool bit 36 and insert the inside back of slot 35, make the kelly 34 open no longer block second draw-in groove 44 and can extract casing 24, so fixture block 42 can be automatic card after casing 24 extracts and fix the inside tool bit 36 that accomplishes of first draw-in groove 43, whole use convenient and fast.
It is noted that, herein, relational terms such as first and second, and the like may be used solely to distinguish one entity or action from another entity or action without necessarily requiring or implying any actual such relationship or order between such entities or actions. Also, the terms "comprises," "comprising," or any other variation thereof, are intended to cover a non-exclusive inclusion, such that a process, method, article, or apparatus that comprises a list of elements does not include only those elements but may include other elements not expressly listed or inherent to such process, method, article, or apparatus.
Although embodiments of the present invention have been shown and described, it will be appreciated by those skilled in the art that changes, modifications, substitutions and alterations can be made in these embodiments without departing from the principles and spirit of the invention, the scope of which is defined in the appended claims and their equivalents.

Claims (10)

1.一种自由切换安置角度的机床换刀机构,包括固定框架(1)与底板(2),其特征在于:所述固定框架(1)内部上端与中部均固定设置有固定环(3),所述固定环(3)之间活动卡合设置有储存球体(4),所述储存球体(4)外侧表面均匀开设有若干储存槽(5),所述固定框架(1)表面设置有传动机构,所述传动机构包括第一转轴(6)、第二转轴(7)、第一传输滚轮(8)、第二传输滚轮(9)、第一安装座(10)、第二安装座(11)、第一伺服电机(12)、第二伺服电机(13),所述固定框架(1)表面一侧通过轴承活动设置有第一转轴(6),所述固定框架(1)表面在第一转轴(6)一侧通过轴承活动设置有第二转轴(7),所述第一转轴(6)外侧表面固定设置有第一传输滚轮(8),所述第二转轴(7)外侧表面固定设置有第二传输滚轮(9),所述固定框架(1)外侧表面在第一传输滚轮(8)一侧固定设置有第一安装座(10),所述固定框架(1)外侧表面在第二传输滚轮(9)一侧固定设置有第二安装座(11),所述第一安装座(10)内部固定设置有第一伺服电机(12),所述第一伺服电机(12)的输出轴端通过联轴器与第一转轴(6)之间传动连接,所述第二安装座(11)内部固定设置有第二伺服电机(13),所述第二伺服电机(13)的输出轴端通过联轴器与第二转轴(7)之间传动连接,所述底板(2)上端通过转轴活动设置有工作台(14),所述工作台(14)上端固定设置有第一连接法兰(15),所述第一连接法兰(15)上端固定设置有第二连接法兰(16),所述第一连接法兰(15)与第二连接法兰(16)外侧表面四角处均通过螺纹活动旋合设置有锁紧螺丝(17),所述第二连接法兰(16)上端固定设置有固定块(18),所述固定块(18)内侧中部通过轴承活动设置有第三转轴(19),所述第三转轴(19)外侧表面固定设置有第一机械臂(20),所述第一机械臂(20)上端通过轴承活动设置有第四转轴(21),所述第四转轴(21)外侧表面固定设置有第二机械臂(22),所述第二机械臂(22)远离第一机械臂(20)的一端活动设置有调节头(23),所述调节头(23)外侧表面固定设置有持刀机构,所述持刀机构包括壳体(24)、第三安装座(25)、第三伺服电机(26)、转动盘(27)、连接块(28)、活动杆(29)、第一传动块(30)、第二传动块(31)、传动杆(32)、连接杆(33)、卡杆(34),所述调节头(23)外侧表面固定设置有壳体(24),所述壳体(24)内侧中部固定设置有第三安装座(25),所述第三安装座(25)内部固定设置有第三伺服电机(26),所述第三伺服电机(26)的输出轴端通过联轴器固定设置有转动盘(27),所述壳体(24)内部在转动盘(27)两侧均固定设置有连接块(28),所述连接块(28)内部活动穿插设置有活动杆(29),所述转动盘(27)外侧表面两侧均固定设置有第一传动块(30),所述活动杆(29)靠近转动盘(27)的一端固定设置有第二传动块(31),所述活动杆(29)远离转动盘(27)的一端固定设置有连接杆(33),所述连接杆(33)远离活动杆(29)的一端固定设置有卡杆(34),所述储存槽(5)内部设置有储存机构。1. A machine tool changing mechanism capable of freely switching the placement angle, comprising a fixed frame (1) and a bottom plate (2), characterized in that: the upper end and the middle of the fixed frame (1) are fixedly provided with a fixing ring (3) , a storage sphere (4) is movably engaged between the fixing rings (3), a plurality of storage grooves (5) are evenly opened on the outer surface of the storage sphere (4), and the surface of the fixing frame (1) is provided with A transmission mechanism, the transmission mechanism includes a first rotating shaft (6), a second rotating shaft (7), a first transmission roller (8), a second transmission roller (9), a first mounting seat (10), and a second mounting seat (11), a first servo motor (12), a second servo motor (13), a first rotating shaft (6) is movably provided on one side of the surface of the fixed frame (1) through a bearing, and the surface of the fixed frame (1) A second rotating shaft (7) is movably arranged on one side of the first rotating shaft (6) through a bearing, a first transmission roller (8) is fixedly arranged on the outer surface of the first rotating shaft (6), and the second rotating shaft (7) A second transmission roller (9) is fixedly arranged on the outer surface, and a first mounting seat (10) is fixedly arranged on the outer surface of the fixing frame (1) on the side of the first transmission roller (8). The fixing frame (1) A second mounting seat (11) is fixedly arranged on the outer surface of the second transmission roller (9), and a first servo motor (12) is fixedly arranged inside the first mounting seat (10). The first servo motor The output shaft end of (12) is drive-connected with the first rotating shaft (6) through a coupling, and a second servo motor (13) is fixed inside the second mounting seat (11). The second servo motor The output shaft end of (13) is connected with the second rotating shaft (7) by a transmission through the coupling, the upper end of the bottom plate (2) is movably provided with a worktable (14) through the rotating shaft, and the upper end of the worktable (14) is fixed A first connection flange (15) is provided, the upper end of the first connection flange (15) is fixedly provided with a second connection flange (16), and the first connection flange (15) is connected to the second connection flange (16) Locking screws (17) are provided at the four corners of the outer surface through screw threads. The upper end of the second connecting flange (16) is fixedly provided with a fixing block (18), and the inner side of the fixing block (18) A third rotating shaft (19) is movably arranged in the middle through a bearing, a first mechanical arm (20) is fixedly arranged on the outer surface of the third rotating shaft (19), and a first mechanical arm (20) is movably arranged on the upper end of the first mechanical arm (20) through a bearing. Four rotating shafts (21), the outer surface of the fourth rotating shaft (21) is fixedly provided with a second mechanical arm (22), and the end of the second mechanical arm (22) away from the first mechanical arm (20) is movably provided with an adjustment A head (23), the outer surface of the adjustment head (23) is fixedly provided with a knife-holding mechanism, the knife-holding mechanism comprises a casing (24), a third mounting seat (25), a third servo motor (26), a rotating Disk (27), connecting block (28), movable rod (29), first transmission block (30), second transmission block (31), transmission rod (32), connecting rod (33) ), a clamping rod (34), a casing (24) is fixedly arranged on the outer surface of the adjusting head (23), and a third mounting seat (25) is fixedly arranged in the middle of the inner side of the casing (24). A third servo motor (26) is fixedly arranged inside the mounting seat (25), the output shaft end of the third servo motor (26) is fixedly arranged with a rotating disk (27) through a coupling, and the casing (24) Connecting blocks (28) are fixedly arranged on both sides of the rotating disk (27) inside, and movable rods (29) are movably interspersed inside the connecting block (28), and both sides of the outer surface of the rotating disk (27) are fixed on both sides. A first transmission block (30) is provided, a second transmission block (31) is fixedly arranged at one end of the movable rod (29) close to the rotating disk (27), and the movable rod (29) is far away from the end of the rotating disk (27). A connecting rod (33) is fixedly arranged at one end, a clamping rod (34) is fixedly arranged at one end of the connecting rod (33) away from the movable rod (29), and a storage mechanism is arranged inside the storage groove (5). 2.根据权利要求1所述的一种自由切换安置角度的机床换刀机构,其特征在于:所述储存机构包括插槽(35)、刀头(36)、第一安装杆(37)、第二安装杆(38)、第一伸缩杆(39)、挤压块(40)、竖杆(41)、卡块(42)、第一卡槽(43)、第二卡槽(44),所述储存槽(5)内侧下端中部固定设置有插槽(35),所述插槽(35)内部活动卡合设置有刀头(36),所述刀头(36)上端固定设置有第一安装杆(37),所述第一安装杆(37)上端固定设置有第二安装杆(38),所述储存槽(5)内部在第一安装杆(37)两侧均固定设置有第一伸缩杆(39),所述第一伸缩杆(39)靠近第一安装杆(37)的一端固定设置有挤压块(40),所述挤压块(40)下端固定设置有竖杆(41),所述竖杆(41)下端固定设置有卡块(42),所述第一安装杆(37)表面两侧均开设又第一卡槽(43),所述卡块(42)活动卡合设置在第一卡槽(43)内部,所述第二安装杆(38)表面两侧均开设有第二卡槽(44)。2. The tool changing mechanism of a machine tool that can freely switch the installation angle according to claim 1, wherein the storage mechanism comprises a slot (35), a tool head (36), a first installation rod (37), The second installation rod (38), the first telescopic rod (39), the extrusion block (40), the vertical rod (41), the clamping block (42), the first clamping slot (43), the second clamping slot (44) , a slot (35) is fixedly arranged in the middle of the inner lower end of the storage slot (5), a cutter head (36) is movably arranged inside the slot (35), and the upper end of the cutter head (36) is fixedly provided with a A first installation rod (37), the upper end of the first installation rod (37) is fixedly provided with a second installation rod (38), and the interior of the storage groove (5) is fixedly arranged on both sides of the first installation rod (37) There is a first telescopic rod (39), one end of the first telescopic rod (39) close to the first installation rod (37) is fixedly provided with a pressing block (40), and the lower end of the pressing block (40) is fixedly provided with a pressing block (40). A vertical rod (41), a clamping block (42) is fixedly arranged at the lower end of the vertical rod (41), and a first clamping slot (43) is formed on both sides of the surface of the first installation rod (37). (42) The movable engagement is arranged inside the first clamping slot (43), and the second clamping slot (44) is opened on both sides of the surface of the second installation rod (38). 3.根据权利要求2所述的一种自由切换安置角度的机床换刀机构,其特征在于:所述第一伸缩杆(39)内部设置有第一弹簧(45),所述插槽(35)上端固定设置有引导块(58)。3. A machine tool changing mechanism capable of freely switching the placement angle according to claim 2, characterized in that: a first spring (45) is provided inside the first telescopic rod (39), and the slot (35) ) is fixedly provided with a guide block (58) at the upper end. 4.根据权利要求1所述的一种自由切换安置角度的机床换刀机构,其特征在于:所述固定框架(1)内部下端两侧均固定设置有第二伸缩杆(46),所述第二伸缩杆(46)上端固定设置有挤压板(47),所述挤压板(47)外侧表面与储存球体(4)之间相互贴合。4. A machine tool changing mechanism capable of freely switching the placement angle according to claim 1, characterized in that: second telescopic rods (46) are fixedly arranged on both sides of the inner lower end of the fixed frame (1). The upper end of the second telescopic rod (46) is fixedly provided with a pressing plate (47), and the outer surface of the pressing plate (47) and the storage sphere (4) are in contact with each other. 5.根据权利要求4所述的一种自由切换安置角度的机床换刀机构,其特征在于:所述第二伸缩杆(46)内部设置有第二弹簧(48),所述固定框架(1)内部在第二伸缩杆(46)两侧均固定设置有电磁铁(49),所述挤压板(47)外侧表面固定设置有铁皮(50),所述电磁铁(49)与第一伺服电机(12)和第二伺服电机(13)之间电性连接。5 . The tool changing mechanism of a machine tool that can freely switch the placement angle according to claim 4 , wherein a second spring ( 48 ) is arranged inside the second telescopic rod ( 46 ), and the fixed frame ( 1 ) ) inside the second telescopic rod (46) are fixedly provided with electromagnets (49), the outer surface of the extrusion plate (47) is fixedly provided with iron sheets (50), the electromagnets (49) and the first The servo motor (12) and the second servo motor (13) are electrically connected. 6.根据权利要求1所述的一种自由切换安置角度的机床换刀机构,其特征在于:所述固定框架(1)下端两侧均固定设置有支撑杆(51),所述支撑杆(51)下端固定设置有支撑板(52),所述支撑板(52)上端表面四角处均开设有第一安装孔(53)。6 . The machine tool changing mechanism according to claim 1 , wherein a support rod (51) is fixedly arranged on both sides of the lower end of the fixed frame (1), and the support rod ( 51) A support plate (52) is fixedly arranged at the lower end, and first installation holes (53) are provided at the four corners of the upper end surface of the support plate (52). 7.根据权利要求1所述的一种自由切换安置角度的机床换刀机构,其特征在于:所述活动杆(29)外侧表面固定设置有限位块(54),所述限位块(54)外侧表面在连接块(28)与限位块(54)之间套设有第三弹簧(55)。7 . The tool changing mechanism of a machine tool that can switch the placement angle freely according to claim 1 , wherein a limit block ( 54 ) is fixedly arranged on the outer surface of the movable rod ( 29 ), and the limit block ( 54 ) is fixedly arranged on the outer surface of the movable rod ( 29 ). ), a third spring (55) is sleeved between the connecting block (28) and the limiting block (54) on the outer surface. 8.根据权利要求1所述的一种自由切换安置角度的机床换刀机构,其特征在于:所述第一传输滚轮(8)与第二传输滚轮(9)外侧表面固定设置有橡胶垫(56)。8 . The machine tool changing mechanism according to claim 1 , characterized in that: rubber pads ( 56). 9.根据权利要求6所述的一种自由切换安置角度的机床换刀机构,其特征在于:所述壳体(24)内部两侧均固定设置有填充块(57),所述支撑板(52)上端在支撑杆(51)两侧均固定设置有稳定块(59),所述底板(2)上端表面四角处均开设有第二安装孔(60) 。9 . The machine tool changing mechanism according to claim 6 , characterized in that: filling blocks ( 57 ) are fixedly arranged on both sides of the inside of the casing ( 24 ), and the support plate ( 52) Stabilizing blocks (59) are fixedly arranged on both sides of the support rod (51) at the upper end, and second mounting holes (60) are provided at the four corners of the upper end surface of the bottom plate (2). 10.根据权利要求1所述的一种自由切换安置角度的机床换刀机构的使用方法,其特征在于:具体包括以下步骤:10. The use method of a machine tool changing mechanism for freely switching the placement angle according to claim 1, characterized in that: it specifically comprises the following steps: 第一步:将刀头(36)分别储存在储存槽(5)内部,储存时先将刀头(36)插入插槽(35)内部,随后可以通过卡块(42)卡住第一卡槽(43),如此即可将刀头(36)稳定的固定在储存槽(5)内部;Step 1: Store the cutter head (36) in the storage slot (5) respectively. When storing, insert the cutter head (36) into the slot (35) first, and then use the clamping block (42) to hold the first card groove (43), so that the cutter head (36) can be stably fixed inside the storage groove (5); 第二步;当需要选择合适的刀头(36)时可以通过第一伺服电机(12)和第二伺服电机(13)带动第一传输滚轮(8)和第二传输滚轮(9)转动,如此即可通过第一传输滚轮(8)和第二传输滚轮(9)带动卡住在固定环(3)内部的储存球体(4)多角度进行调节,从而可以将需要刀头(36)所在的储存槽(5)转动朝上即可,并且在第一伺服电机(12)和第二伺服电机(13)通电供电带动第一传输滚轮(8)和第二传输滚轮(9)转动时可以使得电磁铁(49)也通电工作,如此即可通过电磁铁(49)吸附铁皮(50),从而使得第二伸缩杆(46)收缩,从而使得挤压板(47)不再挤压储存球体(4)的表面,如此即可方便第一传输滚轮(8)和第二传输滚轮(9)带动储存球体(4)转轴,防止过度摩擦导致装置寿命下降,而在储存球体(4)角度调节完毕后,挤压杆即可在第二伸缩杆(46)和内部第二弹簧(48)的作用下复位并挤压储存球体(4),如此可以保证储存球体(4)没有第一传输滚轮(8)与第二传输滚轮(9)的带动作用下不会发生自转;The second step; when the appropriate cutter head (36) needs to be selected, the first transmission roller (8) and the second transmission roller (9) can be driven to rotate by the first servo motor (12) and the second servo motor (13), In this way, the storage sphere (4) stuck inside the fixing ring (3) can be adjusted at multiple angles through the first transmission roller (8) and the second transmission roller (9), so that the position where the cutter head (36) is required can be adjusted. The storage tank (5) can be turned upward, and when the first servo motor (12) and the second servo motor (13) are powered on to drive the first transmission roller (8) and the second transmission roller (9) to rotate. The electromagnet (49) is also energized to work, so that the iron sheet (50) can be adsorbed by the electromagnet (49), so that the second telescopic rod (46) shrinks, so that the pressing plate (47) no longer squeezes the storage sphere (4) surface, so that the first transmission roller (8) and the second transmission roller (9) can drive the rotation shaft of the storage sphere (4) to prevent excessive friction from reducing the service life of the device, and the angle adjustment of the storage sphere (4) After completion, the extrusion rod can be reset and squeezed the storage ball (4) under the action of the second telescopic rod (46) and the second inner spring (48), so as to ensure that the storage ball (4) does not have the first transmission roller (8) Under the driving action of the second transmission roller (9), the rotation will not occur; 第三步:夹取刀头(36),夹取刀头(36)时可以通过第一机械臂(20)和第二机械臂(22)以及调节头(23)转动,以调节壳体(24)可以垂直正对那个需要取用刀头(36)的储存槽(5),随后将壳体(24)插入到储存槽(5)内部,插入时壳体(24)会通过倾斜的表面挤压挤压块(40),如此即可使得第一伸缩杆(39)收缩,随后即可使得卡块(42)从第一卡槽(43)内部移出不再固定第一卡槽(43),而在壳体(24)插入到储存槽(5)内部时,会使得第二安装卡杆(34)相应的卡入到壳体(24)内部,此时可以通过第三伺服电机(26)带动转动盘(27)顺时针转动,如此即可通过传动杆(32)推动活动杆(29)向两侧张开,如此即可使得卡杆(34)向两侧张开,第二安装杆(38)完全插入到壳体(24)底部后,控制第三伺服电机(26)复位,如此即可使得卡杆(34)卡入到第二卡槽(44)内部,随即即可完成刀头(36)的夹取,随后控制壳体(24)从储存槽(5)内部拔出即可;Step 3: Clamping the cutter head (36), when clamping the cutter head (36), the first robotic arm (20), the second robotic arm (22) and the adjusting head (23) can be rotated to adjust the housing ( 24) It can be vertically facing the storage slot (5) where the cutter head (36) needs to be taken, and then insert the housing (24) into the storage slot (5), and the housing (24) will pass the inclined surface during insertion. Squeeze the pressing block (40), so that the first telescopic rod (39) can be contracted, and then the clamping block (42) can be moved out of the first clamping groove (43) and the first clamping groove (43) can no longer be fixed. ), and when the housing (24) is inserted into the storage slot (5), the second mounting lever (34) will be snapped into the housing (24) accordingly, and the third servo motor ( 26) Drive the rotating disc (27) to rotate clockwise, so that the movable rod (29) can be pushed to open to both sides by the transmission rod (32), so that the clamping rod (34) can be opened to both sides, and the second After the installation rod (38) is completely inserted into the bottom of the casing (24), the third servo motor (26) is controlled to reset, so that the clamping rod (34) can be inserted into the second clamping slot (44), and then the After completing the clamping of the cutter head (36), the control housing (24) can then be pulled out from the storage tank (5); 第四步:放回刀头(36),放回刀头(36)时通第三步只需将刀头(36)对准储存槽(5)插入,同理会使得卡块(42)受到壳体(24)挤压张开,在刀头(36)完成插入插槽(35)内部后,使得卡杆(34)张开不再卡住第二卡槽(44)即可拔出壳体(24),如此卡块(42)在壳体(24)拔出后即可自动卡入第一卡槽(43)内部完成刀头(36)固定,整个使用过程方便快捷。Step 4: Put the cutter head (36) back, and when the cutter head (36) is put back, the third step is to insert the cutter head (36) into the storage slot (5). The casing (24) is squeezed to open, and after the cutter head (36) is inserted into the slot (35), the casing (34) can be pulled out so that the clamping rod (34) is no longer stuck in the second clamping slot (44). body (24), so that the clamping block (42) can be automatically clamped into the first clamping groove (43) after the casing (24) is pulled out to complete the fixing of the cutter head (36), and the whole use process is convenient and quick.
CN202011250526.7A 2020-11-10 2020-11-10 Machine tool cutter changing mechanism capable of freely switching arrangement angles and switching method thereof Expired - Fee Related CN112276636B (en)

Priority Applications (1)

Application Number Priority Date Filing Date Title
CN202011250526.7A CN112276636B (en) 2020-11-10 2020-11-10 Machine tool cutter changing mechanism capable of freely switching arrangement angles and switching method thereof

Applications Claiming Priority (1)

Application Number Priority Date Filing Date Title
CN202011250526.7A CN112276636B (en) 2020-11-10 2020-11-10 Machine tool cutter changing mechanism capable of freely switching arrangement angles and switching method thereof

Publications (2)

Publication Number Publication Date
CN112276636A CN112276636A (en) 2021-01-29
CN112276636B true CN112276636B (en) 2021-06-01

Family

ID=74352048

Family Applications (1)

Application Number Title Priority Date Filing Date
CN202011250526.7A Expired - Fee Related CN112276636B (en) 2020-11-10 2020-11-10 Machine tool cutter changing mechanism capable of freely switching arrangement angles and switching method thereof

Country Status (1)

Country Link
CN (1) CN112276636B (en)

Families Citing this family (6)

* Cited by examiner, † Cited by third party
Publication number Priority date Publication date Assignee Title
CN112865448B (en) * 2021-02-28 2024-01-12 锦州韩华电装有限公司 Motor rotor and stator assembly system and assembly method thereof
CN113091714A (en) * 2021-03-17 2021-07-09 章小波 Engineering cost civil field mapping device
CN114227347A (en) * 2021-12-29 2022-03-25 无锡日上五金机械制造有限公司 Adjustable rotating clamping device for punching motor end cover and using method thereof
CN114227300B (en) * 2022-01-25 2023-04-25 江苏益铨数控科技有限公司 Tool apron of machine tool
CN116713786B (en) * 2023-08-08 2023-10-17 方冠(常州)数控科技有限公司 Swing arm automatic tool changer for vertical and horizontal double spindle machine tools
CN118768990B (en) * 2024-09-10 2024-11-19 泉州鲤城区铭宏机械有限公司 Switching and positioning device for numerical control expanding tool spindle head

Citations (6)

* Cited by examiner, † Cited by third party
Publication number Priority date Publication date Assignee Title
FR2515948A1 (en) * 1981-11-12 1983-05-13 Pasquier Roger Machine tool display stand - consists of vertical column on plinth, with perforated trays adjustably mounted on column
CN2030118U (en) * 1987-01-23 1989-01-04 邹德骏 Multi-functional six-working-position rotary fixture with high precision
KR970008474B1 (en) * 1988-06-30 1997-05-24 부라더 고교 가부시기가이샤 Automatic tool changer of machine tool
CN102873370A (en) * 2011-07-15 2013-01-16 贵州航天乌江机电设备有限责任公司 Multi-drill device for lathe tailstock
CN103826795A (en) * 2011-09-16 2014-05-28 Gmtk多工序机械加工股份有限公司 Device for exchanging components in horizontal lathes and manipulator
CN109434849A (en) * 2018-11-28 2019-03-08 中铁工程装备集团有限公司 A kind of robot replaced automatically suitable for disk cutter and its application method

Family Cites Families (1)

* Cited by examiner, † Cited by third party
Publication number Priority date Publication date Assignee Title
CH676685A5 (en) * 1988-08-24 1991-02-28 Starrfraesmaschinen Ag

Patent Citations (6)

* Cited by examiner, † Cited by third party
Publication number Priority date Publication date Assignee Title
FR2515948A1 (en) * 1981-11-12 1983-05-13 Pasquier Roger Machine tool display stand - consists of vertical column on plinth, with perforated trays adjustably mounted on column
CN2030118U (en) * 1987-01-23 1989-01-04 邹德骏 Multi-functional six-working-position rotary fixture with high precision
KR970008474B1 (en) * 1988-06-30 1997-05-24 부라더 고교 가부시기가이샤 Automatic tool changer of machine tool
CN102873370A (en) * 2011-07-15 2013-01-16 贵州航天乌江机电设备有限责任公司 Multi-drill device for lathe tailstock
CN103826795A (en) * 2011-09-16 2014-05-28 Gmtk多工序机械加工股份有限公司 Device for exchanging components in horizontal lathes and manipulator
CN109434849A (en) * 2018-11-28 2019-03-08 中铁工程装备集团有限公司 A kind of robot replaced automatically suitable for disk cutter and its application method

Also Published As

Publication number Publication date
CN112276636A (en) 2021-01-29

Similar Documents

Publication Publication Date Title
CN112276636B (en) Machine tool cutter changing mechanism capable of freely switching arrangement angles and switching method thereof
CN112872394B (en) Turning clamp for flange blind plate
CN210024494U (en) Clamping device for machining of numerical control machine tool
CN209935953U (en) High-speed engraving and milling machine with tool magazine
CN219324763U (en) Numerical control lathe driving device
CN217370552U (en) Self-cleaning type punching device for machining main shaft starting gear
CN220050938U (en) Machining tool with good workpiece clamping stability
CN209698114U (en) A kind of lathe for the processing of pitman arm end face
CN220944216U (en) Cabinet body custom-made plate drilling and milling device
CN216460584U (en) Burr removing device for machining stainless steel castings
CN223353670U (en) Vertical tool changing device and machine tool
CN218613026U (en) Cutter switching device of horizontal lathe
CN222327294U (en) A turning, milling and drilling integrated machine tool
CN223557277U (en) A machining apparatus for lathes that facilitates tool loading
CN218487224U (en) Rotatable main shaft mechanism of numerical control slot milling machine
CN218283808U (en) A wheel shaft piercing machine
CN207239211U (en) High precision numerical control double end boring device is used in a kind of gravure printing roller processing
CN220943210U (en) Large workpiece rough turning tail top tool
CN221211145U (en) New forms of energy photovoltaic equipment spare part grinding device
CN210099011U (en) A numerical control angle punching device for mechanical parts
CN222912946U (en) A composite arc groove cutter stress detection device
CN217668466U (en) Deburring device for pipe machining
CN223277549U (en) A CNC machine tool with adjustable clamping angle
CN222725534U (en) A hardware drilling device
CN208374766U (en) A kind of clamping device for processing square-outside and round-inside valve seat

Legal Events

Date Code Title Description
PB01 Publication
PB01 Publication
SE01 Entry into force of request for substantive examination
SE01 Entry into force of request for substantive examination
TA01 Transfer of patent application right
TA01 Transfer of patent application right

Effective date of registration: 20210512

Address after: 226000 Huolong Industrial Park, Sijia Town, Haimen District, Nantong City, Jiangsu Province

Applicant after: Nantong Shengyi Precision Machinery Co.,Ltd.

Address before: 223800 Room 405, unit 1, building 36, Dongcheng Meiyu, 1036 Zhujiang Road, Suyu District, Suqian City, Jiangsu Province

Applicant before: Shi Desong

GR01 Patent grant
GR01 Patent grant
CF01 Termination of patent right due to non-payment of annual fee
CF01 Termination of patent right due to non-payment of annual fee

Granted publication date: 20210601