CN112246983A - A kind of demoulding device for stamping die and demolding method thereof - Google Patents

A kind of demoulding device for stamping die and demolding method thereof Download PDF

Info

Publication number
CN112246983A
CN112246983A CN202011270422.2A CN202011270422A CN112246983A CN 112246983 A CN112246983 A CN 112246983A CN 202011270422 A CN202011270422 A CN 202011270422A CN 112246983 A CN112246983 A CN 112246983A
Authority
CN
China
Prior art keywords
demoulding
support rod
stripping
rod assembly
wire rope
Prior art date
Legal status (The legal status is an assumption and is not a legal conclusion. Google has not performed a legal analysis and makes no representation as to the accuracy of the status listed.)
Granted
Application number
CN202011270422.2A
Other languages
Chinese (zh)
Other versions
CN112246983B (en
Inventor
张海
徐瑞阳
刘伟
吕鲲
陈东海
申浩翰
Current Assignee (The listed assignees may be inaccurate. Google has not performed a legal analysis and makes no representation or warranty as to the accuracy of the list.)
Henan University of Technology
Original Assignee
Henan University of Technology
Priority date (The priority date is an assumption and is not a legal conclusion. Google has not performed a legal analysis and makes no representation as to the accuracy of the date listed.)
Filing date
Publication date
Application filed by Henan University of Technology filed Critical Henan University of Technology
Priority to CN202011270422.2A priority Critical patent/CN112246983B/en
Publication of CN112246983A publication Critical patent/CN112246983A/en
Application granted granted Critical
Publication of CN112246983B publication Critical patent/CN112246983B/en
Active legal-status Critical Current
Anticipated expiration legal-status Critical

Links

Images

Classifications

    • BPERFORMING OPERATIONS; TRANSPORTING
    • B21MECHANICAL METAL-WORKING WITHOUT ESSENTIALLY REMOVING MATERIAL; PUNCHING METAL
    • B21DWORKING OR PROCESSING OF SHEET METAL OR METAL TUBES, RODS OR PROFILES WITHOUT ESSENTIALLY REMOVING MATERIAL; PUNCHING METAL
    • B21D37/00Tools as parts of machines covered by this subclass
    • B21D37/10Die sets; Pillar guides
    • BPERFORMING OPERATIONS; TRANSPORTING
    • B21MECHANICAL METAL-WORKING WITHOUT ESSENTIALLY REMOVING MATERIAL; PUNCHING METAL
    • B21DWORKING OR PROCESSING OF SHEET METAL OR METAL TUBES, RODS OR PROFILES WITHOUT ESSENTIALLY REMOVING MATERIAL; PUNCHING METAL
    • B21D45/00Ejecting or stripping-off devices arranged in machines or tools dealt with in this subclass
    • B21D45/02Ejecting devices
    • B21D45/04Ejecting devices interrelated with motion of tool

Landscapes

  • Engineering & Computer Science (AREA)
  • Mechanical Engineering (AREA)
  • Moulds, Cores, Or Mandrels (AREA)
  • Press Drives And Press Lines (AREA)

Abstract

一种冲压模具的脱模装置,包括上模座、下模座和脱模横梁,上模座和下模座均为箱体结构,上模座的底面设置有上模,下模座的顶面设置有下模,下模座的左侧板和右侧板上均开设有矩形长口,脱模横梁沿左右方向穿过两个矩形长口且贯穿设置在下模座内,脱模横梁的顶面设置有若干根顶模立柱,下模座的顶板和下模上均开设有若干个脱模孔,各根顶模立柱的顶端分别对应插接在各个脱模孔中,上模座的左右两侧部均设有吊环,每个吊环上均通过钢丝绳连接有脱模支撑棒组件,两个脱模支撑棒组件分别左右对称支撑设置在脱模横梁的底面左右两侧部。本发明结构简单,加工方便,工作可靠,无需另外设置专门的驱动装置,降低能耗。

Figure 202011270422

A demolding device for a stamping die, comprising an upper die base, a lower die base and a demoulding beam, the upper die base and the lower die base are both box structures, the bottom surface of the upper die base is provided with an upper die, and the top of the lower die base is provided with an upper die. There is a lower mold on the surface, and the left and right side plates of the lower mold base are provided with rectangular long openings. The top surface is provided with a number of top mold columns, the top plate of the lower mold base and the lower mold are both provided with a number of demolding holes, and the top of each top mold column is inserted into each demolding hole correspondingly. The left and right sides are provided with lifting rings, and each lifting ring is connected with a stripping support rod assembly through a steel wire rope. The invention has the advantages of simple structure, convenient processing, reliable operation, no need for additional special driving device, and lower energy consumption.

Figure 202011270422

Description

Demoulding device and demoulding method of stamping die
Technical Field
The invention belongs to the technical field of stamping dies, and particularly relates to a demoulding device and a demoulding method of a stamping die.
Background
The stamping is a forming method in which a press and a die are used to apply external force to a plate, a strip, a pipe, a profile, etc. to cause plastic deformation or separation, thereby obtaining a workpiece (stamped part) of a desired shape and size. The stamped blanks are mainly hot and cold rolled steel plates and strips, and after the stamping of the workpiece is completed, the workpiece is often still embedded in the lower die. At present, two main demoulding modes are provided, one mode is that a worker uses a special tool to pry out a part from a mould, and the other mode is that a special mechanism is arranged to push out a stamped workpiece under the action of driving force such as hydraulic pressure, air pressure or a motor. The former wastes time and labor, and has low demoulding efficiency; the latter often needs to be provided with an independent driving device to provide driving force, the structure and the control of the demoulding mechanism are complex, and when the hydraulic driving demoulding mechanism is adopted, the problems of environmental pollution, large energy consumption and the like caused by hydraulic oil leakage also exist.
Disclosure of Invention
The invention aims to provide a demoulding device and a demoulding method of a stamping die.
In order to achieve the purpose, the invention adopts the following technical scheme:
a demoulding device of a stamping die comprises an upper die base, a lower die base and a demoulding cross beam, wherein the upper die base and the lower die base are of box structures, the upper die base is positioned right above the lower die base, the bottom surface of the upper die base is provided with an upper die, the top surface of the lower die base is provided with a lower die which is matched and pressed with the upper die up and down, the left side plate and the right side plate of the lower die base are vertically provided with rectangular long openings which correspond to each other left and right, the demoulding cross beam penetrates through the two rectangular long openings in the left and right directions and is arranged in the lower die base in a penetrating manner, the left end of the demoulding cross beam penetrates through the rectangular long opening on the left side and extends out of the left side of the lower die base left, the right end of the demoulding cross beam penetrates through the rectangular long opening on the right side and extends out of the right side of the lower die base, the top ends of the top die stand columns are respectively, the left side and the right side of the upper die base are both provided with hanging rings, each hanging ring is connected with a demoulding support rod assembly through a steel wire rope, and the two demoulding support rod assemblies are respectively supported on the left side and the right side of the bottom surface of the demoulding cross beam in a bilateral symmetry manner.
The left side portion and the right side portion of drawing of patterns crossbeam bottom surface do not integrated into one piece and are provided with the protruding dog of two bilateral symmetry, and upside, downside and the equal open first notch in left side have been seted up at the left end middle part of drawing of patterns crossbeam, and upside, the equal open second notch in downside and right side have been seted up at the right-hand member middle part of drawing of patterns crossbeam, and left protruding dog is located the right side of first notch, and the protruding dog on right side is located the left side of second notch.
Two vertical baffles side by side around equal fixedly connected with on the left side board and the right side board of die holder, two vertical baffles in the left side are located the front and back both sides of left rectangle longshout respectively, two vertical baffles in the right side are located the front and back both sides of the rectangle longut on right side respectively, the lower side left part high-right side slope setting of two vertical baffles in the left side, the lower side right part high-right side low-left slope setting of two vertical baffles in the right side, the left end of drawing of patterns crossbeam is located the left side right side of two vertical baffles in the left side, the right-hand member of drawing of patterns crossbeam is located the right side left side of two vertical.
Two rings bilateral symmetry set up on the upper die base, left rings are located the protruding dog in left side right side directly over, the rings on right side are located the protruding dog in right side left side directly over, left wire rope upper end is bound on left rings, the left wire rope left side is low right high slope setting and is passed the centre and the first notch of two vertical baffles in left side, left wire rope lower extreme is bound on left drawing of patterns supporting rod subassembly, left drawing of patterns supporting rod subassembly sets up in the left part below of drawing of patterns crossbeam and is located the left side of the protruding dog in left side, the wire rope upper end on right side is bound on the rings on right side, the wire rope right side is low left high slope setting and passes in the middle of two vertical baffles in right side and second notch, the wire rope lower extreme on right side is bound on the drawing of patterns supporting rod subassembly on right side, the drawing of patterns supporting rod subassembly.
The two demolding support rod assemblies are identical in structure and are arranged in a bilateral symmetry mode, the left demolding support rod assembly comprises a bearing shaft and two friction ring cylinders, the central line of the bearing shaft is horizontally arranged along the front-back direction, an annular boss is integrally formed on the outer circumference of the middle of the bearing shaft, an annular groove is formed in the middle of the outer circumference of the annular boss in the circumferential direction, the lower end of a left steel wire rope is wound in the annular groove and bound on the bearing shaft, the two friction ring cylinders are respectively sleeved on the outer circumference of the left side portion and the outer circumference of the right side portion of the bearing shaft in a bilateral symmetry rotating mode through a needle bearing, bearing end covers used for compressing inner rings of the needle bearing are fixedly installed on the left end face and the right end face of the bearing shaft, the length of the bearing shaft is larger than the distance between two vertical baffle plates on the left side, the bearing shaft is arranged below the left side.
A demoulding method of a demoulding device of a stamping die specifically comprises the following steps:
(1) after the stamping processing of the part is finished, two demoulding support rod assemblies are respectively arranged at the left side and the right side of the bottom surface of the demoulding cross beam in a bilateral symmetry manner, the demoulding support rod assembly at the left side is arranged below the left side of the demoulding cross beam and positioned at the left side of the left side protruding stop block, and the demoulding support rod assembly at the right side is arranged below the right side of the demoulding cross beam and positioned at the right side of the right side protruding stop block;
(2) the press machine of the stamping die is started, a piston rod of the press machine of the stamping die drives an upper die base to move upwards, the upper die base starts to drive an upper die to move vertically upwards, steel wire ropes bound on two lifting rings start to respectively pull demoulding supporting rod assemblies at the corresponding left side and the right side to move upwards, because the traction force applied to the left demoulding supporting rod assembly by the left steel wire rope is upwards along the length direction of the left steel wire rope, and the traction force action point applied to the left demoulding supporting rod assembly by the left steel wire rope is positioned at the right side of the contact point (point A) of the left demoulding supporting rod assembly and a demoulding cross beam, the action force of the tension force of the left steel wire rope on the left demoulding supporting rod assembly is equivalent to applying a torque rotating rightwards relative to the contact point (point A) of the left demoulding supporting rod assembly and the demoulding cross beam, and two friction ring cylinders of the left demoulding, because the left demoulding support rod assembly is restrained by the demoulding cross beam and the left check block, the left demoulding support rod assembly can only drive the left part of the demoulding cross beam positioned on the upper side of the left demoulding support rod assembly to move upwards under the traction of the left steel wire rope, and similarly, the right demoulding support rod assembly drives the right part of the demoulding cross beam positioned on the upper side of the right demoulding support rod assembly to move upwards under the traction of the right steel wire rope, so that under the bearing action of the two demoulding support rod assemblies, the demoulding cross beam moves upwards along with the upper die base, the top end of each top die upright column can upwards penetrate through each corresponding demoulding hole to press a stamping part embedded in the lower die, the stamping part is slowly jacked upwards, and demoulding is carried out;
(3) the upper side surfaces of the two friction ring cylinders of the left demoulding support rod assembly start to contact with the lower left side parts of the two vertical baffle plates on the left side along with the upward movement of the two demoulding cross beams to a certain height driven by the two demoulding support rod assemblies, and at the moment, the traction force applied to the left demoulding support rod assembly by the left steel wire rope is still upward along the length direction of the left steel wire rope, and the traction force action point applied to the left demoulding support rod assembly by the left steel wire rope is positioned on the left side of the lower left side contact point (point B) of the left demoulding support rod assembly and the two vertical baffle plates on the left side, so that the action force of the tension of the left steel wire rope on the left demoulding support rod assembly is equivalent to applying a torque which rotates to the left relative to the left demoulding support rod assembly and the lower left side contact point (point B) of the lower side parts of the two vertical baffle plates on the left side, then the two friction ring cylinders of the left demoulding support rod assembly can rotate upwards along the left side part of the lower side of the two vertical baffle plates on the left under the traction of the left steel wire rope, because the two friction ring cylinders of the left demoulding support rod assembly still contact with the left side part of the bottom surface of the demoulding cross beam (point C), the left side part of the demoulding cross beam can still be driven to move upwards while the left demoulding support rod assembly rotates upwards on the left, and similarly, the two friction ring cylinders of the right demoulding support rod assembly can rotate upwards along the left side part of the lower side of the two vertical baffle plates on the right under the traction of the right steel wire rope, because the two friction ring cylinders of the right demoulding support rod assembly still contact with the right side part of the bottom surface of the demoulding cross beam, the right side part of the demoulding cross beam can still be driven to move upwards while the right demoulding support rod assembly rotates upwards on the right, under the bearing action of the two demoulding support rod assemblies, the demoulding beam continuously moves upwards along with the upper die base, and demoulding is continuously carried out;
(4) the two friction ring cylinders of the left demoulding support rod assembly continue to rotate upwards along the left side part of the lower side edges of the two left vertical baffle plates under the traction of the left steel wire rope, when the left demoulding support rod assembly moves to a contact point (point D) with the left side part of the lower side edges of the two left vertical baffle plates, the left side part of the bottom surface of the demoulding cross beam is separated from the left demoulding support rod assembly, and similarly, the right side part of the bottom surface of the demoulding cross beam is separated from the right demoulding support rod assembly, so that the demoulding cross beam loses the support of the two demoulding support rod assemblies and falls down to return to an initial position, and at the moment, each top mould upright column ejects a stamping part from a lower mould, and finally the whole demoulding process is completed;
(5) before the next stamping process, the two demolding support rod assemblies are only required to be placed back to the initial positions to respectively support the left side portion and the right side portion of the bottom surface of the demolding cross beam, and the demolding process can be achieved again by repeating the steps (1) - (4).
Compared with the prior art, the invention has outstanding substantive characteristics and remarkable progress, and particularly has the following advantages:
1. the invention adopts a pure mechanical structure, has simple structure, convenient processing and reliable work; the invention can be added into the whole stamping die only by properly modifying the upper die holder and the lower die holder of the stamping die without greatly adjusting the structure of the die, and is suitable for various stamping occasions.
2. The invention does not need to be additionally provided with a special driving device, and the driving force for demoulding is provided when the upper die base is driven by the piston rod of the press machine of the stamping die to move upwards, so that the structure of the demoulding device of the stamping die is greatly simplified, the reliability of demoulding operation is improved, and the energy consumption is reduced.
Drawings
FIG. 1 is a cross-sectional view of the overall structure of the present invention;
FIG. 2 is an isometric view of the overall structure of the present invention;
FIG. 3 is a schematic view of the construction of the stripper support bar assembly of the present invention;
FIG. 4 is a schematic view of the construction of the mold release initial position of the present invention;
FIG. 5 is a schematic view of a demold intermediate position of the present invention;
FIG. 6 is a schematic view of the structure of the final demolding position according to the present invention.
Detailed Description
The embodiments of the present invention are further described below with reference to the drawings.
As shown in fig. 1-6, a stamping die's shedder, including upper die base 1, die holder 2 and drawing of patterns crossbeam 3, upper die base 1 and die holder 2 are the box structure, upper die base 1 is located die holder 2 directly over, the bottom surface of upper die base 1 is provided with mould 4, the top surface of die holder 2 is provided with the lower mould 5 with last mould 4 adaptation crimping from top to bottom, all set up the rectangle long mouthful 6 that corresponds about along vertical on the left side board of die holder 2 and the right side board, drawing of patterns crossbeam 3 passes two rectangle long mouths 6 and runs through the setting in die holder 2 along the left right direction, the left end of drawing of patterns crossbeam 3 passes left rectangle long mouthful 6 and stretches out die holder 2 left side to left, the right-hand member of drawing of patterns crossbeam 3 passes right rectangle long mouthful 6 on right side and stretches out die holder 2 right side, the top surface of drawing of patterns crossbeam 3 is provided with a plurality of top mould stands 7 about the interval, the roof of die holder 2 and the lower mould 5 all set up a The top of each top die stand column 7 corresponds respectively to peg graft in each demoulding hole 8, and the left and right sides portion of upper die base 1 all is equipped with rings 9, all is connected with drawing of patterns supporting rod subassembly 21 through wire rope 10 on every rings 9, and two drawing of patterns supporting rod subassemblies 21 bilateral symmetry respectively support the setting in the bottom surface left and right sides portion of drawing of patterns crossbeam 3.
The left side portion and the right side portion of 3 bottom surfaces of drawing of patterns crossbeam are integrated into one piece respectively and are provided with two bilateral symmetry's protruding dog 11, the upside has been seted up at the left end middle part of drawing of patterns crossbeam 3, the equal open first notch 12 in downside and left side, upside, the equal open second notch 13 in downside and right side have been seted up at the right-hand member middle part of drawing of patterns crossbeam 3, left protruding dog 11 is located the right side of first notch 12, protruding dog 11 on right side is located the left side of second notch 13.
Two vertical baffles 14 side by side around equal fixedly connected with on the left side board and the right side board of die holder 2, two vertical baffles 14 in the left side are located left rectangle tang 6 front and back both sides respectively, two vertical baffles 14 in the right side are located the rectangle tang 6 front and back both sides on right side respectively, the lower side left part high right side slope setting of two vertical baffles 14 in the left side, the lower side right side high left side slope setting of two vertical baffles 14 in the right side, the left end of drawing of patterns crossbeam 3 is located the left side right side of two vertical baffles 14 in the left side, the right-hand member of drawing of patterns crossbeam 3 is located the right side left side of two vertical baffles 14 in the right side.
The two lifting rings 9 on the upper die base 1 are arranged in bilateral symmetry, the left lifting ring 9 is positioned right above the left protruding stop block 11, the right lifting ring 9 is positioned left above the right protruding stop block 11, the upper end of the left steel wire rope 10 is bound on the left lifting ring 9, the left steel wire rope 10 is obliquely arranged from left to right and penetrates through the middle of the left two vertical baffle plates 14 and the first notch 12, the lower end of the left steel wire rope 10 is bound on the left demoulding support rod assembly 21, the left demoulding support rod assembly 21 is arranged below the left side of the demoulding cross beam 3 and positioned on the left side of the left protruding stop block 11, the upper end of the right steel wire rope 10 is bound on the right lifting ring 9, the right steel wire rope 10 is obliquely arranged from right to left and penetrates through the middle of the right two vertical baffle plates 14 and the second notch 13, and the lower end of the right, the right stripper support bar assembly 21 is disposed below the right side of the stripper cross member 3 and to the right of the right raised stop 11.
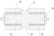
The two demoulding support rod assemblies 21 are identical in structure and are arranged in bilateral symmetry, the demoulding support rod assembly on the left side comprises a bearing shaft 15 and two friction ring cylinders 16, the central line of the bearing shaft 15 is horizontally arranged along the front-back direction, an annular boss 17 is integrally formed on the outer circumference of the middle part of the bearing shaft 15, an annular groove 18 is formed in the middle part of the outer circumference of the annular boss 17 along the circumferential direction, the lower end of a steel wire rope 10 on the left side is wound in the annular groove 18 and is bound on the bearing shaft 15, the two friction ring cylinders 16 are respectively sleeved on the outer circumferences of the left side part and the right side part of the bearing shaft 15 in bilateral symmetry rotation through needle bearings 19, bearing end covers 20 used for pressing inner rings of the needle bearings 19 are fixedly installed on the left end face and the right end face of the bearing shaft 15, the length of the bearing shaft 15 is greater than the distance between the two vertical baffles 14, the upper side surfaces of the two friction ring cylinders 16 are in pressing contact with the left side part of the bottom surface of the demoulding beam 3.
A demoulding method of a demoulding device of a stamping die specifically comprises the following steps:
(1) the two demolding support rod assemblies are respectively arranged on the left side and the right side of the bottom surface of the demolding cross beam 3 in a bilateral symmetry manner, the left demolding support rod assembly is arranged below the left side of the demolding cross beam 3 and located on the left side of the left protruding stop block 11, and the right demolding support rod assembly is arranged below the right side of the demolding cross beam 3 and located on the right side of the right protruding stop block 11;
(2) the press machine of the stamping die is started, a piston rod of the press machine of the stamping die drives the upper die holder 1 to move upwards, the upper die holder 1 drives the upper die 4 to move vertically upwards, the steel wire ropes 10 bound on the two lifting rings 9 respectively drive the demoulding support rod assemblies 21 on the corresponding left side and the right side to move upwards, because the traction force applied to the left demoulding support rod assembly 21 by the left steel wire rope 10 is upwards along the length direction of the left steel wire rope 10, and the traction force action point applied to the left demoulding support rod assembly 21 by the left steel wire rope 10 is positioned on the right side of the contact point (point A) of the left demoulding support rod assembly 21 and the demoulding cross beam 3, the action force of the tension force of the left steel wire rope 10 on the left demoulding support rod assembly 21 is equivalent to applying a torque which rotates rightwards relative to the contact point (point A) of, the two friction ring cylinders 16 of the left demoulding support rod assembly 21 have a tendency of rotating rightwards under the traction of the left steel wire rope 10, and because the left demoulding support rod assembly 21 is restrained by the demoulding cross beam 3 and the left stop block 11, the left demoulding support rod assembly 21 can only drive the left side part of the demoulding cross beam 3 positioned at the upper side of the left demoulding support rod assembly 21 to move upwards under the traction of the left steel wire rope 10, and similarly, the right demoulding support rod assembly 21 drives the right side part of the demoulding cross beam 3 positioned at the upper side of the right demoulding support rod assembly 21 to move upwards under the traction of the right steel wire rope 10, so that under the bearing action of the two demoulding support rod assemblies 21, the demoulding cross beam 3 moves upwards along with the upper die base 1, the top end of each top die upright post 7 can upwards penetrate through each corresponding demoulding hole 8 to press against a stamping part 22 embedded in the lower die 5, the stamping part 22 is slowly jacked upwards, and demoulding is carried out in this way;
(3) as the two knockout supporting rod assemblies 21 drive the knockout cross beam 3 to move upwards to a certain height, the upper side surfaces of the two friction ring cylinders 16 of the left knockout supporting rod assembly 21 start to contact with the lower left side parts of the two left vertical baffle plates 14, and at this time, the traction force applied to the left knockout supporting rod assembly 21 by the left steel wire rope 10 still upwards follows the length direction of the left steel wire rope 10, and the traction force action point applied to the left knockout supporting rod assembly 21 by the left steel wire rope 10 is positioned on the left side of the lower left side contact point (point B) of the left knockout supporting rod assembly 21 and the two left vertical baffle plates 14, so that the acting force of the tension force of the left steel wire rope 10 on the left knockout supporting rod assembly 21 is equivalent to applying a torque which rotates to the left relative to the lower left side contact point (point B) of the left side knockout supporting rod assembly 21 and the two, because the lower left side parts of the two left vertical baffle plates 14 are obliquely arranged in a left-high and right-low manner, the two friction ring cylinders 16 of the left demoulding support rod assembly 21 can rotate upwards and leftwards along the lower left side parts of the two left vertical baffle plates 14 under the traction of the left steel wire rope 10, because the two friction ring cylinders 16 of the left demoulding support rod assembly 21 still contact with the left side parts of the bottom surface of the demoulding cross beam 3 at the moment (point C), the left demoulding support rod assembly 21 can still drive the left side parts of the demoulding cross beam 3 to move upwards while rotating upwards and leftwards, and similarly, the two friction ring cylinders 16 of the right demoulding support rod assembly 21 can still rotate upwards and rightwards along the lower right side parts of the two right vertical baffle plates 14 under the traction of the right steel wire rope 10, because the two friction ring cylinders 16 of the right demoulding support rod assembly 21 still contact with the right side parts of the bottom surface of the demoulding cross beam 3 at the moment, therefore, the right demoulding support rod assembly 21 rotates upwards to the right and simultaneously drives the right side part of the demoulding cross beam 3 to move upwards, and under the bearing effect of the two demoulding support rod assemblies 21, the demoulding cross beam 3 continues to move upwards together with the upper die holder 1 to continue demoulding;
(4) the two friction ring cylinders 16 of the left demoulding support rod assembly 21 continuously rotate upwards along the left side part of the lower side edges of the two left vertical baffle plates 14 under the traction of the left steel wire rope 10, when the left demoulding support rod assembly 21 moves to a contact point (point D) with the left side part of the lower side edges of the two left vertical baffle plates 14, the left side part of the bottom surface of the demoulding beam 3 is separated from the left demoulding support rod assembly 21, and similarly, the right side part of the bottom surface of the demoulding beam 3 is separated from the right demoulding support rod assembly 21, so that the demoulding beam 3 loses the support of the two demoulding support rod assemblies 21 and falls down to an initial position, and at the moment, each top mould upright post 7 ejects a stamping part 22 out of the lower mould 5, and finally the whole demoulding process is completed;
(5) before the next stamping process, the two demolding support rod assemblies 21 are only required to be placed back to the initial positions, so that the two demolding support rod assemblies 21 respectively support the left side portion and the right side portion of the bottom surface of the demolding cross beam 3, and the demolding process can be realized again by repeating the steps (1) - (4).
The above embodiments are merely to illustrate rather than to limit the technical solutions of the present invention, and although the present invention has been described in detail with reference to the above embodiments, those of ordinary skill in the art should understand that; modifications and equivalents may be made thereto without departing from the spirit and scope of the invention and it is intended to cover in the claims the invention as defined in the appended claims.

Claims (6)

1.一种冲压模具的脱模装置,其特征在于:包括上模座、下模座和脱模横梁,上模座和下模座均为箱体结构,上模座位于下模座的正上方,上模座的底面设置有上模,下模座的顶面设置有与上模上下适配压接的下模,下模座的左侧板和右侧板上沿竖向均开设有左右对应的矩形长口,脱模横梁沿左右方向穿过两个矩形长口且贯穿设置在下模座内,脱模横梁的左端向左穿过左侧的矩形长口伸出下模座左侧,脱模横梁的右端向右穿过右侧的矩形长口伸出下模座右侧,脱模横梁的顶面左右间隔设置有若干根顶模立柱,下模座的顶板和下模上均开设有若干个左右间隔设置且上下对应通透的脱模孔,各根顶模立柱的顶端分别对应插接在各个脱模孔中,上模座的左右两侧部均设有吊环,每个吊环上均通过钢丝绳连接有脱模支撑棒组件,两个脱模支撑棒组件分别左右对称支撑设置在脱模横梁的底面左右两侧部。1. the demoulding device of a stamping die, it is characterized in that: comprise the upper die seat, the lower die seat and the demoulding beam, the upper die seat and the lower die seat are the box structure, and the upper die seat is located in the positive direction of the lower die seat. Above, the bottom surface of the upper die holder is provided with an upper die, the top surface of the lower die holder is provided with a lower die that is fitted and crimped with the upper die up and down, and the left and right side plates of the lower die holder are vertically opened. The left and right corresponding rectangular long openings, the stripping beam passes through the two rectangular long openings along the left and right directions and is arranged in the lower die base, and the left end of the stripping beam passes through the left rectangular long opening to the left and protrudes from the left side of the lower die base. , the right end of the stripping beam extends to the right side of the lower mold base through the rectangular long opening on the right to the right, the top surface of the stripping beam is provided with a number of top mold columns at the left and right intervals, and the top plate of the lower mold base and the upper part of the lower mold are There are a number of demolding holes that are spaced from left to right and correspondingly transparent from top to bottom. The top of each top die column is respectively inserted into each demolding hole, and the left and right sides of the top die base are provided with lifting rings. The lifting ring is connected with demoulding support rod assemblies through steel wire ropes, and the two demoulding supporting rod assemblies are respectively arranged symmetrically on the left and right sides of the bottom surface of the demoulding beam. 2.根据权利要求1所述的冲压模具的脱模装置,其特征在于:脱模横梁底面的左侧部和右侧部分别一体成型设置有两个左右对称的凸起挡块,脱模横梁的左端中部开设有上侧、下侧和左侧均敞口的第一槽口,脱模横梁的右端中部开设有上侧、下侧和右侧均敞口的第二槽口,左侧的凸起挡块位于第一槽口的右侧,右侧的凸起挡块位于第二槽口的左侧。2. The demolding device of a stamping die according to claim 1, wherein the left and right sides of the bottom surface of the demolding beam are integrally formed with two left-right symmetrical convex blocks, and the demolding beam The middle of the left end is provided with a first slot with open upper, lower and left sides, and the middle of the right end of the stripping beam is provided with a second slot with open upper, lower and right sides. The raised stop is located on the right side of the first notch, and the right raised stop is located on the left side of the second notch. 3.根据权利要求2所述的冲压模具的脱模装置,其特征在于:下模座的左侧板和右侧板上均固定连接有两块前后并排的竖直挡板,左侧两块竖直挡板分别位于左侧的矩形长口的前后两侧,右侧两块竖直挡板分别位于右侧的矩形长口的前后两侧,左侧两块竖直挡板的下侧边左侧部左高右低倾斜设置,右侧两块竖直挡板的下侧边右侧部右高左低倾斜设置,脱模横梁的左端位于左侧两块竖直挡板的左侧边右侧,脱模横梁的右端位于右侧两块竖直挡板的右侧边左侧。3. The demoulding device of a stamping die according to claim 2, wherein the left side plate and the right side plate of the lower die base are fixedly connected with two vertical baffles side by side, and two vertical baffles on the left side are fixedly connected. The vertical baffles are located on the front and rear sides of the rectangular long mouth on the left, the two vertical baffles on the right are located on the front and rear sides of the rectangular long mouth on the right, and the lower sides of the two vertical baffles on the left The left part is set with a high left and a low right, and the lower side of the two vertical baffles on the right side is set with a high right and a low left, and the left end of the stripping beam is located on the left side of the two vertical baffles on the left. On the right side, the right end of the stripping beam is located on the left side of the right side of the two vertical baffles on the right side. 4.根据权利要求3所述的冲压模具的脱模装置,其特征在于:上模座上两个吊环左右对称设置,左侧的吊环位于左侧凸起挡块的正上方右侧,右侧的吊环位于右侧凸起挡块的正上方左侧,左侧的钢丝绳上端绑定在左侧的吊环上,左侧的钢丝绳左低右高倾斜设置并穿过左侧两块竖直挡板的中间和第一槽口,左侧的钢丝绳下端绑定在左侧的脱模支撑棒组件上,左侧的脱模支撑棒组件设置在脱模横梁的左侧部下方且位于左侧凸起挡块的左侧,右侧的钢丝绳上端绑定在右侧的吊环上,右侧的钢丝绳右低左高倾斜设置并穿过右侧两块竖直挡板中间和第二槽口,右侧的钢丝绳下端绑定在右侧的脱模支撑棒组件上,右侧的脱模支撑棒组件设置在脱模横梁的右侧部下方且位于右侧凸起挡块的右侧。4. The demoulding device of a stamping die according to claim 3, wherein the two lifting rings on the upper die base are arranged symmetrically on the left and right, and the lifting ring on the left The lifting ring is located just above the raised stop on the right, and the upper end of the wire rope on the left is bound to the lifting ring on the left. The lower end of the wire rope on the left is bound to the demoulding support rod assembly on the left side, and the demoulding support rod assembly on the left side is arranged under the left part of the demoulding beam and is located on the left side of the bulge On the left side of the block, the upper end of the wire rope on the right side is bound to the lifting ring on the right side. The lower end of the steel wire rope is bound to the right demoulding support rod assembly, and the right demoulding support rod assembly is arranged under the right part of the demoulding beam and on the right side of the right convex block. 5.根据权利要求4所述的冲压模具的脱模装置,其特征在于:两个脱模支撑棒组件的结构相同且左右对称设置,左侧的脱模支撑棒组件包括承载轴和两个摩擦环筒,承载轴的中心线沿前后方向水平设置,承载轴的中部外圆周一体成型有环形凸台,环形凸台的外圆周中部沿周向设有环形凹槽,左侧的钢丝绳下端缠绕在环形凹槽内并绑定在承载轴上,两个摩擦环筒分别通过滚针轴承左右对称转动套装在承载轴的左侧部外圆周和右侧部外圆周上,承载轴的左右两端面均固定安装有用于压紧滚针轴承内圈的轴承端盖,承载轴的长度大于左侧两块竖直挡板的距离,承载轴设置在脱模横梁的左侧部下方且位于左侧凸起挡块的左侧,两个摩擦环筒的上侧面与脱模横梁的底面左侧部压紧接触。5 . The demolding device of a stamping die according to claim 4 , wherein the two demolding support rod assemblies have the same structure and are symmetrically arranged, and the left demolding support rod assembly includes a bearing shaft and two friction The ring cylinder, the center line of the bearing shaft is horizontally arranged in the front and rear directions, the middle outer circumference of the bearing shaft is integrally formed with an annular boss, the middle of the outer circumference of the annular boss is provided with an annular groove along the circumferential direction, and the lower end of the wire rope on the left is wound in the annular groove. Inside the groove and bound to the bearing shaft, the two friction ring cylinders are respectively sleeved on the outer circumference of the left and right sides of the bearing shaft through the needle roller bearings, and the left and right ends of the bearing shaft are fixedly installed. There is a bearing end cover for pressing the inner ring of the needle roller bearing. The length of the bearing shaft is greater than the distance between the two vertical baffles on the left side. The left side of the two friction ring cylinders is in pressing contact with the left side of the bottom surface of the stripping beam. 6.如权利要求5所述的冲压模具的脱模装置的脱模方法,其特征在于:具体包括以下步骤:6. the demoulding method of the demoulding device of stamping die as claimed in claim 5 is characterized in that: specifically comprises the following steps: (1)、在完成零件的冲压加工之后,将两个脱模支撑棒组件分别左右对称放置在脱模横梁的底面左右两侧部,左侧的脱模支撑棒组件设置在脱模横梁的左侧部下方且位于左侧凸起挡块的左侧,右侧的脱模支撑棒组件设置在脱模横梁的右侧部下方且位于右侧凸起挡块的右侧;(1) After completing the stamping process of the parts, place the two stripping support rod assemblies on the left and right sides of the bottom surface of the stripping beam symmetrically, and the left stripping support rod assembly is arranged on the left side of the stripping beam. Below the side part and on the left side of the left raised stopper, the demolding support bar assembly on the right side is arranged below the right part of the stripping beam and on the right side of the right raised stopper; (2)、启动冲压模具的压力机,冲压模具的压力机活塞杆带动上模座上移,上模座开始带动着上模垂直向上运动,绑在两个吊环上的钢丝绳开始分别牵引相应左右两侧的脱模支撑棒组件向上移动,由于左侧钢丝绳施加给左侧脱模支撑棒组件的牵引力是沿着左侧钢丝绳的长度方向向上的,且左侧钢丝绳施加给左侧脱模支撑棒组件的牵引力作用点位于左侧脱模支撑棒组件和脱模横梁接触点(A点)的右侧,因此左侧钢丝绳的拉力对左侧脱模支撑棒组件的作用力相当于施加了一个相对于左侧脱模支撑棒组件和脱模横梁接触点(A点)向右转动的转矩,左侧脱模支撑棒组件的两个摩擦环筒在左侧钢丝绳的牵引下有向右转动的趋势,由于左侧脱模支撑棒组件会受到脱模横梁和左侧挡块的约束,所以左侧脱模支撑棒组件只能在左侧钢丝绳的牵引下带动着位于左侧脱模支撑棒组件上侧的脱模横梁的左侧部向上移动,同理,右侧脱模支撑棒组件在右侧钢丝绳的牵引下带动着位于右侧脱模支撑棒组件上侧的脱模横梁的右侧部向上移动,如此,在两个脱模支撑棒组件的承载作用下,脱模横梁随上模座一起向上移动,各根顶模立柱的顶端便会向上穿过相应各个脱模孔顶压嵌在下模中的冲压件,使冲压件缓慢向上顶起,如此进行脱模;(2) Start the press of the stamping die, the piston rod of the press of the stamping die drives the upper die base to move up, the upper die base starts to drive the upper die to move vertically upward, and the wire ropes tied to the two rings begin to pull the corresponding left and right respectively. The stripping support rod assemblies on both sides move upward, because the traction force applied by the left steel wire rope to the left stripping support rod assembly is upward along the length of the left steel wire rope, and the left steel wire rope is applied to the left stripping support rod. The traction force acting point of the assembly is located on the right side of the contact point (point A) between the left demoulding support rod assembly and the demoulding beam, so the pulling force of the left wire rope on the left demoulding support rod assembly is equivalent to exerting a relative force. Due to the torque of the left demoulding support rod assembly and the contact point (point A) of the demoulding beam rotating to the right, the two friction ring cylinders of the left demoulding support rod assembly turn to the right under the traction of the left steel wire rope. Since the left demoulding support rod assembly is constrained by the demoulding beam and the left stopper, the left demoulding support rod assembly can only drive the demoulding support located on the left side under the traction of the left wire rope. The left side of the stripping beam on the upper side of the rod assembly moves upwards. Similarly, the right stripping support rod assembly drives the right side of the stripping beam located on the upper side of the right stripping support rod assembly under the traction of the right wire rope. The side part moves upward, so that under the bearing of the two stripping support rod assemblies, the stripping beam moves up together with the upper die base, and the top of each top die column will push upward through the corresponding stripping holes. The stamping part embedded in the lower die makes the stamping part slowly lift up, so that the mold is demolded; (3)、随着两个脱模支撑棒组件带动脱模横梁向上运动到一定高度,左侧脱模支撑棒组件的两个摩擦环筒上侧面开始与左侧两块竖直挡板的下侧边左侧部接触,而此时,左侧钢丝绳施加给左侧脱模支撑棒组件的牵引力仍是沿着左侧钢丝绳的长度方向向上的,且左侧钢丝绳施加给左侧脱模支撑棒组件的牵引力作用点位于左侧脱模支撑棒组件和左侧两块竖直挡板的下侧边左侧部接触点(B点)的左侧,因此左侧钢丝绳的拉力对左侧脱模支撑棒组件的作用力相当于施加了一个相对于左侧脱模支撑棒组件和左侧两块竖直挡板的下侧边左侧部接触点(B点)向左转动的转矩,由于左侧两块竖直挡板的下侧边左侧部左高右低倾斜设置,则左侧脱模支撑棒组件的两个摩擦环筒在左侧钢丝绳的牵引下会沿着左侧两块竖直挡板的下侧边左侧部向左上转动,因为此时左侧脱模支撑棒组件的两个摩擦环筒依旧与脱模横梁的底面左侧部进行接触(C点),所以在左侧脱模支撑棒组件向左上转动的同时依旧会带着脱模横梁的左侧部向上移动,同理,右侧脱模支撑棒组件的两个摩擦环筒在右侧钢丝绳的牵引下会沿着右侧两块竖直挡板的下侧边右侧部向右上转动,因为此时右侧脱模支撑棒组件的两个摩擦环筒依旧与脱模横梁的底面右侧部进行接触,所以在右侧脱模支撑棒组件向右上转动的同时依旧会带着脱模横梁的右侧部向上移动,在两个脱模支撑棒组件的承载作用下,脱模横梁继续随上模座一起向上移动,继续进行脱模;(3) As the two stripping support rod assemblies drive the stripping beam upward to a certain height, the upper sides of the two friction ring cylinders of the left stripping support rod assembly begin to align with the lower sides of the two vertical baffles on the left. The left side of the side is in contact, and at this time, the traction force applied by the left wire rope to the left demoulding support rod assembly is still upward along the length of the left wire rope, and the left wire rope is applied to the left demoulding support rod. The traction force of the assembly is located on the left side of the contact point (point B) of the left side of the left side demoulding support rod assembly and the left side of the two vertical baffles, so the pulling force of the left steel wire rope will release the left side. The force of the support rod assembly is equivalent to applying a torque that rotates to the left relative to the contact point (point B) of the left side of the lower side of the left side demoulding support rod assembly and the left two vertical baffles, Since the left side of the lower side of the two vertical baffles on the left is inclined at a high left and a low right, the two friction rings of the left demoulding support rod assembly will be pulled along the left side by the left wire rope. The left side of the lower side of the vertical baffle plate is turned to the upper left, because the two friction ring cylinders of the left side stripping support rod assembly are still in contact with the left side of the bottom surface of the stripping beam (point C), so When the left demoulding support rod assembly rotates to the upper left, it will still move upward with the left part of the demoulding beam. Similarly, the two friction rings of the right demoulding support rod assembly will be pulled by the right wire rope. Rotate the right side along the lower side of the two vertical baffles on the right to the upper right, because at this time the two friction ring cylinders of the right stripping support rod assembly are still in contact with the right part of the bottom surface of the stripping beam. Therefore, when the right demoulding support rod assembly rotates upward to the right, it will still move upward with the right side of the demoulding beam. Under the load of the two demoulding supporting rod assemblies, the demoulding beam continues to move upwards with the upper die base. Move, continue demoulding; (4)、随着两个脱模支撑棒组件带动脱模横梁继续向上运动到一定高度,左侧脱模支撑棒组件的两个摩擦环筒在左侧钢丝绳的牵引下沿着左侧两块竖直挡板的下侧边左侧部继续向左上转动,当左侧脱模支撑棒组件运动到与左侧两块竖直挡板的下侧边左侧部接触点(D点)时,脱模横梁的底面左侧部与左侧脱模支撑棒组件分离,同理,脱模横梁的底面右侧部与右侧脱模支撑棒组件分离,如此,脱模横梁便会失去两个脱模支撑棒组件的支撑而下落,回到初始位置,此时,各根顶模立柱便将冲压件从下模中顶出,最终完成整个脱模过程;(4) As the two stripping support rod assemblies drive the stripping beam to continue to move upward to a certain height, the two friction ring cylinders of the left stripping support rod assembly move along the left two blocks under the traction of the left steel wire rope. The left side of the lower side of the vertical baffle continues to rotate to the upper left. When the left demoulding support rod assembly moves to the contact point (point D) with the left side of the lower side of the two left vertical baffles, The left part of the bottom surface of the stripping beam is separated from the left stripping support rod assembly. Similarly, the right part of the bottom surface of the stripping beam is separated from the right stripping support rod assembly. In this way, the stripping beam will lose two stripping rods. The die support rod assembly falls down and returns to the initial position. At this time, each top die column pushes the stamping part out of the lower die, and finally completes the entire demoulding process; (5)、在下次进行冲压加工之前只需要将两个脱模支撑棒组件放回初始位置,使两个脱模支撑棒组件对脱模横梁的底面左右两侧部分别进行支撑,重复上述步骤(1)-(4),便可再次实现如上所述的脱模过程。(5) Before the next stamping process, you only need to put the two stripping support rod assemblies back to the initial position, so that the two stripping support rod components support the left and right sides of the bottom surface of the stripping beam respectively, and repeat the above steps (1)-(4), the demoulding process as described above can be realized again.
CN202011270422.2A 2020-11-13 2020-11-13 A demoulding device and demoulding method for stamping die Active CN112246983B (en)

Priority Applications (1)

Application Number Priority Date Filing Date Title
CN202011270422.2A CN112246983B (en) 2020-11-13 2020-11-13 A demoulding device and demoulding method for stamping die

Applications Claiming Priority (1)

Application Number Priority Date Filing Date Title
CN202011270422.2A CN112246983B (en) 2020-11-13 2020-11-13 A demoulding device and demoulding method for stamping die

Publications (2)

Publication Number Publication Date
CN112246983A true CN112246983A (en) 2021-01-22
CN112246983B CN112246983B (en) 2024-12-20

Family

ID=74265751

Family Applications (1)

Application Number Title Priority Date Filing Date
CN202011270422.2A Active CN112246983B (en) 2020-11-13 2020-11-13 A demoulding device and demoulding method for stamping die

Country Status (1)

Country Link
CN (1) CN112246983B (en)

Citations (5)

* Cited by examiner, † Cited by third party
Publication number Priority date Publication date Assignee Title
JPH067878A (en) * 1992-06-24 1994-01-18 Toyota Motor Corp Forging equipment
CN209890113U (en) * 2019-01-24 2020-01-03 程晓燕 Building block demoulding crane
CN210253800U (en) * 2019-05-15 2020-04-07 昆山瀚德斯精密组件有限公司 Stamping die convenient to drawing of patterns
CN211539224U (en) * 2019-12-31 2020-09-22 青岛海之锋精密模具有限公司 Demoulding structure of television backboard stamping die
CN213591563U (en) * 2020-11-13 2021-07-02 河南理工大学 A kind of demoulding device for stamping die

Patent Citations (5)

* Cited by examiner, † Cited by third party
Publication number Priority date Publication date Assignee Title
JPH067878A (en) * 1992-06-24 1994-01-18 Toyota Motor Corp Forging equipment
CN209890113U (en) * 2019-01-24 2020-01-03 程晓燕 Building block demoulding crane
CN210253800U (en) * 2019-05-15 2020-04-07 昆山瀚德斯精密组件有限公司 Stamping die convenient to drawing of patterns
CN211539224U (en) * 2019-12-31 2020-09-22 青岛海之锋精密模具有限公司 Demoulding structure of television backboard stamping die
CN213591563U (en) * 2020-11-13 2021-07-02 河南理工大学 A kind of demoulding device for stamping die

Also Published As

Publication number Publication date
CN112246983B (en) 2024-12-20

Similar Documents

Publication Publication Date Title
CN213591563U (en) A kind of demoulding device for stamping die
CN112246983A (en) A kind of demoulding device for stamping die and demolding method thereof
CN118663760B (en) A fairing efficient molding production device
CN109664443B (en) Balance type tire vulcanizer
CN118023427B (en) Industrial compressor casing stamping forming die
CN208583967U (en) A kind of demolding structure of hardware dies
CN221231374U (en) Stamping device
CN220347011U (en) Integral stamping die
CN110883187A (en) Automobile plate uncoiling and blanking die
CN216369635U (en) Steel construction device of buckling
CN213693408U (en) Double-station automatic cramp cutting device for stator core of super-efficient motor
CN215697293U (en) Stamping and flanging composite die for front shell of automobile brake booster
CN213256502U (en) Four-column type numerical control oil press
CN210172235U (en) Centrifugal wind wheel insert forming equipment
CN212857322U (en) Reverse double-acting stretching equipment
CN2685059Y (en) Hydraulic press
CN223655760U (en) Cold extrusion side wall explosion-proof aluminum shell punching mechanism
CN210045815U (en) V type diesel engine frame mould apparatus for producing
CN218475845U (en) Frictional resistance extrusion and stretching forming die
CN220920805U (en) Ejection tooling die for vertical press
CN2770942Y (en) Extruded wire winding tie cone device
CN220805117U (en) Tungsten steel riving knife forming die for semiconductor bonding
CN223210375U (en) Flywheel housing machining device
CN112845948A (en) Automobile license plate processing equipment
CN113231563A (en) Stainless steel kitchen utensils and appliances stamping forming mould

Legal Events

Date Code Title Description
PB01 Publication
PB01 Publication
SE01 Entry into force of request for substantive examination
SE01 Entry into force of request for substantive examination
GR01 Patent grant
GR01 Patent grant