CN112246700B - Computer CPU radiator equipment of decontaminating - Google Patents
Computer CPU radiator equipment of decontaminating Download PDFInfo
- Publication number
- CN112246700B CN112246700B CN202011031344.0A CN202011031344A CN112246700B CN 112246700 B CN112246700 B CN 112246700B CN 202011031344 A CN202011031344 A CN 202011031344A CN 112246700 B CN112246700 B CN 112246700B
- Authority
- CN
- China
- Prior art keywords
- cleaning
- rod
- bearing table
- arc
- fixing device
- Prior art date
- Legal status (The legal status is an assumption and is not a legal conclusion. Google has not performed a legal analysis and makes no representation as to the accuracy of the status listed.)
- Active
Links
- 238000004140 cleaning Methods 0.000 claims abstract description 70
- 238000001816 cooling Methods 0.000 claims abstract description 28
- 239000000428 dust Substances 0.000 claims abstract description 24
- 230000007246 mechanism Effects 0.000 claims description 22
- 238000005202 decontamination Methods 0.000 claims description 11
- 230000003588 decontaminative effect Effects 0.000 claims description 10
- 230000001681 protective effect Effects 0.000 claims description 6
- 229920000742 Cotton Polymers 0.000 claims description 4
- 239000000463 material Substances 0.000 claims description 4
- 230000000712 assembly Effects 0.000 claims description 2
- 238000000429 assembly Methods 0.000 claims description 2
- 230000000694 effects Effects 0.000 description 10
- 238000000034 method Methods 0.000 description 3
- 238000006073 displacement reaction Methods 0.000 description 2
- 238000010521 absorption reaction Methods 0.000 description 1
- 230000009286 beneficial effect Effects 0.000 description 1
- 238000010276 construction Methods 0.000 description 1
- 238000010586 diagram Methods 0.000 description 1
- 239000004744 fabric Substances 0.000 description 1
- 230000002349 favourable effect Effects 0.000 description 1
- 239000012535 impurity Substances 0.000 description 1
- 239000007769 metal material Substances 0.000 description 1
- 238000006467 substitution reaction Methods 0.000 description 1
- 238000010408 sweeping Methods 0.000 description 1
Images
Classifications
-
- B—PERFORMING OPERATIONS; TRANSPORTING
- B08—CLEANING
- B08B—CLEANING IN GENERAL; PREVENTION OF FOULING IN GENERAL
- B08B1/00—Cleaning by methods involving the use of tools
- B08B1/10—Cleaning by methods involving the use of tools characterised by the type of cleaning tool
- B08B1/12—Brushes
-
- B—PERFORMING OPERATIONS; TRANSPORTING
- B08—CLEANING
- B08B—CLEANING IN GENERAL; PREVENTION OF FOULING IN GENERAL
- B08B1/00—Cleaning by methods involving the use of tools
- B08B1/20—Cleaning of moving articles, e.g. of moving webs or of objects on a conveyor
-
- B—PERFORMING OPERATIONS; TRANSPORTING
- B08—CLEANING
- B08B—CLEANING IN GENERAL; PREVENTION OF FOULING IN GENERAL
- B08B1/00—Cleaning by methods involving the use of tools
- B08B1/30—Cleaning by methods involving the use of tools by movement of cleaning members over a surface
-
- B—PERFORMING OPERATIONS; TRANSPORTING
- B08—CLEANING
- B08B—CLEANING IN GENERAL; PREVENTION OF FOULING IN GENERAL
- B08B13/00—Accessories or details of general applicability for machines or apparatus for cleaning
-
- B—PERFORMING OPERATIONS; TRANSPORTING
- B08—CLEANING
- B08B—CLEANING IN GENERAL; PREVENTION OF FOULING IN GENERAL
- B08B15/00—Preventing escape of dirt or fumes from the area where they are produced; Collecting or removing dirt or fumes from that area
- B08B15/04—Preventing escape of dirt or fumes from the area where they are produced; Collecting or removing dirt or fumes from that area from a small area, e.g. a tool
-
- B—PERFORMING OPERATIONS; TRANSPORTING
- B08—CLEANING
- B08B—CLEANING IN GENERAL; PREVENTION OF FOULING IN GENERAL
- B08B7/00—Cleaning by methods not provided for in a single other subclass or a single group in this subclass
- B08B7/02—Cleaning by methods not provided for in a single other subclass or a single group in this subclass by distortion, beating, or vibration of the surface to be cleaned
Landscapes
- Cleaning In General (AREA)
Abstract
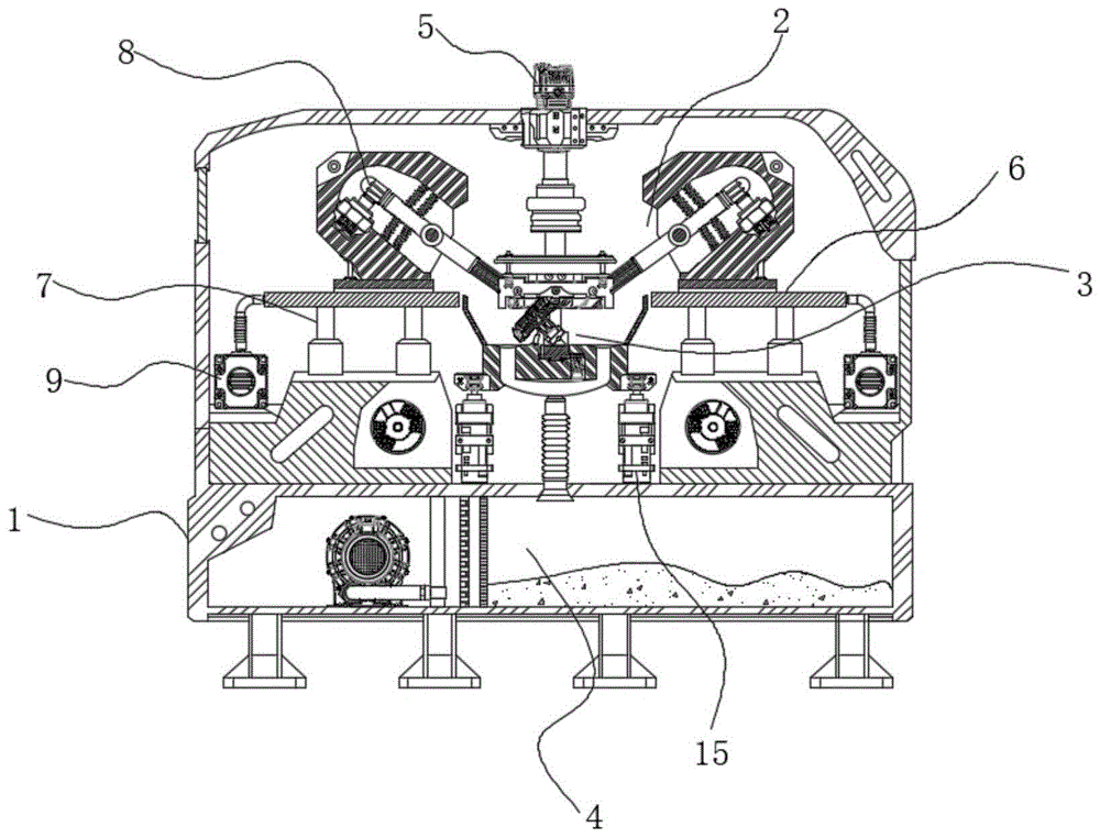
本发明公开一种计算机CPU散热器清污设备,其包括机壳、导热片清洁组件、散热风扇清洁组件以及集尘组件,其中,所述机壳的中部设置有固定装置,且所述固定装置向上延伸至机壳外部连接有步进电机,以便对固定的散热器进行小角度转动,所述导热片清洁组件设置在固定装置的左右两侧,用于对导热片的间隙进行清洁;所述散热风扇清洁组件安装在固定装置的正下方,用于对三个风扇叶片进行清洁;所述集尘组件设置在机壳的底端,且通过软管与散热风扇清洁组件相连通,用于收集清扫散热器而脱落的灰尘杂物。
The invention discloses a computer CPU radiator cleaning device, which comprises a casing, a heat-conducting sheet cleaning component, a cooling fan cleaning component and a dust collecting component, wherein a fixing device is arranged in the middle of the casing, and the fixing device A stepper motor is connected up to the outside of the casing, so as to rotate the fixed heat sink at a small angle, and the thermally conductive sheet cleaning components are arranged on the left and right sides of the fixing device to clean the gap between the thermally conductive sheets; the The cooling fan cleaning assembly is installed just below the fixing device for cleaning the three fan blades; the dust collecting assembly is arranged at the bottom end of the casing and communicated with the cooling fan cleaning assembly through a hose for collecting Remove dust and debris from the radiator.
Description
Claims (6)
Priority Applications (1)
| Application Number | Priority Date | Filing Date | Title |
|---|---|---|---|
| CN202011031344.0A CN112246700B (en) | 2020-09-27 | 2020-09-27 | Computer CPU radiator equipment of decontaminating |
Applications Claiming Priority (1)
| Application Number | Priority Date | Filing Date | Title |
|---|---|---|---|
| CN202011031344.0A CN112246700B (en) | 2020-09-27 | 2020-09-27 | Computer CPU radiator equipment of decontaminating |
Publications (2)
| Publication Number | Publication Date |
|---|---|
| CN112246700A CN112246700A (en) | 2021-01-22 |
| CN112246700B true CN112246700B (en) | 2021-09-28 |
Family
ID=74233356
Family Applications (1)
| Application Number | Title | Priority Date | Filing Date |
|---|---|---|---|
| CN202011031344.0A Active CN112246700B (en) | 2020-09-27 | 2020-09-27 | Computer CPU radiator equipment of decontaminating |
Country Status (1)
| Country | Link |
|---|---|
| CN (1) | CN112246700B (en) |
Families Citing this family (2)
| Publication number | Priority date | Publication date | Assignee | Title |
|---|---|---|---|---|
| CN112904960B (en) * | 2021-02-04 | 2022-06-14 | 安徽商贸职业技术学院 | A computer heat dissipation structure and its processing method |
| CN113900504B (en) * | 2021-11-18 | 2023-04-25 | 秦皇岛职业技术学院 | Self-cleaning computer device based on temperature monitoring |
Citations (18)
| Publication number | Priority date | Publication date | Assignee | Title |
|---|---|---|---|---|
| JPH10137698A (en) * | 1996-11-06 | 1998-05-26 | Masayuki Matsuoka | Cleaning device, ventilation fan fitting and removing device, ventilation hole and ventilation fan guide device with wheel in air conditioner |
| CN102593084A (en) * | 2011-01-18 | 2012-07-18 | 技嘉科技股份有限公司 | Heat dissipation module and electronic device with heat dissipation module |
| CN203076232U (en) * | 2013-02-08 | 2013-07-24 | 常州中新天马玻璃纤维制品有限公司 | Metal mesh tape cleaning device |
| CN203818885U (en) * | 2014-05-23 | 2014-09-10 | 安徽省皖凯机械有限公司 | Cleaning system for stone carving machine |
| CN204148161U (en) * | 2014-09-17 | 2015-02-11 | 东莞玖龙纸业有限公司 | An automatic cleaning device for calender rollers |
| CN105068626A (en) * | 2015-08-11 | 2015-11-18 | 成都思邦力克科技有限公司 | Heat radiator with multi-position dust removal devices |
| CN204817359U (en) * | 2015-07-29 | 2015-12-02 | 长兴荣力机械有限公司 | Scrub decontamination mechanism |
| CN205020458U (en) * | 2015-09-02 | 2016-02-10 | 天津海晶塑料制品有限公司 | Dust removal cabinet |
| CN107665035A (en) * | 2017-11-15 | 2018-02-06 | 成都汇骏盟邦科技有限公司 | A kind of safe computer power supply |
| CN207308419U (en) * | 2017-09-30 | 2018-05-04 | 胡伊男 | Radiating fin of transformer clearing apparatus |
| CN207668056U (en) * | 2017-11-21 | 2018-07-31 | 广州市冠发散热器有限公司 | A kind of dust-extraction unit for gilled radiator |
| CN207952062U (en) * | 2017-12-24 | 2018-10-12 | 建泰建设有限公司 | A kind of efficient swing type cleaning device of building scrap iron material |
| CN208066830U (en) * | 2017-12-19 | 2018-11-09 | 杭州凯傲科技有限公司 | A kind of cleaning device of casting machine heating station |
| CN208131530U (en) * | 2018-01-31 | 2018-11-23 | 杨雨璇 | A kind of computer heat emission fan dedusting frame |
| CN208188770U (en) * | 2018-03-29 | 2018-12-04 | 南阳医学高等专科学校第一附属医院 | A kind of external heat emission fan of easy-to-clean ash notebook |
| CN208840052U (en) * | 2018-04-23 | 2019-05-10 | 深圳市三烨科技有限公司 | A kind of heat-pipe radiator dust-extraction unit |
| CN209139273U (en) * | 2018-11-27 | 2019-07-23 | 长安大学 | A kind of full-automatic multiple degrees of freedom street lamp cleaning device |
| CN209491091U (en) * | 2019-01-28 | 2019-10-15 | 赣州市超华科技有限公司 | Cleaning device for automobile air-conditioning radiator |
-
2020
- 2020-09-27 CN CN202011031344.0A patent/CN112246700B/en active Active
Patent Citations (18)
| Publication number | Priority date | Publication date | Assignee | Title |
|---|---|---|---|---|
| JPH10137698A (en) * | 1996-11-06 | 1998-05-26 | Masayuki Matsuoka | Cleaning device, ventilation fan fitting and removing device, ventilation hole and ventilation fan guide device with wheel in air conditioner |
| CN102593084A (en) * | 2011-01-18 | 2012-07-18 | 技嘉科技股份有限公司 | Heat dissipation module and electronic device with heat dissipation module |
| CN203076232U (en) * | 2013-02-08 | 2013-07-24 | 常州中新天马玻璃纤维制品有限公司 | Metal mesh tape cleaning device |
| CN203818885U (en) * | 2014-05-23 | 2014-09-10 | 安徽省皖凯机械有限公司 | Cleaning system for stone carving machine |
| CN204148161U (en) * | 2014-09-17 | 2015-02-11 | 东莞玖龙纸业有限公司 | An automatic cleaning device for calender rollers |
| CN204817359U (en) * | 2015-07-29 | 2015-12-02 | 长兴荣力机械有限公司 | Scrub decontamination mechanism |
| CN105068626A (en) * | 2015-08-11 | 2015-11-18 | 成都思邦力克科技有限公司 | Heat radiator with multi-position dust removal devices |
| CN205020458U (en) * | 2015-09-02 | 2016-02-10 | 天津海晶塑料制品有限公司 | Dust removal cabinet |
| CN207308419U (en) * | 2017-09-30 | 2018-05-04 | 胡伊男 | Radiating fin of transformer clearing apparatus |
| CN107665035A (en) * | 2017-11-15 | 2018-02-06 | 成都汇骏盟邦科技有限公司 | A kind of safe computer power supply |
| CN207668056U (en) * | 2017-11-21 | 2018-07-31 | 广州市冠发散热器有限公司 | A kind of dust-extraction unit for gilled radiator |
| CN208066830U (en) * | 2017-12-19 | 2018-11-09 | 杭州凯傲科技有限公司 | A kind of cleaning device of casting machine heating station |
| CN207952062U (en) * | 2017-12-24 | 2018-10-12 | 建泰建设有限公司 | A kind of efficient swing type cleaning device of building scrap iron material |
| CN208131530U (en) * | 2018-01-31 | 2018-11-23 | 杨雨璇 | A kind of computer heat emission fan dedusting frame |
| CN208188770U (en) * | 2018-03-29 | 2018-12-04 | 南阳医学高等专科学校第一附属医院 | A kind of external heat emission fan of easy-to-clean ash notebook |
| CN208840052U (en) * | 2018-04-23 | 2019-05-10 | 深圳市三烨科技有限公司 | A kind of heat-pipe radiator dust-extraction unit |
| CN209139273U (en) * | 2018-11-27 | 2019-07-23 | 长安大学 | A kind of full-automatic multiple degrees of freedom street lamp cleaning device |
| CN209491091U (en) * | 2019-01-28 | 2019-10-15 | 赣州市超华科技有限公司 | Cleaning device for automobile air-conditioning radiator |
Non-Patent Citations (1)
| Title |
|---|
| 大功率LED灯散热器结构设计;潘裕;《山东工业技术》;20180301;第7-8页 * |
Also Published As
| Publication number | Publication date |
|---|---|
| CN112246700A (en) | 2021-01-22 |
Similar Documents
| Publication | Publication Date | Title |
|---|---|---|
| CN112246700B (en) | Computer CPU radiator equipment of decontaminating | |
| CN115037083A (en) | Improved structure of aviation motor shell | |
| CN118022443A (en) | Wind shielding device and wind shielding method for bag type dust collector | |
| CN218984425U (en) | Dustless grinding device of glass | |
| CN120140159A (en) | A wind power generation device with a heat dissipation mechanism | |
| CN119113673A (en) | A dust cleaning device for computer | |
| CN221872245U (en) | A splash-proof structure | |
| CN108547779B (en) | A kind of self-cleaning exhaust blower | |
| CN212966065U (en) | An easy-to-install computer cooling device | |
| CN119681050A (en) | Cable drawing machine and use method | |
| JP2007330652A (en) | Rotary rotor, vacuum cleaner floor suction tool, vacuum cleaner and air conditioner | |
| CN118778781A (en) | A heat dissipation device for computer power supply | |
| CN117294074B (en) | A DC brushless motor heat dissipation device for household sweeping machine | |
| CN119582022B (en) | Power distribution row cabinet convenient to maintain | |
| CN215878899U (en) | Dust collector for new trend system | |
| CN221816814U (en) | A cleaning device | |
| CN220981490U (en) | Building ventilation device | |
| CN222723899U (en) | Multitube type smoke filter | |
| CN221909009U (en) | A dust removal device for photovoltaic equipment and component manufacturing | |
| CN221724626U (en) | Air source heat pump base | |
| CN214945077U (en) | Air suspension high-speed centrifugal blower | |
| CN119945049B (en) | Motor heat dissipation structure of floor scrubber | |
| CN223795376U (en) | Cleaning assembly for air conditioner and air conditioner | |
| CN112074170A (en) | Electronic radiator with cleaning function | |
| CN218553444U (en) | Device for cleaning a pre-filter of an air filter and air filter |
Legal Events
| Date | Code | Title | Description |
|---|---|---|---|
| PB01 | Publication | ||
| PB01 | Publication | ||
| SE01 | Entry into force of request for substantive examination | ||
| SE01 | Entry into force of request for substantive examination | ||
| GR01 | Patent grant | ||
| GR01 | Patent grant | ||
| TR01 | Transfer of patent right |
Effective date of registration: 20241009 Address after: 230000 B-1015, wo Yuan Garden, 81 Ganquan Road, Shushan District, Hefei, Anhui. Patentee after: HEFEI MINGLONG ELECTRONIC TECHNOLOGY Co.,Ltd. Country or region after: China Address before: 422000 Qiliping, Daxiang district, Shaoyang City, Hunan Province Patentee before: SHAOYANG University Country or region before: China |
|
| TR01 | Transfer of patent right | ||
| TR01 | Transfer of patent right |
Effective date of registration: 20250402 Address after: No. 118 Jingui Road, Hangbu Town, Shucheng County, Lu'an City, Anhui Province, China 237000 Patentee after: Anhui Dongchao Lianchuang Technology Co.,Ltd. Country or region after: China Address before: 230000 B-1015, wo Yuan Garden, 81 Ganquan Road, Shushan District, Hefei, Anhui. Patentee before: HEFEI MINGLONG ELECTRONIC TECHNOLOGY Co.,Ltd. Country or region before: China |
|
| TR01 | Transfer of patent right |
