CN112245670A - Gastrointestinal decompression device for digestive system - Google Patents
Gastrointestinal decompression device for digestive system Download PDFInfo
- Publication number
- CN112245670A CN112245670A CN202011135014.6A CN202011135014A CN112245670A CN 112245670 A CN112245670 A CN 112245670A CN 202011135014 A CN202011135014 A CN 202011135014A CN 112245670 A CN112245670 A CN 112245670A
- Authority
- CN
- China
- Prior art keywords
- tube
- air bag
- gas
- digestive system
- decompression
- Prior art date
- Legal status (The legal status is an assumption and is not a legal conclusion. Google has not performed a legal analysis and makes no representation as to the accuracy of the status listed.)
- Pending
Links
- 230000006837 decompression Effects 0.000 title claims abstract description 65
- 230000002496 gastric effect Effects 0.000 title claims abstract description 26
- 210000002249 digestive system Anatomy 0.000 title claims abstract description 17
- 210000002784 stomach Anatomy 0.000 claims abstract description 50
- 229920001971 elastomer Polymers 0.000 claims abstract description 4
- 239000000806 elastomer Substances 0.000 claims abstract description 4
- 239000007788 liquid Substances 0.000 claims description 19
- 238000003825 pressing Methods 0.000 claims description 15
- 230000029087 digestion Effects 0.000 claims 1
- 239000000463 material Substances 0.000 abstract description 13
- 210000000936 intestine Anatomy 0.000 abstract description 9
- 239000007787 solid Substances 0.000 description 18
- 238000010276 construction Methods 0.000 description 4
- 238000012986 modification Methods 0.000 description 4
- 230000004048 modification Effects 0.000 description 4
- 230000006835 compression Effects 0.000 description 2
- 238000007906 compression Methods 0.000 description 2
- 230000008878 coupling Effects 0.000 description 2
- 238000010168 coupling process Methods 0.000 description 2
- 238000005859 coupling reaction Methods 0.000 description 2
- 238000010521 absorption reaction Methods 0.000 description 1
- 230000009286 beneficial effect Effects 0.000 description 1
- 230000007547 defect Effects 0.000 description 1
- 208000010643 digestive system disease Diseases 0.000 description 1
- 230000000694 effects Effects 0.000 description 1
- 238000001125 extrusion Methods 0.000 description 1
- 239000007789 gas Substances 0.000 description 1
- 238000004519 manufacturing process Methods 0.000 description 1
- 238000000034 method Methods 0.000 description 1
- 230000035945 sensitivity Effects 0.000 description 1
Images
Classifications
-
- A61M1/0023—
-
- A—HUMAN NECESSITIES
- A61—MEDICAL OR VETERINARY SCIENCE; HYGIENE
- A61M—DEVICES FOR INTRODUCING MEDIA INTO, OR ONTO, THE BODY; DEVICES FOR TRANSDUCING BODY MEDIA OR FOR TAKING MEDIA FROM THE BODY; DEVICES FOR PRODUCING OR ENDING SLEEP OR STUPOR
- A61M1/00—Suction or pumping devices for medical purposes; Devices for carrying-off, for treatment of, or for carrying-over, body-liquids; Drainage systems
- A61M1/71—Suction drainage systems
- A61M1/74—Suction control
-
- A—HUMAN NECESSITIES
- A61—MEDICAL OR VETERINARY SCIENCE; HYGIENE
- A61M—DEVICES FOR INTRODUCING MEDIA INTO, OR ONTO, THE BODY; DEVICES FOR TRANSDUCING BODY MEDIA OR FOR TAKING MEDIA FROM THE BODY; DEVICES FOR PRODUCING OR ENDING SLEEP OR STUPOR
- A61M1/00—Suction or pumping devices for medical purposes; Devices for carrying-off, for treatment of, or for carrying-over, body-liquids; Drainage systems
- A61M1/71—Suction drainage systems
- A61M1/78—Means for preventing overflow or contamination of the pumping systems
- A61M1/782—Means for preventing overflow or contamination of the pumping systems using valves with freely moving parts, e.g. float valves
-
- A—HUMAN NECESSITIES
- A61—MEDICAL OR VETERINARY SCIENCE; HYGIENE
- A61M—DEVICES FOR INTRODUCING MEDIA INTO, OR ONTO, THE BODY; DEVICES FOR TRANSDUCING BODY MEDIA OR FOR TAKING MEDIA FROM THE BODY; DEVICES FOR PRODUCING OR ENDING SLEEP OR STUPOR
- A61M1/00—Suction or pumping devices for medical purposes; Devices for carrying-off, for treatment of, or for carrying-over, body-liquids; Drainage systems
- A61M1/84—Drainage tubes; Aspiration tips
Landscapes
- Health & Medical Sciences (AREA)
- Heart & Thoracic Surgery (AREA)
- Biomedical Technology (AREA)
- Vascular Medicine (AREA)
- Engineering & Computer Science (AREA)
- Anesthesiology (AREA)
- Hematology (AREA)
- Life Sciences & Earth Sciences (AREA)
- Animal Behavior & Ethology (AREA)
- General Health & Medical Sciences (AREA)
- Public Health (AREA)
- Veterinary Medicine (AREA)
- Surgery (AREA)
- Surgical Instruments (AREA)
Abstract
The invention discloses a gastrointestinal decompression device for a digestive system, which belongs to the technical field of medical auxiliary instruments and comprises a decompression tube, a pressure reducing tube and a pressure reducing tube, wherein the decompression tube is of a hollow tube cavity structure; one end of the pressure reducing pipe is provided with a first connector, the other end of the pressure reducing pipe is provided with a second connector, and the pipe wall of the pressure reducing pipe is also provided with a third connector; a stomach tube, which is a hollow hose structure; one end of the stomach tube is provided with a feeding hole, and the other end of the stomach tube is communicated with the first connecting port; an air bag of hollow elastomer structure; the air bag is communicated with the second connecting port, a first gas one-way valve is arranged on the second connecting port, and the first gas one-way valve only allows gas to flow into the air bag from the decompression pipe; the air bag is provided with a second air one-way valve, and the second air one-way valve only allows air to flow out of the air bag; a material collecting barrel communicated with the third connecting port; the invention has simple structure, can effectively reduce the pressure in the intestines and stomach, is convenient to carry, and is suitable for reducing the pressure in the intestines and stomach under the condition of emergency.
Description
Technical Field
The invention belongs to the technical field of medical auxiliary instruments, and particularly relates to a gastrointestinal decompression device for a digestive system.
Background
For people with digestive diseases, gastrointestinal pressure can bring great discomfort to patients, so doctors often need to carry out gastrointestinal decompression on the patients, and the existing decompression device is more complex in structure and larger in volume, so that the device is more suitable for being used at fixed positions of hospitals; in case of emergency patients, the problem to be solved is how to decompress the intestines and stomach to relieve the discomfort of the patients in case of not reaching the hospital for treatment, so the invention provides the intestines and stomach decompression device suitable for emergency situations.
Disclosure of Invention
In order to solve the defects of the prior art, the invention provides a gastrointestinal decompression device for a digestive system.
A gastrointestinal decompression device for a digestive system, comprising:
the pressure reducing pipe is of a hollow pipe cavity structure; one end of the pressure reducing pipe is provided with a first connector, the other end of the pressure reducing pipe is provided with a second connector, and the pipe wall of the pressure reducing pipe is also provided with a third connector;
a stomach tube, which is a hollow hose structure; one end of the stomach tube is a free end, a feed inlet is formed in the tube wall, and the other end of the stomach tube is communicated with the first connecting port;
an air bag of hollow elastomer structure; the air bag is communicated with the second connecting port, a first gas one-way valve is arranged on the second connecting port, and the first gas one-way valve only allows gas to flow into the air bag from the decompression pipe; the air bag is provided with a second air one-way valve, and the second air one-way valve only allows air to flow out of the air bag;
and the collecting barrel is communicated with the third connecting port.
Preferably, the decompression tube is provided with a connecting plate, one side of the air bag is provided with a pressing plate, the air bag is positioned between the connecting plate and the pressing plate, and the air bag is fixedly connected with the pressing plate through a soft rope; the connecting plate is fixedly connected with a plurality of guide rods, the guide rods are sleeved with first springs, and the other ends of the guide rods penetrate through the pressing plate and are fixedly connected with limiting structures.
Preferably, a plurality of said guide rods are distributed around said air-bag.
Preferably, the pressure reducing pipe is internally provided with a first filter screen, and the third connecting port is positioned between the first connecting port and the first filter screen.
Preferably, be equipped with the recess on the decompression pipe wall, the recess is located between first filter screen and the second connector, just the recess with the third connector is located same one side of decompression pipe.
Preferably, a connecting rod is arranged in the third connecting port, a floating ball is arranged at the end of the third connecting port, and the floating ball is connected with the connecting rod through a second spring.
Preferably, when the third connecting port is placed downwards, the floating ball seals the third connecting port, and the floating ball makes zero acting force between the third connecting ports.
Preferably, the collecting barrel is communicated with the third connecting port through a connecting pipe, and the outer diameter of the float ball is smaller than the inner diameter of the connecting pipe.
Preferably, a second filter screen is arranged in the collecting bucket, and a liquid outlet is arranged below the second filter screen on the side wall of the collecting bucket.
Preferably, stomach tube one end is arc enclosed construction, evenly seted up a plurality of feed inlets on the stomach tube is close to the pipe wall of arc enclosed construction.
Compared with the prior art, the invention has the beneficial effects that:
the invention is provided with a decompression tube, one end of the decompression tube is provided with a first connecting port, the first connecting port is connected with a stomach tube, the other end of the decompression tube is communicated with an air bag, a first gas one-way valve is arranged between the air bag and the decompression tube, the first gas one-way valve can only allow gas to enter the air bag from the decompression tube, the air bag is also provided with a second gas one-way valve, the second gas one-way valve can only allow gas to be discharged to the atmosphere from the air bag, when in use, the air bag is extruded to discharge the gas in the air bag through the second gas one-way valve, the pressure in the air bag is reduced, so that the pressure in the decompression tube and the stomach tube is reduced, the gas, liquid or solid in the intestines and the stomach is extruded into the decompression tube through the stomach tube, the liquid or solid is discharged into a material collecting barrel through a third connecting port, the gas sucked from the intestines and the stomach can enter the air bag through, the first gas one-way valve may prevent gas from returning into the intestine; the invention has simple structure, can effectively reduce the pressure in the intestines and stomach, is convenient to carry, and is suitable for reducing the pressure in the intestines and stomach under the condition of emergency.
Drawings
In order to more clearly illustrate the embodiments of the present invention or the technical solutions in the prior art, the drawings used in the description of the embodiments or the prior art will be briefly introduced below, and it is obvious that the drawings in the following description are some embodiments of the present invention, and for those skilled in the art, other drawings can be obtained according to these drawings without creative efforts.
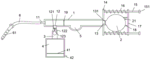
FIG. 1 is a gastrointestinal decompression device for a digestive system provided by the present invention;
fig. 2 is a schematic view of the connection relationship between the third connecting port and the connecting rod in fig. 1.
1. Decompression pipe, 11, first connector, 12, third connector, 121, connecting rod, 122, second spring, 123, float ball, 13, second connector, 131, first gaseous check valve, 14, connecting plate, 15, guide bar, 16, first spring, 17, pressing plate, 18, soft rope, 19, first filter screen, 2, gasbag, 21, the gaseous check valve of second, 3, the connecting pipe, 4, the collecting vat, 41, second filter screen, 42, the liquid outlet, 5, recess, 6, stomach tube, 61, the feed inlet.
Detailed Description
In order to make the technical solutions of the present invention better understood and enable those skilled in the art to practice the present invention, the following embodiments are further described, but the present invention is not limited to the following embodiments.
A gastrointestinal decompression device for a digestive system, as shown in fig. 1 and 2, comprising:
a decompression tube 1 having a hollow tubular structure; one end of the pressure reducing pipe 1 is provided with a first connector 11, the other end of the pressure reducing pipe is provided with a second connector 13, and the pipe wall of the pressure reducing pipe is also provided with a third connector 12;
a stomach tube 6 which is a hollow hose structure; one end of the stomach tube 6 is a free end, a feed inlet 61 is formed in the tube wall, and the other end of the stomach tube is communicated with the first connecting port 11; the stomach tube 6 is inserted into the stomach of a patient, and effusion, gas or solid in the stomach enters the stomach tube 6 through the feed port 61 and is sucked into the decompression tube 1;
an airbag 2 of a hollow elastomer structure; the air bag 2 is communicated with the second connecting port 13, the second connecting port 13 is provided with a first gas one-way valve 131, and the first gas one-way valve 131 only allows gas to flow into the air bag 2 from the decompression tube 1, so that gas in the stomach can enter the air bag 2, the gas in the air bag 2 cannot be led into the stomach, and the phenomenon that the gas flows back to the stomach is avoided; a second gas one-way valve 21 is arranged on the air bag 2, the second gas one-way valve 21 only allows gas to flow out of the air bag 2, and the first gas one-way valve 131 and the second gas one-way valve 21 can be selected from products on the market, such as Miz ZCXY-04; when the air bag 2 is squeezed, the gas in the air bag 2 is discharged into the atmosphere through the second gas one-way valve 21, the squeezing force is released, the air bag expands due to elasticity, the air pressure in the air bag 2 is reduced, so that the gas in the decompression tube 1 enters the air bag 2, the air pressure in the decompression tube 1 is reduced, the air pressure in the stomach tube 6 is further reduced, and the liquid, the solid and the gas in the stomach can be squeezed into the stomach tube 6 and enter the decompression tube 1 under the high-pressure environment of the stomach;
and a collector 4 communicating with the third connection port 12, wherein the gas introduced into the decompression tube 1 is sucked into the airbag 2, discharged through the two-gas check valve 21, and the solid or liquid is introduced into the collector 4 through the third connection port 12.
When the gastric tube is used, the gastric tube 6 is inserted into the stomach of a patient, the decompression tube 1 is horizontally placed, the third connecting port 12 is downward, the air bag 2 is squeezed, the gas in the air bag 2 is discharged into the atmosphere through the second gas one-way valve 21, the squeezing force is released, the air bag expands due to elasticity, the air pressure in the air bag 2 is reduced, the gas in the decompression tube 1 enters the air bag 2, the air pressure in the decompression tube 1 is reduced, the air pressure in the gastric tube 6 is further reduced, and the liquid, the solid and the gas in the stomach can be squeezed into the gastric tube 6 and enter the decompression tube 1 under the high-pressure environment of the stomach; the gas introduced into the decompression tube 1 is sucked into the bladder 2 and discharged through the two-gas check valve 21, and the solid and liquid enter the barrel 3 through the third connection port 12. Along with the increase of the amount of the gas entering the air bag 2, the air pressure in the air bag 2 is increased, the negative pressure in the decompression tube 1 is reduced, at the moment, the air bag 2 is repeatedly squeezed, the gas in the air bag 2 is discharged, and the operation is repeated, so that the stomach pressure of the patient can be continuously reduced, and the pain of the patient is relieved.
In order to accelerate the compression and expansion speed of the air bag 2, a connecting plate 14 is arranged on the decompression tube 1, a pressing plate 17 is arranged on one side of the air bag 2, the air bag 2 is positioned between the connecting plate 14 and the pressing plate 17, and the air bag 2 is fixedly connected with the pressing plate 17 through a soft rope 18; the rigid coupling has a plurality of guide bars 15 on the connecting plate 14, the cover is equipped with first spring 16 on the guide bar 15, the guide bar 15 other end passes press pressing plate 17 and rigid coupling has limit structure 151, and limit structure 151 prevents that guide bar 15 from breaking away from pressing plate 17, through extrusion press pressing plate 17, but the inflatable airbag 2, after the compression is accomplished, the rebound force effect of first spring 16 can drive the gasbag 2 inflation, has improved 2 inflation speeds of gasbag, and then improves negative pressure production rate, can improve the absorption rate of stomach material.
In order to improve the force uniformity of the airbag 2, a plurality of guide rods 15 are distributed around the airbag 2.
In order to prevent the solid in the suction decompression pipe 1 from flowing to the other end of the decompression pipe 1 and polluting the first gas one-way valve 131, a first filter screen 19 is arranged in the decompression pipe 1, the third connector 12 is positioned between the first connector 11 and the first filter screen 19, so that the solid can be prevented from passing through, and the solid can only enter the material collecting barrel 3 through the third connector 12.
In order to prevent that the liquid that gets into in the decompression pipe 1 from flowing to the other end of decompression pipe 1, pollute first gas check valve 131, be equipped with recess 5 on the decompression pipe 1 pipe wall, recess 5 is located between first filter screen 19 and the second connector 13, just recess 5 with third connector 12 is located same one side of decompression pipe 1 even liquid passes through first filter screen 19, also will advance in the recess 5, can not direct flow to first gas check valve 131 department.
In order to prevent the solid in the material collecting barrel 4 from flowing back, and prevent the foul smell of the material collecting barrel 4 from returning to the decompression tube 1 and returning to the stomach of the patient, a connecting rod 121 is arranged in the third connecting port 12, a floating ball 123 is arranged at the end part of the third connecting port 12, the floating ball 123 is connected with the connecting rod 121 through a second spring 122, and when no solid passes through, the floating ball 123 blocks the third connecting port 12 under the action of the second spring 122, so that the problem is avoided.
In order to enable solids and liquid sucked out from the stomach to enter the material collecting barrel 4, the third connecting port 12 can be placed downwards when the material collecting barrel is used, when the third connecting port 12 is placed downwards, the third connecting port 12 is sealed by the floating ball 123, acting force between the floating ball 123 and the third connecting port 12 is zero, the arrangement can prevent backflow of materials in the material collecting barrel 4, when the liquids and the solids are in contact with the floating ball 123 through the third connecting port 12, the floating ball 123 is forced to move downwards (a spring with a relatively small elastic coefficient can be selected according to actual use requirements in order to improve the sensitivity of the second spring 122), at the moment, the end of the third connecting port 12 is opened, the solids and the liquids can enter the material collecting barrel 4, and after the solids and the liquids all enter the material collecting barrel 4, the floating ball 123 can seal the third connecting port 12 again.
In order to enable solids and liquid to smoothly enter the collecting barrel 4 and facilitate the up-and-down movement of the floating ball 123, the collecting barrel 4 is communicated with the third connecting port 12 through the connecting pipe 3, and the outer diameter of the floating ball 123 is smaller than the inner diameter of the connecting pipe 3.
In order to collect dirt conveniently, a second filter screen 41 is arranged in the collecting bucket 4, a liquid outlet 42 is arranged on the side wall of the collecting bucket 4 below the second filter screen 41, the solid entering the collecting bucket 4 is isolated on the second filter screen 41, and the liquid enters the bottom of the collecting bucket 4 through the second filter screen 41 and can flow out through the liquid outlet 42.
In order to prevent intubate in-process, the tip damage patient of stomach tube 6, 6 one end of stomach tube are the arc enclosed construction, a plurality of feed inlets 61 have evenly been seted up on the stomach tube 6 pipe wall that is close to the arc enclosed construction, and stomach material gets into the stomach tube through the feed inlet 61 that sets up on the pipe wall, and the stomach decompression rate has also been improved in the setting of a plurality of feed inlets 61.
It will be apparent to those skilled in the art that various changes and modifications may be made in the present invention without departing from the spirit and scope of the invention. Thus, if such modifications and variations of the present invention fall within the scope of the claims of the present invention and their equivalents, the present invention is also intended to include such modifications and variations. The above-mentioned embodiments are merely preferred embodiments for fully illustrating the present invention, and the scope of protection is not limited thereto. The equivalents and modifications of the present invention which may occur to those skilled in the art are within the scope of the present invention as defined by the appended claims.
Claims (10)
1. A gastrointestinal decompression device for a digestive system, comprising:
a decompression tube (1) having a hollow tubular structure; one end of the pressure reducing pipe (1) is provided with a first connector (11), the other end of the pressure reducing pipe is provided with a second connector (13), and the pipe wall of the pressure reducing pipe is also provided with a third connector (12);
a stomach tube (6) which is of a hollow hose structure; one end of the stomach tube (6) is a free end, a feeding hole (61) is formed in the tube wall, and the other end of the stomach tube is communicated with the first connecting port (11);
an air bag (2) having a hollow elastomer structure; the air bag (2) is communicated with the second connecting port (13), a first gas one-way valve (131) is arranged on the second connecting port (13), and the first gas one-way valve (131) only allows gas to flow into the air bag (2) from the decompression pipe (1); a second gas one-way valve (21) is arranged on the air bag (2), and the second gas one-way valve (21) only allows gas to flow out of the air bag (2);
a collecting barrel (4) which communicates with the third connection port (12).
2. The gastrointestinal decompression device for the digestive system according to claim 1, wherein the decompression tube (1) is provided with a connecting plate (14), one side of the air bag (2) is provided with a pressing plate (17), the air bag (2) is positioned between the connecting plate (14) and the pressing plate (17), and the air bag (2) is fixedly connected with the pressing plate (17) through a soft rope (18); the connecting plate is characterized in that a plurality of guide rods (15) are fixedly connected to the connecting plate (14), a first spring (16) is sleeved on each guide rod (15), and the other end of each guide rod (15) penetrates through the pressing plate (17) and is fixedly connected with a limiting structure (151).
3. Gastrointestinal decompression device for the digestive system according to claim 2, characterized in that a plurality of guide rods (15) are distributed around the balloon (2).
4. Gastrointestinal decompression device for the digestive system according to claim 1, characterized in that a first sieve (19) is provided inside the decompression tube (1), the third connection port (12) being located between the first connection port (11) and the first sieve (19).
5. The gastrointestinal decompression device for the digestive system according to claim 4, wherein a groove (5) is provided on the wall of the decompression tube (1), the groove (5) is located between the first filter screen (19) and the second connection port (13), and the groove (5) and the third connection port (12) are located on the same side of the decompression tube (1).
6. The gastrointestinal decompression device for the digestive system according to claim 1, wherein a connecting rod (121) is arranged in the third connecting port (12), a floating ball (123) is arranged at the end of the third connecting port (12), and the floating ball (123) is connected with the connecting rod (121) through a second spring (122).
7. Gastrointestinal decompression device for the digestive system according to claim 6, characterized in that the buoyant ball (123) closes the third connection port (12) when the third connection port (12) is placed downwards and the force between the buoyant ball (123) and the third connection port (12) is zero.
8. Gastrointestinal decompression device for the digestive system according to claim 6, wherein the collecting vessel (4) communicates with the third connection port (12) through a connection tube (3), the outer diameter of the buoyant ball (123) being smaller than the inner diameter of the connection tube (3).
9. Gastrointestinal decompression device for a digestion system according to claim 1, characterized in that a second sieve (41) is arranged in the collecting bucket (4), and a liquid outlet (42) is arranged below the second sieve (41) on the side wall of the collecting bucket (4).
10. The gastrointestinal decompression device for the digestive system according to claim 1, wherein one end of the gastric tube (6) is an arc-shaped closed structure, and a plurality of feed inlets (61) are uniformly formed on the tube wall of the gastric tube (6) close to the arc-shaped closed structure.
Priority Applications (1)
| Application Number | Priority Date | Filing Date | Title |
|---|---|---|---|
| CN202011135014.6A CN112245670A (en) | 2020-10-22 | 2020-10-22 | Gastrointestinal decompression device for digestive system |
Applications Claiming Priority (1)
| Application Number | Priority Date | Filing Date | Title |
|---|---|---|---|
| CN202011135014.6A CN112245670A (en) | 2020-10-22 | 2020-10-22 | Gastrointestinal decompression device for digestive system |
Publications (1)
| Publication Number | Publication Date |
|---|---|
| CN112245670A true CN112245670A (en) | 2021-01-22 |
Family
ID=74263270
Family Applications (1)
| Application Number | Title | Priority Date | Filing Date |
|---|---|---|---|
| CN202011135014.6A Pending CN112245670A (en) | 2020-10-22 | 2020-10-22 | Gastrointestinal decompression device for digestive system |
Country Status (1)
| Country | Link |
|---|---|
| CN (1) | CN112245670A (en) |
Citations (11)
| Publication number | Priority date | Publication date | Assignee | Title |
|---|---|---|---|---|
| CN203114342U (en) * | 2013-04-02 | 2013-08-07 | 安徽恒源煤电股份有限公司 | Automatic water drainage device for drawing out methane under high negative pressure |
| CN204364522U (en) * | 2014-12-26 | 2015-06-03 | 方红熙 | Digestive System Department gastrointestinal decompression |
| CN207506805U (en) * | 2017-04-11 | 2018-06-19 | 重庆医科大学附属儿童医院 | A kind of pressing medical sputum aspirator |
| CN208372276U (en) * | 2017-07-24 | 2019-01-15 | 中国人民解放军第三军医大学第三附属医院 | Quickly attract the suction device for the hydrogen peroxide that irrigates |
| CN109731166A (en) * | 2019-03-19 | 2019-05-10 | 魏士卒 | A kind of clinical department of internal medicine sputum aspirator |
| CN109999233A (en) * | 2019-04-11 | 2019-07-12 | 张显学 | A kind of stomach surgical clinical stomach liquid decompressor |
| CN209286271U (en) * | 2018-08-06 | 2019-08-23 | 赵艳君 | A kind of clinic urine collecting |
| CN209645524U (en) * | 2019-01-29 | 2019-11-19 | 中国医科大学附属盛京医院 | A kind of gastrointestinal surgery gastrointestinal decompression |
| CN209967181U (en) * | 2019-03-22 | 2020-01-21 | 曲靖市第一人民医院 | Gastroenterology stomach pressure relief device |
| CN210020556U (en) * | 2019-05-14 | 2020-02-07 | 刘涛 | Negative pressure suction device |
| CN211383016U (en) * | 2019-12-26 | 2020-09-01 | 四川科弘医疗器械有限公司 | Intestines and stomach pressure relief device |
-
2020
- 2020-10-22 CN CN202011135014.6A patent/CN112245670A/en active Pending
Patent Citations (11)
| Publication number | Priority date | Publication date | Assignee | Title |
|---|---|---|---|---|
| CN203114342U (en) * | 2013-04-02 | 2013-08-07 | 安徽恒源煤电股份有限公司 | Automatic water drainage device for drawing out methane under high negative pressure |
| CN204364522U (en) * | 2014-12-26 | 2015-06-03 | 方红熙 | Digestive System Department gastrointestinal decompression |
| CN207506805U (en) * | 2017-04-11 | 2018-06-19 | 重庆医科大学附属儿童医院 | A kind of pressing medical sputum aspirator |
| CN208372276U (en) * | 2017-07-24 | 2019-01-15 | 中国人民解放军第三军医大学第三附属医院 | Quickly attract the suction device for the hydrogen peroxide that irrigates |
| CN209286271U (en) * | 2018-08-06 | 2019-08-23 | 赵艳君 | A kind of clinic urine collecting |
| CN209645524U (en) * | 2019-01-29 | 2019-11-19 | 中国医科大学附属盛京医院 | A kind of gastrointestinal surgery gastrointestinal decompression |
| CN109731166A (en) * | 2019-03-19 | 2019-05-10 | 魏士卒 | A kind of clinical department of internal medicine sputum aspirator |
| CN209967181U (en) * | 2019-03-22 | 2020-01-21 | 曲靖市第一人民医院 | Gastroenterology stomach pressure relief device |
| CN109999233A (en) * | 2019-04-11 | 2019-07-12 | 张显学 | A kind of stomach surgical clinical stomach liquid decompressor |
| CN210020556U (en) * | 2019-05-14 | 2020-02-07 | 刘涛 | Negative pressure suction device |
| CN211383016U (en) * | 2019-12-26 | 2020-09-01 | 四川科弘医疗器械有限公司 | Intestines and stomach pressure relief device |
Similar Documents
| Publication | Publication Date | Title |
|---|---|---|
| CN108366869B (en) | A device that enables bolus flow between two stoma | |
| CN112245670A (en) | Gastrointestinal decompression device for digestive system | |
| CN215025383U (en) | Breast tumor radiotherapy position fixing device | |
| CN208837972U (en) | A kind of bladder monitor for comatose patient | |
| CN111672015B (en) | A gas-filled intestinal cavity decompression tube | |
| CN215082941U (en) | Gastroenterology nursing device | |
| CN215134156U (en) | Gastrointestinal decompression device | |
| CN116328052A (en) | A gastrointestinal decompressor | |
| CN215083708U (en) | Pressurization type oxygen bag | |
| CN206120294U (en) | Clean - stomach tube mirror of intestinal | |
| CN220967782U (en) | Adjustable gastric tube drainage device | |
| CN213099784U (en) | Gastrointestinal decompression aspirator | |
| CN221998471U (en) | Stomach tube drainage nursing device | |
| CN215023091U (en) | Gastrointestinal nutrition and drainage device | |
| CN116725876B (en) | A nasogastric feeding device for digestive tract care with anti-reflux function | |
| CN217593451U (en) | Thoracic surgery sputum suction device | |
| CN218280209U (en) | Gastrointestinal decompression drainage device | |
| CN221692206U (en) | Gastrointestinal decompression device for digestive system | |
| CN222368084U (en) | Disposable closed type digestion liquid feedback device | |
| CN221731758U (en) | A simple drainage device | |
| CN115671418A (en) | Gastrointestinal abdominal distension decompression machine | |
| CN111870422A (en) | A male urination device for medical use | |
| CN216963174U (en) | Enema device for patient with sphincter relaxation | |
| CN219208318U (en) | Peculiar smell preventing gastrointestinal decompression device | |
| CN210020801U (en) | Novel stomach tube for digestive system department |
Legal Events
| Date | Code | Title | Description |
|---|---|---|---|
| PB01 | Publication | ||
| PB01 | Publication | ||
| SE01 | Entry into force of request for substantive examination | ||
| SE01 | Entry into force of request for substantive examination | ||
| RJ01 | Rejection of invention patent application after publication |
Application publication date: 20210122 |
|
| RJ01 | Rejection of invention patent application after publication |