CN112244736A - A sterile protective cover for endoscope - Google Patents

A sterile protective cover for endoscope Download PDF

Info

Publication number
CN112244736A
CN112244736A CN201910662479.8A CN201910662479A CN112244736A CN 112244736 A CN112244736 A CN 112244736A CN 201910662479 A CN201910662479 A CN 201910662479A CN 112244736 A CN112244736 A CN 112244736A
Authority
CN
China
Prior art keywords
endoscope
sterile
pressing
protective sleeve
cavity
Prior art date
Legal status (The legal status is an assumption and is not a legal conclusion. Google has not performed a legal analysis and makes no representation as to the accuracy of the status listed.)
Granted
Application number
CN201910662479.8A
Other languages
Chinese (zh)
Other versions
CN112244736B (en
Inventor
韦建宇
李常青
史春夏
沈正华
胡洁
李宁
奚杰峰
Current Assignee (The listed assignees may be inaccurate. Google has not performed a legal analysis and makes no representation or warranty as to the accuracy of the list.)
Micro Tech Nanjing Co Ltd
Original Assignee
Micro Tech Nanjing Co Ltd
Priority date (The priority date is an assumption and is not a legal conclusion. Google has not performed a legal analysis and makes no representation as to the accuracy of the date listed.)
Filing date
Publication date
Application filed by Micro Tech Nanjing Co Ltd filed Critical Micro Tech Nanjing Co Ltd
Priority to CN201910662479.8A priority Critical patent/CN112244736B/en
Priority to PCT/CN2020/095271 priority patent/WO2021012825A1/en
Publication of CN112244736A publication Critical patent/CN112244736A/en
Application granted granted Critical
Publication of CN112244736B publication Critical patent/CN112244736B/en
Active legal-status Critical Current
Anticipated expiration legal-status Critical

Links

Images

Classifications

    • AHUMAN NECESSITIES
    • A61MEDICAL OR VETERINARY SCIENCE; HYGIENE
    • A61BDIAGNOSIS; SURGERY; IDENTIFICATION
    • A61B1/00Instruments for performing medical examinations of the interior of cavities or tubes of the body by visual or photographical inspection, e.g. endoscopes; Illuminating arrangements therefor
    • A61B1/00142Instruments for performing medical examinations of the interior of cavities or tubes of the body by visual or photographical inspection, e.g. endoscopes; Illuminating arrangements therefor with means for preventing contamination, e.g. by using a sanitary sheath
    • A61B1/00144Hygienic packaging
    • AHUMAN NECESSITIES
    • A61MEDICAL OR VETERINARY SCIENCE; HYGIENE
    • A61BDIAGNOSIS; SURGERY; IDENTIFICATION
    • A61B1/00Instruments for performing medical examinations of the interior of cavities or tubes of the body by visual or photographical inspection, e.g. endoscopes; Illuminating arrangements therefor

Landscapes

  • Health & Medical Sciences (AREA)
  • Life Sciences & Earth Sciences (AREA)
  • Surgery (AREA)
  • Biomedical Technology (AREA)
  • Medical Informatics (AREA)
  • Optics & Photonics (AREA)
  • Pathology (AREA)
  • Radiology & Medical Imaging (AREA)
  • Biophysics (AREA)
  • Engineering & Computer Science (AREA)
  • Physics & Mathematics (AREA)
  • Heart & Thoracic Surgery (AREA)
  • Nuclear Medicine, Radiotherapy & Molecular Imaging (AREA)
  • Molecular Biology (AREA)
  • Animal Behavior & Ethology (AREA)
  • General Health & Medical Sciences (AREA)
  • Public Health (AREA)
  • Veterinary Medicine (AREA)
  • Endoscopes (AREA)
  • Apparatus For Disinfection Or Sterilisation (AREA)

Abstract

本发明涉及内窥镜无菌保护套,所述无菌保护套包括主体、连接部和密封盖,主体包括腔室,腔室内容纳抗菌介质;连接部包括密封结构,密封结构使得内窥镜先端部插入后保持与内窥镜先端部的密封。所述内窥镜无菌保护套还包括按压结构,所述按压结构为设置在所述腔室壁上的按压部和/或至少一部分腔室壁是弹性的,通过反复对按压结构进行按压,可使抗菌介质进入内窥镜通道内。本发明对内窥镜起到保护作用的同时,还能对内窥镜进一步清洗消毒的作用,减少交叉感染的发生。

Figure 201910662479

The invention relates to an aseptic protective cover for an endoscope. The sterile protective cover includes a main body, a connecting part and a sealing cover. The main body includes a cavity, and the cavity contains an antibacterial medium; the connecting part includes a sealing structure, and the sealing structure makes the endoscope tip end After insertion, the seal with the tip of the endoscope is maintained. The endoscope sterile protective cover further includes a pressing structure, and the pressing structure is a pressing portion provided on the chamber wall and/or at least a part of the chamber wall is elastic. By repeatedly pressing the pressing structure, Antimicrobial media can be introduced into the endoscope channel. The invention can protect the endoscope, and can further clean and sterilize the endoscope, thereby reducing the occurrence of cross-infection.

Figure 201910662479

Description

Aseptic protective sheath of endoscope
Technical Field
The invention relates to the field of endoscopes, in particular to an endoscope sterile protective sleeve.
Background
With the development of medical technology and the popularization of endoscopes, the application of endoscopes is more and more extensive, and the endoscopic treatment has become an indispensable treatment means in clinic. However, the following problems are present during the use of the endoscope:
on the one hand, the current endoscope mainly depends on import, is expensive and non-disposable consumables, and is generally cleaned and sterilized after being used and then reused. The endoscope often bumps in the transportation process from an operating room to a cleaning room and from the cleaning room to a storage room, so that the tip part of the endoscope is damaged, the maintenance cost is high, and the waste is caused by scrapping.
On the other hand, the endoscope needs to enter the human body and contact tissues, mucous membranes and blood, especially the tissues enter the endoscope channel, and if not cleaned and disinfected completely, cross infection can be caused.
In order to solve the above problems, patent CN204765536U filed by olympus (beijing) marketing services limited, proposes a protective sleeve for the tip portion of an endoscope, which is used only for the protection of the tip portion of the endoscope without having an antibacterial effect and cannot solve the problem of thorough cleaning and sterilization of the endoscope, especially in the channel.
Further, international patent WO2014/041369a1 filed by MEDISAFE UK LIMITED, which relates to a method for pre-treating medical devices, proposes a cleaning of contaminated medical devices, wherein the use of a disinfecting liquid is also mentioned. Although the patent can protect and clean and disinfect medical instruments, the patent cannot solve the problem of thorough cleaning and disinfection of endoscope channels.
The protection of the endoscope tip and the cleaning and disinfection thereof are particularly important, and although the prior art discloses a technology for protecting, cleaning and disinfecting the endoscope tip, the prior art still has the problems that the endoscope channel cannot be thoroughly disinfected and further the problem that the disinfectant in the protective sleeve leaks out cannot be solved.
Disclosure of Invention
In order to solve the above problems, the present invention provides an aseptic protective sleeve for an endoscope, comprising a protective sleeve main body, a connecting portion and a sealing cover, wherein the protective sleeve main body comprises a cavity, and an antibacterial medium is contained in the cavity; the connecting part comprises a sealing structure which enables the tip part of the endoscope to be inserted and then kept sealed with the tip part of the endoscope, and the endoscope sterile protective sleeve is characterized by further comprising a pressing structure which is a pressing part arranged on the wall of the cavity and/or at least one part of the wall of the cavity is elastic, and the antibacterial medium is enabled to be fully in infiltration contact with the tip part of the endoscope and enter the endoscope channel through pressing of the pressing structure.
According to the endoscope cleaning device, the pressing structure is arranged on the protective sleeve, so that the protective sleeve can protect the endoscope, and meanwhile, the antibacterial medium can be pressed into the endoscope channel by repeatedly pressing the pressing structure, so that the endoscope channel is thoroughly cleaned and disinfected, the endoscope is thoroughly cleaned and disinfected, and the risk of cross infection is reduced.
Preferably, the pressing portion is an elastic pressing wall or an elastic pressing chamber protruding from the chamber wall.
The sealing structure is a self-sealing structure.
Another embodiment of a seal structure includes an annular groove and an O-ring positioned in the groove.
The endoscope sterile protective sleeve also comprises an anti-reflux valve, and the anti-reflux valve is arranged at different positions and can divide the cavity into a first cavity and a second cavity.
Preferably, the sealing cover may be a flip-type sealing cover or a film-type sealing cover.
The protective sleeve can be any shape suitable for inserting the tip of an endoscope, for example, an upright protective sleeve which can be stably placed by arranging the bottom of the protective sleeve to be concave inward. The bottom of the protective sleeve can also be designed into a tapered flat shape, so that the protective sleeve is suitable for being held by hands and the tip of the endoscope can be conveniently inserted into the protective sleeve by force.
The antimicrobial medium may be filled directly into the chamber or may be absorbed by an absorbent material, such as a sponge, and placed into the chamber.
Through the description of the technical scheme, the invention can achieve the following beneficial effects:
the aseptic protective sleeve is provided with the pressing structure, the pressing structure is a pressing part arranged on the wall of the aseptic protective sleeve or at least one part of the wall of the aseptic protective sleeve is elastic, and the pressing structure is repeatedly pressed, so that the functions of protection and thorough cleaning and disinfection can be simultaneously provided for the endoscope.
The sealing structure adopts the self-sealing structure, preferably, the self-sealing structure includes annular groove and the O type circle that is arranged in the recess for after the endoscope tip inserted the protective sheath, self-sealing structure all the time with the outer wall in close contact with of endoscope, prevent that the antibiotic medium from leaking outward.
The protective sleeve also comprises an anti-backflow flap, when the anti-backflow flap is arranged close to the inner side of the connecting part, the cavity is a cavity, and the tip part of the endoscope is inserted into the protective sleeve to play a role in protecting, cleaning and disinfecting the endoscope. When the cavity is divided into two cavities by the anti-reflux valve, when the endoscope is inserted into the first cavity, only the endoscope is protected; optionally, when inserted into the second chamber, serves to protect and sanitize the endoscope simultaneously.
The shape of the protective sleeve can adopt any shape suitable for inserting the tip part of the endoscope, and the protective sleeve can be vertical or flat with a tapered bottom suitable for holding and forcibly pushing the endoscope to insert.
To better prevent the outflow of the antimicrobial medium and to reduce the amount of antimicrobial medium used, the antimicrobial medium may be absorbed into an absorbent material, such as a sponge, and the sponge with the antimicrobial medium absorbed therein may be placed into the chamber.
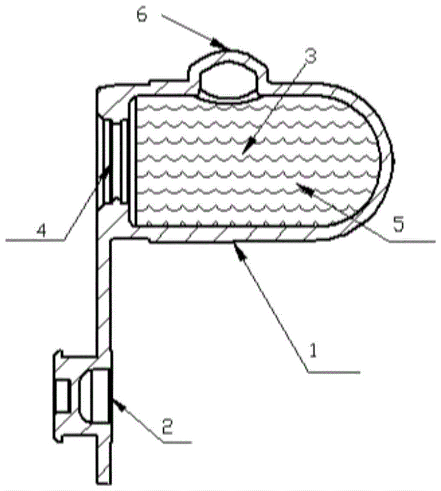
Drawings
Fig. 1a-1c show protective sleeves for endoscopes, which are filled with different antimicrobial agents.
Fig. 2 is a schematic structural view of an endoscope connecting portion.
Figure 3 is a perspective view of an anti-reflux flap disposed within a chamber of the protective sheath.
Fig. 4 is a self-sealing structure provided with an O-ring.
Figure 5 is a protective sleeve for a flip-top closure.
Figure 6 is a protective sleeve for a membrane seal cover.
Fig. 7 shows the endoscope protective sleeve with the cavity bottom concave inwards.
FIG. 8 shows the protective sleeve of the endoscope with the bottom of the cavity being tapered and flat.
Fig. 9 is a protective sleeve of an endoscope with an antibacterial sponge disposed in the cavity.
FIG. 10 is an endoscopic protective sheath provided with two lumens.
The labels in the figure are:
1. a protective sleeve; 2. a sealing cover; 3. an antimicrobial medium; 4. a connecting portion; 5. a cavity; 6. a pressing structure;
71. an anti-backflow flap; 72. an anti-backflow flap; 8, an O-shaped ring; 9. a sponge.
Detailed Description
In order to make the objects, technical solutions and advantages of the present invention more apparent, the present invention is described in further detail below with reference to the accompanying drawings and embodiments. It should be understood that the specific embodiments described herein are merely illustrative of the invention and are not intended to limit the invention.
As shown in fig. 1a-1c, the endoscope sterile protective sleeve comprises a protective sleeve body 1, a connecting part 4 and a sealing cover 2, wherein the connecting part 4 is arranged at the end part of the protective sleeve body, and the other end of the connecting part is the bottom of the protective sleeve body. The body of the case comprises a chamber 5, the chamber 5 being filled with an antimicrobial medium 3, fig. 1a-1c schematically showing that it can be filled with different antimicrobial media; the connecting portion 4 is provided with a sealing structure which is a self-sealing structure and which can be brought into close contact with the outer wall of the endoscope when the distal end portion of the endoscope is inserted into the main body chamber 5 from the connecting portion 4, thereby preventing the antimicrobial agent 3 from leaking out from the insertion port. In addition, the chamber 5 also comprises a pressing structure, and the pressing structure is repeatedly pressed, so that the antibacterial medium 3 can be fully infiltrated and contacted with the tip part of the endoscope on one hand, and on the other hand, the antibacterial medium 3 can enter the channel from the channel outlet of the tip part of the endoscope to thoroughly clean and disinfect the inside of the endoscope channel, and the risk of cross infection is reduced when the endoscope is used again. One embodiment of the pressing structure is a pressing part 6 convexly arranged on the wall of the cavity 5, and the pressing part 6 can be an elastic wall or an elastic pressing cavity; another embodiment of the pressing structure is that at least a part of the chamber wall is elastic; furthermore, the pressing structure can comprise a pressing portion and at least a part of the chamber wall is designed to be elastic. By repeatedly pressing the pressing structure, the tip part of the endoscope can be cleaned and disinfected, especially the endoscope channel can be thoroughly cleaned and disinfected.
Preferably, the body of the endoscope protective sheath is made of, but not limited to, silicone.
As shown in fig. 2, the sealing structure is a self-sealing structure. Another embodiment of the sealing structure includes an annular groove with an O-ring disposed therein (see fig. 4). When the tip part of the endoscope is inserted from the connecting part 4, the sealing structure is tightly contacted with the outer wall of the endoscope, and the antibacterial medium 3 in the cavity cannot leak out, so that the tip part of the endoscope is always protected in a sterile manner in the preservation process.
When the endoscope sterile protective sleeve is used, after the sealing cover 2 is opened, in order to prevent the antibacterial medium from leaking out of the connecting part 4, an anti-backflow flap 71 can be arranged on the inner side of the connecting part 4, as shown in fig. 3. Thus, after the sealing cover 2 is opened, no matter whether the front end part of the endoscope is inserted into the protective sleeve in time or not, the antibacterial medium cannot leak from the protective sleeve under the action of the anti-backflow flap 71.
The anti-reflux flap 71 may be disposed immediately inside the joint 4 as shown in fig. 3 and 4, when the chamber 5 is a chamber, when the endoscope tip portion is inserted into the chamber 5 while protecting and washing-disinfecting the endoscope tip portion. The anti-reflux flap also separates the chamber into two chambers (see 72 in FIG. 10), as will be described in more detail below.
The sealing cover 2 of the present application may take various forms, such as a flip-type sealing cover that may be integrally formed with the connecting portion 4, as shown in fig. 5; or a film-type sealing cover, such as plastic film, etc., which is sealed with the end of the connecting part of the protective sleeve by glue, hot melting, welding, etc., as shown in fig. 6.
The shape of the endoscope sheath may be any shape suitable for insertion of the distal end portion of the endoscope, and the lumen may be sized to accommodate only the distal end portion of the endoscope or the entire endoscope. The endoscope is preferably upright in shape, as shown in fig. 7, where the bottom of the sleeve is concave for smooth upright placement.
Further, in order to facilitate holding the protective sheath by hand and pushing the endoscope tip into the protective sheath, the bottom of the protective sheath is designed to be flat and tapered, as shown in fig. 8.
Preferably, in order to better prevent the outflow of the antibacterial agent and to reduce the amount of the antibacterial agent used, a member capable of absorbing the antibacterial agent, such as a sponge, is provided in the chamber 5, and the antibacterial agent may be previously inhaled into the sponge, as shown in fig. 9.
The antibacterial medium can be silver antibacterial agent, alcohol antibacterial agent, normal saline, heparin solution, etc.
An anti-reflux flap may also be provided at any location in the chamber 5 separating the chamber 5 from the first and second chambers 51, see fig. 10. The first chamber 51 is not filled with the antibacterial agent, and the second chamber 52 is filled with the antibacterial agent, so that the endoscope only has a protective effect when the distal end portion of the endoscope is inserted into the first chamber 51. When the endoscope distal end portion continues to be inserted into the second chamber 52, the endoscope distal end portion can be protected and cleaned and sterilized at the same time.
The endoscope aseptic protective sleeve is used in the following process, after the endoscope is disinfected and cleaned, the protective sleeve package is opened, the sealing cover is opened, the tip part of the endoscope is inserted into the protective sleeve, the pressing structure of the protective sleeve is slightly pressed, the antibacterial medium fully infiltrates the tip part of the endoscope, then the endoscope is transported or stored in a mirror cabinet, and the endoscope is always in an aseptic state in the whole transportation and storage process.
The above description is only for the purpose of illustrating the preferred embodiments of the present invention and is not to be construed as limiting the invention, and any modifications, equivalents and improvements made within the spirit and principle of the present invention are intended to be included therein.

Claims (10)

1. An endoscope sterile protective sleeve comprises a protective sleeve main body, a connecting part and a sealing cover, wherein the protective sleeve main body comprises a cavity, and an antibacterial medium is contained in the cavity; the connecting part comprises a sealing structure which enables the tip part of the endoscope to be inserted and then kept sealed with the tip part of the endoscope, and the endoscope sterile protective sleeve is characterized by further comprising a pressing structure which is a pressing part arranged on the wall of the cavity and/or at least one part of the wall of the cavity is elastic, and the antibacterial medium is enabled to be fully in infiltration contact with the tip part of the endoscope and enter the endoscope channel through pressing of the pressing structure.
2. The endoscope sterile protective sheath of claim 1 wherein the pressing portion is a resilient pressing wall or a resilient pressing chamber that protrudes from the chamber wall.
3. The endoscopic sterile drape of claim 1 wherein said sealing structure is a self-sealing structure.
4. The sterile endoscope protective sheath of claim 1 wherein said sealing structure comprises an annular groove and an O-ring positioned in said groove.
5. The sterile endoscope protective sheath of claim 1 further comprising an anti-reflux flap.
6. The sterile endoscope protective sheath of claim 5 wherein said anti-reflux flap separates the chamber into two chambers.
7. The sterile endoscope protective sheath of claim 1 wherein said sealing cap is a flip-cap or membrane type sealing cap.
8. An endoscopic sterile drape as claimed in any one of claims 1 to 7 wherein the bottom of the body of the endoscopic drape is recessed inwardly.
9. The endoscopic sterile drape of any one of claims 1 to 7 wherein the bottom of the endoscopic drape body is tapered flat.
10. An endoscope sterile drape according to any of claims 1 to 7 wherein a sponge is disposed within said chamber, said sponge being impregnated with an antimicrobial medium.
CN201910662479.8A 2019-07-22 2019-07-22 Aseptic protective sheath of endoscope Active CN112244736B (en)

Priority Applications (2)

Application Number Priority Date Filing Date Title
CN201910662479.8A CN112244736B (en) 2019-07-22 2019-07-22 Aseptic protective sheath of endoscope
PCT/CN2020/095271 WO2021012825A1 (en) 2019-07-22 2020-06-10 Endoscope sterile protective sleeve

Applications Claiming Priority (1)

Application Number Priority Date Filing Date Title
CN201910662479.8A CN112244736B (en) 2019-07-22 2019-07-22 Aseptic protective sheath of endoscope

Publications (2)

Publication Number Publication Date
CN112244736A true CN112244736A (en) 2021-01-22
CN112244736B CN112244736B (en) 2025-09-16

Family

ID=74192731

Family Applications (1)

Application Number Title Priority Date Filing Date
CN201910662479.8A Active CN112244736B (en) 2019-07-22 2019-07-22 Aseptic protective sheath of endoscope

Country Status (2)

Country Link
CN (1) CN112244736B (en)
WO (1) WO2021012825A1 (en)

Citations (17)

* Cited by examiner, † Cited by third party
Publication number Priority date Publication date Assignee Title
CN2059346U (en) * 1989-09-18 1990-07-18 魏福全 Multifunctional cleaning and sterilizing machine for endoscope
JP3031919U (en) * 1996-05-31 1996-12-13 光一 山田 Container for disinfecting, sterilizing and sterilizing medical equipment
CN1350467A (en) * 1999-05-14 2002-05-22 费尔蒙特医疗产品有限公司 Sterilization container
CN101084823A (en) * 2006-06-07 2007-12-12 奥林巴斯医疗株式会社 System and method for managing cleaning and disinfecting steps for endoscope
CN101209197A (en) * 2006-12-27 2008-07-02 奥林巴斯医疗株式会社 Endoscope cleaning and disinfection device
CN101366959A (en) * 2007-08-16 2009-02-18 富士胶片株式会社 Endoscope cleaning machine
KR20090107467A (en) * 2009-09-04 2009-10-13 이명진 Disposable Endoscope Disinfection Kit
WO2014041369A1 (en) * 2012-09-14 2014-03-20 Medisafe Uk Limited Method of pre-treating medical instruments
CN203736152U (en) * 2014-03-05 2014-07-30 武汉大学 Endoscope protective cover
CN203829064U (en) * 2014-05-13 2014-09-17 李晶 Protection support for electronic bronchoscope
CN204765536U (en) * 2015-05-11 2015-11-18 奥林巴斯(北京)销售服务有限公司 Protective sheath of endoscope elder generation tip
US20160045629A1 (en) * 2014-08-13 2016-02-18 Excelsior Medical Corporation Disinfectant Caps
CN205514922U (en) * 2016-02-05 2016-08-31 王依贵 Disposable medical protective sheath
CN206403734U (en) * 2016-10-11 2017-08-15 重庆市中医院 Endoscope insertion part protective jacket
CN107582014A (en) * 2017-10-12 2018-01-16 无锡圣诺亚科技有限公司 A kind of hard mirror protection sleeve pipe
CN108024691A (en) * 2015-06-03 2018-05-11 卢门迪公司 Methods and apparatus for manipulating a body lumen or side wall of a body cavity in order to provide enhanced visualization thereof and/or enhanced accessibility thereof and/or for stabilizing instruments relative thereto
CN210697579U (en) * 2019-07-22 2020-06-09 南微医学科技股份有限公司 Aseptic protective sheath of endoscope

Family Cites Families (6)

* Cited by examiner, † Cited by third party
Publication number Priority date Publication date Assignee Title
US8734730B2 (en) * 2007-03-30 2014-05-27 Covidien Lp Surgical instrument debris collection system
EP3050493A4 (en) * 2014-07-16 2017-06-21 Olympus Corporation Endoscope cleaning tube
JP5843990B1 (en) * 2015-04-27 2016-01-13 クリーンケミカル株式会社 Pre-cleaning kit for surgery support robot instrument
CN107693919A (en) * 2016-08-09 2018-02-16 江苏富田汇康医疗器械有限公司 Disposable pre-filled Double layer pipeline flusher
CN106984585B (en) * 2017-03-08 2019-11-08 安徽省伟业净化设备有限公司 A kind of endoscope cleaning device
CN209061761U (en) * 2018-10-17 2019-07-05 李晨 A kind of gastroenterology scope cleaning device

Patent Citations (19)

* Cited by examiner, † Cited by third party
Publication number Priority date Publication date Assignee Title
CN2059346U (en) * 1989-09-18 1990-07-18 魏福全 Multifunctional cleaning and sterilizing machine for endoscope
JP3031919U (en) * 1996-05-31 1996-12-13 光一 山田 Container for disinfecting, sterilizing and sterilizing medical equipment
CN1350467A (en) * 1999-05-14 2002-05-22 费尔蒙特医疗产品有限公司 Sterilization container
CN101084823A (en) * 2006-06-07 2007-12-12 奥林巴斯医疗株式会社 System and method for managing cleaning and disinfecting steps for endoscope
CN101209197A (en) * 2006-12-27 2008-07-02 奥林巴斯医疗株式会社 Endoscope cleaning and disinfection device
CN101366959A (en) * 2007-08-16 2009-02-18 富士胶片株式会社 Endoscope cleaning machine
KR20090107467A (en) * 2009-09-04 2009-10-13 이명진 Disposable Endoscope Disinfection Kit
US20150250550A1 (en) * 2012-09-14 2015-09-10 Medisafe Uk Limited Method of Pre-Treating Medical Instruments
WO2014041369A1 (en) * 2012-09-14 2014-03-20 Medisafe Uk Limited Method of pre-treating medical instruments
US20170252125A1 (en) * 2012-09-14 2017-09-07 Medisafe Uk Limited Method of pre-treating medical instruments
CN203736152U (en) * 2014-03-05 2014-07-30 武汉大学 Endoscope protective cover
CN203829064U (en) * 2014-05-13 2014-09-17 李晶 Protection support for electronic bronchoscope
US20160045629A1 (en) * 2014-08-13 2016-02-18 Excelsior Medical Corporation Disinfectant Caps
CN204765536U (en) * 2015-05-11 2015-11-18 奥林巴斯(北京)销售服务有限公司 Protective sheath of endoscope elder generation tip
CN108024691A (en) * 2015-06-03 2018-05-11 卢门迪公司 Methods and apparatus for manipulating a body lumen or side wall of a body cavity in order to provide enhanced visualization thereof and/or enhanced accessibility thereof and/or for stabilizing instruments relative thereto
CN205514922U (en) * 2016-02-05 2016-08-31 王依贵 Disposable medical protective sheath
CN206403734U (en) * 2016-10-11 2017-08-15 重庆市中医院 Endoscope insertion part protective jacket
CN107582014A (en) * 2017-10-12 2018-01-16 无锡圣诺亚科技有限公司 A kind of hard mirror protection sleeve pipe
CN210697579U (en) * 2019-07-22 2020-06-09 南微医学科技股份有限公司 Aseptic protective sheath of endoscope

Also Published As

Publication number Publication date
CN112244736B (en) 2025-09-16
WO2021012825A1 (en) 2021-01-28

Similar Documents

Publication Publication Date Title
JP6559955B2 (en) Port and surface cleaning equipment and techniques
JP5734982B2 (en) Disinfection male luer connector cap
CN103260696B (en) Protective Covers for Connectors
CN204233484U (en) An antibacterial device for medical equipment and medical equipment components
CN105101904B (en) Medical equipment cleaning equipment
RU2496523C2 (en) Clean-out instrument
US8388894B2 (en) Apparatus and method for sterilizing a tubular medical line port
US8834650B2 (en) Medical implement cleaning device
JP2010516342A (en) Nested sterilization protection cap for isolated connectors
JP2013509908A (en) Aseptic docking device and method for male medical line connector
JPH10305011A (en) Endoscope treating tool and endoscope washing, disinfecting, and drying method using it
CN210697579U (en) Aseptic protective sheath of endoscope
CN112244736A (en) A sterile protective cover for endoscope
US20220387776A1 (en) Sanitizing articles for luer access devices
AU2013345415A1 (en) Antimicrobial devices for use with medical devices, medical device assemblies and related methods
CN219501839U (en) Multifunctional sterile cap, pre-flushing type flusher, infusion catheter or drainage catheter
KR102677331B1 (en) Urine bag stopper with disinfectant capsule
JP2006320430A (en) Cleaner
CN113195036A (en) Integrated connector and disinfection cap with storage
HK1196308A (en) Port and surface cleaning devices and techniques

Legal Events

Date Code Title Description
PB01 Publication
PB01 Publication
SE01 Entry into force of request for substantive examination
SE01 Entry into force of request for substantive examination
GR01 Patent grant
GR01 Patent grant