CN112195851A - Cleaning device - Google Patents

Cleaning device Download PDF

Info

Publication number
CN112195851A
CN112195851A CN202011033399.5A CN202011033399A CN112195851A CN 112195851 A CN112195851 A CN 112195851A CN 202011033399 A CN202011033399 A CN 202011033399A CN 112195851 A CN112195851 A CN 112195851A
Authority
CN
China
Prior art keywords
cleaning device
spring
handle
bristles
slotted hole
Prior art date
Legal status (The legal status is an assumption and is not a legal conclusion. Google has not performed a legal analysis and makes no representation as to the accuracy of the status listed.)
Pending
Application number
CN202011033399.5A
Other languages
Chinese (zh)
Inventor
李伟
Current Assignee (The listed assignees may be inaccurate. Google has not performed a legal analysis and makes no representation or warranty as to the accuracy of the list.)
Guangdong Vocational and Technical College
Original Assignee
Guangdong Vocational and Technical College
Priority date (The priority date is an assumption and is not a legal conclusion. Google has not performed a legal analysis and makes no representation as to the accuracy of the date listed.)
Filing date
Publication date
Application filed by Guangdong Vocational and Technical College filed Critical Guangdong Vocational and Technical College
Priority to CN202011033399.5A priority Critical patent/CN112195851A/en
Publication of CN112195851A publication Critical patent/CN112195851A/en
Pending legal-status Critical Current

Links

Images

Classifications

    • EFIXED CONSTRUCTIONS
    • E01CONSTRUCTION OF ROADS, RAILWAYS, OR BRIDGES
    • E01HSTREET CLEANING; CLEANING OF PERMANENT WAYS; CLEANING BEACHES; DISPERSING OR PREVENTING FOG IN GENERAL CLEANING STREET OR RAILWAY FURNITURE OR TUNNEL WALLS
    • E01H1/00Removing undesirable matter from roads or like surfaces, with or without moistening of the surface
    • E01H1/12Hand implements, e.g. litter pickers

Landscapes

  • Engineering & Computer Science (AREA)
  • Architecture (AREA)
  • Civil Engineering (AREA)
  • Structural Engineering (AREA)
  • Brushes (AREA)

Abstract

本发明公开了一种清洁装置,包括:盘体、把手和若干个毛刷束,所述把手与所述盘体的顶部连接,所述盘体的底部设有槽孔阵列,所述槽孔阵列的每一个单元槽孔中均设有弹簧,所述毛刷束包括刷毛和束缚板,所述刷毛的一端与束缚板的下侧面固定连接,所述束缚板对应落入所述单元槽孔中,所述束缚板的上侧面与弹簧的一端接触,所述弹簧的另一端与单元槽孔的顶壁固定连接。本清洁装置在弹簧弹力的作用下,使得刷毛更加贴近地面,从而对凸起地面起到很好的清洁作用。本发明主要用于日常用具技术领域。

Figure 202011033399

The invention discloses a cleaning device, comprising: a disc body, a handle and several brush bundles, the handle is connected with the top of the disc body, the bottom of the disc body is provided with a slot array, the slot holes Each unit slot of the array is provided with a spring, the brush bundle includes bristles and a binding plate, one end of the bristles is fixedly connected to the lower side of the binding plate, and the binding plate falls into the unit slot correspondingly The upper side of the restraining plate is in contact with one end of the spring, and the other end of the spring is fixedly connected with the top wall of the unit slot. Under the action of the elastic force of the spring, the cleaning device makes the bristles closer to the ground, thereby having a good cleaning effect on the raised ground. The present invention is mainly used in the technical field of daily utensils.

Figure 202011033399

Description

Cleaning device
Technical Field
The invention relates to the technical field of daily appliances, in particular to a cleaning device.
Background
The cleaning device refers to a device for cleaning a road, and the existing cleaning device generally has manual operation or automatic operation. Manually, for example, a broom. If automatic, then can be the street sweeper. Whether manual or automatic, the most central component of the cleaning device is a cleaning brush contacting with the road, and the existing cleaning brush is generally directly arranged by using fixed bristles, but the fixed bristles cannot be adaptively changed according to the bulge of the road, so that the overall cleaning effect is poor.
Disclosure of Invention
It is an object of the present invention to provide a cleaning device that solves one or more of the problems of the prior art, at least providing a useful alternative or creation.
The solution of the invention for solving the technical problem is as follows: a cleaning device, comprising: disk body, handle and a plurality of brush are restrainted, the handle with the top of disk body is connected, the bottom of disk body is equipped with the slotted hole array, all be equipped with the spring in each unit slotted hole of slotted hole array, the brush is restrainted including brush hair and constraint board, the one end of brush hair and the downside fixed connection of constraint board, the constraint board correspondence falls into in the unit slotted hole, the side of going up of constraint board contacts with the one end of spring, the other end of spring and the roof fixed connection of unit slotted hole.
Further, the other ends of the bristles are wavy.
Further, the tray body is circular.
Furthermore, the top of the tray body is provided with a hinged point, and one end of the handle is connected with the top of the tray body through the hinged point.
Further, the other end of the handle is provided with a closed circular ring.
Further, the closed ring is connected with a rubber sleeve.
Further, the bristles are made of plastic.
The invention has the beneficial effects that: there is provided a cleaning device including: disk body, handle and a plurality of brush are restrainted, the handle with the top of disk body is connected, the bottom of disk body is equipped with the slotted hole array, all be equipped with the spring in each unit slotted hole of slotted hole array, the brush is restrainted including brush hair and constraint board, the one end of brush hair and the downside fixed connection of constraint board, the constraint board correspondence falls into in the unit slotted hole, the side of going up of constraint board contacts with the one end of spring, the other end of spring and the roof fixed connection of unit slotted hole. This cleaning device is under the effect of spring force for the brush hair is pressed close to ground more, thereby plays fine cleaning effect to protruding ground.
Drawings
In order to more clearly illustrate the technical solution in the embodiments of the present invention, the drawings used in the description of the embodiments will be briefly described below. It is clear that the described figures are only some embodiments of the invention, not all embodiments, and that a person skilled in the art can also derive other designs and figures from them without inventive effort.
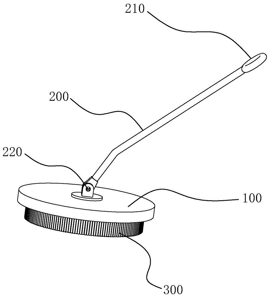
FIG. 1 is a schematic perspective view of a cleaning device;
FIG. 2 is a schematic view of the internal structure of the tray body;
FIG. 3 is an enlarged view of the connection between the brush bundle and the unit slots;
fig. 4 is a bottom side structure diagram of the tray body.
Detailed Description
The conception, the specific structure, and the technical effects produced by the present invention will be clearly and completely described below in conjunction with the embodiments and the accompanying drawings to fully understand the objects, the features, and the effects of the present invention. It is obvious that the described embodiments are only a part of the embodiments of the present invention, and not all embodiments, and those skilled in the art can obtain other embodiments without inventive effort based on the embodiments of the present invention, and all embodiments are within the protection scope of the present invention. In addition, all the coupling/connection relationships mentioned herein do not mean that the components are directly connected, but mean that a better coupling structure can be formed by adding or reducing coupling accessories according to specific implementation conditions. All technical characteristics in the invention can be interactively combined on the premise of not conflicting with each other.
Embodiment 1, referring to fig. 1, 2, 3 and 4, a cleaning device includes: the novel toothbrush comprises a tray body 100, a handle 200 and a plurality of brush bundles 300, wherein the handle 200 is connected with the top of the tray body 100, a slotted array 110 is arranged at the bottom of the tray body 100, a spring 330 is arranged in each unit slotted hole 111 of the slotted array 110, each brush bundle 300 comprises bristles 310 and a binding plate 320, one end of each bristle 310 is fixedly connected with the lower side face of each binding plate 320, each binding plate 320 correspondingly falls into the unit slotted hole 111, the upper side face of each binding plate 320 is in contact with one end of the spring 330, and the other end of each spring 330 is fixedly connected with the top wall of each unit slotted hole 111.
When the cleaning device is operated, the tray 100 is moved by pushing the handle 200, and the bristles 310 are in contact with the floor. Since the binding plate 320 falls into the unit slot 111 and the spring 330 is disposed in the unit slot 111, when the uneven ground is encountered, the raised ground acts on the bristles 310, so that the bristles 310 move upward, and the bristles 310 move upward to drive the binding plate 320 to move, compressing the spring 330. Under the elastic force of the spring 330, the bristles 310 are pressed closer to the ground, thereby providing a good cleaning effect on the raised ground.
In order to make the bristles 310 have better cleaning effect on the floor, in some preferred embodiments, the other ends of the bristles 310 are wavy.
The shape of the tray 100 may be varied, wherein in some preferred embodiments, the tray 100 has a circular shape. The circular tray 100 has a certain aesthetic property, is popular with consumers, and has a good commercial value.
The handle 200 is fixedly connected to the top of the tray body 100, and the specific connection mode is that a hinge point 220 is provided at the top of the tray body 100, and one end of the handle 200 is connected to the top of the tray body 100 through the hinge point 220.
In some preferred embodiments, the other end of the handle 200 is provided with a closed circular ring 210. The cleaning device can be conveniently hung up by closing the circular ring 210, and the cleaning device can be conveniently placed. Wherein, in some embodiments, a rubber sleeve is connected to the closed ring 210.
The bristle 310 is selected from a hard material and has a certain corrosion resistance. In accordance with this principle, in some preferred embodiments, the bristles 310 are plastic.
While the preferred embodiments of the present invention have been illustrated and described, it will be understood by those skilled in the art that the present invention is not limited to the details of the embodiments shown and described, but is capable of numerous equivalents and substitutions without departing from the spirit of the invention and its scope is defined by the claims appended hereto.

Claims (7)

1. A cleaning device, comprising: disk body, handle and a plurality of brush are restrainted, the handle with the top of disk body is connected, the bottom of disk body is equipped with the slotted hole array, all be equipped with the spring in each unit slotted hole of slotted hole array, the brush is restrainted including brush hair and constraint board, the one end of brush hair and the downside fixed connection of constraint board, the constraint board correspondence falls into in the unit slotted hole, the side of going up of constraint board contacts with the one end of spring, the other end of spring and the roof fixed connection of unit slotted hole.
2. A cleaning device as claimed in claim 1, wherein: the other ends of the bristles are wavy.
3. A cleaning device as claimed in claim 1, wherein: the tray body is circular.
4. A cleaning device as claimed in claim 1, wherein: the top of the tray body is provided with a hinged point, and one end of the handle is connected with the top of the tray body through the hinged point.
5. A cleaning device as claimed in claim 1, wherein: the other end of the handle is provided with a closed circular ring.
6. A cleaning device as claimed in claim 5, characterized in that: the closed circular ring is connected with a rubber sleeve.
7. A cleaning device as claimed in claim 1, wherein: the bristles are made of plastic.
CN202011033399.5A 2020-09-27 2020-09-27 Cleaning device Pending CN112195851A (en)

Priority Applications (1)

Application Number Priority Date Filing Date Title
CN202011033399.5A CN112195851A (en) 2020-09-27 2020-09-27 Cleaning device

Applications Claiming Priority (1)

Application Number Priority Date Filing Date Title
CN202011033399.5A CN112195851A (en) 2020-09-27 2020-09-27 Cleaning device

Publications (1)

Publication Number Publication Date
CN112195851A true CN112195851A (en) 2021-01-08

Family

ID=74006929

Family Applications (1)

Application Number Title Priority Date Filing Date
CN202011033399.5A Pending CN112195851A (en) 2020-09-27 2020-09-27 Cleaning device

Country Status (1)

Country Link
CN (1) CN112195851A (en)

Citations (10)

* Cited by examiner, † Cited by third party
Publication number Priority date Publication date Assignee Title
GB1376841A (en) * 1971-01-19 1974-12-11 Bissell Inc Sweepers and the like
FR2671272A1 (en) * 1991-01-04 1992-07-10 Leroy Henri Improved broom for roadsweeping and for domestic use
CN1065192A (en) * 1991-03-22 1992-10-14 金知元 But the brush of bristle tuft resilient movement
CN101507593A (en) * 2009-03-17 2009-08-19 施丹妮 Mop also capable of sweeping floor
US20090211039A1 (en) * 2004-12-18 2009-08-27 Milikraft Limited Cleaning apparatus
CN204199224U (en) * 2014-09-16 2015-03-11 重庆新安洁景观园林环保股份有限公司 A kind of environmental sanitation cleaning besom
KR20150063623A (en) * 2013-12-01 2015-06-10 김강수 Broom
CN108308836A (en) * 2017-01-18 2018-07-24 怀化学院 A kind of broom
CN210055900U (en) * 2019-03-27 2020-02-14 天津市福荣达地毯有限公司 Multifunctional carpet brush
CN213805152U (en) * 2020-09-27 2021-07-27 广东职业技术学院 a cleaning device

Patent Citations (10)

* Cited by examiner, † Cited by third party
Publication number Priority date Publication date Assignee Title
GB1376841A (en) * 1971-01-19 1974-12-11 Bissell Inc Sweepers and the like
FR2671272A1 (en) * 1991-01-04 1992-07-10 Leroy Henri Improved broom for roadsweeping and for domestic use
CN1065192A (en) * 1991-03-22 1992-10-14 金知元 But the brush of bristle tuft resilient movement
US20090211039A1 (en) * 2004-12-18 2009-08-27 Milikraft Limited Cleaning apparatus
CN101507593A (en) * 2009-03-17 2009-08-19 施丹妮 Mop also capable of sweeping floor
KR20150063623A (en) * 2013-12-01 2015-06-10 김강수 Broom
CN204199224U (en) * 2014-09-16 2015-03-11 重庆新安洁景观园林环保股份有限公司 A kind of environmental sanitation cleaning besom
CN108308836A (en) * 2017-01-18 2018-07-24 怀化学院 A kind of broom
CN210055900U (en) * 2019-03-27 2020-02-14 天津市福荣达地毯有限公司 Multifunctional carpet brush
CN213805152U (en) * 2020-09-27 2021-07-27 广东职业技术学院 a cleaning device

Similar Documents

Publication Publication Date Title
CN213805152U (en) a cleaning device
TWM447206U (en) Mop wringer
CN112195851A (en) Cleaning device
CN109090818B (en) High-efficient type cup cleaning brush
US20070163069A1 (en) Dustpan with a latching mechanism
JP2008522771A (en) Cleaning device with motor
CN222303805U (en) Toothbrush storage device
CN211632153U (en) Collect clean brush in bathroom of hair clearance and floor cleanness in an organic whole
US20060201831A1 (en) Disk case
CN202553828U (en) Cleaning broom
CN201104601Y (en) Novel Brush
CN221903506U (en) A broom with hair cleaning function
CN220494502U (en) A new type of cleaning brush head and cleaning brush
CN200939116Y (en) Hand-held multifunction pot brush
CN205358672U (en) Novel cleaning brush
CN206197826U (en) A kind of portable cleans vegetable and fruit basin
CN200987652Y (en) Cleaning implements storing box
CN215729673U (en) Keyboard with brush
CN201775600U (en) Mop
CN218832203U (en) High-quality cleaning brush
CN221654194U (en) Self-cleaning broom
CN222431963U (en) A brush storage device for art design that is easy to classify
CN204862830U (en) Roasting tool
CN202714822U (en) Mop wringer
CN213345532U (en) Mop with drying device

Legal Events

Date Code Title Description
PB01 Publication
PB01 Publication
SE01 Entry into force of request for substantive examination
SE01 Entry into force of request for substantive examination
RJ01 Rejection of invention patent application after publication

Application publication date: 20210108

RJ01 Rejection of invention patent application after publication