CN112177984B - A fan noise reduction structure - Google Patents
A fan noise reduction structure Download PDFInfo
- Publication number
- CN112177984B CN112177984B CN202011022300.1A CN202011022300A CN112177984B CN 112177984 B CN112177984 B CN 112177984B CN 202011022300 A CN202011022300 A CN 202011022300A CN 112177984 B CN112177984 B CN 112177984B
- Authority
- CN
- China
- Prior art keywords
- sound
- absorbing layer
- layer
- sound absorbing
- cooling pipe
- Prior art date
- Legal status (The legal status is an assumption and is not a legal conclusion. Google has not performed a legal analysis and makes no representation as to the accuracy of the status listed.)
- Active
Links
Images
Classifications
-
- F—MECHANICAL ENGINEERING; LIGHTING; HEATING; WEAPONS; BLASTING
- F04—POSITIVE - DISPLACEMENT MACHINES FOR LIQUIDS; PUMPS FOR LIQUIDS OR ELASTIC FLUIDS
- F04D—NON-POSITIVE-DISPLACEMENT PUMPS
- F04D29/00—Details, component parts, or accessories
- F04D29/66—Combating cavitation, whirls, noise, vibration or the like; Balancing
- F04D29/661—Combating cavitation, whirls, noise, vibration or the like; Balancing especially adapted for elastic fluid pumps
- F04D29/668—Combating cavitation, whirls, noise, vibration or the like; Balancing especially adapted for elastic fluid pumps damping or preventing mechanical vibrations
-
- B—PERFORMING OPERATIONS; TRANSPORTING
- B32—LAYERED PRODUCTS
- B32B—LAYERED PRODUCTS, i.e. PRODUCTS BUILT-UP OF STRATA OF FLAT OR NON-FLAT, e.g. CELLULAR OR HONEYCOMB, FORM
- B32B1/00—Layered products having a non-planar shape
- B32B1/08—Tubular products
-
- B—PERFORMING OPERATIONS; TRANSPORTING
- B32—LAYERED PRODUCTS
- B32B—LAYERED PRODUCTS, i.e. PRODUCTS BUILT-UP OF STRATA OF FLAT OR NON-FLAT, e.g. CELLULAR OR HONEYCOMB, FORM
- B32B15/00—Layered products comprising a layer of metal
- B32B15/04—Layered products comprising a layer of metal comprising metal as the main or only constituent of a layer, which is next to another layer of the same or of a different material
-
- B—PERFORMING OPERATIONS; TRANSPORTING
- B32—LAYERED PRODUCTS
- B32B—LAYERED PRODUCTS, i.e. PRODUCTS BUILT-UP OF STRATA OF FLAT OR NON-FLAT, e.g. CELLULAR OR HONEYCOMB, FORM
- B32B15/00—Layered products comprising a layer of metal
- B32B15/18—Layered products comprising a layer of metal comprising iron or steel
-
- B—PERFORMING OPERATIONS; TRANSPORTING
- B32—LAYERED PRODUCTS
- B32B—LAYERED PRODUCTS, i.e. PRODUCTS BUILT-UP OF STRATA OF FLAT OR NON-FLAT, e.g. CELLULAR OR HONEYCOMB, FORM
- B32B3/00—Layered products comprising a layer with external or internal discontinuities or unevennesses, or a layer of non-planar shape; Layered products comprising a layer having particular features of form
- B32B3/26—Layered products comprising a layer with external or internal discontinuities or unevennesses, or a layer of non-planar shape; Layered products comprising a layer having particular features of form characterised by a particular shape of the outline of the cross-section of a continuous layer; characterised by a layer with cavities or internal voids ; characterised by an apertured layer
- B32B3/266—Layered products comprising a layer with external or internal discontinuities or unevennesses, or a layer of non-planar shape; Layered products comprising a layer having particular features of form characterised by a particular shape of the outline of the cross-section of a continuous layer; characterised by a layer with cavities or internal voids ; characterised by an apertured layer characterised by an apertured layer, the apertures going through the whole thickness of the layer, e.g. expanded metal, perforated layer, slit layer regular cells B32B3/12
-
- B—PERFORMING OPERATIONS; TRANSPORTING
- B32—LAYERED PRODUCTS
- B32B—LAYERED PRODUCTS, i.e. PRODUCTS BUILT-UP OF STRATA OF FLAT OR NON-FLAT, e.g. CELLULAR OR HONEYCOMB, FORM
- B32B33/00—Layered products characterised by particular properties or particular surface features, e.g. particular surface coatings; Layered products designed for particular purposes not covered by another single class
-
- F—MECHANICAL ENGINEERING; LIGHTING; HEATING; WEAPONS; BLASTING
- F04—POSITIVE - DISPLACEMENT MACHINES FOR LIQUIDS; PUMPS FOR LIQUIDS OR ELASTIC FLUIDS
- F04D—NON-POSITIVE-DISPLACEMENT PUMPS
- F04D29/00—Details, component parts, or accessories
- F04D29/58—Cooling; Heating; Diminishing heat transfer
- F04D29/582—Cooling; Heating; Diminishing heat transfer specially adapted for elastic fluid pumps
-
- F—MECHANICAL ENGINEERING; LIGHTING; HEATING; WEAPONS; BLASTING
- F04—POSITIVE - DISPLACEMENT MACHINES FOR LIQUIDS; PUMPS FOR LIQUIDS OR ELASTIC FLUIDS
- F04D—NON-POSITIVE-DISPLACEMENT PUMPS
- F04D29/00—Details, component parts, or accessories
- F04D29/66—Combating cavitation, whirls, noise, vibration or the like; Balancing
- F04D29/661—Combating cavitation, whirls, noise, vibration or the like; Balancing especially adapted for elastic fluid pumps
- F04D29/663—Sound attenuation
- F04D29/664—Sound attenuation by means of sound absorbing material
-
- G—PHYSICS
- G10—MUSICAL INSTRUMENTS; ACOUSTICS
- G10K—SOUND-PRODUCING DEVICES; METHODS OR DEVICES FOR PROTECTING AGAINST, OR FOR DAMPING, NOISE OR OTHER ACOUSTIC WAVES IN GENERAL; ACOUSTICS NOT OTHERWISE PROVIDED FOR
- G10K11/00—Methods or devices for transmitting, conducting or directing sound in general; Methods or devices for protecting against, or for damping, noise or other acoustic waves in general
- G10K11/16—Methods or devices for protecting against, or for damping, noise or other acoustic waves in general
- G10K11/162—Selection of materials
- G10K11/168—Plural layers of different materials, e.g. sandwiches
-
- B—PERFORMING OPERATIONS; TRANSPORTING
- B32—LAYERED PRODUCTS
- B32B—LAYERED PRODUCTS, i.e. PRODUCTS BUILT-UP OF STRATA OF FLAT OR NON-FLAT, e.g. CELLULAR OR HONEYCOMB, FORM
- B32B2307/00—Properties of the layers or laminate
- B32B2307/10—Properties of the layers or laminate having particular acoustical properties
- B32B2307/102—Insulating
Landscapes
- Engineering & Computer Science (AREA)
- Mechanical Engineering (AREA)
- General Engineering & Computer Science (AREA)
- Physics & Mathematics (AREA)
- Acoustics & Sound (AREA)
- Multimedia (AREA)
- Thermal Sciences (AREA)
- Structures Of Non-Positive Displacement Pumps (AREA)
Abstract
本申请涉及一种风机降噪结构,涉及风机降噪的技术领域,其包括轴流风机,轴流风机外围设置有用于降低轴流风机噪声的降噪结构,降噪结构底部固定连接有支撑结构,支撑结构内设置有用于降低轴流风机振动的减振结构,降噪结构包括吸收轴流风机噪声的吸声组件和反射轴流风机噪声的反声组件,吸声组件设置在反声组件内侧,吸声组件包括第一吸声层、第二吸声层和第三吸声层,第一吸声层设置在第二吸声层的内侧,第二吸声层设置在第三吸声层内侧,第一吸声层上开设有若干个吸声孔,所述第三吸声层由多块弧板组成,多块所述弧板间隔设置,且以第二吸声层为中心阵列式分布。本申请具有较小轴流风机噪音的效果。
The application relates to a fan noise reduction structure, and relates to the technical field of fan noise reduction. The support structure is provided with a vibration reduction structure for reducing the vibration of the axial flow fan. The noise reduction structure includes a sound absorption component for absorbing the noise of the axial flow fan and an anti-sound component for reflecting the noise of the axial flow fan. The sound absorption component is arranged inside the anti-sound component. , the sound-absorbing component includes a first sound-absorbing layer, a second sound-absorbing layer and a third sound-absorbing layer, the first sound-absorbing layer is arranged on the inner side of the second sound-absorbing layer, and the second sound-absorbing layer is arranged on the third sound-absorbing layer Inside, the first sound-absorbing layer is provided with a number of sound-absorbing holes, the third sound-absorbing layer is composed of a plurality of arc plates, and the plurality of arc plates are arranged at intervals, and the second sound-absorbing layer is the center of the array. distributed. The present application has the effect of reducing the noise of the axial flow fan.
Description
技术领域technical field
本申请涉及风机降噪的技术领域,尤其是涉及一种风机降噪结构。The present application relates to the technical field of fan noise reduction, and in particular, to a fan noise reduction structure.
背景技术Background technique
轴流风机,用途非常广泛,就是与风叶的轴同方向的气流,如电风扇,空调外机风扇就是轴流方式运行风机。之所以称为“轴流式”,是因为气体平行于风机轴流动。轴流式风机通常用在流量要求较高而压力要求较低的场合。轴流式风机固定位置并使空气移动。轴流风机主要由风机叶轮和机壳组成。Axial flow fans are very widely used, that is, the airflow in the same direction as the axis of the fan blades, such as electric fans, air conditioner outdoor fans are axial flow fans. It is called "axial flow" because the gas flows parallel to the fan axis. Axial flow fans are usually used in applications with high flow requirements and low pressure requirements. Axial fans fix the position and move the air. Axial fans are mainly composed of fan impeller and casing.
普通型轴流风机可用于一般工厂、仓库、办公室、住宅内等场所的通风换气,也可用于冷风机(空气冷却器)、蒸发器、冷凝器、喷雾降、等等,也有矿用轴流风机,轴流风机功率较大,导致轴流风机噪音比较大。Ordinary axial flow fans can be used for ventilation in general factories, warehouses, offices, residences, etc., and can also be used for air coolers (air coolers), evaporators, condensers, spray drops, etc. There are also mine shafts. The power of the axial flow fan is relatively large, resulting in a relatively large noise of the axial flow fan.
针对上述中的相关技术,发明人认为由于轴流风机的噪音比较大,导致对人们生产生活产生不良影响。In view of the above-mentioned related technologies, the inventor believes that due to the relatively large noise of the axial flow fan, it will cause adverse effects on people's production and life.
发明内容SUMMARY OF THE INVENTION
为了减小因轴流风机噪音较大对人们日常生活产生不良影响,本申请提供一种风机降噪结构。In order to reduce the adverse effects on people's daily life due to the high noise of the axial flow fan, the present application provides a noise reduction structure for a fan.
本本申请提供的一种风机降噪结构采用如下的技术方案:A fan noise reduction structure provided by the present application adopts the following technical solutions:
一种风机降噪结构,包括轴流风机,所述轴流风机外围设置有用于降低轴流风机噪声的降噪结构,所述降噪结构为筒状,所述降噪结构底部固定连接有支撑结构,所述支撑结构内设置有用于降低轴流风机振动的减振结构;A fan noise reduction structure, including an axial flow fan, a noise reduction structure for reducing the noise of the axial flow fan is arranged on the periphery of the axial flow fan, the noise reduction structure is cylindrical, and the bottom of the noise reduction structure is fixedly connected with a support The support structure is provided with a vibration damping structure for reducing the vibration of the axial flow fan;
所述降噪结构包括吸收轴流风机噪声的吸声组件和反射轴流风机噪声的反声组件,所述吸声组件设置在反声组件内侧。The noise reduction structure includes a sound absorption component for absorbing the noise of the axial flow fan and an anti-sound component for reflecting the noise of the axial flow fan, and the sound absorption component is arranged inside the anti-sound component.
通过采用上述技术方案,降噪结构用于降低轴流风机的噪音,支撑结构用于支撑轴流风机,减振结构用于减小轴流风机的振动,当轴流风机在工作时,其产生的噪音首先经过吸声组件对噪音进行吸收,穿过吸声组件的噪音被反声组件反射至吸声组件,吸声组件再次对反射回来的噪音进行二次吸收,这种方式依次形成对噪音进行吸收。By adopting the above technical solutions, the noise reduction structure is used to reduce the noise of the axial flow fan, the support structure is used to support the axial flow fan, and the vibration damping structure is used to reduce the vibration of the axial flow fan. The noise is first absorbed by the sound-absorbing component, the noise passing through the sound-absorbing component is reflected by the anti-sound component to the sound-absorbing component, and the sound-absorbing component re-absorbs the reflected noise again. to absorb.
优选的,所述吸声组件包括第一吸声层、第二吸声层和第三吸声层,所述第一吸声层设置在第二吸声层的内侧,所述第二吸声层设置在第三吸声层内侧。Preferably, the sound absorbing assembly includes a first sound absorbing layer, a second sound absorbing layer and a third sound absorbing layer, the first sound absorbing layer is arranged inside the second sound absorbing layer, and the second sound absorbing layer is The layer is arranged inside the third sound absorbing layer.
通过采用上述技术方案,第一吸声层首次对噪音进行吸收,第二吸声层对穿过第一吸声层的噪音进行吸收,第三吸声层对穿过第二吸声层的噪音进行吸收。By adopting the above technical solution, the first sound absorbing layer absorbs the noise for the first time, the second sound absorbing layer absorbs the noise passing through the first sound absorbing layer, and the third sound absorbing layer absorbs the noise passing through the second sound absorbing layer to absorb.
优选的,所述第一吸声层上开设有若干个吸声孔;所述第三吸声层由多块弧板组成,多块所述弧板沿第一吸声层的周向上间隔设置。Preferably, the first sound-absorbing layer is provided with a number of sound-absorbing holes; the third sound-absorbing layer is composed of a plurality of arc plates, and the plurality of the arc plates are arranged at intervals along the circumferential direction of the first sound-absorbing layer .
通过采用上述技术方案,吸声孔用于吸收噪音,噪音进入吸声孔后,声波在吸声孔侧壁上左右冲撞,声波的能量被逐渐消耗;当声波进入弧板之间时,声波在弧板的侧壁进行冲撞,声波的能量被逐步消耗,以实现对噪音的吸收。By adopting the above technical solution, the sound-absorbing holes are used to absorb noise. After the noise enters the sound-absorbing holes, the sound waves collide left and right on the side walls of the sound-absorbing holes, and the energy of the sound waves is gradually consumed; when the sound waves enter between the arc plates, the sound waves are The side wall of the arc plate collides, and the energy of the sound wave is gradually consumed to realize the absorption of noise.
优选的,所述反声组件包括第一反声层、第二反声层和第三反声层,所述第一反声层固定在第三吸声层外侧,所述第二反声层固定在第一反声层外侧,所述第三反声层固定在第二反声层外侧。Preferably, the anti-sound assembly includes a first anti-sound layer, a second anti-sound layer and a third anti-sound layer, the first anti-sound layer is fixed outside the third sound-absorbing layer, and the second anti-sound layer It is fixed on the outside of the first anti-sound layer, and the third anti-sound layer is fixed on the outside of the second anti-sound layer.
通过采用上述技术方案,第一反声层、第二反声层和第三反声层依次对穿过吸声组件的噪音进行反射,避免噪音穿过反声组件,实现反声组件具有较好的隔音效果。By adopting the above technical solution, the first anti-sound layer, the second anti-sound layer and the third anti-sound layer reflect the noise passing through the sound absorbing component in turn, so as to prevent the noise from passing through the anti-sound component, so as to realize that the anti-sound component has better sound quality. sound insulation effect.
优选的,所述支撑结构包括固定板和多个支撑座,所述固定板贴合设置在降噪结构底部,多个所述支撑座设置在固定板底部。Preferably, the support structure includes a fixed plate and a plurality of support seats, the fixed plate is arranged on the bottom of the noise reduction structure, and a plurality of the support seats are arranged on the bottom of the fixed plate.
通过采用上述技术方案,支撑座将固定板支撑起,固定板贴合在降噪结构的底部,使得固定板固定的具有较佳的牢固性。By adopting the above technical solution, the support seat supports the fixing plate, and the fixing plate is attached to the bottom of the noise reduction structure, so that the fixing plate has better firmness.
优选的,所述固定板内开设有多个凹槽;所述减振结构包括位于凹槽内的多个缓冲组件和缓冲板,多个所述缓冲组件固定连接,所述缓冲板位于相邻的缓冲组件之间。Preferably, a plurality of grooves are formed in the fixing plate; the damping structure includes a plurality of buffer assemblies and buffer plates located in the grooves, a plurality of the buffer assemblies are fixedly connected, and the buffer plates are located adjacent to each other. between the buffer components.
通过采用上述技术方案,缓冲组件对轴流风机产生的振动进行减弱,多个缓冲组件同时对轴流风机进行减振,提高减振效果。By adopting the above-mentioned technical solution, the buffer components attenuate the vibration generated by the axial flow fan, and the multiple buffer components simultaneously reduce the vibration of the axial flow fan, thereby improving the vibration reduction effect.
优选的,所述缓冲组件包括弹性件和限位轴,所述限位轴贯穿弹性件;所述凹槽的高度方向上的内壁上开设有滑槽;所述缓冲板上一体式连接有滑块,所述滑块滑动配合在滑槽内。Preferably, the buffer assembly includes an elastic member and a limit shaft, the limit shaft penetrates the elastic member; a sliding groove is formed on the inner wall of the groove in the height direction; the buffer plate is integrally connected with a sliding groove The sliding block is slidably fitted in the chute.
通过采用上述技术方案,弹性件用于减弱轴流风机的振动,限位轴将弹性件进行限定,滑块在滑槽内进行滑动,使得缓冲板在凹槽内的高度方向进行上下移动。By adopting the above technical solution, the elastic member is used to weaken the vibration of the axial flow fan, the limit shaft defines the elastic member, and the slider slides in the chute, so that the buffer plate moves up and down in the height direction of the groove.
优选的,所述降噪结构内设置有冷却轴流风机用的冷却结构。Preferably, the noise reduction structure is provided with a cooling structure for cooling the axial flow fan.
通过采用上述技术方案,冷却结构用于对降噪结构进行降温,进而对轴流风机进行间接降温。By adopting the above technical solution, the cooling structure is used to cool the noise reduction structure, thereby indirectly cooling the axial flow fan.
优选的,所述冷却结构包括进水管、第一冷却管、第二冷却管、第三冷却管、水箱和水泵,所述进水管一端与水泵连通,另一端与第一冷却管连通,所述第一冷却管贯穿第一吸声层与第二冷却管连通,所述第二冷却管贯穿第二吸声层与第三冷却管连通,所述第三冷却管贯穿第三吸声层与水箱连通。Preferably, the cooling structure includes a water inlet pipe, a first cooling pipe, a second cooling pipe, a third cooling pipe, a water tank and a water pump, one end of the water inlet pipe is communicated with the water pump, and the other end is communicated with the first cooling pipe. The first cooling pipe passes through the first sound absorption layer and communicates with the second cooling pipe, the second cooling pipe passes through the second sound absorption layer and communicates with the third cooling pipe, and the third cooling pipe passes through the third sound absorption layer and the water tank Connected.
通过采用上述技术方案,进水管将水流进第一冷却管,第一冷却管内的水对第一吸声层进行冷却,第一冷却管内的水流进第二冷却管,第二冷却管内的水对第二吸声层进行冷却,第二冷却管内的水流进第三冷却管,第三冷却管内的水对第三吸声层。By adopting the above technical solution, the water inlet pipe flows water into the first cooling pipe, the water in the first cooling pipe cools the first sound-absorbing layer, the water in the first cooling pipe flows into the second cooling pipe, and the water in the second cooling pipe The second sound absorption layer is cooled, the water in the second cooling pipe flows into the third cooling pipe, and the water in the third cooling pipe is directed to the third sound absorption layer.
优选的,所述轴流风机包括驱动电机、多个扇叶和多个固定杆,所述驱动电机通过多个固定杆固定在第一吸声层内侧,多个所述扇叶同轴固定在驱动电机的电机轴上。Preferably, the axial flow fan includes a driving motor, a plurality of fan blades and a plurality of fixing rods, the driving motor is fixed on the inner side of the first sound absorbing layer by the plurality of fixing rods, and the plurality of the fan blades are coaxially fixed on the inner side of the first sound absorbing layer. on the motor shaft of the drive motor.
通过采用上述技术方案,多个固定杆将驱动电机固定在第一吸声层内侧,驱动电机带动驱动电机轴转动,驱动电机的电机轴的转动带动扇叶进行转动。By adopting the above technical solution, a plurality of fixing rods fix the drive motor inside the first sound absorbing layer, the drive motor drives the drive motor shaft to rotate, and the rotation of the motor shaft of the drive motor drives the fan blades to rotate.
附图说明Description of drawings
图1是本申请实施例的结构示意图。FIG. 1 is a schematic structural diagram of an embodiment of the present application.
图2是本申请实施例的爆炸示意图。FIG. 2 is an exploded schematic diagram of an embodiment of the present application.
图3是本申请实施例的剖视图。FIG. 3 is a cross-sectional view of an embodiment of the present application.
图4为本申请实施例的部分爆炸示意图。FIG. 4 is a partial exploded schematic diagram of an embodiment of the present application.
图5为本申请实施例中减振结构的结构示意图。FIG. 5 is a schematic structural diagram of a vibration damping structure in an embodiment of the present application.
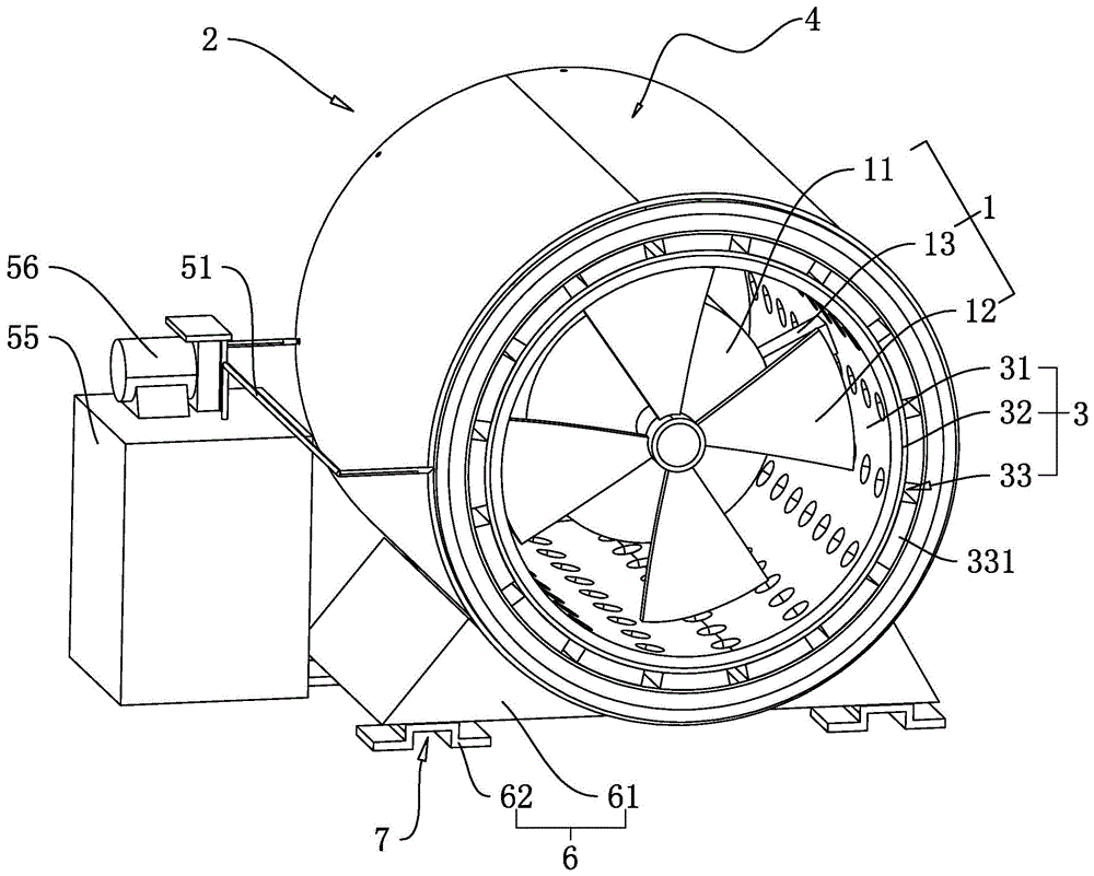
附图标记说明:1、轴流风机;11、驱动电机;12、扇叶;13、固定杆;2、降噪结构;3、吸声组件;31、第一吸声层;311、吸声孔;32、第二吸声层;33、第三吸声层;331、弧板;4、反声组件;41、第一反声层;42、第二反声层;43、第三反声层;5、冷却结构;51、进水管;52、第一冷却管;53、第二冷却管;54、第三冷却管;55、水箱;56、水泵;6、支撑结构;61、固定板;62、支撑座;63、凹槽;631、滑槽;7、减振结构;71、减振组件;711、弹性件;712、限位轴;72、缓冲板;721、滑块。Description of reference numerals: 1. Axial flow fan; 11. Drive motor; 12. Fan blade; 13. Fixed rod; 2. Noise reduction structure; 3. Sound-absorbing component; 31. First sound-absorbing layer; hole; 32, second sound absorption layer; 33, third sound absorption layer; 331, arc plate; 4, anti-sound assembly; 41, first anti-sound layer; 42, second anti-sound layer; 43, third anti-sound layer Acoustic layer; 5, cooling structure; 51, water inlet pipe; 52, first cooling pipe; 53, second cooling pipe; 54, third cooling pipe; 55, water tank; 56, water pump; 6, supporting structure; 61, fixing plate; 62, support seat; 63, groove; 631, chute; 7, damping structure; 71, damping assembly; 711, elastic part; 712, limit shaft; 72, buffer plate; 721, slider.
具体实施方式Detailed ways
以下结合附图1-5对本申请作进一步详细说明。The present application will be further described in detail below in conjunction with accompanying drawings 1-5.
本申请实施例公开一种风机降噪结构。参照图1和图2,风机降噪结构包括轴流风机1和降噪结构2,降噪结构2安装在轴流风机1的外围,降噪结构2底部焊接有支撑结构6,支撑结构6内设置有减振结构7,减振结构7用于降低轴流风机1的振动,降噪结构2内设置有冷却轴流风机1用的冷却结构5;轴流风机1运行产生的噪音,经过降噪结构2吸收和反射后,噪音被降低,减振结构7对轴流风机1因运行产生的振动进行减弱。The embodiment of the present application discloses a fan noise reduction structure. 1 and 2, the fan noise reduction structure includes an axial flow fan 1 and a
参照图1和图2,降噪结构2包括吸收轴流风机1噪声的吸声组件3和反射轴流风机1噪声的反声组件4,吸声组件3焊接在反声组件4内侧。1 and 2 , the
参照图1和图2,轴流风机1包括驱动电机11、多个扇叶12和多个固定杆13,驱动电机11通过多个固定杆13焊接在降噪结构2内侧,多个固定杆13焊接在驱动电机11的外围,多个扇叶12同轴焊接在驱动电机11的电机轴上,驱动电机11带动其电机轴转动,驱动电机11带动多个扇叶12转动。1 and 2 , the axial flow fan 1 includes a driving
参照图2和图3,吸声组件3包括第一吸声层31、第二吸声层32和第三吸声层33,第一吸声层31焊接在固定杆13外围,第一吸声层31为钢板,第二吸声层32为皮革,第三吸声层33为铝板,第一吸声层31胶接固定在第二吸声层32的内侧,第二吸声层32胶接固定在第三吸声层33内侧,第一吸声层31和第二吸声层32的横截面为圆环形,第二吸声层32的直径大于第一吸声层31;当驱动电机1产生噪音时,第一吸声层31对噪音进行首次吸收,第二吸声层32对穿过第一吸声层31的噪音进行吸收,第三吸声层33对穿过第二吸声层32的噪音进行吸收。2 and 3 , the
参照图2和图3,第一吸声层31上开设有若干个吸声孔311,若干个吸声孔311均匀的开设在第一吸声层31上,吸声孔311的外形为圆形;第三吸声层33由多块弧板331组成,第三吸声层33的长度方向与第一吸声层31轴向方向一致,多块弧板331间隔设置,且多块弧板331以第二吸声层32为中心阵列式分布。2 and 3, the first
参照图2和图3,反声组件4包括第一反声层41、第二反声层42和第三反声层43,第一反声层41为钢板,第二反声层42为铅板,第三反声层43为钢板,第一反声层41、第二反声层42和第三反声层43的横截面均为圆形,且第一反声层41、第二反声层42和第三反声层43的半径逐渐增大;第一反声层41通过焊接固定在第三吸声层33外侧,第二反声层42通过焊接固定在第一反声层41外侧,第三反声层43通过焊接固定在第二反声层42外侧。2 and 3, the
参照图1和图2,冷却结构5包括进水管51、第一冷却管52、第二冷却管53、第三冷却管54、水箱55和水泵56,水箱55放置在轴流风机1侧旁,水箱55为中空柱体,水泵56通过螺栓固定在水箱55顶端,水泵56通过水管与水箱55连通,进水管51一端与水泵56连通,另一端与第一冷却管52连通,第一冷却管52贯穿第一吸声层31与第二冷却管53连通,第一冷却管52沿第一吸声层31的轴向延伸,第二冷却管53贯穿第二吸声层32与第三冷却管54连通,第二冷却管53沿第二吸声层32轴向延伸,第三冷却管54贯穿第三吸声层33与水箱连通55,第三冷却管54沿第三吸声层33长度方向延伸,水泵56将水箱55内的水抽出,并将抽出的水流向进水管51,进水管51内的水依次流经第一冷却管52、第二冷却管53和第三冷却管54,最终,第三冷却管54内的水流到水箱55内,形成一个封闭的循环。1 and 2, the
参照图4和图5,支撑结构6包括固定板61和多个支撑座62,固定板61的顶面贴合通过焊接固定在降噪结构2的底部,固定板61内开设有多个凹槽63,多个凹槽63分布在固定板61的四角,多个支撑座62设置在固定板61底部,且支撑座62的数量与凹槽63的数量相等。4 and 5 , the
参照图4和图5,减振结构7包括位于凹槽63内的多个缓冲组件71和缓冲板72,多个缓冲组件71焊接固定,缓冲板72位于相邻的缓冲组件71之间。4 and 5 , the damping
参照图4和图5,缓冲组件71包括弹性件711和限位轴712,限位轴712贯穿弹性件711;凹槽63的高度方向上的内壁上开设有滑槽631;缓冲板72上一体式连接有滑块721,滑块721滑动配合在滑槽631内。4 and 5, the
本申请实施例一种风机降噪结构的实施原理为:首先,当轴流风机1工作时,轴流风机1产生的噪音依次被第一吸声层31、第二吸声层32和第三吸声层33吸收,未被吸声组件3吸收的噪音,依次被第一反声层41、第二反声层42和第三反声层43的噪音反射,噪音再次进入吸声组件3内,噪音再次被吸声组件3进行吸收,以此形成吸收噪音的循环。The implementation principle of a fan noise reduction structure in the embodiment of the present application is as follows: first, when the axial flow fan 1 is working, the noise generated by the axial flow fan 1 is sequentially absorbed by the first
以上均为本申请的较佳实施例,并非依此限制本申请的保护范围,故:凡依本申请的结构、形状、原理所做的等效变化,均应涵盖于本申请的保护范围之内。The above are all preferred embodiments of the present application, and are not intended to limit the protection scope of the present application. Therefore: all equivalent changes made according to the structure, shape and principle of the present application should be covered within the scope of the present application. Inside.
Claims (1)
Priority Applications (1)
| Application Number | Priority Date | Filing Date | Title |
|---|---|---|---|
| CN202011022300.1A CN112177984B (en) | 2020-09-25 | 2020-09-25 | A fan noise reduction structure |
Applications Claiming Priority (1)
| Application Number | Priority Date | Filing Date | Title |
|---|---|---|---|
| CN202011022300.1A CN112177984B (en) | 2020-09-25 | 2020-09-25 | A fan noise reduction structure |
Publications (2)
| Publication Number | Publication Date |
|---|---|
| CN112177984A CN112177984A (en) | 2021-01-05 |
| CN112177984B true CN112177984B (en) | 2022-07-01 |
Family
ID=73944997
Family Applications (1)
| Application Number | Title | Priority Date | Filing Date |
|---|---|---|---|
| CN202011022300.1A Active CN112177984B (en) | 2020-09-25 | 2020-09-25 | A fan noise reduction structure |
Country Status (1)
| Country | Link |
|---|---|
| CN (1) | CN112177984B (en) |
Families Citing this family (1)
| Publication number | Priority date | Publication date | Assignee | Title |
|---|---|---|---|---|
| CN119778294B (en) * | 2024-12-30 | 2026-01-13 | 广州森虎高分子材料有限公司 | Axial flow fan |
Family Cites Families (9)
| Publication number | Priority date | Publication date | Assignee | Title |
|---|---|---|---|---|
| JPS6438796A (en) * | 1987-08-04 | 1989-02-09 | Hitachi Plant Eng & Constr Co | Sound absorbing type silencer |
| CN103032381B (en) * | 2013-01-05 | 2015-09-02 | 华北电力大学(保定) | For reducing the casing of noise of axial flow fan |
| CN207961015U (en) * | 2018-03-12 | 2018-10-12 | 罗惠连 | A kind of air blower |
| CN108612569B (en) * | 2018-04-28 | 2020-12-11 | 江苏华强新能源科技有限公司 | Low-noise high-efficiency gas turbine exhaust system |
| CN210461187U (en) * | 2019-04-22 | 2020-05-05 | 深圳市闽泉实业发展有限公司 | Axial fan of shock attenuation low noise |
| CN210178616U (en) * | 2019-06-27 | 2020-03-24 | 泉州市驭盛通风空调装备有限公司 | Low-noise square wall type axial flow fan |
| CN110486282A (en) * | 2019-08-08 | 2019-11-22 | 安徽卧龙泵阀股份有限公司 | A kind of heat dissipation damping centrifugal pump |
| CN211059034U (en) * | 2019-08-20 | 2020-07-21 | 广州市泓建通风设备制造有限公司 | Pipeline fan convenient to installation just has structure of making an uproar of falling |
| CN211174807U (en) * | 2019-10-13 | 2020-08-04 | 安徽悦达环保科技有限公司 | Low-noise mixed flow ventilator |
-
2020
- 2020-09-25 CN CN202011022300.1A patent/CN112177984B/en active Active
Also Published As
| Publication number | Publication date |
|---|---|
| CN112177984A (en) | 2021-01-05 |
Similar Documents
| Publication | Publication Date | Title |
|---|---|---|
| CN211174807U (en) | Low-noise mixed flow ventilator | |
| CN112177984B (en) | A fan noise reduction structure | |
| CN216381902U (en) | Low-noise energy-saving mixed-flow fan | |
| CN216308261U (en) | Pneumatic collision heat generation high-temperature air heater | |
| WO2023103866A1 (en) | Pneumatic collision heat-generation high-temperature hot air fan | |
| CN209959496U (en) | Explosion-proof draw-out type axial-flow fan | |
| CN116928148B (en) | Energy-saving noise-reducing low-pressure fan | |
| KR20160115518A (en) | Turbo Blower Apparatus having Cooling Air Circulating Pipe | |
| CN210290281U (en) | Novel amortization shock attenuation fan | |
| CN218760335U (en) | Vibration/noise reduction air compressor | |
| CN207229331U (en) | A kind of overall-covering low-noise air compressor | |
| CN216842308U (en) | High noise reduction anti-vibration fan for high-altitude outdoor unit | |
| CN218644542U (en) | Centrifugal fan box | |
| CN214145805U (en) | A single cylinder air compressor | |
| CN220081789U (en) | Fan of shock attenuation amortization | |
| CN221857004U (en) | Screw air compressor noise reduction structure | |
| CN215672783U (en) | Low-noise industrial energy-saving fan | |
| JP2003343495A (en) | Noise reduction device for compressor unit | |
| CN215121730U (en) | Quiet energy-saving radiator | |
| CN212343538U (en) | Noise-reduction and heat-dissipation motor | |
| CN118499221B (en) | Oilless air compressor with mute structure | |
| CN212106385U (en) | A high-strength noise-reducing centrifugal fan | |
| CN221120464U (en) | Damping cooling fan | |
| CN219197742U (en) | High-efficient low noise centrifugal smoke exhaust fan | |
| CN119042100B (en) | Low-power-consumption noise reduction structure of air compressor |
Legal Events
| Date | Code | Title | Description |
|---|---|---|---|
| PB01 | Publication | ||
| PB01 | Publication | ||
| SE01 | Entry into force of request for substantive examination | ||
| SE01 | Entry into force of request for substantive examination | ||
| GR01 | Patent grant | ||
| GR01 | Patent grant | ||
| OL01 | Intention to license declared | ||
| OL01 | Intention to license declared |
