CN112155606B - 一种泌尿科用尿液采集杯辅助器 - Google Patents
一种泌尿科用尿液采集杯辅助器 Download PDFInfo
- Publication number
- CN112155606B CN112155606B CN202011059382.7A CN202011059382A CN112155606B CN 112155606 B CN112155606 B CN 112155606B CN 202011059382 A CN202011059382 A CN 202011059382A CN 112155606 B CN112155606 B CN 112155606B
- Authority
- CN
- China
- Prior art keywords
- frame
- collection cup
- tube
- urine collection
- adsorption
- Prior art date
- Legal status (The legal status is an assumption and is not a legal conclusion. Google has not performed a legal analysis and makes no representation as to the accuracy of the status listed.)
- Expired - Fee Related
Links
- 210000002700 urine Anatomy 0.000 title claims abstract description 30
- 238000001179 sorption measurement Methods 0.000 claims abstract description 38
- 238000007789 sealing Methods 0.000 claims description 10
- 230000007423 decrease Effects 0.000 claims 1
- 238000000034 method Methods 0.000 description 5
- 238000003466 welding Methods 0.000 description 4
- 230000000694 effects Effects 0.000 description 2
- 238000005728 strengthening Methods 0.000 description 2
- 230000009286 beneficial effect Effects 0.000 description 1
- 238000009535 clinical urine test Methods 0.000 description 1
- 230000003116 impacting effect Effects 0.000 description 1
- 239000007788 liquid Substances 0.000 description 1
- 230000035479 physiological effects, processes and functions Effects 0.000 description 1
- 239000011435 rock Substances 0.000 description 1
- 239000000126 substance Substances 0.000 description 1
- 230000002485 urinary effect Effects 0.000 description 1
Images
Classifications
-
- A—HUMAN NECESSITIES
- A61—MEDICAL OR VETERINARY SCIENCE; HYGIENE
- A61B—DIAGNOSIS; SURGERY; IDENTIFICATION
- A61B10/00—Instruments for taking body samples for diagnostic purposes; Other methods or instruments for diagnosis, e.g. for vaccination diagnosis, sex determination or ovulation-period determination; Throat striking implements
- A61B10/0045—Devices for taking samples of body liquids
- A61B10/007—Devices for taking samples of body liquids for taking urine samples
Landscapes
- Health & Medical Sciences (AREA)
- Life Sciences & Earth Sciences (AREA)
- Heart & Thoracic Surgery (AREA)
- Pathology (AREA)
- Engineering & Computer Science (AREA)
- Biomedical Technology (AREA)
- Hematology (AREA)
- Medical Informatics (AREA)
- Molecular Biology (AREA)
- Surgery (AREA)
- Animal Behavior & Ethology (AREA)
- General Health & Medical Sciences (AREA)
- Public Health (AREA)
- Veterinary Medicine (AREA)
- Accommodation For Nursing Or Treatment Tables (AREA)
Abstract
本发明一种泌尿科用尿液采集杯辅助器公开了一种通过吸附筒的负压吸附对采集杯进行稳定固定,无需患者手持采集杯进行采集的辅助器,其特征在于两个脚座分别置于连接杆的两端上,所述脚座为弧形座,两个所述脚座的弧形凹面相对,支撑架的一端和脚座相连接,所述支撑架的另一端向上延伸,所述支撑架底部置有导向槽,两个所述支撑架之间置有导向架,所述导向架位于支撑架上方,连接管套置于导向架中部,所述连接管的一端向下延伸,滑筒的一端套置于连接管的一端上,所述滑筒和连接管之间置有密封圈,所述滑筒的另一端向下延伸,滑杆和滑筒的另一端垂直连接。
Description
技术领域
本发明一种泌尿科用尿液采集杯辅助器涉及一种在泌尿科中使用的对男性患者的尿液采集杯进行辅助放置的辅助器,属于医疗设备领域。特别涉及一种通过吸附筒的负压吸附对采集杯进行稳定固定,无需患者手持采集杯进行采集的辅助器。
背景技术
目前,患者在进行泌尿科相关诊察时,经常需要进行尿液化验,而采集方式通常是患者拿着采集杯去卫生间进行采集,对于男性患者来说,由于其特殊的生理结构,在采尿过程中需要一手提拉裤子,另一只手来手持杯体进行采尿,较为不便,采集时容易污染到手部,同时由于采集杯本身的质地较软,属于一次性产品,患者在手持时杯体容易受尿液冲击力影响而产生晃动变形,很容易导致其内液体的溅洒,对周围环境和患者造成污染。
公告号CN209951302U公开了一种用于泌尿科尿液采集杯辅助装置,包括:上层环形架和底部环形架,底部环形架的上方垂直的焊接有三根长度相同的支撑杆,三个支撑杆的顶端与上层环形架的下方垂直焊接,底部环形架的内环面上焊接有三个结构长度相同的加强筋,三个加强筋的端部焊接有圆板,上层环形架的外环面上与拉杆的端部焊接固定,拉杆的另一端与环状结构架焊接固定,该辅助装置其在使用时需要人员进行手扶,对于男性患者来说较为不便,采集时极容易因对正不齐而造成尿液溅洒处杯体外。
发明内容
为了改善上述情况,本发明一种泌尿科用尿液采集杯辅助器提供了一种通过吸附筒的负压吸附对采集杯进行稳定固定,无需患者手持采集杯进行采集的辅助器。
本发明一种泌尿科用尿液采集杯辅助器是这样实现的:本发明一种泌尿科用尿液采集杯辅助器由放置架、吸附筒、波纹软管、旋钮、存放架、支撑架、踩踏杆、滑筒、连接杆、脚座、导向槽、导向架、连接管、弹簧、滑杆和密封圈组成,两个脚座分别置于连接杆的两端上,所述脚座为弧形座,两个所述脚座的弧形凹面相对,支撑架的一端和脚座相连接,所述支撑架的另一端向上延伸,所述支撑架底部置有导向槽,两个所述支撑架之间置有导向架,所述导向架位于支撑架上方,连接管套置于导向架中部,所述连接管的一端向下延伸,滑筒的一端套置于连接管的一端上,所述滑筒和连接管之间置有密封圈,所述滑筒的另一端向下延伸,滑杆和滑筒的另一端垂直连接,所述滑杆的两端分别延伸至两个导向槽内,所述导向槽内置有弹簧,所述弹簧的一端和导向槽槽壁相连接,所述弹簧的另一端和滑杆相连接,所述滑杆上置有踩踏杆,所述踩踏杆上置有防滑纹,所述连接管的另一端向上延伸,波纹管的一端套置于连接管的另一端上,所述滑杆上方设置有放置架,所述放置架的两端向下折弯,分别和两个支撑架的另一端可转动连接,且通过旋钮固定,所述放置架中部向下凹陷形成吸附筒,所述吸附筒底部和波纹管的另一端相连接,且相连通,所述吸附筒的直径从上向下逐渐减小,所述吸附筒内置有弹性垫,其中一个所述支撑架上置有存放架,所述支撑架为可伸缩结构。
有益效果。
一、无需患者手持采集杯进行采集,方便男性患者进行采集工作。
二、能够避免采集过程中采集杯受到冲击而产生的晃动,较为稳定的进行采集工作。
三、使用操作简单方便。
四、能够进行角度调节更换的进行采集工作。
附图说明
图1本发明一种泌尿科用尿液采集杯辅助器的结构示意图;
图2本发明一种泌尿科用尿液采集杯辅助器导向槽的结构示意图;
图3本发明一种泌尿科用尿液采集杯辅助器的立体结构图;
图4本发明一种泌尿科用尿液采集杯辅助器吸附筒的结构示意图;
图5本发明一种泌尿科用尿液采集杯辅助器滑筒的结构示意图。
附图中
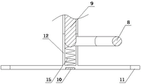
其中为:放置架(1),采集杯(2),吸附筒(3),波纹软管(4),旋钮(5),存放架(6),支撑架(7),踩踏杆(8),滑筒(9),连接杆(10),脚座(11),导向槽(12),导向架(13),连接管(14),弹簧(15),滑杆(16),真空槽(17),密封圈(18)。
具体实施方式:
本发明一种泌尿科用尿液采集杯辅助器是这样实现的:本发明一种泌尿科用尿液采集杯辅助器由放置架(1)、吸附筒(3)、波纹软管(4)、旋钮(5)、存放架(6)、支撑架(7)、踩踏杆(8)、滑筒(9)、连接杆(10)、脚座(11)、导向槽(12)、导向架(13)、连接管(14)、弹簧(15)、滑杆(16)和密封圈(18)组成,两个脚座(11)分别置于连接杆(10)的两端上,所述脚座(11)为弧形座,两个所述脚座(11)的弧形凹面相对,支撑架(7)的一端和脚座(11)相连接,所述支撑架(7)的另一端向上延伸,所述支撑架(7)底部置有导向槽(12),两个所述支撑架(7)之间置有导向架(13),所述导向架(13)位于支撑架(7)上方,连接管(14)套置于导向架(13)中部,所述连接管(14)的一端向下延伸,滑筒(9)的一端套置于连接管(14)的一端上,所述滑筒(9)和连接管(14)之间置有密封圈(18),所述滑筒(9)的另一端向下延伸,滑杆(16)和滑筒(9)的另一端垂直连接,所述滑杆(16)的两端分别延伸至两个导向槽(12)内,所述导向槽(12)内置有弹簧(15),所述弹簧(15)的一端和导向槽(12)槽壁相连接,所述弹簧(15)的另一端和滑杆(16)相连接,所述滑杆(16)上置有踩踏杆(8),所述踩踏杆(8)上置有防滑纹,所述连接管(14)的另一端向上延伸,波纹管的一端套置于连接管(14)的另一端上,所述滑杆(16)上方设置有放置架(1),所述放置架(1)的两端向下折弯,分别和两个支撑架(7)的另一端可转动连接,且通过旋钮(5)固定,所述放置架(1)中部向下凹陷形成吸附筒(3),所述吸附筒(3)底部和波纹管的另一端相连接,且相连通,所述吸附筒(3)的直径从上向下逐渐减小,所述吸附筒(3)内置有弹性垫,其中一个所述支撑架(7)上置有存放架(6),所述支撑架(7)为可伸缩结构;
使用时,将辅助器放置在卫生间内,在存放架(6)上放置采集杯(2),当男性患者需要进行尿液化验时,首先将采集杯(2)当值在吸附筒(3)内,此时采集杯(2)底部和吸附筒(3)之间形成真空槽(17),然后踩踏踩踏杆(8),使得滑杆(16)克服弹簧(15)的弹力下移,进而带动滑筒(9)下移,在下移过程中,滑筒(9)内空腔增大,由于连接管(14)内为密封结构,使得其内气压降低以此在吸附筒(3)的真空槽(17)内形成吸附,以此保证采集杯(2)被紧紧固定在吸附筒(3)上,同时患者拧松旋钮(5),转动放置架(1),使得采集杯(2)朝向患者方向,然后患者可以进行采集工作,无需患者手扶采集杯(2),方便男性患者进行采集工作,且吸附筒(3)能够对采集杯(2)进行吸附固定,避免采集过程中采集杯(2)受到冲击而产生的晃动,较为稳定的进行采集工作,使用安全卫生;
所述脚座(11)为弧形座,两个所述脚座(11)的弧形凹面相对的设计,使得辅助器整体放置稳定;
所述滑筒(9)和连接管(14)之间置有密封圈(18)的设计,使得滑筒(9)和连接管(14)之间密封性好,保证真空吸附的有效性;
所述踩踏杆(8)上置有防滑纹的设计,增大患者脚部和踩踏杆(8)之间的摩擦力,避免患者踩踏时打滑摔倒;
所述波纹管的设计,能够配合连接管(14)伸长以增大内部空腔面积,形成负压吸附,且能够配合放置架(1)的转动进行弯折,连接效果好;
所述吸附筒(3)的直径从上向下逐渐减小的设计,能够对不同尺寸的采集杯(2)进行放置,且放置方便;
所述吸附筒(3)内置有弹性垫的设计,能够对采集杯(2)杯壁挤压紧贴进行密封,形成的真空腔的密封效果好;
所述支撑架(7)为可伸缩结构的设计,能够调节支撑架(7)的高度,以适应不同患者的身高;
所述放置架(1)和支撑架(7)配合的设计,能够对采集杯(2)的朝向角度进行调节,方便患者使用;
踩踏踩踏杆(8),使得滑筒(9)下移,其内气压降低以此在吸附筒(3)的真空槽(17)内形成吸附的设计,能够保证采集杯(2)被紧紧固定在吸附筒(3)上,避免采集过程中采集杯(2)受到冲击而产生的晃动,较为稳定的进行采集工作,使用安全卫生;
达到通过吸附筒(3)的负压吸附对采集杯(2)进行稳定固定,无需患者手持采集杯(2)进行采集的目的。
Claims (9)
1.一种泌尿科用尿液采集杯辅助器,其特征是:两个脚座分别置于连接杆的两端上,支撑架的一端和脚座相连接,所述支撑架的另一端向上延伸,所述支撑架底部置有导向槽,两个所述支撑架之间置有导向架,所述导向架位于支撑架上方,连接管套置于导向架中部,所述连接管的一端向下延伸,滑筒的一端套置于连接管的一端上,所述滑筒的另一端向下延伸,滑杆和滑筒的另一端垂直连接,所述滑杆的两端分别延伸至两个导向槽内,所述导向槽内置有弹簧,所述弹簧的一端和导向槽槽壁相连接,所述弹簧的另一端和滑杆相连接,所述滑杆上置有踩踏杆,所述踩踏杆上置有防滑纹,所述连接管的另一端向上延伸,波纹管的一端套置于连接管的另一端上,所述滑杆上方设置有放置架,所述放置架的两端向下折弯,分别和两个支撑架的另一端可转动连接,且通过旋钮固定,所述放置架中部向下凹陷形成吸附筒,所述吸附筒底部和波纹管的另一端相连接,且相连通,其中一个所述支撑架上置有存放架。
2.根据权利要求1所述的一种泌尿科用尿液采集杯辅助器,其特征在于所述波纹管的设计,能够配合连接管伸长以增大内部空腔面积,形成负压吸附,且能够配合放置架的转动进行弯折。
3.根据权利要求1所述的一种泌尿科用尿液采集杯辅助器,其特征在于所述吸附筒的直径从上向下逐渐减小。
4.根据权利要求3所述的一种泌尿科用尿液采集杯辅助器,其特征在于所述吸附筒内置有弹性垫。
5.根据权利要求1所述的一种泌尿科用尿液采集杯辅助器,其特征在于所述放置架和支撑架配合的设计,能够对采集杯的朝向角度进行调节。
6.根据权利要求5所述的一种泌尿科用尿液采集杯辅助器,其特征在于所述支撑架为可伸缩结构。
7.根据权利要求1所述的一种泌尿科用尿液采集杯辅助器,其特征在于踩踏所述踩踏杆,使得滑筒下移,其内气压降低以此在吸附筒的真空槽内形成吸附的设计,能够保证采集杯被紧紧固定在吸附筒上,避免采集过程中采集杯受到冲击而产生的晃动,较为稳定的进行采集工作。
8.根据权利要求1所述的一种泌尿科用尿液采集杯辅助器,其特征在于所述滑筒和连接管之间置有密封圈。
9.根据权利要求1所述的一种泌尿科用尿液采集杯辅助器,其特征在于所述脚座为弧形座,两个所述脚座的弧形凹面相对。
Priority Applications (1)
| Application Number | Priority Date | Filing Date | Title |
|---|---|---|---|
| CN202011059382.7A CN112155606B (zh) | 2020-09-30 | 2020-09-30 | 一种泌尿科用尿液采集杯辅助器 |
Applications Claiming Priority (1)
| Application Number | Priority Date | Filing Date | Title |
|---|---|---|---|
| CN202011059382.7A CN112155606B (zh) | 2020-09-30 | 2020-09-30 | 一种泌尿科用尿液采集杯辅助器 |
Publications (2)
| Publication Number | Publication Date |
|---|---|
| CN112155606A CN112155606A (zh) | 2021-01-01 |
| CN112155606B true CN112155606B (zh) | 2022-11-22 |
Family
ID=73862235
Family Applications (1)
| Application Number | Title | Priority Date | Filing Date |
|---|---|---|---|
| CN202011059382.7A Expired - Fee Related CN112155606B (zh) | 2020-09-30 | 2020-09-30 | 一种泌尿科用尿液采集杯辅助器 |
Country Status (1)
| Country | Link |
|---|---|
| CN (1) | CN112155606B (zh) |
Family Cites Families (1)
| Publication number | Priority date | Publication date | Assignee | Title |
|---|---|---|---|---|
| CN211583244U (zh) * | 2019-08-17 | 2020-09-29 | 王彤 | 一种泌尿科用尿杯架 |
-
2020
- 2020-09-30 CN CN202011059382.7A patent/CN112155606B/zh not_active Expired - Fee Related
Also Published As
| Publication number | Publication date |
|---|---|
| CN112155606A (zh) | 2021-01-01 |
Similar Documents
| Publication | Publication Date | Title |
|---|---|---|
| CN103635173B (zh) | 床边尿壶用具 | |
| CN112155606B (zh) | 一种泌尿科用尿液采集杯辅助器 | |
| CN215899728U (zh) | 一种泌尿外科用尿液收集装置 | |
| CN213788437U (zh) | 一种临床妇科护理用接尿装置 | |
| CN211434377U (zh) | 一种积液抽取装置 | |
| CN210750556U (zh) | 一种医疗用肛肠外科清洗装置 | |
| CN215535024U (zh) | 一种呼吸科用伸缩式便捷医疗器械架 | |
| CN216456319U (zh) | 一种普外科创口清洗装置 | |
| CN222070153U (zh) | 一种基因检测用采集管 | |
| CN215021461U (zh) | 手术床托盘架 | |
| CN217525191U (zh) | 一种改进的脑脊液采集器 | |
| CN210812899U (zh) | 一种重症护理用废液收集装置 | |
| CN215386338U (zh) | 一种老年心血管内科引流支架 | |
| CN214911553U (zh) | 一种保健护理用清洗器 | |
| CN221672818U (zh) | 一种可调式引流瓶固定装置 | |
| CN211511839U (zh) | 一种盆底肌康复探头 | |
| CN219461410U (zh) | 一种超声科多用支架 | |
| CN213251857U (zh) | 一种骨科护理用清洗器 | |
| CN214633225U (zh) | 一种用于康复护理的辅助器具 | |
| CN212438680U (zh) | 一种泌尿科化验辅助装置 | |
| CN213698259U (zh) | 一种护理外科清洗装置 | |
| CN212817399U (zh) | 用于胸腔闭式引流的水封瓶固定装置 | |
| CN211235131U (zh) | 一种肾内科用导尿取样装置 | |
| CN219440209U (zh) | 一种中医外科用伤口清洗装置 | |
| CN213724297U (zh) | 吸痰导管固定器 |
Legal Events
| Date | Code | Title | Description |
|---|---|---|---|
| PB01 | Publication | ||
| PB01 | Publication | ||
| SE01 | Entry into force of request for substantive examination | ||
| SE01 | Entry into force of request for substantive examination | ||
| GR01 | Patent grant | ||
| GR01 | Patent grant | ||
| CF01 | Termination of patent right due to non-payment of annual fee | ||
| CF01 | Termination of patent right due to non-payment of annual fee |
Granted publication date: 20221122 |