CN112155466A - Novel closestool convenient for old people and pregnant women to sit up - Google Patents

Novel closestool convenient for old people and pregnant women to sit up Download PDF

Info

Publication number
CN112155466A
CN112155466A CN202011139558.XA CN202011139558A CN112155466A CN 112155466 A CN112155466 A CN 112155466A CN 202011139558 A CN202011139558 A CN 202011139558A CN 112155466 A CN112155466 A CN 112155466A
Authority
CN
China
Prior art keywords
pedal
support
sit
support rod
pregnant women
Prior art date
Legal status (The legal status is an assumption and is not a legal conclusion. Google has not performed a legal analysis and makes no representation as to the accuracy of the status listed.)
Granted
Application number
CN202011139558.XA
Other languages
Chinese (zh)
Other versions
CN112155466B (en
Inventor
王志芬
陈天聪
赵亚利
全赛
贾亚栋
杨俊红
杨冰莹
程达
范斌彬
齐志强
程元华
林朝阳
Current Assignee (The listed assignees may be inaccurate. Google has not performed a legal analysis and makes no representation or warranty as to the accuracy of the list.)
Xin Lian College Henan Normal University
Original Assignee
Xin Lian College Henan Normal University
Priority date (The priority date is an assumption and is not a legal conclusion. Google has not performed a legal analysis and makes no representation as to the accuracy of the date listed.)
Filing date
Publication date
Application filed by Xin Lian College Henan Normal University filed Critical Xin Lian College Henan Normal University
Priority to CN202011139558.XA priority Critical patent/CN112155466B/en
Publication of CN112155466A publication Critical patent/CN112155466A/en
Application granted granted Critical
Publication of CN112155466B publication Critical patent/CN112155466B/en
Active legal-status Critical Current
Anticipated expiration legal-status Critical

Links

Images

Classifications

    • AHUMAN NECESSITIES
    • A47FURNITURE; DOMESTIC ARTICLES OR APPLIANCES; COFFEE MILLS; SPICE MILLS; SUCTION CLEANERS IN GENERAL
    • A47KSANITARY EQUIPMENT NOT OTHERWISE PROVIDED FOR; TOILET ACCESSORIES
    • A47K17/00Other equipment, e.g. separate apparatus for deodorising, disinfecting or cleaning devices without flushing for toilet bowls, seats or covers; Holders for toilet brushes
    • A47K17/02Body supports, other than seats, for closets, e.g. handles, back-rests, foot-rests; Accessories for closets, e.g. reading tables
    • AHUMAN NECESSITIES
    • A47FURNITURE; DOMESTIC ARTICLES OR APPLIANCES; COFFEE MILLS; SPICE MILLS; SUCTION CLEANERS IN GENERAL
    • A47KSANITARY EQUIPMENT NOT OTHERWISE PROVIDED FOR; TOILET ACCESSORIES
    • A47K17/00Other equipment, e.g. separate apparatus for deodorising, disinfecting or cleaning devices without flushing for toilet bowls, seats or covers; Holders for toilet brushes
    • A47K17/02Body supports, other than seats, for closets, e.g. handles, back-rests, foot-rests; Accessories for closets, e.g. reading tables
    • A47K17/028Foot- or knee-rests
    • AHUMAN NECESSITIES
    • A47FURNITURE; DOMESTIC ARTICLES OR APPLIANCES; COFFEE MILLS; SPICE MILLS; SUCTION CLEANERS IN GENERAL
    • A47KSANITARY EQUIPMENT NOT OTHERWISE PROVIDED FOR; TOILET ACCESSORIES
    • A47K17/00Other equipment, e.g. separate apparatus for deodorising, disinfecting or cleaning devices without flushing for toilet bowls, seats or covers; Holders for toilet brushes
    • A47K17/02Body supports, other than seats, for closets, e.g. handles, back-rests, foot-rests; Accessories for closets, e.g. reading tables
    • A47K17/026Armrests mounted on or around the toilet
    • AHUMAN NECESSITIES
    • A47FURNITURE; DOMESTIC ARTICLES OR APPLIANCES; COFFEE MILLS; SPICE MILLS; SUCTION CLEANERS IN GENERAL
    • A47KSANITARY EQUIPMENT NOT OTHERWISE PROVIDED FOR; TOILET ACCESSORIES
    • A47K17/00Other equipment, e.g. separate apparatus for deodorising, disinfecting or cleaning devices without flushing for toilet bowls, seats or covers; Holders for toilet brushes
    • A47K2017/006Defecation help for disabled persons

Landscapes

  • Health & Medical Sciences (AREA)
  • Public Health (AREA)
  • Epidemiology (AREA)
  • General Health & Medical Sciences (AREA)
  • Rehabilitation Tools (AREA)
  • Toilet Supplies (AREA)

Abstract

本发明涉及卫生设备技术领域,具体涉及一种便于老人、孕妇起坐的新型马桶,包括马桶本体和设置在马桶本体底部的底座,所述马桶本体的侧面设置有辅助起坐机构,所述辅助起坐机构的上端与支撑座圈相连接,所述支撑座圈设置在马桶本体上,马桶本体的前端设置有升降踏板机构,所述辅助起坐机构和升降踏板机构均与控制组件相连接,所述控制组件设置在底座的内部,所述辅助起坐机构的上端连接有扶手,扶手上设置有控制器,所述控制器与控制组件连接。本发明解决了现有技术中老人、孕妇等群体在使用座式马桶时起坐不便以及使用座式马桶导致排便不畅的问题,使用方便。

Figure 202011139558

The invention relates to the technical field of sanitary equipment, in particular to a novel toilet that is convenient for the elderly and pregnant women to sit up, comprising a toilet body and a base arranged at the bottom of the toilet body, an auxiliary sitting-up mechanism is arranged on the side of the toilet body, and the auxiliary The upper end of the sit-up mechanism is connected with the support seat ring, the support seat ring is arranged on the toilet body, the front end of the toilet body is provided with a lifting pedal mechanism, and the auxiliary sitting-up mechanism and the lifting pedal mechanism are both connected with the control assembly, The control assembly is arranged inside the base, an armrest is connected to the upper end of the auxiliary sitting-up mechanism, a controller is arranged on the armrest, and the controller is connected with the control assembly. The invention solves the problems in the prior art that the elderly, pregnant women and other groups are inconvenient to sit up when using the seat-type toilet, and the use of the seat-type toilet causes poor defecation, and is convenient to use.

Figure 202011139558

Description

Novel closestool convenient for old people and pregnant women to sit up
Technical Field
The invention relates to the technical field of sanitary equipment, in particular to a novel closestool convenient for old people and pregnant women to sit up.
Background
Along with the improvement of the quality of life, people gradually change from squatting to more convenient and sanitary toilet seats, and the sitting toilet bowl also becomes sanitary equipment which can be installed by families. The sitting type closestool can provide support for the buttocks and the thighs of a user, the phenomenon of leg weakness or leg numbness caused by long squat is avoided, and the sitting type closestool is comfortable and convenient.
The high all fixed of seat formula closestool among the prior art, the closestool is fixed after the installation, and the user need sit on the closestool convenient, and at the convenient in-process of sitting down, the user need squat the height that adapts to the closestool down, but to the old person, pregnant woman or lumbar disc herniation patient etc. waist and leg strength weak, the action is comparatively inconvenient crowd, no matter from standing to sitting down conveniently, still from standing up from the closestool after the convenience all comparatively difficult, often need other people to join in marriage and support. For the special crowds, the nursing staff cannot follow the nursing staff and the nursing staff needs to stand up from a sitting posture, so that great difficulty is brought to toilet.
Simultaneously, when using seat formula closestool defecation, the rectum that human puborectalis can be dragged at the great degree leads to anorectal angle can be littleer, leads to the defecation difficulty, and the time has long will lead to constipation, influences healthyly.
The patent application No. 2016102171850 "a toilet bowl lift auxiliary device" has provided one kind and has adjusted link mechanism through drive arrangement, it removes to the auxiliary mechanism of suitable height to drive the toilet seat, but this kind of auxiliary mechanism is when using because user's the first half does not have the strong point, the user need press on link mechanism by the focus of standing the in-process health of sitting down, be difficult to keep balance, still there is certain safe risk to old person or pregnant woman, can not solve the problem that the defecation that uses toilet seat formula closestool to bring is unobstructed simultaneously.
Disclosure of Invention
In order to solve the problems that the old, the pregnant women and other groups cannot sit conveniently when using the sitting type closestool and the defecation is not smooth when using the sitting type closestool in the prior art, the invention provides the novel closestool which is convenient for the old and the pregnant women to sit.
The utility model provides a novel closestool convenient to old man, pregnant woman play and sit, includes closestool body and the base of setting in closestool body bottom, the side of closestool body is provided with supplementary seat of sitting the mechanism, the supplementary upper end of sitting the mechanism of sitting is connected with the support seat circle, the support seat circle sets up on the closestool body, and the front end of closestool body is provided with lift pedal mechanism, supplementary seat of sitting mechanism and lift pedal mechanism all are connected with control assembly, control assembly sets up the inside at the base, the supplementary upper end of sitting the mechanism of standing is connected with the handrail, is provided with the controller on the handrail, the controller is connected with control assembly.
Further, the base is hollow cuboid, and the base includes bottom plate and shell, supplementary mechanism, lift pedal mechanism and the control assembly of sitting up all set up on the bottom plate.
Furthermore, the auxiliary sitting mechanism comprises a front supporting rod, a rear supporting rod and an auxiliary supporting rod, the front supporting rod and the rear supporting rod are arranged in a crossed mode, the lower ends of the front supporting rod and the rear supporting rod are arranged at the front portion and the rear portion of the two sides of the bottom plate respectively through linear guide rail sleeving, the upper ends of the front supporting rod and the rear supporting rod are connected to the rear portion and the front portion of the supporting seat ring respectively in a rotating mode, the lower ends of the front supporting rod and the rear supporting rod on the two sides of the bottom plate are connected with the front supporting rod in a rotating mode, the lower ends of the rear supporting rod and the front connecting plate are connected with the rear connecting plate in a rotating mode, the front connecting plate and the rear connecting plate are rectangular plates, the front connecting plate and the rear.
Further, the lifting pedal mechanism comprises a fixed support, pedal supporting rods and a pedal plate, the fixed support is two vertically arranged rectangular plates, the fixed support is arranged on the side face of the linear guide rail set, the pedal supporting rods are arranged on two sides of the pedal plate in pairs, a connecting shaft is arranged between the pedal supporting rods on the two sides in a penetrating mode, the connecting shaft is horizontally arranged at the rear portion of the fixed support, an electric push rod is connected onto the connecting shaft, the electric push rod is arranged on the bottom plate, and the electric push rod is connected with the control assembly.
Further, the pedal support rods comprise two rod pieces which are arranged in a crossed mode, sliding grooves are formed in the rear portions of the fixed support and the pedal plate, the lower end of one pedal support rod is rotatably connected to the front portion of the fixed support, the upper end of the other pedal support rod slides in the sliding groove of the fixed support, the upper end of the other pedal support rod is rotatably connected to the front portion of the pedal plate, and two ends of the connecting shaft are respectively arranged at the lower ends of the pedal.
Furthermore, the middle part of the fixed support is provided with an elongated slot, and two ends of the front connecting plate respectively penetrate through the elongated slot to be connected with the linear guide rail in a sleeved mode.
Furthermore, a non-slip mat is arranged on the pedal plate.
Further, the control module is an STM32 singlechip.
Further, the handrail is including setting up the bracing piece in support seat circle both sides, the bracing piece is the open end of U-shaped and sets up forward, and the lower extreme of bracing piece is connected with the both sides of supporting the seat circle, the upper end is connected with the handle, the handle is the obtuse angle with the upper end of bracing piece, is provided with the rubber lag on hand.
Furthermore, the controller is arranged on the side face of the supporting rod, and an auxiliary sitting-up button, a pedal lifting button and an emergency help-seeking button are arranged on the controller.
Compared with the prior art, the invention has the beneficial effects that:
the invention comprises an auxiliary sitting-up mechanism, wherein the auxiliary sitting-up mechanism is connected with a supporting seat ring, and the angle and the height of the supporting seat ring are adjusted through the auxiliary sitting-up mechanism, so that the old and the pregnant women can conveniently sit up when using the closestool; the front end of the closestool body is provided with the lifting pedal mechanism, the height of the shank of a user can be adjusted through the lifting pedal mechanism when the user goes to the toilet, the pubic rectal muscle is ensured to be in a relaxed state, and defecation is facilitated; the upper end of the auxiliary sitting-up mechanism is connected with a handrail, so that a user can conveniently support and support the auxiliary sitting-up mechanism when sitting up, and the stability of the body is ensured; be provided with the controller on the handrail, the controller is connected with control assembly, conveniently adjusts.
The auxiliary sitting mechanism comprises a front supporting rod, a rear supporting rod and an auxiliary supporting rod, wherein the front supporting rod and the rear supporting rod are arranged in a crossed manner to ensure stable supporting; the front supporting rods on the two sides are connected through the front connecting plate, and the rear supporting rods are connected through the rear supporting rod, so that the two sides of the supporting seat ring can be driven to be synchronously adjusted, and the moving stability of the supporting seat ring is ensured; the front connecting plate and the rear connecting plate are connected with a stepping motor through a ball screw in a sleeved mode, so that adjustment is convenient; the lifting pedal mechanism comprises a fixed support, pedal supporting rods and a pedal plate, a connecting shaft is arranged between the pedal supporting frames, and an electric push rod is connected to the connecting shaft, so that the pedal supporting rods can be conveniently pushed to adjust the height of the pedal; the pedal is provided with an anti-slip pad to prevent the foot from slipping and falling; the handrail comprises a supporting rod and a handle, so that a user can conveniently support the handrail in the sitting process, support is provided, and the stability of the body is ensured.
Drawings
Fig. 1 is a schematic structural view of a novel closestool convenient for old people and pregnant women to sit up.
Fig. 2 is a schematic structural diagram of an auxiliary sitting-up mechanism of the novel closestool convenient for old people and pregnant women to sit up.
Fig. 3 is a schematic structural view of a lifting pedal mechanism of the novel closestool convenient for old people and pregnant women to sit up.
Fig. 4 is a first structural schematic diagram of the novel closestool convenient for old people and pregnant women to sit up.
Fig. 5 is a schematic structural diagram II of the novel closestool convenient for old people and pregnant women to sit up.
Fig. 6 is a third structural schematic diagram of the novel closestool convenient for old people and pregnant women to sit up.
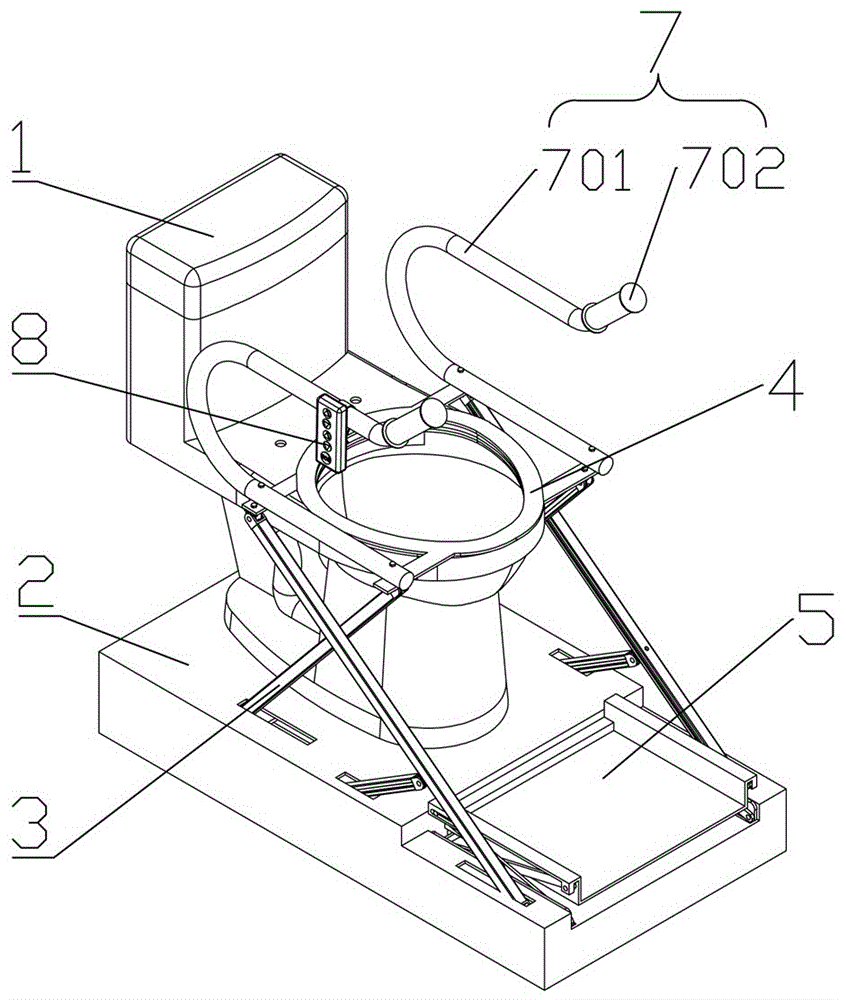
The reference numbers are: 1 is the closestool body, 2 is the base, 3 is supplementary mechanism of sitting up, 4 is the support seat circle, 5 is lift pedal mechanism, 6 is the control assembly, 7 is the handrail, 8 is the controller, 9 is the linear guide suit, 201 is the bottom plate, 301 is preceding bracing piece, 302 is the back bracing piece, 303 is the auxiliary stay, 304 is preceding connecting plate, 305 is the back connecting plate, 306 is the ball suit, 307 is step motor, 501 is the fixed bolster, 502 is the footboard bracing piece, 503 is the running-board, 504 is the connecting axle, 505 is electric putter, 701 is the bracing piece, 702 is the handle.
Detailed Description
The invention will be further explained with reference to the following figures and specific examples:
as shown in fig. 1 to 3, a novel toilet convenient for old people and pregnant women to sit up comprises a toilet body 1 and a base 2 arranged at the bottom of the toilet body 1, wherein the base 2 is hollow cuboid, the base 2 comprises a bottom plate 201 and a shell, an auxiliary sitting mechanism 3 is arranged on the side surface of the toilet body 1, the upper end of the auxiliary sitting mechanism 3 is connected with a support seat 4, the support seat 4 is arranged on the toilet body 1, a lifting pedal mechanism 5 is arranged at the front end of the toilet body 1, the auxiliary sitting mechanism 3 and the lifting pedal mechanism 5 are both connected with a control component 6, the control component 6 is an STM32 single chip microcomputer, the auxiliary sitting mechanism 3, the lifting pedal mechanism 5 and the control component 6 are all arranged on the bottom plate 201, the upper end of the auxiliary sitting mechanism 3 is connected with a handrail 7, the handrail 7 comprises support rods 701 arranged at two sides of the support seat 4, the utility model discloses a support seat circle 4, including bracing piece 701, support seat circle 4, handle 702, rubber lag, controller 8 and control assembly 6, specifically, controller 8 and control assembly 6 in this implementation are connected through bluetooth module, are provided with supplementary button, footboard lift button and the button of promptly seeking help on the controller 8, specifically, the button of promptly seeking help in this embodiment is connected with the alarm.
The auxiliary sitting-up mechanism 3 comprises a front supporting rod 301, a rear supporting rod 302 and an auxiliary supporting rod 303, wherein the front supporting rod 301 and the rear supporting rod 302 are arranged in a crossed manner, the lower ends of the front supporting rod 301 and the rear supporting rod 302 are respectively arranged at the front part and the rear part of the two sides of the bottom plate 201 through a linear guide rail suit 9, the upper ends of the front supporting rod 301 and the rear supporting rod 302 are respectively rotatably connected with the rear part and the front part of the supporting seat ring 4, specifically, the lower ends of the front supporting rod 301 and the rear supporting rod 302 in the embodiment are rotatably connected with a slide block of the linear guide rail suit 9, the lower end of the auxiliary supporting rod 303 is rotatably connected with the middle part and the upper end of the bottom plate 201 and is rotatably connected with the front supporting rod 301, the lower ends of the front supporting rod 301 at the two sides are connected through a front connecting plate 304, the lower end of the rear supporting rod 302 is connected with a rear connecting, the stepper motor 307 is connected to the control unit 6.
The lifting pedal mechanism 5 comprises a fixed support 501, pedal support rods 502 and a pedal plate 503, wherein the fixed support 501 is two vertically arranged rectangular plates, the fixed support 501 is arranged on the side surface of the linear guide rail suit 9, the pedal support rods 502 are arranged on two sides of the pedal plate 503 in pairs, the pedal support rods 502 comprise two cross-arranged rod pieces, specifically, the two rods in the embodiment are rotatably connected, sliding grooves are arranged on the fixed support 501 and the rear part of the pedal plate 503, the lower end of one pedal support rod 502 is rotatably connected to the front part of the fixed support 501, the upper end of the other pedal support rod 502 is slidably arranged in the sliding groove of the fixed support 501, the upper end of the other pedal support rod 502 is rotatably connected to the front part of the pedal plate 503, a connecting shaft 504 is arranged between the lower ends of the mutually parallel pedal support rods 502 on two sides in a penetrating manner, and the connecting shaft, an electric push rod 505 is connected to the connecting shaft 504, specifically, the electric push rod 505 in this embodiment is hinged to the connecting shaft 504, the electric push rod 505 is disposed on the bottom plate 201, and the electric push rod 505 is connected to the control assembly 6; the middle part of the fixed bracket 501 is provided with a long groove, two ends of the front connecting plate 304 respectively penetrate through the long groove to be connected with the linear guide rail suit 9, and the pedal 503 is provided with an anti-skid pad.
As shown in fig. 4-5, when the present invention is used, a user holds the handle 702 with both hands, adjusts the height and angle of the support seat ring 4 through the controller 8 on the side of the support rod 701, specifically, the user presses the auxiliary sitting button on the controller 8, the controller 8 sends an instruction for auxiliary standing, the wireless bluetooth module of the control assembly 6 receives the signal of the controller 8 and sends an action signal to drive the stepping motor 307 to work, the stepping motor 307 is connected with the ball screw assembly 306 through the coupler, the output end of the stepping motor 307 rotates to drive the ball screw assembly 301 to make linear motion, further drives the front connecting plate 304 and the rear connecting plate 305 to move along the direction of the linear guide assembly 9, the front connecting plate 304 and the rear connecting plate 305 are respectively connected with the lower ends of the front support rod 301 and the rear support rod 302 to rotate, and drive the front support rod 301 and the rear support rod 302 to move by adjusting the rotation speed and the forward and backward rotation of, finally, the adjustment of the support race 4 is achieved.
During use, the state of the supporting race 4 changes as follows:
1. from unloaded, horizontal to unloaded, inclined conditions
When the support seat ring 4 is not used, the support seat ring 4 is in an idle load and horizontal state, the horizontal height of the support seat ring 4 from the ground is 542mm, the height of the support seat ring from the pedal 503 is 450mm, the rotating speed of the motor is zero, and the distance between the sliding blocks sleeved by the two linear guide rails is 660 mm; when the seat support is used, a user presses an auxiliary sitting button of the controller 8, the stepping motor 307 rotates forwards at a rotating speed of 200r/min, the stepping motor 307 drives the sliding blocks of the linear guide rail suit 9 to move towards the direction of approaching each other through the front connecting plate 304 and the rear connecting plate 305, the moving speed is 33mm/s, the front supporting rod 301 and the rear supporting rod 302 rotate, at the moment, the distance between the lower ends of the front supporting rod 301 and the rear supporting rod 302 is reduced to 450mm, the height from the lower edge of the support seat ring 4 to the ground is 570mm, the height from the lower edge of the pedal 503 is 480mm, and the support seat ring 4 is in an unloaded and inclined state.
2. From the load, inclined state to the load, horizontal state
The user holds the handle 702 with both hands to place the gravity center of the body on the support seat ring 4, the support seat ring 4 is changed into a loaded and inclined state when having no load and inclination, then press the supplementary button of sitting up of controller 8, step motor 307 reversal and rotational speed are 120r/min, step motor 307 passes through front connecting plate 304 and back connecting plate 305 and drives the slider of linear guide suit 9 to the direction of keeping away from each other and move, the translation rate is 20mm/s, front support rod 301 and back support rod 302 rotate and drive support seat ring 4 to rotate, finally support seat ring 4 rotates to the load, the horizontality and is located the top of closestool body 1, the user sits on the closestool steadily, it is convenient to carry out, the horizontal height of support seat ring 4 this moment apart from ground is 542mm, the height apart from running-board 503 is 450mm, the motor speed is zero, the interval between the lower extreme of front support rod 301 and back support rod 302 is 600 mm.
3. From loaded, horizontal to loaded, inclined condition
When a user needs to get up after using the toilet, the auxiliary sitting-up button of the controller 8 is pressed, the stepping motor 307 rotates forwards and has a rotating speed of 120r/min, the stepping motor 307 drives the slider of the linear guide rail suit 9 to move towards the direction close to each other through the front connecting plate 304 and the rear connecting plate 305, the moving speed is 20mm/s, the front supporting rod 301 and the rear supporting rod 302 rotate and drive the supporting seat ring 4 to rotate, finally the supporting seat ring 4 rotates to a load and an inclined state, the height of the lower edge of the supporting seat ring 4 from the ground is 570mm, the height of the lower edge of the pedal 503 is 480mm, the rotating speed of the motor is zero, and the distance between the lower ends of the front supporting rod 301 and the rear supporting rod 302 is 450 mm.
4. From unloaded, inclined to unloaded, horizontal conditions
After the use is finished, a user rises up by holding the handle 702, the support seat ring 4 is changed into an idle load and inclined state, the user loosens the handle 702 and leaves the toilet body 1, the auxiliary sitting-up button of the controller 8 is pressed, the stepping motor 307 rotates reversely, the rotating speed drives the slider of the linear guide rail set 9 to move towards the direction away from each other through the front connecting plate 304 and the rear connecting plate 305, the front supporting rod 301 and the rear supporting rod 302 rotate and drive the support seat ring 4 to rotate, and finally the support seat ring 4 rotates to an idle load and horizontal state.
As shown in fig. 6, in the process of using the toilet, the user can adjust the height of the pedal 503 according to his/her own habit to adjust the sitting posture, specifically, the user presses the pedal lifting button on the controller 8, the wireless bluetooth module of the control component 6 receives the signal and transmits the action signal to the electric push rod 505, the output end of the electric push rod 505 extends out to drive the rotating shaft 504 connected with the rotating shaft in a hinged manner to move, two ends of the rotating shaft 504 are disposed in the sliding slot at the rear of the fixing bracket 501 and connected with the lower end of the pedal support rod 502, the rotating shaft 504 makes a linear motion in the sliding slot to drive the pedal support rods 502 at two sides to make a planar motion, the pedal support rods 502 at two sides drive the pedal 503 to move during the motion, and finally, the height of the pedal 503 can be adjusted to adjust the sitting posture, specifically, the extension range of the electric push rod 505 in this embodiment, the height between the pedal 503 and the base 2 is 0-150 mm.
When a user needs to call for help in an emergency situation in the using process, the user presses an emergency call button on the controller 8, and the alarm gives an alarm to remind nearby people to rescue.
The above-described embodiments are merely preferred embodiments of the present invention, and not intended to limit the scope of the invention, so that equivalent changes or modifications in the structure, features and principles described in the present invention should be included in the claims of the present invention.

Claims (10)

1. A novel closestool convenient for old people and pregnant women to sit up comprises a closestool body (1) and a base (2) arranged at the bottom of the closestool body (1), it is characterized in that the side surface of the closestool body (1) is provided with an auxiliary sitting-up mechanism (3), the upper end of the auxiliary sitting mechanism (3) is connected with a supporting seat ring (4), the supporting seat ring (4) is arranged on the closestool body (1), the front end of the closestool body (1) is provided with a lifting pedal mechanism (5), the auxiliary sitting-up mechanism (3) and the lifting pedal mechanism (5) are both connected with the control component (6), the control assembly (6) is arranged inside the base (2), the upper end of the auxiliary sitting mechanism (3) is connected with a handrail (7), a controller (8) is arranged on the handrail (7), and the controller (8) is connected with the control assembly (6).
2. The novel closestool convenient for old people and pregnant women to sit up as claimed in claim 1, wherein the base (2) is hollow and cuboid, the base (2) comprises a bottom plate (201) and a shell, and the auxiliary sitting-up mechanism (3), the lifting pedal mechanism (5) and the control component (6) are all arranged on the bottom plate (201).
3. The novel toilet convenient for old people and pregnant women to sit up as claimed in claim 2, wherein the auxiliary sitting mechanism (3) comprises a front support rod (301), a rear support rod (302) and an auxiliary support rod (303), the front support rod (301) and the rear support rod (302) are arranged in a cross manner, the lower ends of the front support rod (301) and the rear support rod (302) are respectively arranged at the front part and the rear part of the two sides of the bottom plate (201) through a linear guide rail set (9), the upper ends of the front support rod (301) and the rear support rod (302) are respectively connected with the rear part and the front part of the support seat ring (4) in a rotating manner, the lower end of the auxiliary support rod (303) is rotatably connected with the middle part and the upper end of the bottom plate (201) and is rotatably connected with the front support rod (301), the lower ends of the front support rod (301) at the two sides are connected through a front connecting plate (304), the lower end of the rear support rod (302) is connected with a, the front connecting plate (304) and the rear connecting plate (305) are respectively connected with a stepping motor (307) through a ball screw sleeve (306), and the stepping motor (307) is connected with the control component (6).
4. The novel closestool convenient for old people and pregnant women to sit up as claimed in claim 3, wherein the lifting pedal mechanism (5) comprises a fixing support (501), pedal supporting rods (502) and a pedal plate (503), the fixing support (501) is two vertically arranged rectangular plates, the fixing support (501) is arranged on the side surface of the linear guide rail suit (9), the pedal supporting rods (502) are arranged on two sides of the pedal plate (503) in pairs, a connecting shaft (504) penetrates through the pedal supporting rods (502) on the two sides, the connecting shaft (504) is horizontally arranged at the rear part of the fixing support (501), an electric push rod (505) is connected onto the connecting shaft (504), the electric push rod (505) is arranged on the bottom plate (201), and the electric push rod (505) is connected with the control component (6).
5. The novel closestool convenient for old people and pregnant women to sit up as claimed in claim 4, wherein the pedal support rods (502) comprise two rod pieces which are arranged in a crossed manner, sliding grooves are formed in the rear portions of the fixing support (501) and the pedal plate (503), the lower end of one pedal support rod (502) is rotatably connected to the front portion of the fixing support (501), the upper end of the other pedal support rod (502) slides in the sliding groove of the fixing support (501), the upper end of the other pedal support rod (502) is rotatably connected to the front portion of the pedal plate (503), and two ends of the connecting shaft (504) are respectively penetrated through the lower ends of the pedal support rods (502) which are parallel to each other at two sides.
6. The novel closestool convenient for old people and pregnant women to sit up as claimed in claim 4, wherein the middle part of the fixing bracket (501) is provided with a long groove, and two ends of the front connecting plate (304) are respectively connected with the linear guide rail set (9) through the long groove.
7. The novel closestool for the aged and the pregnant women to sit up as claimed in claim 4, wherein the pedal (503) is provided with a non-slip pad.
8. The novel toilet convenient for old people and pregnant women to sit up as claimed in claim 1, wherein the control assembly (6) is an STM32 single chip microcomputer.
9. The novel closestool convenient for old people and pregnant women to sit up as claimed in claim 1, wherein the armrest (7) comprises support rods (701) arranged on two sides of the support seat ring (4), the support rods (701) are U-shaped, the open ends of the U-shaped support rods are arranged towards the front, the lower ends of the support rods (701) are connected with two sides of the support seat ring (4), the upper ends of the support rods are connected with handles (702), the handles (702) and the upper ends of the support rods (701) form an obtuse angle, and rubber protective sleeves are arranged on the handles (702).
10. The novel closestool convenient for old people and pregnant women to sit up as claimed in claim 9, wherein the controller (8) is arranged on the side of the support rod (701), and the controller (8) is provided with an auxiliary sitting-up button, a pedal lifting button and an emergency help-seeking button.
CN202011139558.XA 2020-10-22 2020-10-22 Novel closestool convenient for old people and pregnant women to sit up Active CN112155466B (en)

Priority Applications (1)

Application Number Priority Date Filing Date Title
CN202011139558.XA CN112155466B (en) 2020-10-22 2020-10-22 Novel closestool convenient for old people and pregnant women to sit up

Applications Claiming Priority (1)

Application Number Priority Date Filing Date Title
CN202011139558.XA CN112155466B (en) 2020-10-22 2020-10-22 Novel closestool convenient for old people and pregnant women to sit up

Publications (2)

Publication Number Publication Date
CN112155466A true CN112155466A (en) 2021-01-01
CN112155466B CN112155466B (en) 2025-07-18

Family

ID=73866022

Family Applications (1)

Application Number Title Priority Date Filing Date
CN202011139558.XA Active CN112155466B (en) 2020-10-22 2020-10-22 Novel closestool convenient for old people and pregnant women to sit up

Country Status (1)

Country Link
CN (1) CN112155466B (en)

Cited By (4)

* Cited by examiner, † Cited by third party
Publication number Priority date Publication date Assignee Title
CN113057512A (en) * 2021-03-23 2021-07-02 西京学院 A crank-type squat-up aid device and toilet
CN113323094A (en) * 2021-06-03 2021-08-31 江西应用科技学院 Intelligent toilet device and health data monitoring and early warning method
CN113384181A (en) * 2021-07-02 2021-09-14 游爱斌 Closestool for apartment for old age with supplementary function of standing
CN114532885A (en) * 2022-02-24 2022-05-27 广州大学 A smart old-age chair

Citations (12)

* Cited by examiner, † Cited by third party
Publication number Priority date Publication date Assignee Title
GB1025248A (en) * 1963-05-19 1966-04-06 Ass Portland Cement A method of crushing and crushing apparatus therefor
KR20050055170A (en) * 2003-12-05 2005-06-13 김정식 Chairs for exercise
CN205697513U (en) * 2016-04-08 2016-11-23 高峰 A kind of toilet seat auxiliary lifting device
CN207886160U (en) * 2017-11-24 2018-09-21 天津九安医疗电子股份有限公司 One kind having helped Bowl bracket
CN109674383A (en) * 2019-02-20 2019-04-26 吉林大学 A kind of electronic auxiliary Bowl bracket
CN110151044A (en) * 2019-07-03 2019-08-23 宁波工程学院 An assisting device for sitting and getting up
CN110250981A (en) * 2019-07-19 2019-09-20 苏州市升乐迪机械科技有限公司 A safe and comfortable toilet auxiliary lifting device
WO2019196146A1 (en) * 2018-04-13 2019-10-17 陶国民 Multifunctional wheelchair
CN210055862U (en) * 2019-03-29 2020-02-14 河北工业职业技术学院 Toilet auxiliary device
CN110801174A (en) * 2019-11-06 2020-02-18 佛山市顺德区孝德嘉医疗科技有限公司 Intelligent toilet training aid
CN211093699U (en) * 2019-07-30 2020-07-28 河北工业职业技术学院 Auxiliary standing device for toilet
CN214259163U (en) * 2020-10-22 2021-09-24 河南师范大学新联学院 Novel closestool convenient for old people and pregnant women to sit up

Patent Citations (12)

* Cited by examiner, † Cited by third party
Publication number Priority date Publication date Assignee Title
GB1025248A (en) * 1963-05-19 1966-04-06 Ass Portland Cement A method of crushing and crushing apparatus therefor
KR20050055170A (en) * 2003-12-05 2005-06-13 김정식 Chairs for exercise
CN205697513U (en) * 2016-04-08 2016-11-23 高峰 A kind of toilet seat auxiliary lifting device
CN207886160U (en) * 2017-11-24 2018-09-21 天津九安医疗电子股份有限公司 One kind having helped Bowl bracket
WO2019196146A1 (en) * 2018-04-13 2019-10-17 陶国民 Multifunctional wheelchair
CN109674383A (en) * 2019-02-20 2019-04-26 吉林大学 A kind of electronic auxiliary Bowl bracket
CN210055862U (en) * 2019-03-29 2020-02-14 河北工业职业技术学院 Toilet auxiliary device
CN110151044A (en) * 2019-07-03 2019-08-23 宁波工程学院 An assisting device for sitting and getting up
CN110250981A (en) * 2019-07-19 2019-09-20 苏州市升乐迪机械科技有限公司 A safe and comfortable toilet auxiliary lifting device
CN211093699U (en) * 2019-07-30 2020-07-28 河北工业职业技术学院 Auxiliary standing device for toilet
CN110801174A (en) * 2019-11-06 2020-02-18 佛山市顺德区孝德嘉医疗科技有限公司 Intelligent toilet training aid
CN214259163U (en) * 2020-10-22 2021-09-24 河南师范大学新联学院 Novel closestool convenient for old people and pregnant women to sit up

Cited By (7)

* Cited by examiner, † Cited by third party
Publication number Priority date Publication date Assignee Title
CN113057512A (en) * 2021-03-23 2021-07-02 西京学院 A crank-type squat-up aid device and toilet
CN113057512B (en) * 2021-03-23 2023-08-08 西京学院 Crank type squatting and sitting body lifting auxiliary device and closestool
CN113323094A (en) * 2021-06-03 2021-08-31 江西应用科技学院 Intelligent toilet device and health data monitoring and early warning method
CN113323094B (en) * 2021-06-03 2023-06-20 江西应用科技学院 Intelligent toilet device and health data monitoring and early warning method
CN113384181A (en) * 2021-07-02 2021-09-14 游爱斌 Closestool for apartment for old age with supplementary function of standing
CN113384181B (en) * 2021-07-02 2023-01-13 浙江摩尔舒智能卫浴有限公司 Closestool for apartment for old age with supplementary function of standing
CN114532885A (en) * 2022-02-24 2022-05-27 广州大学 A smart old-age chair

Also Published As

Publication number Publication date
CN112155466B (en) 2025-07-18

Similar Documents

Publication Publication Date Title
CN112155466A (en) Novel closestool convenient for old people and pregnant women to sit up
CN211093699U (en) Auxiliary standing device for toilet
TWI693933B (en) Multifunctional wheelchair
CN210728175U (en) Multifunctional mobility chair
CN110063848A (en) A kind of old man goes to the toilet wheelchair
KR102423485B1 (en) Auto lifting-moving chair apparatus for parapiegic capable of lifting and moving
WO2016058418A1 (en) Chair capable of strengthening and massaging
CN110876662A (en) Wheelchair convenient to get up and using method
CN214259163U (en) Novel closestool convenient for old people and pregnant women to sit up
CN112972141A (en) Sit and stand conversion training auxiliary device
CN112369849A (en) Inclined push type multifunctional chair for old people
CN211834166U (en) Slide rail type power-assisted toilet chair
CN218923020U (en) Novel transfer wheelchair
CN216294469U (en) Electric power-assisted chair capable of moving and lifting
CN116158917A (en) Multifunctional transposition wheelchair
CN212415589U (en) A mobile toilet for the elderly
CN211461960U (en) Exercise device for nursing of old people
CN112826672A (en) Adjustable new wheelchair
CN220309306U (en) Cerebral palsy child rehabilitation equipment
CN210991243U (en) A multifunctional chair for assisting sitting up
CN219272076U (en) Feiyan type waist and back exerciser
WO2016058419A1 (en) Multi-functional chair
CN215273984U (en) Safe type old man nurses locomotive
CN221672373U (en) Intelligent sitting-up aid
JPH11226060A (en) Bed for supporting care

Legal Events

Date Code Title Description
PB01 Publication
PB01 Publication
SE01 Entry into force of request for substantive examination
SE01 Entry into force of request for substantive examination
GR01 Patent grant
GR01 Patent grant