CN112154899A - Agricultural irrigation and drainage facilities - Google Patents

Agricultural irrigation and drainage facilities Download PDF

Info

Publication number
CN112154899A
CN112154899A CN202010883992.2A CN202010883992A CN112154899A CN 112154899 A CN112154899 A CN 112154899A CN 202010883992 A CN202010883992 A CN 202010883992A CN 112154899 A CN112154899 A CN 112154899A
Authority
CN
China
Prior art keywords
irrigation
drainage
water tank
water
tank
Prior art date
Legal status (The legal status is an assumption and is not a legal conclusion. Google has not performed a legal analysis and makes no representation as to the accuracy of the status listed.)
Pending
Application number
CN202010883992.2A
Other languages
Chinese (zh)
Inventor
胡月英
汤文成
Current Assignee (The listed assignees may be inaccurate. Google has not performed a legal analysis and makes no representation or warranty as to the accuracy of the list.)
Anhui University of Science and Technology
Original Assignee
Anhui University of Science and Technology
Priority date (The priority date is an assumption and is not a legal conclusion. Google has not performed a legal analysis and makes no representation as to the accuracy of the date listed.)
Filing date
Publication date
Application filed by Anhui University of Science and Technology filed Critical Anhui University of Science and Technology
Priority to CN202010883992.2A priority Critical patent/CN112154899A/en
Publication of CN112154899A publication Critical patent/CN112154899A/en
Pending legal-status Critical Current

Links

Images

Classifications

    • AHUMAN NECESSITIES
    • A01AGRICULTURE; FORESTRY; ANIMAL HUSBANDRY; HUNTING; TRAPPING; FISHING
    • A01GHORTICULTURE; CULTIVATION OF VEGETABLES, FLOWERS, RICE, FRUIT, VINES, HOPS OR SEAWEED; FORESTRY; WATERING
    • A01G25/00Watering gardens, fields, sports grounds or the like
    • A01G25/02Watering arrangements located above the soil which make use of perforated pipe-lines or pipe-lines with dispensing fittings, e.g. for drip irrigation
    • AHUMAN NECESSITIES
    • A01AGRICULTURE; FORESTRY; ANIMAL HUSBANDRY; HUNTING; TRAPPING; FISHING
    • A01MCATCHING, TRAPPING OR SCARING OF ANIMALS; APPARATUS FOR THE DESTRUCTION OF NOXIOUS ANIMALS OR NOXIOUS PLANTS
    • A01M7/00Special adaptations or arrangements of liquid-spraying apparatus for purposes covered by this subclass
    • A01M7/0025Mechanical sprayers
    • AHUMAN NECESSITIES
    • A01AGRICULTURE; FORESTRY; ANIMAL HUSBANDRY; HUNTING; TRAPPING; FISHING
    • A01MCATCHING, TRAPPING OR SCARING OF ANIMALS; APPARATUS FOR THE DESTRUCTION OF NOXIOUS ANIMALS OR NOXIOUS PLANTS
    • A01M7/00Special adaptations or arrangements of liquid-spraying apparatus for purposes covered by this subclass
    • A01M7/005Special arrangements or adaptations of the spraying or distributing parts, e.g. adaptations or mounting of the spray booms, mounting of the nozzles, protection shields
    • BPERFORMING OPERATIONS; TRANSPORTING
    • B01PHYSICAL OR CHEMICAL PROCESSES OR APPARATUS IN GENERAL
    • B01DSEPARATION
    • B01D29/00Filters with filtering elements stationary during filtration, e.g. pressure or suction filters, not covered by groups B01D24/00 - B01D27/00; Filtering elements therefor
    • B01D29/01Filters with filtering elements stationary during filtration, e.g. pressure or suction filters, not covered by groups B01D24/00 - B01D27/00; Filtering elements therefor with flat filtering elements
    • B01D29/03Filters with filtering elements stationary during filtration, e.g. pressure or suction filters, not covered by groups B01D24/00 - B01D27/00; Filtering elements therefor with flat filtering elements self-supporting
    • BPERFORMING OPERATIONS; TRANSPORTING
    • B01PHYSICAL OR CHEMICAL PROCESSES OR APPARATUS IN GENERAL
    • B01FMIXING, e.g. DISSOLVING, EMULSIFYING OR DISPERSING
    • B01F27/00Mixers with rotary stirring devices in fixed receptacles; Kneaders
    • B01F27/80Mixers with rotary stirring devices in fixed receptacles; Kneaders with stirrers rotating about a substantially vertical axis
    • B01F27/90Mixers with rotary stirring devices in fixed receptacles; Kneaders with stirrers rotating about a substantially vertical axis with paddles or arms 
    • EFIXED CONSTRUCTIONS
    • E02HYDRAULIC ENGINEERING; FOUNDATIONS; SOIL SHIFTING
    • E02BHYDRAULIC ENGINEERING
    • E02B11/00Drainage of soil, e.g. for agricultural purposes

Landscapes

  • Life Sciences & Earth Sciences (AREA)
  • Engineering & Computer Science (AREA)
  • Environmental Sciences (AREA)
  • Zoology (AREA)
  • General Engineering & Computer Science (AREA)
  • Insects & Arthropods (AREA)
  • Pest Control & Pesticides (AREA)
  • Wood Science & Technology (AREA)
  • Chemical & Material Sciences (AREA)
  • Chemical Kinetics & Catalysis (AREA)
  • Mechanical Engineering (AREA)
  • Agronomy & Crop Science (AREA)
  • Civil Engineering (AREA)
  • Structural Engineering (AREA)
  • Soil Sciences (AREA)
  • Water Supply & Treatment (AREA)
  • Catching Or Destruction (AREA)

Abstract

本发明公开了农业灌溉和排涝设施,涉及农业灌溉领域,为解决现有技术中的现有的农业灌溉、排涝设备功能性不佳,使用不便的问题。所述灌溉装置外壳的下方两侧均安装有支撑架,所述支撑架之间的下方安装有第一电动缸,所述第一电动缸的两端均通过连接轴与支撑架转动连接,所述支撑架的下方安装有滚轮,所述滚轮的一侧安装有限位支架,所述限位支架的一侧安装有第二电动缸,所述第二电动缸的一侧安装有连接耳,所述灌溉装置外壳的内部安装有灌溉水箱,所述排涝装置外壳的内部安装有排涝水箱,所述灌溉水箱的内部安装有搅拌桨,所述排涝水箱的内部安装有过滤板,所述过滤板的内部安装有螺纹丝杠。

Figure 202010883992

The invention discloses agricultural irrigation and waterlogging drainage facilities, relates to the field of agricultural irrigation, and solves the problems of poor functionality and inconvenient use of the existing agricultural irrigation and waterlogging drainage equipment in the prior art. A support frame is installed on both sides of the lower part of the casing of the irrigation device, a first electric cylinder is installed below between the support frames, and both ends of the first electric cylinder are rotatably connected to the support frame through a connecting shaft, so A roller is installed under the support frame, a limit bracket is installed on one side of the roller, a second electric cylinder is installed on one side of the limit bracket, and a connecting ear is installed on one side of the second electric cylinder, so An irrigation water tank is installed inside the casing of the irrigation device, a drainage water tank is installed inside the casing of the drainage device, a stirring paddle is installed inside the irrigation water tank, a filter plate is installed inside the drainage water tank, and the filter plate is A threaded lead screw is installed inside.

Figure 202010883992

Description

Agricultural irrigation and drainage facilities
Technical Field
The invention relates to the technical field of agricultural irrigation, in particular to an agricultural irrigation and waterlogging drainage facility.
Background
Agriculture is an important industrial department in national economy, is a department taking land resources as production objects, is an industry for producing food and industrial raw materials by cultivating animal and plant products, belongs to the first industry, is planting industry which is a department for planting and producing by using land resources, is aquaculture industry which is called fishery and is a department for cultivating and cutting forest trees by using land resources, is forestry, is animal husbandry which is a department for cultivating and cutting forest trees by using land resources or directly developing animal husbandry by using grasslands, these products, which are processed or produced on a small scale, are a subsidiary industry, which are all organic components of agriculture, the development and display of these landscapes or regional resources are sightseeing agriculture, also called leisure agriculture, which is a novel agricultural form generated along with the surplus of spare time of people in new period.
Agricultural irrigation methods can be generally divided into traditional ground irrigation, common spray irrigation and micro irrigation, farmland drainage refers to the removal of excessive ground water, soil water and underground water in a farmland, the improvement of the relationship of water, fertilizer, gas and heat of soil is facilitated, so as to facilitate the artificial measures for crop growth, and modern scientific irrigation and drainage technologies can not only effectively utilize limited water resources and relieve the severe situation of excessive underground water exploitation and crustal subsidence, but also importantly, the growth conditions of crops, fruit trees and the like can be improved through organic combination with accurate fertilization, the yield per unit and the fruit quality are improved, and good social benefits and economic benefits are achieved, but the existing agricultural irrigation and drainage equipment has poor functionality and is inconvenient to use; therefore, the market urgently needs to develop agricultural irrigation and drainage facilities to help people solve the existing problems.
Disclosure of Invention
The invention aims to provide agricultural irrigation and drainage facilities to solve the problems of poor functionality and inconvenient use of the existing agricultural irrigation and drainage equipment in the background art.
In order to achieve the purpose, the invention provides the following technical scheme: agricultural irrigation facility, including the irrigation equipment shell, the support frame is all installed to the below both sides of irrigation equipment shell, first electronic jar is installed to below between the support frame, the both ends of first electronic jar are all rotated with the support frame through the connecting axle and are connected, the gyro wheel is installed to the below of support frame, spacing support is installed to one side of gyro wheel, the electronic jar of second is installed to one side of spacing support, the engaging lug is installed to one side of the electronic jar of second, the internally mounted of irrigation equipment shell has the irrigation water tank, the internally mounted of irrigation water tank has the stirring rake.
Preferably, the preceding terminal surface of irrigation equipment shell installs the clear glass board, the position of clear glass board is corresponding with irrigation water tank's position, the mounting panel is installed to the top of irrigation equipment shell, the folded sheet is all installed to the top both sides of mounting panel, the externally mounted of folded sheet has electronic shower nozzle, electronic shower nozzle is provided with a plurality of, and a plurality of the solenoid valve is all installed to one side of electronic shower nozzle.
Preferably, step motor is all installed to the both sides of mounting panel, step motor imbeds the inside and the mounting panel fixed connection of mounting panel, just step motor passes through shaft coupling and folded sheet fixed connection, the second water pump is installed to the top of mounting panel, just connect the water pipe to be installed to the top of second water pump, connect the water pipe and extend to the inside and electronic shower nozzle sealing connection of folded sheet, the lower extreme and the irrigation water tank sealing connection of second water pump.
Preferably, the switch box is installed to the top of mounting panel, the upper end of switch box is provided with into medicine mouth, just the pencil is installed into to the below of switch box, the one end of advancing the pencil extends to irrigation water tank's inside and irrigation water tank sealing connection, just the other end of advancing the pencil passes the switch box and advances medicine mouth sealing connection, gear motor is installed to the upper end of stirring rake, gear motor passes through fixed screw with the mounting panel and is connected, just gear motor's lower extreme passes through shaft coupling and stirring rake fixed connection.
Preferably, the upper end of support frame extends to irrigation equipment shell inside and is connected through connecting axle and irrigation equipment shell rotation, just the externally mounted of support frame has the strengthening rib, just the lower extreme of support frame passes through the connecting axle with the engaging lug and rotates to be connected, engaging lug and gyro wheel fixed connection.
Preferably, the upper end of spacing support is provided with positioning slot, the internally mounted of support frame has the bolt, just spacing support passes through bolt and support frame fixed connection, the lower extreme of spacing support is provided with the connector, the one end of the electronic jar of second passes through connector fixed connection with spacing support, just the other end and the gyro wheel fixed connection of the electronic jar of second.
Preferably, the internally mounted of irrigation equipment shell has first water pump, the connecting pipe is all installed to the below and one side of first water pump, and the connecting pipe respectively with irrigation water tank and first water pump sealing connection, the connecting box is installed to the lower extreme of irrigation equipment shell, the internally mounted of connecting box has irrigation tank outlet pipe, just the preceding terminal surface of connecting box is provided with irrigation tank delivery port and irrigation tank water inlet respectively, just first water pump passes through connecting pipe and irrigation tank water inlet sealing connection, just the connecting box passes through irrigation tank outlet pipe and irrigation tank delivery port sealing connection, just electric ball valve is all installed to the outside of irrigation tank outlet pipe and connecting pipe.
Agricultural drainage facilities, including drainage device shell, the internally mounted of drainage device shell has the drainage water tank, the internally mounted of drainage water tank has the filter, the internally mounted of filter has the screw thread lead screw.
Preferably, drainage case outlet pipe is all installed to the both sides of drainage device shell, drainage case outlet pipe extends to the inside and the drainage water tank sealing connection of drainage device shell, drainage case inlet tube is installed to the below of drainage device shell, just the internally mounted of drainage device shell has the third water pump, third water pump and drainage case inlet tube sealing connection, just connecting pipe and drainage water tank sealing connection are passed through to the upper end of third water pump.
Preferably, the both ends of screw thread lead screw all are connected through bearing and drainage water tank rotation, just filter and screw thread lead screw threaded connection, the litter is installed to the inside one side of filter, just the filter passes through litter and drainage water tank sliding connection, the maintenance apron is installed to the top of drainage water tank, servo motor is installed to the upper end of maintenance apron, servo motor passes through shaft coupling fixed connection with the screw thread lead screw.
Compared with the prior art, the invention has the beneficial effects that:
1. the invention can change the heights of the shell of the irrigation device and the drainage device and the angle of the electric spray head according to different use conditions by arranging the support frame, the first electric cylinder can be started to contract to drive the support frame to rotate, so that the heights between the irrigation device shell and the waterlogging draining device shell and the ground are changed, before the support frame is rotated, the bolt at the upper end of the limit support frame is taken down, after the height of the support frame is fixed, the limit bracket can be clamped into the inner part, the second electric cylinder is extended to ensure that the angle of the roller keeps a vertical state, the bolt is inserted into the inner part to fix the limit bracket, thereby effectively maintaining the stability of the supporting frame and the roller, and the angle of the electric spray head can be changed by driving the folding plate to rotate through the stepping motor, the sprinkling irrigation device has the advantages that the sprinkling irrigation device is convenient to use and simple in structure, and is convenient for irrigation work aiming at different types of farmlands.
2. According to the irrigation water tank, by means of the arrangement of the irrigation water tank, underground water can be pumped into the irrigation water tank through the first water pump during irrigation, dosing can be performed according to different types of irrigation, liquid medicine is guided into the irrigation water tank through the medicine inlet pipe, and stirring can be performed in the irrigation water tank, so that mixing operation can be performed conveniently, the irrigation effect can be improved after long-time use, the mixing effect of the liquid medicine can be improved, and the irrigation water tank is convenient to use.
3. According to the drainage water tank, through the arrangement of the drainage water tank, when drainage work is carried out, water in a farmland can be pumped into the drainage water tank through the third water pump through the drainage water tank water inlet pipe, the water can be filtered through the filter plate after entering the drainage water tank, impurities mixed in water are separated, so that a water outlet pipe of the drainage water tank can be prevented from being blocked, the work efficiency is improved, the filtered solid phase is accumulated above the filter plate, the filter plate can be driven to rotate through the servo motor, the filter plate can ascend, the filtered solid phase can be conveniently discharged, the drainage water tank is convenient to use, the cleaning time of workers is shortened, the operation is convenient, the structure is simple, and the use is convenient.
Drawings
FIG. 1 is a front view of an agricultural irrigation installation of the present invention;
FIG. 2 is a side view of an agricultural irrigation installation of the present invention;
FIG. 3 is a side view of an agricultural drainage facility of the present invention;
FIG. 4 is a view showing the internal structure of the housing of the irrigation device of the present invention
FIG. 5 is an internal structure view of a housing of a drainage device according to the present invention
Fig. 6 is a schematic structural view of the limiting bracket of the present invention.
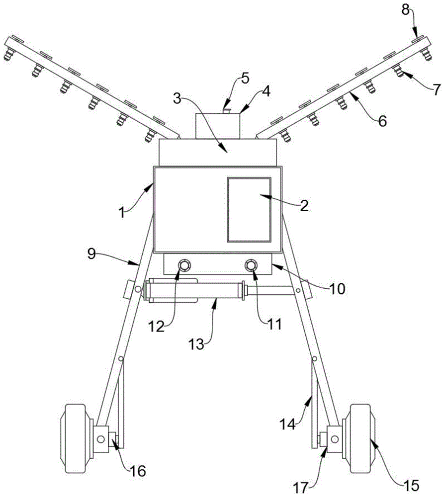
In the figure: 1. an irrigation device housing; 2. a transparent glass plate; 3. mounting a plate; 4. a switch box; 5. a medicine inlet; 6. folding the board; 7. an electric shower head; 8. an electromagnetic valve; 9. a support frame; 10. a connecting box; 11. an irrigation tank water outlet; 12. an irrigation tank water inlet; 13. a first electric cylinder; 14. a limiting bracket; 15. a roller; 16. a second electric cylinder; 17. connecting lugs; 18. a stepping motor; 19. a first water pump; 20. an electric ball valve; 21. an irrigation water tank; 22. a second water pump; 23. connecting a water pipe; 24. a reduction motor; 25. a stirring paddle; 26. an irrigation tank water outlet pipe; 27. a medicine inlet pipe; 28. a drainage device shell; 29. overhauling the cover plate; 30. a servo motor; 31. a water inlet pipe of the drainage tank; 32. a water outlet pipe of the drainage tank; 33. a drainage water tank; 34. a filter plate; 35. a third water pump; 36. a threaded lead screw; 37. positioning the slot; 38. and (7) connecting ports.
Detailed Description
The technical solutions in the embodiments of the present invention will be clearly and completely described below with reference to the drawings in the embodiments of the present invention, and it is obvious that the described embodiments are only a part of the embodiments of the present invention, and not all of the embodiments.
Referring to fig. 1-6, an embodiment of the present invention is shown: agricultural irrigation facility, including irrigation equipment shell 1, support frame 9 is all installed to irrigation equipment shell 1's below both sides, first electronic jar 13 is installed to below between the support frame 9, first electronic jar 13's both ends are all rotated with support frame 9 through the connecting axle and are connected, gyro wheel 15 is installed to support frame 9's below, spacing support 14 is installed to one side of gyro wheel 15, electronic jar 16 of second is installed to one side of spacing support 14, engaging lug 17 is installed to one side of the electronic jar 16 of second, irrigation equipment shell 1's internally mounted has irrigation water tank 21, irrigation water tank 21's internally mounted has stirring rake 25, accessible irrigation equipment shell 1 improves agricultural irrigation, the functionality of drainage waterlogging, and is convenient for use, and the work efficiency is improved.
Further, transparent glass board 2 is installed to the preceding terminal surface of irrigation equipment shell 1, and transparent glass board 2's position is corresponding with irrigation water tank 21's position, and mounting panel 3 is installed to irrigation equipment shell 1's top, and folded sheet 6 is all installed to the top both sides of mounting panel 3, and the externally mounted of folded sheet 6 has electronic shower nozzle 7, and electronic shower nozzle 7 is provided with a plurality of, and solenoid valve 8 is all installed to one side of a plurality of electronic shower nozzle 7, irrigates the work through a plurality of electronic shower nozzles 7 to the farmland.
Further, step motor 18 is all installed to mounting panel 3's both sides, step motor 18 imbeds mounting panel 3's inside and mounting panel 3 fixed connection, and step motor 18 passes through shaft coupling and 6 fixed connection of folded sheet, second water pump 22 is installed to mounting panel 3's top, and second water pump 22's top is installed and is connected water pipe 23, it extends to 6 inside and electronic shower nozzle 7 sealing connection of folded sheet to connect water pipe 23, second water pump 22's lower extreme and irrigation water tank 21 sealing connection, accessible step motor 18 drives folded sheet 6 and rotates, thereby can change electronic shower nozzle 7's angle, spray the farmland to different position, high durability and convenient use.
Further, a switch box 4 is arranged above the mounting plate 3, the upper end of the switch box 4 is provided with a medicine inlet 5, and a pesticide inlet pipe 27 is arranged below the switch box 4, one end of the pesticide inlet pipe 27 extends into the irrigation water tank 21 and is hermetically connected with the irrigation water tank 21, the other end of the medicine inlet pipe 27 penetrates through the switch box 4 to be hermetically connected with the medicine inlet 5, the upper end of the stirring paddle 25 is provided with a speed reducing motor 24, the speed reducing motor 24 is connected with the mounting plate 3 through a fixing screw, the lower end of the speed reducing motor 24 is fixedly connected with the stirring paddle 25 through a coupler, according to different types of irrigation works, the chemical adding work can be carried out, the chemical liquid is guided into the irrigation water tank 21 through the chemical inlet pipe 27 and can be stirred through the irrigation water tank 21, thereby can conveniently carry out mixing operation, long-time use can improve the irrigation effect, is favorable to improving the mixed effect of liquid medicine, convenient to use.
Further, the upper end of support frame 9 extends to irrigation equipment shell 1 inside and rotates with irrigation equipment shell 1 through the connecting axle to be connected, and the externally mounted of support frame 9 has the strengthening rib, and the lower extreme of support frame 9 passes through the connecting axle with engaging lug 17 and rotates to be connected, engaging lug 17 and 15 fixed connection of gyro wheel, through starting first electronic jar 13, first electronic jar 13 shrink drives support frame 9 and rotates for irrigation equipment shell 1 and the altitude variation between drainage device shell 28 and the ground.
Further, the upper end of the limit bracket 14 is provided with a positioning slot 37, the inside of the support frame 9 is provided with a bolt, the limit bracket 14 is fixedly connected with the support frame 9 through the bolt, the lower end of the limit bracket 14 is provided with a connector 38, one end of the second electric cylinder 16 is fixedly connected with the limit bracket 14 through the connector 38, the other end of the second electric cylinder 16 is fixedly connected with the roller 15, before the support frame 9 is rotated, the bolt at the upper end of the limit bracket 14 is taken down, after the support frame 9 is highly fixed, the limit bracket 14 can be clamped into the inside, the second electric cylinder 16 is extended, so that the angle of the roller 15 is kept in a vertical state, the bolt is inserted into the inside, the limit bracket 14 is fixed, and the stability of the support frame 9 and the roller 15 can.
Further, a first water pump 19 is installed inside the irrigation device shell 1, connecting pipes are installed below and on one side of the first water pump 19 and are respectively in sealing connection with the irrigation water tank 21 and the first water pump 19, a connecting box 10 is installed at the lower end of the irrigation device shell 1, an irrigation box water outlet pipe 26 is installed inside the connecting box 10, an irrigation box water outlet 11 and an irrigation box water inlet 12 are respectively arranged on the front end face of the connecting box 10, the first water pump 19 is in sealing connection with the irrigation box water inlet 12 through the connecting pipe, the connecting box 10 is in sealing connection with the irrigation box water outlet 11 through the irrigation box water outlet pipe 26, electric ball valves 20 are installed outside the irrigation box water outlet pipe 26 and the connecting pipe, when drainage work is carried out, water in a farmland can be pumped into the drainage water tank 33 through a third water pump 35 through a drainage box water inlet pipe 31, and filtering work can be carried out, avoiding blockage.
Agricultural drainage facilities, including drainage device shell 28, the internally mounted of drainage device shell 28 has drainage water tank 33, and the internally mounted of drainage water tank 33 has filter 34, and the internally mounted of filter 34 has screw lead screw 36, and the accessible improves the functionality of agricultural irrigation, drainage with drainage device shell 28, is convenient for use, improves work efficiency.
Further, drainage case outlet pipe 32 is all installed to drainage device shell 28's both sides, and drainage case outlet pipe 32 extends to drainage device shell 28's inside and drainage water tank 33 sealing connection, and drainage case inlet tube 31 is installed to drainage device shell 28's below, and drainage device shell 28's internally mounted has third water pump 35, third water pump 35 and drainage case inlet tube 31 sealing connection, and the upper end of third water pump 35 passes through connecting pipe and drainage water tank 33 sealing connection.
Further, both ends of the threaded screw rod 36 are rotatably connected with the drainage water tank 33 through bearings, the filter plate 34 is in threaded connection with the threaded screw rod 36, a slide rod is installed on one side inside the filter plate 34, the filter plate 34 is in sliding connection with the drainage water tank 33 through the slide rod, the maintenance cover plate 29 is installed above the drainage water tank 33, the servo motor 30 is installed at the upper end of the maintenance cover plate 29, the servo motor 30 is fixedly connected with the threaded screw rod 36 through a coupler, moisture can be filtered through the filter plate 34 after entering the drainage water tank 33, impurities mixed in water are separated, so that the water outlet pipe 32 of the drainage water tank is prevented from being blocked, the work efficiency is improved, the filtered solid phase is accumulated above the filter plate 34, the threaded screw rod 36 can be driven to rotate through the servo motor 30, the filter plate 34 rises, the filtered solid phase can be conveniently discharged, and the use is convenient, the cleaning time of the working personnel is reduced.
The working principle is as follows: when the irrigation device is used, during irrigation work, underground water can be pumped into the irrigation water tank 21 through the first water pump 19, dosing work can be carried out according to different types of irrigation work, liquid medicine is guided into the irrigation water tank 21 through the medicine inlet pipe 27, mixing work can be conveniently carried out through the inside of the irrigation water tank 21, the irrigation effect can be improved after long-time use, the heights of the irrigation device shell 1 and the drainage device shell 28 and the angle of the electric spray head 7 can be changed according to different use conditions, the first electric cylinder 13 can be started, the first electric cylinder 13 contracts to drive the support frame 9 to rotate, so that the heights between the irrigation device shell 1 and the drainage device shell 28 and the ground are changed, the bolt of the limit support 14 is taken down before the support frame 9 is rotated, after the height of the support frame 9 is fixed, the limit support 14 can be clamped into the inside, the second electric cylinder 16 is extended so that the angle of the roller 15 is maintained in a vertical state, and then the pin is inserted into the inside, the spacing bracket 14 is fixed, thereby effectively keeping the stability of the supporting frame 9 and the roller 15, and driving the folding plate 6 to rotate through the stepping motor 18, thereby changing the angle of the electric spray head 7, the irrigation device can spray irrigation in farmlands in different directions, when drainage work is carried out, water in the farmlands can be pumped into the drainage water tank 33 through the drainage water tank water inlet pipe 31 through the third water pump 35, the water can be filtered through the filter plate 34 after entering the drainage water tank 33, impurities mixed in water are separated, thereby preventing the water outlet pipe 32 of the drainage tank from being blocked, improving the working efficiency, accumulating the filtered solid phase above the filter plate 34, the servo motor 30 can drive the threaded lead screw 36 to rotate, so that the filter plate 34 rises, and the filtered solid phase can be conveniently discharged.
It will be evident to those skilled in the art that the invention is not limited to the details of the foregoing illustrative embodiments, and that the present invention may be embodied in other specific forms without departing from the spirit or essential attributes thereof. The present embodiments are therefore to be considered in all respects as illustrative and not restrictive, the scope of the invention being indicated by the appended claims rather than by the foregoing description, and all changes which come within the meaning and range of equivalency of the claims are therefore intended to be embraced therein. Any reference sign in a claim should not be construed as limiting the claim concerned.

Claims (10)

1.农业灌溉设施,包括灌溉装置外壳(1),其特征在于:所述灌溉装置外壳(1)的下方两侧均安装有支撑架(9),所述支撑架(9)之间的下方安装有第一电动缸(13),所述第一电动缸(13)的两端均通过连接轴与支撑架(9)转动连接,所述支撑架(9)的下方安装有滚轮(15),所述滚轮(15)的一侧安装有限位支架(14),所述限位支架(14)的一侧安装有第二电动缸(16),所述第二电动缸(16)的一侧安装有连接耳(17),所述灌溉装置外壳(1)的内部安装有灌溉水箱(21),所述灌溉水箱(21)的内部安装有搅拌桨(25)。1. Agricultural irrigation facilities, comprising an irrigation device housing (1), characterized in that: a support frame (9) is installed on both sides of the lower side of the irrigation device housing (1), and the lower part between the support frame (9) A first electric cylinder (13) is installed, both ends of the first electric cylinder (13) are rotatably connected to a support frame (9) through a connecting shaft, and a roller (15) is installed below the support frame (9) A limit bracket (14) is installed on one side of the roller (15), a second electric cylinder (16) is installed on one side of the limit bracket (14), and a second electric cylinder (16) is installed on one side of the limit bracket (14). A connecting ear (17) is installed on the side, an irrigation water tank (21) is installed inside the irrigation device housing (1), and a stirring paddle (25) is installed inside the irrigation water tank (21). 2.根据权利要求1所述的农业灌溉设施,其特征在于:所述灌溉装置外壳(1)的前端面安装有透明玻璃板(2),所述透明玻璃板(2)的位置与灌溉水箱(21)的位置相对应,所述灌溉装置外壳(1)的上方安装有安装板(3),所述安装板(3)的上方两侧均安装有折叠板(6),所述折叠板(6)的外部安装有电动喷头(7),所述电动喷头(7)设置有若干个,且若干个所述电动喷头(7)的一侧均安装有电磁阀(8)。2. The agricultural irrigation facility according to claim 1, characterized in that: a transparent glass plate (2) is installed on the front surface of the casing (1) of the irrigation device, and the position of the transparent glass plate (2) is the same as that of the irrigation water tank. The positions of (21) correspond to the above, a mounting plate (3) is installed on the top of the casing (1) of the irrigation device, and a folding plate (6) is installed on both sides of the upper part of the mounting plate (3). An electric spray head (7) is installed on the outside of (6), a plurality of the electric spray heads (7) are provided, and a solenoid valve (8) is installed on one side of the plurality of the electric spray heads (7). 3.根据权利要求2所述的农业灌溉设施,其特征在于:所述安装板(3)的两侧均安装有步进电机(18),所述步进电机(18)嵌入安装板(3)的内部与安装板(3)固定连接,且所述步进电机(18)通过联轴器与折叠板(6)固定连接,所述安装板(3)的上方安装有第二水泵(22),且所述第二水泵(22)的上方安装有连接水管(23),所述连接水管(23)延伸至折叠板(6)内部与电动喷头(7)密封连接,所述第二水泵(22)的下端与灌溉水箱(21)密封连接。3. The agricultural irrigation facility according to claim 2, wherein a stepper motor (18) is installed on both sides of the mounting plate (3), and the stepper motor (18) is embedded in the mounting plate (3). ) is fixedly connected to the mounting plate (3), and the stepping motor (18) is fixedly connected to the folding plate (6) through a coupling, and a second water pump (22) is installed above the mounting plate (3). ), and a connecting water pipe (23) is installed above the second water pump (22). The lower end of (22) is sealingly connected with the irrigation water tank (21). 4.根据权利要求2所述的农业灌溉设施,其特征在于:所述安装板(3)的上方安装有开关箱(4),所述开关箱(4)的上端设置有进药口(5),且所述开关箱(4)的下方安装有进药管(27),所述进药管(27)的一端延伸至灌溉水箱(21)的内部与灌溉水箱(21)密封连接,且所述进药管(27)的另一端穿过开关箱(4)与进药口(5)密封连接,所述搅拌桨(25)的上端安装有减速电机(24),所述减速电机(24)与安装板(3)通过固定螺丝连接,且所述减速电机(24)的下端通过联轴器与搅拌桨(25)固定连接。4. The agricultural irrigation facility according to claim 2, characterized in that a switch box (4) is installed above the mounting plate (3), and a medicine inlet (5) is arranged on the upper end of the switch box (4). ), and a medicine feed pipe (27) is installed below the switch box (4), and one end of the medicine feed pipe (27) extends to the interior of the irrigation water tank (21) and is sealedly connected with the irrigation water tank (21), and The other end of the medicine inlet pipe (27) is sealed and connected to the medicine inlet (5) through the switch box (4). 24) is connected with the mounting plate (3) through fixing screws, and the lower end of the deceleration motor (24) is fixedly connected with the stirring paddle (25) through a coupling. 5.根据权利要求1所述的农业灌溉设施,其特征在于:所述支撑架(9)的上端延伸至灌溉装置外壳(1)内部通过连接轴与灌溉装置外壳(1)转动连接,且所述支撑架(9)的外部安装有加强筋,且所述支撑架(9)的下端与连接耳(17)通过连接轴转动连接,所述连接耳(17)与滚轮(15)固定连接。5. The agricultural irrigation facility according to claim 1, characterized in that: the upper end of the support frame (9) extends to the inside of the irrigation device housing (1) through a connecting shaft and is rotatably connected to the irrigation device housing (1), and the Reinforcing ribs are installed on the outside of the support frame (9), and the lower end of the support frame (9) is rotatably connected to the connecting lug (17) through a connecting shaft, and the connecting lug (17) is fixedly connected to the roller (15). 6.根据权利要求5所述的农业灌溉设施,其特征在于:所述限位支架(14)的上端设置有定位插槽(37),所述支撑架(9)的内部安装有插销,且所述限位支架(14)通过插销与支撑架(9)固定连接,所述限位支架(14)的下端设置有连接口(38),所述第二电动缸(16)的一端与限位支架(14)通过连接口(38)固定连接,且所述第二电动缸(16)的另一端与滚轮(15)固定连接。6. The agricultural irrigation facility according to claim 5, characterized in that: the upper end of the limit bracket (14) is provided with a positioning slot (37), and a latch is installed inside the support bracket (9), and The limit bracket (14) is fixedly connected with the support bracket (9) through a latch, a connection port (38) is provided at the lower end of the limit bracket (14), and one end of the second electric cylinder (16) is connected to the limiter. The position bracket (14) is fixedly connected through the connection port (38), and the other end of the second electric cylinder (16) is fixedly connected with the roller (15). 7.根据权利要求1所述的农业灌溉设施,其特征在于:所述灌溉装置外壳(1)的内部安装有第一水泵(19),所述第一水泵(19)的下方和一侧均安装有连接管,且连接管分别与灌溉水箱(21)和第一水泵(19)密封连接,所述灌溉装置外壳(1)的下端安装有连接箱(10),所述连接箱(10)的内部安装有灌溉箱出水管(26),且所述连接箱(10)的前端面分别设置有灌溉箱出水口(11)和灌溉箱进水口(12),且所述第一水泵(19)通过连接管与灌溉箱进水口(12)密封连接,且所述连接箱(10)通过灌溉箱出水管(26)与灌溉箱出水口(11)密封连接,且所述灌溉箱出水管(26)和连接管的外部均安装有电动球阀(20)。7. The agricultural irrigation facility according to claim 1, characterized in that: a first water pump (19) is installed inside the casing (1) of the irrigation device, and the bottom and one side of the first water pump (19) are both A connecting pipe is installed, and the connecting pipe is sealed with the irrigation water tank (21) and the first water pump (19) respectively, and a connecting box (10) is installed on the lower end of the casing (1) of the irrigation device, and the connecting box (10) An irrigation box water outlet pipe (26) is installed inside the connecting box (10), and an irrigation box water outlet (11) and an irrigation box water inlet (12) are respectively arranged on the front face of the connection box (10), and the first water pump (19) ) is sealedly connected to the water inlet (12) of the irrigation tank through a connecting pipe, and the connection box (10) is sealedly connected to the water outlet (11) of the irrigation tank through the water outlet pipe (26) of the irrigation tank, and the water outlet pipe of the irrigation tank ( 26) and the outside of the connecting pipe are equipped with electric ball valves (20). 8.农业排涝设施,包括排涝装置外壳(28),其特征在于:所述排涝装置外壳(28)的内部安装有排涝水箱(33),所述排涝水箱(33)的内部安装有过滤板(34),所述过滤板(34)的内部安装有螺纹丝杠(36)。8. Agricultural drainage facilities, comprising a drainage device casing (28), characterized in that: a drainage water tank (33) is installed inside the drainage device casing (28), and a filter plate (33) is installed inside the drainage water tank (33). 34), a threaded screw (36) is installed inside the filter plate (34). 9.根据权利要求8所述的农业排涝设施,其特征在于:所述排涝装置外壳(28)的两侧均安装有排涝箱出水管(32),所述排涝箱出水管(32)延伸至排涝装置外壳(28)的内部与排涝水箱(33)密封连接,所述排涝装置外壳(28)的下方安装有排涝箱进水管(31),且所述排涝装置外壳(28)的内部安装有第三水泵(35),所述第三水泵(35)与排涝箱进水管(31)密封连接,且所述第三水泵(35)的上端通过连接管与排涝水箱(33)密封连接。9. The agricultural drainage facility according to claim 8, characterized in that: both sides of the outer casing of the drainage device (28) are provided with drainage tank outlet pipes (32), and the drainage box outlet pipes (32) extend to The interior of the drainage device casing (28) is sealedly connected with the drainage water tank (33), the drainage box water inlet pipe (31) is installed below the drainage device casing (28), and the interior of the drainage device casing (28) is installed with A third water pump (35), the third water pump (35) is sealedly connected to the water drainage tank inlet pipe (31), and the upper end of the third water pump (35) is sealedly connected to the drainage water tank (33) through a connecting pipe. 10.根据权利要求8所述的农业排涝设施,其特征在于:所述螺纹丝杠(36)的两端均通过轴承与排涝水箱(33)转动连接,且所述过滤板(34)与螺纹丝杠(36)螺纹连接,所述过滤板(34)内部的一侧安装有滑竿,且所述过滤板(34)通过滑竿与排涝水箱(33)滑动连接,所述排涝水箱(33)的上方安装有检修盖板(29),所述检修盖板(29)的上端安装有伺服电机(30),所述伺服电机(30)与螺纹丝杠(36)通过联轴器固定连接。10. The agricultural drainage facility according to claim 8, wherein both ends of the threaded screw (36) are rotatably connected to the drainage tank (33) through bearings, and the filter plate (34) is connected to the threaded The lead screw (36) is threadedly connected, a sliding rod is installed on one side inside the filter plate (34), and the filter plate (34) is slidably connected to the drainage water tank (33) through the sliding rod. An inspection cover (29) is installed above, a servo motor (30) is installed on the upper end of the inspection cover (29), and the servo motor (30) is fixedly connected with the threaded screw (36) through a coupling.
CN202010883992.2A 2020-08-28 2020-08-28 Agricultural irrigation and drainage facilities Pending CN112154899A (en)

Priority Applications (1)

Application Number Priority Date Filing Date Title
CN202010883992.2A CN112154899A (en) 2020-08-28 2020-08-28 Agricultural irrigation and drainage facilities

Applications Claiming Priority (1)

Application Number Priority Date Filing Date Title
CN202010883992.2A CN112154899A (en) 2020-08-28 2020-08-28 Agricultural irrigation and drainage facilities

Publications (1)

Publication Number Publication Date
CN112154899A true CN112154899A (en) 2021-01-01

Family

ID=73860419

Family Applications (1)

Application Number Title Priority Date Filing Date
CN202010883992.2A Pending CN112154899A (en) 2020-08-28 2020-08-28 Agricultural irrigation and drainage facilities

Country Status (1)

Country Link
CN (1) CN112154899A (en)

Cited By (1)

* Cited by examiner, † Cited by third party
Publication number Priority date Publication date Assignee Title
CN113632711A (en) * 2021-08-03 2021-11-12 哈尔滨工程大学 Agricultural drought-resistant irrigation device

Citations (9)

* Cited by examiner, † Cited by third party
Publication number Priority date Publication date Assignee Title
ES1014567U (en) * 1990-07-02 1991-04-01 Esbri Bonifas Ramon Group integrated autonomous irrigation and fertilization controlled. (Machine-translation by Google Translate, not legally binding)
CN104707374A (en) * 2013-12-12 2015-06-17 林淑琴 Industrial purifying pool
CN208968068U (en) * 2018-08-31 2019-06-11 河南浩越新能源科技开发有限公司 The solar panel bracket of adjustable angle
CN208972216U (en) * 2018-08-31 2019-06-14 长江大学 A kind of controllable irrigation device
CN209057725U (en) * 2018-11-02 2019-07-05 河北鼎立节水灌溉科技有限公司 A kind of water-saving irrigation water drainage device
CN110254557A (en) * 2019-05-31 2019-09-20 中鸿纳米纤维技术丹阳有限公司 A kind of supervision robot running gear for nanofiber production
CN209420256U (en) * 2019-01-08 2019-09-24 舒城县顺发蔬菜专业合作社 A kind of vegetable cultivation rooter
CN210143489U (en) * 2019-03-28 2020-03-17 余晓强 Assembled multifunctional irrigation device
CN210746051U (en) * 2019-09-19 2020-06-16 湖北河泽水利水电工程有限公司 Assembled hydraulic engineering uses multi-functional irrigation equipment

Patent Citations (9)

* Cited by examiner, † Cited by third party
Publication number Priority date Publication date Assignee Title
ES1014567U (en) * 1990-07-02 1991-04-01 Esbri Bonifas Ramon Group integrated autonomous irrigation and fertilization controlled. (Machine-translation by Google Translate, not legally binding)
CN104707374A (en) * 2013-12-12 2015-06-17 林淑琴 Industrial purifying pool
CN208968068U (en) * 2018-08-31 2019-06-11 河南浩越新能源科技开发有限公司 The solar panel bracket of adjustable angle
CN208972216U (en) * 2018-08-31 2019-06-14 长江大学 A kind of controllable irrigation device
CN209057725U (en) * 2018-11-02 2019-07-05 河北鼎立节水灌溉科技有限公司 A kind of water-saving irrigation water drainage device
CN209420256U (en) * 2019-01-08 2019-09-24 舒城县顺发蔬菜专业合作社 A kind of vegetable cultivation rooter
CN210143489U (en) * 2019-03-28 2020-03-17 余晓强 Assembled multifunctional irrigation device
CN110254557A (en) * 2019-05-31 2019-09-20 中鸿纳米纤维技术丹阳有限公司 A kind of supervision robot running gear for nanofiber production
CN210746051U (en) * 2019-09-19 2020-06-16 湖北河泽水利水电工程有限公司 Assembled hydraulic engineering uses multi-functional irrigation equipment

Cited By (1)

* Cited by examiner, † Cited by third party
Publication number Priority date Publication date Assignee Title
CN113632711A (en) * 2021-08-03 2021-11-12 哈尔滨工程大学 Agricultural drought-resistant irrigation device

Similar Documents

Publication Publication Date Title
CN213755901U (en) Seedling breeding device for agricultural planting
CN206142958U (en) Gardens are planted and are used irrigation equipment
CN112154899A (en) Agricultural irrigation and drainage facilities
CN212753135U (en) Accurate device that waters of drought ground economic crop root system
CN217183861U (en) Ecological agriculture liquid manure integration intelligence water-saving irrigation equipment
CN219269554U (en) An integrated control device for water and fertilizer
CN211960698U (en) Landscape maintenance device for garden design
CN213939183U (en) Gardens water conservation drips irrigation device
CN211532467U (en) Novel agricultural automatic spraying irrigation device
CN211091128U (en) Prevent blockking up wheat cultivation and drip irrigation device
CN211631194U (en) Novel agricultural machinery is irrigated device
CN220441525U (en) Multi-angle sprinkling irrigation device for planting
CN215774715U (en) Agricultural irrigation device
CN221329755U (en) A drip irrigation device for citrus cultivation
CN221532143U (en) Seedling maintenance device for greening construction
CN220528763U (en) Agricultural planting breeding device
CN219424671U (en) Seedling pipe protects sprinkler
CN222656088U (en) Spray type tea garden weeding machine
CN219919914U (en) Orchard water-fertilizer integrated irrigation device
CN221979872U (en) A spraying device for jackfruit planting with adjustable spraying area
CN209994993U (en) kinds of auxiliary fixed cultivation device for three-dimensional agriculture
CN222852848U (en) A garden greening water supply irrigation device with filtering function
CN218897805U (en) Irrigation device for crop planting
CN218042979U (en) Novel tree planting is planted grass and is used irrigation device
CN222193821U (en) Sprayer special for trees

Legal Events

Date Code Title Description
PB01 Publication
PB01 Publication
SE01 Entry into force of request for substantive examination
SE01 Entry into force of request for substantive examination
RJ01 Rejection of invention patent application after publication
RJ01 Rejection of invention patent application after publication

Application publication date: 20210101