CN112146530B - 一种一体化凿岩爆破设备 - Google Patents

一种一体化凿岩爆破设备 Download PDF

Info

Publication number
CN112146530B
CN112146530B CN202011171289.5A CN202011171289A CN112146530B CN 112146530 B CN112146530 B CN 112146530B CN 202011171289 A CN202011171289 A CN 202011171289A CN 112146530 B CN112146530 B CN 112146530B
Authority
CN
China
Prior art keywords
end wall
sliding
fixedly connected
rotating shaft
cavity
Prior art date
Legal status (The legal status is an assumption and is not a legal conclusion. Google has not performed a legal analysis and makes no representation as to the accuracy of the status listed.)
Active
Application number
CN202011171289.5A
Other languages
English (en)
Other versions
CN112146530A (zh
Inventor
李学行
Current Assignee (The listed assignees may be inaccurate. Google has not performed a legal analysis and makes no representation or warranty as to the accuracy of the list.)
Shanxi Tongde Blasting Engineering Co.,Ltd.
Original Assignee
Shanxi Tongde Blasting Engineering Co ltd
Priority date (The priority date is an assumption and is not a legal conclusion. Google has not performed a legal analysis and makes no representation as to the accuracy of the date listed.)
Filing date
Publication date
Application filed by Shanxi Tongde Blasting Engineering Co ltd filed Critical Shanxi Tongde Blasting Engineering Co ltd
Priority to CN202011171289.5A priority Critical patent/CN112146530B/zh
Publication of CN112146530A publication Critical patent/CN112146530A/zh
Application granted granted Critical
Publication of CN112146530B publication Critical patent/CN112146530B/zh
Active legal-status Critical Current
Anticipated expiration legal-status Critical

Links

Images

Classifications

    • FMECHANICAL ENGINEERING; LIGHTING; HEATING; WEAPONS; BLASTING
    • F42AMMUNITION; BLASTING
    • F42DBLASTING
    • F42D1/00Blasting methods or apparatus, e.g. loading or tamping
    • FMECHANICAL ENGINEERING; LIGHTING; HEATING; WEAPONS; BLASTING
    • F42AMMUNITION; BLASTING
    • F42DBLASTING
    • F42D1/00Blasting methods or apparatus, e.g. loading or tamping
    • F42D1/08Tamping methods; Methods for loading boreholes with explosives; Apparatus therefor
    • FMECHANICAL ENGINEERING; LIGHTING; HEATING; WEAPONS; BLASTING
    • F42AMMUNITION; BLASTING
    • F42DBLASTING
    • F42D3/00Particular applications of blasting techniques
    • F42D3/04Particular applications of blasting techniques for rock blasting

Landscapes

  • Engineering & Computer Science (AREA)
  • General Engineering & Computer Science (AREA)
  • Life Sciences & Earth Sciences (AREA)
  • General Life Sciences & Earth Sciences (AREA)
  • Earth Drilling (AREA)

Abstract

本发明涉及采矿设备或装置相关领域,尤其是一种一体化凿岩爆破设备,包括机体,所述机体前后端壁内设有开口向外和向下的移动腔,所述移动腔内设有用于给凿岩爆破和机体移动提供动力的动力装置,所述动力装置包括前后两个所述移动腔内传动连接设有的履带,所述履带下侧端壁与地面接触,使所述机体可在矿洞中移动,所述机体右侧端壁内开口向右的设有第一电机轴,使该设备可以在矿洞中移动前进,当设备移动到岩壁左侧后,可自动对岩壁进行凿岩,设有可同时工作的两排凿岩钻头,大大缩短了凿进作业的时间;凿进完成后,可自动将炸药放置在岩洞中,无需人工干预,安全性较高,将爆破和凿岩工序串联,降低劳动成本的同时可以较好的满足生产需要。

Description

一种一体化凿岩爆破设备
技术领域
本发明涉及采矿设备或装置相关领域,具体为一种一体化凿岩爆破设备。
背景技术
采矿机械是直接开采有用矿物和开采准备工作所用的机械设备,主要有开采金属矿石和非金属矿石的采掘机械;开采煤炭用的采煤机械;开采石油用的石油钻采机械等。
凿岩机是采矿设备比较常见的一种,主要用于在岩石中凿进一个深洞,方便后续工人将炸药放入岩洞中,对岩层进行爆破,为后续开采作准备,传统的凿岩爆破方式需要用凿岩机逐个凿孔,凿岩耗费的时间很长,效率低下,另外,人工放置炸药的方式也比较危险,工人的劳动强度较高,目前缺乏一种可以快速凿岩,并且自动放置炸药的凿岩爆破设备。
发明内容
本发明的目的在于提供一种一体化凿岩爆破设备,能够克服现有技术上的缺陷,从而提高设备的实用性。
本发明解决其技术问题所采用的技术方案是:一种一体化凿岩爆破设备,包括机体,所述机体前后端壁内设有开口向外和向下的移动腔,所述移动腔内设有用于给凿岩爆破和机体移动提供动力的动力装置,所述动力装置包括前后两个所述移动腔内传动连接设有的履带,所述履带下侧端壁与地面接触,使所述机体可在矿洞中移动,所述机体右侧端壁内开口向右的设有第一电机轴,所述第一电机轴内设有用于凿岩和爆破的凿岩装置,所述凿岩装置包括所述第一电机轴内可左右滑动设有的第一滑座,所述第一滑座右侧端壁内设有开口向右的第一滑腔,所述第一滑腔内可前后滑动的设有第二滑座,所述第二滑座右侧端壁内设有上下两个凿进平台,所述凿进平台上可左右滑动的设有第一转轴,所述第一转轴右端固定连接的设有用于在岩壁中凿进的钻头,所述凿进平台前侧的所述第二滑座上固定连接的设有上下两个安置滑座,所述安置滑座右侧端壁内开口向右的设有第二滑腔,所述第二滑腔内可左右滑动的设有多个炸药,所述炸药的大小和岩洞大小吻合,所述机体移动岩壁左侧后,所述动力装置可带动所述第一滑座向右移动,所述第一滑座带动所述钻头向右移动并与岩壁接触后,所述钻头向右凿进岩壁,凿岩完成后,所述钻头退出岩壁,所述第二滑座向后滑动,所述第二滑座带动所述安置滑座向后移动到岩洞的左侧,所述炸药向右滑动到岩洞中,所述钻头继续凿进,最终在岩壁中放置大量炸药,方便后续爆破和开采,最终实现本设计的一种一体化凿岩爆破设备。
进一步地,所述动力装置包括所述机体内设有的第一传动腔,所述第一传动腔右侧端壁内固定连接的设有第一电机,所述第一电机左端动力连接的设有第一电机轴,所述第一电机轴上固定连接的设有第一锥齿轮,前后两个所述移动腔之间转动连接的设有第二转轴和第三转轴,所述第二转轴贯穿所述第一传动腔前后端壁并在所述第一传动腔内固定连接的设有与所述第一锥齿轮啮合的第二锥齿轮,所述第二转轴在所述移动腔内固定连接的设有前后两个第一履带轮,所述第三转轴在所述移动腔内固定连接的设有前后两个第二履带轮,所述第二履带轮和所述第一履带轮上有所述履带传动连接,所述机体左侧端壁内固定连接的设有气泵,所述第一电机轴左侧设有第三滑腔,所述第三滑腔上侧端壁的最左端和所述气泵之间固定连接的设有气道,所述第三滑腔左侧端壁内固定连接的设有贯穿所述第三滑腔左侧端壁的气阀,所述第三滑腔内滑动连接的设有活塞,所述第三滑腔和所述第一电机轴之间滑动连接的设有活塞连杆,所述活塞连杆在所述第三滑腔内和所述活塞右侧端壁固定连接,所述活塞右侧端壁和所述第三滑腔右侧端壁之间固定连接的设有第一弹簧,所述活塞连杆在所述第一电机轴内与所述第一滑座左侧端壁固定连接。
进一步地,所述凿岩装置包括所述第一滑腔左侧端壁上固定连接设有的固定杆,所述固定杆下侧端壁上固定连接的设有第一齿条,所述第二滑座内设有第二传动腔,所述第二传动腔和所述第一滑腔之间转动连接的设有第四转轴,所述第四转轴在所述第一滑腔内固定连接的设有与所述第一齿条啮合的第一直齿轮,所述第四转轴在所述第二传动腔内固定连接的设有第一单向直齿轮,所述第二传动腔左侧端壁内固定连接的设有第二电机,所述第二电机右端动力连接的设有第二电机轴,所述第二电机轴上固定连接的设有第一转盘,所述第一转盘左侧端壁上固定连接的设有第一转子,所述第二传动腔左侧端壁内转动连接的设有前侧、下侧和后侧三个关于所述第二电机轴阵列分布的第五转轴,所述第五转轴上固定连接的设有转杆,所述转杆和所述第二传动腔左侧端壁之间固定连接的设有扭簧,所述转杆远离所述第二电机轴的一端上固定连接的设有圆弧状的齿条架,所述齿条架远离所述第二电机轴的一侧端壁上固定连接的设有第二齿条,下侧的所述第二齿条和所述第一单向直齿轮啮合,第二传动腔左侧端壁内转动连接的设有第六转轴,所述第六转轴上固定连接的设有与后侧的所述第二齿条啮合的第二转盘,所述第二转盘右侧端壁上固定连接的设有第二转子,所述第二传动腔后侧设有第三传动腔,所述第三传动腔和所述第二传动腔之间滑动连接的设有滑杆,所述滑杆在所述第三传动腔内固定连接的设有第三齿条,所述滑杆在所述第二传动腔内固定连接的设有滑架,所述滑架左右端壁内设有贯穿所述滑架前后端壁的第四滑腔,所述第二转子在所述第四滑腔内滑动连接,所述凿进平台上侧端壁的最右端固定连接的设有螺纹轴,所述螺纹轴左侧端壁和所述第三传动腔之间转动连接的设有贯穿所述第三传动腔右侧端壁的第二螺纹轴,上侧的所述第二螺纹轴在所述第三传动腔内固定连接的设有与所述第三齿条啮合的第二单向直齿轮,上下两侧的所述第二螺纹轴在所述第三传动腔内固定连接的设有第一皮带轮,上下两侧的所述第一皮带轮上有第一皮带传动连接,所述第二螺纹轴在所述第一电机轴内螺纹连接的设有与所述凿进平台上侧端壁滑动连接的第一电机,所述第一电机下侧端壁内设有第四传动腔,所述凿进平台上侧端壁上固定连接的设有贯穿所述第一电机左右端壁的第四齿条,所述第四传动腔前侧端壁内转动连接的设有第七转轴,所述第七转轴上固定连接的设有与所述第四齿条啮合的第二直齿轮,所述第二直齿轮后侧的所述第七转轴上固定连接的设有第三锥齿轮,所述第七转轴左侧的所述第四传动腔前侧端壁上转动连接的设有第八转轴,所述第八转轴上固定连接的设有蜗轮,所述蜗轮后侧的所述第八转轴上固定连接的设有第四锥齿轮,所述第四传动腔左右端壁之间转动连接的设有第九转轴,所述第九转轴上固定连接的设有与所述第三锥齿轮啮合的第五锥齿轮,所述第五锥齿轮左侧的所述第九转轴上固定连接的设有与所述蜗轮啮合的蜗杆,所述第四传动腔和所述第八转轴之间转动连接的设有第一转轴,所述第一转轴在所述第一电机轴内固定连接的设有钻头,所述第九转轴上固设有第三直齿轮,所述第一转轴在所述第四传动腔内固定连接的设有与所述第三直齿轮啮合的第四直齿轮,所述第四传动腔上侧端壁内转动连接的设有第十转轴,所述第十转轴上固定连接的设有和所述第四锥齿轮啮合的第六锥齿轮,所述第六锥齿轮下侧的所述第十转轴上固定连接的设有凸轮,所述第四传动腔后侧端壁上固定连接的设有固定板,所述固定板上滑动连接的设有贯穿所述固定板左右端壁的撞针,所述撞针在所述固定板左侧与所述凸轮接触,所述撞针在所述固定板右侧固定连接的设有弹簧座,所述弹簧座左侧端壁和所述固定板右侧端壁之间固定连接的设有第二弹簧,所述第二弹簧拉伸,使所述撞针左端始终与所述凸轮接触,上下两个所述第二滑腔和所述第二传动腔之间转动连接的设有第一螺纹轴,所述第一螺纹轴在所述第二传动腔内固定连接的设有第二皮带轮,上下两个所述第二皮带轮上有第二皮带传动连接,上侧的所述第一螺纹轴在所述第二传动腔内固定连接的设有与前侧的所述第二齿条啮合的第三单向直齿轮,所述第一螺纹轴在所述第二滑腔内螺纹连接的设有与所述第二滑腔滑动连接的螺纹滑套,所述第二滑腔内滑动连接的设有多个所述炸药,最左侧的所述炸药与所述螺纹滑套右侧端壁接触。
本发明的有益效果是:一种一体化凿岩爆破设备,可以在矿洞中移动前进,当设备移动到岩壁左侧后,可自动对岩壁进行凿岩,设有可同时工作的两排凿岩钻头,大大缩短了凿进作业的时间;凿进完成后,可自动将炸药放置在岩洞中,无需人工干预,安全性较高,将爆破和凿岩工序串联,降低劳动成本的同时可以较好的满足生产需要。
附图说明
为了易于说明,本发明由下述的具体实施例及附图作以详细描述。
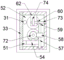
图1为本发明的一种一体化凿岩爆破设备的整体结构示意图;
图2为图1的“A-A”方向的结构示意图;
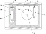
图3为图1的“B”处的结构放大示意图;
图4为图1的“C-C”方向的结构示意图;
图5为图3的“D-D”方向的结构示意图;
图6为图3的“E-E”方向的结构示意图;
图7为图4的“F-F”方向的结构示意图;
图8为图5的“G”处的结构放大示意图。
具体实施方式
下面结合图1至图8对本发明进行详细说明,为叙述方便,现对下文所说的方位规定如下:下文所说的上下左右前后方向与图1本身投影关系的上下左右前后方向一致。
本发明涉及一种一体化凿岩爆破设备,主要应用于岩体凿岩爆破,下面将结合本发明附图对本发明作进一步说明。
本发明的一种一体化凿岩爆破设备,包括机体10,所述机体10前后端壁内设有开口向外和向下的移动腔18,所述移动腔18内设有用于给凿岩爆破和机体移动提供动力的动力装置991,所述动力装置991包括前后两个所述移动腔18内传动连接设有的履带22,所述履带22下侧端壁与地面接触,使所述机体10可在矿洞中移动,所述机体10右侧端壁内开口向右的设有第一电机轴27,所述第一电机轴27内设有用于凿岩和爆破的凿岩装置992,所述凿岩装置992包括所述第一电机轴27内可左右滑动设有的第一滑座34,所述第一滑座34右侧端壁内设有开口向右的第一滑腔35,所述第一滑腔35内可前后滑动的设有第二滑座36,所述第二滑座36右侧端壁内设有上下两个凿进平台33,所述凿进平台33上可左右滑动的设有第一转轴29,所述第一转轴29右端固定连接的设有用于在岩壁中凿进的钻头30,所述凿进平台33前侧的所述第二滑座36上固定连接的设有上下两个安置滑座67,所述安置滑座67右侧端壁内开口向右的设有第二滑腔68,所述第二滑腔68内可左右滑动的设有多个炸药71,所述炸药71的大小和岩洞大小吻合,所述机体10移动岩壁左侧后,所述动力装置991可带动所述第一滑座34向右移动,所述第一滑座34带动所述钻头30向右移动并与岩壁接触后,所述钻头30向右凿进岩壁,凿岩完成后,所述钻头30退出岩壁,所述第二滑座36向后滑动,所述第二滑座36带动所述安置滑座67向后移动到岩洞的左侧,所述炸药71向右滑动到岩洞中,所述钻头30继续凿进,最终在岩壁中放置大量炸药,方便后续爆破和开采,最终实现本设计的一种一体化凿岩爆破设备。
有益地,所述动力装置991包括所述机体10内设有的第一传动腔24,所述第一传动腔24右侧端壁内固定连接的设有第一电机28,所述第一电机28左端动力连接的设有第一电机轴27,所述第一电机轴27上固定连接的设有第一锥齿轮25,前后两个所述移动腔18之间转动连接的设有第二转轴19和第三转轴20,所述第二转轴19贯穿所述第一传动腔24前后端壁并在所述第一传动腔24内固定连接的设有与所述第一锥齿轮25啮合的第二锥齿轮26,所述第二转轴19在所述移动腔18内固定连接的设有前后两个第一履带轮23,所述第三转轴20在所述移动腔18内固定连接的设有前后两个第二履带轮21,所述第二履带轮21和所述第一履带轮23上有所述履带22传动连接,所述机体10左侧端壁内固定连接的设有气泵11,所述第一电机轴27左侧设有第三滑腔13,所述第三滑腔13上侧端壁的最左端和所述气泵11之间固定连接的设有气道12,所述第三滑腔13左侧端壁内固定连接的设有贯穿所述第三滑腔13左侧端壁的气阀14,所述第三滑腔13内滑动连接的设有活塞15,所述第三滑腔13和所述第一电机轴27之间滑动连接的设有活塞连杆16,所述活塞连杆16在所述第三滑腔13内和所述活塞15右侧端壁固定连接,所述活塞15右侧端壁和所述第三滑腔13右侧端壁之间固定连接的设有第一弹簧17,所述活塞连杆16在所述第一电机轴27内与所述第一滑座34左侧端壁固定连接。
有益地,所述凿岩装置992包括所述第一滑腔35左侧端壁上固定连接设有的固定杆39,所述固定杆39下侧端壁上固定连接的设有第一齿条38,所述第二滑座36内设有第二传动腔50,所述第二传动腔50和所述第一滑腔35之间转动连接的设有第四转轴40,所述第四转轴40在所述第一滑腔35内固定连接的设有与所述第一齿条38啮合的第一直齿轮37,所述第四转轴40在所述第二传动腔50内固定连接的设有第一单向直齿轮41,所述第二传动腔50左侧端壁内固定连接的设有第二电机47,所述第二电机47右端动力连接的设有第二电机轴46,所述第二电机轴46上固定连接的设有第一转盘45,所述第一转盘45左侧端壁上固定连接的设有第一转子78,所述第二传动腔50左侧端壁内转动连接的设有前侧、下侧和后侧三个关于所述第二电机轴46阵列分布的第五转轴49,所述第五转轴49上固定连接的设有转杆44,所述转杆44和所述第二传动腔50左侧端壁之间固定连接的设有扭簧48,所述转杆44远离所述第二电机轴46的一端上固定连接的设有圆弧状的齿条架43,所述齿条架43远离所述第二电机轴46的一侧端壁上固定连接的设有第二齿条42,下侧的所述第二齿条42和所述第一单向直齿轮41啮合,第二传动腔50左侧端壁内转动连接的设有第六转轴90,所述第六转轴90上固定连接的设有与后侧的所述第二齿条42啮合的第二转盘89,所述第二转盘89右侧端壁上固定连接的设有第二转子88,所述第二传动腔50后侧设有第三传动腔76,所述第三传动腔76和所述第二传动腔50之间滑动连接的设有滑杆85,所述滑杆85在所述第三传动腔76内固定连接的设有第三齿条84,所述滑杆85在所述第二传动腔50内固定连接的设有滑架86,所述滑架86左右端壁内设有贯穿所述滑架86前后端壁的第四滑腔87,所述第二转子88在所述第四滑腔87内滑动连接,所述凿进平台33上侧端壁的最右端固定连接的设有螺纹轴32,所述螺纹轴32左侧端壁和所述第三传动腔76之间转动连接的设有贯穿所述第三传动腔76右侧端壁的第二螺纹轴31,上侧的所述第二螺纹轴31在所述第三传动腔76内固定连接的设有与所述第三齿条84啮合的第二单向直齿轮77,上下两侧的所述第二螺纹轴31在所述第三传动腔76内固定连接的设有第一皮带轮80,上下两侧的所述第一皮带轮80上有第一皮带81传动连接,所述第二螺纹轴31在所述第一电机轴27内螺纹连接的设有与所述凿进平台33上侧端壁滑动连接的第一电机28,所述第一电机28下侧端壁内设有第四传动腔52,所述凿进平台33上侧端壁上固定连接的设有贯穿所述第一电机28左右端壁的第四齿条51,所述第四传动腔52前侧端壁内转动连接的设有第七转轴53,所述第七转轴53上固定连接的设有与所述第四齿条51啮合的第二直齿轮54,所述第二直齿轮54后侧的所述第七转轴53上固定连接的设有第三锥齿轮55,所述第七转轴53左侧的所述第四传动腔52前侧端壁上转动连接的设有第八转轴57,所述第八转轴57上固定连接的设有蜗轮58,所述蜗轮58后侧的所述第八转轴57上固定连接的设有第四锥齿轮59,所述第四传动腔52左右端壁之间转动连接的设有第九转轴56,所述第九转轴56上固定连接的设有与所述第三锥齿轮55啮合的第五锥齿轮75,所述第五锥齿轮75左侧的所述第九转轴56上固定连接的设有与所述蜗轮58啮合的蜗杆72,所述第四传动腔52和所述第八转轴57之间转动连接的设有第一转轴29,所述第一转轴29在所述第一电机轴27内固定连接的设有钻头30,所述第九转轴56上固设有第三直齿轮66,所述第一转轴29在所述第四传动腔52内固定连接的设有与所述第三直齿轮66啮合的第四直齿轮65,所述第四传动腔52上侧端壁内转动连接的设有第十转轴73,所述第十转轴73上固定连接的设有和所述第四锥齿轮59啮合的第六锥齿轮60,所述第六锥齿轮60下侧的所述第十转轴73上固定连接的设有凸轮74,所述第四传动腔52后侧端壁上固定连接的设有固定板62,所述固定板62上滑动连接的设有贯穿所述固定板62左右端壁的撞针61,所述撞针61在所述固定板62左侧与所述凸轮74接触,所述撞针61在所述固定板62右侧固定连接的设有弹簧座64,所述弹簧座64左侧端壁和所述固定板62右侧端壁之间固定连接的设有第二弹簧63,所述第二弹簧63拉伸,使所述撞针61左端始终与所述凸轮74接触,上下两个所述第二滑腔68和所述第二传动腔50之间转动连接的设有第一螺纹轴69,所述第一螺纹轴69在所述第二传动腔50内固定连接的设有第二皮带轮82,上下两个所述第二皮带轮82上有第二皮带83传动连接,上侧的所述第一螺纹轴69在所述第二传动腔50内固定连接的设有与前侧的所述第二齿条42啮合的第三单向直齿轮79,所述第一螺纹轴69在所述第二滑腔68内螺纹连接的设有与所述第二滑腔68滑动连接的螺纹滑套70,所述第二滑腔68内滑动连接的设有多个所述炸药71,最左侧的所述炸药71与所述螺纹滑套70右侧端壁接触。
以下结合图1至图8对本文中的一种一体化凿岩爆破设备的使用步骤进行详细说明:
开始时,所述第一电机28启动,所述第一电机28带动所述第一电机轴27转动,所述第一电机轴27带动所述第一锥齿轮25转动,所述第一锥齿轮25带动所述第二锥齿轮26转动,所述第二锥齿轮26带动所述第二转轴19转动,所述第二转轴19带动所述第一履带轮23转动,所述第一履带轮23带动所述履带22传动,所述履带22带动所述第一履带轮23向右移动,所述第一履带轮23带动所述第二转轴19向右移动,所述第二转轴19带动所述机体10向右移动,所述机体10移动到岩壁左侧时,所述第一电机28停机,所述气泵11启动,气体通过所述气道12进入到所述第三滑腔13内,所述第三滑腔13内气压升高并推动所述活塞15向右滑动,所述第一弹簧17压缩,所述活塞15带动所述活塞连杆16向右滑动,所述活塞连杆16带动所述第一滑座34向右滑动,所述第一滑座34带动所述第二滑座36向右移动,所述第二滑座36带动所述凿进平台33向右移动,所述凿进平台33与岩壁接触后所述第一滑座34停止向右移动。
所述第二电机47启动,所述第二电机47带动所述第二电机轴46转动,所述第二电机轴46带动所述第一转盘45转动,所述第一转盘45带动所述第一转子78转动,所述第一转子78与后侧的所述转杆44接触并带动所述转杆44转动,后侧的所述扭簧48扭转蓄能,所述转杆44带动所述齿条架43转动,所述齿条架43带动所述第二齿条42绕所述第二电机轴46转动,所述第二齿条42带动所述第二转盘89转动,所述第二转盘89带动所述第二转子88绕所述第六转轴90转动,所述第二转子88带动所述滑架86向后移动,所述滑架86带动所述滑杆85向后移动,所述滑杆85带动所述第三齿条84向后移动,所述第三齿条84带动所述第二单向直齿轮77转动,所述第二单向直齿轮77带动上侧的所述第二螺纹轴31转动,所述第二螺纹轴31带动上侧的所述第一皮带轮80转动,所述第一皮带轮80带动所述第一皮带81传动,所述第一皮带81带动下侧的所述第一皮带轮80,下侧的所述第一皮带轮80带动下侧的所述第二螺纹轴31转动,上下两侧的所述第二螺纹轴31同步转动,所述第二螺纹轴31带动所述上下两侧的所述第一电机28向右滑动,所述第一电机28带动所述第一转轴29向右移动,所述第一转轴29带动所述钻头30向右移动并与岩壁接触,所述第一电机28带动所述第七转轴53向右移动,所述第七转轴53带动所述第二直齿轮54向右移动,所述第四齿条51推动所述第二直齿轮54转动,所述第二直齿轮54带动所述第七转轴53转动,所述第七转轴53带动所述第三锥齿轮55转动,所述第三锥齿轮55带动所述第五锥齿轮75转动,所述第五锥齿轮75带动所述第九转轴56转动,所述第九转轴56带动所述第三直齿轮66和所述蜗杆72转动,所述第三直齿轮66带动所述第四直齿轮65转动,所述第四直齿轮65带动所述第一转轴29转动,所述第一转轴29带动所述钻头30转动,所述钻头30凿进岩壁,同时,所述蜗杆72带动所述蜗轮58转动,所述蜗轮58带动所述第八转轴57转动,所述第八转轴57带动所述第四锥齿轮59转动,所述第四锥齿轮59带动所述第六锥齿轮60转动,所述第六锥齿轮60带动所述第十转轴73转动,所述第十转轴73带动所述凸轮74转动,所述凸轮74的凸起部分与所述撞针61左端接触时,所述凸轮74推动所述撞针61向右滑动,所述撞针61带动所述弹簧座64向右移动,所述第二弹簧63拉伸,所述凸轮74的凸起部分与所述左端脱离接触后,所述第二弹簧63拉动所述弹簧座64向左移动,所述弹簧座64带动所述撞针61向左移回初始位置,所述凸轮74带动所述撞针61间歇性向右撞击,所述撞针61右端与所述第一转轴29左端接触后推动所述第一转轴29向右移动,所述第一转轴29带动所述钻头30向右凿进岩壁。
所述第二转子88带动所述滑架86移动到最后端时,所述第一电机28移动到最右端,所述第二转子88开始带动所述滑架86向前移动,所述滑架86带动所述第一电机28向左移回初始位置,所述第一电机28带动所述钻头30向左移出岩洞,当所述第一转子78和所述第二转盘89脱离接触时,所述第二转盘89刚好转动一周,所述第一电机28回到初始位置,所述扭簧48释放能量,所述扭簧48带动所述转杆44转动回初始位置,所述转杆44带动所述第二转子88转动,所述第二转子88带动所述第二单向直齿轮77转动,由于所述第二单向直齿轮77为单向齿轮,因此所述第二单向直齿轮77不会带动所述第二螺纹轴31转动。
所述第一转子78转动一定时间后与下侧的所述转杆44接触,所述第一转子78带动下侧的所述转杆44转动,所述转杆44带动是第二齿条42转动,所述第二齿条42带动所述第一单向直齿轮41转动,所述第一单向直齿轮41带动所述第四转轴40转动,所述第四转轴40带动所述第一直齿轮37转动,所述第一齿条38推动所述第一直齿轮37向后移动,所述第一直齿轮37带动所述第四转轴40向后移动,所述第四转轴40带动所述第一电机28向后移动,所述第一电机28带动所述钻头30向后移动,同时,所述第一电机28带动所述安置滑座67向后移动到岩洞的左侧方,此时所述第一转子78与下侧的所述转杆44脱离接触,下侧的所述扭簧48释放能量,所述扭簧48带动下侧的所述转杆44反转回初始位置,所述转杆44带动所述第一单向直齿轮41反转,由于所述第一单向直齿轮41为单向齿轮,所以所述第一单向直齿轮41不会带动所述第四转轴40反转。
所述第一转子78转动一定时间后与前侧的所述转杆44接触,所述第一转子78带动所述转杆44转动,所述转杆44带动所述第二齿条42转动,所述第二齿条42带动所述第三单向直齿轮79转动,所述第三单向直齿轮79带动上侧的所述第一螺纹轴69转动,所述第一螺纹轴69带动上侧的所述第二皮带轮82转动,所述第二皮带轮82带动所述第二皮带83传动,所述第二皮带83带动下侧的所述第二皮带轮82转动,所述第二皮带轮82带动下侧的所述第一螺纹轴69转动,上下两侧的所述第一螺纹轴69同步转动,所述第一螺纹轴69带动所述螺纹滑套70向右滑动,所述螺纹滑套70带动所述炸药71向右滑动,最右端的所述炸药71向右滑入岩洞中,所述第一转子78和前侧的所述转杆44脱离接触,所述扭簧48释放能量并带动所述转杆44反转回初始位置,由于所述第三单向直齿轮79为单向齿轮,所述第三单向直齿轮79不会带动所述第一螺纹轴69转动,重复上述操作,最终实现岩壁的凿进和所述炸药71的安置.
凿岩完成后,所述第二电机47停机,所述气阀14打开,所述第三滑腔13内气压降低,所述第一弹簧17推动所述活塞15向左滑动,所述活塞15带动所述第一滑座34向左滑动回初始位置,等待爆破。
通过以上方式,本领域的技术人员可以在本发明的范围内根据工作模式做出各种改变。

Claims (3)

1.一种一体化凿岩爆破设备,包括机体,其特征在于:所述机体前后端壁内设有开口向外和向下的移动腔,所述移动腔内设有用于给凿岩爆破和机体移动提供动力的动力装置,所述动力装置包括前后两个所述移动腔内传动连接设有的履带,所述履带下侧端壁与地面接触,使所述机体可在矿洞中移动,所述机体右侧端壁内开口向右的设有第一电机轴,所述第一电机轴内设有用于凿岩和爆破的凿岩装置,所述凿岩装置包括所述第一电机轴内可左右滑动设有的第一滑座,所述第一滑座右侧端壁内设有开口向右的第一滑腔,所述第一滑腔内可前后滑动的设有第二滑座,所述第二滑座右侧端壁内设有上下两个凿进平台,所述凿进平台上可左右滑动的设有第一转轴,所述第一转轴右端固定连接的设有用于在岩壁中凿进的钻头,所述凿进平台前侧的所述第二滑座上固定连接的设有上下两个安置滑座,所述安置滑座右侧端壁内开口向右的设有第二滑腔,所述第二滑腔内可左右滑动的设有多个炸药,所述炸药的大小和岩洞大小吻合,所述机体移动岩壁左侧后,所述动力装置可带动所述第一滑座向右移动,所述第一滑座带动所述钻头向右移动并与岩壁接触后,所述钻头向右凿进岩壁,凿岩完成后,所述钻头退出岩壁,所述第二滑座向后滑动,所述第二滑座带动所述安置滑座向后移动到岩洞的左侧,所述炸药向右滑动到岩洞中,所述钻头继续凿进,最终在岩壁中放置大量炸药,方便后续爆破和开采,最终实现本设计的一种一体化凿岩爆破设备。
2.如权利要求1所述的一种一体化凿岩爆破设备,其特征在于:所述动力装置包括所述机体内设有的第一传动腔,所述第一传动腔右侧端壁内固定连接的设有第一电机,所述第一电机左端动力连接的设有第一电机轴,所述第一电机轴上固定连接的设有第一锥齿轮,前后两个所述移动腔之间转动连接的设有第二转轴和第三转轴,所述第二转轴贯穿所述第一传动腔前后端壁并在所述第一传动腔内固定连接的设有与所述第一锥齿轮啮合的第二锥齿轮,所述第二转轴在所述移动腔内固定连接的设有前后两个第一履带轮,所述第三转轴在所述移动腔内固定连接的设有前后两个第二履带轮,所述第二履带轮和所述第一履带轮上有所述履带传动连接,所述机体左侧端壁内固定连接的设有气泵,所述第一电机轴左侧设有第三滑腔,所述第三滑腔上侧端壁的最左端和所述气泵之间固定连接的设有气道,所述第三滑腔左侧端壁内固定连接的设有贯穿所述第三滑腔左侧端壁的气阀,所述第三滑腔内滑动连接的设有活塞,所述第三滑腔和所述第一电机轴之间滑动连接的设有活塞连杆,所述活塞连杆在所述第三滑腔内和所述活塞右侧端壁固定连接,所述活塞右侧端壁和所述第三滑腔右侧端壁之间固定连接的设有第一弹簧,所述活塞连杆在所述第一电机轴内与所述第一滑座左侧端壁固定连接。
3.如权利要求1所述的一种一体化凿岩爆破设备,其特征在于:所述凿岩装置包括所述第一滑腔左侧端壁上固定连接设有的固定杆,所述固定杆下侧端壁上固定连接的设有第一齿条,所述第二滑座内设有第二传动腔,所述第二传动腔和所述第一滑腔之间转动连接的设有第四转轴,所述第四转轴在所述第一滑腔内固定连接的设有与所述第一齿条啮合的第一直齿轮,所述第四转轴在所述第二传动腔内固定连接的设有第一单向直齿轮,所述第二传动腔左侧端壁内固定连接的设有第二电机,所述第二电机右端动力连接的设有第二电机轴,所述第二电机轴上固定连接的设有第一转盘,所述第一转盘左侧端壁上固定连接的设有第一转子,所述第二传动腔左侧端壁内转动连接的设有前侧、下侧和后侧三个关于所述第二电机轴阵列分布的第五转轴,所述第五转轴上固定连接的设有转杆,所述转杆和所述第二传动腔左侧端壁之间固定连接的设有扭簧,所述转杆远离所述第二电机轴的一端上固定连接的设有圆弧状的齿条架,所述齿条架远离所述第二电机轴的一侧端壁上固定连接的设有第二齿条,下侧的所述第二齿条和所述第一单向直齿轮啮合,第二传动腔左侧端壁内转动连接的设有第六转轴,所述第六转轴上固定连接的设有与后侧的所述第二齿条啮合的第二转盘,所述第二转盘右侧端壁上固定连接的设有第二转子,所述第二传动腔后侧设有第三传动腔,所述第三传动腔和所述第二传动腔之间滑动连接的设有滑杆,所述滑杆在所述第三传动腔内固定连接的设有第三齿条,所述滑杆在所述第二传动腔内固定连接的设有滑架,所述滑架左右端壁内设有贯穿所述滑架前后端壁的第四滑腔,所述第二转子在所述第四滑腔内滑动连接,所述凿进平台上侧端壁的最右端固定连接的设有螺纹轴,所述螺纹轴左侧端壁和所述第三传动腔之间转动连接的设有贯穿所述第三传动腔右侧端壁的第二螺纹轴,上侧的所述第二螺纹轴在所述第三传动腔内固定连接的设有与所述第三齿条啮合的第二单向直齿轮,上下两侧的所述第二螺纹轴在所述第三传动腔内固定连接的设有第一皮带轮,上下两侧的所述第一皮带轮上有第一皮带传动连接,所述第二螺纹轴在所述第一电机轴内螺纹连接的设有与所述凿进平台上侧端壁滑动连接的第一电机,所述第一电机下侧端壁内设有第四传动腔,所述凿进平台上侧端壁上固定连接的设有贯穿所述第一电机左右端壁的第四齿条,所述第四传动腔前侧端壁内转动连接的设有第七转轴,所述第七转轴上固定连接的设有与所述第四齿条啮合的第二直齿轮,所述第二直齿轮后侧的所述第七转轴上固定连接的设有第三锥齿轮,所述第七转轴左侧的所述第四传动腔前侧端壁上转动连接的设有第八转轴,所述第八转轴上固定连接的设有蜗轮,所述蜗轮后侧的所述第八转轴上固定连接的设有第四锥齿轮,所述第四传动腔左右端壁之间转动连接的设有第九转轴,所述第九转轴上固定连接的设有与所述第三锥齿轮啮合的第五锥齿轮,所述第五锥齿轮左侧的所述第九转轴上固定连接的设有与所述蜗轮啮合的蜗杆,所述第四传动腔和所述第八转轴之间转动连接的设有第一转轴,所述第一转轴在所述第一电机轴内固定连接的设有钻头,所述第九转轴上固设有第三直齿轮,所述第一转轴在所述第四传动腔内固定连接的设有与所述第三直齿轮啮合的第四直齿轮,所述第四传动腔上侧端壁内转动连接的设有第十转轴,所述第十转轴上固定连接的设有和所述第四锥齿轮啮合的第六锥齿轮,所述第六锥齿轮下侧的所述第十转轴上固定连接的设有凸轮,所述第四传动腔后侧端壁上固定连接的设有固定板,所述固定板上滑动连接的设有贯穿所述固定板左右端壁的撞针,所述撞针在所述固定板左侧与所述凸轮接触,所述撞针在所述固定板右侧固定连接的设有弹簧座,所述弹簧座左侧端壁和所述固定板右侧端壁之间固定连接的设有第二弹簧,所述第二弹簧拉伸,使所述撞针左端始终与所述凸轮接触,上下两个所述第二滑腔和所述第二传动腔之间转动连接的设有第一螺纹轴,所述第一螺纹轴在所述第二传动腔内固定连接的设有第二皮带轮,上下两个所述第二皮带轮上有第二皮带传动连接,上侧的所述第一螺纹轴在所述第二传动腔内固定连接的设有与前侧的所述第二齿条啮合的第三单向直齿轮,所述第一螺纹轴在所述第二滑腔内螺纹连接的设有与所述第二滑腔滑动连接的螺纹滑套,所述第二滑腔内滑动连接的设有多个所述炸药,最左侧的所述炸药与所述螺纹滑套右侧端壁接触。
CN202011171289.5A 2020-10-28 2020-10-28 一种一体化凿岩爆破设备 Active CN112146530B (zh)

Priority Applications (1)

Application Number Priority Date Filing Date Title
CN202011171289.5A CN112146530B (zh) 2020-10-28 2020-10-28 一种一体化凿岩爆破设备

Applications Claiming Priority (1)

Application Number Priority Date Filing Date Title
CN202011171289.5A CN112146530B (zh) 2020-10-28 2020-10-28 一种一体化凿岩爆破设备

Publications (2)

Publication Number Publication Date
CN112146530A CN112146530A (zh) 2020-12-29
CN112146530B true CN112146530B (zh) 2021-07-02

Family

ID=73953512

Family Applications (1)

Application Number Title Priority Date Filing Date
CN202011171289.5A Active CN112146530B (zh) 2020-10-28 2020-10-28 一种一体化凿岩爆破设备

Country Status (1)

Country Link
CN (1) CN112146530B (zh)

Cited By (1)

* Cited by examiner, † Cited by third party
Publication number Priority date Publication date Assignee Title
WO2024259542A1 (es) * 2023-06-23 2024-12-26 Enaex Servicios S.A Sistema para dispensar primas en pozos de voladura para minería

Family Cites Families (5)

* Cited by examiner, † Cited by third party
Publication number Priority date Publication date Assignee Title
CN205895133U (zh) * 2016-06-29 2017-01-18 重庆宝爵机械设备有限公司 一种自动定深装药的智能打炮眼钻机
CN109594915B (zh) * 2017-09-30 2020-05-19 张家界航空工业职业技术学院 一种悬崖凿岩机
CN107941106A (zh) * 2017-11-24 2018-04-20 中铁十局集团第四工程有限公司 一种用于隧道爆破开挖的钻孔和装药设备及装药操作方法
US10788035B2 (en) * 2018-01-15 2020-09-29 Hamilton Sundstrand Corporation Pump sleeve for a charge and scavenge pump of an integrated drive generator
CN110778324B (zh) * 2019-11-05 2020-09-01 中国矿业大学 一种集钻孔、探水、铣削为一体的硬岩巷道掘进方法

Cited By (1)

* Cited by examiner, † Cited by third party
Publication number Priority date Publication date Assignee Title
WO2024259542A1 (es) * 2023-06-23 2024-12-26 Enaex Servicios S.A Sistema para dispensar primas en pozos de voladura para minería

Also Published As

Publication number Publication date
CN112146530A (zh) 2020-12-29

Similar Documents

Publication Publication Date Title
CN110318760A (zh) 一种避免坍塌的采矿竖井钻进设备
CN203387876U (zh) 一种打孔施肥一体机
CN112665906B (zh) 一种可对不同深度土壤钻孔取样的勘探设备
CN104763438A (zh) 绳锯式掘进机
CN102400682A (zh) 高效成块铲煤机
CN112146530B (zh) 一种一体化凿岩爆破设备
CN202360093U (zh) 高效成块铲煤机
CN113356848A (zh) 一种采矿用辅助裂劈系统
CN114833192A (zh) 一种矿山土壤生态修复装置
CN102678111B (zh) 高效成块铲煤机
CN100417785C (zh) 自移行走式锚杆机
CN216898577U (zh) 隧道安全高效复合爆破辅助装置
CN114776292A (zh) 一种破碎锤式液压冲击的综合采煤机
CN111852330A (zh) 一种无人的矿山钻孔爆破小车
CN110195587A (zh) 一种基于复杂地区处难采矿床规模化自动开采车
CN117191466B (zh) 一种石油开采用钻进取样装置及其方法
CN100417786C (zh) 自移行走式锚索机
CN101509355B (zh) 双钻杆传动装置及双钻杆瓦斯防突钻
CN2735002Y (zh) 自移行走式锚杆机
CN201363097Y (zh) 双钻杆传动装置及双钻杆瓦斯防突钻
CN113174919A (zh) 一种市政工程地质勘测系统及勘测方法
CN2428572Y (zh) 多功能全断面隧道掘进机
CN112428446A (zh) 一种小型石材降噪分裂设备
CN112673783A (zh) 一种行进间自动灌肥并封土的设备
CN111043922B (zh) 一种精确定点爆破的大型石块粉碎装置

Legal Events

Date Code Title Description
PB01 Publication
PB01 Publication
SE01 Entry into force of request for substantive examination
SE01 Entry into force of request for substantive examination
TA01 Transfer of patent application right

Effective date of registration: 20210125

Address after: No. 120, Changlong Road, Guanghua community, Jihua street, Longgang, Shenzhen, Guangdong 518172

Applicant after: Shenzhen hongxinda Network Technology Co.,Ltd.

Address before: 450003 No. 502, unit 1, building 1, Renhe garden, 28 Guangdian South Road, Jinshui District, Zhengzhou City, Henan Province

Applicant before: Zhengzhou Meijun mechanical equipment Co.,Ltd.

TA01 Transfer of patent application right
GR01 Patent grant
GR01 Patent grant
TA01 Transfer of patent application right

Effective date of registration: 20210618

Address after: 034000 No.39, Zitan street, Xinzhou Economic Development Zone, Xinzhou City, Shanxi Province

Applicant after: Shanxi Tongde Blasting Engineering Co.,Ltd.

Address before: No. 120, Changlong Road, Guanghua community, Jihua street, Longgang, Shenzhen, Guangdong 518172

Applicant before: Shenzhen hongxinda Network Technology Co.,Ltd.

TA01 Transfer of patent application right