CN112146402A - 一种红薯粉粉条加工干燥设备 - Google Patents

一种红薯粉粉条加工干燥设备 Download PDF

Info

Publication number
CN112146402A
CN112146402A CN202011066924.3A CN202011066924A CN112146402A CN 112146402 A CN112146402 A CN 112146402A CN 202011066924 A CN202011066924 A CN 202011066924A CN 112146402 A CN112146402 A CN 112146402A
Authority
CN
China
Prior art keywords
drying
fixedly connected
box
sweet potato
drying box
Prior art date
Legal status (The legal status is an assumption and is not a legal conclusion. Google has not performed a legal analysis and makes no representation as to the accuracy of the status listed.)
Pending
Application number
CN202011066924.3A
Other languages
English (en)
Inventor
肖美霞
罗伟民
肖金云
肖展新
Current Assignee (The listed assignees may be inaccurate. Google has not performed a legal analysis and makes no representation or warranty as to the accuracy of the list.)
Hunan Kangwang Food Co ltd
Original Assignee
Hunan Kangwang Food Co ltd
Priority date (The priority date is an assumption and is not a legal conclusion. Google has not performed a legal analysis and makes no representation as to the accuracy of the date listed.)
Filing date
Publication date
Application filed by Hunan Kangwang Food Co ltd filed Critical Hunan Kangwang Food Co ltd
Priority to CN202011066924.3A priority Critical patent/CN112146402A/zh
Publication of CN112146402A publication Critical patent/CN112146402A/zh
Pending legal-status Critical Current

Links

Images

Classifications

    • FMECHANICAL ENGINEERING; LIGHTING; HEATING; WEAPONS; BLASTING
    • F26DRYING
    • F26BDRYING SOLID MATERIALS OR OBJECTS BY REMOVING LIQUID THEREFROM
    • F26B11/00Machines or apparatus for drying solid materials or objects with movement which is non-progressive
    • F26B11/12Machines or apparatus for drying solid materials or objects with movement which is non-progressive in stationary drums or other mainly-closed receptacles with moving stirring devices
    • F26B11/16Machines or apparatus for drying solid materials or objects with movement which is non-progressive in stationary drums or other mainly-closed receptacles with moving stirring devices the stirring device moving in a vertical or steeply-inclined plane
    • AHUMAN NECESSITIES
    • A23FOODS OR FOODSTUFFS; TREATMENT THEREOF, NOT COVERED BY OTHER CLASSES
    • A23BPRESERVATION OF FOODS, FOODSTUFFS OR NON-ALCOHOLIC BEVERAGES; CHEMICAL RIPENING OF FRUIT OR VEGETABLES
    • A23B2/00Preservation of foods or foodstuffs, in general
    • A23B2/90Preservation of foods or foodstuffs, in general by drying or kilning; Subsequent reconstitution
    • AHUMAN NECESSITIES
    • A23FOODS OR FOODSTUFFS; TREATMENT THEREOF, NOT COVERED BY OTHER CLASSES
    • A23LFOODS, FOODSTUFFS OR NON-ALCOHOLIC BEVERAGES, NOT OTHERWISE PROVIDED FOR; PREPARATION OR TREATMENT THEREOF
    • A23L29/00Foods or foodstuffs containing additives; Preparation or treatment thereof
    • A23L29/30Foods or foodstuffs containing additives; Preparation or treatment thereof containing carbohydrate syrups; containing sugars; containing sugar alcohols, e.g. xylitol; containing starch hydrolysates, e.g. dextrin
    • FMECHANICAL ENGINEERING; LIGHTING; HEATING; WEAPONS; BLASTING
    • F26DRYING
    • F26BDRYING SOLID MATERIALS OR OBJECTS BY REMOVING LIQUID THEREFROM
    • F26B21/00Arrangements or duct systems, e.g. in combination with pallet boxes, for supplying and controlling air or gases for drying solid materials or objects
    • F26B21/001Drying-air generating units, e.g. movable, independent of drying enclosure
    • F26B21/25
    • F26B21/50
    • FMECHANICAL ENGINEERING; LIGHTING; HEATING; WEAPONS; BLASTING
    • F26DRYING
    • F26BDRYING SOLID MATERIALS OR OBJECTS BY REMOVING LIQUID THEREFROM
    • F26B25/00Details of general application not covered by group F26B21/00 or F26B23/00
    • FMECHANICAL ENGINEERING; LIGHTING; HEATING; WEAPONS; BLASTING
    • F26DRYING
    • F26BDRYING SOLID MATERIALS OR OBJECTS BY REMOVING LIQUID THEREFROM
    • F26B25/00Details of general application not covered by group F26B21/00 or F26B23/00
    • F26B25/001Handling, e.g. loading or unloading arrangements
    • F26B25/002Handling, e.g. loading or unloading arrangements for bulk goods
    • FMECHANICAL ENGINEERING; LIGHTING; HEATING; WEAPONS; BLASTING
    • F26DRYING
    • F26BDRYING SOLID MATERIALS OR OBJECTS BY REMOVING LIQUID THEREFROM
    • F26B25/00Details of general application not covered by group F26B21/00 or F26B23/00
    • F26B25/04Agitating, stirring, or scraping devices
    • FMECHANICAL ENGINEERING; LIGHTING; HEATING; WEAPONS; BLASTING
    • F26DRYING
    • F26BDRYING SOLID MATERIALS OR OBJECTS BY REMOVING LIQUID THEREFROM
    • F26B25/00Details of general application not covered by group F26B21/00 or F26B23/00
    • F26B25/06Chambers, containers, or receptacles
    • F26B25/08Parts thereof
    • F26B25/12Walls or sides; Doors

Landscapes

  • Engineering & Computer Science (AREA)
  • Mechanical Engineering (AREA)
  • General Engineering & Computer Science (AREA)
  • Life Sciences & Earth Sciences (AREA)
  • Health & Medical Sciences (AREA)
  • Food Science & Technology (AREA)
  • Polymers & Plastics (AREA)
  • Chemical & Material Sciences (AREA)
  • Zoology (AREA)
  • Wood Science & Technology (AREA)
  • Molecular Biology (AREA)
  • Nutrition Science (AREA)
  • Preparation Of Fruits And Vegetables (AREA)
  • Drying Of Solid Materials (AREA)

Abstract

本发明属于食品加工技术领域,尤其为一种红薯粉粉条加工干燥设备,包括干燥箱体,所述干燥箱体的上表面固定连接有进料斗,所述进料斗的上表面固定连通有过筛料箱,所述干燥箱体的右侧面通过两个铰链固定铰接有密封门,所述干燥箱体的左侧面通过机架固定安装有旋转电机,所述旋转电机的输出端固定连接有转轴,所述干燥箱体的左侧面固定镶嵌有轴承,所述转轴的右端贯穿轴承并延伸至干燥箱体的内部。本发明通过设置第一风机和第二风机,能够配合出风管和回风管将干燥箱体内部的干燥空气进行循环,提高干燥空气的利用率,通过空气加热箱的内部设置加热丝,能够将干燥箱体内部循环返回的空气进行再次干燥,提高红薯粉的干燥效率。

Description

一种红薯粉粉条加工干燥设备
技术领域
本发明涉及食品加工技术领域,具体为一种红薯粉粉条加工干燥设备。
背景技术
食品加工,是指直接以农、林、牧、渔业产品为原料进行的谷物磨制、饲料加工、植物油和制糖加工、屠宰及肉类加工、水产品加工,以及蔬菜、水果和坚果等食品的加工活动,是广义农产品加工业的一种类型,十一五以来,我国农副食品加工业有了较快的发展,出现了可喜变化,已成为具有较强发展潜力的产业,农副食品加工业的发展离不开加工设备,在下游需求的拉动下,我国农副食品加工专用设备制造行业也实现了快速发展,随着中国食品工业生产快速增长,产业结构不断优化,品种档次更加丰富,每年增速较高,随着中国城镇化率的不断提高,人均食品购买能力及支出逐年提高,中国食品的需求量实现了快速增长。
民以食为天,随着国民经济的发展和人民生活水平的提高,人民对食品工业提出了更高的要求,现代食品已朝着营养、绿色、方便、功能食品的方向发展,且功能食品将成为新世纪的主流食品,食品工业也成为国民经济的支柱产业,作为装备食品工业的食品机械工业发展尤为迅猛,粉条在我国各地均有喜食习惯、消费量很大,传统粉条加工所用的原料为豆粉、玉米粉、马铃薯粉和红薯粉,粉条作为人们生活用的常用食品,其加工过程非常复杂,需要经过一系列的加工,从原材料的筛选、清洗、切片、过滤、烘干和成粉就需要使用许多加工机械,红薯粉研磨成粉之后,为了防止红薯粉出现发霉的情况,需要对红薯粉进行干燥处理,现有的粉条加工干燥设备在对红薯粉干燥时,不能够对红薯粉进行掺拌,容易出现粘结固块的情况,而且干燥设备干燥均匀性较差,无法保证红薯粉的干燥效果,造成设备使用不便,为此,我们提出一种红薯粉粉条加工干燥设备。
发明内容
针对现有技术的不足,本发明提供了一种红薯粉粉条加工干燥设备,解决了现有的粉条加工干燥设备在对红薯粉干燥时,不能够对红薯粉进行掺拌,容易出现粘结固块的情况,而且干燥设备干燥均匀性较差,无法保证红薯粉的干燥效果,造成设备使用不便的问题。
为实现上述目的,本发明提供如下技术方案:一种红薯粉粉条加工干燥设备,包括干燥箱体,所述干燥箱体的上表面固定连接有进料斗,所述进料斗的上表面固定连通有过筛料箱,所述干燥箱体的右侧面通过两个铰链固定铰接有密封门,所述干燥箱体的左侧面通过机架固定安装有旋转电机,所述旋转电机的输出端固定连接有转轴,所述干燥箱体的左侧面固定镶嵌有轴承,所述转轴的右端贯穿轴承并延伸至干燥箱体的内部,所述转轴的外表面固定连接有掺拌架,所述干燥箱体的右侧面开设有出料口,所述干燥箱体的上表面开设有进料口,所述进料斗的底端与进料口相连通。
所述干燥箱体的背面固定连接有空气加热箱,所述空气加热箱的内部设有加热丝,所述加热丝的左右两端均与空气加热箱的内侧壁固定连接,所述空气加热箱的上表面开设有出风口,所述空气加热箱的上表面固定连接有出风管,所述出风管的底端与出风口固定连通,所述空气加热箱的上表面开设有回风口,所述空气加热箱的上表面固定连接有回风管,所述回风管的底端与回风口固定连通,所述干燥箱体的背面固定连接有第一风机,所述第一风机与出风管相连通,所述干燥箱体的背面固定连接有第二风机,所述第二风机与回风管相连通,所述出风管远离出风口的一端与干燥箱体的上表面固定连通,所述回风管远离回风口的一端与干燥箱体的上表面固定连通。
作为本发明的一种优选技术方案,所述干燥箱体的底面固定连接有固定底座,所述固定底座的底面固定连接有两组相对称的支撑脚。
作为本发明的一种优选技术方案,所述干燥箱体的正面固定连接有控制面板,所述控制面板的正面固定连接有温度显示屏。
作为本发明的一种优选技术方案,所述干燥箱体的左侧设有电机防护框,所述电机防护框的右侧面通过安装板与干燥箱体的左侧面固定连接。
作为本发明的一种优选技术方案,所述过筛料箱的上方设有防护盖板,所述防护盖板的底面与过筛料箱的上表面相接触,所述防护盖板的上表面固定连接有提拉手。
作为本发明的一种优选技术方案,所述过筛料箱的正面固定连接有铭牌,所述铭牌的正面设有产品生产信息。
作为本发明的一种优选技术方案,所述密封门的正面开设有观察窗,所述观察窗的内部固定连接有透明板。
作为本发明的一种优选技术方案,所述密封门的正面固定连接有活动锁把,所述干燥箱体的右侧面固定连接有固定锁板,所述活动锁把与固定锁板相卡接。
作为本发明的一种优选技术方案,所述空气加热箱的正面固定连接有提示牌,所述提示牌的正面设有提示标志。
作为本发明的一种优选技术方案,所述过筛料箱的内部设有过筛网,所述过筛网的外表面与过筛料箱的内壁固定连接。
与现有技术相比,本发明提供了一种红薯粉粉条加工干燥设备,具备以下有益效果:
1、该红薯粉粉条加工干燥设备,通过设置固定底座和支撑脚,能够便于支撑干燥设备,在设备进行使用时,利用支撑脚和固定底座的配合,能够保证装置的稳定性,在干燥箱体的正面设置控制面板,能够方便控制干燥设备对红薯粉干燥过程进行控制,通过控制面板上设置温度显示屏,能够便于显示干燥箱体内部的干燥温度。
2、该红薯粉粉条加工干燥设备,通过设置机架固定旋转电机,能够保证旋转电机的稳定性,通过旋转电机的外部设置电机防护框,能够对旋转电机进行防护,提高旋转电机运转的安全性,通过干燥箱的内部设有掺拌架,利用旋转电机配合转轴带动掺拌架,能够在干燥过程中对红薯粉进行掺拌,使红薯粉与干燥空气充分接触,从而提高红薯粉的干燥效果。
3、该红薯粉粉条加工干燥设备,通过设置第一风机和第二风机,利用第一风机与第二风机相反设置,能够配合出风管和回风管将干燥箱体内部的干燥空气进行循环,提高干燥空气的利用率,通过空气加热箱的内部设置加热丝,能够将干燥箱体内部循环返回的空气进行再次干燥,提高红薯粉的干燥效率。
4、该红薯粉粉条加工干燥设备,通过设置密封门在出料口的外部,利用活动锁把与固定锁板配合,能够将密封门进行固定,避免在干燥的时候,出料口出现泄漏,通过密封门正面设置观察窗,能够方便工作人员对烘干情况进行观察,通过过筛料箱的内部设置过筛网,在加入红薯粉时,能够对红薯粉进行过滤,避免大颗粒或者固化的红薯粉进入干燥箱体。
附图说明
图1为本发明干燥箱体的正视图;
图2为本发明干燥箱体的侧视图;
图3为本发明干燥箱体的后视图;
图4为本发明干燥箱体的正剖图;
图5为本发明空气加热箱的正剖图;
图6为本发明过筛料箱的正剖图。
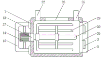
图中:1、干燥箱体;2、温度显示屏;3、铰链;4、控制面板;5、密封门;6、固定底座;7、支撑脚;8、进料斗;9、过筛料箱;10、防护盖板;11、铭牌;12、安装板;13、机架;14、旋转电机;15、电机防护框;16、透明板;17、观察窗;18、活动锁把;19、固定锁板;20、提拉手;21、第一风机;22、出风管;23、提示牌;24、第二风机;25、回风管;26、空气加热箱;27、轴承;28、进料口;29、掺拌架;30、转轴;31、出风口;32、回风口;33、加热丝;34、过筛网;35、出料口。
具体实施方式
下面将结合本发明实施例中的附图,对本发明实施例中的技术方案进行清楚、完整地描述,显然,所描述的实施例仅仅是本发明一部分实施例,而不是全部的实施例。基于本发明中的实施例,本领域普通技术人员在没有做出创造性劳动前提下所获得的所有其他实施例,都属于本发明保护的范围。
实施例
请参阅图1-6,本实施方案中:一种红薯粉粉条加工干燥设备,包括干燥箱体1,干燥箱体1的上表面固定连接有进料斗8,进料斗8的上表面固定连通有过筛料箱9,干燥箱体1的右侧面通过两个铰链3固定铰接有密封门5,干燥箱体1的左侧面通过机架13固定安装有旋转电机14,旋转电机14是电机的一种,它能够通电带动输出端进行转动,它的主要作用是产生驱动转矩,作为用电器或各种机械的动力源,旋转电机14的输出端固定连接有转轴30,干燥箱体1的左侧面固定镶嵌有轴承27,转轴30的右端贯穿轴承27并延伸至干燥箱体1的内部,转轴30的外表面固定连接有掺拌架29,干燥箱体1的右侧面开设有出料口35,干燥箱体1的上表面开设有进料口28,进料斗8的底端与进料口28相连通。
干燥箱体1的背面固定连接有空气加热箱26,空气加热箱26的内部设有加热丝33,加热丝33又叫电热丝,能够通电进行加热,加热丝33的左右两端均与空气加热箱26的内侧壁固定连接,空气加热箱26的上表面开设有出风口31,空气加热箱26的上表面固定连接有出风管22,出风管22的底端与出风口31固定连通,空气加热箱26的上表面开设有回风口32,空气加热箱26的上表面固定连接有回风管25,回风管25的底端与回风口32固定连通,干燥箱体1的背面固定连接有第一风机21,第一风机21与出风管22相连通,干燥箱体1的背面固定连接有第二风机24,第二风机24与回风管25相连通,出风管22远离出风口31的一端与干燥箱体1的上表面固定连通,回风管25远离回风口32的一端与干燥箱体1的上表面固定连通,风机是依靠输入的机械能,提高气体压力并排送气体的机械,它是一种从动的流体机械,风机是我国对气体压缩和气体输送机械的习惯简称,通常所说的风机包括通风机和鼓风机,它是一种气体压缩和气体输送机械是把旋转的机械能转换为气体压力能和动能,并将气体输送出去的机械。
本实施例中,干燥箱体1的底面固定连接有固定底座6,固定底座6的底面固定连接有两组相对称的支撑脚7,通过干燥设备的底部设置固定底座6和支撑脚7,能够便于对干燥设备进行支撑,保证设备的稳定性。
干燥箱体1的正面固定连接有控制面板4,控制面板4的正面固定连接有温度显示屏2,通过控制面板4能够与干燥设备的电器进行连接,便于统一操作控制,温度显示屏2是一种显示设备,它是一种将一定的电子文件通过特定的传输设备显示到屏幕上再反射到人眼的显示工具,它是一种通过控制半导体发光二极管的显示方式,用来显示文字、图形、图像、动画、行情、视频和录像信号等各种信息的显示屏幕。
干燥箱体1的左侧设有电机防护框15,电机防护框15的右侧面通过安装板12与干燥箱体1的左侧面固定连接,通过旋转电机14的外部设置电机防护框15,能够对电机进行防护,提高设备使用的安全性。
过筛料箱9的上方设有防护盖板10,防护盖板10的底面与过筛料箱9的上表面相接触,防护盖板10的上表面固定连接有提拉手20,通过过筛料箱9的顶部设置防护盖板10,能够对干燥设备进行防护,避免杂物落入干燥箱体1的内部。
过筛料箱9的正面固定连接有铭牌11,铭牌11的正面设有产品生产信息,通过设置铭牌11,能够记录干燥设备的生产信息,便于进行展示。
密封门5的正面开设有观察窗17,观察窗17的内部固定连接有透明板16,通过密封门5的正面设置透明板16,能够方便工作人员进行观察红薯粉干燥情况。
密封门5的正面固定连接有活动锁把18,干燥箱体1的右侧面固定连接有固定锁板19,活动锁把18与固定锁板19相卡接,通过密封门5上的活动锁把18与固定锁板19配合,能够临时将密封门5进行固定。
空气加热箱26的正面固定连接有提示牌23,提示牌23的正面设有提示标志,由于空气加热箱26在工作中处于高温状态,因此提示牌23能够对工作人员进行提示,避免误碰造成烫伤。
过筛料箱9的内部设有过筛网34,过筛网34的外表面与过筛料箱9的内壁固定连接,通过过筛料箱9的内部设置过筛网34,利用过筛网34能够对加入的红薯粉进行过筛,避免大颗粒或者固结成块的红薯粉进入干燥箱体1的内部。
本实施例中温度显示屏2、旋转电机14、第一风机21、第二风机24和加热丝33均为已经公开的广泛运用于日常生活的已知技术,且在本发明具体实施方案中已经进行补充,在此不再过多赘述。
本发明的工作原理及使用流程:在使用时,首先将干燥设备通过固定底座6和支撑脚7的配合放置在生产厂房内部,然后将干燥设备接通电源,利用提拉手20将防护盖板10取下,将需要干燥的红薯粉加入到过筛料箱9的内部,通过过筛料箱9的内部设置过筛网34,在加入红薯粉时,将红薯粉进行过筛,避免大颗粒或者粘结固化的红薯粉进入进料斗8的内部,利用进料斗8与进料口28配合,将红薯粉放入干燥箱体1的内部,加料完毕后将防护盖板10遮盖过筛料箱9顶部,操作控制面板4启动干燥设备,空气加热箱26内部加热丝33对空气进行干燥加热,然后利用第一风机21和第二风机24配合出风管22和回风管25,将干燥热空气在干燥箱体1的内部进行循环干燥,同时启动旋转电机14,旋转电机14带动转轴30进行转动,转轴30带动掺拌架29对干燥箱体1内部的红薯粉进行掺拌,使红薯粉与热空气充分接触,从而对红薯粉进行均匀干燥,在干燥完毕后,转动活动锁把18,将活动锁把18脱离固定锁板19,开启密封门5,使干燥后的红薯粉通过出料口35排出。
最后应说明的是:以上所述仅为本发明的优选实施例而已,并不用于限制本发明,尽管参照前述实施例对本发明进行了详细的说明,对于本领域的技术人员来说,其依然可以对前述各实施例所记载的技术方案进行修改,或者对其中部分技术特征进行等同替换。凡在本发明的精神和原则之内,所作的任何修改、等同替换、改进等,均应包含在本发明的保护范围之内。

Claims (10)

1.一种红薯粉粉条加工干燥设备,包括干燥箱体(1),其特征在于:所述干燥箱体(1)的上表面固定连接有进料斗(8),所述进料斗(8)的上表面固定连通有过筛料箱(9),所述干燥箱体(1)的右侧面通过两个铰链(3)固定铰接有密封门(5),所述干燥箱体(1)的左侧面通过机架(13)固定安装有旋转电机(14),所述旋转电机(14)的输出端固定连接有转轴(30),所述干燥箱体(1)的左侧面固定镶嵌有轴承(27),所述转轴(30)的右端贯穿轴承(27)并延伸至干燥箱体(1)的内部,所述转轴(30)的外表面固定连接有掺拌架(29),所述干燥箱体(1)的右侧面开设有出料口(35),所述干燥箱体(1)的上表面开设有进料口(28),所述进料斗(8)的底端与进料口(28)相连通;
所述干燥箱体(1)的背面固定连接有空气加热箱(26),所述空气加热箱(26)的内部设有加热丝(33),所述加热丝(33)的左右两端均与空气加热箱(26)的内侧壁固定连接,所述空气加热箱(26)的上表面开设有出风口(31),所述空气加热箱(26)的上表面固定连接有出风管(22),所述出风管(22)的底端与出风口(31)固定连通,所述空气加热箱(26)的上表面开设有回风口(32),所述空气加热箱(26)的上表面固定连接有回风管(25),所述回风管(25)的底端与回风口(32)固定连通,所述干燥箱体(1)的背面固定连接有第一风机(21),所述第一风机(21)与出风管(22)相连通,所述干燥箱体(1)的背面固定连接有第二风机(24),所述第二风机(24)与回风管(25)相连通,所述出风管(22)远离出风口(31)的一端与干燥箱体(1)的上表面固定连通,所述回风管(25)远离回风口(32)的一端与干燥箱体(1)的上表面固定连通。
2.根据权利要求1所述的一种红薯粉粉条加工干燥设备,其特征在于:所述干燥箱体(1)的底面固定连接有固定底座(6),所述固定底座(6)的底面固定连接有两组相对称的支撑脚(7)。
3.根据权利要求1所述的一种红薯粉粉条加工干燥设备,其特征在于:所述干燥箱体(1)的正面固定连接有控制面板(4),所述控制面板(4)的正面固定连接有温度显示屏(2)。
4.根据权利要求1所述的一种红薯粉粉条加工干燥设备,其特征在于:所述干燥箱体(1)的左侧设有电机防护框(15),所述电机防护框(15)的右侧面通过安装板(12)与干燥箱体(1)的左侧面固定连接。
5.根据权利要求1所述的一种红薯粉粉条加工干燥设备,其特征在于:所述过筛料箱(9)的上方设有防护盖板(10),所述防护盖板(10)的底面与过筛料箱(9)的上表面相接触,所述防护盖板(10)的上表面固定连接有提拉手(20)。
6.根据权利要求1所述的一种红薯粉粉条加工干燥设备,其特征在于:所述过筛料箱(9)的正面固定连接有铭牌(11),所述铭牌(11)的正面设有产品生产信息。
7.根据权利要求1所述的一种红薯粉粉条加工干燥设备,其特征在于:所述密封门(5)的正面开设有观察窗(17),所述观察窗(17)的内部固定连接有透明板(16)。
8.根据权利要求1所述的一种红薯粉粉条加工干燥设备,其特征在于:所述密封门(5)的正面固定连接有活动锁把(18),所述干燥箱体(1)的右侧面固定连接有固定锁板(19),所述活动锁把(18)与固定锁板(19)相卡接。
9.根据权利要求1所述的一种红薯粉粉条加工干燥设备,其特征在于:所述空气加热箱(26)的正面固定连接有提示牌(23),所述提示牌(23)的正面设有提示标志。
10.根据权利要求1所述的一种红薯粉粉条加工干燥设备,其特征在于:所述过筛料箱(9)的内部设有过筛网(34),所述过筛网(34)的外表面与过筛料箱(9)的内壁固定连接。
CN202011066924.3A 2020-10-04 2020-10-04 一种红薯粉粉条加工干燥设备 Pending CN112146402A (zh)

Priority Applications (1)

Application Number Priority Date Filing Date Title
CN202011066924.3A CN112146402A (zh) 2020-10-04 2020-10-04 一种红薯粉粉条加工干燥设备

Applications Claiming Priority (1)

Application Number Priority Date Filing Date Title
CN202011066924.3A CN112146402A (zh) 2020-10-04 2020-10-04 一种红薯粉粉条加工干燥设备

Publications (1)

Publication Number Publication Date
CN112146402A true CN112146402A (zh) 2020-12-29

Family

ID=73952395

Family Applications (1)

Application Number Title Priority Date Filing Date
CN202011066924.3A Pending CN112146402A (zh) 2020-10-04 2020-10-04 一种红薯粉粉条加工干燥设备

Country Status (1)

Country Link
CN (1) CN112146402A (zh)

Citations (9)

* Cited by examiner, † Cited by third party
Publication number Priority date Publication date Assignee Title
CN205279649U (zh) * 2015-11-18 2016-06-01 惠升管业有限公司 一种管材原料的加热除湿设备
CN106766842A (zh) * 2016-12-21 2017-05-31 赵恩崇 一种热风循环节能型粮食烘干机
CN107062872A (zh) * 2017-06-15 2017-08-18 段华勇 一种农用稻谷类小径粒粮食烘干机
CN108168251A (zh) * 2017-11-22 2018-06-15 长沙德科投资管理咨询有限公司 带筛分装置的化工物料干燥除尘设备
CN208205688U (zh) * 2018-03-19 2018-12-07 开封市汴丰农业机械有限公司 一种智能控温粮食烘干设备
CN210051109U (zh) * 2019-05-23 2020-02-11 遂宁永荣高科技有限公司 一种稻米快速烘干机
CN210922063U (zh) * 2019-09-02 2020-07-03 解恒杰 节能高效烘干设备
CN111578646A (zh) * 2020-05-29 2020-08-25 东安粮盛食品有限责任公司 一种红薯粉快速烘干装置
CN213578534U (zh) * 2020-05-25 2021-06-29 王建新 一种农业种植玉米种子干燥装置

Patent Citations (9)

* Cited by examiner, † Cited by third party
Publication number Priority date Publication date Assignee Title
CN205279649U (zh) * 2015-11-18 2016-06-01 惠升管业有限公司 一种管材原料的加热除湿设备
CN106766842A (zh) * 2016-12-21 2017-05-31 赵恩崇 一种热风循环节能型粮食烘干机
CN107062872A (zh) * 2017-06-15 2017-08-18 段华勇 一种农用稻谷类小径粒粮食烘干机
CN108168251A (zh) * 2017-11-22 2018-06-15 长沙德科投资管理咨询有限公司 带筛分装置的化工物料干燥除尘设备
CN208205688U (zh) * 2018-03-19 2018-12-07 开封市汴丰农业机械有限公司 一种智能控温粮食烘干设备
CN210051109U (zh) * 2019-05-23 2020-02-11 遂宁永荣高科技有限公司 一种稻米快速烘干机
CN210922063U (zh) * 2019-09-02 2020-07-03 解恒杰 节能高效烘干设备
CN213578534U (zh) * 2020-05-25 2021-06-29 王建新 一种农业种植玉米种子干燥装置
CN111578646A (zh) * 2020-05-29 2020-08-25 东安粮盛食品有限责任公司 一种红薯粉快速烘干装置

Similar Documents

Publication Publication Date Title
CN107752103B (zh) 一种饲料生产用筛选烘干装置
CN107062825A (zh) 一种食品加工用的烘干装置
CN112495561A (zh) 一种食品加工用原料粉碎装置及其粉碎方法
CN209188909U (zh) 一种胎盘冻干磨粉装置
CN206294879U (zh) 一种鲜贝素加工高效制粒机
CN112146402A (zh) 一种红薯粉粉条加工干燥设备
CN112317088A (zh) 一种制备山核桃粉用山核桃磨粉烘干装置及其使用方法
CN211823592U (zh) 一种食品加工用烘干装置
CN210935256U (zh) 一种食品加工用粉碎筛选装置
CN108185262A (zh) 一种食品加工用真空微波干燥灭菌设备
CN108548408A (zh) 一种玉米颗粒节能干燥装置
CN209749645U (zh) 一种手撕腊肉加工用烘干装置
CN207655257U (zh) 一种厨房垃圾处理装置
CN217249200U (zh) 一种鱼排面包糠回收震动筛
CN208276965U (zh) 一种食品加工用剁碎装置
CN117652617A (zh) 一种燕麦麸皮的提取装置及其使用方法
CN210901263U (zh) 一种青稞爆花装置
CN206612191U (zh) Plc控制无糖食品辊印成型机
CN214216180U (zh) 一种枸杞加工用封装装置的进料机构
CN208095256U (zh) 一种农业用秸秆粉碎装置
CN206519213U (zh) 一种食用香料原料粉碎装置
CN211463345U (zh) 一种可对结块食品粉碎的搅拌设备
CN112146394A (zh) 一种粉条加工的烘干设备
CN221693749U (zh) 一种食品加工装置
CN208708193U (zh) 一种农业用秸秆粉碎装置

Legal Events

Date Code Title Description
PB01 Publication
PB01 Publication
SE01 Entry into force of request for substantive examination
SE01 Entry into force of request for substantive examination
RJ01 Rejection of invention patent application after publication
RJ01 Rejection of invention patent application after publication

Application publication date: 20201229